№1152 от 29.06.2020
Приказ Федерального агентства по техническому регулированию и метрологии (Росстандарт)
# 165093
ПРИКАЗ.
О внесении изменений в описание типа СИ
Полуприцепы-цистерны BONUM 914211
Приказы по основной деятельности по агентству Вн. Приказ № 1152 от 29.06.2020
Приложение к приказу Федерального агентства по техническому регулированию и метрологии от «29» июня 2020 г. № 1152
ОПИСАНИЕ ТИПА СРЕДСТВА ИЗМЕРЕНИЙ
Полуприцепы-цистерны BONUM 914211
Назначение средства измеренийПолуприцепы-цистерны BONUM 914211 (далее - ППЦ) предназначены для измерений объема нефтепродуктов плотностью до 860 кг/м3.
Описание средства измеренийПринцип действия ППЦ основан на заполнении их нефтепродуктом до указателя уровня налива, соответствующего определенному объему нефтепродукта. Слив нефтепродукта производится самотеком или через насос.
ППЦ состоят из стальной сварной цистерны, имеющей в поперечном сечении цилиндрическую форму, установленной на шасси. Цистерна состоит из герметичных секций. Каждая секция является транспортной мерой полной вместимости (далее - ТМ). Внутри секций могут располагаться перегородки-волнорезы с отверстиями. Каждая секция цистерны оборудована заливной горловиной формы с установленным указателем уровня налива. Планка указателя уровня налива находится в горловине или полости цистерны.
Технологическое оборудование предназначено для операций налива-слива нефтепродуктов и включает в себя:
-
- горловину с указателем уровня;
-
- съемную крышку горловины с заливным люком и дыхательным клапаном;
-
- клапан донный;
-
- кран шаровой;
-
- рукава напорно-всасывающие;
-
- насос, датчик уровня и оборудование для нижнего налива по дополнительному заказу.
ППЦ имеют модификации BONUM 914211/32, BONUM 914211/33, BONUM 914211/34, BONUM 914211/35, BONUM 914211/36, BONUM 914211/38, BONUM 914211/40, BONUM 914211/45 и BONUM 914211/50, которые отличаются геометрическими размерами и номинальной вместимостью.
На боковых сторонах и сзади ППЦ имеют надпись «ОГНЕОПАСНО» и знаки с информационными табличками для обозначения транспортного средства, перевозящего опасный груз.
Общий вид ШШ, представлен на рисунке 1.

Рисунок 1 - Общий вид полуприцепа-цистерны BONUM 914211/32
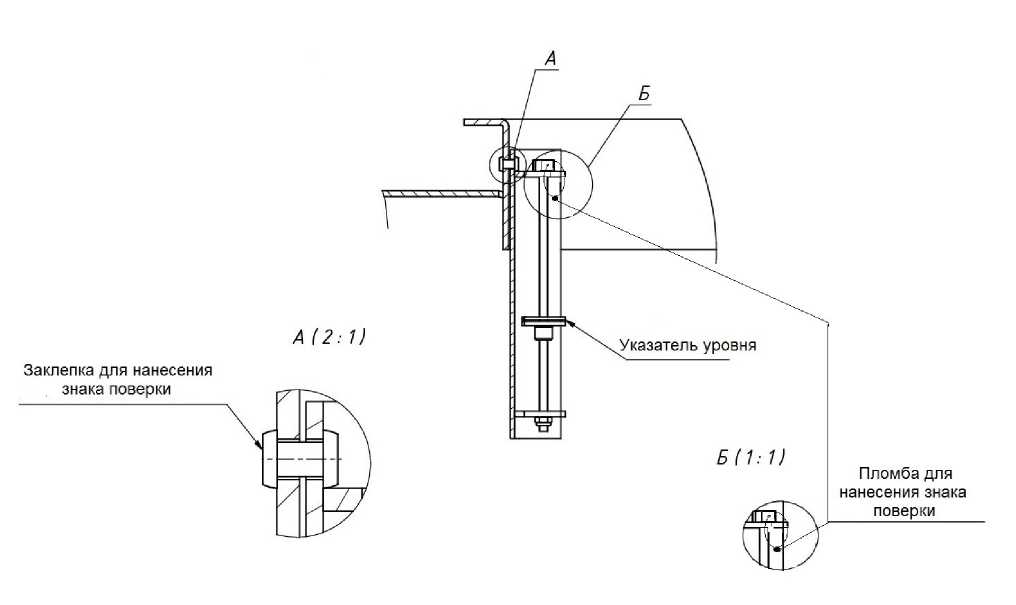
Схема пломбировки для защиты от несанкционированного изменения положения указателя уровня налива, обозначение места нанесения знака поверки представлены на рисунках 2, 3 и 4.

Рисунок 2 - Схема пломбировки от несанкционированного изменения положения указателя уровня налива в полости цистерны, обозначение места нанесения знака поверки

Рисунок 3 - Схема пломбировки от несанкционированного изменения положения указателя уровня налива в горловине цистерны, обозначение места нанесения знака поверки

Пломба для нанесения знака поверки
Заклепка для нанесения
А (2: 1)
Указатель уровня
знака поверки
Рисунок 4 - Схема пломбировки от несанкционированного изменения положения регулируемого указателя уровня налива, обозначение места нанесения знака поверки
Ж | |
Т | |
Программное обеспечение отсутствует.
Метрологические и технические характеристикиТаблица 1 - Метрологические характеристики
Значение
Наименование характеристики |
BONUM 914211/32 |
BONUM 914211/33 |
BONUM 914211/34 | |
Номинальная вместимость, дм3 |
32000 |
33000 |
34000 | |
Таблица 2 - Метрологические ха |
рактеристики | |||
Наименование характеристики |
Значение | |||
BONUM 914211/35 |
BONUM 914211/36 |
BONUM 914211/38 | ||
Номинальная вместимость, дм3 |
35000 |
36000 |
38000 | |
Таблица 3 - Метрологические ха |
рактеристики | |||
Наименование характеристики |
Значение | |||
BONUM 914211/40 |
BONUM 914211/45 |
BONUM 914211/50 | ||
Номинальная вместимость, дм3 |
40000 |
45000 |
50000 |
Таблица 4 - Метрологические характеристики
Наименование характеристики |
Значение |
Пределы допускаемой относительной погрешности ТМ, % |
±0,4 |
Разность между номинальной и действительной вместимостью ТМ, %, не более |
±1,5 |
Таблица 5 - Основные технические характеристики
Наименование характеристики |
Значение | ||
BONUM 914211/32 |
BONUM 914211/33 |
BONUM 914211/34 | |
Снаряженная масса, кг, не более |
10000 |
10000 |
10000 |
Длина, мм, не более |
13000 |
13000 |
13000 |
Ширина, мм, не более |
2550 |
2550 |
2550 |
Высота, мм, не более |
4000 |
4000 |
4000 |
Таблица 6 - Основные технические характеристики
Наименование характеристики |
Значение | ||
BONUM 914211/35 |
BONUM 914211/36 |
BONUM 914211/38 | |
Снаряженная масса, кг, не более |
10000 |
10000 |
10000 |
Длина, мм, не более |
13000 |
13000 |
13000 |
Ширина, мм, не более |
2550 |
2550 |
2550 |
Высота, мм, не более |
4000 |
4000 |
4000 |
Таблица 7 - Основные технические характеристики
Наименование характеристики |
Значение | ||
BONUM 914211/40 |
BONUM 914211/45 |
BONUM 914211/50 | |
Снаряженная масса, кг, не более |
10000 |
11000 |
12000 |
Длина, мм, не более |
13000 |
14000 |
15000 |
Ширина, мм, не более |
2550 |
2550 |
2550 |
Высота, мм, не более |
4000 |
4000 |
4000 |
Таблица 8 - Основные технические характеристики
Наименование характеристики |
Значение |
Температура окружающей среды при эксплуатации, °С |
от -50 до +45 |
наносится на информационную табличку, установленную на раме с правой стороны по ходу движения, методом гравировки и на титульный лист руководства по эксплуатации печатным способом.
Комплектность средства измеренийТаблица 9 - Комплектность средства измерений
Комплектующие |
Обозначение |
Количество |
Полуприцеп-цистерна |
BONUM 914211/ХХ |
1 шт. |
Запасные части, инструменты и принадлежности |
1 шт. | |
Руководство по эксплуатации |
1 экз. |
осуществляется по документу ГОСТ 8.600-2011 «ГСИ. Автоцистерны для жидких нефтепродуктов. Методика поверки».
Основные средства поверки:
Рабочие эталоны 2-го разряда в соответствии с частями 1 и 3 Приказа Росстандарта от 07.02.2018 г. № 256 Об утверждении Государственной поверочной схемы для средств измерений массы и объема жидкости в потоке, объема жидкости и вместимости при статических измерениях, массового и объемного расходов жидкости.
Допускается применение аналогичных средств поверки, обеспечивающих определение метрологических характеристик поверяемых СИ с требуемой точностью.
Знак поверки наносится на заклепку, проходящую через стенку горловины и указатель уровня налива, навесную пломбу и на свидетельство о поверке.
Сведения о методиках (методах) измерений приведены в эксплуатационном документе.
Нормативные и технические документы, устанавливающие требования к полуприцепам-цистернам BONUM 914211Приказ Росстандарта от 07.02.2018 г. № 256 Об утверждении Государственной поверочной схемы для средств измерений массы и объема жидкости в потоке, объема жидкости и вместимости при статических измерениях, массового и объемного расхода жидкости
ТУ 29.20.23.120-002-24235179-2017. Полуприцепы-цистерны для перевозки светлых нефтепродуктов и битума 914211; 914221. Технические условия
ИзготовительОбщество с ограниченной ответственностью «БОНУМ»
(ООО «БОНУМ»)
ИНН 6141046070
Адрес: 344091, Ростовская область, г. Ростов-на-Дону, ул. Пескова, д. 1/2/169А/3, литер «Д», комната 48
Телефон/факс: +7 (863) 310-01-23
E-mail: info@bonum-trailer.ru
Испытательный центрФедеральное государственное унитарное предприятие «Всероссийский научноисследовательский институт метрологической службы» (ФГУП «ВНИИМС»)
Адрес: 119361, г. Москва, ул. Озерная, д. 46
Телефон/факс: +7 (495) 437-55-77 / 437-56-66
E-mail: office@vniims.ru
Web-сайт: http://www.vniims.ru
Аттестат аккредитации ФГУП «ВНИИМС» по проведению испытаний средств измерений в целях утверждения типа № 30004-13 от 29.03.2018 г.
Заместитель
Руководителя Федерального агентства по техническому регулированию и метрологии
А.В. Кулешов
М.п.
«29» июня 2020 г.
МИНИСТЕРСТВО ПРОМЫШЛЕННОСТИ И ТОРГОВЛИ РОССИЙСКОЙ ФЕДЕРАЦИИ
ФЕДЕРАЛЬНОЕ АГЕНТСТВО ПО ТЕХНИЧЕСКОМУ РЕГУЛИРОВАНИЮ И МЕТРОЛОГИИ (Госстандарт)
ПРИКАЗ
29 июня 2020 г.

Москва
О внесении изменений в описание типа на полуприцепы-цистерны BONUM 914211
Во исполнение Административного регламента по предоставлению Федеральным агентством по техническому регулированию и метрологии государственной услуги по утверждению типа стандартных образцов или типа средств измерений, утверждённого приказом Федерального агентства по техническому регулированию и метрологии от 12 ноября 2018 г. № 2346 (зарегистрирован в Министерстве юстиции Российской Федерации 8 февраля 2019 г. № 53732) (далее - Административный регламент), и в связи с обращением ООО «БОНУМ» от 10 марта 2020г. № 10-0320, приказываю:
-
1. Внести изменения в описание типа на полуприцепы-цистерны BONUM 914211, зарегистрированные в Федеральном информационном фонде по обеспечению единства измерений под регистрационным номером 70533-18, изложив его в новой редакции согласно приложению к настоящему приказу, с сохранением регистрационного номера.
-
2. Управлению государственного надзора и контроля (А.М.Кузьмину), ФГУП «ВНИИМС» (А.Ю.Кузину) обеспечить в соответствии с Административным регламентом оформление описания типа средства измерений и выдачу его заявителю.
-
3. Контроль за исполнением настоящего приказа оставляю за собой.
Заместитель Руководите

Федеральное агентство по техническому регулированию и метрологии.
Голубев

Сертификат: O0E1O36E1BO7E0FB8OEA1189OOBCB6DO9O Кому выдан: голубев Сергей Сергеевич Действителен: с 06.11.2019 до 06.11.2020