№2284 от 30.12.2020
Приказ Федерального агентства по техническому регулированию и метрологии (Росстандарт)
# 216685
Об утверждении типа средств измерений
Приказы по основной деятельности по агентству Вн. Приказ № 2284 от 30.12.2020
МИНИСТЕРСТВО ПРОМЫШЛЕННОСТИ И ТОРГОВЛИ РОССИЙСКОЙ ФЕДЕРАЦИИ
ФЕДЕРАЛЬНОЕ АГЕНТСТВО ПО ТЕХНИЧЕСКОМУ РЕГУЛИРОВАНИЮ И МЕТРОЛОГИИ (Госстандарт)
ПРИКАЗ
30 декабря 2020 г.
№ 2284
Москва
Об утверждении типов средств измерений
Во исполнение Административного регламента по предоставлению Федеральным агентством по техническому регулированию и метрологии государственной услуги по утверждению типа стандартных образцов или типа средств измерений, утвержденного приказом Федерального агентства по техническому регулированию и метрологии от 12 ноября 2018 г. № 2346, приказываю:
-
1. Утвердить типы средств измерений, сведения о которых, в том числе их описания типа, прилагаются к настоящему приказу.
-
2. ФГУП «ВНИИМС» (А.Ю.Кузину) обеспечить внесение сведений в Федеральный информационный фонд по обеспечению единства измерений, включая описания типа согласно приложению.
-
3. Контроль за исполнением настоящего приказа оставляю за собой.
Заместитель Руководителя
С.С.Голубев
Подлинник электронного документа, подписанного ЭП, хранится в системе электронного документооборота Федерального агентства по техническому регулированию и метрологии
сведения о сергифише эн
Сертификат: 01С95С9А007САСВ9В24В5327С21ВВ4СЕ93
Кому выдан: Голубев Сергей Сергеевич
Действителен: с 23.11.2020 до 23.11.2021
V ____________/
Приложение № 3 к сведениям о типах средств измерений, прилагаемым к приказу Федерального агентства по техническому регулированию и метрологии от «30» декабря 2020 г. №2284
ОПИСАНИЕ ТИПА СРЕДСТВА ИЗМЕРЕНИЙ
Полуприцепы-цистерны 914210
Назначение средства измеренийПолуприцепы-цистерны 914210 (далее - ППЦ) предназначены для измерений объема нефтепродуктов плотностью от 700 до 860 кг/м3.
Описание средства измеренийПринцип действия ППЦ основан на заполнении их нефтепродуктом до указателя уровня налива, соответствующего определенному объему нефтепродукта. Слив нефтепродукта производится самотеком или через насос.
ППЦ состоят из стальной сварной цистерны переменного сечения круглой формы, установленной на шасси. Цистерна состоит из герметичных секций. Каждая секция является транспортной мерой полной вместимости (далее - ТМ). Внутри секций могут располагаться перегородки-волнорезы с отверстиями. Каждая секция цистерны оборудована заливной горловиной с установленным указателем уровня налива. Планка указателя уровня налива находится в горловине или полости цистерны.
Технологическое оборудование предназначено для операций налива-слива нефтепродуктов и включает в себя:
-
- горловину с указателем уровня;
-
- съемную крышку горловины с заливным люком и дыхательным клапаном;
-
- клапан донный;
-
- кран шаровой;
-
- рукава напорно-всасывающие;
-
- насос, датчик уровня, оборудование для нижнего налива по дополнительному заказу. ППЦ имеют модификации 914210/20, 914210/23, 914210/25, 914210/28, 914210/30,
914210/32, 914210/33, 914210/35, 914210/38, 914210/40, 914210/45 и 914210/50, которые отличаются геометрическими размерами и номинальной вместимостью.
На боковых сторонах и сзади ППЦ имеют надпись: «ОГНЕОПАСНО» и знаки с информационными табличками для обозначения транспортного средства, перевозящего опасный груз.
Общий вид ППЦ представлен на рисунке 1.

Рисунок 1 - Общий вид полуприцепа-цистерны 914210
Схема пломбировки для защиты от несанкционированного изменения положения указателя уровня налива, обозначение места нанесения знака поверки представлены на рисунках 2, 3 и 4.

Указатель уровня
Верхний борт
i=®-J
1-—4—
Место для нанесения
знака поверки
Рисунок 2 - Схема пломбировки от несанкционированного изменения положения указателя уровня налива в полости цистерны, обозначение места нанесения знака поверки

казатечь уровня
В (4:1)
Место для нанесения
знака поверки
Верхний борт / цистерны
■т (
Рисунок 3 - Схема пломбировки от несанкционированного изменения положения указателя уровня налива в горловине цистерны, обозначение места нанесения знака поверки

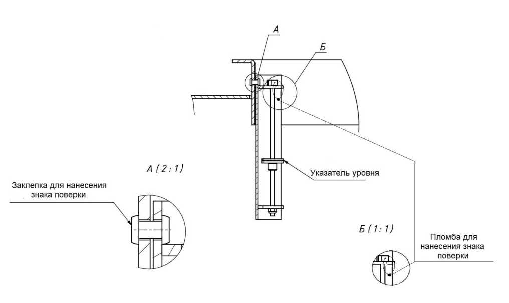
Указатель уровня
А (2: 1)
Заклепка для нанесения знака поверки
Пломба для нанесения знака поверки
Рисунок 4 - Схема пломбировки от несанкционированного изменения положения регулируемого указателя уровня налива, обозначение места нанесения знака поверки
Программное обеспечение отсутствует.
Метрологические и технические характеристикиТаблица 1 -
ха
Наименование характеристики |
Значение | ||||
914210/20 |
914210/23 |
914210/25 |
914210/28 | ||
Номинальная вместимость, дм3 |
20000 |
23000 |
25000 |
28000 | |
Таблица 2 - Метрологические ха |
рактеристики | ||||
Наименование характеристики |
Значение | ||||
914210/30 |
914210/32 |
914210/33 |
914210/35 | ||
Номинальная вместимость, дм3 |
30000 |
32000 |
33000 |
35000 | |
Таблица 3 - Метрологические ха |
рактеристики | ||||
Наименование характеристики |
Значение | ||||
914210/38 |
914210/40 |
914210/45 |
914210/50 | ||
Номинальная вместимость, дм3 |
38000 |
40000 |
45000 |
50000 |
Таблица 4 - Метрологические характеристики
Наименование характеристики |
Значение |
Пределы допускаемой относительной погрешности ТМ, % |
±0,4 |
Разность между номинальной и действительной вместимостью ТМ, %, не более |
±1,5 |
Таблица 5 - Основные технические характеристики
Наименование характеристики |
Значение | |||
914210/20 |
914210/23 |
914210/25 |
914210/28 | |
Снаряженная масса, кг, не более |
9000 |
9000 |
9000 |
9000 |
Длина, мм, не более |
13000 |
13000 |
13000 |
13000 |
Ширина, мм, не более |
2550 |
2550 |
2550 |
2550 |
Высота, мм, не более |
4000 |
4000 |
4000 |
4000 |
Таблица 6 - Основные технические характеристики
Наименование характеристики |
Значение | |||
914210/30 |
914210/32 |
914210/33 |
914210/35 | |
Снаряженная масса, кг, не более |
9000 |
9000 |
9000 |
9000 |
Длина, мм, не более |
13000 |
13000 |
13000 |
13000 |
Ширина, мм, не более |
2550 |
2550 |
2550 |
2550 |
Высота, мм, не более |
4000 |
4000 |
4000 |
4000 |
Таблица 7 - Основные технические . характеристики
Наименование характеристики |
Значение | |||
914210/38 |
914210/40 |
914210/45 |
914210/50 | |
Снаряженная масса, кг, не более |
9000 |
10000 |
10000 |
11000 |
Длина, мм, не более |
13000 |
13000 |
14500 |
16000 |
Ширина, мм, не более |
2550 |
2550 |
2550 |
2550 |
Высота, мм, не более |
4000 |
4000 |
4000 |
4000 |
Таблица 8 - Основные технические характеристики
Наименование характеристики |
Значение |
Температура окружающей среды при эксплуатации, °С |
от -45 до +40 |
наносится на информационную табличку, установленную на раме с правой стороны по ходу движения, методом гравировки и на титульный лист руководства по эксплуатации печатным способом.
Комплектность средства измеренийТаблица 9 - Комплектность средства измерений
Комплектую щи е |
Обозначение |
Количество |
Полуприцеп-цистерна |
914210/ХХ |
1 шт. |
Запасные части, инструменты и принадлежности |
1 шт. | |
Руководство по эксплуатации |
1 экз. |
осуществляется по документу ГОСТ 8.600-2011 «ГСИ. Автоцистерны для жидких нефтепродуктов. Методика поверки».
Основные средства поверки:
рабочие эталоны 2-го разряда в соответствии с частями 1 и 3 ГПС, утвержденной приказом Росстандарта от 07.02.2018 г. № 256.
Допускается применение аналогичных средств поверки, обеспечивающих определение метрологических характеристик поверяемых СИ с требуемой точностью.
Знак поверки наносится на заклепку, проходящую через стенку горловины и указатель уровня налива, навесную пломбу и на свидетельство о поверке.
Сведения о методиках (методах) измерений приведены в эксплуатационном документе.
Нормативные и технические документы, устанавливающие требования к полуприцепам-цистернам 914210Приказ Росстандарта от 07.02.2018 г. № 256 Об утверждении Государственной поверочной схемы для средств измерений массы и объема жидкости в потоке, объема жидкости и вместимости при статических измерениях, массового и объемного расходов жидкости
ТУ 29.20.23-002-24235179-2020 Полуприцепы-цистерны для перевозки светлых нефтепродуктов 914210, 914211 Технические условия
ИзготовительОбщество с ограниченной ответственностью «БОНУМ»
(ООО «БОНУМ»)
ИНН 6141046070
Адрес: 344091, Ростовская область, г. Ростов-на-Дону, ул. Пескова, д. 1/2/169А/3, литер «Д», комната 48.
Телефон/факс: +7 (863) 310-01-23
E-mail: info@bonum-trailer.ru
Испытательный центрФедеральное государственное унитарное предприятие «Всероссийский научноисследовательский институт метрологической службы» (ФГУП «ВНИИМС»)
Адрес: 119361, г. Москва, ул. Озерная, д. 46
Телефон/факс: +7 (495) 437-55-77 / 437-56-66
E-mail: office@vniims.ru
Web-сайт: http://www.vniims.ru
Аттестат аккредитации ФГУП «ВНИИМС» по проведению испытаний средств измерений в целях утверждения типа № 30004-13 от 29.03.2018 г.
ПРИЛОЖЕНИЕ к приказу Федерального агентства по техническому регулированию и метрологии от «30» декабря 2020 г. № 2284
Сведения
о типах средств измерений
№ п/п |
Типы средств измерений |
Изготовитель средства измерения |
Рег. номер |
Методика поверки средств измерений |
Интервал между поверками средств измерений |
Приложение (Описание типа) |
1 |
2 |
3 |
4 |
5 |
6 |
7 |
1. |
Системы мониторинга качества воздуха CityAir |
Общество с ограниченной ответственностью "Унискан" (ООО "Унискан"), г. Новосибирск |
80507-20 |
МП- 250RA.RU.310556- 2019 |
1 год |
Приложение №1 |
2. |
Измерители-регистраторы комбинированные Librotech SX100, Librotech SX200 |
Общество с ограниченной ответственностью "Либротех" (ООО "Либротех"), г. Орёл |
80508-20 |
ДМЕА-15.100.000 МП |
2 года, 1 год -для измерителей-регистраторов с цифровыми измерительным и каналами Н или Р |
Приложение №2 |
3.
Полуприцепы-цистерны 914210
Общество с ограниченной ответственностью
"БОНУМ" (ООО "БОНУМ"), г. Ростов-на-Дону
62721-20
ГОСТ 8.600-2011
2 года
Приложение №3
Приложение № 2 к сведениям о типах средств измерений, прилагаемым к приказу Федерального агентства по техническому регулированию и метрологии от «30» декабря 2020 г. №2284
ОПИСАНИЕ ТИПА СРЕДСТВА ИЗМЕРЕНИЙ
Измерители-регистраторы комбинированные Librotech SX100, Librotech SX200
Назначение средства измеренийИзмерители-регистраторы комбинированные Librotech SX100, Librotech SX200 (далее - измерители-регистраторы) предназначены для измерений и регистрации температуры жидкостей, газов и сыпучих продуктов, относительной влажности неагрессивных газовых сред и абсолютного давления.
Описание средства измеренийПринцип действия измерителей-регистраторов основан на преобразовании встроенными или внешними первичными преобразователями (далее - датчиками) значений температуры, относительной влажности и абсолютного давления в эквивалентные электрические сигналы, поступающие затем в электронный блок, который с помощью аналогоцифрового преобразователя (далее - АЦП) преобразует эти сигналы в форму, удобную для сохранения в памяти устройства, отображения на жидкокристаллическом дисплее (далее - ЖК-дисплее) и передачи по каналам данных USB, Bluetooth, RS-485 на персональный компьютер, смартфон или планшет.
Измерители-регистраторы состоят из электронного блока, помещенного в корпус. На лицевой панели измерителей расположены ЖК-дисплей, кнопки и светодиодные индикаторы.
Измерители-регистраторы выпускаются в модификациях Librotech SX100 и Librotech SX200, отличающихся типом корпуса (со встроенными или с внешними датчиками).
Структура условного обозначения исполнений:
Librotech SX[code1]-[code2] [code3]-[code4]
[code1] — тип корпуса:
100 - неразборный корпус со встроенными датчиками;
200 - корпус с разъёмами для подключения внешних датчиков;
[code2] — перечень типов измерительных каналов, обозначаемых в соответствии с таблицами 1 и 2. Если измерительных каналов одного типа два и более, то перед соответствующим обозначением указывается их количество.
[code3], [code4] — дополнительные функции, интерфейсы и конструктивные особенности, не относящиеся к метрологически значимым характеристикам измерителей-регистраторов.
Таблица 1 - Типы измерительных каналов для модификации Librotech SX100
Обозначение |
Количество измеряемых параметров |
Тип сигнала |
Датчик |
T |
1 |
цифровой |
Цифровой датчик температуры |
H |
2 |
цифровой |
Цифровой датчик температуры и относительной влажности |
P |
3 |
цифровой |
Цифровой датчик температуры, относительной влажности и абсолютного давления |
Таблица 2 - Типы измерительных каналов для модификации Librotech SX200
Обозначение |
Количество измеряемых параметров |
Тип сигнала |
Датчик |
H |
2 |
цифровой |
Цифровой датчик температуры и относительной влажности |
K |
1 |
аналоговый |
Преобразователь термоэлектрический (типы K, L, N по ГОСТ Р 8.585-2001) |
F |
1 |
аналоговый |
Т ермопреобразователь сопротивления Pt100 по ГОСТ 6651-2009 |
Общий вид измерителей-регистраторов с указанием места пломбирования от несанкционированного доступа представлен на рисунке 1.

|«м,


а) модификация Librotech SX100
Рисунок 1 - Общий вид измерителей -регистраторов с указанием места пломбирования от несанкционированного доступа
Место
пломбирования

б) модификация Librotech SX200
Программное обеспечение (далее - ПО) измерителей-регистраторов состоит из встроенного и внешнего ПО.
Встроенное ПО, записанное в память внутреннего микроконтроллера электронного блока, является метрологически значимым, устанавливается при изготовлении измерителей-регистраторов и не имеет возможности считывания и модификации.
Конструкция измерителей-регистраторов исключает возможность
несанкционированного влияния на ПО и измерительную информацию. Метрологические характеристики измерителей-регистраторов нормированы с учетом влияния встроенного ПО.
Уровень защиты встроенного ПО от непреднамеренных и преднамеренных изменений - «высокий» в соответствии с рекомендациями Р 50.2.077-2014.
Внешнее ПО предназначено для персонального компьютера, смартфона или планшета и является метрологически не значимым.
Идентификационные данные встроенного ПО измерителей-регистраторов приведены в таблице 3.
Таблица 3 - Идентификационные данные ПО
Идентификационные данные |
Значение |
Идентификационное наименование ПО |
- |
Номер версии (идентификационный номер ПО), не ниже |
01.02.01 |
Цифровой идентификатор ПО |
- |
Метрологические и технические характеристики
Таблица 4 - Метрологические характеристики измерителей-регистраторов с цифровыми измерительными каналами T, H, P
Обозначение измерительного канала |
Измеряемые параметры |
Диапазон измерений* |
Пределы допускаемой абсолютной погрешности измерений |
Значение единицы младшего разряда |
T |
Температура |
от -40 до +70 °С |
±0,4 °С - в поддиапазоне от -20 до +30 °С; ±0,5 °С - в поддиапазонах от -40 до -20 °С не включ. и св. +30 до +70 °С |
0,1 °С |
H |
Температура |
от -40 до +70 °С |
±0,4 °С - в поддиапазоне от -20 до +30 °С; ±0,5 °С - в поддиапазонах от -40 до -20 °С не включ. и св. +30 до +70 °С |
0,1 °С |
Относительная влажность |
от 5 до 95 % |
±3 % - в поддиапазоне от 10 до 90 %; ±4 % - в поддиапазонах от 5 до 10 % не включ. и св. 90 до 95 % |
0,1 % | |
P |
Температура |
от -40 до +70 °С |
±0,4 °С - в поддиапазоне от -20 до +30 °С; ±0,5 °С - в поддиапазонах от -40 до -20 °С не включ. и св. +30 до +70 °С |
0,1 °С |
Относительная влажность |
от 5 до 95 % |
±3 % - в поддиапазоне от 10 до 90 %; ±4 % - в поддиапазонах от 5 до 10 % не включ. и св. 90 до 95 % |
0,1 % | |
Абсолютное давление |
от 60 до 110 кПа |
±0,3 кПа (при температуре от 0 до +50 °С) |
0,1 кПа |
* По заказу допускается настройка измерителей-регистраторов на другой диапазон измерений в пределах указанного диапазона.
Пределы допускаемой абсолютной погрешности измерителей-регистраторов с аналоговыми измерительными каналами типов K и F определяются как алгебраическая сумма пределов допускаемой абсолютной погрешности электронного блока, приведенных в таблице 5, и пределов допускаемой абсолютной погрешности соответствующего датчика температуры, приведенных в таблице 6.
Таблица 5 - Метрологические характеристики электронного блока (без датчиков) измерителей-регистраторов модификации Librotech SX200 с аналоговыми измерительными каналами K, F
Обозначение измерительного канала |
Тип датчика |
Диапазон измерений, °С |
Пределы допускаемой абсолютной погрешности измерений, °С |
Значение единицы младшего разряда, °С |
K |
Преобразователь термоэлектрический типа K по ГОСТ Р 8.585-2001 |
от -196 до +1300 |
±(0,5+0,005^|Тизм|) |
0,1 |
Преобразователь термоэлектрический типа N по ГОСТ Р 8.585-2001 |
от -200 до +1300 |
±(0,5+0,005^|Тизм|) |
0,1 | |
Преобразователь термоэлектрический типа L по ГОСТ Р 8.585-2001 |
от -200 до +800 |
±(0,5+0,005-|ТИЗм) |
0,1 | |
F |
Термопреобразователь сопротивления Pt100 по ГОСТ 6651-2009 |
от -196 до +300 |
±(0,2+0,001- |Тизм|) |
0,1 |
* В таблице указан максимальный диапазон. Для конкретного измерителя-регистратора диапазон измерений определяется диапазоном измерений подключаемого к нему датчика. Примечания
|
Таблица 6 - Метрологические характеристики датчиков температуры, входящих в комплект измерителей -р егистраторов
Тип датчика |
Диапазон измерений*, °С |
Классы допуска |
Преобразователь термоэлектрический типа K по ГОСТ Р 8.585-2001 |
от -40 до + 1000 |
1, 2 по ГОСТ 6616-94 |
Преобразователь термоэлектрический типа N по ГОСТ Р 8.585-2001 |
от -196 до +1200 |
1, 2, 3 по ГОСТ 6616-94 |
Преобразователь термоэлектрический типа L по ГОСТ Р 8.585-2001 |
от -40 до +800 |
2 по ГОСТ 6616-94 |
Термопреобразователь сопротивления Pt100 по ГОСТ 6651-2009 |
от -196 до +300 |
B, W 0.3, F 0.3 по ГОСТ 6651-2009 |
* В таблице указан максимальный диапазон. Для конкретного датчика диапазон измерений зависит от его конструкции и условий эксплуатации. |
Для модификации Librotech SX200 допускается использование электронного блока совместно с датчиками утвержденных типов сторонних изготовителей при условии, что их метрологические характеристики не уступают характеристикам, приведенным в таблице 6.
Таблица 7 - Основные технические характеристики
Наименование характеристики |
Значение для модификации | |
Librotech SX100 |
Librotech SX200 | |
Напряжение питания постоянного тока, В: - от встроенного источника питания (батареи) |
3 |
3,6 |
(батарея CR2450) |
(батарея ER14250) | |
- от внешнего источника питания |
- |
от 8 до 36 |
Габаритные размеры (длинахширинахтолщина), мм, не более |
100х50х16 |
130х76х42 |
Масса, г, не более |
50 |
250 |
Рабочие условия измерений: | ||
- температура окружающей среды, °С |
от -40 до +70 | |
- относительная влажность воздуха, %, не более: | ||
- для исполнений с измерительными каналами | ||
H и P |
95 (без конденсации влаги) | |
- для остальных исполнений |
100 (с конденсацией влаги) | |
- атмосферное давление, кПа |
от 60 до 110 | |
Средняя наработка на отказ, ч |
45000 | |
Средний срок службы, лет |
5 |
наносится на титульные листы руководства по эксплуатации и паспорта типографским способом и на наклейку на корпусе измерителя-регистратора.
Комплектность средства измерений
Таблица 8 - Комплектность средства измерений
Наименование |
Обозначение |
Количество |
Измеритель-регистратор комбинированный Librotech SX100 / Librotech SX200 |
- |
1 шт. |
Элемент питания CR2450L* |
- |
1 шт. |
Элемент питания ER14250** |
- |
1 шт. |
Внешние датчики (зонды) |
- |
в соответствии с заказом |
Методика поверки*** |
ДМЕА-15.100.000 МП |
1 экз. |
Руководство по эксплуатации *** |
- |
1 экз. |
Паспорт |
- |
1 экз. |
* Только для модификации Librotech SX100. ** Только для модификации Librotech SX200. *** На партию, по запросу. |
осуществляется по документу ДМЕА-15.100.000 МП «ГСИ. Измерители-регистраторы комбинированные Librotech SX100, Librotech SX200. Методика поверки», утверждённому ООО «ИЦРМ» 30.10.2020 г.
Основные средства поверки:
-
- барометр рабочий сетевой БРС-1М, исполнение БРС-1М-1 (регистрационный номер в Федеральном информационном фонде 16006-97);
-
- гигрометр Rotronic модификации HygroLog NT, исполнение HL -NT3-D (регистрационный номер в Федеральном информационном фонде 64196-16);
-
- калибратор многофункциональный портативный ЭЛМЕТРО -ПКМ, исполнение ЭЛМЕТРО-ПКМ-А (регистрационный номер в Федеральном информационном фонде 73724-18);
-
- преобразователь термоэлектрический платинородий-платиновый эталонный НПО 1 разряда (регистрационный номер в Федеральном информационном фонде 1442-00);
-
- термометр сопротивления платиновый вибропрочный эталонный ПТСВ-9-2 (регистрационный номер в Федеральном информационном фонде 65421-16);
-
- термометр цифровой эталонный ТЦЭ-005, модификация ТЦЭ-005/М3 (регистрационный номер в Федеральном информационном фонде 40719-15).
Допускается применение аналогичных средств поверки, обеспечивающих определение метрологических характеристик поверяемых СИ с требуемой точностью.
Знак поверки наносится на свидетельство о поверке и (или) в паспорт.
Сведения о методиках (методах) измеренийприведены в эксплуатационном документе.
Нормативные и технические документы, устанавливающие требования к измерителям-регистраторам комбинированным Librotech SX100, Librotech SX200ГОСТ 6651-2009 ГСИ. Термопреобразователи сопротивления из платины, меди и никеля. Общие технические требования и методы испытаний
ГОСТ 6616-94 Преобразователи термоэлектрические. Общие технические условия
ГОСТ Р 8.585-2001 ГСИ. Термопары. Номинальные статические характеристики преобразования
ГОСТ Р 52931-2008 Приборы контроля и регулирования технологических процессов. Общие технические условия
ТУ 26.51.51-002-23217819-2020 Измерители-регистраторы комбинированные Librotech SX100, Librotech SX200. Технические условия
ИзготовительОбщество с ограниченной ответственностью «Либротех» (ООО «Либротех»)
ИНН 5751055796
Адрес: 302019, г. Орёл, ул. Весёлая, д. 1, пом. 29
Телефон: +7 (495) 642-46-14
E-mail: post@librotech.ru
Web-сайт: www.librotech.ru
Испытательный центрОбщество с ограниченной ответств енностью «Испытательный центр разработок в области метрологии»
Адрес: 117546, г. Москва, Харьковский проезд, д. 2, этаж 2, пом. I, ком. 35,36
Телефон: +7 (495) 278-02-48
E-mail: info@ic-rm.ru
Аттестат аккредитации ООО «ИЦРМ» по проведению испытаний средств измерений в целях утверждения типа № RA.RU.311390 от 18.11.2015 г.
Приложение № 1 к сведениям о типах средств измерений, прилагаемым к приказу Федерального агентства по техническому регулированию и метрологии
от «30» декабря 2020 г. №2284
ОПИСАНИЕ ТИПА СРЕДСТВА ИЗМЕРЕНИЙ
Системы мониторинга качества воздуха CityAir
Назначение средства измерений
Системы мониторинга качества воздуха CityAir (далее - системы) предназначены для
измерений параметров, характеризующих качество атмосферного воздуха в точке измерений (массовая концентрация пыли, температура воздуха, относительная влажность воздуха, атмосферное давление, скорость и направление воздушного потока, интенсивность атмосферных осадков, концентрации газов: диоксид азота, сероводород), и передачи измерительной информации на сервер обработки информации, её отображения и хранения.
Описание средства измерений
Принцип действия систем основан на измерении параметров, характеризующих
качество атмосферного воздуха измерительными компонентами с передачей измерительной информации по каналам связи на сервер c последующим хранением, обработкой и отображением.
Системы являются проектно-компонуемыми изделиями, конкретный состав которых определяются проектом.
Структурно системы представляют собой трехуровневую территориально
распределенную систему с централизованным управлением, состоящую из измерительных, связующих и вычислительных компонентов.
Системы имеют распределённую иерархическую трёхуровневую структуру и включают в себя следующие компоненты (по ГОСТ Р 8.596-2002):
-
1) Измерительные компоненты: средства измерений утвержденного типа с цифровыми выходными сигналами. Типы средств измерений, применяемые в составе систем приведены в таблице 1.
-
2) Связующие компоненты: микростанции мониторинга воздуха CityAir 2, переходники для внешних модулей CityAir HUB 24*6 и стационарные одноканальные газоаналитические системы Сенсон-СВ модель 5023 СМ.
-
3) Вычислительные компоненты: сервер сбора данных и приложений.
Таблица 1 - Типы средств измерений, применяемые в составе систем
Канал измерений
1 уровень Тип СИ, регистрационный №
температура воздуха
Метеостанция автоматическая IMETEOLABS PWS модификации PWS 600 (63630-16)
относительная влажность воздуха
атмосферное
давление
скорость воздушного потока
направление воздушного потока
интенсивность атмосферных осадков
2 уровень
3 уровень
микростанции мониторинга воздуха CityAir 2 (через переходники для внешних модулей CityAir HUB 24*6)
сервер сбора данных и приложений
Канал измерений |
1 уровень Тип СИ, регистрационный № |
2 уровень |
3 уровень |
массовая концентрация пыли |
Пылемер CityAir Dust (75984-19) |
микростанции мониторинга воздуха CityAir 2 |
сервер сбора данных и приложений |
концентрация диоксида азота |
Газоанализатор «Сенсон» исполнения СМ (70770-18) |
микростанции мониторинга воздуха CityAir 2 (через стационарные одноканальные газоаналитические системы Сенсон-СВ модель 5023 СМ) | |
концентрация сероводорода |
Газоанализатор «Сенсон» исполнения СМ (70770-18) |
Системы осуществляют измерение параметров, характеризующих качество атмосферного воздуха следующим образом: от измерительных компонент результаты измерений в виде цифровых кодов через интерфейс связи RS-485 по протоколу MODBUS поступают в микростанции мониторинга воздуха CityAir 2. Далее микростанции мониторинга воздуха CityAir 2 посредством интерфейсов передачи данных GSM, Wi-Fi или Ethernet передают результаты измерений на сервер. Интерфейс выбирается исходя из условий эксплуатации при настройке системы. Доступ пользователей к сохранённым на сервере данным осуществляется через web-интерфейс после авторизации. Сохранённые данные можно просматривать на экране персонального компьютера или выгружать из базы данных в формате Microsoft Excel.
Общий вид составных частей системы представлен на рисунках 1 - 5.
В целях предотвращения несанкционированной настройки и вмешательства в работу системы изготовителем производится пломбирование микростанции мониторинга воздуха CityAir 2 с помощью наклейки в соответствии с рисунком 6.

Рисунок 1 - Стационарная одноканальная газоаналитическая система с газоанализатором «Сенсон» исполнения СМ

Рисунок 3 - Пылемер CityAir Dust
Рисунок 2 - Метеостанция автоматическая
IMETEOLABS PWS модификации PWS 600

Рисунок 4 - Переходник для внешних
модулей CityAir HUB 24*6

Рисунок 5 - Микростанция мониторинга
воздуха CityAir 2

Рисунок 6 - Схема пломбировки от
несанкционированного доступа
Программное обеспечение (далее - ПО) систем, обеспечивающее реализацию функций систем, состоит из встроенного ПО микростанций мониторинга воздуха CityAir 2, серверного ПО CityAir Cloud Server и программы CityAir Interface Configurator.
Встроенное ПО микростанций мониторинга воздуха CityAir 2 осуществляет автоматизированный сбор и передачу на сервер измерительной информации.
ПО CityAir Cloud Server предназначено для сбора, хранения, обработки и отображения измерительной информации.
Программа CityAir Interface Configurator предназначена для настройки интерфейса системы.
Метрологически значимой частью программного обеспечения является встроенное ПО микростанций мониторинга воздуха CityAir 2, библиотеки «TcpipSourceLib.dll» и «DataExporterLib.dll» серверного ПО CityAir Cloud Server.
Идентификационные данные метрологически значимой части серверного ПО представлены в таблице 2.
аблица 1 - Идентификационные данные метрологически значимой части серверного ПО
Идентификационные данные (признаки) |
Значение |
Идентификационное наименование ПО |
CityAir Cloud Server |
Номер версии (идентификационный номер) ПО |
не ниже 1.4.293 |
Цифровой идентификатор ПО |
8A7C6DCA4A163 542C0AD8727061A6749 (TcpipSourceLib.dll) C03893DA964D2FB507FE131DEE5AC252 (DataExporterLib.dll) |
Алгоритм вычисления цифрового идентификатора ПО |
MD5 |
Идентификационные данные встроенного ПО микростанций мониторинга воздуха CityAir 2 представлены в таблице 3.
Таблица 3 - Идентификационные данные встроенного ПО микростанций
Идентификационные данные (признаки) |
Значение |
Идентификационное наименование ПО |
Core Firmware |
Номер версии (идентификационный номер) ПО |
не ниже 2.1.50.332 |
Цифровой идентификатор ПО |
EFB1DD9C8AE987321612D9419F3574A6 |
Алгоритм вычисления цифрового идентификатора ПО |
MD5 |
Уровень защиты программного обеспечения «средний» в соответствии с Р 50.2.0772014.
Влияние встроенного программного обеспечения учтено при нормировании метрологических характеристик.
Метрологические и технические характеристики
Таблица 4 - Метрологические характеристики
Наименование характеристики |
Значение |
Диапазон показаний массовой концентрации пыли, мг/м3 |
от 0 до 6 |
Диапазон измерений массовой концентрации пыли, мг/м3 |
от 0,01 до 1,00 |
Пределы допускаемой относительной погрешности измерений массовой концентрации пыли, % |
±50 |
Диапазон измерений скорости воздушного потока, м/с |
от 0,3 до 60,0 |
Пределы допускаемой погрешности измерений скорости в оздушного потока: абсолютной в диапазоне от 0,3 до 10,0 м/с включительно, м/с относительной в диапазоне свыше 10,0 до 60,0 м/с, % |
±0,3 ±3 |
Диапазон измерений направления воздушного потока, градус |
от 0 до 360 |
Пределы допускаемой абсолютной погрешности измерений направления воздушного потока, градус |
±3 |
Диапазон измерений температуры воздуха, °C |
от -50 до +60 |
Пределы допускаемой абсолютной погрешности измерений температуры воздуха, °C |
±0,1 |
Диапазон измерений относительной влажности воздуха, % |
от 1 до 100 |
Пределы допускаемой абсолютной погрешности измерений относительной влажности, % |
±3 |
Диапазон измерений атмосферного давления, гПа |
от 300 до 1200 |
Пределы допускаемой абсолютной погрешности измерений атмосферного давления, гПа |
±1 |
Диапазон измерений интенсивности осадков, мм/мин |
от 0,1 до 2,4 |
Пределы допускаемой абсолютной погрешности измерений интенсивности осадков, мм/мин |
±0,2 |
Диапазон измерений концентрации диоксида азота (NO2), мг/м3 |
от 0,1 до 30,0 |
Диапазон измерений концентрации сероводорода (H2S), мг/м3 |
от 0,1 до 30,0 |
Пределы допускаемой основной относительной погрешности измерений концентрации диоксида азота, % |
±15 |
Пределы допускаемой основной относительной погрешности измерений концентрации сероводорода, % |
±10 |
Пределы допускаемой дополнительной погрешности измерений концентрации диоксида азота и сероводорода от влияния температуры окружающей среды в пределах рабочих условий эксплуатации, на каждые 10 °С, в долях от пределов допускаемой основной погрешности |
0,5 |
Наименование характеристики |
Значение |
Пределы допускаемой дополнительной погрешности измерений концентрации диоксида азота и сероводорода от влияния изменения атмосферного давления в пределах рабочих условий эксплуатации, на каждые 3,3 кПа, в долях от пределов допускаемой основной погрешности |
0,2 |
Пределы допускаемой дополнительной погрешности измерений концентрации диоксида азота и сероводорода от влияния изменения влагосодержания воздуха в пределах рабочих условий эксплуатации, в долях от пределов допускаемой основной погрешности |
0,5 |
Таблица 5 - Основные технические характеристики
Наименование характеристики |
Значение |
Габаритные размеры, мм, не более:
газоанализатором «Сенсон» исполнения СМ
|
465*320*160 140*360 143*128*58 230*150*60 |
Масса, кг, не более:
|
10,0 1,5 1,2 0,5 |
Параметры электрического питания: -измерительные компоненты: - микростанции мониторинга воздуха CityAir 2: от сети переменного тока:
-сервера:
|
в соответствии с эксплуатационной документацией от 100 до 240 50 12 5,4 220±22 50±1 |
Условия эксплуатации:
|
от -40 до +50 от +15 до +25 |
Наименование характеристики |
Значение |
|
от 30 до 95 80 от 84 до 104 |
Знак утверждения типа наносится на титульный лист паспорта типографским способом.
Комплектность средства измерений
Таблица 6 - Комплектность средства измерений
Наименование |
Обозначение |
Кол-во |
Система мониторинга качества воздуха CityAir |
УНСЛ.421452.001 |
1 шт. 1) |
Паспорт |
УНСЛ.421452.001ПС |
1 экз. |
Руководство по эксплуатации |
УНСЛ.421452.001РЭ |
1 экз. |
Руководство оператора |
643.УНСЛ.00002-01 34 01 |
1 экз. |
Методика поверки |
МП-250^А^Ш10556-2019 |
1 экз. |
Комплект эксплуатационных документов на составные части |
- |
1 экз. |
Программное обеспечение «CityAir Cloud Server» на USB-флеш-накопителе или CD |
- |
1 шт. |
Программа «CityAir Interface Configurator» на USB-флеш-накопителе или CD |
- |
1 шт. |
1) - состав определяется заказом |
осуществляется по документу Ml I-250-RA.RU.3I055()-20|9 «ГСИ. Системы мониторинга качества воздуха CityAir. Методика поверки», утвержденному Западно-Сибирским филиалом ФГУ1 «ВНИИФТРИ» 25.03.2020 г.
Основные средства поверки:
- средства поверки в соответствии с документами на поверку средств измерений, входящих в состав системы.
Допускается применение аналогичных средств поверки, обеспечивающих определение метрологических характеристик поверяемого СИ с требуемой точностью.
Знак поверки наносится на свидетельство о поверке.
Сведения о методиках (методах) измеренийприведены в эксплуатационном документе.
Нормативные документы, устанавливающие требования к системам мониторинга качества воздуха CityAirГОСТ Р 8.596-2002 ГСИ. Метрологическое обеспечение измерительных систем. Основные положения.
1риказ Росстандарта № 2664 от 14.12.2018 г. Об утверждении Государственной поверочной схемы для средств измерений содержания компонентов в газовых и газоконденсатных схемах.
ГОСТ 8.606-2012 ГСИ. Государственная поверочная схема для средств измерений дисперсных параметров аэрозолей, взвесей и порошкообразных материалов.
Приказ Росстандарта №2815 от 25.11.2019 г. Об утверждении Государственной поверочной схемы для средств измерений скорости воздушного потока.
ГОСТ 8.558-2009 ГСИ. Государственная поверочная схема для средств измерений температуры.
ГОСТ 8.547-2009 ГСИ. Государственная поверочная схема для средств измерений влажности газов.
ГОСТ Р 8.840-2013 ГСИ. Государственная поверочная схема для средств измерений абсолютного давления в диапазоне от 1 до 1-106 Па.
Приказ Росстандарта № 256 от 07.02.2018 г. Об утверждении Государственной поверочной схемы для средств измерений массы и объема жидкости в потоке, объема жидкости и вместимости при статических измерениях, массового и объемного расходов жидкости. Часть 3.
Приказ Минприроды России № 425 от 07.12.2012 г. Перечень измерений, относящих ся к сфере государственного регулирования обеспечения единства измерений и выполняемых при осуществлении деятельности в области охраны окружающей среды и обязательных метрологических требований к ним, в том числе показателей точности измерений.
ИзготовительОбщество с ограниченной ответственностью «Унискан» (ООО «Унискан»)
ИНН 5406372873
Адрес: 630117, г. Новосибирск, ул. Арбузова, д. 4/26
Юридический адрес: 630099, г. Новосибирск, ул. Орджоникидзе, д. 38, этаж 2, офис 205 Тел.: (383) 363-10-03, 363-50-99
Web-сайт: www.uniscan-research.ru
E-mail: sales@uniscan.biz
Испытательный центрЗападно-Сибирский филиал Федерального государственного унитарного предприятия «Всероссийский научно-исследовательский институт физико-технических и радиотехнических измерений»
Адрес: 630004, г. Новосибирск, пр. Димитрова, 4
Юридический адрес: 141570, Московская область, Солнечногорский район, г.Солнечногорск, Рабочий поселок Менделеево, промзона ФГУП ВНИИФТРИ, корпус 11
Телефон: +7 (383) 210-08-14, факс: +7 (383) 210-13-60
Е-mail: director@sniim.ru
Аттестат аккредитации Западно-Сибирского филиала ФГУП «ВНИИФТРИ» по проведению испытаний средств измерений в целях утверждения типа №RA.RU.31 0556 от 01.01.2016 г.