№100 от 10.02.2016
Приказ Федерального агентства по техническому регулированию и метрологии (Росстандарт)
# 2189
О внесении изменений в описание типа на систему автоматизированную информационно-измерительную коммерческого учета электроэнергии (АИИС КУЭ) ПС 220/110/10 кВ "Красноленинский ГПЗ"
министерство промышленности и торговли российской «дарАЦин
ФЕДЕРАЛЬНОЕ АГЕНТСТВО
ПО ТЕХНИЧЕСКОМУ РЕГУЛИРОВАНИЮ И МЕТРОЛОГИИ (Рмстмцарт)
ПРИКАЗ10 февраля 2016 г.
100
Москва
О внесении изменений в описание типа на систему автоматизированную информационно-измерительную коммерческого учета электроэнергии (АИИС КУЭ) ПС 220/110/10 кВ «Красноленинский ГПЗ»
Во исполнение приказа Министерства промышленностй и торговли Российской Федерации от 25 июня 2013 г. № 970 «Об утверждении Административного регламента по предоставлению Федеральным агентством по техническому регулированию и метрологии государственной услуги по утверждению типа стандартных образцов или типа средств измерений», зарегистрированного в Министерстве юстиции Российской Федерации 12 сентября 2013 г. № 29940, в связи с обращением ООО «ИЦ ЭАК» от 22 декабря 2015 г. № 4397 приказываю:
-
1. Внести изменения в описание типа на систему автоматизированную информационно-измерительную коммерческого учета электроэнергии (АИИС КУЭ) ПС 220/110/10 кВ «Красноленинский ГПЗ», зарегистрированную в Федеральном информационном фонде по обеспечению единства измерений, с сохранением регистрационного номера 47903-11, изложив его в новой редакции согласно приложению к настоящему приказу.
-
2. Управлению метрологии (Р.А.Родин) оформить новое описание типа средства измерений.
-
3. Контроль за исполнением настоящего приказа оставляю за собой.
Заместитель Руководителя
Федерального агентства
✓
Подлинник электронного документа, ■ ч» u
хранится в системе электронного документооборота Федерального агентства по техническому ___________регулированию и метрологии.___________
Сертификат: 18BA1B0002008D01188B Кому выдан: Голубев Сергей Сергеевич Действителен: с 18.11.2015 до 18.11.2016 Приложение к приказу Федерального агентства по техническому регулированию и метрологии
от «10» февраля 2016 г. № 100
Изменения в описание типа на систему автоматизированную информационно-измерительную коммерческого учета электроэнергии (АИИС КУЭ) ПС 220/110/10 кВ «Красноленинский ГПЗ»ОПИСАНИЕ ТИПА СРЕДСТВА ИЗМЕРЕНИЙ
Система автоматизированная информационно-измерительная коммерческого учета электроэнергии (АИИС КУЭ) ПС 220/110/10 кВ «Красноленинский ГПЗ»
Назначение средства измеренийСистема автоматизированная информационно-измерительная коммерческого учета электроэнергии (АИИС КУЭ) ПС 220/110/10 кВ «Красноленинский ГПЗ» (далее - АИИС КУЭ) предназначена для измерения активной и реактивной электроэнергии, а также автоматизированного сбора, обработки, хранения и отображения информации. Выходные данные системы могут быть использованы для коммерческих расчетов.
Описание средства измеренийАИИС КУЭ представляет собой многофункциональную трехуровневую автоматизированную систему с централизованным управлением и распределённой функцией измерения.
АИИС КУЭ включает в себя следующие уровни:
Первый уровень - измерительные каналы (ИК), включающие в себя измерительные трансформаторы тока (ТТ) класса точности 0,2S по ГОСТ 7746-2001, измерительные трансформаторы напряжения (TH) класса точности 0,2 по ГОСТ 1983-2001 и счетчики активной и реактивной электроэнергии Альфа А1800 класса точности 0,2S по ГОСТ Р 52323-05 (в части активной электроэнергии) и 0,5 (в части реактивной электроэнергии), вторичные измерительные цепи и технические средства приема-передачи данных, образующие 2 измерительных канала по количеству точек учета электроэнергии.
Счетчики электрической энергии обеспечены энергонезависимой памятью для хранения профиля нагрузки с получасовым интервалом на глубину не менее 35 суток, данных по активной и реактивной электроэнергии с нарастающим итогом за прошедший месяц, а так же запрограммированных параметров.
Второй уровень - информационно-вычислительный комплекс электроустановки (ИВКЭ), включающий в себя устройство сбора и передачи данных (УСПД), устройство синхронизации времени и коммутационное оборудование.
УСПД типа ЭКОМ-3000 обеспечивает сбор данных от счетчика, расчет и архивирование результатов измерений электрической энергии в энергонезависимой памяти с привязкой ко времени, передачу этой тнформации в ИВК. Полученная информация накапливается в энергонезависимой памяти УСПД. Расчетное значение глубины хранения архивов составляет не менее 35 суток. Точное значение глубины хранения информации определяется при конфигурировании УСПД.
Третий уровень - информационно-вычислительный комплекс (ИВК). Этот уровень обеспечивает выполнение следующих функций:
-
- сбор информации от ИВКЭ (результаты измерений, журнал событий);
-
- обработку данных и их архивирование;
-
- хранение информации в базе данных серверов ПАО «Федеральная Сетевая Компания Единой Энергетической Системы» (ПАО «ФСК ЕЭС») не менее 3,5 лет;
-
- доступ к информации и ее передачу в организации-участники ОРЭ.
ИВК состоит из ИВК АИИС КУЭ ЕНЭС (Метроскоп) и ЦСОД (центр сбора и обработки данных) филиала ПАО «ФСК ЕЭС» - МЭС Западной Сибири, а также устройства синхронизации времени в каждом ЦСОД, аппаратуры приема-передачи данных и технических средств для организации локальной вычислительной сети (ЛВС), разграничения прав доступа к информации и специализированное программное обеспечение (СПО) «Метроскоп».
К серверам ИВК подключен коммутатор Ethernet. Также к коммутатору подключен АРМ персонала.
Для работы с системой на уровне подстанции предусматривается организация АРМ ПС.
Первичные фазные токи и напряжения преобразуются измерительными трансформаторами в аналоговые сигналы низкого уровня, которые по проводным линиям связи поступают на соответствующие входы электронного счетчика электрической энергии. Первичный ток в счетчиках измеряется с помощью измерительных трансформаторов тока, имеющих малую линейную и угловую погрешность в широком диапазоне измерений. В цепи трансформаторов тока установлены шунтирующие резисторы, сигналы с которых поступают на вход измерительной микросхемы. Измеряемое напряжение каждой фазы через высоколинейные резистивные делители подается непосредственно на измерительную микросхему. Измерительная микросхема осуществляет выборки входных сигналов токов и напряжений по каждой фазе, используя встроенные аналого-цифровые преобразователи, и выполняет различные вычисления для получения всех необходимых величин. С выходов измерительной микросхемы на микроконтроллер поступают интегрированные по времени сигналы активной и реактивной энергии. Микроконтроллер осуществляет дальнейшую обработку полученной информации и накопление данных в энергонезависимой памяти, а также микроконтроллер осуществляет управление отображением информации на ЖКИ, выводом данных по энергии на выходные импульсные устройства и обменом по цифровому интерфейсу. Измерение максимальной мощности счетчик осуществляет по заданным видам энергии. Усреднение мощности происходит на интервалах, длительность которых задается программно и может составлять 1,2, 3, 5, 10, 15, 30,60 минут.
УСПД автоматически проводит сбор результатов измерений и состояние средств измерений со счетчиков электрической энергии (один раз в 30 минут) по проводным линиям связи (интерфейс RS-485).
Коммуникационный сервер опроса ИВК АИИС КУЭ ЕНЭС (Метроскоп) автоматически опрашивает УСПД ИВКЭ. Опрос УСПД выполняется по сетям спутниковой связи VSAT (основной канал связи). При отказе основного канала связи опрос УСПД выполняется по резервному каналу связи, организованному на базе волоконно-оптической линии связи в ЦСОД филиала ПАО «ФСК ЕЭС» - МЭС Западной Сибири. Между ИВК АИИС КУЭ ЕНЭС (Метроскоп) и ЦСОД филиала ПАО «ФСК ЕЭС» - МЭС Западной Сибири происходит автоматическая репликация данных по сетям единой цифровой сети связи энергетики (ЕЦССЭ).
По окончании опроса коммуникационный сервер автоматически передает полученные данные в базу данных (БД) сервера БД ИВК АИИС КУЭ ЕНЭС (Метроскоп).
В сервере БД ИВК АИИС КУЭ ЕНЭС (Метроскоп) информация о результатах измерений приращений потребленной электрической энергии автоматически формируется в архивы и сохраняется на глубину не менее 3,5 лет по каждому параметру. Сформированные архивные файлы автоматически сохраняются на «жестком» диске.
Один раз в сутки коммуникационный сервер ИВК АИИС КУЭ ЕНЭС (Метроскоп) автоматически формирует файл отчета с результатами измерений при помощи СПО «Метроскоп», в формате XML, и автоматически передает его в интегрированную автоматизированную систему управления коммерческим учетом (ИАСУ КУ) ОАО «АТС» и в филиал «СО ЕЭС» - Тюменское РДУ, через IP сеть передачи данных ПАО «ФСК ЕЭС», с доступом в глобальную компьютерную сеть Internet.
Каналы связи не вносят дополнительных погрешностей в измеренные значения энергии и мощности, которые передаются от счетчиков в ИВК, поскольку используется цифровой метод передачи данных.
Система обеспечения единого времени (СОЕВ) выполняет законченную функцию измерений времени и формируется на всех уровнях системы.
Контроль времени в ИК ПС автоматически выполняет УСПД, при каждом сеансе опроса (один раз в 30 минут), синхронизация времени выполняется автоматически в случае расхождения времени в счетчике и УСПД на величину более ± 1 с.
Синхронизация системного времени УСПД выполняется автоматически, через встроенный в УСПД GPS-приемник. В комплект GPS-приемника входит антенна и антенный кабель.
В ИВК ЦСОД МЭС Западной Сибири и ИВК АИИС КУЭ ЕНЭС (Метроскоп) также используется устройство синхронизации времени yCCB-35HVS, которое подключается к коммуникационному серверу по интерфейсу RS-232. Синхронизация системного времени серверов ИВК выполняется автоматически по сигналам yCCB-35HVS на величину более ± 1 с.
Таким образом, СОЕВ АИИС КУЭ ПС 220/110/10 кВ «Красноленинский ГПЗ» обеспечивает измерение времени в системе с погрешностью не хуже нормированного значения ± 5 с.
Защита от несанкционированного доступа предусмотрена на всех уровнях сбора, передачи и хранения коммерческой информации и обеспечивается совокупностью технических и организационных мероприятий.
Журналы событий счетчика электроэнергии и УСПД отражают время (дата, часы, минуты) коррекции часов указанных устройств и расхождение времени в секундах, корректируемого и корректирующего устройств в момент непосредственно предшествующий корректировке.
Программное обеспечениеТаблица 1 - Идентификационные данные специализированного программного обеспечения (далее - СПО), установленного в ИВК АИИС КУЭ ЕНЭС (Метроскоп)
Идентификационные данные (признаки) |
Значение |
1 |
2 |
Идентификационное наименование ПО |
СПО АИИС КУЭ ЕНЭС (Метроскоп) |
Номер версии (идентификационный номер) ПО |
1.00 |
Цифровой идентификатор ПО |
289aa64f646cd3873804db5fb d653679 |
Другие идентификационные данные, если имеются |
MD5 |
Комплекс измерительно-вычислительный АИИС КУЭ ЕНЭС (Метроскоп) ИВК АИИС КУЭ ЕНЭС (Метроскоп), включающий в себя СПО внесен в Госреестр СИ РФ под №45048-10;
Метрологические характеристики ИК АИИС КУЭ, указанные в таблице 2, нормированы с учетом СПО;
Защита программного обеспечения обеспечивается применением электронной цифровой подписи, разграничением прав доступа, использованием ключевого носителя. Уровень защиты - «высокий» в соответствии с Р 50.2.077-2014.
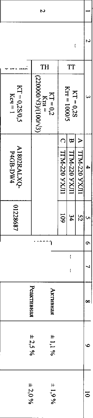
Метрологические и технические характеристикиСостав измерительных каналов АИИС КУЭ приведен в таблице 2. Уровень ИВКЭ АИИС КУЭ реализован на базе устройства сбора и передачи данных УСПД ЭКОМ-ЗООО (Госреестр № 17049-04, зав. № 08145627) и Комплекса измерительно-вычислительный АИИС КУЭ ЕНЭС (Метроскоп) ИВК АИИС КУЭ ЕНЭС (Метроскоп) (Госреестр № 45048-10).
Таблица 2 - Состав измерительных каналов и их метрологические характеристики
Канал измерений |
Состав измерительного канала |
Ктт ■ Ктн • Кеч |
Наименование измеряемой величины |
Вид энергии |
Метроло характе] |
гические ристики | |||||
Номер ИК, код точки измеренийий |
Наименование объекта учета, диспетчерское наименование присоединения |
Вид СИ, класс точности, коэффициент трансформации, № Госреестра СИ или свидетельства о поверке |
Обозначение, тип |
Заводской номер |
Основная относительная погрешность ИК, (±5) % |
Относительная погрешность ИК в рабочих условиях эксплуатации, (±5) % | |||||
cos ф = 0,87 sin ф = 0,5 |
cos ф = 0,5 sin ф = 0,87 | ||||||||||
1 |
2 |
3 |
4 |
5 |
6 |
7 |
8 |
9 |
10 | ||
1 |
ПС 220/10/10 кВ Красноленинский ГПЗ; ОРУ-220 кВ; СШ-220 кВ; ВЛ-220 кВ Няганская ГРЭС -Красноленинский ГПЗ |
£ |
KT = 0,2S Ктт= 1000/5 |
А |
ТГМ-220 УХЛ1 |
35 |
440000 |
Мощность и энергия активная Мощность и энергия реактивная |
Активная Реактивная |
± 1,1 % ± 2,5 % |
± 1,9% ± 2,0 % |
В |
ТГМ-220 УХЛ1 |
30 | |||||||||
С |
ТГМ-220 УХЛ1 |
32 | |||||||||
ас ь |
КТ = 0,2 Ктн = (220000Л/3)/(100/^3) |
А |
НДКМ-220 |
368 | |||||||
В |
НДКМ-220 |
354 | |||||||||
С |
НДКМ-220 |
365 | |||||||||
Счетчик |
КТ = 0,2S/0,5 Ксч= 1 |
A1802RALXQ-P4GB-DW4 |
01228689 |

Продолжение таблицы 2
ПС 220/10/10 кВ Красноленинский ГПЗ; ОРУ-220 кВ; Ремонтная перемычка
Счетчик
О |
03 |
> |
ндкм- |
НДКМ- |
НДКМ- |
N) |
К) | |
ЬЭ |
м |
м |
о |
о |
о |
UJ | ||
м |
О |
О\ |
00 |
440000
Мощность и энергия активная
Мощность и энергия реактивная
Os
Примечания:
-
1. В Таблице 2 приведены метрологические характеристики ИК для измерения электроэнергии и средней мощности (получасовых), при доверительной вероятности Р = 0,95.
-
2. Нормальные условия эксплуатации:
-
- параметры питающей сети: напряжение (220±4,4) В; частота (50 ± 0,5) Гц;
-
- параметры сети: диапазон напряжения (0,98 - 1,02)Uh; диапазон силы тока (1,0 - 1,2)1н; диапазон коэффициента мощности coscp (sinip) - 0,87(0,5); частота (50 ± 0,5) Гц;
-
- температура окружающего воздуха: ТТ от 15 до 35°С; TH от 10 до 35°С; счетчиков: в части активной энергии от 21 до 25°С, в части реактивной энергии от 18 до 22°С; УСПД от 15 до 25°С;
-
- относительная влажность воздуха (70±5) %;
-
- атмосферное давление (100±4) кПа;
-
3. Рабочие условия эксплуатации:
Для ТТ и TH:
-
- параметры сети: диапазон первичного напряжения от (0,9 - 1,1)Uh1; диапазон силы первичного тока (0,01(0,02) -1,2)1н1; коэффициент мощности costp (sincp) 0,5 -1,0(0,6 - 0,87); частота (50 ± 0,5) Гц;
-
- температура окружающего воздуха от минус 30 до 35 “С;
-
- относительная влажность воздуха (70±5) %;
-
- атмосферное давление (100±4) кПа.
Для электросчетчиков:
-
- параметры сети: диапазон вторичного напряжения (0,9 - 1,1)Uh2; диапазон силы вторичного тока (0,01 - 1,2)1н2; диапазон коэффициента мощности coscp (sincp) 0,5-^ 1,0 (0,6 - 0,87); частота (50 ± 0,5) Гц;
-
- магнитная индукция внешнего происхождения 0,5 мТл;
-
- температура окружающего воздуха от 10 до 30°С;
-
- относительная влажность воздуха (40-60) %;
-
- атмосферное давление (100±4) кПа.
Для аппаратуры передачи и обработки данных:
-
- параметры питающей сети: напряжение (220±10) В; частота (50 ± 1) Гц;
-
- температура окружающего воздуха от 10 до 30°С;
-
- относительная влажность воздуха (70±5) %;
-
- атмосферное давление (100±4) кПа;
-
4. Измерительные каналы включают измерительные трансформаторы тока по ГОСТ 7746-2001, измерительные трансформаторы напряжения по ГОСТ 1983-2001, счетчики электрической энергии по ГОСТ 52323-2005 в режиме измерения активной электрической энергии и в режиме измерения реактивной электрической энергии;
-
5. Допускается замена измерительных трансформаторов и счетчиков на аналогичные утвержденных типов с метрологическими характеристиками не хуже, чем у перечисленных в Таблице 2, УСПД на однотипный утвержденного типа. Замена оформляется актом в установленном порядке. Акт хранится совместно с настоящим описанием типа АИИС КУЭ ПС 220/110/10 кВ «Красноленинский ГПЗ» как его неотъемлемая часть.
Надежность применяемых в системе компонентов:
-
- счетчик - среднее время наработки на отказ: для счетчиков типа Альфа А1800 -не менее 120000 часов; среднее время восстановления работоспособности 48 часов;
-
- УСПД - среднее время наработки на отказ не менее Т = 75000 ч, среднее время восстановления работоспособности tB = 2 ч;
-
- сервер - среднее время наработки на отказ не менее Т = 45000 ч, среднее время восстановления работоспособности tB = 1 ч.
Надежность системных решений:
-
- резервирование питания УСПД с помощью источника бесперебойного питания и устройства АВР;
-
- резервирование каналов связи: информация о результатах измерений может передаваться с помощью электронной почты и сотовой связи;
-
- журналах событий счетчика и УСПД фиксируются факты:
-
- параметрирование;
-
- пропадания напряжения;
-
- коррекции времени;
-
- журнал УСПД:
-
- параметрирование;
-
- пропадания напряжения;
-
- коррекции времени в счетчике и сервере;
-
- пропадание и восстановление связи со счетчиком;
-
- выключение и включение сервера;
Защищённость применяемых компонентов:
-
- механическая защита от несанкционированного доступа и пломбирование:
-
- электросчётчика;
-
- промежуточных клеммников вторичных цепей напряжения;
-
- испытательной коробки;
-
- УСПД;
-
- защита на программном уровне информации при хранении, передаче, параметрирование:
-
- пароль на счетчике;
-
- пароль на УСПД;
-
- пароли на сервере, предусматривающие разграничение прав доступа к измерительным данным для различных групп пользователей.
Возможность коррекции времени в:
-
- счетчиках (функция автоматизирована);
• УСПД (функция автоматизирована);
-
- ИВК (функция автоматизирована).
Возможность сбора информации:
-
- о состоянии средств измерений (функция автоматизирована);
-
- о результатах измерений (функция автоматизирована).
Цикличность:
-
- измерений 30 мин (функция автоматизирована);
-
- сбора 30 мин (функция автоматизирована).
Глубина хранения информации:
-
- счетчик - тридцатиминутный профиль нагрузки в двух направлениях при отключении питания: для счетчиков типа Альфа А1800 - не менее 30 лет;
-
- ИВКЭ - результаты измерений, состояние объектов и средств измерений -не менее 35 суток;
-
- ИВК - результаты измерений, состояние объектов и средств измерений - не менее 3,5 лет.
наносится на титульные листы эксплуатационной документации на систему автоматизированную информационно-измерительную коммерческого учета электроэнергии (АИИС КУЭ) ПС 220/110/10 кВ «Красноленинский ГПЗ» типографическим способом.
Комплектность средства измеренийКомплектность АИИС КУ Э ПС 220/110/10 кВ «Красноленинский ГПЗ» определяется проектной документацией на систему. В комплект поставки входит техническая документация на систему и на комплектующие средства измерений.
Комплектность АИИС КУЭ ПС 220/110/10 кВ «Красноленинский ГПЗ» представлена в таблице 3.
Таблица 3 - Комплектность АИИС КУЭ ПС 220/110/10 кВ «Красноленинский ГПЗ»
Наименование (обозначение) изделия |
Кол. (шт) |
Трансформаторы тока ТГМ-220 УХЛ1 |
6 |
Трансформаторы напряжения емкостные НДКМ-220 |
3 |
Счетчик электрической энергии трехфазные многофункциональные Альфа А1800 |
2 |
Устройства сбора и передачи данных ЭКОМ-3000 |
1 |
yCCB-35HVS |
2 |
Комплексы измерительно-вычислительные АИИС КУЭ ЕНЭС (Метроскоп) ИВК АИИС КУЭ ЕНЭС (Метроскоп) |
1 |
ИВК ЦСОД МЭС Западной Сибири |
1 |
Методика поверки |
1 |
Формуляр |
1 |
Инструкция по эксплуатации |
1 |
осуществляется по документу МП 47903-11 «Система автоматизированная информационноизмерительная коммерческого учета электроэнергии (АИИС КУЭ) ПС 220/110/10 кВ «Красноленинский ГПЗ». Методика поверки», согласованной с ВНИИМС в сентябре 2011 года. Знак поверки, в виде оттиска поверительного клейма, наносится на свидетельство о поверке.
Перечень основных средств поверки:
-
- Трансформаторы тока - в соответствии с ГОСТ 8.217-2003 «ГСИ. Трансформаторы тока. Методика поверки»;
-
- Трансформаторы напряжения - по МИ 2925-2005 «Измерительные трансформаторы напряжения 35,..330/"73 кВ. Методика поверки на месте эксплуатации с помощью эталонного делителя» и/или по ГОСТ 8.216-88 «Государственная система обеспечения единства измерений. Трансформаторы напряжения. Методика поверки»;
-
- Средства измерений МИ 3195-2009. «Государственная система обеспечения единства измерений мощность нагрузки трансформаторов напряжения без отключения цепей. Методика выполнения измерений»;
-
- Средства измерений МИ 3196-2009. «Государственная система обеспечения единства измерений вторичная нагрузка трансформаторов тока без отключения цепей. Методика выполнения измерений»;
-
- Счетчик Альфа А1800 - в соответствии с документом МП-2203-0042-2006 «Счетчики электрической энергии трехфазные многофункциональные Альфа А1800. Методика поверки», утвержденным ГЦИ СИ «ВНИИМ им. Д.И. Менделеева» 19 мая 2006 г.;
-
- УСПД ЭКОМ-ЗООО - в соответствии с документом «ГСИ. Программнотехнический измерительный комплекс ЭКОМ. Методика поверки. МП 26-262-99», утвержденным УНИИМ (декабрь 1999 г.). Поверку каналов аналогового вывода проводят в соответствии с МИ 1991-89 «ГСИ. Калибраторы и преобразователи измерительные цифрового кода в постоянное электрическое напряжение и ток. Методика поверки»;
-
- ИВК АИИС КУЭ ЕНЭС (Метроскоп) - в соответствии с документом ЕМНК.466454.005.МП «Комплексы измерительно-вычислительные АИИС КУЭ ЕНЭС (Метроскоп) ИВК АИИС КУЭ ЕНЭС (Метроскоп). Методика поверки», утвержденная ФГУ «Пензенский ЦСМ» 30 августа 2010 г.;
-
- Радиочасы МИР РЧ-01, принимающие сигналы спутниковой навигационной системы Global Positioning System (GPS), номер в Государственном реестре средств измерений 27008-04;
-
- Переносной компьютер с ПО и оптический преобразователь для работы со счетчиками системы и с ПО для работы с радиочасами МИР РЧ-01;
-
- термогигрометр CENTER (мод.314): диапазон измерений температуры от минус 20 до 60 °C, дискретность 0,1 °C; диапазон измерений относительной влажности от 10 до 100 %, дискретность 0,1 %.
Метод измерений изложен в документе Л2202156/2157-143-УЭ2 ИЭ «Автоматизированная информационно-измерительная система коммерческого учета электроэнергии Единой национальной электрической сети на АИИС КУЭ ПС 220/110/10 кВ «Красноленинский ГПЗ» филиал ОАО «ФСК ЕЭС» - МЭС Западной Сибири. Инструкция по эксплуатации КТС».
Нормативные и технические документы, устанавливающие требования к системе автоматизированной информационно-измерительной коммерческого учета электроэнергии ПС 220/110/10 кВ «Красноленинский ГПЗ»
ГОСТ 22261-94 «Средства измерений электрических и магнитных величин. Общие технические условия».
ГОСТ 1983-2001 «Трансформаторы напряжения. Общие технические условия».
ГОСТ 7746-2001 «Трансформаторы тока. Общие технические условия».
ГОСТ Р 52323-2005 «Аппаратура для измерения электрической энергии переменного тока. Частные требования. Часть 22. Статические счетчики активной энергии классов точности 0,2S и 0,5S».
ГОСТ ГОСТ 34.601-90 «Информационная технология. Комплекс стандартов на автоматизированные системы. Автоматизированные системы. Стадии создания»
ГОСТ Р 8.596-2002 «ГСИ. Метрологическое обеспечение измерительных систем. Основные положения».
Л2202156/2157-143-УЭ2 ИЭ «Автоматизированная информационно-измерительная система коммерческого учета электроэнергии Единой национальной электрической сети на АИИС КУЭ ПС 220/110/10 кВ «Красноленинский ГПЗ» филиал ОАО «ФСК ЕЭС» - МЭС Западной Сибири. Инструкция по эксплуатации КТС».
ИзготовительОбщество с ограниченной ответственностью «Велес» (ООО «Велес»)
ИНН 6606032731
Юридический адрес: 624071, Россия, Свердловская область, г. Среднеуральск, ул. Строителей, д.8, оф.53
Почтовый адрес: 624071, Россия, Свердловская область, г. Среднеуральск,
ул. Бахтеева, 25А-60
Тел./факс: +79022749085/-
Испытательный центрГосударственный центр испытаний средств измерений ФГУП «ВНИИМС» (ГЦИ СИ ФГУП «ВНИИМС»)
Юридический адрес: 119361, г. Москва, ул. Озерная, д.46
телефакс: 8 (495) 437-55-77
Регистрационный номер аттестата аккредитации государственного центра испытаний средств измерений № 30004-08 от 27.06.2008 г.