№3083 от 08.12.2022
Приказ Федерального агентства по техническому регулированию и метрологии (Росстандарт)
# 389612
Об установлении в качестве методик поверки МП 2550-0390-2022 и Р 52.08.702-2009 для вертушек гидрометрических ГР-55 (№ 3494-73) взамен МП, изложенной в "Руководстве по поверке гидрологических приборов", Гидрометеорологическое издательство, Ленинград, 1966
Приказы по основной деятельности по агентству Вн. Приказ № 3083 от 08.12.2022
УТВЕРЖДЕНЫ приказом Федерального агентства по техническому регулированию и метрологии от «08» декабря 2022 г. № 3083
Государственная система обеспечения единства измерений. Вертушки гидрометрические ГР-55.
Методика поверки.
МП 2550-0390-2022
Рекомендации.
Вертушки гидрометрические речные.
Методика поверки в установке компараторной для поверки гидрометрических вертушек.
Р 52.08.702-2009
Федеральное государственное унитарное предприятие
«Всероссийский научно-исследовательский институт метрологии им. Д.И. Менделеева»
ФГУП «ВНИИМ им Д. И. Менделеева»
СОГЛАСОВАНО
ФГУП «В
И. Менделеева»

ЗгГй. генера
Пронин
ФГУП «ВНИИМ..........., - .
Чекирда Константин Владимирович J
енеральный директор
2022 г.
Государственная система обеспечения единства измерений.
Вертушки гидрометрические ГР-55.
Методика поверки
МП 2550-0390-2022
Руководитель отдела скорости и расхода воздушного и водного потоков ФГУП «ВНИИМ им. Д.И. Менделеева»

К.В. Попов
Санкт-Петербург
2022
-
1 ОБЩИЕ ПОЛОЖЕНИЯ
-
1.1 Настоящая методика поверки распространяется на Вертушки гидрометрические ГР-55 (далее - вертушки), изготовленные заводом "Гидрометприбор", Грузинская ССР, г. Тбилиси, ((регистрационный номер в Федеральном информационном фонде по обеспечению единства измерений 3494-73 ), и применяется для их периодической поверки.
-
1.2 В результате поверки должны быть подтверждены следующие метрологические требования, приведенные в таблице 1.
-
Таблица 1
Наименование характеристики |
Значение |
Диапазон измерений скорости водного потока, м/с |
от 0,08 до 5,0 |
Пределы допускаемой относительной погрешности, % |
±•[0,015+0,004-(5/V2)-l)J 100 |
11 Значение верхней границы рабочего диапазона измеряемой скорости водного потока, указанное в паспорте гидрометрической вертушки | |
2) V - скорость водного потока, м/с |
-
1.3 При определении метрологических характеристик в рамках проводимой поверки обеспечивается передача единицы скорости водного потока в соответствии с локальной поверочной схемой Росгидромета для средств измерений средней скорости водного потока в диапазоне от 0,01 до 5,00 м/с утвержденной приказом руководителя Росгидромета от 12.05.2021 № 130, подтверждающая прослеживаемость к государственному первичному эталону единицы длины ГЭТ2-2021 и к государственному первичному эталону единиц времени, частоты и национальной шкалы времени ГЭТ1-2022.
-
1.4 При определении метрологических характеристик вертушек используется:
-
- метод непосредственного сличения (при применении прямолинейных бассейнов);
-
- метод сличения с помощью компаратора (при применении установок компараторных для поверки гидрометрических вертушек УКПГВ и лотков градуировочных ГР-19 и ГР-19М).
-
1.5 Допускается проведение периодической поверки в рабочем диапазоне значений скорости водного потока, указанном в паспорте гидрометрической вертушки.
-
1.6 Прослеживаемость при поверке вертушек гидрометрических обеспечивается в соответствии с локальной поверочной схемой Росгидромета для средств измерений средней скорости водного потока в диапазоне от 0,01 до 5,00 м/с утвержденной приказом руководителя Росгидромета от 12.05.2021 № 130 (Приложение Г), к государственному первичному эталону единицы длины ГЭТ2-2021 и к государственному первичному эталону единиц времени, частоты и национальной шкалы времени ГЭТ1-2022.
-
2 ПЕРЕЧЕНЬ ОПЕРАЦИЙ ПОВЕРКИ СРЕДСТВА ИЗМЕРЕНИЙ
-
2.1 При поверке вертушек гидрометрических типа ГР-55 должны быть выполнены операции, указанные в таблице 2
-
Таблица 2
Наименование операции поверки |
Обязательность выполнения операций поверки при |
Номер раздела (пункта) методики поверки,в соответствии с которым выполняется операция поверки | |
Первичной поверке |
Периодической поверке | ||
Внешний осмотр |
Да |
Да |
7 |
Контроль условий поверки (при подготовке к поверке и опробовании средства измерений) |
Да |
Да |
3.1 |
Опробование (при подготовке к поверке и опробовании средства измерений) |
Да |
Да |
8 |
Определение метрологических характеристик |
Да |
Да |
9 |
Подтверждение соответствия метрологическим требованиям |
Да |
Да |
10 |
-
2.2 Результаты выполнения операций поверки заносят в протокол, рекомендуемая форма которого приведена в приложении А и приложении Б, в зависимости от применяемого эталона.
-
2.3 При отрицательных результатах хотя бы одной из операций дальнейшая поверка вертушки прекращается.
-
3 ТРЕБОВАНИЯ К УСЛОВИЯМ ПРОВЕДЕНИЯ ПОВЕРКИ
-
3.1 При подготовке к поверке, опробовании и проведении поверки должны соблюдаться
-
следующие условия:
20 ± 10; от 84 до 106;
от 30 до 80;
20 ± 10.
-температура окружающей среды, °C -атмосферное давление, кПа -относительная влажность воздуха, % -температура воды в эталоне, °C
-
4 ТРЕБОВАНИЯ К СПЕЦИАЛИСТАМ, ОСУЩЕСТВЛЯЮЩИМ ПОВЕРКУ
-
4.1 Поверка гидрологических вертушек проводится бригадой, состоящей из поверителя и страхующего, наблюдающего за безопасным выполнением работ и изучившего применение средств спасения в случае падения в воду.
-
4.2 При выполнении поверки работы могут выполняться только специалистами, изучившими оборудование.
-
4.3 К эксплуатации электроустановок с целью выполнения своих должностных обязанностей, не связанных с их обслуживанием и ремонтом, допускаются лица с присвоенной II группой по электробезопасности до 1000 В.
-
-
5 МЕТРОЛОГИЧЕСКИЕ И ТЕХНИЧЕСКИЕ ТРЕБОВАНИЯ К СРЕДСТВАМ
ПОВЕРКИ
-
5.1 При проведении поверки применяют нижеперечисленные средства поверки и
вспомогательное оборудование, указанное в таблице 3.
Таблица 3
Операции поверки, требующие применения средств поверки |
Метрологические и технические требования к средствам поверки, необходимые для проведения поверки |
Перечень рекомендуемых средств поверки |
п. 3.1 Контроль условий поверки (при подготовке к поверке и опробовании средства измерений) |
Средства измерений температуры окружающей среды в диапазоне измерений от 10 до 30 °C, с абсолютной погрешностью не более 2 °C; Средства измерений относительной влажности воздуха в диапазоне от 30 до 80 %, с относительной погрешностью не более 6% Средства измерений атмосферного давления в диапазоне от 84 до 106 кПа, с абсолютной погрешностью не более 2 кПа. |
Т ермогигрометр ИВА-6Н-Д per. №46434-11 |
п.3.1 Контроль условий поверки, температура воды в эталоне (при подготовке к поверке и опробовании средства измерений) |
Средства измерений температуры воды в диапазоне измерений от 10 до 30 °C, с абсолютной погрешностью не более 2 °C; |
Термометр электроконтактный ТКП-100/MI per. №68475-17 |
п.8 Опробование |
Средства измерений амплитудных и временных параметров электрических сигналов, исследования формы сигнала с аналоговой полосой пропускания более 1 мГц и амплитудой сигналов до 10 В, с относительной погрешностью 5 %. |
Осциллограф цифровой DSOX 1204A per. № в ФИФ 75320-19 |
п.9 Определение метрологических характеристик |
Эталоны единицы средней скорости водного потока, соответствующие требованиям к эталонам не ниже рабочих эталонов по локальной поверочной схеме Росгидромета для средств измерений средней скорости водного потока в диапазоне от 0,01 до 5,00 м/с утвержденной приказом руководителя Росгидромета от 12.05.2021 № 130, в диапазоне значений от 0,01 до 5,00 м/с. |
Эталоны средней скорости водного потока в составе которых прямолинейные бассейны длиной более 60 м. Установки компараторные для поверки гидрометрических вертушек УКПГВ и лотки градуировочные типов ГР-19 и ГР-19М. |
Примечание - допускается применение средств поверки с метрологическими и техническими характеристиками, обеспечивающими требуемую точность передачи единиц величин поверяемому средству измерений. |
-
5.2 Эталон должен быть аттестован и иметь действующее свидетельство об аттестации (свидетельство о поверке), средства измерений должны иметь действующие свидетельства о поверке.
-
5.3 При опробовании применяется резистор МЛТ-0,25 сопротивлением от 100 Ом до 1 кОм, соединенный последовательно с элементом электропитания напряжением постоянного тока 1,5 В в соответствии с рисунком 1.
6. ТРЕБОВАНИЯ (УСЛОВИЯ) ПО ОБЕСПЕЧЕНИЮ БЕЗОПАСНОСТИ ПРОВЕДЕНИЯ ПОВЕРКИ
-
6.1 При поверке необходимо соблюдать требования:
-
- правил пожарной безопасности;
-
- правил технической эксплуатации электроустановок потребителей;
-
- межотраслевых правила по охране труда (правилами безопасности) при эксплуатации электроустановок;
-
- правил устройства электроустановок потребителей;
-
- правил безопасности при эксплуатации средств поверки, приведенных в эксплуатационной документации;
-
- правил по охране труда при эксплуатации коммунального водопроводно-канализационного хозяйства.
-
6.2 Все работы в прямолинейных бассейнах выполняет бригада, в состав которой входит не менее 2 сотрудников, поверитель и страхующий, прошедшие инструктаж по безопасному выполнению работ.
-
6.3 В прямолинейных бассейнах на месте производства работ должны находиться средства спасения для оказания помощи на воде.
-
6.4 Должны соблюдаться требования безопасности, указанные в эксплуатационной документации на эталоны и средства измерений.
-
7 ВНЕШНИЙ ОСМОТР СРЕДСТВА ИЗМЕРЕНИЙ
-
- наличие маркировки типа средства измерений, года выпуска, заводского номера на корпусе гидрометрической вертушки и номеров на лопастных винтах.
-
- отсутствие механических повреждений, коррозии, нарушения покрытий, надписей и других дефектов, препятствующих его функционированию в соответствии с ЭД;
-
- соответствие вертушек эксплуатационной документации на них;
-
- отсутствие вмешательства в конструкцию вертушки.
-
7.2 По результатам внешнего осмотра принимают решение о проведении дальнейшей поверки или ее прекращении до устранения выявленных недостатков.
-
8 ПОДГОТОВКА К ПОВЕРКЕ И ОПРОБОВАНИЕ СРЕДСТВА ИЗМЕРЕНИЙ
-
8.1 Перед опробованием и поверкой выдержать поверяемую вертушку не менее двух часов при температуре воздуха 20 ± 10 °C. Контролируют условия поверки, которые должны соответствовать требованиям приведенным в п. 3.1.
-
8.2 При опробовании вертушки устанавливают их работоспособность в соответствии с п. 8.3, при применении градуировочных лотков и установок компараторных в соответствии с п. 8.4.
-
8.3 При опробовании подключают к вертушке цифровой осциллограф с аналоговой полосой пропускания более 1 МГц в соответствии с рисунком 1, вращают лопастной винт вертушки рукой, по возможности равномерно (либо путем буксировки в воде), при этом необходимо наблюдать на экране осциллографа не менее пятнадцати прямоугольных импульсов, отображаемых без пропусков и искажений.
-
К входу «X* осциллографа
К общему проводу осциллографа
R резистор МЛТ-0,25-100 Ом ±10 %
ОЖО 467ДЗОТУ
Рисунок 1 Схема подключения вертушки к осциллографу при опробовании.
-
8.3.1 Вертушка считается прошедшей опробование при отсутствии на осциллограмме ложных сигналов или пропусков импульсов, поступающих от датчика вращения лопастного винта.
-
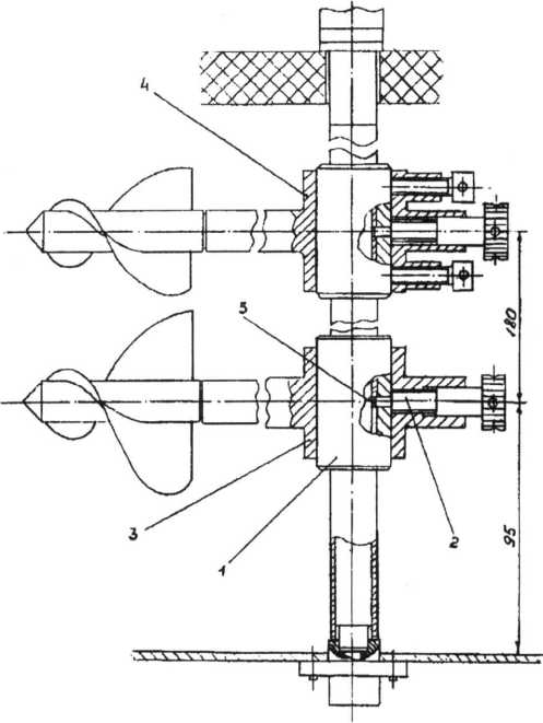
8.3.2 После проведения опробования для вертушек гидрометрических ГР-55 с механическим контактом через 20 оборотов (1:20) для получения сигнала передаточного отношения 1:1 при поверке допускается установка датчика оборотов (рисунок 2), входящего в состав эталона.

-
1 — лопастной винт гидрометрической вертушки;
-
2 — кольцо бронзовое разрезное подпружиненное для установки на
винте магнита 3 и груза балансира 4;
-
3 — постоянный магнит, воздействующий на контакты геркона 5;
-
4 — груз балансира, уравновешивающий магнит 3;
-
5 — геркон в герметичном латунном корпусе;
-
6 — кольцо для крепления корпуса геркона 5;
-
7 — провод гибкий (МГШВ — 0,5 мм2) для соединения одного из кон
тактов геркона с сигнальным входом Б СУ;
-
8 — корпус вертушки.
Рисунок 2
-
8.4 Перед поверкой вертушек в градуировочных лотках и установках компараторных для поверки гидрометрических вертушек проводят обкатку вертушек, в соответствии с руководством по эксплуатации применяемых эталонов.
-
8.4.1 Вертушки погружают в воду при нулевой скорости потока и крепят на штативе установки в соответствии с п. 9.1.1 и 9.1.2 в зависимости от применяемых эталонов.
-
8.4.2 Вертушки подсоединяют к блоку сопряжения и управления. При подключении вертушек необходимо соблюдать полярность земляного и сигнального провода.
-
8.4.3 Операция обкатки начинается с момента включения электродвигателя и плавного изменения частоты вращения приводного вала привода до значения, соответствующего заданной скорости водного потока.
-
8.4.4 В процессе обкатки проводят визуальный анализ качества вращения лопастного винта и контактного датчика вертушки по наблюдениям за равномерностью свечения светодиода на блоке сопряжения (управления).
-
8.5 Вертушка гидрометрическая ГР-55 считается прошедшей опробование, если выполняются требования п. 8.3 или п. 8.4.
-
9 ОПРЕДЕЛЕНИЕ МЕТРОЛОГИЧЕСКИХ ХАРАКТЕРИСТИК СРЕДСТВА ИЗМЕРЕНИЙ
-
9.1 Подготовить эталон к проведению поверки и подключить к нему поверяемую вертушку.
-
9.1.1 Для эталона средней скорости водного потока погрузить поверяемую вертушку в воду в прямолинейном градуировочном бассейне на глубину более 0,2 м, запрещается устанавливать на одну штангу более одной вертушки.
-
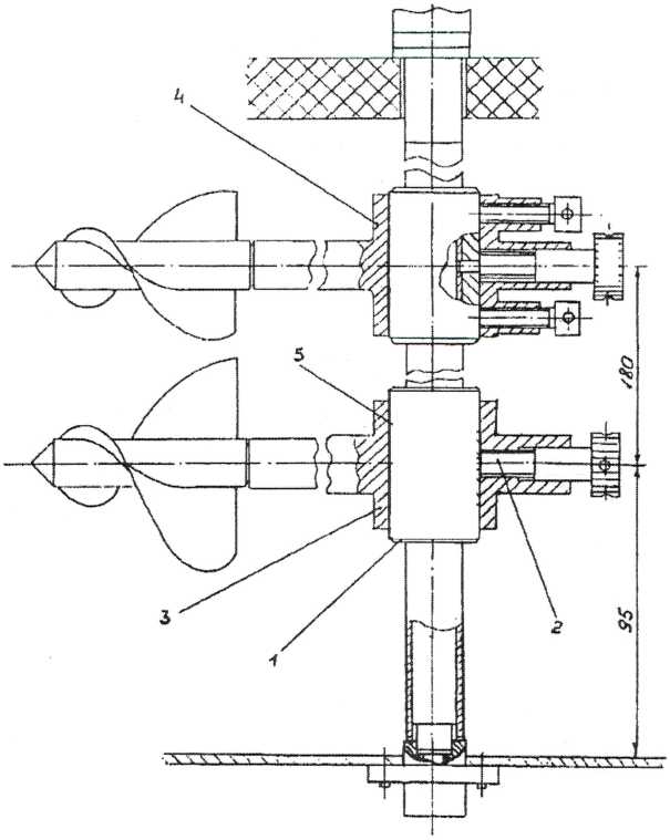
9.1.2 Для установок компараторных для поверки гидрометрических вертушек УКПГВ установить вертушки, обеспечивая правильное их размещение на штативе по высоте и параллельности осей вертушек относительно боковых стенок лотка, рисунок 3 (установка вертушек в лотках градуировочных типов ГР-19 и ГР-19М осуществляется в соответствии с руководством по эксплуатации).
Е
/
! |
-
1 штатив;
-
2 винт установочный;
3, 4 вертушка гидрометрическая.
Рисунок 3
-
9.2 Определение относительной погрешности вертушки при измерении заданной скорости водного потока.
-
9.2.1 Определение индивидуальной функции преобразования (ИФП) производят в соответствии с Приложением В при следующих заданных значениях скорости водного потока:
-
- для прямолинейных бассейнов длиной более 100 м в точках 0,08 м/с; 0,10 м/с; 0,15 м/с; 0,30 м/с; 0,50 м/с; 1,00 м/с; 2,00 м/с; 3,00 м/с; 5,00 м/с;
-
- для прямолинейных бассейнов длиной до 100 м в точках 0,08 м/с; 0,10 м/с; 0,15 м/с; 0,20 м/с; 0,3 м/с; 0,50 м/с; 1,00 м/с; 1,50 м/с; 2,00 м/с; 2,50 м/с; 3,00 м/с;
-
- для компараторных установок 0,08 м/с; 0,10 м/с; 0,15 м/с; 0,20 м/с; 0,30 м/с; 0,50 м/с; 1,00 м/с; 1,50 м/с; 2,00 м/с; 2,50 м/с; (3,00 м/с для ГР-19, ГР-19М).
-
9.2.2 Отклонение скорости водного потока, воспроизводимой эталоном, не должно превышать ±10 % от заданного значения.
-
9.2.3 При переходе от одной заданной скорости движения буксировочной машины, входящей в состав эталона средней скорости, к другой должно быть выдержано время, в течение которого вода в бассейне успокаивается.
-
9.2.4 На каждой заданной скорости движения буксировочной машины производится измерение частоты оборотов лопастного винта вертушки п; и действительной скорости движения буксировочной машины VTi. Результаты заносятся в протокол по форме приложения А.
-
9.3 Определение относительной погрешности измерения скорости водного потока с применением установки компараторной для поверки гидрометрических вертушек УКПГВ проводят в рабочем диапазоне скоростей от 0,08 до 2,5 м/с и для лотков градуировочных ГР-19, ГР-19М в диапазоне значений скорости водного потока от 0,08 до 3,00 м.
-
9.3.1 Поверка осуществляется методом сличения показаний вертушки, входящей в состав установки компараторной для поверки гидрометрических вертушек УКПГВ или лотков градуировочных ГР-19, ГР-19М с однотипной поверяемой гидрометрической вертушкой.
-
9.3.2 Определение ИФП вертушки выполняется методом, реализуемым за два цикла измерений:
-
- в первом цикле эталонная вертушка соответствующего типа устанавливается в нижней части штатива установки, поверяемая вертушка устанавливается в верхней части;
-
- во втором цикле вертушки меняют местами, не отключая их от БСУ, переворачивают штангу с вертушками, снятую со штатива установки;
-
9.3.3 ИФП определяется методом сличения показаний вертушки входящей в состав эталона, с показаниями поверяемой и выражается в виде зависимости:
Vdi = f(nCpi)> (1),
где Vgi измеренное эталонной вертушкой действительное среднее значение скорости водного потока за время измерения в заданной точке i, м/с;
ncpi~ среднее значение частоты вращения лопастного винта поверяемой вертушки в точке z, об/с.
-
9.3.4 ИФП определяется при значениях скорости водного потока в соответствии с п.9.2.1 в зависимости от поверяемой вертушки и применяемого эталона.
Первое (минимальное) задаваемое значение скорости водного потока должно соответствовать нижней границе диапазона скоростей водного потока для конкретного типа вертушек.
-
9.3.5 Выход на рабочий режим и поддержание заданной скорости водного потока номинальных значений согласно 10.2.4, обеспечиваются в установке автоматически.
-
9.3.6 Процесс выполнения измерений производится от начальной скорости поверяемой вертушки до скорости, соответствующей верхнему значению для применяемого эталона.
-
9.3.7 Для компараторных установок время измерения скорости водного потока в каждой точке установлено в соответствии с таблицей 3.
Таблица 3
Скорость, м/с |
0,08 |
0,10 |
0,15 |
0,20 |
0,30 |
0,50 |
1,00 |
1,50 |
2,00 |
2,50 |
3,00 |
Время выдержки измерений 6, с, не менее |
240 |
120 |
120 |
120 |
120 |
60 |
30 |
30 |
30 |
20 |
20 |
Время стабилизации скорости потока ticr, с, не менее |
80 |
50 |
50 |
50 |
50 |
30 |
30 |
30 |
30 |
30 |
30 |
-
9.3.8 Среднее значение скорости потока для Vdi в точке i принимается как среднее арифметическое из двух скоростей, измеренных вертушкой входящей в состав эталона в положении «внизу» и «вверху» по формуле:
Vai = (V31i + V32i)/2 (2),
где V31i и V32i - значения скорости потока, измеренные эталонной вертушкой в положении «внизу» и «вверху» соответственно, м/с.
-
9.3.9 Среднее значение частоты вращения лопастного винта поверяемой вертушки в УКПГВ ncpi, об/с, в точке i принимается как среднее арифметическое значение из частот вращения лопастного винта поверяемой вертушки в положении «вверху» и «внизу» по формуле:
ncpi = (nii + П21У2 (3),
где n1jHn2i ■ измеренное значение частоты вращения лопастного винта поверяемой вертушки в положении «вверху» и «внизу» соответственно, об/с.
-
9.3.10 Результаты измерений заносят в протокол в соответствии с приложением Б.
-
9.3.11 Определение ИФП производится в соответствии с приложением В.
-
10 ПОДТВЕРЖДЕНИЕ СООТВЕТСТВИЯ СРЕДСТВА ИЗМЕРЕНИЙ МЕТРОЛОГИЧЕСКИМ ТРЕБОВАНИЯМ
-
10.1 Определение средней скорости движения буксировочной машины, соответствующей средней скорости водного потока Vr на участке Lp производится по формуле 4, расчет средней частоты оборотов лопастных винтов вертушек и, при прохождении участка Lp определяется по формуле 5:
а) среднюю скорость Vr, м/с, вычисляют по формуле:
VT = Ьи = (ш - 1) ■ 1/тр (4),
где тр - интервал времени, в течение которого тележка проходит участок Lp, с;
m - число зарегистрированных сигналов датчика пути;
Lp - расстояние (шаг) между соседними сигналами датчика пути, м.
б) среднюю частоту оборотов лопастного винта вертушки щ, об/с, вычисляют по формуле:
п. = (Ni - l)/TNi (5),
где Nj - число зарегистрированных сигналов вертушки;
тм - интервал времени регистрации сигналов с вертушки, с.
-
10.1.1 ИФП определяют по результатам одного измерения в каждой точке диапазона скоростей водного потока в соответствии с Приложением В по формуле:
V = а • n + b (6),
где V- скорость водного потока, измеренная вертушкой, м/с;
а и b - коэффициенты ИФП;
п - частота оборотов лопастного винта вертушки, об/с.
-
10.1.2 ИФП рассчитывается методом наименьших квадратов по методике, приведенной в приложении В. Допускается кусочно-линейная аппроксимация.
-
10.1.3 Относительную погрешность вертушки <5(, %, в заданной точке диапазона измерений скорости определяют по формуле:
5j = 100 ■ (Vj - VTi)/VTi (7),
где К - скорость потока по ИФП вертушки, м/с;
Vn - воспроизводимая скорость водного потока, м/с;
i - номер заданной точки скорости водного потока в диапазоне измерения.
-
10.1.4 Вертушку считают прошедшей поверку по данному пункту, если 8; по если для каждого винта по всему скоростному диапазону полученные результаты удовлетворяют условию:
|6j| < 6Д (8),
где ёд - пределы допускаемой относительной погрешности измерений скорости водного потока, %.
Значение ^определяют по формуле:
5Д = [0,015 + 0,004 • - 1)] • 100 (9),
где V- значение скорости водного потока, м/с
-
10.1.5 Диапазон измерений скорости водного потока, в котором допускается применение вертушки, соответствует диапазону, в котором была определена ИФП.
-
10.2 Вертушка гидрометрическая ГР-55 соответствует метрологическим требованиям, если полученные значения погрешности измерения скорости водного потока не превышают допускаемую погрешность п. 10.1.4 и диапазон измерений скорости водного потока, в котором допускается применение вертушки, соответствует диапазону, в котором была определена ИФП.
-
11 ОФОРМЛЕНИЕ РЕЗУЛЬТАТОВ ПОВЕРКИ
-
11.1. Результаты поверки оформляются протоколом (рекомендуемая форма приведена в Приложении А и Приложении Б в зависимости от применяемого эталона).
-
11.2. Информация о положительных и отрицательных результатах поверки вертушки гидрометрической ГР-55 передается в Федеральный информационный фонд по обеспечению единства измерений в установленном порядке, с указанием объема проведенной поверки в части диапазона измерений скорости водного потока и индивидуальной функция преобразования V = а-п + b с указанием диапазона значений скорости водного потока от (минимальная скорость измеряемая вертушкой) до (максимальная скорость воспроизводимая эталоном) м/с для каждого лопастного винта.
-
11.3 По требованию заказчика выдается свидетельство о поверке вертушки гидрометрической ГР-55 или извещение о непригодности установленного образца.
-
11.4 Знак поверки наносится на свидетельство о поверке (в случае его оформления).
Приложение А
(рекомендуемое) Форма протокола поверки с применением прямолинейных бассейнов
Организация - поверитель
Уникальный номер записи об аккредитации в реестре аккредитованных лиц RA.RU_________
ПРОТОКОЛ №__________
Дата поверки ________20 г.
Наименование СИ
Состав СИ
Зав. номер__________принадлежит_
Регистрационный номер в ФИФ______________
Условия поверки:
-
- температура окружающего воздуха, °C _______
-
- относительная влажность, % _______
-
- температура воды, °C
-атмосферное давление, кПа _______
Документ, на основании которого выполнена поверка 2550-0390-2022
Средства поверки:______________________________________
Внешний осмотр_________соответствует/не соответствует
Причины:________________________
Опробование____________соответствует/не соответствует
Причины:_______________________
Результаты измерений
Таблица А1 Результаты измерений
Скорость движения буксировочной машины VTi, м/с |
Частота оборотов лопастного винта вертушки ni, об/с |
Скорость потока, измеренная вертушкой Vi, м/с |
Относительная погрешность измерения скорости водного потока 5i, % |
Пределы допускаемой относительной погрешности измерения скорости водного потока 5д, % |
Индивидуальная функция преобразования: V = а • п + b определена в диапазоне значений скорости водного потока от (минимальная скорость измеряемая вертушкой) до (максимальная скорость воспроизводимая эталоном) м/с.
Заключение:
Поверитель
фамилия, инициалы
подпись
Приложение Б
(рекомендуемое)
Форма протокола поверки с применением компараторных установок
Организация - поверитель
Уникальный номер записи об аккредитации в реестре аккредитованных лиц RA.RU________
ПРОТОКОЛ №__________
Дата поверки ________20 г.
Наименование СИ
Состав СИ
Зав. номер__________принадлежит-
Регистрационный номер в ФИФ______________
Условия поверки:
-
- температура окружающего воздуха, °C _______
-
- относительная влажность, % _______
-
- температура воды, °C
-атмосферное давление, кПа _______
Документ, на основании которого выполнена поверка 2550-0390-2022
Средства поверки:______________________________________
Внешний осмотр_________соответствует/не соответствует
Причины:________________________
Опробование____________соответствует/не соответствует
Причины:________________________
Результаты измерений
Таблица Б1 Результаты измерений
Номер измерения |
Номер скоростной точки |
Задаваемая скорость водного потока в лотке, м/с |
Цикл измерений № 1 |
Цикл измерений № 2 |
Среднее из измерений № 1 и № 2 |
Относительная погрешность вертушки, % |
Пределы допускаемой относительной погрешности, % | ||||
Частота вращения поверяемой вертушки, об/с |
Скорость по ИФП эталонной вертушки, м/с |
Частота вращения поверяемой вертушки, об/с |
Скорость по ИФП эталонной вертушки, м/с |
Частота вращения поверяемой вертушки, об/с |
Скорость по ИФП эталонной вертушки, м/с |
Скорость по ИФП поверяемой вертушки, м/с | |||||
ИФП поверяемой вертушки V = а-п + b ИФП вертушки входящей в состав эталона
V - а-п+ b
Индивидуальная функция преобразования:
V = an + b определена в диапазоне значений скорости водного потока от (минимальная скорость, измеряемая вертушкой) до (максимальная скорость воспроизводимая эталоном) м/с.
Поверитель
подпись фамилия, инициалы
Приложение В
(обязательное)
Расчет коэффициентов ИФП вертушки методом наименьших квадратов
Опишем, зависимость скорости водного потока в точках равномерно распределенных по диапазону измерений, измеренной вертушкой V в зависимости от частоты вращения лопастного винта п, линейным уравнением:
V =а*п+b
Сумма квадратов отклонений имеет вид
п
S(a,b~) = - а * - h)2
i=i
Запишем условия минимума, частные производные равны нулю

а*П[- Ь~) *П[= О
i=i
~ -2^(VZ- я*П/- Ь)= О
i= 1
Получаем систему двух линейных алгебраических уравнений с двумя неизвестными.
п |
п | ||
а* У п- + Ь* / л |
1 |
щ * V, | |
J i= 1 |
1=1 |
i=l | |
1 п |
п х—1 | ||
а * / П[ + |
b * п = |
I |
Vi |
i=l |
с.......J i=l |
Решаем систему уравнений и находим значение коэффициентов а и Ь.
Приложение Г (обязательное)
Локальная поверочная схема Росгидромета для средств измерений средней скорости водного потока в диапазоне значений от 0,01 до 5,00 м/с
Локальная поверочная схема Росгидромета
для средств измерений средней скорости водного потока в диапазоне значений от 0,01 до 5,00 м/с
'утверждаю-РуководИтеН^
СОГЛАСОВАНО ,„.
Зам. Генеральногр Директора
ФГУП «ВНЙИМ; ’.ДМ'Менделеева»
'■•Ал X

стна
С
1©т 1,0’10* до 4,0*10» с
** Ю не
Прямые
X
V от 0.06 до 3,00 Wc
2.0* Aw* 30
Вертушки
ГИД^л wer pw Ч4СТМ4
|ИШЮ
по приказу Рс«т®мд>рта
«гг 31.07,2018 г. № 1621

идромета
И.А. Шумаков
2021
Ср«дсгй из*#<р#ннй дл*»*ы L о ДМВЛЛЗФН* от 1 ’10* до 100 ы
Д<«* (0.40+^20 (L-I)) мы по n\x«*Jy РДхпеидартв от 2S.-12.W18 г. № 2840
Средств* частоты
f ОТ 1,0-10* до 178,4-10* Гц
Да/** 1»О 10*
по пржазу Рсюйтзгндарта от 31,07x2018 г № 1621
изморе? я
Эталон средт-й смфФСгтн гннаж» (ЭССВП) | |
Измерительный «знап 1 Эталон с»’.><хти во/нгто потом» (ЭСВП) V ст 0,(И до 5,00м/с Aev= ± 0.5 |
Измерительный кенал 2 Система ж<хжзтизн|лж»мм4Я (ГЭАС) V от 0,01 до 5.00 м/с 0.06 S A wS 2,14 |

Пшхк и устен***гм компвр17ер«ы« для пов»р«м вмцугушв* ГНДрС'ШГГрнЧ«^«.ИК V от 0,06 до 3,00 м/с
1,0* Aw* 15

Ветушюи
V от 0Д1 до 5.00 м/с
0,25 siwi 10,0
Дслп*^с«с*и* лр<-ф:нлегр«фы Измеряй с*о|»стн «одного
ПОТбИ
Прямые изшинмия


П₽миН^5«эо»«тали смгмажяв »«0ТуШ»Ж
ледде-м етр «М*6*«Х
V пт 0.03 до 5,00 м/с
A w 3
V - средняя скорость водного потока, м/с; t- единица времени, с; L- длина измеряемого участка, м; F - задаваемая частота сигнала, Гц;
До,- пределы допускаемой относительной погрешности по частоте, %;
At - пределы допускаемой абсолютной погрешности измерения интервалов времени, с; At - пределы допускаемой абсолютной погрешности измерений длины, м; Док - пределы допускаемой относительной погрешности по скорости, %.
Рисунок Г1
СОГЛАСОВАНО
Зам. начальника УГМАВ
Росгидромета

.В.Овчинников
■ у/У?___200 9 г.
СОГЛАСОВАНО

Зам. директора
ФГУП «ВНИИМ.^м.Д.И.Менделеева» ' 5.'Г ■ -" . С .Александров

Дата введения 2010-01-01
ЛИСТ УТВЕРЖДЕНИЯ
РЕКОМЕНДАЦИИ
Вертушки гидрометрические речные
Методика поверки в установке компараторной для поверки гидрометрических вертушек
Р 52.08.702
-2009
Главный метролог ГУ «ГГИ»
СОГЛАСОВАНО

В.М.Шершаков
2009 г.

2008 г.
Д.А.Коновалов
ПРЕДИСЛОВИЕ
-
1 РАЗРАБОТАНЫ Государственным учреждением «Государственный гидрологический институт» (ГУ «ГГИ») Росгидромета
-
2 РАЗРАБОТЧИКИ Д.А.Коновалов, канд. физ.-мат. наук, (руководитель темы), Н.И. Зайцев, канд. техн, наук, Д.В. Высоцский
-
3 СОГЛАСОВАНЫ с УГМАВ Росгидромета 20.03.2009, ФГУП «ВНИИМ им. Д.И.Менделеева» 15.12.2008, ГУ «НПО «Тайфун» 13.03.2009
-
4 УТВЕРЖДЕНЫ директором ГУ «ГГИ» И.А. Шикломановым 25.03.2009
-
5 ЗАРЕГИСТРИРОВАНЫ ЦМТР ГУ «НПО «Тайфун» за номером Р 52.08.702-2009 от 13.03.2009
-
6 ВВЕДЕНЫ ВПЕРВЫЕ
-
5 Требования к квалификации поверителей и требования безопасности
-
8 Оформление результатов поверки
Приложение А (обязательное)
Приложение Б (справочное)
Схема подключения поверяемой вертушки
Приложение В (обязательное)
Приложение Г (обязательное)
Расчет коэффициентов ИФП вертушки методом наименьших квадратов
Приложение Д (справочное)
Форма протокола результатов поверки вертушки,
реализуемой за два цикла измерений
Приложение Е (обязательное)
Форма свидетельства о поверке вертушки
Приложение Ж (рекомендуемое)
Пример оформления таблицы расчета зависимости скорости потока
воды от частоты вращения лопастного винта поверяемой вертушки
Приложение И (обязательное)
Форма извещения о непригодности к применению
Р 52.08.702-2009
РЕКОМЕНДАЦИИ
ВЕРТУШКИ ГИДРОМЕТРИЧЕСКИЕ РЕЧНЫЕ
Методика поверки в установке компараторной для поверки гидрометрических вертушекДата введения - 2010-01-01
1 ОБЛАСТЬ ПРИМЕНЕНИЯНастоящие рекомендации распространяются на вертушки гидрометрические речные (далее — вертушки) типа:
-
- ГР-21М по ТУ 25-0888.008-84;
-
- ГР-55 по ТУ 25-04.1628-77;
-
- ГР-99 по ТУ 25-0888.009-84;
-
- ИСП-1 по ТУ 4312-001-02572344-95;
-
- ИСП-1М по ТУ 4312-001-02572345-2006;
-
- ВГ-1-120/70 комплекта И СТ-1-0,06/120/70 по ТУ 25-7192.0088-89;
-
- ИСВП-ГР-21М1 по ТУ 4312-001-78803295-2008
и устанавливают методы и средства их периодической и первичной поверки после ремонта (далее — поверка) в установке компараторной для поверки гидрометрических вертушек (далее — установки).
Рекомендации предназначены для поверки вертушек в метрологических службах организаций Росгидромета. Межповерочный интервал составляет два года.
2 НОРМАТИВНЫЕ ССЫЛКИВ настоящих рекомендациях использованы ссылки на следующие нормативные документы:
ГОСТ 8.009-84 ГСИ. Нормируемые метрологические характеристики средств измерений
ГОСТ Р 51232-98 Вода питьевая. Общие требования к организации контроля качества
РД 52.08.15-97 Методические указания. Вертушки гидрометрические речные типа ГР-21М, ГР-55, ГР-99, ИСП-1 и ВГ-1-120/70 комплекта ИСТ-1-0,06/120/70. Рабочие эталоны. Методика метрологической аттестации в прямолинейном градуировочном бассейне
Р 52.08.696-2007 Установки компараторные для поверки гидрометрических вертушек. Программа и методика аттестации
ПР 50.2.006-94 Государственная система обеспечения единства измерений. Порядок проведения поверки средств измерений
3 ОПЕРАЦИИ ПОВЕРКИПри проведении поверки вертушек должны выполняться операции, указанные в таблице 1.
Таблица 1
Наименование операции поверки |
Подраздел |
Внешний осмотр |
7.1 |
Опробование |
7.2 |
Обкатка |
7.3 |
Определение индивидуальной функции преобразования (ИФП) вертушки |
7.4 |
Определение относительной погрешности вертушки |
7.5 |
При выполнении поверки вертушек должны применяться следующие средства измерений и оборудование:
-
— установка компараторная для поверки гидрометрических вертушек УКПГВ.416.441.001 РЭ [1], аттестованная в соответствии с Р 52.08.696;
-
— рабочие эталоны средств измерения скорости водного потока — вертушки, поверенные в соответствии с РД 52.08.15 (далее — эталонные вертушки) всех типов вертушек, указанных в разделе 1;
-
— осциллограф, например, типа С1-93 И 22.044.084 ТУ;
-
— источник питания постоянного напряжения на 1,5 В, например, гальванический элемент типа АА;
-
— резистор МЛТ-0,25-100 Ом ±10 % ОЖО 467.180 ТУ;
-
— баротермогигрометр БМ-6 с характеристиками, приведенными в таблице 2.
Таблица 2
Измеряемая величина |
Диапазон |
Абсолютная погрешность, не более |
Атмосферное давление, мм рт.ст. |
30-1000 |
±0,5 |
Относительная влажность, % |
30-100 |
±10,0 |
Температура, °C |
0-40 |
±0,5 |
Допускается применение средств измерений, имеющих аналогичные технические характеристики и обеспечивающих определение метрологических характеристик поверяемых средств измерений с требуемой точностью.
5 ТРЕБОВАНИЯ К КВАЛИФИКАЦИИ ПОВЕРИТЕЛЕЙ И ТРЕБОВАНИЯ БЕЗОПАСНОСТИ-
5.1 К выполнению поверки допускаются лица — поверители, которым предоставлено право поверки средств измерений гидрологического назначения
-
5.2 Поверитель должен иметь необходимые навыки работы с персональным компьютером и операционной системой Windows ХР
-
5.3 При подготовке установки и проведении поверки вертушек следует соблюдать требования безопасности, установленные в эксплуатационной документации на установку [1] и средства измерения
-
6 УСЛОВИЯ ПРОВЕДЕНИЯ ПОВЕРКИ
-
6.1 При проведении поверки должны соблюдаться следующие
условия:
-
— температура окружающего воздуха, °C.............. от 10 до 40;
-
— относительная влажность воздуха, %................. от 20 до 85;
-
— атмосферное давление, гПа.................................... от 840 до 1067;
-
— температура воды в лотке, °C................................ от 15 до 25;
-
— отклонение напряжения питания сети
от поминального значения, %............................................ не более ±5.
-
6.2 Перед проведением поверки должны быть выполнены следующие подготовительные работы:
— вертушки и используемые средства поверки подготавливают согласно эксплуатационной документации;
-
— установку заполняют водой по ГОСТ Р 51232 согласно указаниям руководства по эксплуатации [1].
-
6.3 Для поверки используются эталонные вертушки того же типа, что и рабочие вертушки.
-
7 ПРОВЕДЕНИЕ ПОВЕРКИ
При внешнем осмотре вертушек устанавливают:
-
— соответствие вертушек эксплуатационной документации на них;
-
— отсутствие дефектов, механических повреждений и следов коррозии на деталях вертушки, которые могут повлиять на метрологические характеристики.
-
7.2.1 Проверка работы датчика оборотов винта вертушки.
-
7.2.1.1 Эталонная и рабочая вертушки для поверки в установке должны иметь один контакт на оборот лопастного винта. При поверке вертушек ГР-21М, ГР-55 и др. с механическим контактом через 20 оборотов для получения сигнала передаточного отношения 1:1 при измерении частоты вращения лопастных винтов вертушек необходимо устанавливать датчик оборотов винта согласно рисунку А.1 (приложение А).
-
7.2.1.2 Проверку механического контактного устройства вертушек ГР-21М, ГР-55 и др. с контактом через 20 оборотов проводят после окончания поверки.
-
7.2.1.3 Вертушку соединяют с осциллографом по схеме, приведенной на рисунке Б.1 (приложение Б).
-
Ручки управления осциллографа устанавливают в следующие положения:
-
— переключатель «НАПРЯЖЕНИЕ/ДЕЛЕНИЕ» — в положение «0,5»;
-
— переключатель «ВРЕМЯ/ДЕЛЕНИЕ» в положение <1».
-
7.2.1.4 На экране осциллографа проверяют наличие и качество импульсов, поступающих от вертушки при вращении ее лопастного винта вручную. Число проверяемых импульсов для вертушек с передаточным отношением 1:1 должно быть не менее 15-20.
-
7.2.1.5 Сигналы должны быть непрерывными, без пропусков и дробления.
-
7.3.1 Вертушки вносят в воду при нулевой скорости потока и крепят на штативе установки.
Фиксация вертушек с помощью винта установочного (2) обеспечивает правильное их размещение на штативе по высоте и параллельности продольных осей вертушек относительно боковых стенок лотка согласно рисунку В.1 (приложение В).
-
7.3.2 Вертушки подсоединяют к блоку сопряжения и управления (БСУ). При подсоединении вертушек необходимо соблюдать полярность: провод с маркировкой «±» подсоединяют к клемме вертушки, которая электрически связана с ее корпусом, второй провод — к сигнальной клемме вертушки, изолированной от ее корпуса, для двадцатиоборотной вертушки — к датчику оборотов винта (приложение А).
-
7.3.3 Включают компьютер и согласно руководству оператора [2] запускают работу программы поверки. На мониторе компьютера появляется программный интерфейс.
-
7.3.4 По запросу программы в соответствии с руководством оператора [2] вводят параметры вертушки:
-
— тип вертушки;
-
— номер вертушки;
-
— номер винта;
-
— год выпуска и др.
-
7.3.5 На экране монитора на поле установок и управлений устанавливают операцию «Обкатка». Операция обкатки начинается с момента включения электродвигателя и плавного изменения частоты вращения приводного вала привода до значения, соответствующего заданной скорости потока воды.
-
7.3.6 По окончанию обкатки проводят визуальный анализ качества вращения лопастного винта вертушки и состояния контактной системы вторичного преобразователя по наблюдениям на БСУ за импульсами, поступающими от вертушки.
-
7.4.1 Определение ИФП вертушки выполняется в установке методом, реализуемым за два цикла измерений:
-
— в первом цикле эталонная вертушка соответствующего типа устанавливается в нижней части штатива установки, поверяемая вертушка устанавливается в верхней части;
-
— во втором цикле вертушки меняют местами, не отключая их от БСУ, переворачивают штангу с вертушками, снятую со штатива установки;
-
7.4.2 ИФП определяется в установке методом сличения показаний эталонной вертушки, поверенной в соответствии с РД 52.08.15, с показаниями поверяемой и выражается в виде зависимости
(1)
где Vизмеренное эталонной вертушкой усредненное значение скорости водного потока за время измерения в заданной i-й точке согласно 7.4.3, м/с;
п. — усредненное значение частоты вращения лопастного винта поверяемой вертушки в i-й точке, об/с.
-
7.4.3 ИФП определяется при следующих автоматически устанавливаемых значениях скорости водного потока: 0,03; 0,04; 0,06; 0,07; 0,08; 0,10; 0,15; 0,20; 0,50; 1,0; 1,50; 2,00; 2,50, м/с.
Первое (самое меньшее) задаваемое значение скорости водного потока должно соответствовать нижней границе диапазона скоростей водного потока для конкретного типа вертушек.
-
7.4.4 Выход и поддержание задаваемой скорости водного потока номинальных значений согласно 7.4.3, обеспечиваются в установке автоматически.
-
7.4.5 Процесс выполнения измерений в установке полностью автоматизирован и производится от начальной скорости поверяемой вертушки до скорости 2,5 м/с (см. 7.4.3) всегда в сторону нарастания скорости потока, при соответствующем времени (продолжительности) выдержке измерений Л в каждой i-й точке, соответствующей задаваемой скорости, приведенной в таблице 3.
Таблица 3
Задаваемая скорость, м/с |
0,03; 0,04; 0,06; 0,07; 0,08 |
0,10; 0,15; 0,20 |
0,50 |
1,00 |
1,50 |
2,00 |
2,50 |
Время выдержки измерений tf с, не менее |
240 |
120 |
60 |
30 |
30 |
30 |
20 |
Время стабилизации скорости потока tiCJf с, не менее |
80 |
50 |
30 |
30 |
30 |
30 |
30 |
-
7.4.6 Переход с одной скорости па следующую (большую) скорость измерения устанавливается автоматически и начинается после промежутка времени стабилизации скорости потока ticr достаточного для установления и стабилизации в i-й точке, соответствующей скорости потока (см. таблицу 3).
-
7.4.7 Действительное значение скорости потока в i-й точке по
-
7.4.3 при поверке из двух циклов измерений принимается как среднее арифметическое из двух скоростей, измеренных эталонной вертушкой в положение «внизу» и «вверху» по формуле
^=<К..+ К2.)/2. (2)
где V]t., V2 — значения скорости потока, измеренные эталонной вертушкой в положении «внизу» и «вверху» соответственно, м/с.
-
7.4.8 Среднее значение частоты вращения лопастного винта поверяемой вертушки п ., об/с, в i-й точке по 7.4.3 принимается как среднее арифметическое значение из частот вращения лопастного винта поверяемой вертушки в положении «вверху» и «внизу» по формуле
пч>,= (”1.+ я21)/2. (3)
где nt.+ — измеренное значение вращения лопастного винта поверяемой вертушки в положении «вверху» и «внизу» соответственно, об/с.
-
7.4.9 Вся обработка результатов определения ИФП производится с помощью компьютерной программы автоматически посредством взаимодействия поверителя с интерфейсом.
-
7.4.10 По результатам измерений рассчитывается ИФП вертушки методом наименьших квадратов (МНК), используя линейную или кусочно-линейную аппроксимацию по методике, приведенной в приложении Г.
-
7.5.1 Относительная погрешность вертушки 5., %, в каждой точке диапазона измерения скорости в соответствии с требованиями ГОСТ 8.009 определяется по формуле
где V. — измеренное значение скорости водного потока в :-й точке согласно ИФП поверяемой вертушки, м/с;
V* — действительное значение скорости водного потока в лотке установки в i-й точке измерения, полученное по ИФП эталонной вертушки, м/с.
-
7.5.2 Вертушку считают прошедшей поверку с положительным результатом, если 5( во всех t-ых точках в диапазоне измерений скорости удовлетворяют условию
ISJCIW (5)
где 8^. — пределы допускаемой относительной погрешности, %, для каждого типа вертушек, указанные в технических условиях, определяемые по формуле
8^=±'',8м-+8^ (6)
где 8 . — относительная погрешность эталонной вертушки конкретного типа, %;
8pa6i — относительная погрешность рабочей вертушки того же типа, %.
-
7.5.3 Относительная погрешность рабочей вертушки указывается в паспорте или руководстве по эксплуатации на вертушки конкретного типа.
Погрешность рабочих вертушек 8ра6 типа ГР-21М, ГР-99 и ГР-55 должна быть не более:
-
— для вертушек с лопастным винтом диаметром 120 мм
8М,- ±100[0,015+0,002(5/V.-l)], (7)
-
— для вертушек с лопастным винтом диаметром не более 80 мм
3^,= ±100[0,015+0,004(5/V-1)]. (8)
где V. - измеренная вертушкой скорость водного потока.
8 Оформление результатов поверки-
8.1 Результаты поверки оформляются в виде протоколов. Форма протокола результатов поверки вертушки, реализуемой за два цикла измерений, приведена в приложении Д
-
8.2 При выполнении условия (5) на вертушку выдают свидетельство о поверке сроком на два года. Форма свидетельства о поверке приведена в приложении Е с учетом требований ПР 50.2.006
Согласно требованиям ПР 50.2.006 на оборотной стороне свидетельства о поверке обязательно должны быть указаны:
-
— документ, содержащий требования к средству измерения, подтверждаемые в результате поверки;
-
— документ, содержащий методику поверки, а также наименование эталона и его метрологические характеристики.
К свидетельству прилагают таблицу зависимости скорости потока воды от частоты вращения лопастного винта поверяемой вертушки. Пример оформления таблицы приведен в приложении Ж.
-
8.3 При отрицательных результатах поверки вертушки выдается извещение о ее непригодности к применению. Форма извещения о непригодности к применению приведена в приложении И с учетом требований ПР 50.2.006.
(ОБЯЗАТЕЛЬНОЕ)
Датчик оборотов винта
-
1 — лопастной винт гидрометрической вертушки;
-
2 — кольцо бронзовое разрезное подпружиненное для установки на
винте магнита 3 и груза балансира 4;
-
3 — постоянный магнит, воздействующий на контакты геркона 5;
-
4 — груз балансира, уравновешивающий магнит 3;
-
5 — геркон в герметичном латунном корпусе;
-
6 — кольцо для крепления корпуса геркона 5;
-
7 — провод гибкий (МГШВ — 0,5 мм2) для соединения одного из кон
тактов геркона с сигнальным входом Б СУ;
-
8 — корпус вертушки.
Рисунок А.1
ПРИЛОЖЕНИЕ Б
(СПРАВОЧНОЕ)
Схема подключения поверяемой вертушки к осциллографу
R — резистор МЛТ-0,25-100 Ом ±10 %
ОЖО 467.180 ТУ
Рисунок БД
ПРИЛОЖЕНИЕ В(ОБЯЗАТЕЛЬНОЕ)
Установка вертушек на штативе

-
1 — штатив;
-
2 — винт установочный (УКПГВ 416.441.001);
-
3 — пример установки и фиксации вертушек типа ГР-21М, ГР-55
и ИСВП-ГР-21М1;
-
4 — пример установки и фиксации вертушек типа ГР-99, ИСП-1,
ИСП-1М , ВГ-1-120/70 комплекта ИСТ-1-0,06/120/70.
Рисунок В.1
ПРИЛОЖЕНИЕ Г(ОБЯЗАТЕЛЬНОЕ)
Расчет коэффициентов ИФП вертушки методом наименьших квадратовУравнение ИФП вертушки имеет вид
V~a+bn, (Г.1)
где V — скорость водного потока в лотке, определенная по эталонной вертушке, м/с;
а — коэффициент, м/с;
п — частота вращения лопастного винта поверяемой вертушки, об/с;
Ь — коэффициент, м.
Вычисление ИФП производится с использованием способа линейной или кусочно-линейной аппроксимации.
Критерием для выбора способа вычисления ИФП является значение относительной погрешности вертушки 8( в диапазоне скоростей до 0,5 м/с:
-
— если |8J < |8 f|, то ИФП вертушки определяется способом линейной аппроксимации во всем диапазоне измеряемых скоростей (приложение Г.1);
-
— при условии |8.| > 18^ f | ИФП следует вычислять с помощью кусочно-линейной аппроксимации (приложение Г.2).
Критическое значение 6 . определяется
-
— для вертушек с лопастным винтом диаметром 120 мм
8^.= ±100[0,03+0,0005(2,5/V-1)], (Г.2)
-
— для вертушек с лопастным винтом диаметром не более 80 мм
8^ = ±100[0,045+0,001(2,5/VI)], (Г.З)
где V — измеренная вертушкой скорость водного потока.
Г. 1 Определение ИФП вертушки с помощью линейной аппроксимации
Требование наилучшего согласования прямой и экспериментальных точек при использовании МНК сводится к тому, чтобы сумма квадратов отклонений экспериментальных точек (V^., п ) от сглаживающей прямой обращалась в минимум
Z[ya.-/(%)l2=min. »=1 |
(Г.4) |
Коэффициент b определяется по формуле | |
b = (Mv-Vn)/(D„-n2), |
(Г.5) |
где MVrj — центр распределения | |
(Г.6) |
м
V — среднее арифметическое значение действительной скорости эталонной вертушки УЛ, м/с
V = (Г.7)
1=1
п — среднее арифметическое значение частоты вращения лопастного винта поверяемой вертушки, об/с
(Г-8) Dn — дисперсия
Ж (Г-9)
1=1
где N — число заданных скоростных точек в диапазоне измерения скорости.
Коэффициент а определяют по формуле
a=V-bn. (Г.10)
Г,2 Определение ИФП вертушки с помощью кусочно-линейной аппроксимации
Кусочно-линейная аппроксимация сводится к задаче нахождения точки перелома линейной аппроксимации функции преобразования скорости V в зависимости от частоты вращения лопастного винта поверяемой вертушки п и вычисления ИФП посредством двух уравнений
Vt = а{+1\п до частоты вращения п < п (Г.11)
V2 = a2+b2n от частоты вращения п > п , (Г.12)
где п — частота вращения лопастного винта в точке перелома поверяемой вертушки конкретного типа (точки пересечения прямых I/ и У2), об/с;
ар ftt, av b2 — коэффициенты, полученные при использовании МНК для двух участков прямых линий, аппроксимирующих ИФП вертушки: от наименьшей скорости, до точки перелома и от точки перелома ппер до максимальной скорости потока в установке.
Алгоритм нахождения точки перелома ИФП заключается в следующем:
-
— определяем уравнение ИФП для первого участка (Г.11) по первым трем точкам измерений ( V р V2, и п v от наименьшей
скорости (приложение Г.1);
-
— определяем уравнение ИФП для второго участка (Г.11) по остальным точкам измеренных скоростей до максимальной скорости (приложение Г.1);
-
— в диапазоне скоростей до 0,5 м/с для каждой точки измерений i проверяем выполнение условия
|8J<M (Г.13)
где 8 . определяется по формулам (Г.2), (Г.З);
-
— если условие (Г. 13) выполняется, то точка перелома ппер находится на пересечении двух прямых Vt = +b}n, V2 = a2+b2n
Ппер~ (а2~аУ(ЬгЬ2\ (Г.14)
и определяется скорость потока, соответствующая точке перелома, по уравнению
V = а+Ь.п , (Г.15)
ИФП в виде кусочно-линейной аппроксимации принимается, если Ипер< 0,5 м/с.
При условии |8j> |8 J добавляется еще одна (следующая) точка для первого участка и вычисления повторяются по формулам (Г.11) -(Г.15).
ПРИЛОЖЕНИЕ Д
Р 52.08.702-2009
(СПРАВОЧНОЕ)
Форма протокола результатов поверки вертушки, реализуемой за два цикла измерений
Протокол №_______от____________
результатов поверки гидрометрической вертушки типа_________________, реализуемой за два цикла измерений
Диаметр винта___________
Поверяемая вертушка №________________
Эталонная вертушка №_________________
Таблица результатов
Номер скоростной точки |
Задаваемая скорость водного потока в лотке, м/с |
Цикл изме |
эений № 1 |
Цикл изме |
эений № 2 |
Среднее из измерений № 1 и № 2 |
Относительная погрешность вертушки, % |
Пределы допускаемой относительной погрешности, % | ||
Частота вращения лопастного винта поверяемой вертушки, об/с |
Скорость по ИФП эталонной вертушки, м/с |
Частота вращения лопастного винта поверяемой вертушки, об/с |
Скорость по ИФП эталонной вертушки, м/с |
Частота вращения лопастного винта поверяемой вертушки, об/с |
Скорость по ИФП эталонной вертушки, м/с |
Скорость по ИФП поверяемой вертушки, м/с | ||||
ИФП поверяемой вертушки И=ап+Ь: ИФП эталонной вертушки И=ал+Ь:
при п менее_____а -_____, b =_____
при п от_____до_____а =_____, b =_____
при п более_____а =_____, b =_____
при п менее_____а =_____, b =_____
при п от_____до_____а =_____, b =______
при л более_____а =_____, b =_____
ПРИЛОЖЕНИЕ Е (ОБЯЗАТЕЛЬНОЕ)
Форма свидетельства о поверке вертушкинаименование органа Государственной метрологической службы, юридического лица
СВИДЕТЕЛЬСТВО
0 ПОВЕРКЕ
№________
Действительно до «_____»_______________20
Средство измерений________________________________________________________
наименование, тип.
Серия и номер клейма предыдущей поверки (если такие серия и номер имеется)
заводской номер________________________________________
наименование юридического (физического) лица, ИНН
поверено и на основании результатов периодической поверки признано пригодным к применению.
Поверительное клеймо
подпись инициалы, фамилия
должность руководителя подразделения
Поверитель
подпись инициалы, фамилия
(РЕКОМЕНДУЕМОЕ)
Пример оформления таблицы расчета зависимости скорости потока воды от частоты вращения лопастного винта поверяемой вертушки
Тип вертушки |
ИСП-1 |
№ вертушки |
0707 |
№ винта |
0707 |
Диаметр винта |
120 |
Дата поверки 08.01.2008
ИФП 1/=ал+Ь |
а |
ь |
при п менее 0,701 об/с |
0,1987 |
0,0144 |
при п от 0,701 об/с |
0,2184 |
-0,0001 |

ПРИЛОЖЕНИЕ И (ОБЯЗАТЕЛЬНОЕ)
Форма извещения о непригодности к применениюнаименование органа Государственной метрологической службы, юридического лица
ИЗВЕЩЕНИЕ о непригодности к применению №________Средство измерений________________________________________________________
наименование, тип.
Серия и номер клейма предыдущей поверки (если такие серия и номер имеется)
заводской номер______________________________________________________________,
при надл ежа щее_______________________________________________________________,
наименование юридического (физического) лица, ИНН
поверено и на основании результатов поверки признано непригодным к применению в сферах распространения государственного метрологического контроля и надзора.
Причина непригодности ____________________________________________________
Поверительное клеймо
должность руководителя подразделения
подпись инициалы, фамилия
подпись инициалы, фамилия
Поверитель
БИБЛИОГРАФИЯ-
[1] Установка компараторная для поверки гидрометрических вертушек. Руководство по эксплуатации. УКПГВ.416.441.001 РЭ
-
[2] Установка компараторная для поверки гидрометрических вертушек. Руководство оператора. УКПГВ.416.441.001 РО
Р 52.08.702-2009
ЛИСТ РЕГИСТРАЦИИ ИЗМЕНЕНИЙ
Номер измене-нения |
Номер страницы |
Номер до-кумента (ОРН) |
Под- ПИСЬ |
Дата | ||||
измененной |
замененной |
новой |
аннулированной |
внесения изменений |
введения изменений | |||
РЕКОМЕНДАЦИИ
Вертушки гидрометрические речные
Методика поверки в установке компараторной
Для поверки гидрометрических вертушек
Подписано в печать ???.О9. Формат 60x84 1/16. Бумага офсетная. Печать офсетная.
Усл.-печ. л. 1.5. Тираж 300 экз. Заказ №
Издательство «Нестор-История» 197110 СПб., Петрозаводская ул., д. 7 тел.: (812) 235-15-86 e-mail: nestor_historia@list.ru
Отпечатано в типографии «Нестор-История» СПб., ул. Розенштейна, д. 21
Тел.:(812)622-01-23

МИНИСТЕРСТВО ПРОМЫШЛЕННОСТИ И ТОРГОВЛИ РОССИЙСКОЙ ФЕДЕРАЦИИ
ФЕДЕРАЛЬНОЕ АГЕНТСТВО ПО ТЕХНИЧЕСКОМУ РЕГУЛИРОВАНИЮ И МЕТРОЛОГИИ (Госстандарт)
ПРИКАЗ08 декабря 2022 г.
3083
Москва
Об установлении методик поверки средств измеренийВ соответствии с частью 1 статьи 12 Федерального закона от 26 июня 2008 г. № 102-ФЗ «Об обеспечении единства измерений» и абзацем четвертым пункта 11 порядка установления, отмены методик поверки и внесения изменений в них, утвержденного приказом Министерства промышленности и торговли Российской Федерации от 28 августа 2020 г. № 2907 «Об утверждении порядка установления и изменения интервала между поверками средств измерений, порядка установления, отмены методик поверки и внесения изменений в них, требований к методикам поверки средств измерений», приказываю:
-
1. Установить в качестве методик поверки для вертушек гидрометрических ГР-55, производства завода «Гидрометприбор», Грузинская ССР, г. Тбилиси, зарегистрированных в Федеральном информационном фонде по обеспечению единства измерений (далее - Федеральный фонд) под номером 3494-73, согласно приложению к настоящему приказу:
методику поверки МП 2550-0390-2022 «Государственная система обеспечения единства измерений. Вертушки гидрометрические ГР-55. Методика поверки», согласованную федеральным государственным унитарным предприятием «Всероссийский научно-исследовательский институт метрологии им. Д.И.Менделеева» (далее - ФГУП «ВНИИМ им. Д.И.Менделеева») 27 июня 2022 г.;
рекомендации Р 52.08.702-2009 «Рекомендации. Вертушки гидрометрические речные. Методика поверки в установке компараторной для поверки гидрометрических вертушек», согласованные ФГУП «ВНИИМ им. Д.И.Менделеева» 15 декабря 2008 г., ГУ НПО «Тайфун» 13 марта 2009 г., УГМАВ Росгидромет 20 марта 2009 г. и утвержденные директором ГУ «1ТИ» И.А.Шикломановым 25 марта 2009 г.
-
2. Отменить методику поверки, изложенную в «Руководстве по поверке гидрологических приборов», Гидрометеорологическое издательство, Ленинград, 1966, для средств измерений, указанных в пункте 1 настоящего приказа.
-
3. Распространить требования настоящего приказа на средства измерений, указанные в пункте 1 настоящего приказа, находящиеся в эксплуатации.
-
4. Управлению метрологии, государственного контроля и надзора Федерального агентства по техническому регулированию и метрологии в течение 5 рабочих дней со дня утверждения настоящего приказа направить в федеральное государственное бюджетное учреждение «Всероссийский научно-исследовательский институт метрологической службы» (далее - ФГБУ «ВНИИМС») необходимые сведения, предусмотренные настоящим приказом, для внесения в Федеральный фонд.
-
5. ФГБУ «ВНИИМС» внести соответствующие изменения в Федеральный фонд.
-
6. Контроль за исполнением настоящего приказа оставляю за собой.
Заместитель руководителя
Е.Р .Лазаренко
Подлинник электронного документа, подписанного ЭП, хранится в системе электронного документооборота Федеральное агентство по техническому регулированию и метрологии.
СВЕДЕНИЯ О СЕРТИФИКАТЕ ЭП
Сертификат: 029D109B000BAE27A64C995DDBQ60203A9 Кому выдан: Лазаренко Евгений Русланович Действителен: с 27.12.2021 до 27.12.2022