№719 от 04.04.2023
Приказ Федерального агентства по техническому регулированию и метрологии (Росстандарт)
# 428748
Об установлении методики поверки МП 2550-0404-2023 для измерителей скорости потока ИСП-1М (в дополнение к ранее установленной)
Приказы по основной деятельности по агентству Вн. Приказ № 719 от 04.04.2023
Федеральное государственное унитарное предприятие
«Всероссийский научно-исследовательский институт метрологии им. Д.И. Менделеева»
ФГУП «ВНИИМ им Д. И. Менделеева»
СОГЛАСОВАНО
Генеральный директор
им. Д.И. Менделеева»
ивцов
доверенность № 54/2021
от 24.12.2021
А.Н. Пронин ктора
« 03 » марта 2023 г.
Государственная система обеспечения единства измерений.
Измерители скорости потока ИСП-1М.
Методика поверки
МП 2550-0404-2023
Руководитель отдела
скорости и расхода воздушного и водного потоков ФГУП
«ВНИИМ им. Д.И. Менделеева»
К.В. Попов
Санкт-Петербург
2023
МП
1 ОБЩИЕ ПОЛОЖЕНИЯ-
1.1 Настоящая методика поверки распространяется на измерители скорости потока ИСП-1М (далее - ИСП-1М), состоящие из первичного преобразователя - гидрометрической вертушки (далее вертушки) и преобразователя сигналов вертушки ПСВ-1 (далее ПСВ-1), изготовленные ФГУП «Гидрометприбор», номер в Госреестре 32804-06, применяется для их первичной и периодической поверки.
-
1.2 Настоящая Методика поверки обеспечивает прослеживаемость измерителей скорости потока ИСП-1М к Государственному первичному эталону единицы длины ГЭТ 2-2021 и к Государственному первичному эталону единиц времени, частоты и национальной шкалы времени ГЭТ 1-2022 в соответствии с Локальной поверочной схемой Росгидромета для средств измерений средней скорости водного потока в диапазоне от 0,01 до 5,00 м/с, утвержденной приказом Росгидромета от 12.05.2021 № 130 (Приложение Г).
-
1.3 В результате поверки должны быть подтверждены метрологические требования, приведенные в таблице 1.
Таблица 1
|
Наименование характеристики |
Значение | |
|
Вертушка | ||
|
Винт |
120 мм |
70 мм |
|
Диапазон измерений скорости водного потока, м/с |
от 0,03 до 5,0 |
от 0,06 до 5,0 |
|
Пределы допускаемой относительной погрешности измерения скорости водного потока, % |
±•[0,015+0,001(5/V 2)-1)] -100 |
±•[0,015+0,002-(5/У 2)-1)] -100 |
|
ПСВ-1 | ||
|
Пределы допускаемой относительной погрешности измерения частоты следования прямоугольных импульсов, % |
<5/д™ = ± [0,004+ 0,0001 1)]-1003) | |
|
Значение нижней и верхней границы рабочего диапазона измеряемой скорости водного потока, указанное в паспорте гидрометрической вертушки | ||
| ||
-
1.4 При определении метрологических характеристик вертушки допускается применение:
-
- метода непосредственного сличения (для эталонов, в состав которых входит прямолинейный бассейн);
-
- метода сличения с помощью компаратора (для эталонов, в состав которых входит установка компараторная для поверки гидрометрических вертушек УКПГВ или лоток градуировочный ГР-19, ГР-19М).
Допускается поверка отдельных измерительных блоков (вертушка или ПСВ-1) из состава ИСП-1М, поверка вертушки с одними измерительным винтом 120 мм или 70 мм, поверка ПСВ-1 проводится в режиме 1:1.
-
1.5 Допускается проведение периодической поверки в рабочем диапазоне значений скорости водного потока, указанном в паспорте ИСП-1М.
-
2.1 При поверке ИСП-1М должны быть выполнены операции, указанные в таблице 2
Таблица 2
|
Наименование операции поверки |
Обязательность выполнения операций поверки при |
Номер раздела (пункта) методики поверки,в соответствии с которым выполняется операция поверки | |
|
Первичной поверке |
Периодической поверке | ||
|
Внешний осмотр |
Да |
Да |
7 |
|
Контроль условий поверки (при подготовке к поверке и опробовании средства измерений) |
Да |
Да |
3.1 |
|
Опробование (при подготовке к поверке и опробовании средства измерений) |
Да |
Да |
8 |
|
Проверка версии программного обеспечения ИСП-1М 3) |
Да |
Да |
9 |
|
Определение метрологических характеристик вертушки, входящей в состав ИСП-1М |
Да |
Да |
10.1 |
|
Определение метрологических характеристик преобразователя ПСВ-1 входящего в состав ИСП-1М |
Да |
Да |
10.2 |
|
Подтверждение соответствия метрологическим требованиям |
Да |
Да |
И |
|
3) Проверка версии программного обеспечения проводится при наличии в составе ИСП-1М преобразователя сигналов ПСВ-1 | |||
-
2.2 Результаты выполнения операций поверки заносят в протокол, рекомендуемая форма которого приведена в приложении А и приложении Б, в зависимости от применяемого эталона.
-
2.3 При отрицательных результатах хотя бы одной из операций дальнейшая поверка вертушки прекращается.
-
3.1 При подготовке к поверке, опробовании и проведении поверки должны соблюдаться
следующие условия:
от 5 до 30;
от 84 до 106,7;
от 30 до 90;
от 5 до 30.
-температура окружающей среды, °C -атмосферное давление, кПа -относительная влажность воздуха, % -температура воды, °C
4 ТРЕБОВАНИЯ К СПЕЦИАЛИСТАМ, ОСУЩЕСТВЛЯЮЩИМ ПОВЕРКУ-
4.1 Поверка гидрометрических вертушек в прямолинейных бассейнах проводится бригадой, в состав которой входит не менее 2 сотрудников (один из которых поверитель), прошедшие инструктаж по безопасному выполнению работ.
-
4.2 При выполнении поверки работы могут выполняться только специалистами, изучившими оборудование.
-
4.3 К эксплуатации электроустановок с целью выполнения своих должностных обязанностей, не связанных с их обслуживанием и ремонтом, допускаются лица с присвоенной II группой по электробезопасности до 1000 В.
-
5.1 При проведении поверки применяют нижеперечисленные средства поверки и
вспомогательное оборудование, указанное в таблице 3.
Таблица 3
|
Операции поверки, требующие применения средств поверки |
Метрологические и технические требования к средствам поверки, необходимые для проведения поверки |
Перечень рекомендуемых средств поверки |
|
п. 3.1 Контроль условий поверки (при подготовке к поверке и опробовании средства измерений) |
Средства измерений температуры окружающей среды в диапазоне измерений от +5 до +30 °C, с абсолютной погрешностью не более 2 °C; Средства измерений относительной влажности воздуха в диапазоне от 30 до 80 %, с относительной погрешностью не более 6 % Средства измерений атмосферного давления в диапазоне от 84 до 106 кПа, с абсолютной погрешностью не более 2 кПа. |
Термогигрометр ИВА-6Н-Д per. №46434-11 |
|
п.3.1 Контроль условий |
Средства измерений |
Термометр |
|
поверки, температура воды в эталоне (при подготовке к поверке и опробовании средства измерений) |
температуры воды в диапазоне измерений от 5 до 30 °C, с абсолютной погрешностью не более 2 °C; |
электроконтактный ТКП- 100/М1 per. №68475-17 |
|
п.8 Опробование |
Средства измерений амплитудных и временных параметров электрических сигналов, исследования формы сигнала с аналоговой полосой пропускания более 200 кГц и амплитудой сигналов до 5 В, с относительной погрешностью 5%. |
Осциллограф цифровой DSOX 1204A per. № в ФИФ 75320-19 |
|
п.10.1 Определение метрологических характеристик |
Эталоны единицы средней скорости водного потока, соответствующие требованиям к эталонам не ниже рабочих эталонов по локальной поверочной схеме Росгидромета для средств измерений средней скорости водного потока в диапазоне от 0,01 до 5,00 м/с утвержденной приказом руководителя Росгидромета от 12.05.2021 № 130, в диапазоне значений от 0,01 до 5,00 м/с. |
Эталоны средней скорости водного потока в составе которых: - прямолинейные бассейны длиной до 60 м включительно, при воспроизведении скорости водного потока до 3,5 м/с.
|
|
п.10.2 Определение метрологических характеристик |
Эталон единицы частоты 4-го разряда в диапазоне измерений от 1 мкГц до 200 кГц. |
Генератор сигналов произвольной формы 33509В per. № в ФИФ 72915-18 |
|
Примечание - допускается применение средств поверки с метрологическими и техническими характеристиками, обеспечивающими требуемую точность передачи единиц величин поверяемому средству измерений. | ||
5.2 Эталон должен быть аттестован и иметь действующее свидетельство об аттестации (свидетельство о поверке), средства измерений должны иметь действующие свидетельства о поверке.
-
5.3 При опробовании ИСП-1М, в составе которого отсутствует ПСВ-1, собирается схема в соответствии с рисунком 1.
-
6.1 При поверке необходимо соблюдать требования:
-
- правил пожарной безопасности;
-
- правил технической эксплуатации электроустановок потребителей;
-
- межотраслевых правил по охране труда (правилами безопасности) при эксплуатации электроустановок;
-
- правил устройства электроустановок потребителей;
-
- правил безопасности при эксплуатации средств поверки, приведенных в эксплуатационной документации;
-
- правил по охране труда при эксплуатации коммунального водопроводно-канализационного хозяйства.
-
6.2 Все работы в прямолинейных бассейнах выполняет бригада, в состав которой входит не менее 2 сотрудников (один из которых поверитель), прошедшие инструктаж по безопасному выполнению работ.
-
6.3 В прямолинейных бассейнах на месте производства работ должны находиться средства спасения для оказания помощи на воде.
-
6.4 Должны соблюдаться требования безопасности, указанные в эксплуатационной документации на эталоны и средства измерений.
-
7.1 При внешнем осмотре проверяют:
-
- наличие маркировки, номеров на лопастных винтах.
-
- отсутствие механических повреждений, коррозии, нарушения покрытий, надписей и других дефектов, препятствующих функционированию в соответствии с ЭД;
-
- соответствие эксплуатационной документации;
-
- отсутствие вмешательства в конструкцию.
-
7.2 По результатам внешнего осмотра принимают решение о проведении дальнейшей поверки или ее прекращении до устранения выявленных недостатков.
-
8.1 Перед опробованием и поверкой выдержать поверяемую вертушку не менее двух часов при температуре воздуха от 5 °C до 30 °C. Контролируют условия поверки, которые должны соответствовать требованиям, приведенным в п. 3.1.
-
8.2 При опробовании проверяют наличие сигнала, поступающего от вертушки на ПСВ-1. Для этого вертушку соединяют штатными сигнальными проводами с ПСВ-1, нажимают кнопку «СТАРТ» на лицевой панели ПСВ-1 и вращают лопастной винт (режим суммирования импульсов).
Критерием годности будут увеличивающиеся, с нарастающим итогом, показания цифрового табло ПСВ-1.
При отсутствии в составе ИСП-1М преобразователя сигналов ПСВ-1 опробование вертушки проводят в соответствии с п. 8.3, при применении градуировочных лотков и установок компараторных в соответствии с п. 8.4.
-
8.3 При опробовании подключают к вертушке цифровой осциллограф с аналоговой полосой пропускания более 200 кГц в соответствии с рисунком 1, вращают лопастной винт вертушки рукой, по возможности равномерно (либо путем буксировки в воде), при этом необходимо наблюдать на экране осциллографа не менее пятнадцати прямоугольных импульсов, отображаемых без пропусков и искажений.

К входу «X»
осциллографа
К общему проводу осциллографа
Рисунок 1 Схема подключения вертушки к осциллографу при опробовании.
-
8.3.1 Вертушка считается прошедшей опробование при отсутствии на осциллограмме ложных сигналов или пропусков импульсов, поступающих от датчика вращения лопастного винта.
-
8.4 Перед поверкой вертушек в градуировочных лотках и установках компараторных для поверки гидрометрических вертушек проводят обкатку вертушек, в соответствии с руководством по эксплуатации применяемых эталонов.
-
8.4.1 Вертушки крепят на штативе установки в соответствии с п. 9.1.1.1 и 9.1.1.2 в зависимости от применяемых эталонов и погружают в воду при нулевой скорости водного потока.
-
8.4.2 Вертушки подсоединяют к блоку сопряжения и управления. При подключении вертушек необходимо соблюдать полярность земляного и сигнального провода.
-
8.4.3 Операция обкатки начинается с момента включения электродвигателя и плавного изменения частоты вращения приводного вала привода до значения, соответствующего заданной скорости водного потока.
-
8.4.4 В процессе обкатки проводят визуальный анализ качества вращения лопастного винта и контактного датчика вертушки по наблюдениям за равномерностью свечения светодиода на блоке сопряжения (управления).
-
-
8.5 Вертушка считается прошедшей опробование, если выполняются требования п. 8.2, п. 8.3 или п. 8.4 в зависимости от выбранного метода опробования.
-
9.1 Идентификация версии встроенного ПО ИСП-1М выполняется при наличии ПСВ-1 в составе ИСП-1М. Для проверки номера версии ПО необходимо подключить ПСВ-1 к персональному компьютеру с помощью преобразователя интерфейсов USB/RS-232. На рисунке 2 представлен вариант подключения преобразователя интерфейсов USB/RS-232 модели КИ113. Запустить на персональном компьютере программу «VelTestl». Отображаемый в программе номер версии программного обеспечения ПСВ-1 должен быть не ниже V1.0.

USB/RS-232
sub-D 9 (F)
Рисунок 2 Схема подключения преобразователя интерфейсов USB/RS-232 модели КИ113 к ПСВ-1
10 ОПРЕДЕЛЕНИЕ МЕТРОЛОГИЧЕСКИХ ХАРАКТЕРИСТИК СРЕДСТВА ИЗМЕРЕНИЙ-
10.1 Определение метрологических характеристик вертушки из состава ИСП-1М.
-
10.1.1 Подготовить эталон к проведению поверки и подключить к нему поверяемую вертушку с лопастным винтом 120 мм, затем повторить все операции для лопастного винта 70 мм.
-
10.1.1.1 Для эталона средней скорости водного потока, в состав которого входит прямолинейный бассейн, необходимо погрузить поверяемую вертушку на глубину более 0,2 м, запрещается устанавливать на штангу более одной вертушки.
-
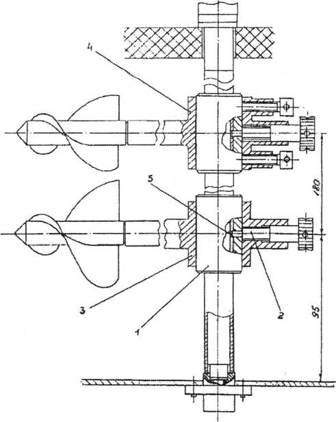
10.1.1.2 Для установок компараторных для поверки гидрометрических вертушек УКПГВ установить вертушки, обеспечивая правильное их размещение на штативе по высоте и параллельности осей вертушек относительно боковых стенок лотка, рисунок 3 (установка вертушек в лотках градуировочных типов ГР-19 и ГР-19М осуществляется в соответствии с руководством по эксплуатации).

-
-
Рисунок 3
-
1 штатив;
-
2 винт установочный;
3, 4 вертушка гидрометрическая
-
10.1.2 Определение относительной погрешности вертушки при измерении заданной скорости водного потока.
-
10.1.2.1 Определение индивидуальной функции преобразования (ИФП) производят в соответствии с Приложением В
-
-
- для прямолинейных бассейнов длиной более 100 м при следующих значениях скорости перемещения буксировочной машины 0,03 м/с (только для винта 120 мм); 0,06 м/с; 0,10 м/с; 0,20 м/с; 0,30 м/с; 0,50 м/с; 1,00 м/с; 3,00 м/с; 5,00 м/с;
-
- для прямолинейных бассейнов длиной от 60 до 100 м включительно не менее 9 точек из ряда следующих значений скорости перемещения буксировочной машины 0,03 м/с (только для винта 120 мм); 0,06 м/с; 0,07 м/с; 0,08 м/с; 0,10 м/с; 0,15 м/с; 0,20 м/с; 0,3 м/с; 0,50 м/с; 1,00 м/с; 1,50 м/с; 2,00 м/с; 2,50 м/с; 3,00 м/с; 3,50 м/с;
-
- для компараторных установок при следующих устанавливаемых значениях скорости водного потока 0,06 м/с; 0,07 м/с; 0,08 м/с; 0,10 м/с; 0,15 м/с; 0,20 м/с; 0,50 м/с; 1,00 м/с; 1,50 м/с; 2,00 м/с; 2,50 м/с; (3,00 м/с для ГР-19, ГР-19М).
-
10.1.2.2 Отклонение скорости водного потока, воспроизводимой эталоном, не должно превышать ±10 % от заданного значения.
-
10.1.2.3 При переходе от одной заданной скорости движения буксировочной машины, входящей в состав эталона средней скорости, к другой должно быть выдержано время, в течение которого вода в бассейне успокаивается.
-
10.1.2.4 На каждой заданной скорости движения буксировочной машины производится измерение частоты оборотов лопастного винта вертушки п; и действительной скорости движения буксировочной машины Уц. Результаты заносятся в протокол по форме приложения А.
-
10.1.3 Определение относительной погрешности измерения скорости водного потока с применением эталона, в состав которого входит установка компараторная для поверки гидрометрических вертушек УКПГВ, проводят в рабочем диапазоне скоростей от 0,06 до
-
2,5 м/с, для эталона, в состав которых входит лоток градуировочный ГР-19, ГР-19М, в диапазоне значений скорости водного потока от 0,06 до 3,00 м.
-
10.1.3.1 Поверка осуществляется методом сличения показаний вертушки, входящей в состав установки компараторной для поверки гидрометрических вертушек УКПГВ или лотков градуировочных ГР-19, ГР-19М, с однотипной поверяемой гидрометрической вертушкой, при этом винты вертушек должны быть одного диаметра.
-
10.1.3.2 Определение ИФП вертушки выполняется методом, реализуемым за два цикла измерений:
-
- в первом цикле эталонная вертушка соответствующего типа устанавливается в нижней части штатива установки, поверяемая вертушка устанавливается в верхней части;
-
- во втором цикле вертушки меняют местами, не отключая их от БСУ, переворачивают штангу с вертушками, снятую со штатива установки;
-
10.1.3.3 ИФП определяется для каждого лопастного винта методом сличения показаний вертушки, входящей в состав эталона, с показаниями поверяемой и выражается в виде зависимости:
Vat = f(ncpi), (1)
где Vdi измеренное эталонной вертушкой действительное среднее значение скорости водного потока за время измерения в заданной точке i, м/с;
псрГ среднее значение частоты вращения лопастного винта поверяемой вертушки в точке z, об/с.
-
10.1.3.4 ИФП определяется при значениях скорости водного потока в соответствии с п. 10.1.2.1 в зависимости от поверяемой вертушки и применяемого эталона.
Первое (минимальное) задаваемое значение скорости водного потока должно соответствовать нижней границе диапазона скоростей водного потока для конкретного типа вертушек.
-
10.1.3.5 Выход на рабочий режим и поддержание заданной скорости водного потока номинальных значений согласно 10.1.3.7, обеспечиваются в установке автоматически.
-
10.1.3.6 Процесс выполнения измерений производится от начальной скорости поверяемой вертушки до скорости, соответствующей верхнему значению для применяемого эталона.
-
10.1.3.7 Для компараторных установок время измерения скорости водного потока в каждой точке установлено в соответствии с таблицей 3.
Таблица 3
|
Скорость, м/с |
0,06 |
0,07 |
0,08 |
0,10 |
0,15 |
0,20 |
0,30 |
0,50 |
1,00 |
1,50 |
2,00 |
2,50 |
3,00 |
|
Время выдержки измерений /„ с, не менее |
240 |
240 |
240 |
120 |
120 |
120 |
120 |
60 |
30 |
30 |
30 |
20 |
20 |
|
Время стабилизации скорости потока ticr, с, не менее |
80 |
80 |
80 |
50 |
50 |
50 |
50 |
30 |
30 |
30 |
30 |
30 |
30 |
10.1.3.8 Среднее значение скорости потока для Vgi в точке i принимается как среднее арифметическое из двух скоростей, измеренных вертушкой входящей в состав эталона в положении «внизу» и «вверху» по формуле:
vai = (V31i + V32i)/2, (2)
где V31i и V32i - значения скорости потока, измеренные эталонной вертушкой в положении «внизу» и «вверху» соответственно, м/с.
-
10.1.3.9 Среднее значение частоты вращения лопастного винта поверяемой вертушки в УКПГВ ncpi, об/с, в точке i принимается как среднее арифметическое значение из частот вращения лопастного винта поверяемой вертушки в положении «вверху» и «внизу» по формуле:
nCpi = (пц + n2i)/2, (3)
где пии n2i - измеренное значение частоты вращения лопастного винта поверяемой вертушки в положении «вверху» и «внизу» соответственно, об/с.
-
10.1.3.10 Результаты измерений заносят в протокол в соответствии с приложением Б.
-
10.1.3.11 Определение ИФП производится в соответствии с приложением В.
-
10.2 Определение метрологических характеристик преобразователя сигналов вертушки ПСВ-1 из состава ИСП-1М.
-
10.2.1 Собрать измерительную схему в соответствии с рисунком 4
-
10.2.1.1 Установить на генераторе сигналов частоту 0,05 Гц, скважность импульсов и амплитуду в соответствии с таблицей 4
Таблица 4
Характеристика сигнала
Значение
Частота следования прямоугольных импульсов положительной полярности
0,05
20
50
Скважность импульсов
20
20
30
Амплитуда импульса, В
5
10.2.1.2 Включить ПСВ-1 в режиме измерения частоты сигнала 1:1.
-
-
-
10.2.1.3 Выдать заданный на генераторе сигнал на ПСВ-1, при этом ПСВ-1 переходит в режим измерений.
-
10.2.1.4 Дождаться автоматической остановки измерений ПСВ-1 (для частоты 0,05 Гц время измерений составляет 400 с, для частоты 20 и 50 Гц время измерений составляет 60 секунд).
-
10.2.1.5 Результаты измерений записать в протокол измерений (Приложение А или Б в зависимости от применяемого эталона).
-
10.2.1.6 Повторить измерения по п.10.2.1.1-10.2.1.5 последовательно для частоты 20 Гц и 50 Гц.
Рис. 4 Схема подключения генератора к преобразователю ПСВ-1
-
11.1 Для вертушки из состава ИСП-1М.
-
11.1.1 Определение средней скорости движения буксировочной машины, соответствующей средней скорости водного потока Vt на участке Lp производится по формуле
-
4, расчет средней частоты оборотов лопастных винтов вертушек п, при прохождении участка
Lp определяется по формуле:
а) среднюю скорость Vt, м/с, вычисляют по формуле:
(т- 1)-^,
ТР
(4)
где тр - интервал времени, в течение которого тележка проходит участок Lp, с;
m - число зарегистрированных сигналов датчика пути;
Lp - расстояние (шаг) между соседними сигналами датчика пути, м.
б) среднюю частоту оборотов лопастного винта вертушки щ, об/с, вычисляют по формуле:
Nj—1 /сч
П| = (5)
TNi
где Nt - число зарегистрированных сигналов вертушки;
тм - интервал времени регистрации сигналов с вертушки, с.
-
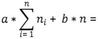
11.1.2 ИФП определяют по результатам одного измерения в каждой точке диапазона скоростей водного потока в соответствии с Приложением В по формуле:
V = а ■ п + Ь, (6)
где V- скорость водного потока, измеренная вертушкой, м/с;
а и b - коэффициенты ИФП;
п - частота оборотов лопастного винта вертушки, об/с.
-
11.1.3 ИФП рассчитывается методом наименьших квадратов по методике, приведенной в приложении В. Допускается кусочно-линейная аппроксимация.
-
11.1.4 Относительную погрешность вертушки <5;, %, в заданной точке диапазона измерений скорости определяют по формуле:
61 = 100 • (Vs - VTi)/VTi, (7)
где У, - скорость потока по ИФП вертушки, м/с;
Vn - воспроизводимая скорость водного потока, м/с;
z - номер заданной точки скорости водного потока в диапазоне измерения.
-
11.1.5 Вертушку считают прошедшей поверку по данному пункту, если <5, по если для каждого винта по всему скоростному диапазону полученные результаты удовлетворяют условию:
|6i| < 6Д, (8)
где дд - пределы допускаемой относительной погрешности измерений скорости водного потока, %.
Значение дд определяют по формуле:
-
- для лопастного винта диаметром 70 мм формула 9:
6д = [о,015 + 0,002 • - 1)] • 100, (9)
-
- для лопастного винта диаметром 120 мм формула 10:
6Д = [о,015 + 0,001 ■ 1)] • 100, (10)
где V- значение скорости водного потока, м/с
-
11.1.6 Вертушка соответствует метрологическим требованиям, если полученные значения погрешности измерения скорости водного потока не превышают допускаемую погрешность п. 11.1.5 и диапазон измерений скорости водного потока, в котором допускается применение вертушки, соответствует диапазону, в котором была определена ИФП.
-
11.2 Для ПСВ-1 из состава ИСП-1М.
-
11.2.1 Определить относительную погрешность измерения частоты ПСВ-1 по формуле:
-
8f=± [100 * , о/о (п)
L Jдейств ' J
где /действ ~ действительное значение частоты, Гц;
f „св-- частота, измеренная ПСВ-1, Гц.
-
11.2.2 ПСВ-1 считается прошедшим поверку по данному пункту, если выполняется во всем диапазоне измерений частоты условие:
fy — доп (12)
где 8f - погрешность при измерении частоты ПСВ-1;
Sfdon - предел допускаемой относительной погрешности преобразования частоты электрических импульсов в значение скорости водного потока преобразователем определяется по формуле:
8/доп=± [б,004+ 0,0001 1)]*100%, (13)
где/ь - максимальная частота диапазона измерения: для входа «1:1», равная 50 Гц.
f - измеряемая частота сигнала ПСВ-1, Гц.
-
11.2.3 ПСВ-1 соответствует метрологическим требованиям, если полученные значения погрешности измерения частоты импульсов не превышают допускаемую погрешность п.11.2.2.
-
11.3 ИСП-1М соответствует метрологическим требованиям если допускаемая погрешность измерения скорости водного потока не превышает п. 11.1.5 и погрешность измерения частоты следования импульсов не превышает п.11.2.2
-
12.1. Результаты поверки оформляются протоколом (рекомендуемая форма приведена в Приложении А и Приложении Б в зависимости от применяемого эталона).
-
12.2. Информация о положительных и отрицательных результатах поверки измерителя скорости потока ИСП-1М передается в Федеральный информационный фонд по обеспечению единства измерений в установленном порядке, с указанием объема проведенной поверки в части диапазона измерений скорости водного потока и индивидуальная функция преобразования V = а ■ п + b с указанием диапазона значений скорости водного потока в зависимости от применяемого эталона для каждого лопастного винта.
-
12.3 По требованию заказчика выдается свидетельство о поверке измерителя скорости потока ИСП-1М или извещение о непригодности установленного образца.
-
12.4 Знак поверки наносится на свидетельство о поверке (в случае его оформления).
Приложение А (рекомендуемое) Форма протокола поверки с применением прямолинейных бассейнов
Организация -__________________________________________________________________
Уникальный номер записи об аккредитации в реестре аккредитованных лиц RA.RU_________
ПРОТОКОЛ №__________
Дата поверки ________20 г.
Наименование СИ
Состав СИ
Зав. номер__________принадлежит___________________________
Регистрационный номер в ФИФ____________________________
Условия поверки:
-
- температура окружающего воздуха, °C _____________________
-
- относительная влажность, % ______________________
-
- температура воды, °C
-атмосферное давление, кПа ________________
Документ, на основании которого выполнена поверка МП 2550-0404-2023
Средства поверки:___________________________________________
Внешний осмотр_________соответствует/не соответствует
Причины:______________________________________________
Опробование____________соответствует/не соответствует
Причины:___________________________________________________
А1. Результаты измерений скорости водного потока вертушкой Таблица А1 Результаты измерений для лопастного винта 120 мм
|
Скорость движения буксировочной машины VTi, м/с |
Частота оборотов лопастного винта вертушки ni, об/с |
Скорость потока, измеренная вертушкой Vi, м/с |
Относительная погрешность измерения скорости водного потока 5i, % |
Пределы допускаемой относительной погрешности измерения скорости водного потока 6д, % |
Индивидуальная функция преобразования: V = а-п + b определена в диапазоне значений скорости водного потока от (минимальная скорость измеряемая вертушкой) до (максимальная скорость воспроизводимая эталоном) м/с для лопастного винта 120 мм
Таблица А2 Результаты измерений для лопастного винта 70 мм
|
Скорость движения буксировочной машины VTi, м/с |
Частота оборотов лопастного винта вертушки ni, об/с |
Скорость потока, измеренная вертушкой Vi, м/с |
Относительная погрешность измерения скорости водного потока 3i, % |
Пределы допускаемой относительной погрешности измерения скорости водного потока Зд, % |
Индивидуальная функция преобразования: V = а -п+ b определена в диапазоне значений скорости водного потока от (минимальная скорость измеряемая вертушкой) до (максимальная скорость воспроизводимая эталоном) м/с для лопастного винта 70 мм.
А.2 Результаты измерений частоты импульсов ПСВ-1 Таблица АЗ Результаты измерений частоты импульсов ПСВ-1
|
Заданное значение частоты прямоугольных импульсов, воспроизводимых генератором freH, Гц |
Результаты измерений ПСВ-1 | ||
|
Измеренное значение частоты, fHC0, Гц |
Относительная погрешность измерения частоты, 8f, % |
Пределы допускаемой относительной погрешности измерения частоты, §1доп, % | |
|
0,05 | |||
|
20 | |||
|
50 | |||
Заключение:
Поверитель
подпись
фамилия, инициалы
Приложение Б
(рекомендуемое)
Форма протокола поверки с применением компараторных установок
Организация -_______________________________________________________________________
Уникальный номер записи об аккредитации в реестре аккредитованных лиц RA.RU_________
ПРОТОКОЛ №__________
Дата поверки ________20 г.
Наименование СИ
Состав СИ
Зав. номер__________принадлежит-
Регистрационный номер в ФИФ_________________________________
Условия поверки:
-
- температура окружающего воздуха, °C _________________________
-
- относительная влажность, % __________________________
-
- температура воды, °C
-атмосферное давление, кПа ______________________
Документ, на основании которого выполнена поверка МП 2550-0404-2023
Средства поверки:__________________________________________________
Внешний осмотр_________соответствует/не соответствует
Причины:___________________________________________________
Опробование____________соответствует/не соответствует
Причины:___________________________________________________
Б 1. Результаты измерений скорости водного потока вертушкой
ИФП поверяемой вертушки V = а ■ п + b для лопастного винта 120 мм
ИФП вертушки входящей в состав эталона
V = а ■ п+ b для лопастного винта 120 мм
Таблица Б1 Результаты измерений для лопастного винта 120 мм
|
Номер измерения |
Номер скоростной точки |
Зада-ваемая скорость водного потока в лотке, м/с |
Цикл измерений № 1 |
Цикл измерений № 2 |
Среднее из измерений № 1 и № 2 |
Относительная погрешность вертушки, % |
Пределы допускаемой относительной погрешности, % | ||||
|
Частота вращения поверяемой вертушки, об/с |
Скорость по ИФП эталонной вертушки, м/с |
Частота вращения поверяемой вертушки, об/с |
Скорость по ИФП эталонной вертушки, м/с |
Частота вращения поверяемой вертушки, об/с |
Скорость по ИФП эталонной вертушки, м/с |
Скорость по ИФП поверяемой вертушки, м/с | |||||
Индивидуальная функция преобразования:
V = an + b определена в диапазоне значений скорости водного потока от (минимальная скорость, измеряемая вертушкой) до (максимальная скорость воспроизводимая эталоном) м/с для лопастного винта 120 мм.
Таблица Б2 Результаты измерений для лопастного винта 70 мм
|
Номер измерения |
Номер скоростной точки |
Зада-ваемая скорость водного потока в лотке, м/с |
Цикл измерений № 1 |
Цикл измерений № 2 |
Среднее из измерений № 1 и № 2 |
Относительная погрешность вертушки, % |
Пределы допускаемой относительной погрешности, % | ||||
|
Частота вращения поверяемой вертушки, об/с |
Скорость по ИФП эталонной вертушки, м/с |
Частота вращения поверяемой вертушки, об/с |
Скорость по ИФП эталонной вертушки, м/с |
Частота вращения поверяемой вертушки, об/с |
Скорость по ИФП эталонной вертушки, м/с |
Скорость по ИФП поверяемой вертушки, м/с | |||||
ИФП поверяемой вертушки V = а-п + b ИФП вертушки входящей в состав эталона
для лопастного винта 70 мм V = а • п + b для лопастного винта 70 мм
Индивидуальная функция преобразования:
V = an + b определена в диапазоне значений скорости водного потока от (минимальная скорость, измеряемая вертушкой) до (максимальная скорость воспроизводимая эталоном) м/с для лопастного винта 70 мм.
Б2. Результаты измерений частоты импульсов ПСВ-1
Таблица БЗ Результаты измерений частоты импульсов ПСВ-1
|
Заданное значение частоты прямоугольных импульсов, воспроизводимых генератором freH, Гц |
Результаты измерений ПСВ-1 | ||
|
Измеренное значение частоты, fHC0, Гц |
Относительная погрешность измерения частоты, 5f, % |
Пределы допускаемой относительной погрешности измерения частоты, Sfoon, % | |
|
0,05 | |||
|
20 | |||
|
50 | |||
Заключение:
Поверитель
подпись
фамилия, инициалы
Приложение В
(обязательное)
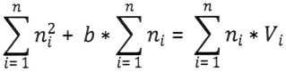
Расчет коэффициентов ИФП вертушки методом наименьших квадратов
Опишем, зависимость скорости водного потока в точках равномерно распределенных по диапазону измерений, измеренной вертушкой V в зависимости от частоты вращения лопастного винта п, линейным уравнением:
V =а*п+ b
Сумма квадратов отклонений имеет вид
п
S(a,b)=
i=l
а * П[ - b)2
Запишем условия минимума, частные производные равны нулю
а * rii - b) * = О
i=i
с)г> v-1 a*nz- Ь) = О
i^l
Получаем систему двух линейных алгебраических уравнений с двумя неизвестными.
Г
а *
п
i=l
V

Решаем систему уравнений и находим значение коэффициентов а и Ь.
Приложение Г
(обязательное)
Локальная поверочная схема Росгидромета для средств измерений средней
скорости водного потока в диапазоне значений от 0,01 до 5,00 м/с
Локальная поверочная схема Росгидромета
для средств измерений средней скорости водного потока
в диапазоне значений от 0,01 др?5,00.м/с
И.А. Шумаков
2021
no npxwiy Росотаидйрга от
3107*2018 Г. N» 1621
f СТ 1,0’ПЯ да 178,4*10* Гц
1,0-10*
Aik 1 (0,40*00 W
по принту Р&хпгвндартв от Ж42.2018 г. № 2840
СОГЛАСОВАНО
Зам. Генерального Дирдк^ора ФГУП «ВНЙИМ- -ДжШнделеева»
Рутов'одйтелб^ретидромета ■ ,Ж'"
/ /г'Г"
111'/ jl /
Средств» измнгренмш дл«*»ы L ® днетйах» от 1 -16* до 100 м
Приеме нзжорания
V от 0*01 ДО 6,00 Wo
025$ 510,0
V от а,С6 ДО 3,00 Wo
2,6«W<30
V <ут 0,03 ДО 5,00 Wc
Вертушки
ВФртушкм
гмдрем€Трнмес.«мй речаыа
адства ижиний эр
1 '
,. Z/<A.. <7 \’.v' ‘ 7yZ' Л
t от 1,0-10* до 4,0-Ш с *> 10,0 «с
по пртозу РЧюаггацйдрта ат 31.07 2018 г. №1621
[ язмтр®’ Г»
|
Этжлан ер^диай ш#|и>сги воднего «огам» (ЭССВЛ) | |
|
Изтрительиый канал 1 Эгалди ckv^th рртом (ЭСВП) V ат 0,01 да 5,00 м/с Л * 0,5 |
Измерительный окал 2 Сжтзшз гид&омртщтсоя зта/штшя (ГЭАС) V от 0#01 до 5,00 м/с |
Потки и y«T«***ww «owmspowwbss пова^м варгушак г«л.|^*нт>»'чшких
V от 0,06 да ВДЮ м/с
1,0$ Д :8V $15
Измерители дорасти врдмаге патак»

У - средняя скорость водного потока, м/с; / -единица времени, с; L- длина измеряемого участка, м; F - задаваемая частота сигнала, Гц;
пределы допускаемой относительной погрешности по частоте, %;
At - пределы допускаемой абсолютной погрешности измерения интервалов времени, с; At - пределы допускаемой абсолютной погрешности измерений длины, м; Aov- пределы допускаемой относительной погрешности по скорости, %,
Рисунок Г1
19
Приложение
к приказу Федерального агентства по техническому регулированию и метрологии от «04» апреля 2023 г. № 719
Государственная система обеспечения единства измерений. Измерители скорости потока ИСП-1М. Методика поверки.
МП 2550-0404-2023

МИНИСТЕРСТВО ПРОМЫШЛЕННОСТИ И ТОРГОВЛИ РОССИЙСКОЙ ФЕДЕРАЦИИ
ФЕДЕРАЛЬНОЕ АГЕНТСТВО ПО ТЕХНИЧЕСКОМУ РЕГУЛИРОВАНИЮ И МЕТРОЛОГИИ (Госстандарт)
ПРИКАЗ04 апреля 2023 г.
719
Москва
Об установлении методики поверки средств измерений
В соответствии с частью 1 статьи 12 Федерального закона от 26 июня 2008 г. № 102-ФЗ «Об обеспечении единства измерений» и абзацем четвертым пункта 11 Порядка установления, отмены методик поверки и внесения изменений в них, утвержденного приказом Министерства промышленности и торговли Российской Федерации от 28 августа 2020 г. № 2907 «Об утверждении порядка установления и изменения интервала между поверками средств измерений, порядка установления, отмены методик поверки и внесения изменений в них, требований к методикам поверки средств измерений», приказываю:
-
1. Установить в качестве методики поверки для измерителей скорости потока ИСП-1М, производства ФГУП «Гидрометприбор», г. Санкт-Петербург, зарегистрированных в Федеральном информационном фонде по обеспечению единства измерений (далее - Федеральный фонд) под номером 32804-06, методику поверки МП 2550-0404-2023 «Государственная система обеспечения единства измерений. Измерители скорости потока ИСП-1М. Методика поверки», согласованную Федеральным государственным унитарным предприятием «Всероссийский научно-исследовательский институт метрологии им. Д.И.Менделеева» 3 марта 2023 г., согласно приложению к настоящему приказу.
-
2. Сохранить в качестве методики поверки действие документа по поверке в составе эксплуатационной документации ГМП 17.0000.00ДБ, согласованного ГЦИ СИ «ВНИИМ им. Д.И.Менделеева» 14 августа 2006 г. для средств измерений, указанных в пункте 1 настоящего приказа.
-
3. Распространить требования настоящего приказа на средства измерений, указанные в пункте 1 настоящего приказа, находящиеся в эксплуатации.
-
4. Управлению метрологии, государственного контроля и надзора Федерального агентства по техническому регулированию и метрологии в течение 5 рабочих дней со дня утверждения настоящего приказа направить в Федеральное государственное бюджетное учреждение «Всероссийский научно-исследовательский институт метрологической службы» (далее — ФГБУ «ВНИИМС») необходимые сведения, предусмотренные настоящим приказом, для внесения в Федеральный фонд.
-
5. ФГБУ «ВНИИМС» внести соответствующие изменения в Федеральный фонд.
-
6. Контроль за исполнением настоящего приказа оставляю за собой.
Заместитель руководителя
Е.Р. Лазаренко
( л
Подлинник электронного документа, подписанного ЭП, хранится в системе электронного документооборота Федеральное агентство по техническому регулированию и метрологии. _________
СВЕДШИЙ о СЕГТЕШ1КА1 L. ЭП
Сертификат: 646070CB8580659469A85BF6D1B138C0 Кому выдан: Лазаренко Евгений Русланович Действителен: с 20.12.2022 ДО 14,03.2024

