№1223 от 19.06.2025
Приказ Федерального агентства по техническому регулированию и метрологии (Росстандарт)
# 688265
ПРИКАЗ О внесении изменений в сведения об утвержденных типах СИ (6)
Приказы по основной деятельности по агентству Вн. Приказ № 1223 от 19.06.2025
Р Е Е
к приказу Федерального агентства по техническому регулированию
и метрологии
от «19 » ии_1_ 2025 г. № 1^223
Сведения об утвержденных типах средств измерений, подлежащие изменению в части конструктивных изменений, не влияющих на метрологические характеристики средств измерений
№ п/п |
Наименование типа |
Обозначение типа |
Заводской номер |
Регистрационный номер в ФИФ |
Правообладатель |
Отменяемая методика поверки |
Действие методик поверки сохраняется |
Устанавливаемая методика поверки |
Заявитель |
Юридическое лицо, выдавшее заключение |
1 |
2 |
3 |
4 |
5 |
6 |
1 |
8 |
9 |
10 |
11 |
1. |
Система измерений количества и показателей качества нефти № 733 ПСП «Козьмино» |
01 |
79833-20 |
НА.ГНМЦ.0413- 22 МП |
Акционерное общество «Транснефть-Автоматизация и Метрология» (АО «Транснефть-Автоматизация и Метрология»), г. Москва |
АО «Транснефть-Автоматизация и Метрология», г. Москва | ||||
2. |
Резервуары стальные вертикальные цилиндрические |
РВС-10000 |
101, 102 |
73319-18 |
МП 0821-7-2018 |
Акционерное общество «Петербургский нефтяной терминал» (АО «ПНТ»), г. Санкт-Петербург |
ВНИИР-филиала ФГУП «ВНИИМ им. Д.И. Менделеева», г. Казань | |||
3. |
Система автоматизированная информационноизмерительная коммерческого учета |
011 |
83031-21 |
Общество с ограниченной ответственностью «Новая энергетическая |
МП ЭПР-375- 2021 |
Общество с ограниченной ответственностью «Новая энергетическая |
ООО «ЭнергоПромРесурс», Московская обл., г. Красногорск |
электроэнергии (АИИС КУЭ) ООО «НЭК» (11 очередь) |
компания» (ООО «НЭК»), г. Краснодар | |||||
4. |
Система автоматизированная информационноизмерительная коммерческого учета электроэнергии (АИИС КУЭ) АО «Стройматериалы» |
06-2021 |
82202-21 |
Акционерное общество «Первая сбытовая компания» (АО «Первая сбытовая компания»), г. Белгород | ||
5. |
Магпины координатноизмерительные |
COORD3 |
мод. ARES NT 7.7.5 зав. № 03036, мод. HERA 12.9.7 зав. №02211 |
92029-24 |
Coord.3 Industries s.r.l, Италия | |
6. |
Установки поверочные трубоноргпневые |
ТПУ Новатор |
85381-22 |
Общество с ограниченной ответственностью «Нефтегазноватор »(ООО «Нефтегазноватор »), Республика Багпкортостан, с. Старые Туймазы |
компания» (ООО «НЭК»), г. Краснодар | ||||
МП 015-2021 |
Акционерное общество «Первая сбытовая компания» (АО «Первая сбытовая компания»), г. Белгород |
ООО «Спецэнерго проект», г. Москва | ||
МП-696/09-2023 |
Акционерное общество «КАМАДИ» (АО «КАМА ДИ»), г. Санкт-Петербург |
ООО «ПРОММАШ ТЕСТ», г. Москва | ||
МИ 1972-95, МИ 2974-2006 |
Общество с ограниченной ответственность ю«НОВАТОР» (ООО «НОВАТОР»), Республика Башкортостан, с. Старые Туймазы |
ВНИИР - филиал ФГУП «ВНИИМ им. Д.И. Менделеева», г. Казань |
УТВЕРЖДЕНО приказом Федерального агентства по техническому регулированию и метрологии от «19» июня 2025 г. № 1223
Лист № 1
Всего листов 7
Регистрационный № 85381-22
ОПИСАНИЕ ТИПА СРЕДСТВА ИЗМЕРЕНИЙ
Установки поверочные трубопоршневые ТПУ Новатор
Назначение средства измеренийУстановки поверочные трубопоршневые ТПУ Новатор (далее - ТПУ) предназначены для измерений, воспроизведения, хранения и передачи единицы объема жидкости в потоке.
Описание средства измеренийПринцип действия ТПУ заключается в повторяющемся вытеснении известного объема жидкости из цилиндрического калиброванного участка шаровым поршнем, совершающим движение под действием потока жидкости.
ТПУ состоят из цилиндрического калиброванного участка, шарового поршня, детекторов прохода, устройствa переключения потока на базе шаровых кранов, камеры загрузки-выгрузки шарового поршня с быстросъемной крышкой, средств измерений температуры и давления жидкости утвержденного типа. В состав ТПУ входят преобразователи температуры жидкости с пределами допускаемой абсолютной погрешности при измерении температуры ±0,2 °С, преобразователи давления жидкости с пределами допускаемой приведенной погрешности при измерении давления жидкости ±0,5 %, термометры с пределами допускаемой абсолютной погрешности при измерении температуры жидкости ±0,2 °С, манометры класса точности 0,6.
ТПУ имеют две модификации Сапфир и Мера. ТПУ модификации Сапфир являются однонаправленными, ТПУ модификации Мера - двунаправленные. ТПУ могут быть изготовлены в стационарном и транспортируемом (передвижном) исполнении. ТПУ имеют различные исполнения, отличающиеся номинальным объемом жидкости в потоке при температуре 20 °С и давлении 0 МПа, пределами допускаемой относительной погрешности (доверительными границами суммарной погрешности) при измерении (воспроизведении единицы) объема жидкости в потоке при температуре 20 °С и давлении 0 МПа, номинальным диаметром калиброванного участка, диапазоном объемного расхода жидкости, характеристиками измеряемой среды, габаритными размерами и массой.
При работе ТПУ и средство измерений (поверяемые, калибруемые, испытуемые, контролируемые, исследуемые расходомеры (преобразователи расхода, счетчики, расходомеры-счетчики, счетчики-расходомеры или трубопоршневые поверочные установки) соединяют последовательно. Через технологическую схему ТПУ и средство измерений устанавливают необходимое значение расхода измеряемой среды. Поток жидкости, проходящий через ТПУ, увлекает шаровой поршень, который свободно перемещается по цилиндрическому калиброванному участку. При воздействии шарового поршня на детектор прохода происходит генерация электрических сигналов, определяющих начало и окончание измерения.
Общий вид ТПУ представлен на рисунке 1.

а) стационарное исполнение
б) передвижное исполнение
Рисунок 1 - Общий вид ТПУ
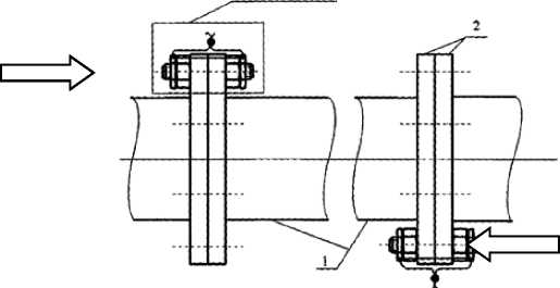
Пломбировка ТПУ осуществляется нанесением знака поверки давлением на свинцовые (пластмассовые) пломбы, установленные на контровочных проволоках, пропущенных через отверстия в контровочных гайках, закрепленных на шпильках или через отверстия в шпильках, расположенных на диаметрально противоположных фланцах, по всей длине цилиндрического калиброванного участка и на контровочных проволоках, пропущенных через отверстия завернутых винтов клеммной коробки детекторов.
Схема пломбировки от несанкционированного доступа и обозначение места нанесения знака поверки представлены на рисунках 2 и 3.


[

Отверстия для продевания контровочной проволоки (3 шт.)
Отверстия для продевания контровочной проволоки (3 шт.)
1 - секция цилиндрического калиброванного участка; 2 - фланцы присоединительные;
3 - гайка крепежная; 4 - гайка контровочная по ОСТ 1 11745; 5 - проволока контровочная; 6 -пломба; 7 - гайка контровочная, изготавливаемая по месту эксплуатации ТПУ.

1 - гайка; 2 - шайба; 3 - шпилька; 4 - проволока; 5 - пломба.
Рисунок 2 - Схема пломбирования от несанкционированного доступа, обозначение места нанесения знаков поверки на фланцевые соединения калиброванного участка ТПУ

Рисунок 3 - Схема пломбирования от несанкционированного доступа, обозначение места нанесения знаков поверки на детекторы ТПУ
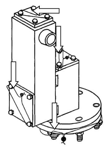
Заводской номер наносится на маркировочную табличку, закрепленную на корпусе ТПУ, методом лазерной гравировки. Места нанесения знака утверждения типа и заводского номера представлены на рисунке 4.



ООО ТУ 26.51.52.110-008-22669689-2021
"НЕФТЕГАЗНОВАТОР" заводской № I I год изготовления i i
НОМИНАЛЬНЫЙ ОБЪЕМ ЖИДКОСТИ В ПОТОКЕ
ПРИ ТЕХШЕРАТУРЕ 20 “С И ДАВЛЕНИИ 0 МПа. М"
ПРЕДЕЛЫ ДОПУСКАЕМОЙ ОТНОСИТЕЛЬНОЙ ПОГРЕШНОСТИ ДОВЕРИТЕЛЬНЫЕ ГРАНИЦЫ СУММАРНОЙ ПОГРЕШНОСТИ) ПРИ ИЗМЕРЕНИИ (ВОСПРОИЗВЕДЕНИИ ЕДИНИЦЫ) ОБЪЁМА ЖИДКОСТИ В ПОТОКЕ ПРИ ТЕМПЕРАТУРЕ 20 'С И ДАВЛЕНИИ 0 МПа. % НОМИНАЛЬНЫЙ ДИАМЕТР КАЛИБРОВАННОГО УЧАСТКА ДИАПАЗОН ОБЪЕМНОГО РАСХОДА ЖИДКОСТИ. М^Ш
ГЕНШЕРАТУРА.
ИЗБЫТОЧНОЕ ДАВЛЕНИЕ. МПа
ПЛОТНОСТЬ. КГ,/м3
ВЯЗКОСТЬ КИНЕМАТИЧЕСКАЯ. сСт
ГАБАРИТНЫЕ РАЗМЕРЫ. ММ
МАССА. КГ
О

Рисунок 4 - Обозначения мест нанесения знака утверждения типа и заводского номера
Метрологические и технические характеристикиТаблица 1 -
Наименование характеристики |
Значение | |
Сапфир |
Мера | |
Номинальный объем жидкости в потоке при температуре 20 °С и давлении 0 МПа, м3 1) |
от 0,18 до 5,5 |
от 0,3 до 10,5 |
Пределы допускаемой относительной погрешности (доверительные границы суммарной погрешности) при измерении (воспроизведении единицы) объема жидкости в потоке при температуре 20 °С и давлении 0 МПа, % 1) |
±0,05; ±0,1 | |
1) конкретное значение указано в паспорте ТПУ |
Таблица 2 - Основные технические
Наименование характеристики |
Значение | |
Сапфир |
Мера | |
Номинальный диаметр калиброванного участка 1) |
от DN 100 до DN 400 |
от DN 200 до DN 600 |
Диапазон объемного расхода жидкости, м3/ч 1) |
от 3 до 1100 |
от 8 до 2000 |
Измеряемая среда |
жидкость (нефть по ГОСТ Р | |
51858-2002, нефть сырая, нефтепродукты, газовый | ||
конденсат, жидкие углеводороды, | ||
Температура, °С 1) |
вода) | |
от -10 до +90 | ||
Избыточное давление, МПа 1) |
от 0 до 10 | |
Плотность, кг/м3 1) |
от 600 до 1200 | |
Вязкость кинематическая, сСт 1) |
от 0,55 до 200 | |
Наличие свободного воздуха |
не допускается | |
Параметры электрического питания: | ||
- напряжение переменного тока, В |
380±38, 220±22 | |
- частота переменного тока, Гц |
50±1 | |
Потребляемая мощность, В^А, не более |
500 | |
Габаритные размеры, мм, не более 1): | ||
- длина |
12000 |
23000 |
- ширина |
2400 |
4900 |
- высота |
3100 |
4400 |
Масса, кг, не более 1) |
15500 |
21500 |
Условия эксплуатации: | ||
- температура окружающей среды, °С |
от -45 до +50 | |
- относительная влажность, % |
от 30 до 90 | |
- атмосферное давление, кПа |
от 84 до 107 | |
Средний срок службы, лет |
10 | |
Средняя наработка на отказ, ч |
3000 | |
1) конкретное значение указано в паспорте ТПУ |
наносится на маркировочную табличку, закрепленную на корпусе ТПУ, методом лазерной гравировки, а также в верхнюю часть по центру титульного листа руководства по эксплуатации и паспорта типографским способом.
Комплектность средства измеренийТаблица 3 - Комплектность
Наименование |
Обозначение |
Количество |
Установка поверочная трубопоршневая |
ТПУ Новатор |
1 шт. |
Руководство по эксплуатации |
ТПУ 01.00.00.000 РЭ |
1 экз. |
Паспорт |
ТПУ 01.00.00.000 ПС |
1 экз. |
Комплект запасных частей, инструментов и принадлежностей |
- |
1 шт. |
приведены в разделе 1.4 «Устройство и работа» документа «Установки поверочные трубопоршневые ТПУ Новатор. Руководство по эксплуатации. ТПУ 01.00.00.000 РЭ».
Нормативные документы, устанавливающие требования к средству измеренийПриказ Федерального агентства по техническому регулированию и метрологии от 26 сентября 2022 г. № 2356 «Об утверждении Государственной поверочной схемы для средств измерений массы и объема жидкости в потоке, объема жидкости и вместимости при статических измерениях, массового и объемного расходов жидкости»;
ТУ 26.51.52.110-008-22669689-2021 Установки поверочные трубопоршневые ТПУ Новатор. Технические условия.
Общество с ограниченной (ООО «Нефтегазноватор») ИНН 0269996050
Юридический адрес: 452775, Республика Башкортостан, с. Старые Туймазы, мкр-н ГПК, д. 5
Телефон (факс): + 7 (34782) 7-85-89
E-mail: neftegaz@novator.ws
ответственностью
«Нефтегазноватор»
Туймазинский р-н,
Общество с ограниченной
(ООО «Нефтегазноватор»)
ИНН 0269996050
Адрес: 452775, Республика Башкортостан, Туймазинский р-н, мкр-н ГПК, д. 5
Телефон (факс): + 7 (34782) 7-85-89
E-mail: neftegaz@novator.ws
ответственностью
«Нефтегазноватор»
с. Старые Туймазы,
Всероссийский научно-исследовательский институт расходометрии - филиал Федерального государственного унитарного предприятия «Всероссийский научно-исследовательский институт метрологии имени Д.И. Менделеева» (ВНИИР - филиал ФГУП «ВНИИМ им. Д.И. Менделеева»)
Юридический адрес: 190005, г. Санкт-Петербург, Московский пр-кт, д. 19
Фактический адрес: 420088, Республика Татарстан, г. Казань, ул. 2-я Азинская, д. 7 «а»
Телефон: +7(843) 272-70-62, факс: +7(843) 272-00-32
E-mail: office@vniir.org
Web-сайт: www.vniir.org
Уникальный номер в реестре аккредитованных лиц № RA.RU.310592.
УТВЕРЖДЕНО приказом Федерального агентства по техническому регулированию и метрологии от «19» июня 2025 г. № 1223
Лист № 1
Всего листов 5
Регистрационный № 92029-24
ОПИСАНИЕ ТИПА СРЕДСТВА ИЗМЕРЕНИЙ
Машины координатно-измерительные COORD3
Назначение средства измеренийМашины координатно-измерительные COORD3 (далее - КИМ) предназначены для автоматизированных трехмерных измерений геометрических параметров объектов сложной формы.
Описание средства измеренийПринцип действия КИМ основан на считывании с измерительных шкал, при помощи дифракционных оптических энкодеров, значений измеряемой длины, соответствующей интервалу перемещений датчиков по осям X, Y, Z, образующих декартову систему координат.
При проведении измерений определяются координаты отдельных или множества точек Между любыми можно провести
на измеряемой поверхности в пределах диапазона измерений КИМ. из определённых точек, или построенных на их основании поверхностей, линейные измерения.
Конструктивно КИМ являются машинами портального типа измерительным столом и подвижным порталом.
с неподвижным
КИМ состоят из станины с установленным отдельно блоком контроллеров, гранитного измерительного стола с направляющими для перемещения измерительных кареток, портала, гранитной пиноли, встроенных измерительных шкал, персонального компьютера. Перемещение КИМ по осям осуществляется на пневматических подшипниках с использованием пульта управления.
Станина КИМ имеет антивибрационные регулируемые опоры для установки по уровню.
К данному типу КИМ относятся машины координатно-измерительные COORD3 модификации ARES NT 7.7.5 зав. № 03036 и модификации HERA 12.9.7 зав. № 02211.
Модификации различаются диапазоном и нормируемой погрешностью измерений.
Заводской номер в виде цифрового обозначения, состоящего из арабских цифр, нанесен на маркировочную табличку методом гравировки, расположенную на задней боковой поверхности стола.
Нанесение знака поверки на средство измерений не предусмотрено.
Общий вид машин координатно-измерительных COORD3 представлен на рисунке 1.

а)

Рисунок 1 - Общий вид машин координатно-измерительных COORD3:
а) ARES NT 7.7.5; б) HERA 12.9.7
■^^^^^^eiNOUSTBIES eftLEOLO (ГО) - ITALM
VOLTtG[[2223O |У FSEQUENCyPso ib мдх.сишмтГ 10 |а PowEan^"- jw
СММ PRESSUBeF ■.■■ -■ ImPo air ftOwF '-■■U 1wlMn
« hl/min * normol liters per minete •
10
Место нанесения заводского номера
Место
нанесения
заводского
номера

б)
а)
Рисунок 2 - Общий вид маркировочной таблички машин координатно-измерительных COORD3
а) модификация ARES NT 7.7.5, б) модификация HERA 12.9.7
В процессе эксплуатации КИМ не предусматривает внешних механических регулировок. Пломбирование КИМ не производится.
Программное обеспечениеКИМ работают под управлением метрологически значимого программного обеспечения (далее - ПО) «WM|Quartis», «Metrolog X4», «PC DMIS», устанавливаемого на внешний персональный компьютер, и предназначенного для обеспечения взаимодействия узлов приборов, выполнения измерений, сохранения и экспорта измеренных величин, а также обработки полученных результатов.
Аппаратная и программная части, работая совместно, обеспечивают заявленные точности конечных результатов измерений.
Защита ПО и измеренных данных от непреднамеренных и преднамеренных изменений соответствует уровню «средний» в соответствии с Р 50.2.077-2014.
Идентификационные данные ПО приведены в таблице 1.
Таблица 1 - Идентификационные данные программного обеспечения
Идентификационные данные (признаки) |
Значение | ||
Идентификационное наименование ПО |
WM|Quartis |
Metrolog X4 |
PC DMIS |
Номер версии (идентификационный номер) ПО |
не ниже V. R2022-1 |
не ниже V. 1 |
не ниже V.10 |
Цифровой идентификатор ПО |
- |
- |
- |
Метрологические и технические характеристики
Таблица 2 -
Наименование характеристики |
Значение | ||
Модификация |
ARES NT 7.7.5 |
HERA 12.9.7 | |
Диапазон измерений линейных размеров по оси, мм |
X |
700 |
1200 |
Y |
700 |
850 | |
Z |
500 |
700 | |
Модель применяемого измерительного датчика и измерительной головки 1) |
Головка PH10M; датчик TP20 или SP25 | ||
Пределы допускаемой абсолютной погрешности измерительной головки, мкм |
±2,8 |
±2,2 | |
Пределы допускаемой абсолютной объемной погрешности, мкм |
L ±(2,8 ) 333^ |
L ±(2,2+---) ±( ’ 300) |
1) - размер применяемого щупа, (диаметр х длина), мм, для измерительной головки:
-
- TP20- 4 х 10
-
- SP25 - 4 х <21
Примечание: L - измеряемая длина в мм
Таблица 3 - Основные технические
Наименование характеристики |
Значение | |
Модификация |
ARES NT 7.7.5 |
HERA 12.9.7 |
Габаритные размеры (ДлинахШиринахВысота) мм, не более |
1380x1160x2525 |
2070x1500x3000 |
Масса, кг, не более |
775 |
1750 |
Параметры электрического питания: | ||
- напряжение электропитания, В |
230±10 % | |
Условия эксплуатации: | ||
- температура окружающей среды, °С |
от + 18 до + 22 | |
- допускаемое изменение температуры, °С, в течении: | ||
- 1 часа |
1 | |
- 24 часов |
2 | |
- допускаемое изменение температуры, °С, по высоте объема: | ||
- 1 метр |
1 | |
- относительная влажность, %, без конденсата |
от 40 до 80 |
наносится типографским способом на титульный лист руководства по эксплуатации.
Комплектность средства измеренийТаблица 4 - Комплектность
Наименование |
Обозначение |
Количество |
Машина координатно-измерительная |
COORD3 |
1 шт. |
Контроллер |
- |
1 шт. |
Пульт управления |
- |
1 шт. |
Измерительная головка |
PH10M |
1 шт. |
Измерительный датчик |
TP20 SP25 |
1 шт. |
Система термокомпенсации |
- |
1 шт. |
Калибровочная сфера |
- |
1 шт. |
Персональный компьютер с монитором |
- |
1 шт. |
Программное обеспечение |
WM|Quartis |
1 шт. |
Программное обеспечение |
Metrolog X4 |
1 шт. |
Программное обеспечение |
PC DMIS |
1 шт. |
Руководство по эксплуатации на русском языке |
- |
1 экз. |
приведены в разделе 9 «Инструкция по использованию» документов «Машина координатноизмерительная COORD3 ARES NT 7.7.5. Руководство по эксплуатации» и «Машина координатно-измерительная COORD3 HERA 12.9.7. Руководство по эксплуатации».
Нормативные документы, устанавливающие требования к средству измеренийГосударственная поверочная схема для средств измерений геометрических параметров поверхностей сложной формы, в том числе эвольвентных поверхностей и угла наклона линии зуба, утвержденная приказом Росстандарта от 6 апреля 2021 г. № 472;
Государственная поверочная схема для средств измерений длины в диапазоне от 1^10'9 до 100 м и длин волн в диапазоне от 0,2 до 50 мкм, утвержденная приказом Росстандарта от 29 декабря 2018 г. № 2840.
ПравообладательCoord3 Industries s.r.l, Италия
Адрес: Strada Statale 25, n°3 - 10050 Bruzolo (To), Italia Телефон: +39 011 9635511
E-mail: italy@perceptron.com
Web-сайт https://www.coord3.com
ИзготовителиCoord3 Industries s.r.l, Италия
Адрес: Strada Statale 25, n°3 - 10050 Bruzolo (To), Italia Телефон: +39 011 9635511
E-mail: italy@perceptron.com
Производственные площадки
Coord3 Industries s.r.l, Италия
Адрес: Strada Statale 25, n°3 - 10050 Bruzolo (To), Italia Телефон: +39 011 9635511
E-mail: italy@perceptron.com
Coord3 S.p.A., Италия
Адрес: Strada Statale del Moncenisio km 42.200 - Bruzolo (To), Italia Телефон: +39 011 9635511
E-mail: italy@perceptron.com
Web-сайт https://www.coord3.com
Испытательный центрОбщество с ограниченной ответственностью «ПРОММАШ ТЕСТ» (ООО «ПРОММАШ ТЕСТ»)
Юридический адрес: 119415, г. Москва, пр-кт Вернадского, д. 41, стр. 1, эт. 4, помещ. I, ком. 28
Адрес места осуществления деятельности: 142300, Московская обл., Чеховский р-н, г. Чехов, ш. Симферопольское, д. 2, лит. А, помещ. I
Телефон: +7 (495) 108-69-50
E-mail: info@prommashtest.ru
Уникальный номер записи в реестре аккредитованных лиц № RA.RU.312126.
УТВЕРЖДЕНО приказом Федерального агентства по техническому регулированию и метрологии от «19» июня 2025 г. № 1223
Лист № 1
Всего листов 4
Регистрационный № 73319-18
ОПИСАНИЕ ТИПА СРЕДСТВА ИЗМЕРЕНИЙ
Резервуары стальные вертикальные цилиндрические РВС-10000
Назначение средства измеренийРезервуары стальные вертикальные цилиндрические РВС-10000 (далее - резервуары) предназначены для измерений объема нефти и нефтепродуктов, а также для их приема, хранения и отпуска.
Описание средства измеренийТип резервуаров - стальные вертикальные цилиндрические, номинальной вместимостью 10000 м3.
Принцип действия резервуаров основан на заполнении их нефтью или нефтепродуктом до произвольных уровней, соответствующих определенным объемам (вместимостям), приведенных в градуировочных таблицах резервуаров.
Резервуар РВС-10000 с заводским номером 101 представляет собой наземный вертикально расположенный стальной сосуд, состоящий из цилиндрической стенки с наружной теплоизоляцией, днища и крыши.
Резервуар РВС-10000 с заводским номером 102 представляет собой наземный вертикально расположенный стальной сосуд, состоящий из цилиндрической стенки, днища и крыши.
Заполнение и выдача продукта осуществляется через приемно-раздаточные патрубки, расположенные в нижней части резервуара.
Заводские номера резервуаров в виде цифрового обозначения, состоящие из арабских цифр, нанесены на таблички. Таблички крепятся к резервуарам.
Резервуары РВС-10000 с заводскими номерами 101, 102 расположены на площадке комплекса по хранению и перевалке нефти и нефтепродуктов АО «ПНТ», 198096, г. Санкт-Петербург, Элеваторная площадка (Угольная гавань), д. 32.
Общий вид резервуаров РВС-10000 приведен на рисунках 1, 2.
Нанесение знака поверки на средство измерений не предусмотрено.

Рисунок 1 - Общий вид резервуара РВС-10000 зав.№ 101

Рисунок 2 - Общий вид резервуара РВС-10000 зав.№ 102
Пломбирование резервуаров РВС-10000 не предусмотрено.
Метрологические и технические характеристикиТаблица 1 -
Наименование характеристики |
Значение |
Номинальная вместимость, м3 |
10000 |
Пределы допускаемой относительной погрешности определения вместимости, % |
±0,10 |
Таблица 2 - Технические характеристики
Наименование характеристики |
Значение |
Условия эксплуатации: Температура окружающего воздуха, оС Атмосферное давление, кПа |
от -50 до +50 от 84,0 до 106,7 |
Таблица 3 - Показатели надежности
Наименование характеристики |
Значение |
Средний срок службы, лет, не менее |
20 |
наносится на титульный лист паспорта резервуара типографским способом.
Комплектность средства измеренийТаблица 4 - Комплектность средства измерений
Наименование |
Обозначение |
Количество |
Резервуар стальной вертикальный цилиндрический |
РВС-10000 |
1 шт. |
Паспорт |
- |
1 шт. |
Градуировочная таблица |
- |
1 шт. |
Сведения о методиках (методах) измерений приведены в разделе 8 «Порядок работы» паспорта.
Нормативные документы, устанавливающие требования к средству измеренийПриказ Росстандарта от 26 сентября 2022 г. № 2356 «Об утверждении Государственной поверочной схемы для средств измерений массы и объема жидкости в потоке, объема жидкости и вместимости при статических измерениях, массового и объемного расходов жидкости».
ИзготовительАкционерное общество «Трест Коксохиммонтаж» (АО «ТРЕСТ КХМ»)
ИНН 7705098679
Адрес: 115035, г. Москва, Кадашевская наб., д. 36, стр. 5 Телефон/факс: +7 (495) 953-22-68/(495) 953-59-75
E-mail: kxm@kxm.ru
Web-сайт: www.kxm.ru
Испытательный центрнаучно-исследовательский институт расходометрии - филиал государственного унитарного предприятия «Всероссийский институт метрологии имени Д.И. Менделеева»
Всероссийский
Федерального научно-исследовательский (ВНИИР - филиал ФГУП «ВНИИМ им. Д.И. Менделеева»)
Адрес места осуществления деятельности: 420088, Республика Татарстан, г. Казань, ул. 2-я Азинская, д. 7 «а»
Юридический адрес: 190005, г. Санкт-Петербург, Московский пр-кт, д. 19
Телефон/ факс: +7 (843) 272-70-62/(843) 272-00-32
E-mail: office@vniir.org
Web-сайт: vniir.org
Уникальный номер записи в реестре аккредитованных лиц № RA.RU.310592.
УТВЕРЖДЕНО приказом Федерального агентства по техническому регулированию и метрологии от «19» июня 2025 г. № 1223
Лист № 1
Всего листов 5
нефти №733
Регистрационный № 79833-20
ОПИСАНИЕ ТИПА СРЕДСТВА ИЗМЕРЕНИЙ
Система измерений количества и показателей качества
ПСП «Козьмино»
Назначение средства измеренийСистема измерений количества и показателей качества нефти №733 ПСП «Козьмино» предназначена для автоматизированного определения массы нефти.
Описание средства измеренийПринцип действия СИКН основан на косвенном методе динамических измерений массы нефти.
При косвенном методе динамических измерений массу брутто нефти определяют с применением измерительных компонентов: преобразователя объемного расхода, плотности, температуры и давления. Выходные электрические сигналы преобразователя объемного расхода, преобразователей температуры, давления, плотности поступают на соответствующие входы измерительно-вычислительного контроллера FloBoss S600+, который преобразует их и вычисляет массу брутто нефти по реализованному в нем алгоритму. Часть измерительных компонентов СИКН формируют вспомогательные измерительные каналы (ИК), метрологические характеристики которых определяются комплектным способом.
СИКН представляет собой единичный экземпляр измерительной системы целевого назначения, спроектированной для конкретного объекта и состоящей из блока фильтров, блока измерительных линий (БИЛ), блока измерений показателей качества нефти (далее - БИК), узла регулирования давления, системы сбора, обработки информации и управления (далее - СОИ) и системы дренажа нефти. Монтаж и наладка СИКН осуществлены непосредственно на объекте эксплуатации в соответствии с проектной и эксплуатационной документацией на СИКН и ее компоненты.
БИЛ состоит из 9 рабочих измерительных линий (ИЛ), 3 резервных ИЛ и одной контрольной ИЛ.
БИК выполняет функции контроля показателей качества нефти и автоматического отбора проб для лабораторного контроля показателей качества нефти. Отбор представительной пробы нефти в БИК осуществляется по ГОСТ 2517-2012 через пробозаборное устройство.
В состав СИКН входят измерительные компоненты, приведенные в таблице 1.
Измерительные компоненты могут быть заменены в процессе эксплуатации на измерительные компоненты, утвержденного типа, приведенные в таблице 1.
Таблица 1 - Состав СИКН
Наименование измерительного компонента |
Регистрационный номер в Федеральном информационном фонде по обеспечению единства измерений |
1 |
2 |
Преобразователи расхода жидкости турбинные геликоидные серии НТМ (далее - ПР), (входит в состав линий №№ 1-10) |
38725-08 |
Преобразователи расхода жидкости турбинные MVTM Dy от 2” до 16” (далее - ПР), (входит в состав линий №№ 11-12) |
16128-10 |
Счетчик (преобразователь) объема жидкости эталонный лопастной Smith Meter модели M16-S3* (далее - ЭПР), (входит в состав линии № 13) |
53302-13 |
Датчики температуры 644, 3144P |
39539-08 |
Преобразователи давления измерительные 3051 |
14061-04, 14061-10 |
Манометры, вакуумметры и мановакуумметры показывающие для точных измерений МПТИ, ВПТИ, МВПТИ |
26803-06 |
Манометры, вакуумметры и мановакуумметры для точных измерений типа МТИ и ВТИ |
1844-63 |
Термометры ртутные стеклянные лабораторные типа ТЛ-4 |
303-91 |
Преобразователи плотности жидкости измерительные (мод. 7835, 7845, 7846, 7847) модель 7835 |
15644-06 |
Преобразователи плотности и вязкости жидкости измерительные модель (мод. 7825, 7826, 7827, 7828, 7829) модель 7829 |
15642-06 |
Влагомеры нефти поточные УД,ВН-1пм |
14557-05 |
Термопреобразователи сопротивления платиновые с унифицированным входным сигналом ТСПУ, модели 65-644 |
27129-04 |
Контроллеры измерительные FloBoss модели S600+ |
81438-21 |
Контроллер программируемый Siemens S7-400 |
15773-06 |
* Применяется при кинематической вязкости нефти от 4,5 до 60,0 мм2/с. |
Обеспечена возможность пломбирования, нанесения оттисков клейм или наклеек на средства измерений, входящие в состав СИКН, в соответствии с МИ 3002-2006.
СИКН обеспечивает выполнение следующих функций:
-
- автоматическое измерение массы брутто нефти по каждой ИЛ и по СИКН в целом по результатам измерений объема нефти по каждой ИЛ и плотности нефти и приведение измеренных значений к стандартным условиям;
-
- автоматическое измерение объема, давления, температуры и плотности нефти;
-
- автоматическое вычисление массы нетто нефти по каждой ИЛ и по СИКН в целом с использованием результатов измерений содержания воды, хлористых солей и механических примесей в нефти;
-
- вычисление массы нетто нефти с использованием результатов измерений содержания воды, хлористых солей и механических примесей в нефти;
-
- формирование и печать отчетных документов;
-
- дистанционное и местное управление запорной и регулирующей арматурой, циркуляционными насосами и другим оборудованием;
-
- автоматический контроль, индикацию, сигнализацию предельных значений технологических параметров;
-
- KMX рабочего ПР с помощью ЭПР, применяемого в качестве контрольного;
-
- КМХ и поверка ПР рабочего и ЭПР с применением ПУ.
Заводской номер СИКН наносится на табличку, установленную на СИКН.
Нанесение знака поверки на СИКН не предусмотрено. Знак поверки наносится на свидетельство о поверке СИКН.
Программное обеспечениеСИКН имеет программное обеспечение (далее - ПО), реализованное в контроллерах измерительных FloBoss S600+ и в ПО ПК «Cropos».
Уровень защиты ПО от непреднамеренных и преднамеренных изменений соответствует уровню «высокий» в соответствии с Р 50.2.077-2014.
Идентификационные данные ПО контроллеров и АРМ оператора приведены в таблице 2.
Таблица 2 -
данные ПО СИКН
Идентификационные данные (признаки) |
Значение | |
Контроллеры FloBoss S600+ |
ПК «Cropos» | |
Идентификационное наименование ПО |
LinuxBinary.app |
ПК «Cropos» |
Номер версии (идентификационный номер) ПО |
06.25/25 |
1.48 |
Цифровой идентификатор ПО |
1990 |
CC39FD86 |
Алгоритм вычисления цифрового идентификатора |
CRC16 |
CRC32 |
Метрологические и основные технические характеристики, включая показатели точности и показатели качества измеряемой среды, приведены в таблицах 3, 4, 5.
Таблица 3 - Метрологические характеристики
Наименование характеристики |
Значение |
Диапазон измерений объемного расхода, м3/ч |
от 385 до 14000 |
Пределы допускаемой относительной погрешности измерений массы брутто нефти, % |
±0,25 |
Пределы допускаемой относительной погрешности измерений массы нетто нефти, % |
±0,35 |
Таблица 4 - Состав и основные метрологические характеристики вспомогательных ИК с комплектным методом определения метрологических характеристик
о S о к |
о S К ей Ю О к и о S S ей К |
Й и S о к 9 S н Н ej S О § |
Состав ИК |
Диапазон измерений |
5S 2 S н Й lU ей о Я К о ej = Эи а с о § & о с | |
Первичный измерительный преобразователь |
Вторичная часть | |||||
1 |
2 |
3 |
4 |
5 |
6 |
7 |
1-82 |
ИК силы тока |
82 (СОИ) |
- |
Аналоговые входы контроллеров измерительных FloBoss S600+ |
от 4 до 20 мА |
±0,04 % (относительная) |
83-90 |
ИК частоты |
8 (СОИ) |
- |
Частотные входы контроллеров измерительных FloBoss S600+ |
от 1 до 10000 Гц |
±0,001 % (относительная) |
91-116 |
ИК количества импульсов |
26 (СОИ) |
- |
Импульсные входы контроллеров измерительных FloBoss S600+ |
(диапазон частот от 1 до 10000 Гц) |
±1 (абсолютная) |
Таблица 5 - Основные технические
Наименование характеристики |
Значение |
Температура окружающего воздуха, °С |
от -50 до +40 |
Параметры электрического питания:
|
400±40/230±23 50±1 |
Средняя наработка на отказ, ч |
20 000 |
Режим работы СИКН |
периодический, автоматизированный |
Измеряемая среда со следующими параметрами: Характеристики измеряемой среды:
|
нефть по ГОСТ Р 51858-2002 «Нефть. Общие технические условия» от 830 до 890 от 0,3 до 1,6 от -8* до +50 1,0 900 0,05 от 2,0 до 60,0 |
П р и м е ч а н и е * - влагомер применяется только при значении температуры нефти в БИК не менее +5°С. Перед БИК установлен подогреватель нефти для поддержания рабочей температуры нефти в БИК от +5°С до +50°С. |
наносится на титульный лист инструкции по эксплуатации СИКН типографским способом.
Комплектность средства измеренийТаблица 6 - Комплектность
Наименование |
Обозначение |
Количество |
Система измерений количества и показателей качества нефти №733 ПСП «Козьмино», зав. № 01 |
- |
1 шт. |
Инструкция по эксплуатации |
- |
1 экз. |
Методика поверки |
- |
1 экз. |
приведены в документе «Инструкция. Масса нефти. Методика измерений резервной схемой учета системы измерений количества и показателей качества нефти ООО «Транснефть - Порт Козьмино», свидетельство об аттестации методики измерений № 517-RA.RU.312546-2025 от 24.02.2025.
№ 733
(метода)
Постановление Правительства Российской Федерации от 16 ноября 2020 г. № 1847 «Об утверждении перечня измерений, относящихся к сфере государственного регулирования обеспечения единства измерений» (пункт 6.1.1);
Приказ Росстандарта от 26 сентября 2022 г. № 2356 «Об утверждении Государственной поверочной схемы для средств измерений массы и объема жидкости в потоке, объема жидкости и вместимости при статических измерениях, массового и объемного расходов жидкости».
ИзготовительАкционерное общество «Нефтеавтоматика» (АО «Нефтеавтоматика»)
ИНН 0278005403
Адрес: 450005, Республика Башкортостан, г. Уфа, 50-летия Октября ул., д. 24
Испытательный центрАкционерное общество «Нефтеавтоматика» (АО «Нефтеавтоматика»)
ИНН 0278005403
Адрес: 420029, Республика Татарстан, г. Казань, ул. Журналистов, д. 2а
Уникальный номер записи в реестре аккредитованных лиц № RA.RU.311366.
в части вносимых изменений
Акционерное общество «Транснефть - Автоматизация и Метрология» (АО «Транснефть - Автоматизация и Метрология»)
Адрес: 123112, г. Москва, Пресненская наб., д. 4, стр. 2
Уникальный номер записи в реестре аккредитованных лиц № RA.RU.313994.
УТВЕРЖДЕНО приказом Федерального агентства по техническому регулированию и метрологии от «19» июня 2025 г. № 1223
Лист № 1
Всего листов 7
коммерческого
Регистрационный № 82202-21
ОПИСАНИЕ ТИПА СРЕДСТВА ИЗМЕРЕНИЙ
Система автоматизированная информационно-измерительная учета электроэнергии (АИИС КУЭ) АО «Стройматериалы»
Назначение средства измеренийСистема автоматизированная информационно-измерительная коммерческого учета электроэнергии (АИИС КУЭ) АО «Стройматериалы» (далее - АИИС КУЭ) предназначена для измерений активной и реактивной электроэнергии, сбора, обработки, хранения и передачи полученной информации.
Описание средства измеренийАИИС КУЭ представляет собой многофункциональную, многоуровневую автоматизированную систему с централизованным управлением и распределённой функцией измерений.
АИИС КУЭ включает в себя следующие уровни:
-
1- й уровень - измерительно-информационные комплексы (далее - ИИК), которые включают в себя трансформаторы тока (далее - ТТ), трансформаторы напряжения (далее - ТН) и счетчики активной и реактивной электроэнергии (далее - счетчики), вторичные измерительные цепи и технические средства приема-передачи данных. Метрологические и технические характеристики измерительных компонентов АИИС КУЭ приведены в таблицах 2, 3.
-
2- й уровень - информационно-вычислительный комплекс (далее - ИВК) АО «Стройматериалы», включающий в себя каналообразующую аппаратуру, сервер баз данных (далее - БД) АИИС КУЭ, автоматизированные рабочие места персонала (АРМ), устройство синхронизации времени УСВ-2 (далее - УСВ) и программное обеспечение (далее - ПО) «АльфаЦЕНТР».
ИВК предназначен для автоматизированного сбора и хранения результатов измерений, состояния средств измерений, подготовки и отправки отчетов в АО «АТС», АО «Белгородэнергосбыт» и филиал АО «СО ЕЭС» - Курское РДУ.
Измерительные каналы (далее - ИК) состоят из двух уровней АИИС КУЭ.
Первичные токи и напряжения трансформируются измерительными трансформаторами в аналоговые сигналы низкого уровня, которые по проводным линиям связи поступают на соответствующие входы электронного счетчика электрической энергии. В счетчике мгновенные значения аналоговых сигналов преобразуются в цифровой сигнал. По мгновенным значениям силы электрического тока и напряжения в микропроцессоре счетчика вычисляются мгновенные значения активной и полной мощности, которые усредняются за период 0,02 с. Средняя за период реактивная мощность вычисляется по средним за период значениям активной и полной мощности.
Электрическая энергия, как интеграл по времени от средней за период 0,02 с мощности, вычисляется для интервалов времени 30 мин.
Средняя активная (реактивная) электрическая мощность вычисляется как среднее значение мощности на интервале времени усреднения 30 мин.
Цифровой сигнал с выходов счетчиков поступает на сервер БД, где осуществляется вычисление электроэнергии и мощности с учетом коэффициентов трансформации ТТ и ТН, выполняется дальнейшая обработка измерительной информации, в частности, формирование и хранение поступающей информации, оформление отчетных документов. Передача информации в заинтересованные организации осуществляется от сервера БД с помощью электронной почты по выделенному каналу связи по протоколу TCP/IP.
АИИС КУЭ имеет систему обеспечения единого времени (СОЕВ), которая охватывает уровень ИИК и ИВК. АИИС КУЭ оснащена УСВ, на основе приемника сигналов точного времени от навигационных систем (ГЛОНАСС/GPS). УСВ обеспечивает автоматическую коррекцию часов сервера БД. Коррекция часов сервера БД проводится при расхождении часов сервера БД и времени приемника более чем на ±1 с. Часы счетчиков синхронизируются от сервера БД с периодичностью 1 раз в 30 минут, коррекция часов счетчиков проводится при расхождении часов счетчика и сервера БД более чем на ±2 с.
Журналы событий счетчика электроэнергии отражают: время (дата, часы, минуты, секунды) коррекции часов.
Журналы событий сервера БД отражают: время (дата, часы, минуты, секунды) коррекции часов указанных устройств и расхождение времени в секундах корректируемого и корректирующего устройств в момент, непосредственно предшествующий корректировке.
Нанесение знака поверки на АИИС КУЭ не предусмотрено.
Маркировка заводского номера и даты выпуска АИИС КУЭ наносится на этикетку, расположенную на коммутационном шкафу, типографическим способом. Дополнительно заводской номер указывается в паспорте-формуляре.
Заводской номер АИИС КУЭ: 06-2021.
Программное обеспечениеВ АИИС КУЭ используется ПО «АльфаЦЕНТР», в состав которого входят модули, указанные в таблице 1. ПО «АльфаЦЕНТР» обеспечивает защиту программного обеспечения и измерительной информации паролями в соответствии с правами доступа. Средством защиты данных при передаче является кодирование данных, обеспечиваемое программными средствами ПО «АльфаЦЕНТР».
Таблица 1 -
данные ПО
Идентификационные признаки |
Значение |
Идентификационное наименование ПО |
ПО «АльфаЦЕНТР» Библиотека ac metrologv.dll |
Номер версии (идентификационный номер) ПО |
15.10.01 |
Цифровой идентификатор ПО |
3e736b7f380863f44cc8e6f7bd211c54 |
Алгоритм вычисления цифрового идентификатора ПО |
MD5 |
ПО «АльфаЦЕНТР» не влияет на метрологические характеристики ИК АИИС КУЭ, указанные в таблице 2.
Уровень защиты ПО от непреднамеренных и преднамеренных изменений - «высокий» в соответствии с Р 50.2.077-2014.
Метрологические и технические характеристикиСостав ИК АИИС КУЭ и их основные метрологические характеристики приведены в таблице 2.
Таблица 2 - Состав ИК Л И ИС КУЭ и их основные
о S о к |
Наименование ИК |
Измерительные компоненты |
Вид электроэнергии |
Метрологические характеристики ИК | ||||
ТТ |
TH |
Счётчик |
УСВ |
Основная погрешность, % |
Погрешность в рабочих условиях, % | |||
1 |
2 |
3 |
4 |
5 |
6 |
7 |
8 |
9 |
1 |
ПС «Донец» 110/6 кВ, РУ 6 кВ, 3 СШ, яч. 16 |
тол-нтз Кл. т. 0,58 Ктт 800/5 Per. № 69606-17 |
НАМИ-10-95УХЛ2 Кл. т. 0,5 Ктн 6000/100 Per. №20186-05 |
ПСЧ-4ТМ.05М Кл. т. 0,58/1,0 Per. № 36355-Q1 |
УСВ-2 Per. № 41681-09 |
активная реактивная |
±1,2 ±2,8 |
±3,4 ±5,7 |
2 |
ПС «Донец» 110/6 кВ, РУ 6 кВ, 1 СШ, яч. 5 |
ТОЛ-СЭЩ-10 Кл. т. 0,58 Ктт 800/5 Per. № 32139-06 |
НАМИ-10-95УХЛ2 Кл. т. 0,5 Ктн 6000/100 Per. №20186-05 |
ПСЧ-4ТМ.05М Кл. т. 0,58/1,0 Per. № 36355-Q1 |
активная реактивная |
±1,2 ±2,8 |
±3,4 ±5,7 | |
3 |
ЩС 0,4 кВ ГСК №70 |
- |
- |
ПСЧ-ЗТМ.05 Кл. т. 1,0/2,0 Per. № 30784-05 |
активная реактивная |
±1,1 ±2,2 |
±3,2 ±4,8 |
Продолжение таблицы 2
1 |
2 |
3 |
4 |
5 |
4 |
ПС «Белгород» 110/6 кВ, РУ 6 кВ, 1 СШ, яч. 122 |
тол 10 Кл. т. 0,5 Ктт 300/5 Per. № 7069-02 |
НОМ-6 Кл. т. 0,5 Ктн 6000;х/3/100;л/3 Per. № 159-49 |
ПСЧ-4ТМ.05М Кл. т. 0,58/1,0 Per. № 36355-07 |
5 |
ПС «Белгород» 110/6 кВ, РУ 6 кВ, 3 СШ, яч. 313 |
ТОЛ-10-1 Кл. т. 0,58 Ктт 800/5 Per. № 15128-07 |
НАЛИ-СЭЩ-6 Кл. т. 0,5 Ктн 6000/100 Per. № 38394-08 |
ПСЧ-4ТМ.05М Кл. т. 0,58/1,0 Per. № 36355-07 |
6 |
7 |
8 |
9 |
активная |
±1,2 |
±3,3 | |
УСВ-2 Per. № |
реактивная |
±2,8 |
±5,7 |
активная |
±1,2 |
±3,4 | |
41681-09 | |||
реактивная |
±2,8 |
±5,7 |

Пределы допускаемой погрешности СОЕВ АПИС КУЭ, с
Примечания
-
1 Характеристики погрешности ПК даны для измерений электроэнергии и средней мощности (получасовой).
-
2 В качестве характеристик относительной погрешности указаны границы интервала, соответствующие вероятности 0,95.
-
3 Погрешность в рабочих условиях указана созф = 0,8 инд 1=0,02(0,05) * 1ном и температуры окружающего воздуха в месте расположения счетчиков электроэнергии для ПК № 1 - 5 от 0 °C до плюс 40 °C.
-
4 Допускается замена ТТ, TH и счетчиков на аналогичные утвержденных типов с метрологическими характеристиками не хуже, чем у перечисленных в таблице 2, при условии, что Предприятие-владелец АПИС КУЭ не претендует на улучшение указанных в таблице 2 метрологических характеристик.
-
5 Допускается замена УСВ на аналогичные утвержденных типов.
-
6 Замена оформляется техническим актом в установленном на Предприятии-владельце АПИС КУЭ порядке. Технический акт хранится совместно с эксплуатационными документами на АПИС КУЭ как их неотъемлемая часть.
Основные технические характеристики ИК АИИС КУЭ приведены в таблице 3.
Таблица 3 - Основные технические характеристики ИК АИИС КУЭ
Наименование характеристики |
Значение |
Количество измерительных каналов |
5 |
Нормальные условия: параметры сети: - напряжение, % от ином |
от 99 до 101 |
- ток, % от 1ном |
от 100 до 120 |
- частота, Гц |
от 49,85 до 50,15 |
- коэффициент мощности cos9 |
0,9 |
- температура окружающей среды, оС |
от +21 до +25 |
Условия эксплуатации: параметры сети: - напряжение, % от ином |
от 90 до 110 |
- ток, % от 1ном |
от 2(5) до 120 |
- коэффициент мощности |
от 0,5 инд до 0,8 емк |
- частота, Гц |
от 49,6 до 50,4 |
- температура окружающей среды для ТТ и ТН, оС |
от -60 до +40 |
- температура окружающей среды в месте расположения счетчиков, оС |
от -40 до +60 |
- температура окружающей среды в месте расположения сервера, °С |
от +10 до +30 |
Надежность применяемых в АИИС КУЭ компонентов: Счетчики: - среднее время наработки на отказ, ч, не менее: для счетчика ПСЧ-4ТМ.05М |
140000 |
для счетчика ПСЧ-3ТМ.05 |
90000 |
- среднее время восстановления работоспособности, ч |
2 |
Сервер: - среднее время наработки на отказ, ч, не менее |
50000 |
- среднее время восстановления работоспособности, ч |
1 |
Глубина хранения информации Счетчики: - тридцатиминутный профиль нагрузки в двух направлениях, сут, не менее |
113 |
- при отключении питания, лет, не менее |
45 |
Сервер: - хранение результатов измерений и информации состояний средств измерений, лет, не менее |
3,5 |
Надежность системных решений:
-
- защита от кратковременных сбоев питания сервера с помощью источника бесперебойного питания;
-
- резервирование каналов связи: информация о результатах измерений может передаваться в организации-участники оптового рынка электроэнергии с помощью электронной почты и сотовой связи.
В журналах событий фиксируются факты:
-
- журнал счетчика:
- параметрирования;
-
- пропадания напряжения;
-
- коррекции времени в счетчике;
Защищённость применяемых компонентов:
-
- механическая защита от несанкционированного доступа и пломбирование:
-
- счетчика;
-
- промежуточных клеммников вторичных цепей напряжения;
-
- испытательной коробки;
-
- сервера;
-
- защита на программном уровне информации при хранении, передаче, параметрировании:
-
- счетчика;
-
- сервера.
Возможность коррекции времени в:
-
- счетчиках (функция автоматизирована);
-
- ИВК (функция автоматизирована).
Возможность сбора информации:
-
- о результатах измерений (функция автоматизирована).
Цикличность:
-
- измерений 30 мин (функция автоматизирована);
-
- сбора 30 мин (функция автоматизирована).
наносится на титульный лист паспорта-формуляра АИИС КУЭ типографским способом.
Комплектность средства измеренийКомплектность АИИС КУЭ представлена в таблице 4.
Таблица 4 - Комплектность АИИС КУЭ
Наименование |
Тип/обозначение |
Количество, шт./экз. |
Трансформатор тока |
ТОЛ-НТЗ |
3 |
Трансформатор тока |
ТОЛ-СЭЩ-10 |
3 |
Трансформатор тока |
ТОЛ 10 |
2 |
Трансформатор тока |
ТОЛ-10-I |
3 |
Трансформатор напряжения |
НАМИ-10-95УХЛ2 |
2 |
Трансформатор напряжения |
НОМ-6 |
3 |
Трансформатор напряжения |
НАЛИ-СЭЩ-6 |
1 |
Счётчик электрической энергии многофункциональный |
ПСЧ-4ТМ.05М |
4 |
Счётчик электрической энергии многофункциональный |
ПСЧ-3ТМ.05 |
1 |
Устройство синхронизации времени |
УСВ-2 |
1 |
Программное обеспечение |
«АльфаЦЕНТР» |
1 |
Паспорт-Формуляр |
ПСК.2021.06.АСКУЭ.31-ПФ |
1 |
Сведения о методиках (методах) измерений приведены в документе «Методика измерений электрической энергии и с использованием системы автоматизированной информационно-измерительной коммерческого учета электроэнергии
мощности
(АИИС КУЭ) АО «Стройматериалы», аттестованном
ООО «Спецэнергопроект», г. Москва, аттестат об аккредитации № RA.RU.312236.
Нормативные документы, устанавливающие требования к АИИС КУЭГОСТ 22261-94 «Средства измерений электрических и магнитных величин. Общие технические условия»;
ГОСТ 34.601-90 «Информационная технология. Комплекс стандартов на автоматизированные системы. Автоматизированные системы. Стадии создания»;
ГОСТ Р 8.596-2002 «ГСИ. Метрологическое обеспечение измерительных систем. Основные положения».
Акционерное общество
(АО «Первая сбытовая компания»)
ИНН 3123200083
Адрес: 30800, г. Белгород, ул. Князя Трубецкого, д. 37
Телефон: +7 (4722) 33-47-18
Факс: +7 (4722) 33-47-28
«Первая
сбытовая
компания»
Акционерное общество
(АО «Первая сбытовая компания»)
ИНН 3123200083
Адрес: 308000, г. Белгород, ул. Князя Трубецкого, д. 37
Телефон: +7 (4722)33-47-18
Факс: +7 (4722)33-47-28
«Первая
сбытовая
компания»
«Спецэнергопроект»
Общество с ограниченной ответственностью (ООО «Спецэнергопроект»)
Адрес: 115419, г. Москва, ул. Орджоникидзе, д. 11, стр. 3, эт. 4, помещ. I, ком. 6, 7 Телефон: +7 (495) 410-28-81
E-mail: info@sepenergo.ru
Уникальный номер записи в реестре аккредитованных лиц № RA.RU.312429.
УТВЕРЖДЕНО приказом Федерального агентства по техническому регулированию и метрологии от «I9» июня 2025 г. № I223
Лист № 1
Всего листов 15
коммерческого
Регистрационный № 83031-21
ОПИСАНИЕ ТИПА СРЕДСТВА ИЗМЕРЕНИЙ
Система автоматизированная информационно-измерительная учета электроэнергии (АИИС КУЭ) ООО «НЭК» (11 очередь)
Назначение средства измеренийСистема автоматизированная информационно-измерительная коммерческого учета электроэнергии (АИИС КУЭ) ООО «НЭК» (II очередь) (далее - АИИС КУЭ) предназначена для измерений активной и реактивной электроэнергии, автоматизированного сбора, обработки, хранения, формирования отчетных документов и передачи полученной информации заинтересованным организациям в рамках согласованного регламента.
Описание средства измеренийАИИС КУЭ представляет собой многофункциональную двухуровневую автоматизированную систему с централизованным управлением и распределенной функцией измерений.
АИИС КУЭ включает в себя следующие уровни:
-
1- й уровень - измерительно-информационные комплексы (ИИК), включающие в себя измерительные трансформаторы тока (ТТ), измерительные трансформаторы напряжения (ТН), счетчики активной и реактивной электрической энергии (счетчики), вторичные измерительные цепи и технические средства приема-передачи данных.
-
2- й уровень - информационно-вычислительный комплекс (ИВК), включающий в себя сервер с программным комплексом (ПК) «Энергосфера», устройство синхронизации времени (УСВ), автоматизированные рабочие места (АРМ), каналообразующую аппаратуру, технические средства для организации локальной вычислительной сети и разграничения прав доступа к информации.
Первичные токи и напряжения трансформируются измерительными трансформаторами в аналоговые сигналы низкого уровня, которые по проводным линиям связи поступают на соответствующие входы электронного счетчика электрической энергии. В счетчике мгновенные значения аналоговых сигналов преобразуются в цифровой сигнал. По мгновенным значениям силы электрического тока и напряжения в микропроцессоре счетчика вычисляются мгновенные значения активной и полной мощности, которые усредняются за период 0,02 с. Средняя
за период реактивная мощность вычисляется по средним за период значениям активной и полной мощности.
Электрическая энергия, как интеграл по времени от средней за период 0,02 с мощности, вычисляется для интервалов времени 30 мин.
Средняя активная (реактивная) электрическая мощность вычисляется как среднее значение мгновенных значений мощности на интервале времени усреднения 30 мин.
Цифровой сигнал с выходов счетчиков при помощи технических средств приема-передачи данных поступает на сервер, где осуществляется обработка измерительной информации, в частности вычисление электрической энергии и мощности с учетом коэффициентов трансформации ТТ и ТН, формирование и хранение поступающей информации, оформление отчетных документов, передача информации на АРМ. При этом, если вычисление электрической энергии и мощности с учетом коэффициентов трансформации ТТ и ТН осуществляется в счетчиках, на сервере данное вычисление осуществляется умножением на коэффициент равный единице.
Также сервер может принимать измерительную информацию в виде xml-файлов установленных форматов от ИВК прочих АИИС КУЭ, зарегистрированных в Федеральном информационном фонде, и передавать всем заинтересованным субъектам оптового рынка электроэнергии (ОРЭ).
Передача информации от сервера или АРМ коммерческому оператору с электронной цифровой подписью субъекта ОРЭ, системному оператору и в другие смежные субъекты ОРЭ осуществляется по каналу связи с протоколом TCP/IP сети Internet в виде xml-файлов установленных форматов в соответствии с приложением 11.1.1 к Положению о порядке получения статуса субъекта оптового рынка и ведения реестра субъектов оптового рынка электрической энергии и мощности.
АИИС КУЭ имеет систему обеспечения единого времени (СОЕВ), которая включает в себя часы счетчиков, часы сервера и УСВ. УСВ обеспечивает передачу шкалы времени, синхронизированной по сигналам глобальных навигационных спутниковых систем с национальной шкалой координированного времени РФ UTC(SU).
Сравнение показаний часов сервера с УСВ осуществляется не реже 1 раза в час. Корректировка часов сервера производится независимо от величины расхождений.
Сравнение показаний часов счетчиков с часами сервера осуществляется во время сеанса связи со счетчиками. Корректировка часов счетчиков производится при расхождении показаний часов счетчиков с часами сервера более ±2 с.
Журналы событий счетчиков и сервера отображают факты коррекции времени с обязательной фиксацией времени до и после коррекции или величины коррекции времени, на которую было скорректировано устройство.
Нанесение знака поверки на средство измерений не предусмотрено. Маркировка заводского номера АИИС КУЭ ООО «НЭК» (11 очередь) наносится на этикетку, расположенную на тыльной стороне сервера, типографским способом. Дополнительно заводской номер 011 указывается в формуляре.
Программное обеспечениеВ АИИС КУЭ используется ПК «Энергосфера». ПК «Энергосфера» обеспечивает защиту измерительной информации паролями в соответствии с правами доступа. Метрологически значимая часть ПО и данные достаточно защищены с помощью специальных средств защиты от преднамеренных изменений. Метрологически значимая часть ПК «Энергосфера» указана в таблице 1. Уровень защиты программного обеспечения от непреднамеренных и преднамеренных изменений - «высокий» в соответствии с Р 50.2.077-2014.
Таблица 1 - Идентификационные данные ПК «Энергосфера»
Идентификационные данные (признаки) |
Значение |
Идентификационное наименование ПО |
pso metr.dll |
Номер версии (идентификационный номер) ПО |
не ниже 1.1.1.1 |
Цифровой идентификатор ПО |
CBEB6F6CA69318BED976E08A2BB7814B |
Алгоритм вычисления цифрового идентификатора ПО |
MD5 |
Состав измерительных каналов (ИК) и их основные метрологические и технические характеристики приведены в таблицах 2, 3.
Таблица 2 - Состав
каналов (ИК) АНИС КУЭ и их
Номе рИК |
Наименование точки измерений |
Измерительные компоненты |
Сервер |
Вид электро энерги и |
Метрологические характеристики ИК | ||||
ТТ |
TH |
Счетчик |
УСВ |
Г раницы допускаемой основной относительной погрешности (±5), % |
Г раницы допускаемой относительно й погрешности в рабочих условиях (±5), % | ||||
1 |
2 |
3 |
4 |
5 |
6 |
7 |
8 |
9 |
10 |
7 |
РТП ООО АРК 6 кВ, РУ-6 кВ, Яч. 5, КЛ 6 кВ КЛ-6-30 |
ТОЛ-НТЗ-10 Кл.т. 0,58 400/5 Per. № 69606-17 |
НОЛП-НТЗ-6 Кл.т. 0,5 6000/100 Per. № 69605-17 |
Меркурий 234 ARTM-00 PBR.R Кл.т. 0,58/1,0 Per. № 75755-19 |
УСВ-3 Per. № 64242-16 |
Сервер ООО «НЭК» |
Активн ая Реакти вная |
1,3 2,5 |
3,4 5,7 |
8 |
ТП-1062 6 кВ, РУ- 0,4кВ, 1 СШ 0,4 кВ, Ввод1 0,4кВ |
ТТН-60 Кл.т. 0,5 800/5 Per. № 75345-19 |
- |
Меркурий 234 ARTM-03 PBR.R Кл.т. 0,58/1,0 Per. № 75755-19 |
Активн ая Реакти вная |
1,0 2,1 |
3,2 5,5 | ||
9 |
ТП-1062 6 кВ, РУ- 0,4кВ, 2 СШ 0,4 кВ, Ввод2 0,4кВ |
ТТН-60 Кл.т. 0,5 800/5 Per. № 75345-19 |
- |
Меркурий 234 ARTM-03 PBR.R Кл.т. 0,58/1,0 Per. № 75755-19 |
Активн ая Реакти вная |
1,0 2,1 |
3,2 5,5 |

ТП-645 6 кВ, РУ-0,4кВ, 1 СШ 0,4 кВ, Ввод1 0,4кВ
ТТН-60
Кл. т. 0,5 600/5
Per. № 75345-19

Меркурий 234
ARTM-03 PBR.R
Кл.т. 0,58/1,0
Per. № 75755-19

Активы

Реакти вная

1 |
2 |
3 |
4 |
5 |
11 |
ТП-645 6 кВ, РУ-0,4кВ, 2 СП! 0,4 кВ, Ввод2 0,4кВ |
ТТН-60 Кл. т. 0,5 600/5 Per. № 58465-14 |
- |
Меркурий 234 ARTM-03 PBR.R Кл.т. 0,58/1,0 Per. № 75755-19 |
12 |
ТП-7 10 кВ, РУ-0,4 кВ, СП! 0,4 кВ, Ввод 0,4 кВ |
Т-0,66 М УЗ Кл.т. 0,5S 1000/5 Per. №71031-18 |
- |
Меркурий 230 ART-03 PQRSroN Кл.т. 0,58/1,0 Per. № 80590-20 |
13 |
ТП-6.2 10 кВ, РУ-0,4 кВ, СП! 0,4 кВ, Ввод 0,4 кВ |
Т-0,66 М УЗ Кл.т. 0,5S 1000/5 Per. №71031-18 |
- |
Меркурий 230 ART-03 PQR8roN Кл.т. 0,58/1,0 Per. № 80590-20 |
14 |
ТП-5 10 кВ, РУ-0,4 кВ, СП! 0,4 кВ, Ввод 0,4 кВ |
ТТН-100 Кл.т. 0,5S 2000/5 Per. №28139-12 |
- |
Меркурий 230 ART-03 PQR8roN Кл.т. 0,58/1,0 Per. № 80590-20 |
15 |
ТП-6.1 10 кВ, РУ-0,4 кВ, СП! 0,4кВ, Ввод 0,4кВ |
Т-0,66 УЗ Кл.т. 0,5 1000/5 Per. №71031-18 |
- |
Меркурий 230 ART-03 PQR8roN Кл.т. 0,58/1,0 Per. № 23345-07 |
16 |
РП-1 ОАО ЭСП 10 кВ, РУ-10 кВ, 1 СП! ЮкВ, Яч. 9, КЛ 10 кВЯч. 9 |
ТПЛ-Юс Кл.т. 0,5 100/5 Per. №29390-10 |
НТМИ-10-66УЗ Кл.т. 0,5 10000/100 Per. № 831-69 |
Меркурий 230 ART-00 PQR8roN Кл.т. 0,58/1,0 Per. № 23345-07 |
6
УСВ-3 Per. № 64242-16
Сервер ООО
«НЭК»
8 |
9 |
10 |
Активн ая |
1,0 |
3,2 |
Реакти |
2,1 |
5,5 |
вная | ||
Активн ая |
1,0 |
3,3 |
Реакти |
2,1 |
5,6 |
вная | ||
Активн ая |
1,0 |
3,3 |
Реакти |
2,1 |
5,6 |
вная | ||
Активн ая |
1,0 |
3,3 |
Реакти |
2,1 |
5,6 |
вная | ||
Активн ая |
1,0 |
3,2 |
Реакти |
2,1 |
5,5 |
вная | ||
Активн ая |
1,3 |
3,3 |
Реакти |
2,5 |
5,6 |
вная |
1 |
2 |
3 |
4 |
5 |
17 |
РП-1 ОАО ЭСП 10 кВ, РУ-10 кВ, 2 СП! 10 кВ, Яч. 28, КЛ 10 кВ Яч. 28 |
ТЛО-10 Кл.т. 0,5S 100/5 Per. №25433-11 |
НТМИ-10-66УЗ Кл.т. 0,5 10000/100 Per. № 831-69 |
Меркурий 230 ART-00 PQRSroN Кл.т. 0,58/1,0 Per. № 23345-07 |
18 |
ТП-34 ОАО ЭСП 10 кВ, РУ-0,4 кВ, 1 СП! 0,4 кВ, Яч. 6, КЛ1 0,4 кВ ООО Восток |
Т-0,66 УЗ Кл.т. 0,5 200/5 Per. №71031-18 |
- |
псч- ЗАРТ.07.132.4 Кл.т. 0,58/1,0 Per. № 36698-08 |
19 |
ТП-34 ОАО ЭСП 10 кВ, РУ-0,4 кВ, 2 СП! 0,4 кВ, Яч. 10, КЛ2 0,4 кВ ООО Восток |
Т-0,66 УЗ Кл.т. 0,5 200/5 Per. №71031-18 |
- |
псч- ЗАРТ.07.132.4 Кл.т. 0,58/1,0 Per. № 36698-08 |
22 |
ВЛ 6 кВ №31 Амур, ВЛ 6 кВ ТП №967, Оп. №20/1, ПКУ 6 кВ |
ТОЛ-СЭЩ-10 Кл.т. 0,5S 100/5 Per. № 32139-06 |
ЗНОЛ-ЭК-10 Кл.т. 0,5 6000/л/з/100/л/з Per. №40015-08 |
Меркурий 234 ARTM-00 PBR.R Кл.т. 0,58/1,0 Per. № 75755-19 |
23 |
ТП №934 6 кВ, РУ-0,4 кВ, СП! 0,4 кВ, Ввод 0,4 кВ |
ТТН-60 Кл.т. 0,5 600/5 Per. № 75345-19 |
- |
Меркурий 234 ARTM-03 PBR.R Кл.т. 0,58/1,0 Per. № 75755-19 |
26 |
ТП№6021 10 кВ, РУ-10 кВ, СП! 10 кВ, Ввод 10 кВ |
ТОЛ-НТЗ-10 Кл.т. 0,58 150/5 Per. № 69606-17 |
ЗНОЛП-НТЗ-10 Кл.т. 0,5 10000/л/3/100/л/3 Per. № 69604-17 |
Меркурий 234 ARTM-00 PBR.R Кл.т. 0,58/1,0 Per. № 75755-19 |
6
УСВ-3 Per. № 64242-16
Сервер ООО
«НЭК»
8 |
9 |
10 |
Активн ая |
1,3 |
3,4 |
Реакти |
2,5 |
5,7 |
вная | ||
Активн ая |
1,0 |
3,2 |
Реакти |
2,1 |
5,5 |
вная | ||
Активн ая |
1,0 |
3,2 |
Реакти |
2,1 |
5,5 |
вная | ||
Активн ая |
1,3 |
3,4 |
Реакти |
2,5 |
5,7 |
вная | ||
Активн ая |
1,0 |
3,2 |
Реакти |
2,1 |
5,5 |
вная | ||
Активн ая |
1,3 |
3,4 |
Реакти |
2,5 |
5,7 |
вная |
Продолжение таблицы 2
1 |
2 |
3 |
4 |
5 |
27 |
ТП-1072 10 кВ, РУ-10 кВ, 1 СП! 10 кВ, Ввод1 10 кВ |
ТЛП-10 Кл.т. 0,5S 50/5 Per. №30709-11 |
ЗНОЛ-ЭК-10 Кл.т. 0,5 10000/л/3/100/л/3 Per. №47583-11 ЗНОЛ-НТЗ-10 Кл.т. 0,5 10000/л/3/100/л/3 Per. № 69604-17 |
Меркурий 234 ARTM-00 PBR.R Кл.т. 0,58/1,0 Per. № 75755-19 |
28 |
ТП-1072 10 кВ, РУ-10 кВ, 2 СП! 10 кВ, Ввод2 10 кВ |
ТЛП-10 Кл.т. 0,5S 50/5 Per. №30709-11 |
ЗНОЛ-ЭК-10 Кл.т. 0,5 10000/л/3/100/л/3 Per. №47583-11 |
Меркурий 234 ARTM-00 PBR.R Кл.т. 0,58/1,0 Per. № 75755-19 |
30 |
ТП-35 ОАО ЭСП 10 кВ, РУ-0,4 кВ, 1 СП! 0,4 кВ, Яч. 5, КЛ1 0,4 кВ ООО «Караван» |
Т-0,66 УЗ Кл.т. 0,5 200/5 Per. №71031-18 |
- |
Меркурий 234 ARTM-03 PBR.R Кл.т. 0,58/1,0 Per. № 75755-19 |
31 |
ТП-35 ОАО ЭСП 10 кВ, РУ-0,4 кВ, 2 СП! 0,4 кВ, Яч. 10, КЛ2 0,4 кВ ООО «Караван» |
Т-0,66 УЗ Кл.т. 0,5 200/5 Per. №71031-18 |
- |
Меркурий 234 ARTM-03 PBR.R Кл.т. 0,58/1,0 Per. № 75755-19 |
32 |
ТП№4944 10 кВ, РУ-0,4 кВ, СП! 0,4 кВ, Ввод 0,4 кВ |
ттн-ш Кл.т. 0,5 200/5 Per. № 75345-19 |
- |
Меркурий 234 ARTM-03 PBR.R Кл.т. 0,58/1,0 Per. № 75755-19 |
УСВ-3 Per. № 64242-16

Сервер ООО
«НЭК»
8 |
9 |
10 |
Активн ая |
1,3 |
3,4 |
Реакти вная |
2,5 |
5,7 |
Активн ая |
1,3 |
3,4 |
Реакти вная |
2,5 |
5,7 |
Активн ая |
1,0 |
3,2 |
Реакти вная |
2,1 |
5,5 |
Активн ая |
1,0 |
3,2 |
Реакти вная |
2,1 |
5,5 |
Активн ая |
1,0 |
3,2 |
Реакти вная |
2,1 |
5,5 |
1 |
2 |
3 |
4 |
5 |
33 |
ВЛ 10 кВ №1 Кривозеровская, ВЛ 10 кВ в сторону ТП №4944, ВЛ 10 кВ ТП №5025, Он. №б/н, ПКУ 10 кВ |
ТОЛ-НТЗ-10 Кл.т. 0,58 75/5 Per. № 69606-17 |
ЗНОЛ-СЭЩ-10 Кл.т. 0,5 10000/л/3/100/л/3 Per. №71707-18 |
Меркурий 234 ARTM-00 PBR.R Кл.т. 0,58/1,0 Per. № 75755-19 |
34 |
ВЛ 10 кВ № 3 Хуторская, ВЛ 10 кВ ТП№ 5137, Он. № б/н, ПКУ 10 кВ |
ТОЛ-НТЗ-10 Кл.т. 0,58 100/5 Per. № 69606-17 |
ЗНОЛ-СЭЩ-10 Кл.т. 0,5 10000/л/3/100/л/3 Per. №71707-18 |
Меркурий 234 ARTM-00 PBR.R Кл.т. 0,58/1,0 Per. № 75755-19 |
35 |
ТП-Л5 10 кВ, ВРУ 0,4 кВ ООО Аквапарк Морская Звезда, СП! 0,4 кВ, Ввод 0,4 кВ |
Т-0,66 УЗ Кл.т. 0,5 600/5 Per. №71031-18 |
- |
ПСЧ-4ТМ.06Т.05 Кл.т. 0,58/1,0 Per. № 82640-21 |
36 |
ТП-Л5 10 кВ, ВРУ 0,4 кВ ООО Еврохолдинг, СП! 0,4 кВ, Ввод 0,4 кВ |
Т-0,66 УЗ Кл.т. 0,5 200/5 Per. №71031-18 |
- |
Меркурий 236 ART-03 PQR8 Кл.т. 0,58/1,0 Per. №47560-11 |
37 |
ТП-1054 10 кВ, РУ-0,4 кВ, 1 СП! 0,4 кВ, Ввод1 0,4 кВ |
ТТН-60 Кл.т. 0,5 1000/5 Per. № 58465-14 |
- |
псч- 4ТМ.05МК.16 Кл.т. 0,58/1,0 Per. №46634-11 |
38 |
ТП-1054 10 кВ, РУ-0,4 кВ, 2 СП! 0,4 кВ, Ввод2 0,4 кВ |
ТТН-60 Кл.т. 0,5 1000/5 Per. № 58465-14 |
- |
псч- 4ТМ.05МК.16 Кл.т. 0,58/1,0 Per. №46634-11 |
6
УСВ-3 Per. № 64242-16
Сервер ООО
«НЭК»
8 |
9 |
10 |
Активы ая |
1,3 |
3,4 |
Реакти |
2,5 |
5,7 |
вная | ||
Активы ая |
1,3 |
3,4 |
Реакти |
2,5 |
5,7 |
вная | ||
Активы ая |
1,0 |
3,2 |
Реакти |
2,1 |
5,5 |
вная | ||
Активы ая |
1,0 |
3,2 |
Реакти |
2,1 |
5,5 |
вная | ||
Активы ая |
1,0 |
3,2 |
Реакти |
2,1 |
5,5 |
вная | ||
Активы ая |
1,0 |
3,2 |
Реакти |
2,1 |
5,5 |
вная |
1 |
2 |
3 |
4 |
5 |
39 |
ВЛ 10 кВ №3 ПС Рассвет, Оп. №30, КЛ 10 кВ ТП №3210, ПКУ-ЮкВ |
ТОЛ-НТЗ-10 Кл.т. 0,58 100/5 Per. № 69606-17 |
ЗНОЛП-НТЗ Кл.т. 0,5 10000/л/3/100/л/3 Per. № 69604-17 |
Меркурий 234 ARTM-00 PBR.R Кл.т. 0,58/1,0 Per. № 75755-19 |
40 |
ПС ПОкВНебуг, РУ-10 кВ, 1СШ 10 кВ, ф. Нб-19 |
ТОЛ-СЭЩ-10 Кл.т. 0,5 400/5 Per. № 32139-06 |
ЗНОЛ-СЭЩ-10 Кл.т. 0,5 10000/л/3/100/л/3 Per. № 35956-07 |
СЭТ-4ТМ.03М Кл.т. 0,28/0,5 Per. № 36697-08 |
41 |
ПС ПОкВНебуг, РУ-10 кВ, 2СШ 10 кВ, ф. Нб-22 |
ТОЛ-СЭЩ-10 Кл.т. 0,5 400/5 Per. № 32139-06 |
ЗНОЛ-СЭЩ-10 Кл.т. 0,5 10000/л/3/100/л/3 Per. № 35956-07 |
сэт- 4ТМ.03М.01 Кл.т. 0,58/1,0 Per. № 36697-08 |
42 |
ТП-А629 10 кВ, РУ-10 кВ, Ввод 10 кВ Т-1 |
ТОЛ-СЭЩ-10 Кл.т. 0,58 20/5 Per. №32139-11 |
ЗНОЛ-СЭЩ-10 Кл.т. 0,2 10000/л/3/100/л/3 Per. № 35956-12 |
Меркурий 234 ARTM2-00 DPBR.G Кл.т. 0,58/1,0 Per. № 75755-19 |
43 |
ТП-800 10 кВ, РУ- 0,4 кВ, 1 СП! 0,4 кВ, Ввод1 0,4 кВ |
ТТН-60 Кл.т. 0,5 800/5 Per. № 58465-14 |
- |
Меркурий 236 ART-03 PQR8 Кл.т. 0,58/1,0 Per. №47560-11 |
44 |
ТП-800 10 кВ, РУ-0,4 кВ, 2 СП! 0,4 кВ, Ввод2 0,4 кВ |
ТТН-60 Кл.т. 0,5 600/5 Per. № 58465-14 |
- |
Меркурий 236 ART-03 PQR8 Кл.т. 0,58/1,0 Per. №47560-11 |
6
УСВ-3 Per. № 64242-16
Сервер ООО
«НЭК»
8 |
9 |
10 |
Активн ая |
1,3 |
3,4 |
Реакти |
2,5 |
5,7 |
вная | ||
Активн ая |
1,1 |
3,0 |
Реакти |
2,3 |
4,7 |
вная | ||
Активн ая |
1,3 |
3,3 |
Реакти |
2,5 |
5,6 |
вная | ||
Активн ая |
1,1 |
3,3 |
Реакти |
2,2 |
5,6 |
вная | ||
Активн ая |
1,0 |
3,2 |
Реакти |
2,1 |
5,5 |
вная | ||
Активн ая |
1,0 |
3,2 |
Реакти |
2,1 |
5,5 |
вная |
1 |
2 |
3 |
4 |
5 |
45 |
ТП-80п 6 кВ, РУ-0,4 кВ, 1СШ 0,4 кВ, Ввод 1 |
Т-0,66 М УЗ Кл.т. 0,5 1500/5 Per. №71031-18 |
- |
Меркурий 230 ART-03 PQRSroN Кл.т. 0,58/1,0 Per. № 23345-07 |
46 |
ТП-80п 6 кВ, РУ-0,4 кВ, 2СШ 0,4 кВ, Ввод 2 |
Т-0,66 М УЗ Кл.т. 0,5 1500/5 Per. №71031-18 |
- |
Меркурий 230 ART-03 PQRSroN Кл.т. 0,58/1,0 Per. № 23345-07 |
47 |
ТП-86п 6 кВ, РУ-0,4 кВ, 1СШ 0,4 кВ, Ввод 1 |
ТП1П-М-0,66 Кл.т. 0,5 1000/5 Per. №71205-18 |
- |
Меркурий 236 ART-03 PQR8 Кл.т. 0,58/1,0 Per. №47560-11 |
48 |
ТП-86п 6 кВ, РУ-0,4 кВ, 2СШ 0,4 кВ, Ввод 2 |
ТП1П-М-0,66 Кл.т. 0,5 1000/5 Per. №71205-18 |
- |
Меркурий 236 ART-03 PQR8 Кл.т. 0,58/1,0 Per. №47560-11 |
6
УСВ-3 Per. № 64242-16
7 |
8 |
9 |
10 |
Активн ая |
1,0 |
3,2 | |
Реакти вная |
2,1 |
5,5 | |
Активн ая |
1,0 |
3,2 | |
Сервер ООО |
Реакти вная |
2,1 |
5,5 |
«НЭК» |
Активн ая |
1,0 |
3,2 |
Реакти вная |
2,1 |
5,5 | |
Активн ая |
1,0 |
3,2 | |
Реакти вная |
2,1 |
5,5 |

Пределы допускаемой абсолютной погрешности часов компонентов АПИС КУЭ в рабочих условиях относительно шкалы времени UTC(SU)
Примечания:
-
1 В качестве характеристик погрешности ИК установлены границы допускаемой относительной погрешности ИК при доверительной вероятности, равной 0,95.
-
2 Характеристики погрешности ИК указаны для измерений активной и реактивной электроэнергии на интервале времени 30 мин.
-
3 Погрешность в рабочих условиях указана для ИК №№ 8-11, 15, 16, 18, 19, 23, 30-32, 35-38, 40, 41, 43-48 для силы тока 5 % от 1ном, для остальных ИК - для силы тока 2 % от 1ном; cos9 = 0,8инд.
-
4 Допускается замена ТТ, ТН и счетчиков на аналогичные утвержденных типов с метрологическими характеристиками не хуже, чем у перечисленных в таблице 2, при условии, что предприятие-владелец АИИС КУЭ не претендует на улучшение указанных в таблице 2 метрологических характеристик. Допускается замена УСВ на аналогичное утвержденного типа, а также замена сервера без изменения используемого ПО (при условии сохранения цифрового идентификатора ПО). Замена оформляется техническим актом в установленном собственником АИИС КУЭ порядке. Технический акт хранится совместно с настоящим описанием типа АИИС КУЭ как его неотъемлемая часть.
Таблица 3 - Основные технические
ИК
Наименование характеристики |
Значение |
1 |
2 |
Количество ИК |
37 |
Нормальные условия: параметры сети: | |
напряжение, % от Uном |
от 95 до 105 |
сила тока, % от Iном | |
для ИК №№ 8-11, 15, 16, 18, 19, 23, 30-32, 35-38, 40, 41, 43-48 |
от 5 до 120 |
для остальных ИК |
от 1 до 120 |
коэффициент мощности cosф |
0,9 |
частота, Гц |
от 49,8 до 50,2 |
температура окружающей среды, °С |
от +21 до +25 |
Условия эксплуатации: параметры сети: | |
напряжение, % от ином |
от 90 до 110 |
сила тока, % от 1ном | |
для ИК №№ 8-11, 15, 16, 18, 19, 23, 30-32, 35-38, 40, 41, 43-48 |
от 5 до 120 |
для остальных ИК |
от 1 до 120 |
коэффициент мощности cosф |
от 0,5 до 1,0 |
частота, Гц |
от 49,6 до 50,4 |
температура окружающей среды в месте расположения ТТ, ТН, °С |
от -45 до +40 |
температура окружающей среды в месте расположения счетчиков, °С |
от +5 до +35 |
температура окружающей среды в месте расположения сервера, °С |
от +15 до +25 |
Надежность применяемых в АИИС КУЭ компонентов: для счетчиков типов Меркурий 234: | |
среднее время наработки на отказ, ч, не менее |
320000 |
среднее время восстановления работоспособности, ч |
2 |
для счетчиков типов СЭТ-4ТМ.03М: | |
среднее время наработки на отказ, ч, не менее |
140000 |
среднее время восстановления работоспособности, ч |
2 |
для счетчиков типа ПСЧ-3АРТ.07: | |
среднее время наработки на отказ, ч, не менее |
88000 |
среднее время восстановления работоспособности, ч |
2 |
1 |
2 |
для счетчиков типа Меркурий 230 (регистрационный номер в | |
Федеральном информационном фонде 80590-20): | |
среднее время наработки на отказ, ч, не менее |
210000 |
среднее время восстановления работоспособности, ч |
2 |
для счетчиков типа Меркурий 230 (регистрационный номер в | |
Федеральном информационном фонде 23345-07): | |
среднее время наработки на отказ, ч, не менее |
150000 |
среднее время восстановления работоспособности, ч |
2 |
для счетчиков типов Меркурий 236, ПСЧ-4ТМ.06Т: | |
среднее время наработки на отказ, ч, не менее |
220000 |
среднее время восстановления работоспособности, ч |
2 |
для счетчиков типов ПСЧ-4ТМ.05МК: | |
среднее время наработки на отказ, ч, не менее |
165000 |
среднее время восстановления работоспособности, ч |
2 |
для УСВ: | |
среднее время наработки на отказ, ч, не менее |
45000 |
среднее время восстановления работоспособности, ч |
2 |
для сервера: | |
среднее время наработки на отказ, ч, не менее |
70000 |
среднее время восстановления работоспособности, ч |
1 |
Глубина хранения информации: для счетчиков типов Меркурий 234: | |
тридцатиминутный профиль нагрузки в двух направлениях, сут, не | |
менее |
90 |
при отключении питания, лет, не менее |
5 |
для счетчиков типов СЭТ-4ТМ.03М, ПСЧ-4ТМ.05МК, ПСЧ-4ТМ.06Т.: | |
тридцатиминутный профиль нагрузки в двух направлениях, сут, не | |
менее |
113 |
при отключении питания, лет, не менее |
40 |
для счетчиков типа Меркурий 230: | |
тридцатиминутный профиль нагрузки в двух направлениях, сут, не | |
менее |
85 |
при отключении питания, лет, не менее |
10 |
для счетчиков типа ПСЧ-3АРТ.07: | |
тридцатиминутный профиль нагрузки в двух направлениях, сут, не | |
менее |
60 |
при отключении питания, лет, не менее |
10 |
для счетчиков типов Меркурий 236: | |
тридцатиминутный профиль нагрузки в двух направлениях, сут, не | |
менее |
170 |
при отключении питания, лет, не менее |
10 |
для сервера: | |
хранение результатов измерений и информации состояний средств | |
измерений, лет, не менее |
3,5 |
Надежность системных решений:
защита от кратковременных сбоев питания сервера с помощью источника бесперебойного питания;
резервирование каналов связи: информация о результатах измерений может передаваться в организации-участники оптового рынка электроэнергии по электронной почте.
В журналах событий фиксируются факты:
-
- журнал счетчика: параметрирования; пропадания напряжения; коррекции времени в счетчике.
-
- журнал сервера: параметрирования; пропадания напряжения;
коррекции времени в счетчике и сервере; пропадание и восстановление связи со счетчиками.
Защищенность применяемых компонентов:
-
- механическая защита от несанкционированного доступа и пломбирование: счетчиков электрической энергии;
промежуточных клеммников вторичных цепей напряжения; испытательной коробки;
сервера.
-
- защита на программном уровне информации при хранении, передаче, параметрировании:
счетчика электрической энергии; сервера.
Возможность коррекции времени в:
счетчиках электрической энергии (функция автоматизирована); сервере (функция автоматизирована).
Возможность сбора информации:
о состоянии средств измерений;
о результатах измерений (функция автоматизирована).
Цикличность:
измерений 30 мин (функция автоматизирована);
сбора не реже одного раза в сутки (функция автоматизирована).
Знак утверждения типананосится на титульные листы эксплуатационной документации на АИИС КУЭ типографским способом.
Комплектность средства измеренийКомплектность АИИС КУЭ представлена в таблице 4.
Таблица 4 - Комплектность АИИС КУЭ
Наименование |
Обозначение |
Количество, шт./экз. |
1 |
2 |
3 |
Трансформаторы тока |
Т-0,66 М У3 |
12 |
Трансформаторы тока |
ТОЛ-НТЗ-10 |
14 |
Трансформаторы тока |
ТТН-60 |
27 |
Трансформаторы тока |
ТТН-Ш |
3 |
Трансформаторы тока |
Т-0,66 У3 |
21 |
Трансформаторы тока измерительные на номинальное напряжение 0,66 кВ |
ТТИ-100 |
3 |
1 |
2 |
3 |
Трансформаторы тока |
ТПЛ-10с |
2 |
Трансформаторы тока |
ТЛО-10 |
2 |
Трансформаторы тока |
ТОЛ-СЭЩ-10 |
12 |
Трансформаторы тока |
ТЛП-10 |
6 |
Трансформаторы тока |
ТШП-М-0,66 |
6 |
Трансформаторы напряжения |
НОЛП-НТЗ-6 |
2 |
Трансформаторы напряжения |
НТМИ-10-66УЗ |
2 |
Трансформаторы напряжения |
ЗНОЛ-ЭК-10 |
8 |
Трансформаторы напряжения |
ЗНОЛ-НТЗ-10 |
1 |
Трансформаторы напряжения |
ЗНОЛП-НТЗ-10 |
6 |
Трансформаторы напряжения |
ЗНОЛ-СЭЩ-10 |
15 |
Счетчики электрической энергии статические |
Меркурий 234 |
17 |
Счетчики электрической энергии трехфазные статические |
Меркурий 230 |
8 |
Счетчики электрической энергии трехфазные статические |
ПСЧ-3АРТ.07 |
2 |
Счетчики электрической энергии многофункциональные |
СЭТ-4ТМ.03М |
2 |
Счетчики электрической энергии статические трехфазные |
Меркурий 236 |
5 |
Счетчики электрической энергии многофункциональные |
ПСЧ-4ТМ.06Т |
1 |
Счетчики электрической энергии многофункциональные |
ПСЧ-4ТМ.05МК |
2 |
Устройства синхронизации времени |
УСВ-3 |
1 |
Сервер ООО «НЭК» |
— |
1 |
Методика поверки |
— |
1 |
Паспорт-формуляр |
33178186.411711.011.ФО |
1 |
приведены в документе «Методика измерений электрической энергии с использованием АИИС КУЭ ООО «НЭК» (11 очередь)», регистрационный номер в Федеральном информационном фонде по обеспечению единства измерений ФР.1.34.2021.41463.
Нормативные документы, устанавливающие требования к средству измеренийГОСТ 22261-94 Средства измерений электрических и магнитных величин. Общие технические условия;
ГОСТ Р 8.596-2002 ГСИ. Метрологическое обеспечение измерительных систем. Основные положения.
Правообладательответственностью «Новая энергетическая компания»
Краснодарский край, г. Краснодар, ул. Рашпилевская,
Общество с ограниченной (ООО «НЭК»)
ИНН 2308259377
Юридический адрес: 350051, д. 256, оф. 7
Телефон: (800) 700-69-83
E-mail: info@art-nek.ru
Web-сайт: www.art-nek.ru
Изготовительответственностью «Новая энергетическая компания»
Общество с ограниченной (ООО «НЭК») ИНН 2308259377 Адрес: 350051, Краснодарский край, г. Краснодар, ул. Рашпилевская, д. 256 Юридический адрес: 350051, Краснодарский край, г. Краснодар, ул. Рашпилевская, д. 256, оф. 7
Телефон: (800) 700-69-83
E-mail: info@art-nek.ru
Web-сайт: www.art-nek.ru
Испытательный центрОбщество с ограниченной ответственностью «ЭнергоПромРесурс» (ООО «ЭнергоПромРесурс»)
Адрес: 143443, Московская обл., г. Красногорск, мкр. Опалиха, ул. Ново-Никольская, д. 57, оф. 19
Телефон: (495) 380-37-61
E-mail: energopromresurs2016@gmail.com
Уникальный номер записи в реестре аккредитованных лиц № RA.RU.312047.

МИНИСТЕРСТВО ПРО11ЫШЛЕННОСГИ и ТОРГОВЛИ РОССИЙСКОЙ ФЕДЕРАЦИИ
ФЕДЕРАЛЬНОЕ АГЕНТСТВО ПО ТЕХНИЧЕСКОМУ РЕГУЛИРОВАНИЮ И МЕТРОЛОГИИ
(Росстандарт)
ПРИКАЗ
19 июня 2025 г.
Ус
1223
Москва
О внесении изменений в сведения об утве^ден^1х типах средств измерений
В соответствии с дминистративным регламентом по предоставлени Федеральным агентством по техническому регулированию и метрологии государственной услуги по утверждению типа стандартных образцов или типа средств измерений, утвержденным приказом Федерального агентства по техническому регулированию и метрологии от 12 ноября 2018 г. № 2346, п р и к а з ы в а ю:
-
1. Внести изменения в сведения об утвержденных типах средств измерений в части конструктивных изменений, не влияющих на их метрологические характеристики, согласно приложению к настоящему приказу.
-
2. Утвердить измененные описания типа средств измерений, прилагаемые к настоящему приказу.
-
3. ФБУ «НИЦ ПМ - Ростест» внести сведения об утвержденных типах средств измерений согласно приложению к настоящему приказу в Федеральный информационный фонд по обеспечению единства измерений в соответствии с Порядком создания и ведения Федерального информационного фонда по обеспечению единства измерений, передачи сведений в него и внесения изменений в данные сведения, предоставления содержащихся в нем документов и сведений, утвержденным приказом Министерства промышленности и торговли Российской Федерации от 28 августа 2020 г. № 2906.
-
4. Контроль за исполнением настоящего приказа оставляю за собой.
Заместитель руководителя
Подлинник электронного документа, подписанного ЭП, хранится в системе электронного документооборота Федерального агентства по техническому регулированию и метрологии
Е.Р. азаренко
Сертификат: 7B1801563EA497F787EAF40A918A8D6F Кому выдан: Лазаренко Евгений Русланович
Действителен: с 19.05.2025 до 12.08.2026
ч