№1226 от 19.06.2025
Приказ Федерального агентства по техническому регулированию и метрологии (Росстандарт)
# 688267
ПРИКАЗ О внесении изменений в сведения об утвержденных типах СИ (6)
Приказы по основной деятельности по агентству Вн. Приказ № 1226 от 19.06.2025
УТВЕРЖДЕНО приказом Федерального агентства по техническому регулированию и метрологии от «19» июня 2025 г. № 1226
Лист № 1
Всего листов 7
Регистрационный № 72939-18
ОПИСЛНИЕ ТИПЛ СРЕДСТВЛ ИЗМЕРЕНИЙ
Датчики нагрузки ДН-130, ДН-130(А), ДН-130(Р)
Назначение средства измеренийДатчики нагрузки ДН-130, ДП-130(Л). ДН-130(Р) (далее - датчики) предназначены для измерений силы натяжения (механических нагрузок) на канатах (тросах) грузоподъемных механизмов.
Описание средства измеренийПринцип действия датчиков основан на преобразовании, с помощью тензометрического моста, деформаций рабочего тела датчика, в пропорциональный этим деформациям электрический сигнал. С учетом данных градуировки, внесенной в энергонезависимую память микроконтроллера, размещенного в корпусе датчика. Конечный результат измерений преобразуется в цифровой код и передается по линии связи или радиоканалу для визуального отображения измерений. Передача измерительной и управляющей информации по кабелю связи осуществляется по интерфейсу RS-485 с использованием стандартного протокола MODBUS.
Датчики состоят из массивного стального корпуса со встроенным тензорезисторным мостом, источника опорного напряжения, микроконтроллера, преобразователя величины измеренного значения натяжения каната из аналогового электрического сигнала в цифровой код. Датчики нагрузки выпускаются в следующих модификациях: ДН-130, ДН-130(Л), ДН-130(Р), которые различаются по конструктивному исполнению. Датчики нагрузки ДН-130 передают данные по линии связи, датчики нагрузки ДН-130(Л) передают данные по линии связи и имеют аналоговый выход 4-20 мЛ, модификация датчиков нагрузки ДН-130(Р) передает данные по радиоканалу.
Исполнения датчиков нагрузки модификаций ДН-130, ДН-130(Л), ДН-130(Р)
в зависимости от верхнего предела измерений (ВПИ) и диаметра каната представлены в таблице 1.
Таблица 1 - Исполнения датчиков
ДН-130, ДН-130(А), ДН-130(Р)
Датчики нагрузки ДН-130, диаметры каната, (мм) |
Датчики нагрузки ДН-130(А), диаметры каната, (мм) |
Датчики нагрузки ДН-130(Р), диаметры каната, (мм) |
Исполнения датчиков ДН-130,ДН-130(А), ДН-130 (Р) (указывается на его табличке) |
Наименьший предел измерений (НПИ) датчиков, кН (тс) |
Верхний предел измерений (ВПИ) датчиков, кН (тс) |
13;16;18 |
13;16;18 |
13; 16;18 |
Трос 013; 016; 018 |
5 (0,5) |
50 (5) |
16; 18 |
16; 18 |
16; 18 |
Трос 016; 018 |
5 (0,5) |
100 (10) |
22: 25 |
22; 25 |
22; 25 |
Трос 0 22; 025 |
5 (0,5) |
100 (10) |
22; 25 |
22; 25 |
22; 25 |
Трос 0 22; 025 |
5 (0,5) |
150 (15) |
22; 25 |
22; 25 |
22; 25 |
Трос 0 22; 025 |
5 (0,5) |
200 (20) |
28; 32 |
28; 32 |
28; 32 |
Трос 0 28; 0 32 |
5 (0,5) |
200 (20) |
28; 32 |
28; 32 |
28; 32 |
Трос 0 28; 032 |
5 (0,5) |
250 (25) |
28; 32 |
28; 32 |
28; 32 |
Трос 0 28; 032 |
5 (0,5) |
300 (30) |
35; 38 |
35; 38 |
35; 38 |
Трос 0 35; 038 |
5 (0,5) |
300 (30) |
35; 38 |
35; 38 |
35; 38 |
Трос 0 35; 038 |
5 (0,5) |
350 (35) |
35; 38 |
35; 38 |
35; 38 |
Трос 0 35; 038 |
5 (0,5) |
400 (40) |
Общий вид датчиков нагрузки ДН-130, ДН-130(А), ДН-130(Р) представлены
на рисунках 1, 2, 3.

Рисунок 1 - Общий вид датчика нагрузки ДН-130

Рисунок 2 - Общий вид датчика нагрузки ДН-130(A)

Рисунок 3 - Общий вид датчика нагрузки ДН-130(Р)
Пломбирование датчиков нагрузки ДН-130, ДН-130(А), ДН-130(Р) не предусмотрено. Знак поверки наносится на свидетельство о поверке.
Программное обеспечениеДатчики нагрузки ДН-130, ДН-130(А), ДН-130(Р) имеют встроенное ПО.
Уровень защиты программного обеспечения «высокий» в соответствии с Р 50.2.077-2014.
Идентификационные данные внутреннего программного обеспечения ДН-130, ДН-130(А) приведены в таблице 2, ДН-130(Р) в таблице 3.
Таблица 2 - Идентификационные данные внутреннего программного обеспечения ДН-130, ДН-130 (А)
Идентификационные данные (признаки) |
Значение |
Идентификационное наименование ПО |
DN 130 |
Номер версии (идентификационный номер) ПО |
не ниже 3.20 |
Цифровой идентификатор ПО |
по номеру версии |
Таблица 3 - Идентификационные данные внутреннего программного обеспечения ДН-130(Р)
Идентификационные данные (признаки) |
Значение |
Идентификационное наименование ПО |
DN 130R |
Номер версии (идентификационный номер) ПО |
не ниже 3.73 |
Цифровой идентификатор ПО |
по номеру версии |
Конструкция СИ исключает возможность несанкционированного влияния на ПО СИ и измерительную информацию.
Метрологические и технические характеристикиТаблица 4 - Метрологические характеристики датчики нагрузки ДН-130, ДН-130(А), ДН-130(Р)
Наименование характеристики |
Значение |
Диапазон измерений силы натяжения (нагрузки) на канате, кН (тс) |
от 5 (0,5) до 400 (40) |
Пределы допускаемой приведенной погрешности к ВПИ, % |
± 3,0 |
Цена деления выдаваемого в цифровом коде для индикации величины силы натяжения, кН (тс) |
1 (0,1) |
Диаметр каната, мм |
от 13 до 38 |
Таблица 5 - Технические
ДН-130, ДН-130(А), ДН-130(Р)
датчиков
Наименование характеристик |
Значение |
Напряжение питания датчика ДН-130, ДП-130(Л), В |
от 12 до 18 |
Напряжение питания датчика ДН-130(Р), В |
от 2,7 до 4,2 |
Максимальная потребляемая мощность, Вт, не более |
0,75 |
Таблица 6 - Габаритные размеры датчиков нагрузки ДН-130 в зависимости от диаметра каната
Диаметры каната датчиков нагрузки Д,Н-130, мм |
Длина, мм, не более, |
Ширина, мм, не более, |
Высота, мм, не более, |
13; 16;18 |
310 |
70 |
111 |
22; 25 |
420 |
83 |
124 |
28; 32 |
500 |
88 |
127 |
35; 38 |
540 |
100 |
140 |
Таблица 7 - Габаритные размеры датчика нагрузки ДН-130(А), в зависимости от диаметра каната
Диаметры каната датчика нагрузки ДН-130 (Л), мм |
Длина, мм, не более, |
Ширина, мм, не более, |
Высота, мм, не более, |
13; 16;18 |
310 |
70 |
132 |
22; 25 |
420 |
83 |
146 |
28; 32 |
500 |
88 |
147 |
35; 38 |
540 |
100 |
160 |
Таблица 8 - Габаритные размеры датчика нагрузки ДН-130(Р), в зависимости от диаметра каната
Диаметры каната датчика нагрузки ДН-130 (Р), (мм) |
Длина, мм, не более, |
Ширина, мм, не более, |
Высота, мм, не более, |
13; 16;18 |
312 |
70 |
133 |
22; 25 |
420 |
78 |
146 |
28; 32 |
500 |
90 |
148 |
35; 38 |
540 |
102 |
161 |
Таблица 9 - Масса датчика
ДН-130, в зависимости от
каната
Датчики нагрузки Д,Н-130 |
Масса, кг, не более |
13; 16;18 |
5,0 |
22; 25 |
8,0 |
28; 32 |
11,0 |
35; 38 |
15,5 |
Таблица 10 - Масса датчика
ДН-130 (А), в зависимости от
каната
Датчики нагрузки Д,Н-130(А) |
Масса, кг, не более |
13; 16;18 |
5,5 |
22; 25 |
8,5 |
28; 32 |
11,5 |
35; 38 |
16,0 |
Таблица 11 - Масса датчика
ДН-130(Р), в зависимости от
каната
Датчики нагрузки ДН-130 (Р) |
Масса, кг, не более |
13; 16;18 |
6,0 |
22; 25 |
9,0 |
28; 32 |
12,0 |
35; 38 |
15,5 |
Таблица 12 - Технические
ДН-130, ДН-130(А), ДН-130(Р)
датчиков
Наименование характеристик |
Значение |
Диапазон рабочих температур, °С |
от -45 до +65 |
Средний срок службы, лет, не менее |
10 |
Маркировка взрывозащиты ДН-130 |
1 Ех ib IIA T3 Gb |
наносится на титульный лист эксплуатационной документации и на табличку датчиков нагрузки ДН-130, ДН-130(А), ДН-130(Р), расположенную на его корпусе.
Способ нанесения знака утверждения типа на эксплуатационную документацию-типографский, на табличку датчиков нагрузки ДН-130, ДН-130(А), ДН-130(Р)-фотохимическое печатание (штемпелевание).
Комплектность средства измеренийТаблица 13 - Комплектность
№ п/п |
Наименование |
Обозначение |
Количество |
Примечание |
1 |
2 |
3 |
4 |
5 |
1 |
Датчик нагрузки ДН-130; Датчик нагрузки ДН-130(А); Датчик нагрузки ДН-130(Р) |
ПЛА140.201.018.000, ПЛА140.201.022.000, ПЛА140.201.028.000, ПЛА140.201.035.000, ПЛА140.201.218.000, ПЛА140.201.222.000, ПЛА140.201.228.000, ПЛА140.201.235.000, ПЛА140.201.518.000, ПЛА140.201.522.000, ПЛА140.201.528.000, ПЛА140.201.535.000 |
1 шт. |
Обозначение датчика в зависимости от диаметра каната |
2 |
Кабель связи |
ПЛА140.604.010.000 |
1 шт. |
по заказу |
3 |
Паспорт |
ПЛА140.201.000.000 ПС |
1 экз. | |
4 |
Руководство по эксплуатации (РЭ) |
ПЛА140.201.000.000 РЭ |
1 экз. | |
5 |
Методика поверки |
МП 140.201.000.2018 |
1 экз. | |
6 |
Преобразователь сигнала ПС-150Р или аналог |
ПЛА140.402.041.000 |
1 шт. |
по заказу |
7 |
Программное обеспечение для ПК |
ПЛА140.201.000.000 ПО |
1 экз. | |
8 |
Тара упаковочная |
ПЛА140.201.000.000 |
1 шт. |
Сведения о методиках (методах) измерений приведены в эксплуатационном документе.
Нормативные и технические документы устанавливающие требования к средству измеренийГОСТ 8.640-2014 Государственная поверочная схема для средств измерения силы;
ТУ 2651-100-56347017-2018 Датчики нагрузки ДН-130, ДН-130(А), ДН-130(Р). Технические условия.
ИзготовительОбщество с ограниченной ответственностью Научно-производственное предприятие «Петролайн-А» (ООО НПП «Петролайн-А»)
ИНН 1650081440
Адрес: 423801, Республика Татарстан, г. Набережные Челны, ул. Лермонтова, д. 53А Юридический адрес: 420087, Республика Татарстан, г.о. Город Казань, г. Казань, ул. Карбышева, д. 2, помещ. 1002
Почтовый адрес: 423801, г. Набережные Челны, а/я 23
Тел./факс: (8552) 535-535
Е-mail: main@pla.ru
Испытательный центрФедеральное бюджетное учреждение «Государственный региональный центр стандартизации, метрологии и испытаний в Республике Татарстан» (ФБУ «ЦСМ Татарстан»)
Адрес: 420029 г. Казань, ул. Журналистов, д. 24
Тел./факс: (843) 279-56-35, (843) 291-08-33
Е-mail: tatcsm@tatcsm.ru
Уникальный номер записи в реестре аккредитованных лиц № RA.RU.310659.
УТВЕРЖДЕНО приказом Федерального агентства по техническому регулированию и метрологии от «19» июня 2025 г. № 1226
Лист № 1
Всего листов 7
Регистрационный № 79107-20
ОПИСАНИЕ ТИПА СРЕДСТВА ИЗМЕРЕНИЙ
Датчики температуры ТСПТ-Б, ТСПТ-Б Ex
Назначение средства измеренийДатчики температуры ТСПТ-Б, ТСПТ-Б Ex (далее - датчики температуры) предназначены для измерений температуры твердых тел, подшипников, обмоток электрических машин, генераторов, трансформаторов, а также жидких и газообразных сред, неагрессивных к материалу защитного корпуса, в условиях ограниченного доступа к конструкциям изделий, в составе которых они используются.
Описание средства измеренийПринцип работы датчиков температуры основан на изменении электрического сопротивления термочувствительного элемента от температуры.
Датчики температуры состоят из одного или нескольких конструктивно связанных, первичных преобразователей температуры, защитного корпуса с монтажными элементами или без них и коммутационных устройств в виде коробки, клеммной головки, разъема или кабеля.
Чувствительный элемент (ЧЭ) первичного преобразователя выполнен из металлической проволоки бифилярной намотки или пленки, нанесенной на диэлектрическую подложку в виде меандра. ЧЭ имеет выводы для крепления соединительных проводов и известную зависимость электрического сопротивления от температуры.
Для защиты от механических воздействий ЧЭ помещен в защитный корпус.
Номинальная статическая характеристика (НСХ) датчиков температуры ТСПТ-Б, ТСПТ-Б Ex в соответствии с ГОСТ 6651-2009 (МЭК 60751).
После установки датчиков температуры на изделия, в составе которых они применяются, их дальнейший демонтаж невозможен в связи с особенностями их применения и конструкции.
схема обозначения датчиков температуры ТСПТ-Б, ТСПТ-Б Ex
Модификации и представлены в таблице 1.
в виде цифрового кода, состоящего из арабских цифр, наносится наклейку, распложенную на корпусе клеммной головки
Заводской номер на информационную или удлинительном проводе датчика температуры. Нанесение знака поверки на датчик температуры не предусмотрено его конструкцией.
Фотографии общего вида модификаций датчиков температуры приведены на рисунке 1. Фотография места нанесения заводского номера приведена на рисунке 2.
Таблица 1
I ТСПТ-Б
Ех(х) |
- ххх - ххх |
- х ххх - х |
х - ххх - 1 х 1 - 1 х \/х |
2 3 4 56 78 9 10 11 , 2 | |||
№ поля |
Описание поля |
Код поля |
Расшифровка |
1 |
Тип датчика |
ТСПТ-Б |
Тип |
2 |
Вид взрывозащиты |
Не заполнено |
Общепромышленное исполнение |
ExCk) |
Взрывозащищенное исполнение (согласно технической документации изготовителя) | ||
3 |
Конструктивная модификация |
106 |
Датчики с клеммными головками |
202, 205, 206, 300, 301, 302, 306, 311 |
Датчики с удлинительными проводами | ||
106К, 202К, 205К, 206К, 300К |
Датчики с удлинительными проводами и клеммными головками криогенного исполнения | ||
4 |
Узел коммутации |
001 - 007 |
Разъемы |
010 - 039 |
Клеммные головки | ||
050 - 085 |
Удлинительные провода с оболочками из: фторопласта, силикона, стеклонити. С внутренним и наружным экранами в различном сочетании | ||
120 - 149 |
Клеммные коробки | ||
250 - 285; 450 - 485 |
Удлинительные провода с установленными разъемами типов 002, 004 | ||
5 |
Количество ЧЭ |
Не заполнено |
Один ЧЭ |
n |
n ЧЭ | ||
6 |
НСХ |
50П, 100П, Pt100, Pt500, Pt1000 |
НСХ по ГОСТ 6651-2009 |
7 |
Класс допуска первичного преобразователя |
А, В, С |
Класс допуска по ГОСТ 66512009, подробнее см. таблицу 2 |
8 |
Схема соединения |
2, 3, 4 |
2-х, 3-х, 4-х проводная |
9 |
Материал наружной оболочки |
Согласно технической документации изготовителя. | |
10 |
Наружный диаметр рабочей части, мм | ||
11 |
Монтажная длина датчика, мм | ||
12 |
В спомогательный размер, мм |


Конструктивная модификация 202, 202К
Конструктивная модификация 205, 205К



Конструктивная модификация 301
Конструктивная модификация 300, 300К

Конструктивная модификация 302


Конструктивная модификация 306

Конструктивная модификация 311

Конструктивная модификация 106, 106К
Рисунок 1 - Общий вид датчиков температуры

Место нанесения заводского номера
Рисунок 2 - Место нанесения заводского номера
Пломбирование датчиков не предусмотрено.
Метрологические и технические характеристики
Метрологические характеристики датчиков температуры приведены в таблице 2.
Таблица 2
Тип датчика температуры |
Конструктивная модификация |
Класс допуска |
Диапазон измерений (1), °С |
Пределы допускаемых отклонений от НСХ, °С |
Дрейф за средний срок службы (25 лет), °С |
ТСПТ-Б, ТСПТ-Б Ex |
106, 202, 205, 206, 300, 301, 302, 306, 311 |
A |
от -60 до +180 |
±(0,15+0,002-|t|) |
±(0,4+0,002^|t|) |
B |
от -60 до +200 |
±(0,3+0,005-|t|) | |||
C |
от -60 до +200 |
±(0,6+0,01-|t|) | |||
106К, 202К, 205К, 206К, 300К |
A |
от -100 до +180 |
±(0,15+0,002-|t|) | ||
B |
от -196 до +200 |
±(0,3+0,005-|t|) | |||
C |
от -196 до +200 |
±(0,6+0,01-|t|) |
Примечания:
-
(1) - Указаны предельные значения. Конкретный диапазон в зависимости
от конструктивной модификации указан в паспорте и в маркировке датчика температуры.
Itl - Абсолютное значение температуры, °С, без учета знака.
Основные технические характеристики датчиков температуры приведены в таблице 3.
Таблица 3
Наименование характеристики |
Значение |
Электрическое сопротивление изоляции при температуре от +15 до +35 °С и относительной влажности воздуха от 30 до 80 %, МОм, не менее |
100 |
Время термической реакции Т0,63 при скорости потока 0,4 ± 0,1 м/с, с |
от 6 до 30(1) |
Диаметр монтажной части, мм |
от 3 до 20 |
Длина монтажной части, мм |
от 20 до 200000 |
Масса, г |
от 3 до 20000 |
Рабочие условия эксплуатации для датчиков:
|
от -60 до +200(4) от -60 до +135(4) 98 |
Степень защиты оболочки по ГОСТ 14254-2015 (МЭК 60529:2013) |
IP40, IP55, IP65, IP66, IP68(2) |
Устойчивость к воздействию синусоидальной вибрации согласно ГОСТ Р 52931-2008 |
от L1 до F3(3) |
Группа механического исполнения по ГОСТ 30631-99, по ГОСТ 17516.1-90 |
М1, М2, М4, М5, М6, М7, М11, М27, М36, М37, М41 (3) |
Сейсмостойкость согласно ГОСТ 30546.1-98 |
9 баллов по шкале MSK-64 |
Вероятность безотказной работы |
0,6 за 216 000 ч |
Наименование характеристики |
Значение |
Средний срок службы, лет |
25 |
Примечания:
-
(1) - В зависимости от диаметра наружной части датчика.
-
(2) - В зависимости от конструктивной модификации. Конкретная степень указывается в паспорте датчика.
-
(3) - В зависимости от конструктивной модификации. Конкретная группа указывается в паспорте датчика.
-
(4) - Указан максимальный диапазон. Для конкретных модификаций условия указываются в эксплуатационной документации.
наносится на титульный лист эксплуатационной документации типографским способом (в правом верхнем углу), а также на корпус датчика температуры при помощи наклейки.
Комплектность средства измеренийТаблица 4 - Комплектность средства измерений
Наименование |
Обозначение |
Кол-во |
Датчик температуры |
ТСПТ-Б или ТСПТ-Б Ex (обозначение модификации - в соответствии с заказом) |
1 шт. |
Паспорт |
ЮНКЖ 400520.003 ПС |
1 экз. |
Руководство по эксплуатации |
ЮНКЖ.405211.001 РЭ |
1 экз.(1) |
Примечание: (1) - на партию датчиков температуры, поставляемых в один адрес. |
Сведения о методиках (методах) измерений приведены в разделе 2 Руководства по эксплуатации.
Нормативные документы, устанавливающие требования к средству измеренийГОСТ 6651-2009 ГСИ. Термопреобразователи сопротивления из платины, меди и никеля. Общие технические требования и методы испытаний;
ГОСТ Р 52931-2008 Приборы контроля и регулирования технологических процессов. Общие технические условия;
Приказ Федерального агентства по техническому регулированию и метрологии от 23 декабря 2022 г. № 3253 «Об утверждении Государственной поверочной схемы для средств измерений температуры»;
ЮНКЖ.405211.001 ТУ «Датчики температуры ТСПТ-Б, ТСПТ-Б Ex. Технические условия».
ИзготовительОбщество с ограниченной ответственностью «Производственная компания «ТЕСЕЙ» (ООО «ПК «ТЕСЕЙ»)
ИНН 4025016433
Юридический адрес: 249034, Калужская обл., г. Обнинск, пр-кт Ленина, д. 144, оф. 72 Тел./факс: +7 (48439) 9-37-41, 9-37-42, 9-37-43
E-mail: zakaz@tesey.com
Web-сайт:www.tesey.com
Испытательный центр
Федеральное государственное бюджетное учреждение «Всероссийский научно-исследовательский институт метрологической службы» (ФГБУ «ВНИИМС») Адрес: 119361, г. Москва, вн. тер. г. муниципальный округ Очаково-Матвеевское, ул. Озерная, д. 46
Телефон/факс: +7 (495) 437-55-77 / (495) 437-56-66
E-mail: office@vniims.ru
Web-сайт: www.vniims.ru
Уникальный номер записи в реестре аккредитованных лиц № 30004-13.
УТВЕРЖДЕНО приказом Федерального агентства по техническому регулированию и метрологии от «19» июня 2025 г. № 1226
Лист № 1
Всего листов 9
Регистрационный № 61041-15
ОПИСАНИЕ ТИПА СРЕДСТВА ИЗМЕРЕНИЙ
Манометры электронные для точных измерений МТИ-100
Назначение средства измеренийМанометры электронные для точных измерений МТИ-100 (далее по тексту - МТИ или манометры) предназначены для измерений значений абсолютного давления, избыточного давления, разности давлений жидкостей и газов, а также избыточного давления-разрежения газов и гидростатического давления.
Описание средства измеренийПринцип действия МТИ основан на использовании зависимости между измеряемым давлением и упругой деформацией мембраны первичного преобразователя. Таким образом, МТИ относятся к манометрам прямого действия.
МТИ изготавливаются в виде единой конструкции. В их состав входят: первичный преобразователь, электронное устройство, жидкокристаллический индикатор (ЖК-индикатор). Измеряемая среда подается в приемную камеру первичного преобразователя через стандартный штуцер, под действием давления происходит деформация измерительной мембраны, что приводит к изменению электрического сопротивления напыленных (или вытравленных) на кремниевой подложке тензорезисторов, в результате чего формируется сигнал, пропорциональный давлению. Микропроцессорный модуль рассчитывает текущее значение измеренного сигнала, производит масштабирование, выводит информацию на ЖК-индикатор, осуществляет опрос клавиатуры.
Просмотр и изменение параметров конфигурации МТИ производится посредством кнопочной клавиатуры. Индикация значений измеряемых величин и параметров конфигурации происходит на многофункциональном индикаторе. Измеренные значения отображаются одновременно на четырехразрядном цифровом индикаторе и в виде дискретной графической шкалы с указанием положения меток относительно диапазона измерений. Также на индикаторе отображаются единицы измерений. Конструкция МТИ позволяет оснащать их разделителями сред штуцерного или фланцевого исполнений, в том числе с применением капиллярных линий.
В зависимости от возможности перестройки диапазона измерений МТИ являются многопредельными, перенастраиваемыми.
Обозначение МТИ в зависимости от измеряемого давления:
-
- МТИ-100-ДА - манометры абсолютного давления;
-
- МТИ-100-ДИ - манометры избыточного давления;
-
- МТИ-100-ДИВ - манометры избыточного давления-разрежения;
-
- МТИ-100-ДД - манометры разности давлений;
-
- МТИ-100-ДГ - манометры гидростатического давления.
МТИ изготавливаются в следующих модификациях: МТИ-100И, МТИ-100/М1, МТИ-100/М2, МТИ-100/М2НГ, МТИ-100/М3, МТИ-100/М4, МТИ-100/М4НГ, различающихся по конструктивному исполнению. Индекс «И» в модификации МТИ-100И обозначает
конструктивные особенности в дизайне корпуса внешнего вида, позволяющие устанавливать МТИ-100И в поверочные стенды и панели. Индекс «НГ» в модификациях МТИ-100/М2НГ и МТИ-100/М4НГ обозначает, что корпуса указанных манометров выполнены из коррозионностойкой стали. МТИ имеют исполнения: общепромышленное (МТИ-100И, МТИ-100/М1, МТИ-100/М2, МТИ-100/М2НГ, МТИ-100/М3, МТИ-100/М4, МТИ-100/М4НГ), атомное (повышенной надежности) для эксплуатации на объектах АС и ОЯТЦ (МТИ-100А/М1, МТИ-100А/М2, МТИ-100А/М2НГ, МТИ-100А/М3, МТИ-100А/М4, МТИ-100А/М4НГ),
взрывозащищенное с видом взрывозащиты «искробезопасная электрическая цепь» (МТИ-100Ех/М1, МТИ-100Ех/М2, МТИ-100Ех/М2НГ, МТИ-100Ех/М3, МТИ-100Ех/М4,
МТИ-100Ех/М4НГ).
В МТИ-100/М2 предусмотрена возможность наличия выходного унифицированного сигнала постоянного тока от 4 до 20 мА и напряжения от 0,4 до 2 В, от 0,8 до 3,2 В, от 0,5 до 4,5 В и от 1 до 5 В.
Фотографии общего вида манометров представлены на рисунке 1.
Схема пломбировки от несанкционированного доступа представлена на рисунке 2. Заводской номер нанесен на табличку, прикрепленную к корпусу манометров.

МТИ-100/М1
МТИ-100/М2
МТИ-100/М3
МТИ-100/М4

МТИ-100/М2НГ
МТИ-100/М4НГ

:| ,1
МТИ-100/М2НГ

МТИ-100/М4
w4Bi
МТИ-100/М4НГ

Внешний вид электронного блока

МТИ-100/М2НГ
МТИ-100/М2НГ
МТИ-100/М2НГ
МТИ-100/М4НГ
МТИ-100/М4НГ

МТИ-100/М2НГ

МТИ-100/М2НГ
МТИ-100/М2НГ

Варианты присоединения к процессу


Рисунок 1 - Общий вид манометров электронных для точных измерений МТИ-100


Рисунок 2 - Схема пломбировки от несанкционированного доступа
В МТИ предусмотрено внутреннее и внешнее программное обеспечение (ПО).
Программное обеспечение, встроенное в микропроцессорный модуль МТИ, включает метрологически значимую часть, которая является фиксированной, незагружаемой и может быть изменена только на предприятии-изготовителе.
Уровень защиты внутреннего ПО от преднамеренного и непреднамеренного доступа соответствует уровню «высокий» по рекомендации по метрологии Р 50.2.077-2014 - данное ПО защищено от преднамеренных изменений с помощью специальных программных средств.
Внешнее ПО, предназначенное для взаимодействия МТИ с компьютером, не оказывает влияния на метрологические характеристики МТИ.
Таблица 1 -
обеспечения
данные
Идентификационные данные (признаки) |
Значение |
Идентификационное наименование ПО |
MTI-100MX PICI8F26K20 v 8 4x.hex |
Номер версии (идентификационный номер) ПО |
8.4Х |
Цифровой идентификатор ПО |
- |
Таблица 2 - Идентификационные данные внешнего программного обеспечения
Идентификационные данные (признаки) |
Значение | ||
Идентификационное наименование ПО |
DataVi ewStudio 2014 Install.exe |
DataView Studio.exe |
ElemerData Viewer.exe |
Номер версии (идентификационный номер) ПО |
1.1Х |
1.1Х |
1.1.Х |
Цифровой идентификатор ПО |
- |
В идентификационных номерах внутреннего и внешнего программных обеспечений фиксированные цифры отвечают за метрологически значимую часть и являются неизменными.
Метрологические и технические характеристикиМетрологические и основные технические характеристики датчиков давления приведены в таблицах 3 и 4.
Таблица 3 -
Наименование характеристики |
Значение |
Верхние пределы измерений (диапазоны измерений), МПа 1) 2) избыточного давления абсолютного давления давления-разрежения:
|
от 0,001 до 100 от 0,016 до 2,5 от 0,000125 до 0,05 от 0,06 до 2,4 до 0,1 от 0,00025 до 2,5 от 0,016 до 0,25 |
Выходной унифицированный сигнал для МТИ-100/М2:
|
от 4 до 20 от 0,4 до 2; от 0,8 до 3,2 от 0,5 до 4,5; от 1 до 5 |
Пределы допускаемой основной приведенной погрешности, у, % (от диапазона измерений, установленного пользователем) 1) 3) |
±(0,05+0,05-Pbmax/Pb+*) ±(0,1+0,1-Pbmax/Pb+*) ±(0,2+0,2-Pbmax/Pb+*) ±(0,3+0,3-Pbmax/Pb+*) |
Пределы допускаемой основной приведенной погрешности разделителя сред, % Рв 1) 3) |
±0,1; +0,15; ±0,2; ±0,25; ±0,4; ±0,5; ±0,6; ±1,0; ±1,5 |
Пределы допускаемой основной приведенной погрешности разделителя сред с капиллярной линией, % PB 1) 3) |
±0,1; ±0,15; ±0,2; ±0,25; ±0,4; ±0,5; ±0,6; ±1,0; ±1,5; ±2,0; ±2,5 |
Пределы допускаемой дополнительной погрешности при преобразовании цифрового сигнала в выходной унифицированный сигнал, уА, % |
±0,1 |
Вариация выходного сигнала, % |
0,5 IyI |
Пределы допускаемой дополнительной погрешности, вызванной отклонением температуры окружающего воздуха от нормальной, на каждые 10 °С, % 1) 3) |
±0,1-Pbmax/Pb ±0,2-Pbmax/Pb ±0,3-Pbmax/Pb |
Наименование характеристики |
Значение |
Пределы дополнительной приведенной погрешности, вносимой разделителем сред, вызванной отклонением температуры окружающего воздуха от нормальной, % Pb /10 °С 1) |
±0,1; ±0,15; ±0,2; ±0,25; +0,3; ±0,35; ±0,45; ±0,5; ±0,6; ±0,75; ±1,0; ±1,5 |
Пределы дополнительной приведенной погрешности, вносимой разделителем сред с капиллярной линией, вызванной отклонением температуры окружающего воздуха от нормальной, % Pb /10 °С 1) |
±0,15; ±0,2; ±0,25; +0,3; ±0,35; ±0,45; ±0,5; ±0,6; ±0,75; ±1,0; ±1,5; ±2,0; ±2,5 |
Нормальные условия измерений:
|
от +21 до +25 от 30 до 80 от 84,0 до 106,7 |
Примечания
PB - верхний предел или диапазон измерений, установленный пользователем (диапазон шкального индикатора). Диапазон, установленный пользователем, находится внутри диапазона измерений или равен ему. Минимальный диапазон, установленный пользователем, равен PBMAX/10. * - 0,5 единицы последнего разряда, выраженные в процентах от PB при считывании показаний с индикатора. |
Таблица 4 - Основные технические характеристики
Наименование характеристики |
Значение |
Параметры электрического питания: напряжение постоянного электрического тока, В 1) | |
- МТИ-100/М1, МТИ-100/М2, МТИ-100/М2НГ, МТИ-100/М3, | |
МТИ-100/М4, МТИ-100/М4НГ от элементов питания |
от 4,5 до 11,0 |
- МТИ-100/М2, МТИ-100/М2НГ с аналоговым выходным сигналом | |
«токовая петля» от внешнего источника питания постоянного тока |
от 14 до 42 |
- МТИ-100/М2, МТИ-100/М2НГ с аналоговым выходным сигналом по | |
напряжению от внешнего источника питания постоянного тока |
от 6 до 13 |
- МТИ-100И от внешнего источника питания постоянного тока |
5 |
Габаритные размеры (диаметрхдлина), мм, не более: | |
- МТИ-100/М1 |
120x208 |
- МТИ-100/М2, МТИ-100/М4 |
120x270 |
- МТИ-100/М2НГ, МТИ-100/М4НГ |
125x270 |
- МТИ-100/М3 |
95x165 |
- МТИ-100И |
75x110 |
Условия эксплуатации: | |
- температура окружающей среды, °С 1) |
от +5 до +50 от -5 до +50 от -10 до +50 от -25 до +70 от -40 до +70 |
- относительная влажность, %, не более |
98 |
- атмосферное давление, кПа |
от 84,0 до 106,7 |
Средний срок службы, лет, не менее 2) |
15 (30) |
Средняя наработка на отказ, ч, не менее 2) |
150000(250000) |
Маркировки взрывозащиты |
0ExiaIIBT6 X |
Наименование характеристики
Значение
Примечания
1) Конкретное значение приведено в паспорте на манометр.
2) Не распространяется на элементы питания.
Знак утверждения типананосится на переднюю панель манометров термотрансферным способом, а также на руководство по эксплуатации и паспорт - типографским способом.
Комплектность средств измеренийКомплектность манометров представлена в таблице 5.
Таблица 5 - Комплектность
Наименование |
Обозначение |
Количество |
Манометр электронный для точных измерений 1) |
НКГЖ.406233.058-ХХХ 2) |
1 шт. |
Комплект программного обеспечения 1) |
- |
1 шт. |
Комплект монтажных частей 1) |
- |
1 шт. |
Руководство по эксплуатации |
НКГЖ.406233.058-ХХХРЭ 2) |
1 экз. на партию |
Паспорт |
НКГЖ.406233.058-ХХХПС 2) |
1 экз. |
Методика поверки (с Изменениями № 3) |
- |
1 экз. на партию |
Инструкция по техническому обслуживанию и ремонту для МТИ-100А |
НКГЖ.406233.058ИТР |
1 экз. на партию |
План качества для МТИ-100А класса безопасности 2 и 3 по НП-001, НП-016, НП-022, НП-033, ПОБ КПРУ-98 |
- |
1 экз. на партию |
|
Сведения о методиках (методах) измерений приведены в п. 3.2 руководства по эксплуатации.
Нормативные и технические документы, устанавливающие требования к манометрам электронным для точных измерений МТИ-100ГОСТ Р 8.906-2015 «ГСИ. Манометры показывающие. Эталонные средства измерений. Метрологические требования и методы испытаний»;
ГОСТ 22520-85 «Датчики давления, разрежения и разности давлений с электрическими аналоговыми выходными сигналами ГСП. Общие технические условия»;
Приказ Федерального агентства по техническому от 29 июня 2018 г. № 1339 «Государственная поверочная избыточного давления до 4000 МПа»;
Приказ Федерального агентства по техническому от 6 декабря 2019 г. № 2900 «Государственная поверочная абсолютного давления в диапазоне 1-10-1 - 1^107 Па»;
регулированию и метрологии схема для средств измерений регулированию и метрологии схема для средств измерений
Приказ Федерального агентства по техническому регулированию от 31 августа 2021 г. № 1904 «Государственная поверочная схема для средств измерений разности давлений до 1^105 Па»;
ТУ 4212-128-13282997-2015. «Манометры электронные для точных измерений МТИ-100. Технические условия».
ИзготовительОбщество с ограниченной ответственностью Научно-производственное предприятие «ЭЛЕМЕР» (ООО НПП «ЭЛЕМЕР»)
ИНН 5044003551
Юридический адрес: 124489, г. Москва, г. Зеленоград, пр-д 4807-й, д. 7, стр. 1 Телефон: +7 (495) 988-48-55
E-mail: elemer@elemer.ru
Web-сайт: www.elemer.ru
Испытательный центрФедеральное государственное бюджетное учреждение «Всероссийский научно-исследовательский институт метрологической службы» (ФГБУ «ВНИИМС») Адрес: 119361, г. Москва, ул. Озерная, д. 46
Телефон: +7 (495) 437-55-77, факс: +7 (495) 437-56-66
E-mail: office@vniims.ru
Web-сайт: www.vniims.ru
Уникальный номер записи в реестре аккредитованных лиц № 30004-13.
УТВЕРЖДЕНО приказом Федерального агентства по техническому регулированию и метрологии от «19» июня 2025 г. № 1226
Лист № 1
Всего листов 5
Регистрационный № 62721-20
ОПИСАНИЕ ТИПА СРЕДСТВА ИЗМЕРЕНИЙ
Полуприцепы-цистерны 914210
Назначение средства измеренийПолуприцепы-цистерны 914210 (далее - ППЦ) предназначены для измерений объема нефтепродуктов плотностью от 700 до 860 кг/м3.
Описание средства измеренийПринцип действия ППЦ основан на заполнении их нефтепродуктом до указателя уровня налива, соответствующего определенному объему нефтепродукта. Слив нефтепродукта производится самотеком или через насос.
ППЦ состоят из стальной сварной цистерны переменного сечения круглой формы, установленной на шасси. Цистерна состоит из герметичных секций. Каждая секция является транспортной мерой полной вместимости (далее - ТМ). Внутри секций могут располагаться перегородки-волнорезы с отверстиями. Каждая секция горловиной с установленным указателем уровня налива. находится в горловине или полости цистерны.
цистерны оборудована заливной Планка указателя уровня налива
для операций налива-слива
Технологическое оборудование предназначено нефтепродуктов и включает в себя:
-
- горловину с указателем уровня;
-
- съемную крышку горловины с заливным люком и дыхательным клапаном;
-
- клапан донный;
-
- кран шаровой;
-
- рукава напорно-всасывающие;
-
- насос, датчик уровня, оборудование для нижнего налива по дополнительному заказу.
ППЦ имеют модификации 914210/20, 914210/23, 914210/25, 914210/28, 914210/30, 914210/32, 914210/33, 914210/35, 914210/38, 914210/40, 914210/45 и 914210/50, которые отличаются геометрическими размерами и номинальной вместимостью.
На боковых сторонах и сзади ППЦ имеют надпись: «ОГНЕОПАСНО» и знаки с информационными табличками для обозначения транспортного средства, перевозящего опасный груз.
Общий вид ППЦ представлен на рисунке 1.

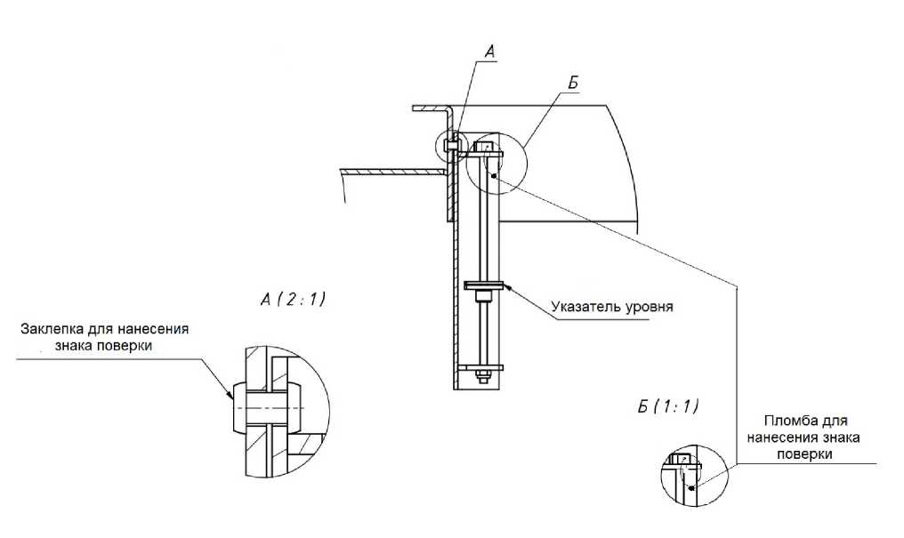
Рисунок 1 - Общий вид полуприцепа-цистерны 914210
Схема пломбировки для защиты указателя уровня налива, обозначение на рисунках 2, 3 и 4.
от несанкционированного изменения положения места нанесения знака поверки представлены

I

Место для иаиесеиия
зпака поверки

Рисунок 3 - Схема пломбировки от несанкционированного изменения положения указателя уровня налива в горловине цистерны, обозначение места нанесения знака поверки
Рисунок 2 - Схема пломбировки от несанкционированного изменения положения указателя уровня налива в полости цистерны, обозначение места нанесения знака поверки


Рисунок 4 - Схема пломбировки от несанкционированного изменения положения регулируемого указателя уровня налива, обозначение места нанесения знака поверки
Программное обеспечение отсутствует.
Метрологические и технические характеристикиТаблица 1 - Метрологические характеристики
Наименование характеристики |
Значение | |||
914210/20 |
914210/23 |
914210/25 |
914210/28 | |
Номинальная вместимость, дм3 |
20000 |
23000 |
25000 |
28000 |
Таблица 2 - Метрологические характеристики
Наименование характеристики |
Значение | |||
914210/30 |
914210/32 |
914210/33 |
914210/35 | |
Номинальная вместимость, дм3 |
30000 |
32000 |
33000 |
35000 |
Таблица 3 -
Наименование характеристики |
Значение | |||
914210/38 |
914210/40 |
914210/45 |
914210/50 | |
Номинальная вместимость, дм3 |
38000 |
40000 |
45000 |
50000 |
Таблица 4 -
Наименование характеристики |
Значение |
Пределы допускаемой относительной погрешности ТМ, % |
±0,4 |
Разность между номинальной и действительной вместимостью ТМ, %, не более |
±1,5 |
Таблица 5 - Основные технические характеристики
Наименование характеристики |
Значение | |||
914210/20 |
914210/23 |
914210/25 |
914210/28 | |
Снаряженная масса, кг, не более |
9000 |
9000 |
9000 |
9000 |
Длина, мм, не более |
13000 |
13000 |
13000 |
13000 |
Ширина, мм, не более |
2550 |
2550 |
2550 |
2550 |
Высота, мм, не более |
4000 |
4000 |
4000 |
4000 |
Таблица 6 - Основные технические
Наименование характеристики |
Значение | |||
914210/30 |
914210/32 |
914210/33 |
914210/35 | |
Снаряженная масса, кг, не более |
9000 |
9000 |
9000 |
9000 |
Длина, мм, не более |
13000 |
13000 |
13000 |
13000 |
Ширина, мм, не более |
2550 |
2550 |
2550 |
2550 |
Высота, мм, не более |
4000 |
4000 |
4000 |
4000 |
Таблица 7 - Основные технические
Наименование характеристики |
Значение | |||
914210/38 |
914210/40 |
914210/45 |
914210/50 | |
Снаряженная масса, кг, не более |
9000 |
10000 |
10000 |
11000 |
Длина, мм, не более |
13000 |
13000 |
14500 |
16000 |
Ширина, мм, не более |
2550 |
2550 |
2550 |
2550 |
Высота, мм, не более |
4000 |
4000 |
4000 |
4000 |
Таблица 8 - Основные технические характеристики
Наименование характеристики |
Значение |
Температура окружающей среды при эксплуатации, °С |
от -45 до +40 |
наносится на информационную табличку, установленную на раме с правой стороны по ходу движения, методом гравировки и на титульный лист руководства по эксплуатации печатным способом.
Комплектность средства измеренийТаблица 9 - Комплектность
Комплектующие |
Обозначение |
Количество |
Полуприцеп-цистерна |
914210/ХХ |
1 шт. |
Запасные части, инструменты и принадлежности |
1 шт. | |
Руководство по эксплуатации |
1 экз. |
Сведения о методиках (методах) измерений приведены в эксплуатационном документе.
Нормативные и технические документы, устанавливающие требования к полуприцепам-цистернам 914210Приказ Росстандарта от 7 февраля 2018 г. № 256 «Об утверждении Государственной поверочной схемы для средств измерений массы и объема жидкости в потоке, объема жидкости и вместимости при статических измерениях, массового и объемного расходов жидкости»;
ТУ 29.20.23-002-24235179-2020 Полуприцепы-цистерны для перевозки светлых нефтепродуктов 914210, 914211 Технические условия.
ИзготовительОбщество с ограниченной ответственностью «БОНУМ» (ООО «БОНУМ») ИНН 6141046070
Юридический адрес: 344091, Ростовская обл., г.о. Ростов-на-Дону, г. Ростов-на-Дону, ул.
Пескова, зд. 1, стр. 1 Телефон/факс: +7 (863) 310-01-23 E-mail: info@bonum-trailer.ru
Испытательный центрФедеральное государственное унитарное предприятие «Всероссийский научно-исследовательский институт метрологической службы» (ФГУП «ВНИИМС») Адрес: 119361, г. Москва, ул. Озерная, д. 46
Телефон/факс: +7 (495) 437-55-77 / 437-56-66
E-mail: office@vniims.ru
Web-сайт: http://www.vniims.ru
Уникальный номер записи в реестре аккредитованных лиц № 30004-13.
УТВЕРЖДЕНО приказом Федерального агентства по техническому регулированию и метрологии от «19» июня 2025 г. № 1226
Лист № 1
Всего листов 7
преобразователи)
Регистрационный № 69007-17
ОПИСАНИЕ ТИПА СРЕДСТВА ИЗМЕРЕНИЙ
Преобразователи давления ТП-140Д, ТП-140Д(М)
Назначение средства измеренийПреобразователи давления ТП-140Д, ТП-140Д(М) (далее предназначены для измерений избыточного давления различных сред.
Описание средства измеренийПринцип действия преобразователей основан на использовании зависимости между величиной измеряемого давления и величиной упругой деформации чувствительного элемента, на котором расположен тензометрический мост, в измерительной диагонали которого возникает аналоговый электрический сигнал, пропорциональный величине измеряемого давления.
Преобразователи состоят из стального корпуса цилиндрической формы со встроенным тензометрическим мостом, источника опорного напряжения, микроконтроллера, преобразователя величины измеренного значения давления из аналогового электрического сигнала в цифровой код для передачи по линии связи или дальнейшего использования в системе автоматизированного управления технологическим процессом.
Преобразователи выпускаются в следующих модификациях: ТП-140Д, ТП-140Д(М), ТП-140Д(МА), ТП-140Д(Р), ТП-140Д(РМ), ТП-140Д(2Р), ТП-140Д(4Р) которые различаются по конструктивному исполнению. Преобразователь давления ТП-140Д, ТП-140Д(Р) устанавливается на трубопровод через переходной штуцер и имеет присоединительный резьбовой штуцер требуемого размера (по умолчанию М20х1,5), модификация ТП-140Д(М), ТП-140Д(МА), ТП-140Д(РМ) имеет возможность установки на трубопровод без разделителя сред, посредством быстроразъемного соединения требуемого размера (по умолчанию БРС 2 дюйма). Преобразователи давления ТП-140Д(2Р) имеет два отверстия, а ТП-140Д(4Р) имеет четыре отверстия с резьбой под штуцера шлангов высокого давления для подключения к гидравлической системе.
Передача данных преобразователей давления ТП-140Д, ТП-140Д(М), ТП-140Д(МА) осуществляется по кабелю связи по интерфейсу RS-485 с использованием стандартного протокола MODBUS, модификация ТП-140Д(МА) так же имеет аналоговый выходной сигнал постоянного тока. Передача данных преобразователей давления ТП-140Д(Р), ТП-140Д(РМ), ТП-140Д(2Р), ТП-140Д(4Р) осуществляется по радиоканалу.
Общий вид преобразователей представлен на рисунках 1 - 7.




Рисунок 1 - |
Рисунок 2 - |
Рисунок 3 - |
Рисунок 4 - |
Общий вид |
Общий вид |
Общий вид |
Общий вид |
преобразователей |
преобразователей |
преобразователей |
преобразователей |
давления ТП-140Д |
давления ТП-140Д(М) |
давления |
давления |
ТП-140Д(МА) |
ТП-140Д(Р) |



Рисунок 5 - |
Рисунок 6 - |
Рисунок 7 - |
Общий вид |
Общий вид |
Общий вид |
преобразователей |
преобразователей |
преобразователей |
давления ТП- |
давления ТП-140Д(2Р) |
давления |
140Д(РМ) |
ТП-140Д(4Р) |
Для защиты от несанкционированного доступа преобразователи могут пломбироваться путем окрашивания винта крепления крышки преобразователя.
Пример пломбирования преобразователя приведен на рисунке 8.
Заводской номер наносится на табличку, прикрепленную на корпусе преобразователя методом ударного клеймения или лазерной гравировкой.
Изображение таблички с местом нанесения заводского номера представлено на рисунке 9.
Конструкция средства измерений не предусматривает нанесение знака поверки на средство измерений.

Винт крепления крышки датчика
Рисунок 8 - Схема пломбирования преобразователей от несанкционированного доступа

Рисунок 9 - Место нанесения заводского номера преобразователей
Программное обеспечениеПреобразователи имеют внутреннее, метрологически значимое, и автономное программное обеспечение. Внутреннее ПО встроенного микроконтроллера является фиксированным, незагружаемым и может быть изменено только на предприятии-изготовителе.
Уровень защиты внутреннего ПО от преднамеренного и непреднамеренного доступа соответствует уровню «высокий» согласно рекомендации по метрологии Р 50.2.077-2014.
Не требуется специальных средств защиты, исключающих возможность несанкционированной модификации, обновления (загрузки), удаления и иных преднамеренных изменений метрологически значимой встроенной части ПО СИ и измеренных данных.
Таблица 1 - Идентификационные данные внутреннего программного обеспечения
Идентификационные данные (признаки) |
Значение |
Идентификационное наименование ПО для ТП-140Д, ТП-140Д(М), ТП-140Д(МА) |
TP_140 |
Идентификационное наименование ПО для ТП-140Д(Р) |
ТП-140Д(Р) |
Идентификационное наименование ПО для ТП-140Д(РМ) |
ТП-140Д(РМ) |
Идентификационное наименование ПО для ТП-140Д(2Р) |
ТП-140Д(2Р) |
Идентификационное наименование ПО для ТП-140Д(4Р) |
ТП-140Д(4Р) |
Номер версии (идентификационный номер) ПО ТП-140Д, ТП-140Д(М), ТП-140Д(МА) |
не ниже 3.24 |
Номер версии (идентификационный номер) ПО ТП-140Д(Р) |
не ниже 1.04 |
Номер версии (идентификационный номер) ПО ТП-140Д(РМ) |
не ниже 1.16 |
Номер версии (идентификационный номер) ПО ТП-140Д(2Р) |
не ниже 1.05 |
Номер версии (идентификационный номер) ПО ТП-140Д(4Р) |
не ниже 1.00 |
Цифровой идентификатор ПО |
по номеру версии |
Внешнее ПО предназначено для визуализации измеренных преобразователем значений избыточного давления.
Метрологические и технические характеристикиТаблица 2 -
и технические
Наименование характеристики |
Значение |
Верхний предел измерений избыточного давления (ВПИ), МПа |
25; 40; 60; 100 |
Нижний предел измерений избыточного давления (НПИ), МПа |
0 |
Пределы допускаемой основной приведенной погрешности, % от ВПИ |
±1,5 |
Цена единицы младшего разряда, МПа: | |
- в диапазоне от 0 до 99,999 МПа включ. |
0,001; |
- при значении 100 МПа |
0,01 |
Пределы допускаемой дополнительной приведенной погрешности от влияния температуры окружающей среды, отличной от нормальных условий (от +10 до +30 °Свключ.), % от ВПИ/ 10 °C |
±0,2 |
Степень защиты по ГОСТ 14524-2015 |
IP65 |
У стойчивость к механическим воздействиям по ГОСТ Р 52931-2008 |
L3 |
У стойчивость к климатическим воздействиям по ГОСТ 52931-2008 |
Д3 |
Габаритные размеры, мм, не более | |
- ТП-140Д |
45x45x106 |
- ТП-140Д(М) |
120x120x230 |
- ТП-140Д(МА) |
120x120x230 |
- ТП-140Д(Р) |
50x50x110 |
- ТП-140Д(РМ) |
120x120x230 |
- ТП-140Д(2Р) |
80x80x140 |
- ТП-140Д(4Р) |
90x90x140 |
Продолжение таблицы 2
Наименование характеристики |
Значение |
Масса, кг, не более | |
- ТП-140Д |
0,5 |
- ТП-140Д(М) |
4,5 |
- ТП-140Д(МА) |
4,5 |
- ТП-140Д(Р) |
4,5 |
- ТП-140Д(РМ) |
4,5 |
- ТП-140Д(2Р) |
4,5 |
- ТП-140д(4р) |
4,5 |
Номинальное напряжение питания от внешнего источника постоянного тока для ТП-140Д, ТП-140Д(М), ТП-140Д(МА), В |
от 9 до 18 |
Максимальная потребляемая мощность для ТП-140Д, ТП-140Д(М), ТП-140Д(МА), Вт, не более |
0,75 |
Номинальное напряжение питания от внешнего источника постоянно- го тока для ТП-140Д(Р), ТП-140Д(РМ), ТП-140Д(2Р), ТП-140Д(4Р), В |
3,6 |
Максимальная потребляемая мощность для ТП-140Д(Р), ТП- 140Д(РМ), ТП-140Д(2Р), ТП-140Д(4Р), Вт, не более |
0,05 |
Время работы от батарей для ТП-140Д(Р), ТП-140Д(РМ), ТП-140Д(2Р), ТП-140Д(4Р), не менее, мес. |
12 |
Выходные сигналы: | |
- модификации ТП-140Д, ТП-140Д(М) |
RS 485 c протоколом обмена Modbus RTU |
- модификация ТП-140Д(МА): цифровой |
RS 485 c протоколом обмена Modbus RTU; |
аналоговый сигнал постоянного тока, мА |
от 4 до 20 |
- модификации ТП-140Д(Р), ТП-140Д(РМ), ТП-140Д(2Р), |
радиосигнал |
ТП-140Д(4Р) | |
Нормальные условия: | |
- температура окружающей среды, °С |
от +10 до +30 |
- относительная влажность воздуха, % |
от 30 до 80 |
Рабочие условия эксплуатации: | |
- температура окружающей среды, °С |
от -45 до +65 |
- относительная влажность воздуха при +3 5 °С, %, не более |
98 |
Вероятность безотказной работы за 100000 ч |
0,95 |
Средний срок службы, лет, не менее |
8 |
Маркировка взрывозащиты модификаций: - ТП-140Д, ТП-140Д(М) |
1Ех ib IIA T3 Gb |
- ТП-140Д(Р), ТП-140Д(РМ) |
1Ех db IIA T6 Gb |
наносится на титульный лист эксплуатационной документации типографским способом, а также на корпус преобразователей методом лазерной гравировки.
Комплектность средства измеренийТаблица 3 - Комплектность
Наименование |
Обозначение |
Количество |
Преобразователь давления
|
- |
1 шт. |
Кабель связи |
- |
1 шт. |
Паспорт |
ПЛА140.202.000.000 ПС |
1 экз. |
Руководство по эксплуатации |
ПЛА140.202.011.000 РЭ |
1 экз. на партию (при поставке в один адрес) |
Блок автономного источника питания постоянного тока |
- |
По специальному заказу |
Программное обеспечение |
ПЛА140.202.000.000ПО |
1шт. |
Тара упаковочная |
ПЛА140.202.000.000 |
1 шт. |
приведены в п. 3 «Методики (методы) измерений» Руководства по эксплуатации.
Нормативные и технические документы, устанавливающие требования к средству измеренийГОСТ 22520-85 Датчики давления, разрежения и разности давлений с электрическими аналоговыми выходными сигналами ГСП. Общие технические условия;
ГОСТ Р 52931-2008 Приборы контроля и регулирования технологических процессов. Общие технические условия;
Государственная поверочная схема для средств измерений избыточного давления, утвержденная приказом Росстандарта от 29 июня 2018 г. № 1339;
ТУ 2651-004-56347017-2018 Преобразователи давления ТП-140Д, ТП-140Д(М). Технические условия.
ИзготовительОбщество с ограниченной ответственностью Научно-производственное предприятие «Петролайн-А» (ООО НПП «Петролайн-А»)
ИНН 1650081440
Юридический адрес: 420087, Республика Татарстан, г.о. город Казань, г. Казань, ул. Карбышева, д. 2, помещ. 1002
Адрес места осуществления деятельности: 423801, Республика Татарстан, г. Набережные Челны, ул. Лермонтова, д. 53А
Почтовый адрес: 423801, г. Набережные Челны, а/я 23
Телефон: +7 (8552) 535-535
Факс: +7 (8552) 71-74-61
E-mail: main@pla.ru
Испытательный центрФедеральное государственное унитарное предприятие «Всероссийский научно-исследовательский институт метрологической службы» (ФГУП «ВНИИМС») Адрес: 119361, г. Москва, ул. Озерная, д. 46
Телефон: +7 (495) 437-55-77 / 437-56-66
E-mail: office@vniims.ru
Web-сайт: www.vniims.ru
Уникальный номер записи в реестре аккредитованных лиц № 30004-13.
УТВЕРЖДЕНО приказом Федерального агентства по техническому регулированию и метрологии от «19» июня 2025 г. № 1226
Лист № 1
Всего листов 10
Регистрационный № 71381-18
ОПИСАНИЕ ТИПА СРЕДСТВА ИЗМЕРЕНИЙ
Газоанализаторы ГСВ-1
Назначение средства измеренийГазоанализаторы ГСВ-1 предназначены для измерений довзрывоопасных концентраций метана, пропана и массовой концентрации сероводорода в воздухе рабочей зоны и сигнализации о достижении заданных пороговых значений.
Описание средства измеренийПринцип действия газоанализаторов ГСВ-1 (далее - газоанализаторы) определяется входящими в его состав датчиками:
- оптический инфракрасный (NDIR), основанный на селективном поглощении молекулами определяемого компонента электромагнитного излучения и измерении интенсивности инфракрасного излучения после прохождения им среды, содержащей определяемый компонент;
- электрохимический, основанный на измерении электрического тока, вырабатываемого электрохимической ячейкой в результате химической реакции с участием молекул определяемого компонента.
Газоанализаторы являются стационарными одноканальными или двухканальными приборами непрерывного действия.
Газоанализаторы выпускаются в 4 исполнениях:
оптическим инфракрасным датчиком для измерения довзрывоопасной
-
- ГСВ-1И - с • концентрации метана;
электрохимическим датчиком для измерения массовой концентрации
-
- ГСВ-1Э - с сероводорода;
оптическим инфракрасным датчиком для измерения довзрывоопасной
-
- ГСВ-1П - с концентрации пропана;
-
- ГСВ-1К - с оптическим инфракрасным датчиком для измерения довзрывоопасной концентрации метана и электрохимическим датчиком для измерения массовой концентрации сероводорода.
Способ забора пробы - диффузионный.
Конструктивно газоанализаторы выполнены одноблочными в металлическом корпусе и состоят из основного преобразователя-приемо-передатчика и универсального цифрового сменного газового преобразователя (ПГУ) (измерительной головки) со сменными оптическим инфракрасным (ПГУ-ИК) и (или) электрохимическим (ПГУ-Э) сенсорами.
Приемо-передатчик конструктивно представляет собой герметичную оболочку - корпус с прозрачной крышкой. На корпусе расположены герметичные кабельные вводы, а также одна или две измерительные головки (ПГУ) со сменным газовым преобразователем - сенсором.
Внутри корпуса основного преобразователя - приемо-передатчика находится набор электронных печатных плат с искрозащитным блоком на входе питания и блоком гальванической развязки на оптронах на линиях связи RS-485 и токовой петли, искрозащитным блоком на выводе электропитания для сменных газовых преобразователей - сенсоров, блоком гальванической развязки на оптронах на линии связи UART основного приемо-передатчика со сменными газовыми сенсорами, клеммными зажимами, кнопками управления, элементами отображения информации.
К приемо-передатчику подключаются сменные газовые преобразователи ПГУ-ИК и (или) ПГУ-Э. Сменные газовые преобразователи состоят из корпуса, электронной платы, сменного сенсора целевого газа (инфракрасного или электрохимического), уплотнительных элементов, защитного фильтра, защитного кожуха.
Газоанализатор дополнительно может оснащаться оповещателем комбинированным со свето-звуковой сигнализацией. Оповещатель конструктивно представляет собой корпус с электронными платами, двумя светодиодами для предупредительной индикации порогов, а также пъезоэлектрическим излучателем для звукового оповещения.
Газоанализаторы оснащены монохромным OLED дисплеем, на котором отображаются:
-
- тип измеряемого газа (химическая формула: H2S, CH4, C3H8);
-
- результат измерений содержания определяемого компонента и единица измерений;
-
- график изменения концентрации газа во времени (тренд) за интервал времени;
-
- заданные пороги срабатывания сигнализации (ПУ1,ПУ2);
-
- текущее состояние сменного газового преобразователя.
На лицевой панели расположены светодиодные индикаторы:
-
- два светодиода обеспечивают визуальный контроль превышения установленных порогов загазованности;
-
- трехцветный светодиодный индикатор отображает режим работы устройства (норма, градуировка, неисправность).
Управление режимами работы газоанализаторов осуществляется с помощью 4 кнопок, расположенных на лицевой стороне корпуса, под крышкой.
Газоанализаторы обеспечивают выходные сигналы:
-
- показания встроенного дисплея;
-
- аналоговый выход от 4 до 20 мА;
-
- цифровой выход, интерфейс RS-485 по протоколу ModbusRTU/ASCII;
-
- световые и звуковые сигналы при достижении измеряемой величиной порогов срабатывания сигнализации;
-
- два релейных выхода с контактами НЗ и НР на каждый порог срабатывания.
Нанесение знака поверки на средство измерений не предусмотрено.
Заводские номера наносятся на табличку, расположенную на корпусе газоанализатора.
Общий вид газоанализаторов и схема пломбирования корпуса газоанализатора от несанкционированного доступа представлены на рисунках 1 - 3.

Рекомендуемое место пломбирования корпуса газоанализатора
Рисунок 1 - Общий вид газоанализаторов (исполнение с одним датчиком) и схема пломбирования корпуса газоанализатора от несанкционированного доступа

Рисунок 2 - Общий вид газоанализаторов (исполнение с двумя датчиками)

fietfBliite А
Рисунок 3 - Общий вид газоанализаторов (исполнение с двумя датчиками и оповещателем комбинированным)
Программное обеспечениеГазоанализаторы имеют встроенное программное обеспечение (ПО), разработанное изготовителем специально для решения задач измерения содержания определяемых компонентов и сигнализации о достижении пороговых значений в воздухе рабочей зоны.
Встроенное ПО обеспечивает:
-
- прием, обработку и передачу измерительной информации;
-
- отображение результатов измерений на OLED дисплее;
-
- проведение градуировки газоанализаторов;
-
- задание пороговых значение и сигнализацию при достижении установленных пороговых значений.
Встроенное ПО газоанализаторов реализует следующие расчетные алгоритмы:
-
1) непрерывное сравнение текущих результатов измерений с заданными пороговыми значениями срабатывания сигнализации;
-
2) непрерывную самодиагностику аппаратной части газоанализатора.
Программное обеспечение идентифицируется в режиме измерений через меню «Информация» газоанализатора.
Влияние встроенного программного обеспечения учтено при нормировании метрологических характеристик газоанализаторов.
Газоанализаторы имеют защиту встроенного программного обеспечения от преднамеренных или непреднамеренных изменений. Уровень защиты - «высокий» по Р 50.2.077-2014.
Идентификационные данные ПО приведены в таблице 1.
Таблица 1 - Идентификационные данные встроенного ПО
Идентификационные данные (признаки) |
Значение |
Идентификационное наименование ПО |
GSV1 |
Номер версии (идентификационный номер) ПО |
01.17 |
Цифровой идентификатор (алгоритм CRC32) |
B763C776 |
Примечание - номер версии ПО должен быть не ниже указанного в таблице. Значение контрольной суммы, указанное в таблице, относится только к файлу встроенного ПО указанной версии. |
Метрологические и технические характеристики
Таблица 2 - Основные
Определяе мый компонент / исполнени е газоанализ атора |
Диапазон показаний объемной доли определяемого компонента |
Диапазон измерений объемной доли определяемого компонента |
Пределы допускаемой основной погрешности1) |
Наимень ший разряд индикаци и |
Предел допускае мого времени установл ения показани й по уровню 0,9, Т0,9д, с | |
абсолютн ой |
относител ьной, % | |||||
Метан (CH4) / ГСВ-1И |
от 0 до 4,4 % (от 0 до 100 % НКПР) |
от 0 до 2,2 % (от 0 до 50 % НКПР) |
±0,22 % (±5 % НКПР) |
0,01 % (0,1 % НКПР) |
45 | |
Сероводор од (H2S)/ ГСВ-1Э3) |
от 0 до 40 мг/м3 (от 0 до 28,3 млн’1)2) |
от 0 до 10 мг/м3 включ. св. 10 до 40 мг/м3 |
±2 мг/м3 |
±20 |
0,1 мг/м3 |
30 |
Пропан (C3H8) / ГСВ-1П |
от 0 до 1,7 % (от 0 до 100 % НКПР) |
от 0 до 0,85 % (от 0 до 50 % НКПР) |
±0,08 % (±5 % НКПР) |
0,01 % (0,1 % НКПР) |
45 | |
Метан (CH4) / ГСВ-1К |
от 0 до 4,4 % (от 0 до 100 % НКПР) |
от 0 до 2,2 % (от 0 до 50 % НКПР) |
±0,22 % (±5 % НКПР) |
0,01 % (0,1 % НКПР) |
45 |
Определяе мый
компонент
/
исполнени е газоанализ
атора
Сероводор од (H2S)/ ГСВ-1К3)
от 0 до 40 мг/м3
(от 0 до 28,3
млн-1)2)
Диапазон показаний объемной доли определяемого компонента
Диапазон измерений объемной доли определяемого компонента |
Пределы допускаемой основной погрешности1) | |
абсолютн ой |
относител ьной, % | |
от 0 до 10 мг/м3 |
±2 мг/м3 |
- |
включ. | ||
св. 10 до 40 |
- |
±20 |
мг/м3 |
0,1 мг/м3
разряд
индикаци
и
Наимень ший
Предел допускае мого времени установл ения показани й
по уровню 0,9, T0,9g, С__________
30
-
1) В нормальных условиях эксплуатации.
-
2) Пересчет значений содержания определяемого компонента, выраженных в единицах массовой концентрации, в объемную долю, проведен для нормальных условий +20 oC, 760 мм рт.ст.
-
3) Газоанализаторы обеспечивают измерение содержания сероводорода в воздухе рабочей зоны в диапазонах и с точностью в соответствии с Постановлением Правительства Российской Федерации от 16 ноября 2020 года N 1847 «Об утверждении перечня измерений, относящихся к сфере государственного регулирования обеспечения единства измерений», в нормальных условиях измерений.
Таблица 3 -
Наименование характеристики |
Значение |
Предел допускаемой вариации показаний газоанализаторов, в долях от предела допускаемой основной погрешности |
0,5 |
Пределы допускаемой дополнительной погрешности газоанализаторов, вызванной изменением температуры окружающей среды в диапазоне рабочих условиях эксплуатации на каждые ±10°С, в долях от предела допускаемой основной погрешности: |
±0,5 |
Пределы допускаемой дополнительной погрешности газоанализаторов, вызванной изменением относительной влажности анализируемой и окружающей сред в диапазоне от 0 до 95 % относительно влажности, при которой проводилось определение основной погрешности, в долях от предела допускаемой основной погрешности |
±0,5 |
Предел допускаемого изменения показаний газоанализаторов за 8 ч непрерывной работы, в долях от предела допускаемой основной погрешности |
0,5 |
Время прогрева газоанализаторов, мин, не более
|
5 2 |
Нормальные условия эксплуатации:
|
от +15 до +25 от 30 до 80 от 97,3 до 105,3 |
Таблица 4 - Основные технические характеристики газоанализаторов
Наименование характеристики |
Значение |
Электрическое питание осуществляется постоянным током с напряжением, В |
от 12 до 28 |
Потребляемая электрическая мощность при номинальном значении напряжения питания 15 В, Вт, не более |
2 |
Максимальное напряжение постоянного тока коммутации реле, В |
30 |
Максимальный ток коммутации реле, А |
2,0 |
Габаритные размеры газоанализаторов, мм, не более:
|
190 206 90 |
Масса газоанализаторов, кг, не более |
3 |
Средняя наработка на отказ, ч |
10 000 |
Средний срок службы, лет1) |
10 |
Степень защиты корпуса газоанализаторов по ГОСТ 14254-2015:
|
IP67 IP54 |
Газоанализаторы выполнены во взрывозащищенном исполнении и соответствуют требованиям технического регламента ТС ТР 012/2011, ГОСТ 31610/0-2012. Маркировка взрывозащиты элементов газоанализаторов:
|
1Ex d [ib] IIC T5 X 1Ex ib IIC T5 |
Условия эксплуатации:
ГСВ-1И, ГСВ-1П, ГСВ-1К (измерительный канал метана) ГСВ-1Э, ГСВ-1К (измерительный канал сероводорода)
|
от -40 до +60 от -40 до +50 от 0 до 95 от 91,1 до 111,4 |
1) Без учета срока службы первичных измерительных преобразователей. |
наносится на титульный лист (центр листа) руководства по эксплуатации типографским способом, на табличку на корпусе газоанализатора.
Комплектность средства измеренийТаблица 5 - Комплектность
Наименование |
Обозначение |
Кол-во |
Примечание |
Газоанализатор ГСВ-1 |
- |
1 шт. |
Исполнение (ГСВ-1И или ГСВ-1Э или ГСВ-1П или ГСВ-1К) по заказу |
Руководство по эксплуатации |
ПЛА150.215.010.000РЭ |
1 экз. | |
Паспорт |
ПЛА150.215.010.000ПС | ||
Методика поверки |
МП 242-112-2021 |
Наименование |
Обозначение |
Кол-во |
Примечание |
Тара упаковочная |
- |
1 шт. | |
Камера калибровочная |
ПЛА150.215.010.030 |
1 шт. |
по заказу |
Обозначение
_____Наименование_____
Ключ для сменных сенсоров________________
Примечания:
-
- исполнение газоанализатора (ГСВ-1И или ГСВ-1Э или ГСВ-1П или ГСВ-1К) определяется при заказе;
-
- необходимость поставки камеры калибровочной и ключа для сменных сенсоров определяется при заказе.
ПЛА150.215.010.040
Кол-во
1 шт.
_______Примечание по заказу
приведены в разделе 2 руководства по эксплуатации ПЛА150.215.010.000РЭ.
Нормативные и технические документы, устанавливающие требования к средству измеренийПриказ Росстандарта от 31 декабря 2020 г. № 2315 «Об утверждении Государственной поверочной схемы для средств измерений содержания компонентов в газовых и газоконденсатных ср ед ах»;
Постановление Правительства Российской Федерации от 16 ноября 2020 г. № 1847 «Об утверждении перечня измерений, относящихся к сфере государственного регулирования обеспечения единства измерений»;
ГОСТ 13320-81 Газоанализаторы промышленные автоматические. Общие технические условия;
ГОСТ Р 52350.29.1-2010 Взрывоопасные среды. Часть 29-1. Газоанализаторы. Общие технические требования и методы испытаний газоанализаторов горючих газов;
ТУ 4215-003-56347017-2017 Газоанализаторы ГСВ-1. Технические условия.
ИзготовительОбщество с ограниченной ответственностью Научно-производственное предприятие «Петролайн-А» (ООО НПП «Петролайн-А»)
ИНН 1650081440
Казань, г. Казань,
Юридический адрес: 420087, Республика Татарстан, г.о. Город
ул. Карбышева, д. 2, помещ. 1002
Почтовый адрес: 423801, г. Набережные Челны, а/я 23
Тел./факс: (8552) 535-535
Е-mail: main@pla.ru
Испытательный центр«Всероссийский
Д.И. Менделеева»
Федеральное государственное унитарное предприятие научно-исследовательский институт метрологии имени (ФГУП «ВНИИМ им. Д.И. Менделеева»)
Адрес:190005, г. Санкт-Петербург, Московский пр-кт, д. 19
Телефон: (812) 251-76-01, факс: (812) 713-01-14
E-mail: info@vniim.ru
Web сайт: www.vniim.ru
Уникальный номер записи в реестре аккредитованных лиц № RA.RU.311541.
Р Е Е к приказу Федерального агентства по техническому регулированию
от «_^о »
и метрологии
иоэо^о 2025 г. № 'lооо
Сведения об утвержденных типах средств измерений, подлежащие изменению в части сведений об изготовителях (правообладателях)

аименование типа
________2________
Преобразователи давления
Обозначение типа
3
ТП-140Д,
ТП-140Д(М)
Регистрационн й номер в ФИФ
4
69007-17
зготовитель
тменяемые сведения _________5_________ Общество с ограниченной ответственностью Научнопроизводственное предприятие «Петролайн-А» (ООО НПП «Петролайн-А») ИНН 1650081440 Юридический адрес: Республика Татарстан, Тукаевский р-н, деревня Малая Шильна, ул. Центральная, д. 1А Адрес деятельности: 423801, Республика
станавливаемые _____сведения_____ _________6_________
Общество с ограниченной ответственностью Научнопроизводственное предприятие «Петролайн-А» (ООО НПП «Петролайн-А») ИНН 1650081440 Юридический адрес: 420087,
Республика Татарстан, г.о. город Казань, г.
Казань, ул. Карбышева, д. 2, помещ. 1002 Адрес места осуществления деятельности: 423801, Республика
________Правообладатель
Отменяемые
сведения
станавливаемые
сведения

Заявитель
_______________9_______________ Общество с ограниченной ответственностью Научнопроизводственное предприятие «Петролайн-А» (ООО НПП «Петролайн-А»), г. Казань

атчики нагрузки



Татарстан, г. |
Татарстан, г. |
Набережные |
Набережные |
Челны, ул. |
Челны, ул. |
Лермонтова, д. |
Лермонтова, д. 53А |
53А |
Почтовый адрес: |
Телефон: +7 |
423801, г. |
(8552) 535-535, |
Набережные |
Факс: +7 (8552) |
Челны, а/я 23 |
71-74-61 |
Телефон: +7 (8552) |
E-mail: |
535-535 |
Факс: +7 (8552) 71 74-61 E-mail: main@pla.ru |

ДН-130, ДН- |
72939-18 |
Общество с |
Общество с |
130(А), ДН- |
ограниченной |
ограниченной | |
130(Р) |
ответственностью |
ответственностью | |
Научно- |
Научно- | ||
производственное |
производственное | ||
предприятие |
предприятие | ||
«Петролайн-А» |
«Петролайн-А» | ||
(ООО НПП |
(ООО НПП | ||
«Петролайн-А») |
«Петролайн-А») | ||
ИНН 1650081440 |
ИНН 1650081440 | ||
Адрес: 423801, |
Адрес: 423801, | ||
Республика |
Республика | ||
Татарстан, г. |
Татарстан, г. | ||
Набережные |
Набережные | ||
Челны, ул. |
Челны, ул. | ||
Лермонтова, д. |
Лермонтова, д. 53А | ||
53А |
Юридический | ||
Юридический |
адрес: 420087, | ||
адрес: 423887, |
Республика | ||
Республика |
Татарстан, г.о. | ||
Татарстан, |
Город Казань, г. | ||
Тукаевский р-н, д. |
Казань, ул. | ||
Малая Шильна, |
Карбышева, д. 2, | ||
ул. Центральная, |
помещ. 1002 | ||
д. 1А |
Почтовый адрес: | ||
Почтовый адрес: |
423801, г. | ||
423819, г. |
Набережные | ||
Набережные |
Челны, а/я 23 | ||
Челны-19, а/я 90 |
Тел./факс: (8552) |




Общество с ограниченной ответственностью Научнопроизводственное предприятие «Петролайн-А» (ООО НПП «Петролайн-А»), г. Казань

Газоанализатор
атчики температур


ТС Т-Б, ТСПТ-Б Ex

71381-18
79107-20
Тел./факс: (8552)
535-535 E-mail: main@pla.ru Общество с ограниченной ответственностью научнопроизводственное предприятие «Петролайн-А» (ООО НПП «Петролайн-А») ИНН 1650081440 Адрес: 423887, Республика Татарстан, Тукаевский р-н, д. Малая Шильна, ул. Центральная, д. 1А Тел./факс: +7 (8552) 535-535, 71-74-61 Web-сайт: www.pla.ru
535-535
Е-mail: main@pla.ru

бество с ограниченной ответственностью «Производственна я компания «ТЕСЕЙ» (ООО «ПК «ТЕСЕЙ») ИНН 4025016433 Юридический адрес: 249037, Калужская обл., г.
Обнинск, пр-кт Ленина, д. 144, оф. 72
бество с ограниченной ответственностью
Научнопроизводственное предприятие «Петролайн-А» (ООО НПП «Петролайн-А») ИНН 1650081440 Юридический адрес: 420087, Республика
Татарстан, г.о.
Город Казань, г. Казань, ул. Карбышева, д. 2, помещ. 1002 Почтовый адрес: 423801, г. Набережные Челны, а/я 23 Тел./факс: (8552) 535-535
Е-mail: main@pla.ru Общество с ограниченной ответственностью «Производственная компания «ТЕСЕЙ» (ООО «ПК «ТЕСЕЙ») ИНН 4025016433 Юридический адрес: 249034, Калужская обл., г. Обнинск, пр-кт Ленина, д. 144, оф. 72





б ество с ограниченной ответственностью Научнопроизводственное предприятие «Петролайн-А» (ООО НПП «Петролайн-А»), г. Казань

бество с ограниченной ответственностью «Производственная компания «ТЕСЕЙ» (ООО «ПК «ТЕСЕЙ»), Калужская обл., г. Обнинск

анометр электронные для точных измерений



олуприцепы-цистерны
914210
Т-100
62721-20
61041-15
очтовый адрес:
249037,
Калужская обл., г.
Обнинск-7, а/я 7077
Тел./факс: +7 (48439) 9-37-41, 9
37-42, 9-37-43
E-mail: zakaz@tesey.com, Web-сайт:www.tesey.co
_____m_____ Общество с ограниченной ответственностью «БОНУМ» (ООО «БОНУМ») ИНН 6141046070 Адрес: 344091, Ростовская обл., г. Ростов-на-Дону, ул. Пескова, д. 1/2/169А/3, лит.
«Д», ком. 48
Телефон/факс: +7 (863) 310-01-23
E-mail: info@bonum-trailer.ru

б ество с ограниченной ответственностью
Научнопроизводственное предприятие «ЭЛЕМЕР» (ООО НПП «ЭЛЕМЕР») ИНН: 5044003551 Адрес: 124489,
г. Москва, г.
Общество с ограниченной ответственностью «БОНУМ» (ООО «БОНУМ») ИНН 6141046070 Юридический адрес: 344091, Ростовская обл., г.о. Ростов-на-Дону, г. Ростов-на-Дону, ул. Пескова, зд. 1, стр. 1 Телефон/факс: +7 (863) 310-01-23 E-mail: info@bonum-trailer.ru
Общество с ограниченной ответственностью
Научнопроизводственное предприятие «ЭЛЕМЕР» (ООО НПП «ЭЛЕМЕР») ИНН 5044003551
Юридический





Общество с ограниченной ответственностью «БОНУМ» (ООО «БОНУМ»), г. Ростов-на-Дону

б ество с ограниченной ответственностью Научнопроизводственное предприятие «ЭЛЕМЕР» (ООО НПП «ЭЛЕМЕР»), г. Москва, г. Зеленоград




Зеленоград, пр-д 4807-й, д. 7, стр. 1 Юридический адрес: 124460, г. Москва, г. Зеленоград, к.
1145, неж.помещ. 1
Телефон: +7 (495) 988-48-55, факс: +7 (499) 735-02-59 Web-сайт: www.elemer.ru E-mail: elemer@elemer.ru
адрес: 124489, г. Москва, г.
Зеленоград, пр-д 4807-й, д. 7, стр. 1 Телефон: +7 (495) 988-48-55
Web-сайт: www.elemer.ru
E-mail: elemer@elemer.ru




МИНИСТЕРСТВО ПРОМЫШЛЕННОСТИ И ТОРГОВЛИ РОССИЙСКОЙ ФЕДЕРАЦИИ
Е ЕРЬЕ ГЕ Т ТВ
ПО ТЕХНИЧЕСКОМУ РЕГУЛИРОВАНИЮ И МЕТРОЛОГИИ (Росстандарт)
РЗ
19 июня 2025 г.
1226
осква
внесении из енений в сведения об утвер денн х типах средств измерений
В соответствии с дминистративн м регламентом по предоставлени Федеральным агентством по техническому регулированию и метрологии государственной услуги по утверждению типа стандартных образцов или типа средств измерений, утвержденным приказом Федерального агентства по техническому регулированию и метрологии от 12 ноября 2018 г. № 2346, п р и к а з ы в а ю:
-
1. Внести изменения в сведения об утвержденных типах средств измерений в части сведений об изготовителях (правообладателях) утвержденных типов средств измерений согласно приложению к настоящему приказу.
-
2. Утвердить измененные описания типов средств измерений, прилагаемые к настоящему приказу.
-
3. ФБУ «НИЦ ПМ - Ростест» внести сведения об утвержденных типах средств измерений согласно приложению к настоящему приказу в Федеральный информационный фонд по обеспечению единства измерений в соответствии с Порядком создания и ведения Федерального информационного фонда по обеспечению единства измерений, передачи сведений в него и внесения изменений в данные содержащихся в нем документов и сведений, Министерства промышленности и торговли от 28 августа 2020 г. № 2906.
сведения, предоставления утвержденным приказом Российской Федерации
-
4. Контроль за исполнением настоящего приказа оставляю за собой.
Заместитель руководителя
-
Подлинник электронного документа, подписанного ЭП, хранится в системе электронного документооборота Федерального агентства по техническому регулированию и метрологии
Е.Р. Лазаренко
Сертификат: 7B1801563EA497F787EAF40A918A8D6F Кому выдан: Лазаренко Евгений Русланович Действителен: с 19.05.2025 до 12.08.2026
ч