№1414 от 10.07.2025
Приказ Федерального агентства по техническому регулированию и метрологии (Росстандарт)
# 697422
ПРИКАЗ_Об утверждении типов средств измерений (17)
Приказы по основной деятельности по агентству Вн. Приказ № 1414 от 10.07.2025

МИНИСТЕРСТВО ПРОМЫШЛЕННОСТИ И ТОРГОВЛИ РОССИЙСКОЙ ФЕДЕРАЦИИ
ФЕДЕРАЛЬНОЕ АГЕНТСТВО
ПО ТЕХНИЧЕСКОМУ РЕГУЛИРОВАНИЮ И МЕТРОЛОГИИ
(Росстандарт)
10 июля 2025 г.
1414
Москва
Об утверждении типов средств измерений
В соответствии с Административным регламентом по предоставлению Федеральным агентством по техническому регулированию и метрологии государственной услуги по утверждению типа стандартных образцов или типа средств измерений, утвержденным приказом Федерального агентства по техническому регулированию и метрологии от 12 ноября 2018 г. № 2346, п р и к а з ы в а ю:
1. Утвердить:
типы средств измерений, сведения о которых прилагаются к настоящему приказу;
описания типов к настоящему приказу.
средств
измерений,
прилагаемые
-
2. ФБУ «НИЦ ПМ - Ростест» внести сведения об утвержденных типах средств измерений согласно приложению к настоящему приказу в Федеральный информационный фонд по обеспечению единства измерений в соответствии с Порядком создания и ведения Федерального информационного фонда по обеспечению единства измерений, передачи сведений в него и внесения изменений в данные содержащихся в нем документов и сведений, Министерства промышленности и торговли от 28 августа 2020 г. № 2906.
сведения, предоставления утвержденным приказом Российской Федерации
-
3. Контроль за исполнением настоящего приказа оставляю за собой.
Заместитель руководителя
Подлинник электронного документа, подписанного ЭП, хранится в системе электронного документооборота Федерального агентства по техническому регулированию и метрологии
Сертификат: 7B1801563EA497F787EAF40A918A8D6F Кому выдан: Лазаренко Евгений Русланович Действителен: с 19.05.2025 до 12.08.2026
ч
Е.Р. Лазаренко
ПРИЛОЖЕНИЕ
к приказу Федерального агентства по техническому регулированию
и метрологии
от «__ » 2025 г. №
Сведения
об утвержденных типах средств измерений
№ п/ п |
Наименование типа |
Обозначение типа |
Код характера произ- вод- ства |
Рег. Номер |
Зав. номер(а) |
Изготовители |
Правообладатель |
Код иден-тифи-кации производства |
Методика поверки |
Интервал между поверками |
Заявитель |
Юридическое лицо, проводившее испытания |
Дата утверждения акта |
1 |
2 |
3 |
4 |
5 |
6 |
7 |
8 |
9 |
10 |
11 |
12 |
13 |
14 |
1. |
Машины координат-но-измерительные консольные |
PMT |
С |
95871-25 |
PMT SPACE 655, зав. № S55-6-25-62025; PMT SPACE PLUS 855, зав. № S55-8-25-62046 |
PMT Technologies (Suzhou) Co., Ltd, Китай |
PMT Technologies (Suzhou) Co., Ltd, Китай |
ОС |
МП-5362024 «ГСИ. Машины координат- но-измерительные консольные PMT. Методика поверки» |
1 год |
Общество с ограниченной ответственностью «3Д К» (ООО «3Д К»), г. Калуга, ИНН 4027132629 |
ООО «ПРОММАШ ТЕСТ Метрология», Московская обл., г. Чехов |
25.10.2024 |
2. |
Анализаторы пыли |
ТО МАН-35 |
С |
95872-25 |
ТМ 0001 |
Общество с ограниченной ответственностью Научно-производственное предприятие «ГКС» (ООО НПП «ГКС»), г. Казань ИНН 1655107067 |
Общество с ограниченной ответственностью Научно-производственное предприятие «ГКС» (ООО НПП «ГКС»), г. Казань ИНН 1655107067 |
ОС |
МП-640002-25 «ГСИ. Анализаторы пыли ТОМАН-35. Методика поверки» |
1 год |
Общество с ограниченной ответственностью Научно-производственное предприятие «ГКС» (ООО НПП «ГКС»), г. Казань ИНН 1655107067 |
ФГУП «ВНИИФТРИ », Московская обл., г. Солнечногорск, рп. Менделее-во |
14.01.2025 |

Резервуары стальные горизонтальные
РГС-5

95873-25
101, 102, 103

Регистраторы температуры и параметров работы рефрижератора
IceGuard

95874-25
863051067523885;
863051067488139

Сигнализаторы загазованности

95875-25
ГТР-1Р-1, сер. № 2917240114; ГТР-1Р-2, сер. № 2917240113; ГТР-1Р-3, сер. № 2917240112; ГТР-1Р-4, сер. № 2917240111
Общество с ограниченной ответственностью «ЧУКО-ТАЭРОСБЫТ» (ООО «ЧУ-КОТАЭРО-СБЫТ»), Чукотский Автономный Округ, р-н Анадырский, пгт. Угольные Копи ИНН 8709014664 Общество с ограниченной ответственностью «Производственно-коммерческая фирма «Проффит Консалтинг» (ООО «ПКФ «Проффит Консалтинг»), Республика Татарстан, г. Набережные Челны ИНН 1650176758 Общество с ограниченной ответственностью «Газтехреше-ния» (ООО «Газтехреше-ния»), г. Москва ИНН
Общество с ограниченной ответственностью «ЧУКО-ТАЭРОСБЫТ» (ООО «ЧУ-КОТАЭРО-СБЫТ»), Чукотский Автономный Округ, р-н Анадырский, пгт. Угольные Копи ИНН 8709014664 Общество с ограниченной ответственностью «Производственно-коммерческая фирма «Проффит Консалтинг» (ООО «ПКФ «Проффит Консалтинг»), Республика Татарстан, г. Набережные Челны ИНН 1650176758 Общество с ограниченной ответственностью «Газтехреше-ния» (ООО «Газтехреше-ния»), г. Москва ИНН
ОС
ОС
ОС
МП0005/8-2024 «ГСИ. Резервуары стальные горизонтальные РГС-5. Методика поверки»
МП ПКГС.001. 1409.2023 «ГСИ. Регистраторы температуры и параметров работы рефрижератора «IceGuard». Методика поверки»
МП-5442025 «ГСИ. Сигнализаторы загазованности ГТР-1Р. Методика поверки»
5 лет
2 года
1 год
Общество с ограниченной ответственностью «ЧУКО-ТАЭРОСБЫТ» (ООО «ЧУКО-ТАЭРО-СБЫТ»), Чукотский Автономный Округ, р-н Анадырский, пгт. Угольные Копи ИНН 8709014664 Общество с ограниченной ответственностью «Производственно-коммерческая фирма «Проффит Консалтинг» (ООО «ПКФ «Проффит Консалтинг»), Республика Татарстан, г. Набережные Челны ИНН 1650176758 Общество с ограниченной ответственностью «Газтехреше-ния» (ООО «Газтехреше-ния»), г.
Москва, ИНН
АО «Метролог», г. Самара
ООО «НМОП», г. Казань
ООО «ПРОММАШ ТЕСТ Метрология», Московская обл., г. Чехов
19.03.2025
24.12.2024
21.03.2025

Гриндомет-ры
ПРОМТ

95876-25
Мод. ГК-2-25, зав. № 5180070125; мод. ГК-2-50, зав. № 5180300125; мод. ГК-2-100, зав. № 5180060125; мод. ГК-1-150, зав. № 5280010125

Счетчики
газа
СГЭК

95877-25
СГЭК-1,6-Л зав. №00002, СГЭК-4-Л зав. №00001
9725145786
Общество с ограниченной ответственностью НТЦ «Промтехно-логии» (ООО НТЦ «Пром-технологии»), г. Санкт-Петербург ИНН 7805712518
Акционерное общество «Головной научно-исследовательский и проектный институт по распределению и использованию газа «Гипрониигаз» (АО «Гипро-ниигаз»), г.
Москва ИНН 6455000573
9725145786
Общество с ограниченной ответственностью НТЦ «Промтехно-логии» (ООО НТЦ «Пром-технологии»), г. Санкт-Петербург ИНН 7805712518
Акционерное общество «Головной научно-исследовательский и проектный институт по распределению и использованию газа «Гипрониигаз» (АО «Гипро-ниигаз»), г.
Москва ИНН 6455000573
ОС
ОС
МП-ОТГ-
202403 «ГСИ.
Гриндо-
метры
ПРОМТ.
Методика поверки»
МП-7632025 «ГСИ. Счетчики газа СГЭК.
Методика поверки»
1 год
6 лет
9725145786
Общество с ограниченной ответственностью НТЦ «Промтехно-логии» (ООО НТЦ «Пром-технологии»), г. Санкт-Петербург
ИНН 7805712518
Акционерное общество «Головной научно-исследовательский и проектный институт по распределению и использованию газа «Гипрониигаз» (АО «Гипро-ниигаз»), г.
Москва ИНН 6455000573
ООО «ОТГ», г. Москва
ООО
«ПРОММАШ ТЕСТ Метрология», Московская обл., г. Чехов
05.03.2025
11.04.2025

Полуприцеп-цистерна
FRUEH
AUF
T34TGN

95878-25
VFKT34TGNM1RF |
Fruehauf |
Fruehauf |
2499 |
Trailer |
Trailer |
Corporation, |
Corporation, | |
Франция |
Франция |
ОС
ГОСТ
8.600-2011 «ГСИ. Ав-тоцистер-ны для жидких нефтепродуктов.
Методика поверки»
1 год
9.
Полуприцеп-
CRANE
95879-25
KT315904
Fruehauf
Fruehauf
ОС
ГОСТ
1 год
Индивидуальный предприниматель Ермилова Таисия
Егоровна (ИП
Ермилова Т.
Е.), Краснодарский край, ст-ца Выселки
ИНН
232802143467
Индивидуаль-
ООО фирма «Метролог», г.
Казань
ООО фирма
29.04.2025
29.04.2025

цистерна
FRUEH
AUF



Trailer |
Trailer |
Corporation, |
Corporation, |
Франция |
Франция |

8.600-2011 «ГСИ. Ав-тоцистер-ны для жидких нефтепродуктов.
Методика поверки»

10.
Микрозонды аналитические рентгеновские сканирующие
ЭКРОС
XRF-9720 STINGR AY

95880-25
9K72F003
Общество с |
Общество с |
ограниченной |
ограниченной |
ответственно- |
ответственно- |
стью |
стью |
«ЭКРОСХИМ |
«ЭКРОСХИМ |
» (ООО |
» (ООО |
«ЭКРОСХИМ |
«ЭКРОСХИМ |
»), г. Санкт- |
»), г. Санкт- |
Петербург |
Петербург |
ИНН |
ИНН |
7810235934 |
7810235934 |
ОС
11.
Анализаторы рентгено-флуоресцентные
МетЭкс перт-Т

95881-25

Счетчики электроэнер-
M2M-1C

95882-25
M2M-1C-1/2-100D-
2G №
Общество с ограниченной ответственностью «Южпо-лиметалл-Холдинг»
(ООО «ЮПХ»), г.
Москва ИНН
7726383028 Общество с ограниченной
Общество с ограниченной ответственностью «Южпо-лиметалл-
Холдинг» (ООО
«ЮПХ»), г.
Москва ИНН
7726383028 Общество с ограниченной
ОС
ОС
МП 110251-2024 «ГСИ.
Микрозонды аналитические рентгеновские сканирующие ЭКРОС XRF-9720 STINGRA Y. Методика поверки» МП 1-2512025 «ГСИ. Анализаторы рент-генофлуоресцентные МетЭкс-перт-Т. Методика поверки» РТ-МП-666-552-
1 год
1 год
16 лет
ный предприниматель Ермилова Таисия Егоровна (ИП Ермилова Т. Е.), Краснодарский край, р-он Высел-ковский, ст-ца Выселки ИНН 232802143467 ОГРНИП 3232375002493 77____________
Общество с ограниченной ответственностью «ЭКРОСХИМ» (ООО «ЭКРОСХИМ» ), г. Санкт-Петербург, ИНН 7810235934
Общество с ограниченной ответственностью «Южпо-лиметалл-
Холдинг» (ООО
«ЮПХ»), г.
Москва, ИНН
7726383028 Общество с ограниченной
«Метролог», г. Казань
УНИИМ - филиал ФГУП «ВНИИМ им.
Д.И. Менделеева», г. Екатеринбург
УНИИМ - филиал ФГУП «ВНИИМ им.
Д.И. Менделеева», г. Екатеринбург
ФБУ «НИЦ
ПМ - Ростест»,

17.04.2025
12.05.2025
06.05.2025


гии однофазные компактные
Приборы для измерения токов утечки суперконденсаторов

N832X



95883-25
109000000017,
M2M-1C-1/2-100D-
2G-S №
109000000022, M2M-1C-1/2-100D-
4G-A-SB №
109000000026
ответственностью «Курганский приборостроительный завод» (ООО «КПЗ»), г. Курган ИНН 7708369158
ответственностью «Курганский приборостроительный завод» (ООО «КПЗ»), г. Курган ИНН 7708369158

Модификация
N8320 с зав. №№
N22111013,
N22111012,
N22111030,
N22111005,
N22111021,
N22111017,
N22111020,
N22111024,
N22110999,
N22111026,
N22111023,
N22111001,
N22110998,
N22110997,
N22111003,
N22111006,
N22111011,
N22110995,
N22110992,
N22110993,
N22111000,
N22111002,
N22111008,
N22111016,
N22111018,
N22111007,
N22111009,
N22111010,
N22111015,
Фирма Hunan Next Generation Instrumental T&C Tech. Co., Ltd., Китай
Фирма Hunan Next Generation Instrumental T&C Tech. Co., Ltd., Китай
ОС
2025 «ГСИ. Счетчики электроэнергии однофазные компактные M2M-1C. Методика поверки»
МП 47-262023 «ГСИ. Приборы для измерения токов утечки суперконденсаторов
N832X.
Методика поверки»

2 года
ответственностью «Курганский приборостроительный завод» (ООО «КПЗ»), г. Курган ИНН 7708369158
Акционерное общество «Элеконд» (АО «Эле-конд»), Удмуртская республика, г. Сарапул ИНН 1827003592
г. Москва

УНИИМ - филиал ФГУП «ВНИИМ им.
Д.И. Менделеева», г. Екатеринбург
30.01.2024





N22111025,
N22111022,
N22111029,
N22111019,
N22111014,
N22110996,
N22110994,
N22111028,
N22111004,
N22111031,
N22111027,
N22010398,
N22010399,
N22010400,
N22010412,
N22010418,
N22010415,
N22010414,
N22010417,
N22010411,
N22010410,
N22010416,
N22010413,
N22010405,
N22010409,
N22010382,
N22010392,
N22010389,
N22010381,
N22010403,
N22010395,
N22010390,
N22010408,
N22010394,
N22010387,
N22010396,
N22010397,
N22010384,
N22010386,
N22010385,
N22010383,













N22010380,
N22010402,
N22010391,
N22010393,
N22010404,
N22010388,
N22010401,
N22010406,
N22010407; Модификация N8321 с зав. №№
N22110917,
N22110915,
N22110922,
N22110919,
N22110981,
N22110920,
N22110925,
N22110927,
N22110979,
N22110923,
N22110991,
N22110928,
N22110926,
N22110930,
N22110965,
N22110944,
N22110932,
N22110980,
N22110931,
N22110977,
N22110916,
N22110921,
N22110982,
N22110961,
N22110918,
N22110905,
N22110910,
N22110964,
N22110913,
N22110924,













N22110935,
N22110939,
N22110968,
N22110937,
N22110914,
N22110967,
N22110907,
N22110956,
N22110942,
N22110951,
N22110943,
N22110957,
N22110909,
N22110952,
N22110973,
N22110983,
N22110948,
N22110936,
N22110954,
N22110976,
N22110929,
N22110941,
N22110963,
N22110934,
N22110940,
N22110985,
N22110960,
N22110975,
N22110959,
N22110986,
N22110950,
N22110949,
N22110978,
N22110912,
N22110955,
N22110974,
N22110969,
N22110911,
N22110971,
N22110933,
N22110953,













N22110990,
N22110970,
N22110938,
N22110989,
N22110908,
N22110906,
N22110945,
N22110958,
N22110962,
N22110946,
N22110972,
N22110988,
N22110987,
N22110984,
N22110947,
N22110966,
N22010320,
N22010321,
N22010322,
N22010323,
N22010324,
N22010325,
N22010326,
N22010327,
N22010328,
N22010329,
N22010330,
N22010331,
N22010332,
N22010333,
N22010334,
N22010335,
N22010336,
N22010337,
N22010338,
N22010339,
N22010340,
N22010341,
N22010342,
N22010343,
N22010344,














Приборы для измерения параметров суперконденсаторов
Обозначение отсутствует

95884-25
N22010345,
N22010346,
N22010347,
N22010348,
N22010349,
N22010350,
N22010351,
N22010352,
N22010353,
N22010354,
N22010355,
N22010356,
N22010357,
N22010358,
N22010359,
N22010360,
N22010361,
N22010362,
N22010363,
N22010364,
N22010365,
N22010366,
N22010367,
N22010368,
N22010369,
N22010370,
N22010371,
N22010372,
N22010373,
N22010374,
N22010375,
N22010376,
N22010377,
N22010378,
N22010379_______
Модификация
N8300A-05101, зав.
№№ N15102701,
N15104675,
N15104674,
N15104673; моди-








Фирма Hunan Next Generation Instrumental T&C Tech. Co., Ltd., Китай
Фирма Hunan Next Generation Instrumental T&C Tech. Co., Ltd., Китай
ОС
МП 63-262023 «ГСИ. Приборы для измерения параметров
2 года
Акционерное общество «Элеконд» (АО «Эле-конд»), Удмуртская рес-
УНИИМ - филиал ФГУП «ВНИИМ им. Д.И. Менделеева», г. Екатеринбург
30.01.2024
15.




Анализаторы жидкости
МП АВ

95885-25
фикация N8130A-06020, зав. №№ N22010314, N22010313, N22010311, N22010312; модификация N5800A-05101, зав. №№ N22010315, N22010317, N22010318, N22010316,
N22010319_______
МП АВ 100, зав. № 2305742 (датчик № 23051420); МП АВ 100, зав. № 2305748 (датчик № 2305744); МП АВ 100Ex, зав. № 2305743 (датчик № 23050042); МП АВ 100Ex, зав. № 2501534 (датчик № 25010645); МП АВ 200, зав. № 65252002 (датчик № 2404053370001); МП АВ 200, зав. № 65252003 (датчик № 2315053370016); МП АВ 200, зав. № 66242048 (датчики №№ 36240116, 36240118); МП АВ 200Ех, зав. № 69230006 (датчик № 34230124); МП АВ 200Ех, зав. № 69230005 (датчик № 36230011); МП

Общество с ограниченной ответственностью «Метран Проект» (ООО «Метран Проект»), г. Челябинск, ИНН 7453347966

Общество с ограниченной ответственностью «Метран Проект» (ООО «Метран Проект»), г. Челябинск, ИНН 7453347966

ОС
суперкон- |
публика, г. | |
денсато- |
Сарапул ИНН | |
ров. Мето- |
1827003592 | |
дика по- | ||
верки» |
МП 57241-2025 «ГСИ. Анализаторы жидкости МП АВ. Методика поверки»

1 год
Акционерное общество «Региональный орган по сертификации и тестированию» (АО «РО-СТЕСТ»), г. Москва, ИНН 7706278628

УНИИМ - филиал ФГУП «ВНИИМ им. Д.И. Менделеева», г. Екатеринбург

07.05.2025
16.




Система ав-томатизиро-ванная ин-формацион-но-измерительная коммерческого учета электроэнергии (АИИС
КУЭ) филиала АО «Концерн
Росэнергоатом»
«Кольская атомная станция»
Обозначение отсутствует

95886-25
АВ 200Ех, зав. № 69240040 (датчик № 36250018); МП АВ 200Ех, зав. № 69240041 (датчик № 36240141); МП АВ 200Ех, зав. № 69240053 (датчик № 18240020); МП АВ 200Ех, зав. № 69240054 (датчик № 18240021); МП АВ 200, зав. № 66250006 (датчики №№ 15252001, 15252002); МП АВ 200, зав. № 65242048 (датчик № 19240021); МП АВ 100Ех, зав. № 250207001 (датчик № 25050118) 005








Акционерное общество «Российский концерн по производству электрической и тепловой энергии на атомных станциях» (АО
«Концерн Росэнергоатом»), г. Москва
ИНН 7721632827
Акционерное общество «Российский концерн по производству электрической и тепловой энергии на атомных станциях» (АО
«Концерн Росэнергоатом»), г. Москва
ИНН 7721632827
ОС
МП ЭПР-773-2025 «ГСИ. Система ав-томатизи-рованная информационно-измерительная коммерческого учета электроэнергии (АИИС КУЭ) филиала АО «Концерн Росэнерго-
4 года
Общество с ограниченной ответственностью «Энерго-ПромРесурс» (ООО «Энер-гоПромРе-сурс»), Московская обл., г. Красногорск ИНН 5024145974
ООО «Энер-гоПромРе-сурс», Московская обл., г. Красногорск
14.04.2025









17.
Система ав- |
Обозна- |
томатизиро- |
чение |
ванная ин- |
отсут- |
формацион- |
ствует |
но- | |
измеритель- | |
ная коммер- | |
ческого уче- | |
та электро- | |
энергии | |
(АИИС | |
КУЭ) Ле- | |
нинградская | |
АЭС-2 |

95887-25
002
Акционерное общество «Российский концерн по производству электрической и тепловой энергии на атомных станциях» (АО «Концерн Росэнергоатом»), г. Москва ИНН 7721632827
Акционерное общество «Российский концерн по производству электрической и тепловой энергии на атомных станциях» (АО «Концерн Росэнергоатом»), г. Москва ИНН 7721632827
ОС
атом» «Кольская атомная станция». Методика поверки» МП ЭПР-745-2025 «ГСИ. Система ав-томатизи-рованная информационно-измерительная коммерческого учета электроэнергии (АИИС КУЭ) Ленинград-ская АЭС-2. Методика поверки»

4 года



Общество с |
ООО «Энер- |
ограниченной |
гоПромРе- |
ответственно- |
сурс», Мос- |
стью «Энерго- |
ковская обл., г. |
ПромРесурс» (ООО «Энер-гоПромРе-сурс»), Московская обл., г. Красногорск ИНН |
Красногорск |
5024145974 |
10.02.2025
УТВЕРЖДЕНО приказом Федерального агентства по техническому регулированию и метрологии от «10» июля 2025 г. № 1414
Лист № 1
Всего листов 7
Регистрационный № 95871-25
ОПИСАНИЕ ТИПА СРЕДСТВА ИЗМЕРЕНИЙ
Машины координатно-измерительные консольные PMT
Назначение средства измеренийМашины координатно-измерительные консольные PMT (далее - КИМ) предназначены для автоматизированных трехмерных измерений геометрических параметров объектов сложной формы.
Описание средства измеренийПринцип действия КИМ основан на считывании с измерительных шкал, при помощи дифракционных оптических энкодеров, значений измеряемой длины, соответствующей интервалу перемещений датчиков по осям X, Y, Z, образующих декартову систему координат.
При проведении измерений определяются координаты отдельных или множества точек на измеряемой поверхности в пределах диапазона измерений КИМ. Между любыми из определённых точек или построенных на их основании поверхностей можно провести линейные измерения.
Конструктивно КИМ представляют собой стационарные машины консольного типа с неподвижным измерительным столом.
КИМ состоит из основания с установленным внутри блоком контроллеров и персональным компьютером, гранитного измерительного стола, консоли из алюминиевого сплава, пиноли по оси Z из углеродного волокна, встроенных измерительных шкал по трем осям координат. Перемещение КИМ по осям осуществляется по линейным направляющим на подшипниках скольжения с использованием пульта управления или через программное обеспечение на персональном компьютере. Станина КИМ имеет антивибрационные регулируемые опоры для установки по уровню. КИМ оснащается контактными измерительными датчиками TP20, PMT T20, TP200, SP25M.
Измерения производятся в ручном и автоматическом режимах. Ручной режим управления КИМ осуществляется с клавиатуры персонального компьютера или при помощи пульта управления. Автоматический режим реализуется через программное обеспечение, установленное на персональный компьютер по заранее составленному алгоритму.
КИМ оснащена активной системой термокомпенсации. Температурные датчики встроены в каждую ось машины (по 2 шт. на ось), также устанавливается выносной датчик на деталь. Кроме того, пользователям предоставляется внешний датчик, используемый для измеряемой детали, когда система корректирует измерения, выполняемые КИМ, используя значения температуры, измеренные с помощью датчиков.
термокомпенсации активна. Система управления
К данному типу средств измерений относятся КИМ следующих модификаций:
-
- PMT SPACE, включая типоразмеры: 655, 855;
-
- PMT SPACE PLUS, включая типоразмеры: 655, 855.
Модификации различаются диапазоном измерений и нормируемой погрешностью измерений. Модификации PMT SPACE и PMT SPACE PLUS имеют одинаковую конструкцию, PMT SPACE PLUS имеет улучшенные характеристики точности измерений.
Заводской номер в буквенно-цифровом формате, состоящий из букв латинского алфавита и арабских цифр, наносится типографским способом на металлизированную наклейку, расположенную на задней части измерительного стола.
Пломбирование КИМ от несанкционированного доступа не осуществляется.
Нанесение знака поверки на средство измерений не предусмотрено.
Общий вид КИМ представлен на рисунке 1.

Место нанесения заводского номера средства измерений
б)
а)
Рисунок 1 - Машины координатно-измерительные консольные PMT: а) общий вид; б) место нанесения маркировочной наклейки

КИМ работают под управлением метрологически значимого программного обеспечения (далее - ПО) PC- DMIS, Poly Works, Metrolog X4, Rational DMIS, MODUS, Acro Cad, Inspect 3D Geomera, TouchDMIS, TCMD, которое устанавливается на внешнем персональном компьютере. ПО предназначено для управления КИМ, сбора, отображения, обработки, регистрации, передачи данных.
Защита ПО и измеренных данных от непреднамеренных и преднамеренных изменений соответствует уровню «высокий» в соответствии с Р 50.2.077-2014.
Идентификационные данные ПО приведены в таблице 1.
Таблица 1 - Идентификационные данные ПО
Значение

Идентификационное наименование ПО |
Номер версии (идентификационный номер) ПО |
PC- DMIS |
не ниже V.10 |
Poly Works |
не ниже V.2019 |
Metrolog X4 |
не ниже V.7 |
Rational DMIS |
не ниже 7.0 |
MODUS |
не ниже V.1.6 |
Arco Cad |
не ниже 3.7 |
Inspect 3D Geomera |
не ниже 2022R1 |
TouchDMIS |
не ниже V. 1.0 |
TCMD |
не ниже V 1.01 |
Цифровой идентификатор ПО (контрольная сумма исполняемого кода)

Таблица 2 - Метрологические характеристики
Модификация |
Типоразмер |
Диапазон измерений, мм |
Пределы допускаемой абсолютной погрешности, мкм, с измерительным датчиком: | |||||||
ТР20, РМТ Т20 |
ТР200 |
SP25M | ||||||||
ОсьХ |
Ось Y |
Ось Z |
МРЕе |
МРЕр |
МРЕе |
МРЕр |
МРЕе |
МРЕр | ||
РМТ SPACE |
655 |
от 0 до 505 |
от 0 до 605 |
от 0 до 505 |
±(2,9+Е/350) * ±(2,9+Е/150) " |
2,9 |
±(2,7+Е/350) * ±(2,7+Е/150) " |
2,7 |
±(2,5+Е/350) * ±(2,5+Е/150) " |
2,5 |
855 |
от 0 до 805 | |||||||||
РМТ SPACE PLUS |
655 |
от 0 до 605 |
±(2,4+Е/350) * ±(2,4+Е/150) " |
2,4 |
±(2,2+Е/350) * ±(2,2+Е/150) " |
2,2 |
±(2,0+Е/350) * ±(2,0+Е/150) " |
2,0 | ||
855 |
от 0 до 805 |
где МРЕе - пределы допускаемой абсолютной объемной погрешности, мкм;
МРЕр - предел допускаемой абсолютной погрешности измерительной головки, мкм;
L - измеряемая длина в мм;
при температуре окружающего воздуха от плюс 18 °C до плюс 22 °C включ.;
при температуре окружающего воздуха от плюс 15 °C до плюс 18 °C и св. плюс 22 °C до 25 °C включ., и при наличии системы активной температурной компенсации
Таблица 3 - Технические
Наименование характеристики |
Значение |
Параметры электрического питания: - напряжение переменного тока, В |
от 200 до 240 |
- частота переменного тока, Гц |
50/60 |
Условия эксплуатации: - температура окружающей среды, °С |
от +15 до +25 |
- относительная влажность воздуха, % |
от 40 до 75 |
Допустимое изменение температуры, °C, не более, в течение: - 1 часа |
1 |
- 24 часов |
2 |
Таблица 4 -
итные
Модификация |
Типоразмер |
Габаритные размеры, мм, не более (ширинахдлинах высота) |
Масса, кг, не более |
PMT SPACE, PMT SPACE PLUS |
655 |
1040x1180x2570 |
500 |
855 |
1040x1380x2570 |
700 |
Таблица 5 - Показатели надежности
Наименование характеристики |
Значение |
Наработка на отказ, ч, не менее |
10000 |
Средний срок службы, лет, не менее |
5 |
наносится типографским способом на титульный лист руководства по эксплуатации.
Комплектность средства измеренийТаблица 6 - Комплектность
Наименование |
Обозначение |
Количество |
Машина координатно-измерительная консольная |
PMT |
1 шт. |
Электронный контролер управления КИМ |
- |
1 шт. |
Пульт управления |
- |
1 шт. |
Измерительный датчик |
SP25M / TP200 / TP20 / PMT T20 |
1 шт. |
Системой активной температурной компенсации |
- |
По заказу |
Калибровочная сфера |
- |
1 шт. |
Персональный компьютер с установленным ПО |
- |
1 шт. |
Руководство по эксплуатации на русском языке |
- |
1 экз. |
* модификация и типоразмер определяется договором поставки модель определяется договором поставки |
приведены в главе 6 «Методика измерений» документа «Машины координатно-измерительные консольные PMT модификаций PMT SPACE, PMT SPACE PLUS. Руководство по эксплуатации».
Нормативные документы, устанавливающие требования к средству измеренийПриказ Росстандарта от 6 апреля 2021 г. № 472 «Об утверждении Государственной поверочной схемы для средств измерений геометрических параметров поверхностей сложной формы, в том числе эвольвентных поверхностей и угла наклона линии зуба»;
Стандарт предприятия PMT Technologies (Suzhou) Co., Ltd, Китай.
ПравообладательPMT Technologies (Suzhou) Co., Ltd, Китай
Адрес: F3, Building C2, Intelligence Industrial Park No.88 Jinjihu Avenue, Suzhou Industrial Park 215123 Suzhou-China, China
Телефон: 0512 6286 8300
E-mail: info@pmt3d.com
ИзготовительPMT Technologies (Suzhou) Co., Ltd, Китай
Адрес: F3, Building C2, Intelligence Industrial Park No.88 Jinjihu Avenue, Suzhou Industrial Park 215123 Suzhou-China, China
Испытательный центрОбщество с ограниченной ответственностью «ПРОММАШ ТЕСТ Метрология» (ООО «ПРОММАШ ТЕСТ Метрология»)
Адрес юридического лица: 119415, г. Москва, пр-кт Вернадского, д. 41, стр. 1, помещ. 263 Адрес места осуществления деятельности: 142300, Московская обл., г. Чехов, ш. Симферопольское, д. 2
Телефон: +7 (495) 108-69-50
E-mail: info@metrologiya.prommashtest.ru
Уникальный номер записи в реестре аккредитованных лиц № RA.RU.314164.

УТВЕРЖДЕНО приказом Федерального агентства по техническому регулированию и метрологии от «10» июля 2025 г. № 1414
Регистрационный № 95872-25
Лист № 1
Всего листов 5
ОПИСАНИЕ ТИПА СРЕДСТВА ИЗМЕРЕНИЙ
Анализаторы пыли ТОМАН-35
Анализаторы пыли ТОМАН-35 (далее - анализаторы) для автоматического измерения массовой концентрации пыли в пылегазовых стационарных источников загрязнения окружающей среды.
предназначены
потоках
Принцип действия анализатора - оптический, основан на измерении интенсивности рассеянного частицами света. Луч от источника света (лазерного диода) пропускается через пылегазовый поток, где рассеивается находящимися на его траектории частицами пыли. Рассеянное в обратном направлении излучение регистрируется фотоприемником. Интенсивность зарегистрированного излучения, обусловленная наличием пыли в потоке, пропорциональна массовой концентрации пыли.
получения результатов измерений в единицах массовой концентрации пыли предварительная градуировка анализаторов.
измеряемой массовой концентрации с
Для выполняется взаимосвязь анализируемой среды.
Конструктивно анализатор представляет собой расположены функциональные узлы: оптический и электронный.
Основными элементами оптического узла являются: источник света - лазерный диод с длиной волны 650 нм и мощностью 7 МВт, система формирования лазерного луча с фотоэлектрическим датчиком для измерения интенсивности исходного лазерного луча, оптическая система, фокусирующая рассеянный свет, с фотоэлектрическим датчиком для измерения интенсивности рассеянного излучения, блоки усиления и демодуляции измерительного сигнала.
Электронный блок обрабатывает измерительные сигналы, выводит результаты на дисплей, хранит и передает данные на внешнее устройство, а также обеспечивает управление работой анализатора.
Результаты измерений отображаются на дисплее анализатора и могут выводиться в виде аналогового токового сигнала от 4 до 20 мА, а также передаваться на внешнее устройство через интерфейс связи RS 485.
Анализатор является стационарным прибором. Питание анализатора осуществляется от сети постоянного тока.
На корпусе анализатора предусмотрены порт для электрических подсоединений и штуцер для подачи воздуха для обдува.
Общий вид анализатора представлен на рисунках 1 и 2.
При градуировке устанавливается оптическими характеристиками
моноблок, в корпусе которого

Рисунок 1 - Вид анализатора спереди
Z-------------------------------
Штуцер для подачи воздуха для обдува

Рисунок 2 - Вид анализатора с боку
Z----------------------------\
Порт для электрических подсоединений у
данные анализатора (тип, серийный включены в его маркировку.
Идентификационные наименование изготовителя) буквенно-цифровой формат (от шести знаков и более). Маркировка наносится методом термопечати на накладную пластиковую табличку, которая крепится на боковую сторону корпуса анализатора клеевым способом. Маркировка представлена на рисунке 3.
номер, дата изготовления, Серийный номер имеет

Рисунок 3 - Маркировка анализатора
Пломбировка анализаторов для ограничения несанкционированного доступа к местам настройки (регулировки) не предусмотрена.
Нанесение знака поверки непосредственно на анализаторы не предусмотрено.
Программное обеспечениеАнализаторы имеют встроенное программное обеспечение (далее - ПО), являющееся полностью метрологически значимым. Основные функции встроенного ПО: обработка измерительных сигналов, отображение, хранение и передача измеренных данных на внешнее устройство, управление работой анализатора. Идентификационные данные встроенного ПО приведены в таблице 1.
Таблица 1 -
ПО
данные
Идентификационные данные (признаки) |
Значение |
Идентификационное наименование ПО |
- |
Номер версии (идентификационный номер) ПО |
не ниже 118G-20221124-2OOO |
Цифровой идентификатор ПО (контрольная сумма исполняемого кода) |
- |
Уровень защиты ПО от преднамеренных и непреднамеренных изменений соответствует уровню «средний» по Р 50.2.077-2014.
Метрологические и технические характеристикиТаблица 2 - Метрологические характеристики
Наименование характеристики |
Значение |
Диапазон измерений массовой концентрации пыли, мг/м3 |
от 2 до 2OO включ. св. 2OO до 1OOO включ. св.1000 до 10000 |
Пределы допускаемой относительной погрешности измерений массовой концентрации пыли, % |
±20 |
Таблица 3 - Основные технические характеристики
Наименование характеристики |
Значение |
Напряжение питания от сети постоянного тока, В |
24 + 2,4 |
Габаритные размеры, мм, не более: | |
- высота |
158 |
- ширина |
158 |
- длина |
273 |
Масса, кг, не более |
3 |
Температура анализируемой среды, °С, не более |
+500 |
Условия эксплуатации: | |
- температура окружающей среды, °С |
от -20 до +45 |
- относительная влажность окружающего воздуха при +25 °C, %, | |
не более |
90 |
- атмосферное давление, кПа |
от 84 до 106,7 |
наносится на титульные листы паспорта и руководства по эксплуатации анализаторов методом компьютерной графики.
Комплектность средства измеренийТаблица 4 - Комплектность анализатора
Наименование |
Обозначение |
Количество |
Анализатор пыли |
ТОМАН-35 |
1 шт. |
Пульт дистанционного управления |
- |
1 шт. |
Кабель питания |
- |
1 шт. |
Комплект принадлежностей для монтажа |
- |
1 компл. |
Калибровочный модуль |
- |
1 шт. |
Паспорт |
- |
1 экз. |
Руководство по эксплуатации |
- |
1 экз. |
приведены в подразделе 3.4 «Использование изделия» документа «Анализатор пыли ТОМАН-35. Руководство по эксплуатации».
Нормативные документы, устанавливающие требования к средству измеренийПостановление Правительства Российской Федерации от 16 ноября 2020 г. № 1847 «Об утверждении перечня измерений, относящихся к сфере государственного регулирования обеспечения единства измерений» (п. 3.1.3);
Приказ Росстандарта от 30 декабря 2021 г. № 3105 «Об утверждении Государственной поверочной схемы для средств измерений дисперсных параметров аэрозолей, взвесей и порошкообразных материалов»;
ГОСТ Р ИСО 10155-2006 Выбросы стационарных источников. Автоматический мониторинг массовой концентрации твердых частиц. Характеристики измерительных систем, методы испытаний и технические требования;
ТУ 26.51.53-040-94291860-2023 «Анализатор пыли ТОМАН-35. Технические условия».
ПравообладательОбщество с ограниченной ответственностью Научно-производственное предприятие «ГКС» (ООО НПП «ГКС»)
ИНН 1655107067
Адрес юридического лица: 420111, Республика Татарстан, г. Казань, ул. Тази Гиззата, д. 3
ИзготовительОбщество с ограниченной ответственностью Научно-производственное предприятие «ГКС» (ООО НПП «ГКС»)
ИНН 1655107067
Адрес юридического лица: 420111, Республика Татарстан, г. Казань, ул. Тази Гиззата, д. 3 Адрес места осуществления деятельности: 420111, Республика Татарстан, г. Казань, ул. Тази Гиззата, д. 3
Испытательный центрФедеральное государственное унитарное предприятие «Всероссийский научноисследовательский институт физико-технических и радиотехнических измерений» (ФГУП «ВНИИФТРИ»)
Адрес юридического лица: 141570, Московская обл., г. Солнечногорск, рп. Менделеево, промзона ФГУП «ВНИИФТРИ», к. 11
Адрес места осуществления деятельности: 141570, Московская обл., г. Солнечногорск, рп. Менделеево, промзона ФГУП «ВНИИФТРИ», к. 11
Уникальный номер записи в реестре аккредитованных лиц № 30002-13.

УТВЕРЖДЕНО приказом Федерального агентства по техническому регулированию и метрологии от «10» июля 2025 г. № 1414
Лист № 1
Всего листов 4
Регистрационный № 95873-25
ОПИСАНИЕ ТИПА СРЕДСТВА ИЗМЕРЕНИЙ
Резервуары стальные горизонтальные РГС-5
Назначение средства измеренийРезервуары стальные горизонтальные РГС-5 (далее - резервуары), предназначены для измерений объема (вместимости) при приеме, хранении и отпуске нефтепродуктов.
Описание средства измеренийРезервуары представляют собой стальные горизонтальные конструкции цилиндрической формы с днищами. Резервуары оборудованы приемо-раздаточными устройствами и люками. Заполнение и выдача нефтепродуктов осуществляется через приемораздаточные устройства.
Принцип действия резервуаров основан на заполнении нефтепродуктами до произвольного уровня, соответствующего объему нефтепродуктов, согласно градуировочной таблице резервуара. Расположение резервуаров - подземное.
Резервуары стальные горизонтальные РГС-5 с заводскими номерами 101, 102, 103 расположены на территории ООО «ЧУКОТАЭРОСБЫТ» Чукотский АО, пгт Угольные Копи, ул. Портовая д.1, склад ГСМ Анадырь-Угольный.
Фотографии общего вида резервуаров, горловин и заводских номеров представлены на рисунке 1, схематическое изображение на рисунке 2.
Знак поверки наносится в свидетельство о поверке (при наличии) и в градуировочные таблицы резервуаров. Заводской номер в виде цифрового обозначения нанесен на табличку, расположенную на резервуаре, (обеспечивается идентификация, возможность прочтения и сохранность в процессе эксплуатации резервуара) и в технический паспорт на резервуар типографическим способом.
Пломбирование резервуаров не предусмотрено.

Рисунок 1 - Фотографии общего вида резервуаров стальных горизонтальных РГС-5 (№№ 101, 102, 103), их горловин замерного люка и заводских номеров.

Рисунок 2 - Схематическое изображение резервуаров стальных горизонтальных
РГС-5 (№№ 101, 102, 103).
Метрологические и технические характеристикиМетрологические, основные технические характеристики и показатели надежности резервуара приведены в таблицах 1, 2 и 3.
Таблица 1 - Метрологические характеристики
Наименование характеристики |
Значение |
Номинальная вместимость, м3 |
5 |
Пределы допускаемой относительной погрешности определения вместимости, % |
± 0,25 |
Таблица 2 - Основные технические характеристики
Наименование характеристики |
Значение |
Условия эксплуатации: - температура окружающего воздуха,°C |
от - 40 до +50 |
Таблица 3 - Показатели надежности
Наименование характеристики |
Значение |
Средний срок службы, лет, не менее |
30 |
наносится на титульный лист технического паспорта резервуара методом печати.
Комплектность средства измеренийТаблица 4 - Комплектность резервуара
Наименование |
Обозначение |
Количество |
Резервуар стальной горизонтальный цилиндрический |
РГС-5 |
3 шт. |
Технический паспорт |
3 экз. |
Сведения о методиках (методах) измерений приведены в разделе 4 технического паспорта.
Нормативные документы, устанавливающие требования к средству измеренийПриказ Росстандарта от 26 сентября 2022 г. № 2356 «Об утверждении Государственной поверочной схемы для средств измерений массы и объема жидкости в потоке, объема жидкости и вместимости при статических измерениях, массового и объемного расходов жидкости».
ПравообладательОбщество с ограниченной ответственностью «ЧУКОТАЭРОСБЫТ» (ООО «ЧУКОТАЭРОСБЫТ»)
ИНН 8709014664
Юридический адрес: 689503, Чукотский Автономный Округ, р-н Анадырский, пгт. Угольные Копи, ул. Портовая, д. 1
Телефон: +7(42722) 2-70-00, 2-70-03
E-mail: chukotaerosbyt@gazprom-neft.ru
ИзготовительОбщество с ограниченной ответственностью «ЧУКОТАЭРОСБЫТ» (ООО «ЧУКОТАЭРОСБЫТ»)
ИНН 8709014664
Адрес: 689503, Чукотский Автономный Округ, р-н Анадырский, пгт. Угольные Копи, ул. Портовая, д. 1
Телефон: +7(42722) 2-70-00, 2-70-03
E-mail: chukotaerosbyt@gazprom-neft.ru
Испытательный центр Акционерное общество «Метролог» (АО «Метролог») Адрес: 443125, Самарская обл., г. Самара, ул. Губанова, д. 20а, оф. 13 Почтовый адрес: 443076, г. Самара ул. Партизанская, д. 173 Телефон: +7 (846) 279-11-66 E-mail: prot@metrolog-samara.ru
Уникальный номер записи в реестре аккредитованных лиц № RA.RU.311958.

УТВЕРЖДЕНО приказом Федерального агентства по техническому регулированию и метрологии от «10» июля 2025 г. № 1414
Лист № 1
Всего листов 5
Регистрационный № 95874-25
ОПИСАНИЕ ТИПА СРЕДСТВА ИЗМЕРЕНИЙ
Регистраторы температуры и параметров работы рефрижератора IceGuard
Назначение средства измеренийРегистраторы температуры и параметров работы рефрижератора IceGuard (далее - контроллеры) предназначены для измерений и сбора температурных параметров изотермического и рефрижераторного оборудования, а также осуществления текущего контроля работы оборудования.
Описание средства измеренийПринцип действия контроллеров основан на измерении температуры с помощью термопреобразователей сопротивления и преобразования температуры в эквивалентный сигнал электрического сопротивления, измерения сопротивления электронным блоком и обратного преобразования в температуру.
Регистраторы температуры и параметров работы рефрижератора IceGuard могут применяться как регистраторы температуры в соответствии с требованиями Соглашения о международных перевозках скоропортящихся пищевых продуктов и о специальных транспортных средствах, предназначенных для этих перевозок (СПС).
Контроллеры имеют ГЛОНАСС/GPS приемник, и производят автоматическую синхронизацию даты и времени относительно шкалы UTC(SU). Измеренные значения температуры автоматически заносятся в память контроллера с указанием даты и времени выполненного измерения. Архив формируется вручную с требуемым периодом, сформированные архивы передаются по беспроводному каналу Bluetooth BLE 5.0 на мобильное приложение «IceGuard». Контроллеры не имеют экрана, индикация результатов измерений возможна только на экране мобильного устройства через мобильное приложение «IceGuard».
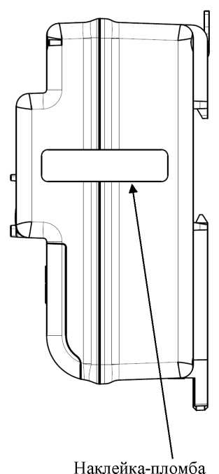
Заводской номер в числовом формате указывается на задней части корпуса контроллера. Нанесение знака поверки на контроллеры не предусмотрено.
Защита от вскрытия корпуса и несанкционированного доступа осуществляется с помощью наклеиваемой предприятием-изготовителем саморазрушаемой пломбы.
Общий вид регистраторов температуры и параметров работы рефрижератора IceGuard представлен на рисунке 1.

Рис. 1. Общий вид регистратора температуры и параметров работы рефрижератора IceGuard
Саморазрушаемая пломба

Место нанесения заводского номера
Рис. 2. Вид маркировочной таблицы регистратора температуры и параметров работы рефрижератора IceGuard
Программное обеспечениеэлектронное устройство контроллера на
предприятии-изготовителе
Программное обеспечение (далее - ПО) контроллера состоит из встроенного и автономного ПО. Встроенное метрологически значимое ПО firmware.bin загружается в производственного цикла и предназначено для обработки и передачи результатов измерений на систему верхнего уровня. ПО недоступно пользователю и не подлежит изменению на протяжении всего времени функционирования изделия.
во время
Автономное ПО «IceGuard» с метрологически значимой частью “GSProtocolService.cs” предназначено для взаимодействия с контроллером. Чтение результатов измерений выполняются по беспроводному каналу Bluetooth BLE 5.0, обеспечивающему передачу цифровых данных. ПО может быть использовано для проведения измерений, получения результатов измерений.
Идентификационные данные встроенного и автономного ПО приведены в таблицах 1,2.
Таблица 1. Идентификационные данные встроенного ПО
Идентификационные данные (признаки) |
Значение |
Идентификационное наименование ПО |
firmware.bin |
Номер версии (идентификационный номер) ПО |
Версия не ниже 250.00 |
Цифровой идентификатор ПО |
5856 |
Алгоритм вычисления цифрового идентификатора ПО |
CRC16 полином x16+x15+x2+1 |
Уровень защиты встроенного ПО от непреднамеренных и преднамеренных изменений соответствует уровню «высокий» по Р 50.2.077-2014.».
Таблица 2. Идентификационные данные автономного ПО
Идентификационные данные (признаки) |
Значение |
Идентификационное наименование ПО |
IceGuard.apk |
Номер версии (идентификационный номер) ПО |
Версия не ниже 1.0 |
Цифровой идентификатор ПО |
BF2F |
Алгоритм вычисления цифрового идентификатора ПО |
CRC16 полином x16+x15+x2+1 |
Уровень защиты автономного ПО от непреднамеренных и преднамеренных изменений соответствует уровню «высокий» по Р 50.2.077-2014.
Метрологические и технические характеристикиТаблица 3.
Наименование характеристики |
Значение |
Диапазон измерений температуры окружающей среды, °С |
от -40 до +65 |
Пределы допускаемой абсолютной погрешности измерений температуры окружающей среды, °С |
± 0,5 |
Пределы допускаемой абсолютной погрешности синхронизации времени контроллера относительно шкалы UTC(SU), с |
± 1 |
Таблица 4. Основные технические характеристики
№ п/п |
Наименование характеристики |
Значение |
1 |
Напряжение питания, В |
от 9 до 39 |
2 |
Модуль беспроводной связи |
BLE 5.0 |
3 |
Максимальная потребляемая мощность: в режиме работы, Вт, не более в режиме минимального энергопотребления, Вт, не более |
0,6 0,12 |
4 |
Температура окружающего воздуха при эксплуатации, °С |
от -40 до +65 |
5 |
Степень защиты оболочки по ГОСТ 14254-2015 |
IP 54 |
6 |
Габаритные размеры(Д\Ш\В), мм, не более |
99х66,5х25,5 |
7 |
Масса, кг, не более |
0,15 |
наносится топографическим методом на титульные листы паспорта.
Комплектность средства измеренийТаблица 5. Комплектность регистратора температуры и параметров работы рефрижератора
IceGuard | ||
№ п/п |
Наименование |
Количество |
1 |
Регистратор температуры и параметров работы рефрижератора IceGuard |
1 шт. |
2 |
Комплект из двух датчиков температуры со штекером питания |
1 компл. |
3 |
Предохранитель |
1 шт. |
4 |
Паспорт ПКГС.001.1409.2023 ПС |
1 экз. |
5 |
Мобильное приложение IceGuard. Краткое руководство пользователя |
1 экз. |
«Мобильное
Приведены в разделе «Работа с приложением IceGuard» документа приложение IceGuard. Краткое руководство пользователя».
к средству
Приказ Росстандарта от 19 ноября 2024 г. № 2712 «Об утверждении Государственной поверочной схемы для средств измерений температуры»;
Приказ Росстандарта от 13 октября 2022 г. № 2360 «Об утверждении Государственной поверочной схемы для средств измерений времени и частоты»;
ПКГС.001.1409.2023 ТУ «Регистратор температуры и параметров работы рефрижератора «IceGuard». Технические условия».
ПравообладательОбщество с ограниченной ответственностью «Производственно-коммерческая фирма
«Проффит Консалтинг» (ООО «ПКФ «Проффит Консалтинг»)
ИНН: 1650176758
Юридический адрес: Республика Татарстан, г.о. город Набережные Челны,
г. Набережные Челны, ул. Металлургическая, зд. 61, помещ. 1
Тел.: (8552) 32-24-74
E-mail: proffit2000@mail.ru
ИзготовительОбщество с ограниченной ответственностью «Производственно-коммерческая фирма
«Проффит Консалтинг» (ООО «ПКФ «Проффит Консалтинг»)
ИНН: 1650176758
Адрес: Республика Татарстан, г.о. город Набережные Челны, г. Набережные Челны,
ул. Металлургическая, зд. 61, помещ. 1
Тел.: (8552) 32-24-74
E-mail: proffit2000@mail.ru
Испытательный центрОбщество с ограниченной ответственностью «Независимое метрологическое обеспечение потребителя» (ООО «НМОП»)
Юридический адрес: 420095, Республика Татарстан, г.о. город Казань, г. Казань, тер. Химград, д. 63, помещ 1580
Адрес места осуществления деятельности: 420095, Республика Татарстан, г. Казань, тер. Химград, д. 63, помещ. 1580
Тел.: +7 (843) 5903952
E-mail: nmop@bk.ru
Web-сайт: www.nmop.pro
Уникальный номер записи в реестре аккредитованных лиц № RA.RU.314024.

УТВЕРЖДЕНО приказом Федерального агентства по техническому регулированию и метрологии от «10» июля 2025 г. № 1414
Лист № 1
Всего листов 5
Регистрационный № 95875-25
ОПИСАНИЕ ТИПА СРЕДСТВА ИЗМЕРЕНИЙ
Сигнализаторы загазованности ГТР-1Р
Назначение средства измеренийСигнализаторы загазованности ГТР-1Р (далее - сигнализаторы) предназначены для непрерывного автоматического контроля концентрации метана (СН4), пропана (С3Н8), оксида углерода (СО) в воздухе рабочей зоны, жилых, бытовых, административных и общественных помещений, и выдачи светового и/или звукового сигналов о превышении установленных пороговых значений, подачи сигнала на закрытие электромагнитного клапана, а также для управления вторичными устройствами - исполнительными элементами систем.
Описание средства измеренийСигнализаторы представляют собой стационарные автоматические средства измерений непрерывного действия, которые состоят из чувствительного элемента, органов обработки сигнала и сигнализации (БИС). В БИС установлены контакты реле, срабатывающие при превышении порогового значения концентрации контролируемого газа. Конструктивно сигнализаторы выполнены в виде единого блока в корпусе с электронной платой, блоком питания, чувствительными элементами и реле.
Принцип действия сигнализаторов основан на преобразовании сигналов изменения сопротивления полупроводникового сенсора (для СН4 и С3Н8) или электрического сигнала электрохимического сенсора (для СО) при изменении концентрации контролируемого газа.
Сигнализаторы выпускаются в четырех модификациях, которые отличаются определяемыми компонентами и типом сенсора:
-
- ГТР-1Р-1 - полупроводниковый сенсор, определяемый компонент - метан (СН4);
-
- ГТР-1Р-2 - полупроводниковый сенсор, определяемый компонент - пропан (С3Н8);
-
- ГТР-1Р-3 - электрохимический сенсор, определяемый компонент - оксид углерода (СО);
-
- ГТР-1Р-4 - полупроводниковый и электрохимический сенсоры, определяемые компоненты - метан (СН4) и оксид углерода (СО).
Сигнализаторы обеспечивают непрерывное измерение концентрации определяемых компонентов в воздухе, выдачу светового и звукового сигналов, сигнала на закрытие электромагнитного клапана.
Способ отбора пробы - диффузионный.
Внешний вид сигнализаторов, место нанесения знака утверждения типа и схема пломбирования от несанкционированного доступа приведены на рисунках 1 и 2.
Серийные номера, состоящие из арабских цифр, наносятся на идентификационную табличку, закрепленную на задней стороне сигнализатора, типографским способом (рисунок 3).
Знак поверки наносится на боковую сторону сигнализатора в виде наклейки (рисунок 2).
Защита от несанкционированных вмешательств предусмотрена с помощью пломбы в виде наклейки на отверстие под шуруп.


Б) Вид сигнализатора загазованности ГТР-1Р спереди
Рисунок 1 - Общий вид сигнализаторов загазованности ГТР-1Р
-
I
-
II
Место размещения наклейки со знаком
поверки
Сигнализатор загазованности ГТР-1Р-4 Онредедяемые газы: СИ4 10% НКНР. СО 100.MI куб.м
I Пианне 220В, 501 ц Произведено 2 '2024
Серийный но.мер 2917240111
$

Рисунок 2 - Вид сигнализаторов загазованности ГТР-1Р сбоку
Рисунок 3 - Идентификационная табличка
Сигнализаторы имеют встроенное программное обеспечение (далее - ПО), необходимое для непрерывного автоматического контроля концентрации определяемых компонентов в воздухе.
Встроенное ПО сигнализаторов является метрологически значимым.
Уровень защиты ПО от непреднамеренных и преднамеренных изменений соответствует уровню «высокий» согласно Р 50.2.077-2014.
Конструкция СИ исключает возможность несанкционированного влияния на ПО СИ и измерительную информацию.
Метрологические и технические характеристикиМетрологические и технические характеристики сигнализаторов представлены в таблицах 1 - 4.
Таблица 1 -
Наименование характеристики |
Значение |
Метан (СН4) | |
Значение концентрации, соответствующей порогу срабатывания сигнализации, % НКПР |
10 |
Пределы допускаемой абсолютной погрешности измерения концентрации, соответствующей порогу срабатывания сигнализации, % НКПР |
±5 |
Время срабатывания сигнализации, с, не более |
15 |
Время прогрева сигнализатора, с, не более |
180 |
Пропан (СзН8) | |
Значение концентрации, соответствующей порогу срабатывания сигнализации, % НКПР |
10 |
Пределы допускаемой абсолютной погрешности измерения концентрации, соответствующей порогу срабатывания сигнализации, % НКПР |
±5 |
Время срабатывания сигнализации, с, не более |
15 |
Время прогрева сигнализатора, с, не более |
180 |
Оксид углерода (СО) | |
Значение концентрации, соответствующей порогу срабатывания сигнализации, мг/м3 |
100 |
Пределы допускаемой абсолютной погрешности измерения концентрации, соответствующей порогу срабатывания сигнализации, мг/м3 |
±25 |
Время срабатывания сигнализации, с, не более |
60 |
Время прогрева сигнализатора, с, не более |
180 |
Таблица 2 - Дополнительные метрологические характеристики
Наименование характеристики |
Значение |
Время выдачи сигнала реле на срабатывание клапана, с, не более |
15 |
Таблица 3 - Технические характеристики
Наименование характеристики |
Значение |
Габаритные размеры (длинахширинахвысота), мм, не более |
85x85x34 |
Масса, кг, не более |
0,2 |
Потребляемая мощность, Вт, не более |
3 |
Параметры электрического питания:
|
от 196 до 243 от 49 до 51 |
Условия эксплуатации:
|
от -10 до +50 от 20 до 95 от 86 до 106,7 |
Таблица 4 - Показатели надежности
Наименование характеристики |
Значение |
Срок службы, лет, не менее |
10 |
Средняя наработка до отказа, ч, не менее |
100000 |
наносится типографским способом на идентификационную табличку, закрепленную на задней стороне сигнализатора, на титульный лист руководства по эксплуатации и технический паспорт.
Комплектность средства измеренийКомплектность средства измерений представлена в таблице 5.
Таблица 5 - Комплектность
Наименование |
Обозначение |
Количество |
Сигнализатор загазованности |
ГTP-1Р |
1 шт. |
Руководство по эксплуатации |
ГТР-1Р.002.РЭ |
1 экз. |
Технический паспорт |
ГТР-1Р.002.ПС |
1 экз. |
Монтажный комплект |
- |
1 к-т |
приведены в разделе 2 «Использование по назначению» документа ГТР-1Р.002.РЭ «Руководство по эксплуатации. Сигнализатор загазованности ГТР-1Р».
Нормативные документы, устанавливающие требования к средству измеренийПриказ Федерального агентства по техническому регулированию и метрологии от 31 декабря 2020 г. № 2315 «Об утверждении государственной поверочной схемы для средств измерений содержания компонентов в газовых и газоконденсатных средах»;
ТУ 26.51.53-002-86900032-2024 «Сигнализаторы загазованности ГТР-1Р. Технические условия».
ПравообладательОбщество с ограниченной ответственностью «Газтехрешения» (ООО «Газтехрешения») ИНН 9725145786
Юридический адрес: 115054, г. Москва, вн. тер. г. муниципальный округ Даниловский, ул. Дубининская, д. 55, к. 1
Тел./Факс: 8 (993) 279-99-56
E-mail: info@gaztehreshenia.ru
Web сайт: http://www.gaztehreshenia.ru
ИзготовительОбщество с ограниченной ответственностью «Газтехрешения» (ООО «Газтехрешения») ИНН 9725145786
Юридический адрес: 115054, г. Москва, вн. тер. г. муниципальный округ Даниловский, ул. Дубининская, д. 55, к. 1
Адрес места осуществления деятельности: 142600, Московская обл., г. Орехово-Зуево, ш. Ликинское, д. 1
E-mail: info@gaztehreshenia.ru
Web сайт: http://www.gaztehreshenia.ru
Испытательный центрОбщество с ограниченной ответственностью «ПРОММАШ ТЕСТ Метрология» (ООО «ПРОММАШ ТЕСТ Метрология»)
Адрес: 119415, г. Москва, пр-кт Вернадского, д. 41, стр. 1, помещ. 263
Тел.: +7 (495) 108 69 50
E-mail: info@metrologiya.prommashtest.ru
Уникальный номер записи в реестре аккредитованных лиц № RA.RU.314164.

УТВЕРЖДЕНО приказом Федерального агентства по техническому регулированию и метрологии от «10» июля 2025 г. № 1414
Лист № 1
Всего листов 5
Регистрационный № 95876-25
ОПИСАНИЕ ТИПА СРЕДСТВА ИЗМЕРЕНИЙ
Гриндометры ПРОМТ
Назначение средства измеренийГриндометры ПРОМТ (далее по тексту - гриндометры) предназначены для измерений размеров частиц при определении степени перетира различных материалов.
Описание средства измеренийПринцип действия гриндометров основан на распределении материала в пазах, глубина которых соответствует размерам частиц материала.
Гриндометры состоят из измерительной плиты и скребка, изготовленных из закаленной нержавеющей стали.
Гриндометры изготавливаются в следующих модификациях: ГК-1-25, ГК-1-50, ГК-1-100, ГК-1-150, ГК-2-25, ГК-2-50, ГК-2-100 и ГК-2-150, которые отличаются диапазонами измерений размеров частиц и/или количеством пазов.
В гриндометрах модификаций ГК-1-25, ГК-1-50, ГК-1-100 и ГК-1-150 на поверхности измерительной плиты вдоль ее длинной стороны выполнен клинообразный паз с равномерно увеличивающейся глубиной.
В гриндометрах модификаций ГК-2-25, ГК-2-50, ГК-2-100 и ГК-2-150 на поверхности измерительной плиты вдоль ее длинной стороны выполнено два клинообразных паза с равномерно увеличивающейся глубиной.
Сверху либо на боковых гранях гриндометра нанесена цифровая шкала, указывающая на глубину паза. Глубина паза равномерно увеличивается от нуля до максимального значения диапазона измерений гриндометра и соответствует шкале гриндометра. Длина паза больше длины шкалы (для помещения испытуемого материала). Шкала гриндометра отградуирована в соответствии с глубиной паза.
Скребок представляет собой двухстороннее полированное и прямое лезвие с закругленной кромкой и используется для размещения материала в пазах измерительной плиты.
Пломбирование гриндометров от несанкционированного доступа не предусмотрено.
Нанесение знака поверки на средство измерений не предусмотрено. Заводской номер в цифровом виде наносится на боковую сторону гриндометра методом гравировки.
Фотографии общего вида гриндометров представлены на рисунках 1 - 2.
Места нанесения заводского номера и знака утверждения типа указаны на рисунке 3.


Рисунок 2 - Общий вид гриндометров модификаций ГК-2-25, ГК-2-50, ГК-2-100 и ГК-2-150

Рисунок 3 - Места нанесения заводского номера и знака утверждения типа
Метрологические и технические характеристикиТаблица 1 -
Наименование характеристики |
Значение для модификации | |||
ГК-1-25; ГК-2-25 |
ГК-1-50; ГК-2-50 |
ГК-1-100; ГК-2-100 |
ГК-1-150; ГК-2-150 | |
Диапазон измерений размеров частиц, мкм |
от 0 до 25 |
от 0 до 50 |
от 0 до 100 |
от 0 до 150 |
Цена деления шкалы, мкм |
2,5 |
5,0 |
10,0 |
10,0 |
Пределы допускаемой абсолютной погрешности измерений размеров частиц, мкм |
±2,5 |
Таблица 2 - Основные технические
Наименование характеристики |
Значение |
Допуск по толщине измерительной плиты между верхней и нижней поверхностями, мкм, не более |
25 |
Допускаемое отклонение от плоскостности каждой точки измерительной поверхности плиты, мкм, не более |
12 |
Ширина паза, мм |
12,5±0,5 |
Габаритные размеры (длинахширинахвысота), мм, не более:
|
180x70x20 95x45x8 |
Масса измерительной плиты гриндометра, кг, не более |
1,3 |
Условия эксплуатации:
|
от +15 до +25 80 |
Таблица 3 - Показатели надежности
Наименование характеристики |
Значение |
Средний срок службы, лет |
5 |
Наработка на отказ, ч |
6000 |
наносится на боковую сторону гриндометра методом гравировки и титульный лист руководства по эксплуатации типографским способом.
Комплектность средства измеренийТаблица 4 - Комплектность средства измерений
Наименование |
Обозначение |
Количество |
Гриндометр ПРОМТ* |
- |
1 шт. |
Скребок |
- |
1 шт. |
Упаковочная тара |
- |
1 шт. |
Руководство по эксплуатации |
ПРВМ.528.00.001РЭ |
1 экз. |
* Модификация в соответствии с заказом. |
приведены в разделе 2 «Использование по назначению» руководства по эксплуатации ПРВМ.528.00.001РЭ.
Нормативные документы, устанавливающие требования к средству измеренийПРВМ.414117.003 ТУ:2024 «Гриндометры ПРОМТ. Технические условия».
ПравообладательОбщество с ограниченной ответственностью НТЦ «Промтехнологии» (ООО НТЦ «Промтехнологии»)
ИНН 7805712518
Юридический адрес: 198152, г. Санкт-Петербург, ул. Краснопутиловская, д. 69, лит. А, ч. помещ. 33Н, оф. 616.1
Телефон: +7 (812) 900-23-47
E-mail: info@promtech-test.ru
Web-сайт: www.promtech-test.ru
ИзготовительОбщество с ограниченной ответственностью НТЦ «Промтехнологии» (ООО НТЦ «Промтехнологии»)
ИНН 7805712518
Юридический адрес: 198152, г. Санкт-Петербург, ул. Краснопутиловская, д. 69, лит. А, ч. помещ. 33Н, оф. 616.1
Адреса мест осуществления деятельности:
198152, г. Санкт-Петербург, ул. Краснопутиловская, д. 69, лит. А, ч. помещ. 33Н;
198323, Ленинградская обл., Ломоносовский р-н, Анненское СП, Красносельское ш., стр. 2
Телефон: +7 (812) 900-23-47
E-mail: info@promtech-test.ru
Web-сайт: www.promtech-test.ru
Испытательный центрОбщество с ограниченной ответственностью «Омега Тест Групп» (ООО «ОТГ») Адрес: 111141, г. Москва, ул. Плеханова, д. 15А, стр. 3, помещ. 68/1, ком. 197-229 Телефон (факс): +7 (499) 302-01-37
E-mail: info@omega-tg.com
Web-сайт: omega-tg.com
Уникальный номер записи в реестре аккредитованных лиц № RA.RU.315018.

УТВЕРЖДЕНО приказом Федерального агентства по техническому регулированию и метрологии от «10» июля 2025 г. № 1414
Лист № 1
Всего листов 6
Регистрационный № 95877-25
ОПИСАНИЕ ТИПА СРЕДСТВА ИЗМЕРЕНИЙ
Счетчики газа СГЭК
Назначение средства измеренийСчетчики газа СГЭК (далее - счетчики) предназначены для измерений объема природного газа по ГОСТ 5542-2022 и других неагрессивных газов, приведенных к стандартным условиям (абсолютное давление 0,101325 МПа, температура плюс 20 °С).
Описание средства измеренийПринцип действия счётчика основан на зависимости частоты колебаний струи в струйном генераторе от расхода газа. Колебания струи в струйном генераторе преобразуются пьезоэлементом в электрический сигнал, пропорциональный объемному расходу газа, прошедшему через счетчик, который преобразуется в аналогово-цифровом блоке в величину объема газа и регистрируется с нарастающим итогом. Используя значения температуры встроенного датчика температуры, а также значений абсолютного давления и коэффициента сжимаемости газа, принятых за условно-постоянные величины, рассчитывается объем газа, приведенный к стандартным условиям.
Счетчики состоят из преобразователя расхода - струйный генератор и пьезоэлемент, аналого-цифрового блока, вычислительного блока, интерфейсного блока, элемента питания, электромагнитного клапана и датчика температуры.
Счетчики выпускаются с левым и правым направлениями потока газа. Направление потока газа указывается стрелкой, расположенной на нижней части корпуса счетчика.
Счетчики имеют следующую структуру условного обозначения:
Счетчики газа СГЭК-Х1-Х2:
Х1 - типоразмер;
X2 - направление потока газа (Л - вход газа слева, П - вход газа справа).
Общий вид счетчиков представлен на рисунке 1.

Рисунок 1 - Общий вид счетчиков газа СГЭК
Заводской номер в виде цифрового обозначения, состоящего из
арабских цифр, типографическим способом наносится на самоклеящуюся этикетку, расположенную на боковой стенке корпуса счетчика. Общий вид самоклеящейся этикетки, место нанесения заводского номера и знака утверждения типа представлены на рисунке 2.
Нанесение знака поверки на счетчики не предусмотрено. Знак поверки наносится на титульный лист паспорта.
Место пломбировки счетчиков показано на рисунке 3.
Счетчик газа СГЭК-4'Л |
АО "Гипромиигаз" | ||
Технические усповия Минимальный расход Максимальный расход Номинальный диаметр Рабочее давление измеряемой среды Диапазон температур рабочей среды Степень защиты оболочки |
РГП6.4О737Э.0О4 ТУ 0,04 м/ч 4 DM20 5 кПа (0,05 кгс.'смГ^ от минус 10*С до ппвс 50“С IP 40 | ||
Заводской нсилэр |
СТО01 |
Efl[ IP40 | |
Дата выпуска |
09 2024 | ||

Рисунок 2 - Общий вид самоклеящейся этикетки, место нанесения заводского номера и знака утверждения типа

Программное обеспечение (далее - ПО) счетчиков является встроенным. Разделения ПО на метрологически значимую часть ПО и метрологически незначимую часть ПО нет. ПО предназначено для измерения, преобразования, хранения, обработки и передачи измерительной информации об объемном расходе газа во внешние измерительные системы.
Метрологические характеристики счетчиков нормированы с учетом ПО. ПО устанавливается (прошивается) в память счетчиков при изготовлении и не может быть считано через какой-либо интерфейс и изменено.
Конструкция счетчиков исключает возможность несанкционированного влияния на ПО и измерительную информацию. Уровень защиты ПО «высокий» в соответствии с Р 50.2.077-2014.
Метрологические и технические характеристикиМетрологические характеристики счетчиков приведены в таблице 1.
Таблица 1 - Метрологические характеристики счетчиков
Наименование характеристики |
Значение | |||
Типоразмер |
СГЭК-1,6 |
СГЭК-2,5 |
СГЭК-3,2 |
СГЭК-4 |
Минимальный расход газа Qmin, м3/ч |
0,04 |
0,04 |
0,04 |
0,04 |
Максимальный расход газа Qmax, м3/ч |
1,6 |
2,5 |
3,2 |
4 |
Пределы допускаемой основной относительной погрешности измерений объема газа, приведенного к стандартным условиям1), %, в диапазоне расходов — Qmin < Q < 0,2^Qmax — 0,2^Qmax < Q < Qmax: |
±2,5 ±1,5 | |||
Пределы допускаемой дополнительной относительной погрешности измерений объема газа, приведенного к стандартным условиям, вызванной отклонением температуры измеряемой среды от (20±5) °С на каждые 10 °С1), % |
±0,5 | |||
1) Без учета погрешности от принятия абсолютного давления и коэффициента сжимаемости газа за условного-постоянные значения. Примечания:
|
Таблица 2 -Технические характеристики
Наименование характеристики |
Значение | |
Типоразмер |
СГЭК-1,6 СГЭК-2,5 СГЭК-3,2 |
СГЭК-4 |
Номинальный диаметр |
DN 15 |
DN 20 |
Порог чувствительности, м3/ч |
0,04 | |
Давление измеряемой среды, кПа, не более |
5 | |
Температура измеряемой среды, °С |
от -10 до +50 | |
Наименьшая цена деления отсчетного устройства, 3 м |
0,001 |
Продолжение таблицы 2
Наименование характеристики |
Значение |
Напряжение источника питания (литиевая батарея), В |
3,6 |
Емкость отсчетного устройства, м3 |
99999,999 |
Габаритные размеры, мм, не более:
|
220 130 135 |
Масса, кг, не более |
3 |
Класс защиты корпуса от пыли и влаги |
IP40 |
Вывод информации |
жидкокристаллический индикатор; импульсный выход; GPRS |
Условия эксплуатации:
|
от +1 до +50 от 20 до 80 от 84,0 до 106,7 |
Таблица 3 - Показатели надежности
Наименование характеристики |
Значение |
Средний срок службы счетчика, лет |
12 |
Средний срок службы источника питания, лет |
6 |
Средняя наработка на отказ, ч |
80000 |
наносится на этикетку, расположенную на боковой стенке корпуса счетчика, и на титульный лист паспорта типографским способом.
Комплектность средства измеренийТаблица 4 - Комплектность
Наименование |
Обозначение |
Количество, шт./экз. |
Счетчик газа |
СГЭК |
1 |
Паспорт |
РГПБ.407279.004 ПС |
1 |
Руководство по эксплуатации |
РГПБ.407279.004 РЭ |
1 |
GSM-антенна (по заказу) |
- |
По заказу |
приведены в разделе 1 «Описание и работа» руководства по эксплуатации РГПБ.407279.004 РЭ.
Нормативные документы, устанавливающие требования к средству измеренийПриказ Росстандарта от 11 мая 2022 г. № 1133 «Об утверждении Государственной поверочной схемы для средств измерений объемного и массового расходов газа»;
РГПБ.407279.004 ТУ Счетчики газа СГЭК. Технические условия.
ПравообладательАкционерное общество «Головной научно-исследовательский и проектный институт по распределению и использованию газа «Гипрониигаз» (АО «Гипрониигаз») ИНН 6455000573
Юридический адрес: 119180, г. Москва, вн. тер. г. муниципальный округ Якиманка, ул. Большая полянка, д. 2, стр. 2, помещ. 1/2
ИзготовительАкционерное общество «Головной научно-исследовательский и проектный институт по распределению и использованию газа «Гипрониигаз» (АО «Гипрониигаз») ИНН 6455000573
Юридический адрес: 119180, г. Москва, вн. тер. г. муниципальный округ Якиманка, ул. Большая полянка, д. 2, стр. 2, помещ. 1/2
Адрес места осуществления деятельности: 410086, г. Саратов, пр-д Верхний Нефтегорский, зд. 8, стр. 1
Испытательный центрОбщество с ограниченной ответственностью «ПРОММАШ ТЕСТ Метрология» (ООО «ПРОММАШ ТЕСТ Метрология»)
Юридический адрес: 119415, г. Москва, пр-кт Вернадского, д. 41, стр. 1, помещ. 263 Адрес места осуществления деятельности: 142300, Московская обл., Чеховский р-н, г. Чехов, Симферопольское ш., д. 2
Телефон: +7 (495) 108-69-50
E-mail: info@metrologiya.prommashtest.ru
Уникальный номер записи в реестре аккредитованных лиц № RA.RU.314164.

УТВЕРЖДЕНО приказом Федерального агентства по техническому регулированию и метрологии от «10» июля 2025 г. № 1414
Регистрационный № 95878-25
Лист № 1
Всего листов 4
ОПИСАНИЕ ТИПА СРЕДСТВА ИЗМЕРЕНИЙ
Полуприцеп-цистерна FRUEHAUF T34TGN
ППЦ)
предназначена для измерения объема, а также для транспортирования и временного хранения нефтепродуктов.
Принцип действия ППЦ основан на заполнении ее нефтепродуктом до уровня налива, соответствующего объему нефтепродукта. Слив нефтепродукта производится самотеком.
ППЦ состоит из алюминиевой сварной цистерны, имеющей в поперечном сечении круглую форму, установленной на шасси. Цистерна состоит из восьми герметичных секций. Внутри секций имеются перегородки-волнорезы с отверстиями-лазами. ППЦ является транспортной мерой полной вместимости.
Каждая секция ППЦ оборудована заливной горловиной круглой формы. Указатели уровня налива из металлического уголка установлены в полости цистерны.
Технологическое оборудование предназначено для операций налива-слива нефтепродуктов и включает в себя:
- съемную крышку горловины с заливным люком и дыхательным клапаном;
- клапан донный;
- кран шаровой;
- рукава напорно-всасывающие.
На боковых сторонах ограничения скорости и знаки груз.
Общий вид
зав. № VFKT34TGNM1RF2499 и схема пломбировки представлены на рисунках 1-3.
и сзади ППЦ имеются надпись «ОГНЕОПАСНО», знак обозначения транспортного средства, перевозящего опасный
полуприцепа-цистерны
FRUEHAUF
T34TGN

Рисунок 1 - Общий вид полуприцепа-цистерны FRUEHAUF T34TGN

Рисунок 2 - Общий вид полуприцепа-цистерны FRUEHAUF T34TGN
Схема пломбировки для защиты от несанкционированного изменения положения уровня налива, обозначение места нанесения знака поверки представлены на рисунке 3:

Рисунок 3 - Схема пломбировки от несанкционированного изменения положения уровня налива, обозначение места нанесения знака поверки
Знак поверки наносится на свидетельство о поверке и заклепку, крепящую указатель уровня налива в виде оттиска поверительного клейма.
Заводской номер наносится на маркировочную табличку ударным способом, обеспечивающий идентификацию СИ, возможность прочтения и сохранность в процессе эксплуатации ППЦ. Маркировочные таблички установлены на передней части рамы ППЦ.
Метрологические и технические характеристикиТаблица 1 - Метрологические характеристики
Наименование характеристики |
Значение |
Номинальная вместимость, дм3 |
38000 |
Количество секций, шт. |
8 |
Номинальная вместимость секций, дм3 1 секция, дм3 |
6000 |
2 секция, дм3 |
4000 |
3 секция, дм3 |
2000 |
4 секция, дм3 |
2000 |
5 секция, дм3 |
7000 |
6 секция, дм3 |
4000 |
7 секция, дм3 |
5000 |
8 секция, дм3 |
8000 |
Пределы допускаемой относительной погрешности определения вместимости, % |
±0,4 |
Разность между номинальной и действительной вместимостью, %, не более |
±1,5 |
Таблица 2 - Технические характеристики
Наименование характеристики |
Значение |
Снаряженная масса, кг, не более |
6060 |
Температура окружающей среды при эксплуатации, °С |
от - 40 до + 50 |
наносится на титульный лист паспорта типографским способом.
Комплектность средства измеренийТаблица 3 - Комплектность
№ п/п |
Наименование |
Обозначение |
Количество |
1 |
Полуприцеп-цистерна |
FRUEHAUF T34TGN |
1 шт. |
2 |
Паспорт |
- |
1 экз. |
Сведения о методиках (методах) измерений приведены в Паспорте «Полуприцеп-цистерна FRUEHAUF T34TGN», раздел 8.
Нормативные документы, устанавливающие требования к средствам измеренияПриказ Росстандарта от 26 сентября 2022 г. № 2356 «Об утверждении Государственной поверочной схемы для средств измерений массы и объема жидкости в потоке, объема жидкости и вместимости при статических измерениях, массового и объемного расходов жидкости».
ПравообладательFruehauf Trailer Corporation
Юридический адрес: Франция, 24-28 avenue Jean Mermoz, 89002 Auxerre Cedex
ИзготовительFruehauf Trailer Corporation
Адрес: Франция, 24-28 avenue Jean Mermoz, 89002 Auxerre Cedex
Испытательный центрОбщество с ограниченной ответственностью фирма «Метролог» (ООО фирма «Метролог»)
Юридический адрес: 420029, Республика Татарстан, г. Казань, ул. 8 Марта, д. 13, оф. 33 Телефон/факс: +7(843) 513-30-75
E-mail: metrolog-kazan@mail.ru
Уникальный номер записи в реестре аккредитованных лиц № RA.RU.312275.

УТВЕРЖДЕНО приказом Федерального агентства по техническому регулированию и метрологии от «10» июля 2025 г. № 1414
Лист № 1
Всего листов 4
Регистрационный № 95879-25
ОПИСАНИЕ ТИПА СРЕДСТВА ИЗМЕРЕНИЙ
Полуприцеп-цистерна CRANE FRUEHAUF
Назначение средства измерений
Полуприцеп-цистерна CRANE FRUEHAUF (далее
ППЦ)
предназначена для измерения объема, а также для транспортирования и временного хранения нефтепродуктов.
Описание средства измеренийПринцип действия ППЦ основан на заполнении ее нефтепродуктом до уровня налива, соответствующего объему нефтепродукта. Слив нефтепродукта производится самотеком.
ППЦ состоит из алюминиевой сварной цистерны, имеющей в поперечном сечении чемоданообразную форму, установленной на шасси. Цистерна состоит из шести герметичных секций. Внутри секций имеются перегородки-волнорезы с отверстиями-лазами. ППЦ является транспортной мерой полной вместимости.
Каждая секция ППЦ оборудована заливной горловиной круглой формы. Указатели уровня налива из металлического уголка установлены в полости цистерны.
Технологическое оборудование предназначенно для операций налива-слива нефтепродуктов и включает в себя:
- съемную крышку горловины с заливным люком и дыхательным клапаном;
- клапан донный;
- кран шаровой;
- рукава напорно-всасывающие.
На боковых сторонах и сзади ППЦ имеются надпись «ОГНЕОПАСНО», знак ограничения скорости и знаки обозначения транспортного средства, перевозящего опасный груз.
Общий вид полуприцепа-цистерны CRANE FRUEHAUF зав. № KT315904 и схема пломбировки представлены на рисунках 1-3.

Рисунок 1 - Общий вид полуприцепа-цистерны CRANE FRUEHAUF

Рисунок 2 - Общий вид полуприцепа-цистерны CRANE FRUEHAUF
Схема пломбировки для защиты от несанкционированного изменения положения уровня налива, обозначение места нанесения знака поверки представлены на рисунке 3:
Верхний борщ гп/сгнерны

Рисунок 3 - Схема пломбировки уровня налива, обозначение места нанесения знака поверки.
нанесения знака поверки
от несанкционированного изменения положения
Знак поверки наносится на свидетельство о поверке и заклепку, крепящую указатель уровня налива в виде оттиска поверительного клейма.
Заводской номер наносится на маркировочную табличку ударным способом, обеспечивающий идентификацию СИ, возможность прочтения и сохранность в процессе эксплуатации ППЦ. Маркировочные таблички установлены на передней части рамы ППЦ.
Метрологические и технические характеристикиТаблица 1 - Метрологические характеристики
Наименование характеристики |
Значение |
Номинальная вместимость, дм3 |
36000 |
Количество секций, шт. |
6 |
Номинальная вместимость секций, дм3 1 секция, дм3 |
7000 |
2 секция, дм3 |
6000 |
3 секция, дм3 |
6000 |
4 секция, дм3 |
5000 |
5 секция, дм3 |
5000 |
6 секция, дм3 |
7000 |
Пределы допускаемой относительной погрешности определения вместимости, % |
±0,4 |
Разность между номинальной и действительной вместимостью, %, не более |
±1,5 |
Таблица 2 - Технические
Наименование характеристики |
Значение |
Снаряженная масса, кг, не более |
8340 |
Температура окружающей среды при эксплуатации, °С |
от - 40 до + 50 |
наносится на титульный лист паспорта типографским способом.
Комплектность средства измеренийТаблица 3 - Комплектность
№ п/п |
Наименование |
Обозначение |
Количество |
1 |
Полуприцеп-цистерна |
CRANE FRUEHAUF |
1 шт. |
2 |
Паспорт |
- |
1 экз. |
Сведения о методиках (методах) измерений приведены в Паспорте «Полуприцеп-цистерна CRANE FRUEHAUF», раздел 8.
Нормативные документы, устанавливающие требования к средствам измеренияПриказ Росстандарта от 26 сентября 2022 г. № 2356 «Об утверждении Государственной поверочной схемы для средств измерений массы и объема жидкости в потоке, объема жидкости и вместимости при статических измерениях, массового и объемного расходов жидкости».
ПравообладательFruehauf Trailer Corporation
Юридический адрес: Франция, 24-28 avenue Jean Mermoz, 89002 Auxerre Cedex
ИзготовительFruehauf Trailer Corporation
Адрес: Франция, 24-28 avenue Jean Mermoz, 89002 Auxerre Cedex
Испытательный центрОбщество с ограниченной ответственностью фирма «Метролог» (ООО фирма «Метролог»)
Юридический адрес: 420029, Республика Татарстан, г. Казань, ул. 8 Марта, д. 13, оф. 33 Телефон/факс: +7(843) 513-30-75
E-mail: metrolog-kazan@mail.ru
Уникальный номер записи в реестре аккредитованных лиц № RA.RU.312275.

УТВЕРЖДЕНО приказом Федерального агентства по техническому регулированию и метрологии от «10» июля 2025 г. № 1414
Лист № 1
Всего листов 5
Регистрационный № 95880-25
ОПИСАНИЕ ТИПА СРЕДСТВА ИЗМЕРЕНИЙ
Микрозонды аналитические рентгеновские сканирующие ЭКРОС XRF-9720 STINGRAY
Назначение средства измеренийМикрозонды аналитические рентгеновские сканирующие ЭКРОС XRF-9720 STINGRAY (далее - микрозонды) предназначены для измерений массовой доли химических элементов и идентификации химических элементов в различных твердых монолитных образцах веществ и материалов, а также для исследования однородности состава образцов с помощью картирования распределения химических элементов и рентгенографических изображений образцов.
Описание средства измеренийПринцип действия микрозондов основан на возбуждении и последующей регистрации рентгеновского спектра характеристического излучения исследуемого образца. Энергия характеристических линий спектра соответствует химическим элементам, содержащимся в образце, а их интенсивность пропорциональна концентрации соответствующих элементов.
Рентгеновское излучение (флуоресцентное), содержащее характеристические линии химических элементов, возбуждается при облучении образца первичным рентгеновским излучением. В качестве источника первичного рентгеновского излучения используется микрофокусная рентгеновская трубка с анодом из родия (Rh) (опционально материал анода может быть из: вольфрама (W), серебра (Ag), кобальта (Co), молибдена (Mo), меди (Cu), хрома (Cr)). Излучение от рентгеновской трубки проходит через поликапиллярную линзу и систему фильтрации и попадает в измерительную камеру и далее на образец. Часть потока рентгеновского излучения возбуждает вторичное характерестическое излучение, которое регистрируется полупроводниковым Si-дрейфовым детектором (SDD). Часть потока рентгеновского излучения проходит через образец и регистрируется системой регистрации на основе специальных диодов. Далее сигналы обрабатываются электронной схемой и ведется математическая обработка, которая позволяет по зарегистрированному спектру определить количественный и качественный состав образца.
Конструктивно микрозонды представляют собой настольные приборы, состоящие из аналитического модуля. Аналитический модуль состоит из: блока возбуждения, в который входит электроника, рентгеновская трубка и поликапиллярная линза; блока детектирования (регистрации) характеристического рентгеновского излучения, в который входит детектор с электроохлаждением и импульсный процессор для накопления и обработки сигналов; блока детектирования проходящего излучения через образец, в который входит система регистрации на основе специальных диодов; системы позиционирования, в которую входит предметный стол и измерительная камера с трехкоординатной системой управления (X, Y, Z), оптическая система видеонаблюдения и регистрации изображения. К задней панели аналитического модуля подключается управляющая система - компьютер со специализированным программным обеспечением.
Дополнительно при необходимости измерения массовой доли элементов к аналитическому модулю поставляется вакуумный пост.
Корпус микрозондов изготавливается из металлических
легких химических
сплавов, пластика и окрашивается в цвета в соответствии с технической документацией изготовителя.
На переднюю панель микрозондов наносится логотип изготовителя «ЭКРОС». На заднюю панель микрозондов крепится табличка, которая содержит информацию: наименование изготовителя, обозначение, год изготовления, заводской номер в цифровом или буквенно-цифровом формате, знак утверждения типа. Информация на табличку наносится типографским способом.
Общий вид микрозондов представлен на рисунке 1. Табличка с информацией представлена на рисунке 2.
Нанесение знака поверки на микрозонды не предусмотрено.

Рисунок 1 - Общий вид микрозондов аналитических рентгеновских сканирующих
ЭКРОС XRF-9720 STINGRAY
^ЭКРОС
ООО нЭКРОСХИМ»
rprnnj ■IDL'nferiHh
ЭКРОС ХРР-Я720 STINGRAY
МИКРОЗОНД АНАЛНТИЧЕКИЙ РЕПТГЕНОаСКИЙ СКАНИРУЮЩИЙ
Зав.№: 9l<72F003 й -'2200; 50Гц: 5000 А М БКРЕ.415312.03гГ/ Э _______202 _п
ЧЭ г л клан 1-1 в РОССИИ
Рисунок 2 - Табличка микрозондов аналитических рентгеновских сканирующих
ЭКРОС XRF-9720 STINGRAY
Пломбирование микрозондов не предусмотрено. Конструкция микрозондов обеспечивает ограничение доступа к частям микрозондов, несущим первичную измерительную информацию, и местам настройки (регулировки).
Программное обеспечениеМикрозонды оснащены специализированным программным обеспечением (далее - ПО), позволяющим управлять перемещением предметного стола и измерительной камеры, задавать параметры измерения, сохранять и обрабатывать результаты измерений, включая спектры, строить карты распределения.
Уровень защиты ПО от непреднамеренных и преднамеренных изменений соответствует уровню «средний» в соответствии с Р 50.2.077-2014.
Идентификационные данные ПО микрозондов приведены в таблице 1.
Таблица 1 -
икационные данные ПО
Идентификационные данные (признаки) |
Значение |
Идентификационное наименование ПО |
MEAS9720 |
Номер версии (идентификационный номер) ПО |
6.Х* |
Цифровой идентификатор ПО |
- |
* «Х» не относится к метрологически значимой части ПО и принимает значения от 1 до 999 |
Метрологические и технические характеристики
Таблица 2 -
Наименование характеристики |
Значение |
Чувствительность на линии Fe Ка1), имп/(с^мА^%), не менее |
1000 |
Предел допускаемого относительного среднего квадратического отклонения чувствительности на линии Fe Ка1), % |
1 |
1) Значение нормировано по площади пика; значение нормировано для железа в стандартном образце массовой доли железа в твердой матрице с массовой долей от 0,90 % до 1,10 %. |
Таблица 3 - Основные технические характеристики
Наименование характеристики |
Значение |
Диапазон определяемых химических элементов |
от 11Na до 95 Am |
Параметры электрического питания: | |
- напряжение переменного тока, В |
220±22 |
- частота переменного тока, Гц |
50±1 |
Габаритные размеры, мм, не более: | |
- высота |
615 |
- ширина |
550 |
- длина |
750 |
Масса, кг, не более |
100 |
Условия эксплуатации: | |
- температура воздуха, °С |
от +10 до +35 |
- относительная влажность, %, не более |
80 |
наносится на табличку на задней панели спектрометра, а также на титульный лист руководства по эксплуатации типографским способом.
Комплектность средства измеренийТаблица 4 - Комплектность
Наименование |
Обозначение |
Количество |
Микрозонд аналитический рентгеновский сканирующий |
ЭКРОС XRF-9720 STINGRAY |
1 шт. |
в составе Модуль аналитический |
БКРЕ.415312.032.010 | |
Паспорт |
БКРЕ.415312.032 ПС |
1 экз. |
Руководство по эксплуатации |
БКРЕ.415312.032 РЭ |
1 экз. |
Флэш-карта USB с дистрибутивом ПО MEAS9720, руководством пользователя на ПО MEAS9720 и методикой поверки |
- |
1 шт. |
Комплект ЗИП |
- |
1 комп. |
Набор образцов и принадлежностей для проведения измерений* |
- |
1 комп. |
Методика поверки |
- |
1 экз. |
Компьютер (стационарный персональный компьютер/портативный персональный компьютер)* |
- |
1 шт. |
Вакуумный пост с вакуумным насосом* |
- |
1 шт. |
* Опционально |
приведены в главе 2 «Использование по назначению» документа БКРЕ.415312.032 РЭ «Микрозонды аналитические рентгеновские сканирующие ЭКРОС XRF-9720 STINGRAY. Руководство по эксплуатации».
При использовании в сфере государственного регулирования обеспечения единства измерений средства измерений применяются в соответствии с аттестованными методиками (методами) измерений.
Нормативные документы, устанавливающие требования к средству измеренийБКРЕ.415312.032 ТУ. Микрозонд аналитический рентгеновский сканирующий ЭКРОС XRF-9720 STINGRAY. Технические условия;
Приказ Росстандарта от 19 февраля 2021 г. № 148 «Об утверждении Государственной поверочной схемы для средств измерений содержания неорганических компонентов в жидких и твердых веществах и материалах».
ПравообладательОбщество с ограниченной ответственностью «ЭКРОСХИМ» (ООО «ЭКРОСХИМ») ИНН 7810235934
Юридический адрес: 196006, г. Санкт-Петербург, ул. Коли Томчака, д. 25, лит. Ж
ИзготовительОбщество с ограниченной ответственностью «ЭКРОСХИМ» (ООО «ЭКРОСХИМ») ИНН 7810235934
Адрес: 196006, г. Санкт-Петербург, ул. Коли Томчака, д. 25, лит. Ж
Испытательный центрУральский научно-исследовательский институт метрологии - филиал Федерального государственного унитарного предприятия «Всероссийский научно-исследовательский институт метрологии имени Д.И. Менделеева» (УНИИМ - филиал ФГУП «ВНИИМ им. Д.И. Менделеева»)
Адрес: 620075, г. Екатеринбург, ул. Красноармейская, д. 4
Уникальный номер записи в реестре аккредитованных лиц № RA.RU.311373.

УТВЕРЖДЕНО приказом Федерального агентства по техническому регулированию и метрологии от «10» июля 2025 г. № 1414
Лист № 1
Всего листов 6
Регистрационный № 95881-25
ОПИСАНИЕ ТИПА СРЕДСТВА ИЗМЕРЕНИЙ
Анализаторы рентгенофлуоресцентные МетЭксперт-Т
Назначение средства измеренийАнализаторы рентгенофлуоресцентные МетЭксперт-Т (далее - анализаторы) предназначены для измерений массовой доли химических элементов в металлах, сплавах, в том числе алюминиевых, магниевых, нержавеющих, конструкционных, специальных и изделий на их основе, идентификации химических элементов от натрия до кюрия в веществах, находящихся в твёрдом, порошкообразном и жидком состоянии, а также для измерений толщины покрытий.
Описание средства измеренийПринцип действия анализаторов основан на измерении спектра вторичного рентгеновского излучения.
Первичное рентгеновское излучение, создаваемое рентгеновской трубкой, взаимодействует с атомами анализируемой пробы и вызывает вторичное рентгеновское излучение, спектр которого зависит от элементного состава пробы и/или толщины покрытий. Расчет массовой доли анализируемого элемента основан на зависимости интенсивности характеристического рентгеновского излучения от содержания элемента в пробе. При расчете используется метод фундаментальных параметров, также возможно применение метода эмпирических градуировок для создания специальных режимов измерения. Расчётное значение толщины покрытий определяется величиной интенсивности линий спектра регистрируемого вторичного рентгеновского излучения. При расчете толщины покрытий используется метод эмпирических градуировок.
Конструктивно анализаторы выполнены в виде пыле-влагозащищенного моноблока из ударопрочного пластика, в котором размещены: малогабаритный моноблочный источник рентгеновского излучения, комплекс спектрометрический, управляющая электроника, блок аккумуляторных батарей и сенсорный экран управления.
В качестве источника рентгеновского излучения в анализаторах используется рентгеновская трубка. Регистрация вторичного рентгеновского излучения осуществляется с помощью кремниевого SDD детектора.
Анализаторы оснащены: встроенным компьютером с возможностью присоединения внешних устройств через USB и/или Wi-Fi для передачи результатов измерений, включая спектрограммы; сенсорным дисплеем; специализированным программным обеспечением.
Анализаторы поставляются со встроенной библиотекой марок сплавов, которая может редактироваться и пополняться пользователем.
Специализированное программное обеспечение анализаторов имеет несколько режимов измерений массовой доли элементов, предоставляемых с каждым анализатором, и режим измерений толщины покрытий, предоставляемый по заказу.
В анализаторах реализована аппаратная (с использованием оптического датчика) и программная функция автоматического отключения питания рентгеновской трубки при отсутствии образца измерения.
Анализаторы могут быть оснащены интегрированной места измерения и коллиматором рентгеновского пучка для и сварных швов.
Анализаторы предназначены для работы в полевых стационарно в лаборатории.
видеокамерой для визуализации измерения небольших
объектов
и цеховых условиях,
а также
Корпус анализаторов изготавливается из металлических сплавов, и окрашивается в цвета в соответствии с технической документацией изготовителя.
пластика
При работе с горячими поверхностями (450 - 500) °С опционально могут предоставляться высокотемпературные защитные окна.
На заднюю панель анализаторов в виде наклейки наносится информационная табличка (шильд) с обозначением, заводским номером в цифровом формате. Заводской номер наносится на информационную табличку (шильд) типографским способом.
На боковую панель анализаторов наносится гарантийная пломба в виде наклейки.
Общий вид анализаторов, место нанесения заводского номера, гарантийной пломбы и знака утверждения типа представлены на рисунке 1.
Нанесение знака поверки на анализаторы не предусмотрено.
Место нанесения гарантийной пломбы

Рисунок 1 - Общий вид анализаторов рентгенофлуоресцентных МетЭксперт-Т
Место нанесения заводского номера и знака утверждения типа
Анализаторы управляются со встроенного компьютера через специализированное программное обеспечение (далее - ПО). Специализированное ПО позволяет проводить тестирование и настройку анализатора, создавать эмпирические градуировки, проводить контроль и управление процессом измерений, осуществлять сбор экспериментальных данных, обрабатывать и сохранять полученные результаты, выводить результаты на печать, создавать библиотеки сплавов, веществ и материалов, проводить идентификацию исследуемого объекта на соответствие марки сплава в имеющейся библиотеке, определять толщину покрытий. Специализированное ПО устанавливается на встроенный и/или внешний компьютер.
Уровень защиты специализированного ПО от непреднамеренных и преднамеренных изменений соответствует уровню «высокий» в соответствии с Р 50.2.077-2014.
Идентификационные данные специализированного ПО анализаторов приведены в таблице 1.
Таблица 1 - Идентификационные данные ПО
Идентификационные данные (признаки) |
Значение |
Идентификационное наименование ПО |
MetExpert-T |
Номер версии (идентификационный номер) ПО |
1.Х.Х* |
Цифровой идентификатор ПО |
- |
* «Х» не относится к метрологически значимой части ПО и принимает значения от 0 до 99 |
Метрологические и технические характеристики
Таблица 2 - Метрологические характеристики
Наименование характеристики |
Значение |
Диапазон определяемых химических элементов |
от Na до Ст |
Предел допускаемого относительного среднего квадратического отклонения выходного сигнала на линиях К-серии Fe1), % |
2 |
Чувствительность на линиях К-серии Fe1), имп/(с^мкА^%), не менее |
200 |
Предел обнаружения2'. %, не более |
0,0005 |
Диапазон измерений массовой доли элементов в металлах и сплавах3', % |
от 0,001 до 100 |
Пределы допускаемой относительной погрешности измерений массовой доли элементов в металлах и сплавах3), %, в поддиапазонах измерений: | |
- от 0,001 % до 0,1 % включ. |
±25 |
- св. 0,1 % до 1 % включ. |
±20 |
- св. 1 % до 10 % включ. |
±5 |
- св. 10 % до 100 % включ. |
±3 |
Диапазон измерений толщины покрытий4', мкм |
от 2 до 15 |
Пределы допускаемой относительной погрешности измерений толщины покрытий4), % |
±15 |
| |
в твердой матрице. | |
| |
однослойных покрытий; значения нормированы при измерении стандартных образцов толщины | |
никелевого покрытия на дюралюминии. |
Таблица 3 - Основные технические
Наименование характеристики |
Значение |
Диапазон показаний толщины покрытий, мкм |
от 0,001 до 110 |
Время установления рабочего режима, с, не более |
45 |
Время измерения (выбирается оператором в зависимости от вида образца или анализируемой площади), с |
от 3 до 240 |
Потребляемая мощность, В^А, не более |
35 |
Параметры электрического питания: | |
- напряжение переменного тока, В | |
- частота переменного тока, Гц |
60±1/50±1 |
от аккумуляторных батарей: | |
- напряжение постоянного тока, В |
от 6,4 до 8,4 |
Время непрерывной автономной работы со штатным комплектом аккумуляторных батарей, ч, не менее |
12 |
Мощность эквивалентной дозы в условиях нормальной эксплуатации анализатора, в любой доступной точке на расстоянии 0,1 м от поверхности анализатора, мкЗв/ч, не более |
1,0 |
Класс защиты по ГОСТ 14254-2015 |
IP65 |
Габаритные размеры, мм, не более: | |
- длина |
227 |
- ширина |
95 |
- высота |
268 |
Масса, кг, не более |
2 |
Условия эксплуатации: - температура воздуха, °С |
от -35 до +50 |
- относительная влажность, %, не более |
98 |
- атмосферное давление, кПа |
от 84,0 до 106,7 |
наносится на информационную табличку (шильд), а также на титульный лист формуляра и руководства по эксплуатации типографским способом.
Комплектность средства измеренийТаблица 4 - Комплектность средства измерений
Наименование |
Обозначение |
Количество |
Анализатор рентгенофлуоресцентный* |
МетЭксперт-Т |
1 шт. |
Транспортировочный кейс |
1 шт. | |
Кофр для переноски** |
1 шт. | |
Аккумуляторная батарея |
3 шт. | |
Зарядное устройство для аккумуляторных батарей |
1 шт. | |
Блок питания универсальный с кабелем |
1 шт. | |
USB флеш-карта с дистрибутивом специализированного ПО и электронной версией эксплуатационной и разрешительной документации |
- |
1 шт. |
Калибровочный колпак |
- |
1 шт. |
Защитный колпак |
- |
1 шт. |
Продолжение таблицы 4
Наименование |
Обозначение |
Количество |
Комплект запасных частей, инструмента и пр инадлежностей |
ЛПКН 33.00.00.000 ЗИ |
1 компл. |
Набор специальных эмпирических программ* | ||
Комплект проленовых окон** | ||
Комплект каптоновых окон** | ||
Коллиматор для уменьшения области анализа* * | ||
Переносной стенд*** | ||
Термочехол** | ||
Эксплуатационная документация, в том числе: | ||
Анализатор рентгенофлуоресцентный МетЭксперт-Т. Ведомость эксплуатационных документов |
ЛПКН 33.00.00.000 ЭД |
1 экз. |
Анализатор рентгенофлуоресцентный МетЭксперт-Т. Формуляр |
ЛПКН 33.00.00.000 ФО |
1 экз. |
Анализатор рентгенофлуоресцентный МетЭксперт-Т. Руководство по эксплуатации |
ЛПКН 33.00.00.000 РЭ |
1 экз. |
Методика поверки |
- |
1 экз. |
* В зависимости от заказа анализатор поставляется с режимом «режим измерения толщины покрытий» или без режима «режим измерения толщины покрытий» ** Поставляется по согласованию с заказчиком как отдельная опция *** Переносной стенд и зарядное устройство для аккумуляторных батарей могут быть объединены в одно устройство |
приведены в разделе 3 «Использование анализатора» документа ЛПКН 33.00.00.000 РЭ «Анализатор рентгенофлуоресцентный МетЭксперт-Т. Руководство по эксплуатации».
При использовании в сфере государственного регулирования обеспечения единства измерений средства измерений применяются в соответствии с аттестованными методиками (методами) измерений.
Нормативные документы, устанавливающие требования к средству измеренийТУ 26.51.53-033-29095820-2024 «Анализатор рентгенофлуоресцентный МетЭксперт-Т. Технические условия»;
Приказ Росстандарта от 19 февраля 2021 г. № 148 «Об утверждении Государственной поверочной схемы для средств измерений содержания неорганических компонентов в жидких и твердых веществах и материалах»;
Приказ Росстандарта от 28 сентября 2018 г. № 2089 «Об утверждении Государственной поверочной схемы для средств измерений поверхностной плотности и массовой доли элементов в покрытиях».
ПравообладательОбщество с ограниченной ответственностью «Южполиметалл-Холдинг»
(ООО «ЮПХ»)
ИНН 7726383028
Юридический адрес: 117638, г. Москва, Варшавское ш., д. 56, стр. 2, эт. 4, помещ. 4
ИзготовительОбщество с ограниченной ответственностью «Южполиметалл-Холдинг»
(ООО «ЮПХ»)
ИНН 7726383028
Адрес: 117638, г. Москва, Варшавское ш., д. 56, стр. 2, эт. 4, помещ. 4
Испытательный центрУральский научно-исследовательский институт метрологии - филиал Федерального государственного унитарного предприятия «Всероссийский научно-исследовательский институт метрологии имени Д.И. Менделеева» (УНИИМ - филиал ФГУП «ВНИИМ им. Д.И. Менделеева»)
Адрес: 620075, г. Екатеринбург, ул. Красноармейская, д. 4
Уникальный номер записи в реестре аккредитованных лиц № RA.RU.311373.

Лист № 1
Всего листов 8
Регистрационный № 95882-25
ОПИСАНИЕ ТИПА СРЕДСТВА ИЗМЕРЕНИЙ
Счетчики электроэнергии однофазные компактные M2M-1CНазначение средства измерений
Счетчики электроэнергии однофазные компактные M2M-1C
предназначены для измерения и многотарифного учета активной и реактивной электрической энергии прямого и обратного направлений в однофазных сетях переменного тока промышленной частоты. Счетчики могут использоваться как автономно, так и в составе автоматизированных информационно-измерительных систем учета электрической энергии.
Описание средства измеренийПринцип действия счетчиков основан на измерении входных сигналов напряжения и силы переменного тока с помощью аналого-цифрового преобразователя с последующей обработкой с помощью микроконтроллера.
Конструктивно счетчики состоят из пластикового корпуса, контактной (клеммной) колодки, печатных плат и дисплея. Счетчики имеют в своём составе датчики тока, в качестве которых служат токовый трансформатор и шунт; датчик напряжения, в качестве которого служит резистивный делитель напряжения; реле для управления нагрузкой; микросхему аналого-цифрового преобразователя (АЦП); микроконтроллер; энергонезависимые часы реального времени; энергонезависимую память для хранения данных; графический дисплей для отображения измеренных величин и другой информации; кнопки управления; оптический порт; испытательные оптические выходы активной и реактивной энергии; модули основного и резервного каналов связи; встроенный источник питания.
Контактная (клеммная) колодка служит для подключения электросети, соединяется с корпусом и закрывается прозрачной крышкой клеммного отсека. Крышка корпуса счетчика и крышка клеммного отсека допускают пломбировку.
В журналах событий фиксируются значимые события, в числе которых изменения конфигурации, попытки внешнего воздействия на процесс учета электроэнергии, превышения пороговых значений параметров электросети и нагрузки. Счетчики регистрируют события и сохраняют их в памяти с фиксацией даты и времени. Счетчики дают возможность определить тарифные расписания с использованием до 4 тарифов и до 12 тарифных зон в сутки, задаваемых при конфигурировании. При создании расписаний используются суточные расписания, тарифные недели и специальные дни, возможно определить переход зима/лето.
Счетчики изготавливаются в различных модификациях, различающихся наличием SIM-чипа; наличием внутренней или внешней антенны; типом основного канала связи; наличием и типом резервных каналов связи. Каждая модификация имеет своё уникальное условное обозначение, состав и возможные варианты характеристик которого приведены в таблице 1.
Таблица 1 - Структура условного обозначения счетчиков
М2М -
1С -
1/2 -
100
(X)
Наличие SIM-чипа
/нет индекса/ - отсутствует SC - применяется SIM-чип
Резервный канал связи /нет индекса/ - отсутствует, либо один или несколько индексов:
S - RS-485
B - Bluetooth Low Energy (BLE)
Антенна GSM
/нет индекса/ - встроенная А - внешняя антенна
Основной канал связи 2G - 2G (GSM/GPRS) 4G - 4G (LTE)
Реле управления нагрузкой D - наличие
Максимальный ток нагрузки 100 - 100 А
Класс точности по активной/реактивной энергии 1/2 - 1,0/2,0
Конструктивное исполнение и схема включения 1C - однофазный компактный щитового исполнения
Торговая марка счетчика
Общий вид счетчиков, места нанесения заводского номера и знака утверждения типа представлены на рисунке 1.
Заводской номер в виде цифрового обозначения, состоящего из двенадцати арабских цифр, наносится на лицевую панель корпуса счетчиков методом лазерной гравировки.

Место нанесения заводского номера
Место нанесения знака утверждения типа
Рисунок 1 - Общий вид счетчиков
Места расположения пломб, место нанесения знака поверки указаны на рисунке 2.
Поставляемые производителем счетчики имеют две пломбы, находящиеся в верхних углах прозрачного корпуса: пломбу на проволоке со знаком поверки (слева) и пломбу со знаком завода-изготовителя (справа). Пломба со знаком завода-изготовителя может быть выполнена в виде пломбы на проволоке либо в виде пластилиновой пломбы.
Снаружи на правой стороне счетчики имеют дополнительную наклейку-пломбу.
На счетчике предусмотрено место для пломбы обслуживающей организации, которая устанавливается над крышкой клеммного отсека и выполняется в виде пломбы на проволоке.
Пломба на проволоке со знаком поверки
Пломба со знаком завода-изготовителя

Место для пломбировки обслуживающей организацией
Рисунок 2 - Схема пломбировки от несанкционированного доступа и место нанесения знака поверки

Встроенное программное обеспечение (далее - ПО) производит обработку информации, поступающей от аппаратной части счетчика, формирует массивы данных и сохраняет их в энергонезависимой памяти, отображает измеренные значения на жидкокристаллическом дисплее, а также формирует ответы на запросы, поступающие по каналам связи.
Метрологические характеристики счетчиков напрямую зависят от калибровочных коэффициентов, которые записываются в память счетчиков на заводе-изготовителе на этапе калибровки.
Встроенное ПО не может быть считано без вскрытия корпуса счетчика и использования специального оборудования и программного обеспечения. Встроенное ПО разделено на метрологически значимую и метрологически незначимую (прикладную) части, которые объединены в единый файл. Номера версий ПО могут быть считаны со счётчика по каналам связи.
Уровень защиты программного обеспечения от непреднамеренных и преднамеренных изменений «высокий» в соответствии с Р 50.2.077-2014. Идентификационные данные ПО счетчиков приведены в таблице 2.
Таблица 2 - Идентификационные данные ПО
Идентификационные данные (признаки) |
Значение |
Идентификационное наименование программного обеспечения |
PWRM M2M 1 |
Номер версии (идентификационный номер) метрологически значимой части программного обеспечения |
1.0.0.0 |
Номер версии (идентификационный номер) метрологически незначимой (прикладной) части программного обеспечения, не ниже |
1.6.00 |
Цифровой идентификатор программного обеспечения |
- |
Метрологические и технические характеристики
Таблица 3 -
Наименование характеристики |
Значение |
Класс точности
|
1,0 2,0 |
Номинальное напряжение, ином, В |
230 |
Рабочий диапазон напряжений, В |
от 0,7^ином до 1,15^ином |
Базовый ток, 1б, А |
5 |
Максимальный ток, 1макс, А |
100 |
Номинальная частота сети, Г ц |
50 |
Рабочий диапазон частоты сети, Г ц |
от 47,5 до 52,5 |
Пределы погрешности хода внутренних часов за сутки, с |
±5,0 |
Стартовый ток (чувствительность), не менее:
|
0,004^1б 0,005^1б |
Таблица 4 - Технические характеристики
Наименование характеристики |
Значение |
Потребляемая мощность1): - цепью напряжения, активная и полная, Вт / В^А, не более2) |
2,0 / 10,0 |
- цепью тока, полная, В^А, не более3' |
1,5 |
Количество тарифов / тарифных зон |
4 / 12 |
Постоянная счетчика по активной и реактивной энергии, имп/(кВт^ч) и имп/(квар^ч) |
3600 и 3600 |
Габаритные размеры, мм, не более - длина |
123 |
- ширина |
106 |
- глубина |
62 |
Масса, кг, не более |
0,5 |
Окончание таблицы 4
Наименование характеристики |
Значение |
Условия эксплуатации:
|
от -30 до +55 от -40 до +70 90 от 70 до 106,7 |
Примечания:
|
Таблица 5 - Показатели надежности
Наименование характеристики |
Значение |
Срок службы, лет |
30 |
Средняя наработка на отказ, ч |
262800 |
Комплектность средства измерений
Таблица 6 - Комплектность
Наименование |
Обозначение |
Количество, шт./экз. |
Счетчик электроэнергии однофазный компактный M2M-1C |
- |
1 |
Антенна GSM |
- |
1* |
Паспорт |
ПРЕТ.411152.009ПС |
1 |
Руководство по эксплуатации |
ПРЕТ.411152.009РЭ |
1** |
Примечания: * Антенна входит в комплект поставки только для счетчиков с внешней антенной. ** Электронная версия доступна на сайте производителя. Поставляется на бумажном носителе по запросу. |
наносится на корпус счётчиков методом лазерной гравировки, на титульный лист паспорта и руководства по эксплуатации - типографским способом.
Сведения о методиках (методах) измеренийприведены в подразделе 2.8 «Устройство и работа счетчика» руководства по эксплуатации ПРЕТ.411152.009РЭ.
Нормативные документы, устанавливающие требования к средству измеренийПриказ Росстандарта от 23 июля 2021 г. № 1436 «Об утверждении Государственной поверочной схемы для средств измерений электроэнергетических величин в диапазоне частот от 1 до 2500 Гц»;
Приказ Росстандарта от 26 сентября 2022 г. № 2360 «Об утверждении государственной поверочной схемы для средств измерений времени и частоты»;
ГОСТ 31818.11-2012 «Аппаратура для измерения электрической энергии переменного тока. Общие требования. Испытания и условия испытаний. Часть 11. Счетчики электрической энергии»;
ГОСТ 31819.21-2012 «Аппаратура для измерения электрической энергии переменного тока. Частные требования. Часть 21. Статические счетчики активной энергии классов точности 1 и 2»;
ГОСТ 31819.23-2012 «Аппаратура для измерения электрической энергии переменного тока. Частные требования. Часть 23. Статические счетчики реактивной энергии»;
однофазные компактные M2M-1C.
ПРЕТ.411152.009ТУ «Счетчики электроэнергии Технические условия».
Правообладатель«Курганский приборостроительный
обл., г.о. город Курган, г. Курган,
Общество с ограниченной ответственностью
завод» (ООО «КПЗ»)
ИНН 7708369158
Адрес юридического лица: 640003, Курганская
ул. Тимофея Невежина, стр. 3и, помещ. 231
Телефон: +7 (3522) 42-80-00
E-mail: info@kpsz.ru
Изготовитель«Курганский приборостроительный
Общество с ограниченной ответственностью завод» (ООО «КПЗ»)
ИНН 7708369158
Адрес: 640003, Курганская обл., г.о. город Курган, г. Курган, ул. Тимофея Невежина, стр. 3и, помещ. 231
Телефон: +7 (3522) 42-80-00 E-mail: info@kpsz.ru
Испытательный центрФедеральное бюджетное учреждение «Научно-исследовательский центр прикладной метрологии - Ростест» (ФБУ «НИЦ ПМ - Ростест»)
Юридический адрес: 117418, г. Москва, Нахимовский пр-кт, д. 31
Телефон: +7 (495) 544-00-00
Факс: +7 (499) 124-99-96
E-mail: info@rostest.ru
Web-сайт: http://www.rostest.ru/
Уникальный номер записи в реестре аккредитованных лиц № RA.RU.310639.

УТВЕРЖДЕНО приказом Федерального агентства по техническому регулированию и метрологии от «10» июля 2025 г. № 1414
Лист № 1
Всего листов 4
Регистрационный № 95883-25
ОПИСАНИЕ ТИПА СРЕДСТВА ИЗМЕРЕНИЙ
Приборы для измерения токов утечки суперконденсаторов N832X
Назначение средства измеренийПриборы для измерения токов утечки суперконденсаторов N832X (далее - приборы) предназначены для измерения электрических параметров конденсаторов с двойным электрическим слоем (далее - КДЭС) - тока утечки, постоянного напряжения, а также выдачи отчетных данных.
Описание средства измеренийПринцип действия прибора состоит в том, что испытуемый КДЭС заряжают от источника постоянного напряжения и по окончании процесса зарядки при неизменном напряжении измеряют ток утечки КДЭС на заданном интервале (интервалах) времени. Результаты измерений по каждому испытуемому КДЭС выдаются оператору, а также сохраняются в базе данных. Предусмотрена возможность ведения мониторинга данных и их статистической обработки.
Управление приборами осуществляется по локальной сети при помощи компьютера с управляющей программой N8320.
Приборы выпускаются в модификациях N8320, N8321, которые различаются количеством измерительных каналов и диапазоном регулирования тока заряда.
Конструктивно приборы собраны в прямоугольном металлическом корпусе, с возможностью размещения их в приборной стойке. Выключатель электропитания расположен на передней панели прибора, клеммы и розетки - на задней.
Заводской номер наносится на боковую панель прибора в буквенно-цифровом формате методом наклейки.
Нанесение знака поверки на средство измерений не предусмотрено.
Пломбирование приборов не предусмотрено.
Общий вид средства измерений с указанием места нанесения заводского номера приведен на рисунке 1.
Место нанесения заводского
номера

Рисунок 1 - Общий вид средства измерений с указанием места нанесения заводского номера
Программное обеспечениеПриборы имеют встроенное и внешнее программное обеспечение (ПО).
Конструкция средства измерений исключает возможность несанкционированного влияния на встроенное ПО. Идентификация встроенного ПО не предусмотрена.
Внешнее ПО обеспечивает управление настройками приборов, обработку измерительной информации и вывод результатов на экран компьютера.
Влияние ПО учтено при нормировании метрологических характеристик приборов.
Идентификационные данные (признаки) программного обеспечения приведены в таблице 1.
Уровень защиты ПО от непреднамеренных и преднамеренных изменений - «средний» в соответствии с Р 50.2.077-2014.
Таблица 1 —
данные ПО
Идентификационные данные (признаки) |
Значение |
Идентификационное наименование ПО |
N8320 |
Номер версии (идентификационный номер) ПО |
не ниже V3.5.9 |
Цифровой идентификатор ПО |
- |
Метрологические и технические характеристики
Таблица 2 - Метрологические характеристики
Наименование характеристики |
Диапазон измерений |
Разрешающая способность |
Пределы допускаемой абсолютной погрешности |
Ток утечки |
от 0 до 1 А |
1 мкА |
±(0,05%^X+0,05%^F.S.) |
от 0 до 600 мА |
100 нА | ||
от 0 до 60 мА |
10 нА | ||
Напряжение постоянного тока |
от 0 до 6 В |
0,1 мВ |
±(0,1%-X+0,1%-F.S.) |
где X - измеренное значение, F.S. - верхний предел диапазона измерений.
Таблица 3 - Основные технические характеристики
Наименование характеристики |
Значение | |
N8320 |
N8321 | |
Количество измерительных каналов |
24 |
4 |
Диапазон тока заряда |
от 0 до 1 А |
от 0 до 20 А |
Интервал времени сбора данных, с |
от 1 до 259200 | |
Параметры электрического питания: | ||
- напряжение переменного тока, В |
220±22 | |
- частота переменного тока, Г ц |
50±0,5 | |
Габаритные размеры, мм, не более: | ||
- высота |
88 |
88 |
- ширина |
482 |
482 |
- глубина |
602 |
592 |
Масса, кг, не более |
20 |
15 |
Условия эксплуатации: | ||
- температура окружающей среды, °С |
от +18 до +28 | |
- относительная влажность воздуха, %, не более |
80 |
наносят на титульный лист руководства по эксплуатации прибора печатным способом.
Комплектность средства измеренийТаблица 4 - Комплектность
Наименование |
Обозначение |
Количество, шт./экз. |
Приборы для измерения токов утечки суперконденсаторов |
N8320 или N8321 |
1 1) |
Руководство по эксплуатации. Паспорт:
|
3GIS861016 РЭ 3GIS861017 РЭ |
1 2) |
Методика поверки |
- |
1 3) |
|
приведены в разделе 3 «Функции и характеристики» документа «Измерительные приборы для измерения токов утечки суперконденсаторов N8320. Руководство по эксплуатации. Паспорт» 3GIS861016 РЭ и в разделе 3 «Функции и характеристики» документа «Измерительные приборы для измерения токов утечки суперконденсаторов N8321. Руководство по эксплуатации. Паспорт» 3GIS861017 РЭ.
Нормативные документы, устанавливающие требования к средству измеренийПриказ Росстандарта от 1 октября 2018 г. № 2091 «Об утверждении государственной поверочной схемы для средств измерений силы постоянного электрического тока в диапазоне от 1 • 10-16 до 100 А»;
Стандарт предприятия «Измерительные приборы для измерения токов утечки суперконденсаторов N832Х».
ПравообладательФирма Hunan Next Generation Instrumental T&C Tech. Co., Ltd., Китай
Адрес: 4th floor, A1 building, Lugu international industrial park, TongZi slope west road NO.229, High-tech development zone, Changsha City, China
ИзготовительФирма Hunan Next Generation Instrumental T&C Tech. Co., Ltd., Китай
Адрес: 4th floor, A1 building, Lugu international industrial park, TongZi slope west road
NO.229, High-tech development zone, Changsha City, China
Испытательный центрУральский научно-исследовательский институт метрологии - филиал Федерального государственного унитарного предприятия «Всероссийский научно-исследовательский институт метрологии имени Д.И. Менделеева» (УНИИМ - филиал ФГУП «ВНИИМ им. Д.И. Менделеева»)
Адрес: 620075, г. Екатеринбург, ул. Красноармейская, д. 4
Телефон +7 (343) 350-26-18, факс +7 (343) 350-20-39
E-mail: uniim@uniim.ru
Web-сайт: www.uniim.ru
Уникальный номер записи в реестре аккредитованных лиц № RA.RU.311373.

УТВЕРЖДЕНО приказом Федерального агентства по техническому регулированию и метрологии от «10» июля 2025 г. № 1414
Лист № 1
Всего листов 6
Регистрационный № 95884-25
ОПИСАНИЕ ТИПА СРЕДСТВА ИЗМЕРЕНИЙ
Приборы для измерения параметров суперконденсаторов
Назначение средства измеренийПриборы для измерения параметров суперконденсаторов (далее - приборы) предназначены для измерения электрических параметров конденсаторов с двойным электрическим слоем (далее - КДЭС) - силы тока заряда и разряда, постоянного напряжения, а также выдачи отчетных данных.
Описание средства измеренийПринцип действия прибора состоит в том, прибор осуществляет воздействие на испытуемый КДЭС путем управляемого заряда и разряда, и при этом выполняются измерения силы тока, постоянного напряжения, а также контроль интервалов времени осуществления этих воздействий с последующим вычислением электрических параметров по каждому испытуемому КДЭС и выдачей результатов измерений оператору, а также сохранение результатов в базе данных. Предусмотрена возможность ведения мониторинга данных и их статистической обработки.
Приборы выпускаются в модификациях N5800A-05101, N8130A-06020 и
N8300A-05101, которые различаются количеством измерительных каналов и диапазоном регулирования силы тока заряда и разряда и постоянного напряжения.
Управление приборами осуществляется по локальной сети при помощи компьютера с управляющей программой NGI N8300 для модификации N8300A-05101 и программой UCTS для модификаций N5800A-05101 и N8130A-06020.
Конструктивно приборы собраны в прямоугольном металлическом корпусе, с возможностью размещения их в приборной стойке. Выключатель электропитания расположен на передней панели прибора, клеммы и розетки - на задней.
Заводской номер наносится на боковую панель прибора в буквенно-цифровом формате методом наклейки.
Нанесение знака поверки на средство измерений не предусмотрено.
Пломбирование приборов не предусмотрено.
Общий вид средства измерений с указанием места нанесения заводского номера приведен на рисунке 1.
Место нанесения заводского номера

а) модификация N5800A-05101 (вид спереди)

Место нанесения заводского номера
б) модификация N5800A-05101 (вид сзади)
Место нанесения заводского номера

в) модификация N8130A-06020 (вид спереди)

Место нанесения заводского номера
г) модификация N8130A-06020 (вид сзади)
Место нанесения заводского номера


е) модификации N8300A-05101 (вид сзади)
Рисунок 1 - Общий вид средства измерений с указанием места нанесения заводского номера
Место нанесения заводского номера
Программное обеспечениеПриборы имеют встроенное и внешнее программное обеспечение (ПО).
Конструкция средства измерений исключает возможность несанкционированного влияния на встроенное ПО. Идентификация встроенного ПО не предусмотрена.
Внешнее ПО обеспечивает управление настройками приборов, обработку измерительной информации и вывод результатов на экран компьютера.
Влияние ПО учтено при нормировании метрологических характеристик приборов.
Уровень защиты ПО от непреднамеренных и преднамеренных изменений - «средний» в соответствии с Р 50.2.077-2014.
Таблица 1 - Идентификационные данные П |
О | |
Идентификационные данные (признаки) |
Значение |
Значение |
Идентификационное наименование ПО |
NGI N8300 |
UCTS |
Номер версии (идентификационный номер) ПО |
не ниже V5.3.7.1 |
не ниже V5.8.2 |
Цифровой идентификатор ПО |
- |
- |
Метрологические и технические характеристики
Таблица 2 -
Наименование характеристики |
Значение для модификации | ||
N5800A-05101 |
N8130A-06020 |
N8300A-05101 | |
Диапазон измерений постоянного напряжения, В |
от 0 до 5 |
от 0 до 6 |
от 0 до 5 |
Пределы допускаемой приведенной погрешности измерений постоянного напряжения, % (нормирующее значение 2,7 В) |
±(0,05%^X+0,05%^F.S.) |
±(0,2%-X+ 0,2%-F.S.) |
Продолжение таблицы 2
Наименование характеристики |
Значение для модификации | ||
N5800A-05101 |
N8130A-06020 |
N8300A-05101 | |
Диапазон измерений силы тока заряда и разряда, А |
от 0 до 100 |
от 0 до 2 |
от 0 до 100 |
Пределы допускаемой приведенной погрешности измерений силы тока заряда и разряда, % (нормирующее значение - верхний предел измерений) |
±(0,05%^X+0,05%^F.S.) |
±(0,2%-X+ 0,2%-F.S.) |
где X - измеренное значение, F.S. - верхний предел диапазона измерений.
Таблица 3 - Основные технические характеристики
Наименование характеристики |
Значение для модификации | ||
N5800A-05101 |
N8130A-06020 |
N8300A-05101 | |
Количество измерительных каналов |
1 |
10 |
1 |
Интервал времени сбора данных, с |
от 1 до 3600 | ||
Параметры электрического питания: | |||
- напряжение переменного тока, В |
220±22 | ||
- частота переменного тока, Г ц |
50±0,5 | ||
Габаритные размеры, мм, не более: | |||
- высота |
90 |
135 |
90 |
- ширина |
485 |
485 |
485 |
- глубина |
570 |
565 |
595 |
Масса, кг, не более |
15 |
16,5 |
15,5 |
Условия эксплуатации: | |||
- температура окружающей среды, °С |
от +18 до +28 | ||
- относительная влажность воздуха, %, | |||
не более |
80 |
наносят на титульный лист руководства по эксплуатации прибора печатным способом.
Комплектность средства измеренийТаблица 4 - Комплектность
Наименование |
Обозначение |
Количество, шт./экз. |
Приборы для измерения параметров суперконденсаторов |
N5800A-05101 или N8130A-06020 или N8300A-05101 |
1 1) |
Руководство по эксплуатации. Паспорт:
|
3GIS861018 РЭ 3GIS861019 РЭ 3GIS861012 РЭ |
1 1) |
1) - поставляется в соответствии с заказом. |
приведены в разделе 3 «Функции и характеристики» документа «Измерительные приборы для суперконденсаторов N5800A-05101. Руководство по эксплуатации. Паспорт» 3GIS86 1018 РЭ, разделе 3 «Функции и характеристики» документа «Измерительные приборы для суперконденсаторов N8130A-06020. Руководство по эксплуатации. Паспорт» 3GIS861019 РЭ и в разделе 3 «Функции и характеристики» документа «Измерительные приборы для алюминиевых малогабаритных конденсаторов с двойным электрическим слоем с индикаторами N8300. Руководство по эксплуатации. Паспорт» 3GIS861012 РЭ.
Нормативные документы, устанавливающие требования к средству измеренийПриказ Росстандарта от 1 октября 2018 г. № 2091 «Об утверждении государственной поверочной схемы для средств измерений силы постоянного электрического тока в диапазоне от 1 • 10 16 до 100 А»;
утверждении государственной электрического напряжения
Приказ Росстандарта от 28 июля 2023 г. № 1520 «Об поверочной схемы для средств измерений постоянного и электродвижущей силы»;
для измерения параметров
Стандарт предприятия «Измерительные приборы суперконденсаторов».
ПравообладательФирма Hunan Next Generation Instrumental T&C Tech. Co., Ltd., Китай
Адрес: 4th floor, A1 building, Lugu international industrial park, TongZi slope west road NO.229, High-tech development zone, Changsha City, China
ИзготовительФирма Hunan Next Generation Instrumental T&C Tech. Co., Ltd., Китай
Адрес: 4th floor, A1 building, Lugu international industrial park, TongZi slope west road NO.229, High-tech development zone, Changsha City, China
Испытательный центрУральский научно-исследовательский институт метрологии - филиал Федерального государственного унитарного предприятия «Всероссийский научно-исследовательский институт метрологии имени Д.И. Менделеева» (УНИИМ - филиал ФГУП «ВНИИМ им. Д.И. Менделеева»)
Адрес: 620075, г. Екатеринбург, ул. Красноармейская, д. 4
Телефон +7 (343) 350-26-18, факс +7 (343) 350-20-39
E-mail: uniim@uniim.ru
Web-сайт: www.uniim.ru
Уникальный номер записи в реестре аккредитованных лиц № RA.RU.311373.

УТВЕРЖДЕНО приказом Федерального агентства по техническому регулированию и метрологии от «10» июля 2025 г. № 1414
Лист № 1
Всего листов 18
Регистрационный № 95885-25
ОПИСАНИЕ ТИПА СРЕДСТВА ИЗМЕРЕНИЙ
Анализаторы жидкости МП АВ
Назначение средства измеренийАнализаторы жидкости МП АВ (далее - анализаторы) предназначены для непрерывных автоматических измерений водородного показателя (pH), окислительно-восстановительного потенциала (ОВП), удельной электрической проводимости (УЭП), массовой концентрации нефти и нефтепродуктов (НП), полиароматических углеводородов (ПАУ), массовой концентрации растворенного кислорода, мутности и массовой концентрации взвешенных веществ в воде и водных растворах.
Описание средства измеренийПринцип действия анализаторов основан на потенциометрическом методе (для определения рН, ОВП), амперометрическом или люминесцентном методе (для определения массовой концентрации растворенного кислорода в зависимости от используемого датчика), оптическом методе (для определения мутности и массовой концентрации взвешенных веществ), флуориметрическом или спектрометрическом (в ультрафиолетовом и инфракрасном диапазонах) методах (для определения массовой концентрации нефти и НП, ПАУ) и кондуктометрическом методе (для определения УЭП).
Принцип действия потенциометрического метода основан на измерении разности потенциалов измерительного электрода и электрода сравнения в датчике, при погружении их в анализируемый водный раствор.
При кондуктометрическом методе используется кондуктометрическая ячейка, состоящая из электродов, между которыми измеряется электрическая проводимость раствора. Метод основан на регистрации изменения активной проводимости чувствительного элемента, которая преобразуется в пропорциональный ему электрический сигнал с помощью оригинального измерительного преобразователя проводимости в напряжение и токовый сигнал.
При амперометрическом методе используется электрохимическая ячейка, состоящая из селективных мембраны с электролитом и двух электродов, к которым прикладывается постоянное напряжение и измеряется ток, возникающий в результате электрохимической реакции на поверхности электрода. Ток пропорционален массовой концентрации растворенного кислорода.
Люминесцентный метод основан на использовании оптического сенсора, содержащего люминофорный слой, источник возбуждающего излучения (светодиод) и фотодетектор. При облучении люминофор переходит в возбужденное электронное состояние. Продолжительность и интенсивность флуоресценции люминофора напрямую зависят от концентрации молекул кислорода. Молекулы кислорода, взаимодействуя с возбужденными молекулами люминофора, снижают их энергию, таким образом подавляют их реакцию флуоресценции. Снижение продолжительности и интенсивности флуоресценции (разность фаз) пропорциональны массовой концентрации растворенного кислорода.
Принцип действия оптического метода основан на взаимодействии электромагнитного излучения с веществом в оптическом диапазоне (ультрафиолетовом, видимом, инфракрасном) путем измерения поглощения или рассеяния света.
Флуориметрический метод основан на измерении интенсивности излучаемого веществами света (флуоресценции) при облучении их ультрафиолетовыми лучами.
Спектрометрический метод в ультрафиолетовом диапазоне основан на измерении поглощения ультрафиолетового света ароматическими соединениями. Спектрометрический метод в инфракрасном диапазоне основан на измерении поглощения инфракрасного света связями С-Н в углеводородах.
Анализаторы выпускаются в четырех моделях: МП АВ 100, МП АВ 100Ex, МП АВ 200, МП АВ 200Ex, различающихся конструкцией и техническими характеристиками.
Конструктивно анализаторы выполнены в виде стационарных приборов, состоящих из одного или двух первичных преобразователей (датчиков) и вторичного преобразователя (электронного блока).
Вторичные преобразователи выпускаются четырех типов: Т100, Т100Exd, Т200 и Т200Exd. Модели анализаторов, соответствующие им вторичные преобразователи и их конструктивные особенности приведены в таблице 1.
Таблица 1 - Модели анализаторов и вторичных преобразователей в их составе
Модель анализатора 1) |
Вторичны й преобразо -ватель |
Материал корпуса |
Цифровой протокол передачи информации |
Количеств о подключа е-мых датчиков |
Интерфейсы2) |
МП АВ 100 |
Т100 |
Пластик |
Modbus RS485 |
1 |
ЖК-дисплей, клавиатура, до трех реле сигнализации |
МП АВ 100Ex |
T100Exd |
Алюминиевый сплав или нержавеющая сталь |
Modbus RS485 |
1 |
ЖК-дисплей, клавиатура, до трех реле сигнализации |
МП АВ 200 |
Т200 |
Поликарбонат |
Modbus RS485, HART®, FOUNDATION ® FF или FI, Profibus DP |
1 или 2 |
ЖК- или OLED-дисплей, коммуникатор, клавиатура, до четырех реле сигнализации и управления |
МП АВ 200Ex |
T200Exd |
Алюминиевый сплав |
Modbus RS485, HART®, FOUNDATION ® FF или FI, Profibus DP |
1 |
OLED-дисплей, клавиатура, коммуникатор, до четырех реле сигнализации и управления |
|
Первичные преобразователи по своей конструкции представляют собой простые однокорпусные или сборные зонды. Первичный измерительный сигнал генерируется датчиком при непосредственном контакте с измеряемой средой (контролируемой жидкостью) и обрабатывается вторичным преобразователем. Возможные первичные преобразователи (датчики) и их назначение приведены в таблице 2.
Таблица 2 - Первичные преобразователи (датчики) и их назначение
Тип первичного преобразователя (датчика) |
Назначение первичного преобразователя (датчика) |
Д-рН-к-п^-ш) |
Датчик измерения рН |
Д-ОВП-I(-П,-Ш) |
Датчик измерения ОВП |
Д-КП |
Контактный датчик измерения УЭП |
Д-ТП |
Тороидальный (индуктивный) датчик измерения УЭП |
Д-О2А |
Амперометрический датчик измерения массовой концентрации растворенного кислорода |
Д-О2Л |
Люминесцентный датчик измерения массовой концентрации растворенного кислорода |
Д-М |
Датчик измерения мутности |
Д-ВВ |
Датчик измерения массовой концентрации взвешенных веществ |
Д-МВВ |
Датчик измерения мутности и массовой концентрации взвешенных веществ |
Д-НП-ФА1(-ФА2, -ФА7) |
Флуоресцентный датчик измерения массовой концентрации нефти, НП, ПАУ |
Д-НП-СП |
Спектрометрический датчик измерения массовой концентрации нефти, НП, ПАУ |
Примечания 1. Полное наименование первичного преобразователя (датчика) состоит из обозначения типа датчика и заводского кода, принятого на предприятии-изготовителе, и имеет вид Х1-Х2-Х3_.-Хп, где Х1_Хп отражают информацию о метрологических и технических характеристиках датчиков, а также материале корпуса, способе монтажа и др. Количество Х1 . Хп у разных датчиков может быть разным. |
Анализаторы относятся к классу многопредельных с переключением диапазонов измерений. Результаты измерений выводятся на дисплей и преобразуются в унифицированный токовый и/или цифровой сигнал для передачи на внешнее оборудование.
Анализаторы контролируют температуру измеряемой среды с помощью термометров сопротивления, являющихся конструктивной частью датчиков, и выполняют температурную компенсацию результатов измерений.
Маркировочная табличка анализаторов наносится на корпус вторичного преобразователя. Маркировочная табличка содержит информацию о наименовании, производителе и заводском номере анализатора. Заводской номер анализатора состоит из арабских цифр, наносится типографским способом на клеевую этикетку, либо методом лазерной гравировки на табличку из нержавеющей стали, а также приводится в паспорте.
Для датчиков присваивается собственный заводской номер, состоящий из арабских цифр. Заводской номер датчика наносится типографским способом на маркировочную табличку датчика, приклеиваемую на корпус датчика, а также приводится в паспорте. В случае, если маркировочную табличку датчика невозможно приклеить на корпус датчика, то она приклеивается на соединительный кабель.
Общий вид вторичных преобразователей приведён на рисунках 1-4. Общий вид первичных преобразователей (датчиков) приведён на рисунках 5-12. Общий вид маркировочной таблички анализаторов с заводским номером, знаком утверждения типа, с указанием мест нанесения заводского номера и знака утверждения типа и с указанием места нанесения таблички на корпус вторичного преобразователя анализатора представлен на рисунках 13-15. Общий вид маркировочной таблички датчиков с заводским номером и с указанием места нанесения заводского номера представлен на рисунке 16.
Пломбирование и нанесение знака поверки на анализаторы не предусмотрено. Конструкция анализаторов обеспечивает ограничение доступа к частям анализаторов, несущим первичную измерительную информацию, и местам настройки (регулировки).

Рисунок 1 - Общий вид вторичных преобразователей Т100

а)

б)

в)

г)
Рисунок 2 - Общий вид вторичных преобразователей TIOOExd в защитных корпусах: а), б) TIOOEKd в исполнении I - с маркировками взрывозащиты
1Ex db IIB+H2 Т6_Т4 Gb X, 1Ex db [ia Оа] IIB+H2 Т6_Т4 Gb X;
в), г) TlOOEKd в исполнении II - с маркировками взрывозащиты 1Ex db IIC Т6_Т4 Gb X, lEx db [ia Оа] IIC T6_T4 Gb X



Рисунок 4 - Общий вид вторичных преобразователей Т200Ехd
Рисунок 3 - Общий вид вторичных преобразователей Т200




Рисунок 5 - Общий вид датчиков Д-рН-1(-П, -Ш), Д-ОВП-1(-11. -III)


Рисунок 6 - Общий вид датчиков Д-КП
Рисунок 7 - Общий вид датчиков Д-ТП

Рисунок 8 - Общий вид датчиков Д-О2А

Рисунок 9 - Общий вид датчиков Д-О2Л
Рисунок 10 - Общий вид датчиков Д-М, Д-ВВ, Д-МВВ

Рисунок 11 - Общий вид датчиков Д-НП-ФА1(-ФА2, -ФА7)

Рисунок 12 - Общий вид датчиков Д-НП-СП
Место нанесения
заводского номера
Место
нанесения
знака
утверждения
типа
/•
/■
Ч.
Лист № 9
Всего листов 18
Место
нанесения
знака
Амли«41ор Жи>у<ос1и МП АЙ
МП АЙ10О
n004<n-ftSAC
; УЭП < лат^м«1М
Mo/xtnu
«да:
MiM. пар
ПкПйь*

типа
СОО4МгтрАй ‘к*л»0и4.'и
утверждения

Место
установки таблички
Рисунок 13 - Общий вид маркировочной таблички и место установки на корпусе для анализаторов моделей МП АВ 100 и МП АВ 200
Л>*«ли'в**пр Ж1у)погги МП ЛП
МСДСП;. МПАЙЮОСХ
>.«*.<«Н11НК VI T1Ct}r<ri-it.r>RVnc
i-jfr toTi’/jio.’ai ;
11<а.ИМ.-||. ||1 ,*1':ПП
Гктэ ие.’ пэтхвл.лхш »хт;.1 е 5>лс4:24вг<а.’>»л.‘^^й' г>епсм. IFxet л 541 iCT-»GaX
АГ>г«р*<«1п*>. I •»
9Пьи94И0 от сего
Место нанесения
заводского номера
>

Чеа.-син:
Место

установки таблички
Рисунок 14 - Общий вид маркировочной таблички и место установки на корпусе для анализаторов модели МП АВ 100Ех
Место нанесения
Место нанесения
знака утверждения типа
заводского номера

А
с
I
ДиЗ.'
к*
oaoi
Отирь*! frLn4?-»J[:
Место
установки таблички

Рисунок 15 - Общий вид маркировочной таблички и место установки на корпусе для анализаторов модели МП АВ 200Ех

Рисунок 16 - Общий вид маркировочной таблички для датчиков
Программное обеспечениеАнализаторы оснащены встроенным программным обеспечением (далее - ПО), позволяющим осуществлять построение и контроль градуировочной характеристики, проводить контроль процесса измерений, отображать и сохранять результаты измерений. ПО заложено в микропроцессоре и защищено от доступа и изменения. Обновление ПО в процессе эксплуатации не предусмотрено. Идентификационные данные ПО приведены в таблице 3.
Таблица 3 - Идентификационные данные ПО
Идентиф икац ионные данные (признаки) |
Значение для модели | |||
МП АВ 100 МП АВ 100Ex |
МП АВ 200 |
МП АВ 200Ex | ||
Идентификационное наименование ПО |
SMART METER-Х1) |
GDC-01/022) |
GDC-02 tool3' |
GDC-02 tool |
Номер версии (идентификационный номер) ПО |
1.121.х4) |
V1.0.x4) |
V2.P.x4) |
V2.P.x4) |
Цифровой идентификатор ПО |
- |
- |
- |
- |
-
1) В зависимости от применяемых первичных преобразователей (датчиков) Х может принимать значения -TSS, -EC, -DO, -TURB, -pH/ORP, -CONC, -ODO.
-
2) Для вторичного преобразователя с ЖК-дисплеем.
-
3) Для вторичного преобразователя с OLED-дисплеем.
-
4) «х» относится к метрологически незначимой части ПО и принимает буквенные и цифровые значения от a до z и от 0 до 999. Формат номера может содержать от 1 до 3 значений «х», разделенных точкой.
Уровень защиты ПО от непреднамеренных и преднамеренных изменений соответствует уровню «средний» по Р 50.2.077-2014. Влияние ПО на метрологические характеристики учтено при их нормировании.
Метрологические и технические характеристикиМетрологические и технические характеристики анализаторов представлены в таблицах 4-8. Основные технические характеристики анализаторов представлены в таблице 9.
Таблица 4 -
, ОВП
Наименование характеристики |
Значение |
Диапазон измерений рН для датчиков Д-рН-1(-11,-Ш), ед. рН |
от 0,00 до 14,00 |
Пределы допускаемой абсолютной погрешности измерений pH, ед. рН, для датчиков: | |
Д-рН-i |
±0,10 |
Д-рН-П |
±0,20 |
Д-рН-Ш |
±0,06 |
Диапазон измерений ОВП для датчиков Д-ОВП-1(-11,-Ш), мВ |
от -154 до 1300 |
Пределы допускаемой абсолютной погрешности измерений ОВП, мВ, для датчиков: | |
Д-ОВП-I |
±20,0 |
Д-ОВП-П |
±25,0 |
Д-ОВП-Ш |
±5,0 |
Таблица 5 - Метрологические характеристики измерений УЭП
Наименование характеристики |
Значение |
Диапазон измерений1) УЭП для датчиков Д-КП, мкСм/см, со значениями постоянной ячейки k2): k=0,01 см-1 ± 25 % k=0,1 см-1 ± 25 % k=1,0 см-1 ± 25 % k=10 см-1 ± 25 % k=10 см-1 ± 25 % |
от 0,055 до 200 от 0,5 до 200 от 4,0 до 2000 от 100,0 до 20000 от 1000,0 до 200000 |
Диапазон измерений1)’2) УЭП для датчиков Д-ТП, мкСм/см |
от 50 до 1000000 |
Пределы допускаемой абсолютной погрешности измерений УЭП для датчиков Д-КП, мкСм/см, в поддиапазоне от 0,055 до 1,0 мкСм/см включ. |
± 0,03 |
Пределы допускаемой относительной погрешности измерений УЭП для датчиков Д-КП, %, в поддиапазоне св. 1,0 до 200000 мкСм/см включ. |
±3 |
Пределы допускаемой абсолютной погрешности измерений УЭП для датчиков Д-ТП, мкСм/см, в поддиапазоне от 50 до 500 мкСм/см включ. |
±30 |
Пределы допускаемой относительной погрешности измерений УЭП для датчиков Д-ТП, %, в поддиапазонах: св. 500 до 200000 мкСм/см включ. св. 200000 до 1000000 мкСм/см включ. |
±3,0 ±5,0 |
|
Таблица 6 - Метрологические характеристики измерений мутности и массовой концентрации взвешенных веществ
Наименование характеристики |
Значение |
Диапазон измерений1) мутности, ЕМФ, для датчиков: Д-М Д-МВВ |
от 15 до 4000 от 15 до 4000 |
Пределы допускаемой абсолютной погрешности измерений мутности для датчиков Д-М, ЕМФ, в поддиапазонах: от 15 до 100 ЕМФ включ. св. 100 до 4000 ЕМФ включ. |
±10 ±(10,00+0,05^С)2) |
Пределы допускаемой абсолютной погрешности измерений мутности для датчиков Д-МВВ, ЕМФ, в поддиапазонах: от 15 до 100 ЕМФ включ. св. 100 до 4000 ЕМФ включ. |
±10 ±(5,00+0,05^С)2) |
Диапазон измерений1) массовой концентрации взвешенных веществ, мг/дм3, для датчиков: Д-ВВ Д-МВВ |
от 1 до 2000 от 1 до 2000 |
Наименование характеристики |
Значение |
Пределы допускаемой абсолютной погрешности измерений массовой концентрации взвешенных веществ для датчиков Д-ВВ и Д-МВВ, мг/дм3, в поддиапазонах:
|
±(0,5+0,1^С)2) ±0,1^C2) ±0,06^C2) |
| |
Таблица 7 - Метрологические характеристики измерений массовой концентрации растворенного кислорода | |
Наименование характеристики |
Значение |
Диапазон измерений1) массовой концентрации растворенного кислорода, мг/дм3, для датчиков Д-О2А и Д-О2Л |
от 0,018 до 20 |
Пределы допускаемой абсолютной погрешности измерений массовой концентрации растворенного кислорода для датчиков Д-О2А и Д-О2Л, мг/дм3 |
±(0,015+0,05^С)2) |
1) Диапазоны измерений датчиков могут быть программно ограничены в соответствии с требованиями технологического процесса. Фактические диапазоны измерений указываются в паспорте анализатора.
2) С - измеренное значение показателя.
Таблица 8 - Метрологические характеристики измерений массовой концентрации нефти, НП, ПАУ
Наименование характеристики |
Значение |
Диапазон измерений1) массовой концентрации нефти и НП, мг/дм3, для датчиков: Д-НП-ФА1 Д-НП-ФА2 Д-НП-ФА7 Д-НП-СП |
от 0,15 до 5,0 от 1,25 до 1000 от 0,04 до 5000 от 0,01 до 1000 |
Диапазон измерений1) массовой концентрации ПАУ для датчиков Д-НП-ФА7, мг/дм3 |
от 0,002 до 500 |
Пределы допускаемой абсолютной погрешности измерений массовой концентрации нефти и НП, для датчиков Д-НП-ФА1, мг/дм3 |
±(0,1+0,05^С)2) |
Пределы допускаемой абсолютной погрешности измерений массовой концентрации нефти и НП, для датчиков Д-НП-ФА2, мг/дм3, в поддиапазонах: от 1,25 до 50 мг/дм3 включ. св. 50 до 1000 мг/дм3 включ. |
±(1,0+0,15^С)2) ±(10,0+0,15^С)2) |
Наименование характеристики |
Значение |
Пределы допускаемой абсолютной погрешности измерений массовой концентрации нефти и НП для датчиков Д-НП-ФА7, мг/дм3, в поддиапазонах: от 0,04 до 1,5 мг/дм3 включ. св. 1,5 до 15 мг/дм3 включ. св. 15 до 150 мг/дм3 включ. св. 150 до 500 мг/дм3 включ. св. 500 до 5000 мг/дм3 включ. |
±(0,03+0,1^С)2) ±(0,30+0,1-С)2) ±(3,0+0,1^С)2) ±(10,0+0,1^С)2) ±(10,0+0,15^С)2) |
Пределы допускаемой абсолютной погрешности измерений массовой концентрации ПАУ для датчиков Д-НП-ФА7, мг/дм3, в поддиапазонах: от 0,002 до 0,05 мг/дм3 включ. св. 0,05 до 0,5 мг/дм3 включ. св. 0,5 до 1,5 мг/дм3 включ. св. 1,5 до 5 мг/дм3 включ. св. 5 до 500 мг/дм3 включ. |
±(0,001+0,05^С)2) ±(0,005+0,05^с)2) ±(0,02+0,05^С)2) ±(0,1+0,05^С)2) ±(1,0+0,05^С)2) |
Пределы допускаемой приведенной (к верхнему значению диапазона измерений1)) погрешности измерений массовой концентрации нефти и НП, для датчиков Д-НП-СП, % |
±10 |
|
Таблица 9 - Основные технические характеристики
Наименование характеристики |
Значение |
Диапазон показаний1) рН для датчиков Д-рН-1(-П,-Ш), ед. рН |
от -2,00 до 16,00 |
Диапазон показаний1) ОВП для датчиков Д-ОВП-1(-11,-Ш), мВ |
от -2000 до 2000 |
Диапазон показаний1) УЭП для датчиков Д-КП и Д-ТП, мкСм/см |
от 0 до 2000000 |
Диапазон показаний1) солесодержания (общей минерализации) для датчиков Д-КП, мг/дм3 |
от 0,00 до 100000,00 |
Диапазон показаний1) массовой доли веществ для датчиков Д-ТП, %: - хлорид натрия (NaCl) |
от 0,00 до 25,00 |
- соляная кислота (HCl) |
от 0,00 до 17,98 от 20,01 до 39,07 |
- фтороводородная кислота (HF) |
от 0,00 до 30,00 от 30,00 до 55,00 |
- азотная кислота (HNO3) |
от 0,00 до 30,00 от 35,01 до 96,00 |
- гидроокись натрия (NaOH) |
от 0,00 до 15,00 от 15,3 до 50,00 |
- гидроокись калия (KOH) |
от 0,00 до 26,00 от 26,00 до 42,00 от 0 до 30 |
- нитрат кальция (CafNOs)?) | |
- серная кислота (H2SO4) |
от 0,00 до 30,25 от 30,00 до 85,00 от 92,00 до 100,00 |
Наименование характеристики |
Значение |
- серная кислота (H2SO4) в олеуме |
от 103,5 до 106,5 от 103,5 до 109,5 |
- ангидрид серной кислоты (SO3) в олеуме, %: при H2SO4/олеум от 103,5 до 106,5 |
от 15,5 до 28,8 |
при H2SO4/олеум от 103,5 до 109,5 |
от 15,5 до 42,2 |
Диапазон показаний1) массовой концентрации растворенного кислорода для датчиков Д-О2А и Д-О2Л, мг/дм3 |
от 0 до 50 |
Диапазон показаний1) массовой концентрации взвешенных веществ для датчиков Д-МВВ и Д-ВВ, мг/дм3 |
от 0,5 до 300000,0 |
Диапазон показаний1) массовой концентрации нефти, НП, ПАУ, непредельных ароматических углеводородов (НАУ), общего органического углерода (ООУ), растворённого органического углерода |
от 0 до 10000 |
(РОУ), органических веществ для датчиков Д-НП-ФА1, Д-НП-ФА2, Д-НП-ФА7 и Д-НП-СП, мг/дм3 | |
Потребляемая мощность, Вт, не более |
100 |
Параметры электрического питания: - напряжение постоянного тока, В |
24 |
- напряжение переменного тока, В |
230 |
- частота переменного тока, Гц |
50 |
Габаритные размеры вторичных преобразователей (Ш^В^Г), мм, не более: | |
Т100 |
144x144x104 |
T100Exd |
600x500x450 |
Т200 |
148x148x115 |
T200Exd |
117x150x206 |
Габаритные размеры датчиков (0хВ), мм, не более Д-рН-1(-П,-Ш) и Д-ОВП-1(-П,-Ш): | |
- в стеклянном корпусе |
12x225 |
- в корпусе из сплава или полимера для врезного монтажа |
30x350 |
- в корпусе из сплава или полимера для выдвижного монтажа Д-КП и Д-ТП: |
40x1500 |
- в корпусе из сплава или полимера для врезного монтажа |
80x350 |
- в корпусе из сплава или полимера для выдвижного монтажа |
50x800 |
Д-О2А |
30x350 |
Д-О2Л |
60x400 |
Д-М, Д-ВВ, Д-МВВ |
70x350 |
Д-НП-ФА1(-ФА2, -ФА7) |
70x350 |
Д-НП-СП |
60x800 |
Масса вторичного преобразователя, кг, не более Т100 |
2 |
T100Exd |
35 |
Т200 |
2 |
T200Exd |
4,5 |
Наименование характеристики |
Значение |
Масса датчиков, кг, не более Д-рН-I(-П,-Ш) и Д-ОВП-I(-П,-Ш):
Д-О2А Д-О2Л Д-М, Д-ВВ, Д-МВВ Д-НП-ФА1(-ФА2, -ФА7) Д-НП-СП |
0,3 1,0 5,0 1,0 5,0 0,6 0,3 3,0 4,0 5,0 |
Условия эксплуатации:
T100Exd Т200Exd Т200 с OLED дисплеем Т200 с ЖК дисплеем
|
от -20 до +50 от -20 до +50 от -40 до +70 от -40 до +70 от -20 до +60 от -20 до +80 90 |
Маркировка взрывозащиты: - Т100Ехd (с искробезопасным барьером в комплекте) |
1Ex db IIB+H2 Т6_Т4 Gb X; 1Ex db IIC Т6_Т4 Gb X (1Ex db [ia Са| IIB+H2 T6_T4 Gb X; 1Ex db [ia Са| IIC T6_T4 Gb X) |
- T200Exd (с искробезопасным барьером в комплекте) |
1Ex db IIC T6 Gb X (1Ex db [ia Са| IIC T6 Gb X) |
|
1Ex ia IIC T4 Ga X 1Ex ia IIC T5 Ga X |
- цифровые первичные преобразователи Д-рН/-ОВП, Д-КП/-ТП, Д-О2Л, Д-М/-ВВ/-МВВ, Д-НП |
1Ex db IIC T4 Gb X 1Ex db [op is Gb| IIB T3 Gb X |
1) Указан максимальный диапазон показаний датчиков. Фактические диапазоны показаний указываются в паспорте анализатора. |
наносится на титульный лист Руководства по эксплуатации типографским способом и на маркировочную табличку типографским способом.
Комплектность средства измеренийТаблица 10 - Комплектность
Наименование |
Обозначение |
Количество |
1 Анализатор жидкости |
МП АВ |
1 шт.1) |
2 Монтажные принадлежности |
- |
1 комплект 2) |
3 Запасные части |
- |
_2) |
4 Расходные материалы |
- |
_2) |
5 Паспорт |
- |
1 экз. |
6 Руководство по эксплуатации |
- |
1 экз. |
7 Методика поверки |
- |
1 экз. |
|
приведены:
жидкости
Т100Exd.
-
- в разделе 2 «Использование по назначению» документа «Анализаторы МП АВ 100, МП АВ 100Ех в комплекте со вторичными преобразователями Т100, Руководство по эксплуатации»;
жидкости МП АВ 200 в комплекте со вторичным преобразователем Т200. Руководство по эксплуатации»;
- в разделе 2 «Использование по назначению» документа «Анализаторы жидкости МП АВ 200Ех в комплекте со вторичным преобразователем Т200Е\Н. Руководство по эксплуатации».
-
- в разделе 2 «Использование по назначению» документа «Анализаторы
Приказ Федерального агентства по те\ническому регулированию и метрологии от 19 февраля 2021 г. № 148 «Об утверждении Государственной поверочной с\емы для средств измерений содержания неорганически\ компонентов в жидки\ и тверды\ вещества\ и материала\»;
Приказ Федерального агентства по те\ническому регулированию и метрологии от 17 мая 2021 г. № 761 «О внесении изменений в приложение А к Государственной поверочной с\еме для средств измерений содержания неорганически\ компонентов в жидки\ и тверды\ вещества\ и материала\, утвержденной приказом Федерального агентства по те\ническому регулированию и метрологии от 19 февраля 2021 г. № 148»;
Приказ Федерального агентства по те\ническому регулированию и метрологии от 9 февраля 2022 г. № 324 «Об утверждении Государственной поверочной с\емы для средств измерений показателя рН активности ионов водорода в водны\ раствора\»;
Приказ Федерального агентства по те\ническому регулированию и метрологии от 27 марта 2025 г. № 609 «Об утверждении Государственной поверочной с\емы для средств измерений удельной электрической проводимости жидкостей»;
Приказ Федерального агентства по техническому регулированию и метрологии от 25 июля 2023 г. № 1505 «Об утверждении государственной поверочной схемы для средств измерений массовой концентрации, растворенных в жидких средах газов (кислорода, водорода и углекислого газа)»;
ТУ 26.51.53-004-55416526-2023 «Анализаторы жидкости МП АВ. Технические условия».
ПравообладательОбщество с ограниченной ответственностью «Метран Проект» (ООО «Метран Проект») ИНН 7453347966
Юридический адрес: 454103, Челябинская обл., г.о. Челябинский, г. Челябинск, пр-кт Новоградский, д. 15, стр. 1, помещ. 310
ИзготовительОбщество с ограниченной ответственностью «Метран Проект» (ООО «Метран Проект») ИНН 7453347966
Юридический адрес: 454103, Челябинская обл., г.о. Челябинский, г. Челябинск, пр-кт Новоградский, д. 15, стр. 1, помещ. 310
Адрес места осуществления деятельности: 454103, Челябинская обл., г.о. Челябинский,
вн.р-н Центральный, г. Челябинск, пр-кт Новоградский, д. 15, стр. 1
Испытательный центрУральский научно-исследовательский институт метрологии - филиал Федерального государственного унитарного предприятия «Всероссийский научно-исследовательский институт метрологии имени Д.И. Менделеева» (УНИИМ - филиал ФГУП «ВНИИМ им. Д.И. Менделеева»)
Адрес: 620075, г. Екатеринбург, ул. Красноармейская, д. 4
Уникальный номер записи в реестре аккредитованных лиц № RA.RU.311373.

УТВЕРЖДЕНО приказом Федерального агентства по техническому регулированию и метрологии от «10» июля 2025 г. № 1414
Лист № 1
Всего листов 18
коммерческого
Росэнергоатом»
Регистрационный № 95886-25
ОПИСАНИЕ ТИПА СРЕДСТВА ИЗМЕРЕНИЙ
Система автоматизированная информационно-измерительная учета электроэнергии (АИИС КУЭ) филиала АО «Концерн «Кольская атомная станция»
Назначение средства измеренийСистема автоматизированная информационно-измерительная коммерческого учета электроэнергии (АИИС КУЭ) филиала АО «Концерн Росэнергоатом» «Кольская атомная станция» (далее - АИИС КУЭ) предназначена для измерений активной и реактивной электроэнергии, автоматизированного сбора, обработки, хранения информации, формирования отчетных документов и передачи полученной информации заинтересованным организациям в рамках согласованного регламента.
Описание средства измеренийАИИС КУЭ представляет собой многофункциональную трехуровневую автоматизированную систему с централизованным управлением и распределенной функцией измерений.
АИИС КУЭ включает в себя следующие уровни:
-
1- й уровень - измерительно-информационные комплексы (ИИК), включающие в себя измерительные трансформаторы тока (ТТ), измерительные трансформаторы напряжения (ТН), счетчики активной и реактивной электрической энергии (счетчики), вторичные измерительные цепи и технические средства приема-передачи данных.
-
2- й уровень - информационно-вычислительный комплекс электроустановки (ИВКЭ), включающий в себя сервер филиала АО «Концерн Росэнергоатом» «Кольская атомная станция», программное обеспечение (ПО) «Пирамида 2.0», устройство синхронизации времени (УСВ), каналообразующую аппаратуру, автоматизированные рабочие места (АРМ), технические средства для организации локальной вычислительной сети и разграничения прав доступа к информации.
-
3- й уровень - информационно-вычислительный комплекс (ИВК), включающий в себя сервер АО «Концерн Росэнергоатом», ПО «Пирамида 2.0», УСВ, каналообразующую аппаратуру, АРМ, технические средства для организации локальной вычислительной сети и разграничения прав доступа к информации.
Первичные токи и напряжения трансформируются измерительными трансформаторами в аналоговые сигналы низкого уровня, которые по проводным линиям связи поступают на соответствующие входы электронного счетчика электрической энергии. В счетчике мгновенные значения аналоговых сигналов преобразуются в цифровой сигнал. По мгновенным значениям силы электрического тока и напряжения в микропроцессоре счетчика вычисляются мгновенные значения активной и полной мощности, которые усредняются за период 0,02 с. Средняя за период реактивная мощность вычисляется по средним за период значениям активной и полной мощности.
Электрическая энергия, как интеграл по времени от средней за период 0,02 с мощности, вычисляется для интервалов времени 30 мин.
Средняя активная (реактивная) электрическая мощность вычисляется как среднее значение мгновенных значений мощности на интервале времени усреднения 30 мин.
Цифровой сигнал с выходов счетчиков при помощи технических средств приема-передачи данных поступает на сервер филиала АО «Концерн Росэнергоатом» «Кольская атомная станция», где осуществляется обработка измерительной информации, в частности вычисление электрической энергии и мощности с учетом коэффициентов трансформации ТТ и ТН, формирование и хранение поступающей информации, оформление отчетных документов.
Далее информация при помощи технических средств приема-передачи данных поступает на сервер АО «Концерн Росэнергоатом», где осуществляется обработка, формирование и хранение поступающей информации, оформление отчетных документов.
Также уровень ИВК может принимать измерительную информацию в виде xml-файлов установленных форматов от ИВК прочих АИИС КУЭ, зарегистрированных в Федеральном информационном фонде, и передавать всем заинтересованным субъектам оптового рынка электроэнергии (ОРЭ).
От сервера АО «Концерн Росэнергоатом» информация в виде xml-файлов установленных форматов поступает на АРМ уровня ИВК по корпоративному каналу связи.
Передача информации от АРМ уровня ИВК в программно-аппаратный комплекс АО «АТС» с электронной подписью субъекта ОРЭ, в филиал АО «СО ЕЭС» и в другие смежные субъекты ОРЭ осуществляется по электронной почте в виде xml-файлов установленных форматов в соответствии с приложением 11.1.1 «Формат и регламент предоставления результатов измерений, состояний объектов измерений в АО «АТС», АО «СО ЕЭС» и смежным субъектам» к Положению о порядке получения статуса субъекта оптового рынка и ведения реестра субъектов оптового рынка электрической энергии и мощности.
АИИС КУЭ имеет систему обеспечения единого времени (СОЕВ). СОЕВ обеспечивает синхронизацию шкал времени всех компонентов системы с национальной шкалой времени UTC(SU).
В качестве основного источника синхронизации используются сигналы глобальной навигационной спутниковой системы ГЛОНАСС, по которым синхронизируются УСВ уровней ИВК и ИВКЭ, обеспечивающие формирование и передачу шкалы времени, синхронизированной с национальной шкалой координированного времени РФ UTC(SU).
В качестве резервного источника синхронизации используются NTP-серверы ФГУП «ВНИИФТРИ» (первого уровня, Stratum 1), обеспечивающие передачу информации о точном времени через глобальную сеть Интернет. По данным NTP-серверам, по NTP протоколу синхронизируются сервер филиала АО «Концерн Росэнергоатом» «Кольская атомная станция» и сервер АО «Концерн Росэнергоатом». Таким образом обеспечивается постоянное обновление данных о текущем значении времени на всех компонентах АИИС КУЭ. Резервный источник синхронизации используется при выходе из строя основного.
Сравнение шкал времени счетчиков и сервера филиала АО «Концерн Росэнергоатом» «Кольская атомная станция» осуществляется во время сеанса связи со счетчиками, но не реже одного раза в 30 мин. Корректировка шкал расхождении шкал времени счетчиков и сервера «Кольская атомная станция» более ±2 с.
времени счетчиков производится при филиала АО «Концерн Росэнергоатом»
отображают факты коррекции времени с обязательной фиксацией времени до и после коррекции или величины коррекции времени, на которую было скорректировано устройство.
Нанесение знака поверки на средство измерений не предусмотрено. Маркировка заводского номера АИИС КУЭ филиала АО «Концерн Росэнергоатом» «Кольская
Журналы событий счетчиков и серверов
атомная станция» наносится на этикетку, расположенную на тыльной стороне сервера филиала АО «Концерн Росэнергоатом» «Кольская атомная станция», типографским способом. Дополнительно заводской номер 005 указывается в формуляре.
Программное обеспечениеВ АИИС КУЭ используется ПО «Пирамида 2.0». ПО «Пирамида 2.0» обеспечивает защиту измерительной информации паролями в соответствии с правами доступа. Метрологически значимая часть ПО «Пирамида 2.0» указана в таблице 1. Уровень защиты ПО «Пирамида 2.0» от непреднамеренных и преднамеренных изменений - «высокий» в соответствии с Р 50.2.077-2014.
Таблица 1 - Идентификационные данные ПО «Пирамида 2,0»
Ид ентиф икационные данные (признаки) |
Значение | |||||||||
Ид ентиф икационное наименование ПО |
Binary Раск Controls. dll |
Check Data Integrity, dll |
Coml ECFunctio ns.dll |
ComModbu sFunctions. dll |
Com StdFunct ions.dll |
DateTimeP rocessing.d 11 |
Safe Values DataUp-date.dll |
Simple Verify Data Statuses, dll |
Summary Check CRC.dll |
Values DataProc essing.dll |
Номер версии (идентификационный номер) ПО |
не ниже 10.8 | |||||||||
Цифровой идентификатор ПО |
ЕВ1984Е 0072ACF Е1С7972 69B9DB1 5476 |
E021CF 9C974D D7EA91 219B4D 4754D5 C7 |
BE77C56 55C4F19F 89A1B412 63A16CE 27 |
AB65EF4 B617E4F7 86CD87B 4A560FC9 17 |
EC9A864 71F3713E 60C1DA D056CD6 E373 |
D1C26A2 F55C7FEC FF5CAF8 B1C056F A4D |
B6740D34 19A3BC1 A4276386 0BB6FC8 AB |
61C1445 BB04C7 F9BB42 44D4A0 85C6A3 9 |
EFCC55E 91291DA 6F805979 32364430 D5 |
013E6FE 1081A4 CF0C2D E95F1B B6EE64 5 |
Алгоритм вычисления цифрового идентификатора ПО |
MD5 |
Состав измерительных каналов (ИК) и их основные метрологические и технические характеристики приведены в таблицах 2, 3.
Таблица 2 — Состав ИК Л И ИС КУЭ и их
Номер ИК |
Наименование точки измерений |
Измерительные компоненты |
Сервер |
Вид электроэнергии |
Метрологические характеристики ИК | ||||
ТТ |
TH |
Счетчик |
УСВ |
Г раницы допускаемой основной относительной погрешности (±5), % |
Г раницы допускаемой относительной погрешности в рабочих условиях (±5), % | ||||
1 |
2 |
3 |
4 |
5 |
6 |
7 |
8 |
9 |
10 |
1 |
ТГ-1 |
BDG 072А1 Кл.т. 0,2S 10000/5 Per. №48214- 11 Фазы: А; В; С |
GSES 24D Кл.т. 0,2 15750/л/3/100/л/3 Per. №48526-11 Фазы: А; В; С |
A1802RAL-P4G-DW-4 Кл.т. 0,2S/0,5 Per. № 31857-11 |
УССВ-2 Per. № 89968-23 УКУС-ПИ 02ДМ Per. № 60738-15 |
Серверы, совместимые с платформой х86-х64 |
Активная Реактивная |
0,6 1,1 |
|
2 |
ТГ-2 |
BDG 072А1 Кл.т. 0,2S 10000/5 Per. №48214- 11 Фазы: А', В; С |
GSES 24D Кл.т. 0,2 15750/х/3/100/х/3 Per. №48526-11 Фазы: А; В; С |
A1802RAL-P4G-DW-4 Кл.т. 0,2S/0,5 Per. № 31857-11 |
Активная Реактивная |
0,6 1,1 |
| ||
3 |
ТГ-3 |
BDG 072А1 Кл.т. 0,2S 10000/5 Per. №48214- 11 Фазы: А', В; С |
GSES 24D Кл.т. 0,2 15750/х/3/100/х/3 Per. №48526-11 Фазы: А; В; С |
A1802RAL-P4G-DW-4 Кл.т. 0,2S/0,5 Per. № 31857-11 |
Активная Реактивная |
0,6 1,1 |
|
1 |
2 |
3 |
4 |
5 |
6 |
7 |
8 |
9 |
10 |
4 |
ТГ-4 |
BDG 072А1 Кл.т. 0,2S 10000/5 Per. №48214-11 Фазы: А; В; С |
GSES 24D Кл.т. 0,2 15750/л/3/100/л/3 Per. №48526-11 Фазы: А; В; С |
A1802RAL-P4G-DW-4 Кл.т. 0,2S/0,5 Per. №31857-11 |
Активная Реактивная |
0,6 1,1 |
| ||
5 |
ТГ-5 |
ТШЛ 20 Кл.т. 0,2 10000/5 Per. № 1837-63 Фазы: А; В; С |
GSES 24D Кл.т. 0,2 15750/л/3/100/л/3 Per. №48526-11 Фазы: А; В; С |
A1802RAL-P4G-DW-4 Кл.т. 0,2S/0,5 Per. № 31857-11 |
УССВ-2 Per. № 89968-23 УКУС-ПИ 02ДМ Per. № 60738-15 |
Серверы, совместимые с платформой х86-х64 |
Активная Реактивная |
0,6 1,1 |
|
6 |
ТГ-6 |
ТШЛ 20 Кл.т. 0,2 10000/5 Per. № 1837-63 Фазы: А; В; С |
GSES 24D Кл.т. 0,2 15750/л/3/100/л/3 Per. №48526-11 Фазы: А; В; С |
A1802RAL-P4G-DW-4 Кл.т. 0,2S/0,5 Per. № 31857-11 |
Активная Реактивная |
0,6 1,1 |
| ||
7 |
ТГ-7 |
ТШЛ20Б-1 Кл.т. 0,2 10000/5 Per. №4016-74 Фазы: А; В; С |
GSES 24D Кл.т. 0,2 15750/л/3/100/л/3 Per. №48526-11 Фазы: А; В; С |
A1802RAL-P4G-DW-4 Кл.т. 0,2S/0,5 Per. № 31857-11 |
Активная Реактивная |
0,6 1,1 |
| ||
8 |
ТГ-8 |
ТШЛ20Б-1 Кл.т. 0,2 10000/5 Per. №4016-74 Фазы: А; В; С |
GSES 24D Кл.т. 0,2 15750/л/3/100/л/3 Per. №48526-11 Фазы: А; В; С |
A1802RAL-P4G-DW-4 Кл.т. 0,2S/0,5 Per. № 31857-11 |
Активная Реактивная |
0,6 1,1 |
|

_________3_________
ТПОЛ-10
Кл.т. 0,58 1000/5
Per. №47958-16 Фазы: А; В; С



ТПОЛ-10
Кл.т. 0,58 1000/5
Per. №47958-16
Фазы: А; В; С
ТПОЛ-10
Кл.т. 0,58 1000/5
Per. №47958-16 Фазы: А; В; С
ТПОЛ-10
Кл.т. 0,58 1000/5
Per. №47958-16 Фазы: А; В; С ТОЛ-СВЭЛ-10 Кл.т. 0,5 1000/5
Per. № 70106-17 Фазы: А; В; С
OSES 12D
Кл.т. 0,2 6000/л/3/100/л/3
Per. №48526-11
Фазы: А; В; С
OSES 12D
Кл.т. 0,2 6000/л/3/100/л/3
Per. №48526-11
Фазы: А; В; С
OSES 12D
Кл.т. 0,2 6000/л/3/100/л/3
Per. №48526-11
Фазы: А; В; С
A1802RAL-P4G-DW-4 Кл.т. 0,28/0,5 Per. № 31857-11
A1802RAL-P4G-DW-4 Кл.т. 0,28/0,5 Per. № 31857-11
A1802RAL-P4G-DW-4 Кл.т. 0,28/0,5 Per. № 31857-11
6 |
7 |
8 |
9 |
10 |
Активная |
1,0 |
2,9 | ||
Реактивная |
2,0 |
4,6 | ||
УССВ-2 |
Активная |
1,0 |
2,9 | |
Per. № 89968-23 |
Серверы, совместимые |
Реактивная |
2,0 |
4,6 |
УКУС-ПИ 02ДМ Per. № |
с платформой х86-х64 | |||
60738-15 |
Активная |
1,0 |
2,9 | |
Реактивная |
2,0 |
4,6 |
1 |
2 |
3 |
4 |
5 |
6 |
7 |
8 |
9 |
10 |
12 |
ГСР-4 |
ТОЛ-СВЭЛ-10 Кл.т. 0,5 1000/5 Per. № 70106-17 Фазы: А; В; С |
GSES 12D Кл.т. 0,2 6000/л/з/100/л/з Per. №48526-11 Фазы: А; В; С |
A1802RAL-P4G-DW-4 Кл.т. 0,28/0,5 Per. № 31857-11 |
Активная Реактивная |
1,0 2,0 |
2,9 4,6 | ||
13 |
ВЛ 330 кВ Л-396 КАЭС - ПС-206 «Княжегубская» № 1 |
TG 420 Кл.т. 0,2S 2000/1 Per. № 15651-06 Фазы: А; В; С |
СРВ 362 Кл.т. 0,2 ЗЗОООО/л/З/100/л/З Per. № 15853-06 Фазы: А; В; С СРВ 362 Кл.т. 0,2 ЗЗОООО/л/З/100/л/З Per. № 15853-06 Фазы: А; В; С |
A1802RAL-P4G-DW-4 Кл.т. 0,28/0,5 Per. № 31857-11 |
Активная Реактивная |
0,6 1,1 |
| ||
14 |
ВЛ 330 кВ Л-397 КАЭС-ПС-11 «Мончегорск» № 1 |
ТОГФ-330 Кл.т. 0,2S 2000/1 Per. № 82676-21 Фазы: А; В; С |
СРВ 362 Кл.т. 0,2 ЗЗОООО/л/З/100/л/З Per. №47844-11 Фазы: А; В; С СРВ 362 Кл.т. 0,2 ЗЗОООО/л/З/100/л/З Per. № 15853-06 Фазы: А; В; С |
A1802RAL-P4G-DW-4 Кл.т. 0,28/0,5 Per. № 31857-11 |
УССВ-2 Per. № 89968-23 УКУС-ПИ 02ДМ Per. № 60738-15 |
Серверы, совместимые с платформой х86-х64 |
Активная Реактивная |
0,6 1,1 |
|
1 |
2 |
3 |
4 |
5 |
15 |
ВЛ 330 кВ Л-398 КАЭС-ПС-11 «Мончегорск» №2 |
ТОГФ-330 Кл.т. 0,2S 2000/1 Per. № 82676-21 Фазы: А; В; С |
СРВ 362 Кл.т. 0,2 ЗЗОООО/л/З/100/л/З Per. № 15853-06 Фазы: А; В; С СРВ 362 Кл.т. 0,2 ЗЗОООО/л/З/100/л/З Per. № 15853-06 Фазы: А; В; С |
A1802RAL-P4G-DW-4 Кл.т. 0,28/0,5 Per. № 31857-11 |
16 |
ВЛ 330 кВ Л-404 КАЭС - ПС-204 «Титан» |
ТОГФ-330 Кл.т. 0,2S 2000/1 Per. № 82676-21 Фазы: А; В; С |
СРВ 362 Кл.т. 0,2 ЗЗОООО/л/З/100/л/З Per. № 15853-06 Фазы: А; В; С СРВ 362 Кл.т. 0,2 ЗЗОООО/л/З/100/л/З Per. №47844-11 Фазы: А; В; С |
A1802RAL-P4G-DW-4 Кл.т. 0,28/0,5 Per. № 31857-11 |

8 |
9 |
10 |
Активная |
0,6 |
1,5 |
Реактивная |
1,1 |
2,5 |
Активная |
0,6 |
1,5 |
Реактивная |
1,1 |
2,5 |
Продолжение таблицы 2
1 |
2 |
3 |
4 |
5 |
17 |
ВЛ 330 кВ Л-496 КАЭС - ПС-206 «Княжегубская» №2 |
TG 420 Кл.т. 0,2S 2000/1 Per. № 15651-06 Фазы: А; В; С |
СРВ 362 Кл.т. 0,2 ЗЗОООО/л/З/100/л/З Per. № 15853-06 Фазы: А; В; С СРВ 362 Кл.т. 0,2 ЗЗОООО/л/З/100/л/З Per. № 15853-06 Фазы: А; В; С |
A1802RAL-P4G-DW-4 Кл.т. 0,28/0,5 Per. № 31857-11 |
18 |
ВЛ-150 кВ ОЛ-152 |
TG 170 Кл.т. 0,2S 600/5 Per. № 15651-12 Фазы: А; В; С |
СРВ 170 Кл.т. 0,2 150000/л/3/100/л/3 Per. № 15853-06 Фазы: А; В; С |
A1802RAL-P4G-DW-4 Кл.т. 0,28/0,5 Per. № 31857-11 |
19 |
ВЛ-150 кВ ОЛ-157 |
TG 170 Кл.т. 0,2S 600/5 Per. № 15651-12 Фазы: А; В; С |
СРВ 170 Кл.т. 0,2 150000/л/3/100/л/3 Per. № 15853-06 Фазы: А; В; С |
A1802RAL-P4G-DW-4 Кл.т. 0,28/0,5 Per. № 31857-11 |
20 |
ВЛ-110 кВ Л-148 |
TG 145N Кл.т. 0,2S 600/5 Per. № 30489-09 Фазы: А; В; С |
СРВ 123 Кл.т. 0,2 110000/л/3/100/л/3 Per. № 15853-06 Фазы: А; В; С |
A1802RAL-P4G-DW-4 Кл.т. 0,28/0,5 Per. № 31857-11 |
УКУС-ПИ 02ДМ Per. № 60738-15
УССВ-2 Per. № 89968-23

Серверы, совместимые с платформой х86-х64
8 |
9 |
10 |
Активная |
0,6 |
1,5 |
Реактивная |
1,1 |
2,5 |
Активная |
0,6 |
1,5 |
Реактивная |
1,1 |
2,5 |
Активная |
0,6 |
1,5 |
Реактивная |
1,1 |
2,5 |
Активная |
0,6 |
1,5 |
Реактивная |
1,1 |
2,5 |
Продолжение таблицы 2
1 |
2 |
3 |
4 |
5 |
21 |
ПС-70 110/6 |
ТЛМ-10 Кл.т. 0,5 600/5 Per. № 2473-05 Фазы: А; С |
НТМИ-6 Кл.т. 0,5 6000/100 Per. № 831-53 Фазы: АВС НТМИ-6 Кл.т. 0,5 6000/100 Per. № 831-53 Фазы: АВС |
МИР С-07 Кл.т. 0,58/1,0 Per. №61678-15 |
22 |
РРС г. Лысая ОАО «Колателеком» |
— |
— |
псч- 4ТМ.05МКТ.20 Кл.т. 1,0/2,0 Per. № 75459-19 |
23 |
БСС «Мур-Лысая МРО СЗФ ПАО «Мегафон» |
— |
— |
псч- 4ТМ.05МКТ.20 Кл.т. 1,0/2,0 Per. № 75459-19 |
24 |
БСС ЗАО «Мурманская мобильная сеть» |
— |
— |
псч- 4ТМ.05МКТ.20 Кл.т. 1,0/2,0 Per. № 75459-19 |
25 |
БСС 51-711 филиала ПАО «МТС» в Мурманской области |
— |
— |
псч- 4ТМ.05МКТ.20 Кл.т. 1,0/2,0 Per. № 75459-19 |
УКУС-ПИ 02ДМ Per. № 60738-15
УССВ-2 Per. № 89968-23

Серверы, совместимые
с платформой х86-х64
8 |
9 |
10 |
Активная |
1,3 |
3,3 |
Реактивная |
2,5 |
5,6 |
Активная |
1,0 |
3,2 |
Реактивная |
2,0 |
5,9 |
Активная |
1,0 |
3,2 |
Реактивная |
2,0 |
5,9 |
Активная |
1,0 |
3,2 |
Реактивная |
2,0 |
5,9 |
Активная |
1,0 |
3,2 |
Реактивная |
2,0 |
5,9 |
Продолжение таблицы 2
1 |
2 |
3 |
4 |
5 |
26 |
БСС «Билайн GSM» Мурманского филиала ПАО «Вымпелком» |
— |
— |
псч- 4ТМ.05МКТ.20 Кл.т. 1,0/2,0 Per. № 75459-19 |
27 |
РРС филиала ПАО «МРСК Северо-Запада» «Колэнерго» |
— |
— |
псч- 4ТМ.05МКТ.20 Кл.т. 1,0/2,0 Per. № 75459-19 |
28 |
Кафе «Горная Хижина» ИП Алиева Б.Б. |
— |
— |
псч- 4ТМ.05МКТ.20 Кл.т. 1,0/2,0 Per. № 75459-19 |
29 |
ООО «БЛК-фиш» |
Т-0,66 Кл.т. 0,5 200/5 Per. № 22656-07 Фазы: А; В; С |
— |
сэт- 4ТМ.03М.09 Кл.т. 0,58/1,0 Per. № 36697-17 |
30 |
Коттедж Смирнова С.А. |
ТП1П-0,66 Кл.т. 0,5 300/5 Per. № 15173-06 Фазы: А; В; С |
— |
сэт- 4ТМ.03М.09 Кл.т. 0,58/1,0 Per. № 36697-17 |
31 |
«Олений парк» |
— |
— |
псч- 4ТМ.05МКТ.20 Кл.т. 1,0/2,0 Per. № 75459-19 |
УКУС-ПИ 02ДМ Per. № 60738-15
УССВ-2 Per. № 89968-23

Серверы, совместимые с платформой х86-х64
8 |
9 |
10 |
Активная |
1,0 |
3,2 |
Реактивная |
2,0 |
5,9 |
Активная |
1,0 |
3,2 |
Реактивная |
2,0 |
5,9 |
Активная |
1,0 |
3,2 |
Реактивная |
2,0 |
5,9 |
Активная |
1,0 |
3,2 |
Реактивная |
2,1 |
5,5 |
Активная |
1,0 |
3,2 |
Реактивная |
2,1 |
5,5 |
Активная |
1,0 |
3,2 |
Реактивная |
2,0 |
5,9 |
Продолжение таблицы 2
1 |
2 |
3 |
4 |
5 |
32 |
ЦПП, ввод № 3, ВРУ-1, АВР |
ТП1П-0,66 Кл.т. 0,5 300/5 Per. № 15173-06 Фазы: А; В; С |
— |
сэт- 4ТМ.03М.09 Кл.т. 0,58/1,0 Per. № 36697-17 |
33 |
ЦПП, ввод № 2, ВРУ-2 |
ТП1П-0,66 Кл.т. 0,5 600/5 Per. № 15173-06 Фазы: А; В; С |
— |
сэт- 4ТМ.03М.09 Кл.т. 0,58/1,0 Per. № 36697-17 |
34 |
ЦПП, ввод № 1, ВРУ-3 |
ТП1П-0,66 Кл.т. 0,5 400/5 Per. № 15173-06 Фазы: А; В; С |
— |
сэт- 4ТМ.03М.09 Кл.т. 0,58/1,0 Per. № 36697-17 |
35 |
Здание ИМ, ВРУ-1 |
ТП1П-0,66 Кл.т. 0,5 300/5 Per. № 15173-06 Фазы: А; В; С |
— |
сэт- 4ТМ.03М.09 Кл.т. 0,58/1,0 Per. № 36697-17 |
36 |
Здание Рубикон, ввод № 1, ВРУ |
ТП1П-0,66 Кл.т. 0,58 250/5 Per. №64182-16 Фазы: А; В; С |
— |
сэт- 4ТМ.03М.09 Кл.т. 0,58/1,0 Per. № 36697-17 |
37 |
Здание Рубикон, ввод № 2, ВРУ |
ТП1П-0,66 Кл.т. 0,58 250/5 Per. №64182-16 Фазы: А; В; С |
— |
сэт- 4ТМ.03М.09 Кл.т. 0,58/1,0 Per. № 36697-17 |
УКУС-ПИ 02ДМ Per. № 60738-15
УССВ-2 Per. № 89968-23

Серверы, совместимые
с платформой х86-х64
8 |
9 |
10 |
Активная |
1,0 |
3,2 |
Реактивная |
2,1 |
5,5 |
Активная |
1,0 |
3,2 |
Реактивная |
2,1 |
5,5 |
Активная |
1,0 |
3,2 |
Реактивная |
2,1 |
5,5 |
Активная |
1,0 |
3,2 |
Реактивная |
2,1 |
5,5 |
Активная |
1,0 |
3,3 |
Реактивная |
2,1 |
5,5 |
Активная |
1,0 |
3,3 |
Реактивная |
2,1 |
5,5 |
Продолжение таблицы 2
1 |
2 |
3 |
4 |
5 |
38 |
Здание «Мастерские СТЭМ и ГЭМ», ВРУ |
т-0,66 Кл.т. 0,58 200/5 Per. № 36382-07 Фазы: А; В; С |
— |
сэт- 4ТМ.03М.09 Кл.т. 0,58/1,0 Per. № 36697-17 |
39 |
Здание «МКХ», ВРУ |
Т-0,66 Кл.т. 0,5 300/5 Per. № 22656-07 Фазы: А; В; С |
— |
сэт- 4ТМ.03М.09 Кл.т. 0,58/1,0 Per. № 36697-17 |
УССВ-2 Per. № 89968-23
УКУС-ПИ 02ДМ Per. № 60738-15
7 |
8 |
9 |
10 |
Активная |
1,0 |
3,3 | |
Серверы, совместимые |
Реактивная |
2,1 |
5,5 |
С платформой х86-х64 |
Активная |
1,0 |
3,2 |
Реактивная |
2,1 |
5,5 |
Пределы смещений шкалы времени СОЕВ АПИС КУЭ относительно национальной шкалы времени UTC(SU)

Примечания:
-
1 В качестве характеристик погрешности ПК установлены границы допускаемой относительной погрешности ПК при доверительной вероятности, равной 0,95.
-
2 Характеристики погрешности ПК указаны для измерений активной и реактивной электроэнергии на интервале времени 30 мин.
-
3 Погрешность в рабочих условиях указана для ПК №№ 1-4, 9, 10, 13-20, 36-38 для силы тока 2 % от 1ном, для остальных ПК - для силы тока 5 % от 1ном; созф = 0,8инд.
-
4 Допускается замена ТТ, TH и счетчиков на аналогичные утвержденных типов с метрологическими характеристиками не хуже, чем у перечисленных в таблице 2, при условии, что предприятие-владелец АПИС КУЭ не претендует на улучшение указанных в таблице 2 метрологических характеристик. Допускается замена УСВ на аналогичные утвержденного типа, а также замена серверов без изменения используемого ПО (при условии сохранения цифрового идентификатора ПО). Замена оформляется техническим актом в установленном собственником АПИС КУЭ порядке. Технический акт хранится совместно с настоящим описанием типа АПИС КУЭ как его неотъемлемая часть.
Таблица 3 - Основные технические характеристики ИК
Наименование характеристики |
Значение |
1 |
2 |
Количество ИК |
39 |
Нормальные условия: параметры сети: | |
напряжение, % от Uном |
от 95 до 105 |
сила тока, % от Iном | |
для ИК №№ 1-4, 9, 10, 13-20, 36-38 |
от 1 до 120 |
для остальных ИК |
от 5 до 120 |
коэффициент мощности cosф |
0,9 |
частота, Гц |
от 49,8 до 50,2 |
температура окружающей среды, °С |
от +15 до +25 |
Условия эксплуатации: параметры сети: | |
напряжение, % от ином |
от 90 до 110 |
сила тока, % от 1ном | |
для ИК №№ 1-4, 9, 10, 13-20, 36-38 |
от 1 до 120 |
для остальных ИК |
от 5 до 120 |
коэффициент мощности cosф |
от 0,5 до 1,0 |
частота, Гц |
от 49,6 до 50,4 |
температура окружающей среды в месте расположения ТТ и ТН, °С |
от -40 до +35 |
температура окружающей среды в месте расположения счетчиков, °С |
от +5 до +35 |
температура окружающей среды в месте расположения серверов, °С |
от +15 до +25 |
Надежность применяемых в АИИС КУЭ компонентов: для счетчиков типа Альфа А1800: | |
среднее время наработки на отказ, ч, не менее |
120000 |
среднее время восстановления работоспособности, ч |
72 |
для счетчика типа МИР С-07: | |
среднее время наработки на отказ, ч, не менее |
290000 |
среднее время восстановления работоспособности, ч |
72 |
для счетчиков типов ПСЧ-4ТМ.05МКТ, СЭТ-4ТМ.03М: | |
среднее время наработки на отказ, ч, не менее |
220000 |
среднее время восстановления работоспособности, ч |
2 |
для УСВ типа УССВ-2: | |
среднее время наработки на отказ, ч, не менее |
110000 |
среднее время восстановления работоспособности, ч |
2 |
для УСВ типа УКУС-ПИ 02ДМ: | |
среднее время наработки на отказ, ч, не менее |
125000 |
среднее время восстановления работоспособности, ч |
0,5 |
для серверов: | |
среднее время наработки на отказ, ч, не менее |
35000 |
среднее время восстановления работоспособности, ч |
1 |
Глубина хранения информации: для счетчиков типа Альфа А1800: | |
тридцатиминутный профиль нагрузки в двух направлениях, сут, не менее |
180 |
при отключении питания, лет, не менее |
30 |
Продолжение таблицы 3
1 |
2 |
для счетчика типа МИР С-07: |
131 |
тридцатиминутный профиль нагрузки в двух направлениях, сут, не менее |
30 |
при отключении питания, лет, не менее для счетчиков типов ПСЧ-4ТМ.05МКТ, СЭТ-4ТМ.03М: | |
тридцатиминутный профиль нагрузки в двух направлениях, сут, не менее |
113 |
при отключении питания, лет, не менее |
40 |
для серверов: | |
хранение результатов измерений и информации состояний средств | |
измерений, лет, не менее |
3,5 |
Надежность системных решений: защита от кратковременных сбоев питания серверов бесперебойного питания;
с помощью источника
может
резервирование каналов связи: информация о результатах измерений передаваться в организации-участники оптового рынка электроэнергии по электронной почте.
В журналах событий фиксируются факты:
-
- журнал счетчиков: параметрирования; пропадания напряжения; коррекции времени в счетчиках.
-
- журнал серверов: параметрирования; пропадания напряжения;
коррекции времени в счетчиках и серверах; пропадание и восстановление связи со счетчиками.
Защищенность применяемых компонентов:
-
- механическая защита от несанкционированного доступа и пломбирование: счетчиков электрической энергии;
промежуточных клеммников вторичных цепей напряжения; испытательной коробки;
серверов.
-
- защита на программном уровне информации при хранении, передаче, параметрировании:
счетчиков электрической энергии;
серверов.
Возможность коррекции времени в: счетчиках электрической энергии (функция автоматизирована); серверах (функция автоматизирована).
Возможность сбора информации: о состоянии средств измерений; о результатах измерений (функция автоматизирована).
Цикличность: измерений 30 мин (функция автоматизирована); сбора не реже одного раза в сутки (функция автоматизирована).
Знак утверждения типананосится на титульные листы эксплуатационной документации на АИИС КУЭ типографским способом.
Комплектность средства измеренийКомплектность АИИС КУЭ представлена в таблице 4.
Таблица 4 — Комплектность АИИС КУЭ
Наименование |
Обозначение |
Количество, шт./экз. |
Трансформаторы тока |
BDG 072A1 |
12 |
Трансформаторы тока шинные |
ТШЛ 20 |
6 |
Трансформаторы тока |
ТШЛ20Б-1 |
6 |
Трансформаторы тока проходные |
ТПОЛ-10 |
12 |
Трансформаторы тока |
ТОЛ-СВЭЛ-10 |
6 |
Трансформаторы тока |
TG 420 |
6 |
Трансформаторы тока |
ТОГФ-330 |
9 |
Трансформаторы тока |
TG 170 |
6 |
Трансформаторы тока |
TG 145N |
3 |
Трансформаторы тока |
ТЛМ-10 |
2 |
Трансформаторы тока |
Т-0,66 |
9 |
Трансформаторы тока шинные |
ТШП-0,66 |
21 |
Трансформаторы напряжения |
GSES 24D |
24 |
Трансформаторы напряжения |
GSES 12D |
12 |
Трансформаторы напряжения |
CPB 362 |
24 |
Трансформаторы напряжения измерительные |
CPB 362 |
6 |
Трансформаторы напряжения |
CPB 170 |
6 |
Трансформаторы напряжения |
CPB 123 |
3 |
Трансформаторы напряжения |
НТМИ-6 |
2 |
Счетчики электрической энергии трехфазные многофункциональные |
Альфа А1800 |
20 |
Счетчики электрической энергии |
МИР С-07 |
1 |
Счетчики электрической энергии многофункциональные |
ПСЧ-4ТМ.05МКТ |
8 |
Счетчики электрической энергии многофункциональные |
СЭТ-4ТМ.03М |
10 |
Устройства синхронизации системного времени |
УССВ-2 |
1 |
Источники первичные точного времени |
УКУС-ПИ 02ДМ |
1 |
Сервер филиала АО «Концерн Росэнергоатом» «Кольская атомная станция» |
Сервер, совместимый с платформой х86-х64 |
1 |
Сервер АО «Концерн Росэнергоатом» |
Сервер, совместимый с платформой х86-х64 |
1 |
Методика поверки |
— |
1 |
Формуляр |
4222-77300496.005-2025.ФО |
1 |
приведены в документе «Методика измерений электрической энергии с использованием АИИС КУЭ филиала АО «Концерн Росэнергоатом» «Кольская атомная станция», аттестованном аккредитованных лиц № RA.RU.312078.
ООО «ЭнергоПромРесурс», уникальный номер записи в реестре
ГОСТ 22261-94 Средства измерений электрических и магнитных величин. Общие технические условия;
ГОСТ Р 8.596-2002 ГСИ. Метрологическое обеспечение измерительных систем. Основные положения.
ПравообладательАкционерное общество «Российский концерн по производству электрической и тепловой энергии на атомных станциях» (АО «Концерн Росэнергоатом»)
ИНН 7721632827
Юридический адрес: 109507, г. Москва, ул. Ферганская, д. 25
Телефон: (495) 647-41-89
E-mail: info@rosenergoatom.ru
ИзготовительАкционерное общество «Российский концерн по производству электрической и тепловой энергии на атомных станциях» (АО «Концерн Росэнергоатом») ИНН 7721632827
Адрес: 109507, г. Москва, ул. Ферганская, д. 25
Телефон: (495) 647-41-89
E-mail: info@rosenergoatom.ru
Испытательный центрОбщество с ограниченной ответственностью «ЭнергоПромРесурс» (ООО «ЭнергоПромРесурс»)
Адрес: 143443, Московская обл., г. Красногорск, мкр. Опалиха, ул. Ново-Никольская, д. 57, оф. 19
Телефон: (495) 380-37-61
E-mail: energopromresurs2016@gmail.com
Уникальный номер записи в реестре аккредитованных лиц № RA.RU.312047.

УТВЕРЖДЕНО приказом Федерального агентства по техническому регулированию и метрологии от «10» июля 2025 г. № 1414
Лист № 1
Всего листов 11
коммерческого
Регистрационный № 95887-25
ОПИСАНИЕ ТИПА СРЕДСТВА ИЗМЕРЕНИЙ
Система автоматизированная информационно-измерительная учета электроэнергии (АИИС КУЭ) Ленинградская АЭС-2
Назначение средства измеренийСистема автоматизированная информационно-измерительная коммерческого учета электроэнергии (АИИС КУЭ) Ленинградская АЭС-2 (далее - АИИС КУЭ) предназначена для измерений активной и реактивной электроэнергии, автоматизированного сбора, обработки, хранения информации, формирования отчетных документов и передачи полученной информации заинтересованным организациям в рамках согласованного регламента.
Описание средства измеренийАИИС КУЭ представляет собой многофункциональную трехуровневую автоматизированную систему с централизованным управлением и распределенной функцией измерений.
АИИС КУЭ включает в себя следующие уровни:
-
1- й уровень - измерительно-информационные комплексы (ИИК), включающие в себя измерительные трансформаторы тока (ТТ), измерительные трансформаторы напряжения (ТН), счетчики активной и реактивной электрической энергии (счетчики), вторичные измерительные цепи и технические средства приема-передачи данных.
-
2- й уровень - информационно-вычислительный комплекс электроустановки (ИВКЭ), включающий в себя сервер АИИС КУЭ Ленинградской АЭС-2, программное обеспечение (ПО) «Пирамида 2.0», устройство синхронизации времени (УСВ), каналообразующую аппаратуру, автоматизированные рабочие места (АРМ), технические средства для организации локальной вычислительной сети и разграничения прав доступа к информации.
-
3- й уровень - информационно-вычислительный комплекс (ИВК), включающий в себя сервер АО «Концерн Росэнергоатом», ПО «Пирамида 2.0», УСВ, каналообразующую аппаратуру, АРМ, технические средства для организации локальной вычислительной сети и разграничения прав доступа к информации.
Первичные токи и напряжения трансформируются измерительными трансформаторами в аналоговые сигналы низкого уровня, которые по проводным линиям связи поступают на соответствующие входы электронного счетчика электрической энергии. В счетчике мгновенные значения аналоговых сигналов преобразуются в цифровой сигнал. По мгновенным значениям силы электрического тока и напряжения в микропроцессоре счетчика вычисляются мгновенные значения активной и полной мощности, которые усредняются за период 0,02 с. Средняя за период реактивная мощность вычисляется по средним за период значениям активной и полной мощности.
Электрическая энергия, как интеграл по времени от средней за период 0,02 с мощности, вычисляется для интервалов времени 30 мин.
Средняя активная (реактивная) электрическая мощность вычисляется как значение мгновенных значений мощности на интервале времени усреднения 30 мин.
среднее
средств
АЭС-2,
Цифровой сигнал с выходов счетчиков при помощи технических приема-передачи данных поступает на сервер АИИС КУЭ Ленинградской где осуществляется обработка измерительной информации, в частности вычисление электрической энергии и мощности с учетом коэффициентов трансформации ТТ и ТН, формирование и хранение поступающей информации, оформление отчетных документов.
Далее информация при помощи технических средств приема-передачи данных поступает на сервер АО «Концерн Росэнергоатом», где осуществляется обработка, формирование и хранение поступающей информации, оформление отчетных документов.
Также уровень ИВК может принимать измерительную информацию в виде xml-файлов установленных форматов от ИВК прочих АИИС КУЭ, зарегистрированных в Федеральном информационном фонде, и передавать всем заинтересованным субъектам оптового рынка электроэнергии (ОРЭ).
От сервера АО «Концерн Росэнергоатом» информация в виде xml-файлов установленных форматов поступает на АРМ уровня ИВК по корпоративному каналу связи.
Передача информации от АРМ уровня ИВК в программно-аппаратный комплекс АО «АТС» с электронной подписью субъекта ОРЭ, в филиал АО «СО ЕЭС» и в другие смежные субъекты ОРЭ осуществляется по электронной почте в виде xml-файлов установленных форматов в соответствии с приложением 11.1.1 «Формат и регламент предоставления результатов измерений, состояний объектов измерений в АО «АТС», АО «СО ЕЭС» и смежным субъектам» к Положению о порядке получения статуса субъекта оптового рынка и ведения реестра субъектов оптового рынка электрической энергии и мощности.
АИИС КУЭ имеет систему обеспечения единого времени (СОЕВ). СОЕВ обеспечивает синхронизацию шкал времени всех компонентов системы с национальной шкалой времени UTC(SU).
В качестве основного источника синхронизации используются сигналы глобальной навигационной спутниковой системы ГЛОНАСС, по которым синхронизируются УСВ уровней ИВК и ИВКЭ, обеспечивающие формирование и передачу шкалы времени, синхронизированной с национальной шкалой координированного времени РФ UTC(SU).
В качестве резервного источника синхронизации используются NTP-серверы ФГУП «ВНИИФТРИ» (первого уровня, Stratum 1), обеспечивающие передачу информации о точном времени через глобальную сеть Интернет. По данным NTP-серверам, по NTP протоколу синхронизируются сервер АИИС КУЭ Ленинградской АЭС-2 и сервер АО «Концерн Росэнергоатом». Таким образом обеспечивается постоянное обновление данных о текущем значении времени на всех компонентах АИИС КУЭ. Резервный источник синхронизации используется при выходе из строя основного.
Сравнение шкал времени счетчиков и сервера АИИС КУЭ Ленинградской АЭС-2 30 мин. времени
осуществляется во время сеанса связи со счетчиками, но не реже одного раза в Корректировка шкал времени счетчиков производится при расхождении шкал счетчиков и сервера АИИС КУЭ Ленинградской АЭС-2 более ±2 с.
Журналы событий счетчиков и серверов отображают факты коррекции с обязательной фиксацией времени до и после коррекции или величины коррекции на которую было скорректировано устройство.
времени времени,
Нанесение знака поверки на средство измерений не предусмотрено. Маркировка заводского номера АИИС КУЭ Ленинградская АЭС-2 наносится на этикетку, расположенную на тыльной стороне сервера АИИС КУЭ Ленинградской АЭС-2, типографским способом. Дополнительно заводской номер 002 указывается в формуляре.
Программное обеспечениеВ АПИС КУЭ используется ПО «Пирамида 2.0». ПО «Пирамида 2.0» обеспечивает защиту измерительной информации паролями в соответствии с правами доступа. Метрологически значимая часть ПО «Пирамида 2.0» указана в таблице 1. Уровень защиты ПО «Пирамида 2.0» от непреднамеренных и преднамеренных изменений - «высокий» в соответствии с Р 50.2.077-2014.
Таблица 1 -
ткационные данные ПО
2.0»
Ид ентиф икационные данные (признаки) |
Значение | |||||||||
Ид ентиф икационное наименование ПО |
Binary Раск Controls. dll |
Check Data Integrity, dll |
Coml ECFunctio ns.dll |
ComModbu sFunctions. dll |
Com StdFunct ions.dll |
DateTimeP rocessing.d 11 |
Safe Values DataUp-date.dll |
Simple Verify Data Statuses, dll |
Summary Check CRC.dll |
Values DataProc essing.dll |
Номер версии (идентификационный номер) ПО |
не ниже 10.9 | |||||||||
Цифровой идентификатор ПО |
ЕВ1984Е 0072ACF Е1С7972 69B9DB1 5476 |
E021CF 9C974D D7EA91 219B4D 4754D5 C7 |
BE77C56 55C4F19F 89A1B412 63A16CE 27 |
AB65EF4 B617E4F7 86CD87B 4A560FC9 17 |
EC9A864 71F3713E 60C1DA D056CD6 E373 |
D1C26A2 F55C7FEC FF5CAF8 B1C056F A4D |
B6740D34 19A3BC1 A4276386 0BB6FC8 AB |
61C1445 BB04C7 F9BB42 44D4A0 85C6A3 9 |
EFCC55E 91291DA 6F805979 32364430 D5 |
013E6FE 1081A4 CF0C2D E95F1B B6EE64 5 |
Алгоритм вычисления цифрового идентификатора ПО |
MD5 |
Состав измерительных каналов (ИК) и их основные метрологические и технические характеристики приведены в таблицах 2, 3.
Таблица 2 — Состав ИК Л И ИС КУЭ и их
Номер ИК |
Наименование точки измерений |
Измерительные компоненты |
Сервер |
Вид электроэнергии |
Метрологические характеристики ИК | ||||
ТТ |
TH |
Счетчик |
УСВ |
Г раницы допускаемой основной относительной погрешности (±5), % |
Г раницы допускаемой относительной погрешности в рабочих условиях (±5), % | ||||
1 |
2 |
3 |
4 |
5 |
6 |
7 |
8 |
9 |
10 |
1 |
ВЛ 330 кВ Копорская-Кингисеппская (00ACL10) |
CTIG-500 Кл.т. 0,2S 2000/1 Per. №47199- 11 Фазы: А; В; С |
TCVT 362 Кл.т. 0,2 ЗЗОООО/л/З/100/л/З Per. № 57418-14 Фазы: А; В; С SU 362/Y Кл.т. 0,2 ЗЗОООО/л/З/100/л/З Per. № 51360-12 Фазы: А; В; С |
A1802RAL- P4GB-DW-4 Кл.т. 0,28/0,5 Per. № 31857-11 |
УССВ-2 Per. № 89968-23 УССВ-2 Per. № 54074- 13 |
Серверы, совместимые с платформой х86-х64 |
Активная Реактивная |
0,6 1,1 |
|
таблицы 2
1 |
2 |
3 |
4 |
5 |
2 |
ВЛ 330 кВ Копорская-Г атчинская (00ACL20) |
CTIG-500 Кл.т. 0,2S 2000/1 Per. №47199-11 Фазы: А; В; С |
TCVT 362 Кл.т. 0,2 ЗЗОООО/л/З/100/л/З Per. № 57418-14 Фазы: А; В; С SU 362/Y Кл.т. 0,2 ЗЗОООО/л/З/100/л/З Per. № 51360-12 Фазы: А; В; С |
A1802RAL-P4GB-DW-4 Кл.т. 0,28/0,5 Per. № 31857-11 |
4 |
КВЛЗЗО кВ Копорская-Ленинградская (00ACL40) |
CTIG-500 Кл.т. 0,2S 2000/1 Per. №47199-11 Фазы: А; В; С |
TCVT 362 Кл.т. 0,2 ЗЗОООО/л/З/100/л/З Per. № 57418-14 Фазы: А; В; С SU 362/Y Кл.т. 0,2 ЗЗОООО/л/З/100/л/З Per. № 51360-12 Фазы: А; В; С |
A1802RAL-P4GB-DW-4 Кл.т. 0,28/0,5 Per. № 31857-11 |
5 |
КВЛЗЗО кВ Копорская -Пулковская (00ACL50) |
CTIG-500 Кл.т. 0,2S 2000/1 Per. №47199-11 Фазы: А; В; С |
TCVT 362 Кл.т. 0,2 ЗЗОООО/л/З/100/л/З Per. № 57418-14 Фазы: А; В; С SU 362/Y Кл.т. 0,2 ЗЗОООО/л/З/100/л/З Per. № 51360-12 Фазы: А; В; С |
A1802RAL-P4GB-DW-4 Кл.т. 0,28/0,5 Per. № 31857-11 |
УССВ-2 Per. № 89968-23
УССВ-2 Per. № 54074-13

Активная
Реактивная
Активная
Реактивная
Активная
Реактивная
Серверы, совместимые с платформой х86-х64
таблицы 2
1 |
2 |
3 |
4 |
5 |
6 |
7 |
8 |
9 |
10 |
9 |
4ЛТ (00АВТ40) |
ТГФ-330 Кл.т. 0,2S 3000/1 Per. №79915-20 Фазы: А; В; С |
DFK 362 Кл.т. 0,2 ЗЗОООО/л/З/100/л/З Per. №72892-18 Фазы: А; В; С SU 362/Y Кл.т. 0,2 ЗЗОООО/л/З/100/л/З Per. № 51360-12 Фазы: А; В; С |
A1802RAL-P4GB-DW-4 Кл.т. 0,28/0,5 Per. № 31857-11 |
Активная Реактивная |
0,6 1,1 |
| ||
16 |
Объект № 4 Ленинградская АЭС-2, энергоблок № 1, 1 ТЭК Г-9 (24 кВ) (10ВАА10) |
ТВ-ЭК йен. М2 Кл.т. 0,2S 20000/1 Per. № 56255-14 Фазы: А; В; С |
GSE30 Кл.т. 0,2 24000/л/3/100/л/3 Per. №48526-11 Фазы: А; В; С |
A1802RAL-P4GB-DW-4 Кл.т. 0,28/0,5 Per. № 31857-11 |
УССВ-2 Per. № 89968-23 УССВ-2 Per. № 54074-13 |
Серверы, совместимые с платформой х86-х64 |
Активная Реактивная |
0,6 1,1 |
|
17 |
Объект № 4 Ленинградская АЭС-2, энергоблок № 1, 2 ТЭК Г-9 (24 кВ) (10ВАА20) |
ТВ-ЭК йен. М2 Кл.т. 0,2S 20000/1 Per. № 56255-14 Фазы: А; В; С |
GSE30 Кл.т. 0,2 24000/л/3/100/л/3 Per. №48526-11 Фазы: А; В; С |
A1802RAL-P4GB-DW-4 Кл.т. 0,28/0,5 Per. № 31857-11 |
Активная Реактивная |
0,6 1,1 |
| ||
20 |
Объект № 8 Ленинградская АЭС-2, энергоблок № 2, 1 ТЭК Г-10 (24 кВ) (20ВАА10) |
ТВ-ЭК М2 Кл.т. 0,2S 20000/1 Per. № 74600-19 Фазы: А; В; С |
GSE30 Кл.т. 0,2 24000/л/3/100/л/3 Per. №48526-11 Фазы: А; В; С |
A1802RAL-P4GB-DW-4 Кл.т. 0,28/0,5 Per. № 31857-11 |
Активная Реактивная |
0,6 1,1 |
|
таблицы 2
1 |
2 |
3 |
4 |
5 |
21 |
Объект № 8 Ленинградская АЭС-2, энергоблок № 2, 2 ТЭК Г-10 (24 кВ) (20ВАА20) |
ТВ-ЭК М2 Кл.т. 0,28 20000/1 Per. № 74600-19 Фазы: А; В; С |
G8E30 Кл.т. 0,2 24000/л/3/100/л/3 Per. №48526-11 Фазы: А; В; С |
A1802RALQ- P4GB-DW-4 Кл.т. 0,28/0,5 Per. № 31857-11 |
28 |
КЛ ПО кВ Ленинградская АЭС-ПС САР (00AEL01) |
ТОГФ-110 Кл.т. 0,28 500/1 Per. №61432-15 Фазы: А; В; С |
ЗНГ-УЭТМ®-110 Кл.т. 0,2 110000/х/3/100/л/3 Per. № 53343-13 Фазы: А; В; С |
A1802RALXQ- P4GB-DW-GP-4 Кл.т. 0,28/0,5 Per. № 31857-11 |
УССВ-2 Per. № 89968-23
УССВ-2 Per. № 54074-13

Серверы, совместимые с платформой х86-х64
8 |
9 |
10 |
Активная |
0,6 |
1,5 |
Реактивная |
1,1 |
2,5 |
Активная |
0,6 |
1,5 |
Реактивная |
1,1 |
2,5 |
Пределы смещений шкалы времени СОЕВ АИИС КУЭ относительно национальной шкалы времени UTC(SU)

Примечания:
-
1 В качестве характеристик погрешности ИК установлены границы допускаемой относительной погрешности ИК при доверительной вероятности, равной 0,95.
Характеристики погрешности ИК указаны для измерений активной и реактивной электроэнергии на интервале времени 30 мин. Погрешность в рабочих условиях указана для силы тока 2 % от 1ном; созф = 0,8инд.
Допускается замена ТТ, TH и счетчиков на аналогичные утвержденных типов с метрологическими характеристиками не хуже, чем
-
2
-
3
-
4 у перечисленных в таблице 2, при условии, что предприятие-владелец АИИС КУЭ не претендует на улучшение указанных в таблице 2 метрологических характеристик. Допускается замена УСВ на аналогичные утвержденного типа, а также замена серверов без изменения используемого ПО (при условии сохранения цифрового идентификатора ПО). Замена оформляется техническим актом в установленном собственником АИИС КУЭ порядке. Технический акт хранится совместно с настоящим описанием типа АИИС КУЭ как его неотъемлемая часть.
Таблица 3 - Основные технические характеристики ИК
Наименование характеристики |
Значение |
Количество ИК |
10 |
Нормальные условия: параметры сети: напряжение, % от Uном |
от 95 до 105 |
сила тока, % от Iном |
от 1 до 120 |
коэффициент мощности cosф |
0,9 |
частота, Гц |
от 49,8 до 50,2 |
температура окружающей среды, °С |
от +15 до +25 |
Условия эксплуатации: параметры сети: напряжение, % от ином |
от 90 до 110 |
сила тока, % от 1ном |
от 1 до 120 |
коэффициент мощности cosф |
от 0,5 до 1,0 |
частота, Гц |
от 49,6 до 50,4 |
температура окружающей среды в месте расположения ТТ и ТН, °С |
от -30 до +40 |
температура окружающей среды в месте расположения счетчиков, °С |
от 0 до +40 |
температура окружающей среды в месте расположения серверов, °С |
от +10 до +30 |
Надежность применяемых в АИИС КУЭ компонентов: для счетчиков: среднее время наработки на отказ, ч, не менее |
120000 |
среднее время восстановления работоспособности, ч |
72 |
для УСВ типа УССВ-2 (регистрационный номер в Федеральном информационном фонде 89968-23): среднее время наработки на отказ, ч, не менее |
110000 |
среднее время восстановления работоспособности, ч |
2 |
для УСВ типа УССВ-2 (регистрационный номер в Федеральном информационном фонде 54074-13): среднее время наработки на отказ, ч, не менее |
74500 |
среднее время восстановления работоспособности, ч |
2 |
для сервера АИИС КУЭ Ленинградской АЭС-2: среднее время наработки на отказ, ч, не менее |
70000 |
среднее время восстановления работоспособности, ч |
1 |
для сервера АО «Концерн Росэнергоатом»: среднее время наработки на отказ, ч, не менее |
35000 |
среднее время восстановления работоспособности, ч |
1 |
Глубина хранения информации: для счетчиков: тридцатиминутный профиль нагрузки в двух направлениях, сут, не менее |
180 |
при отключении питания, лет, не менее |
30 |
для серверов: хранение результатов измерений и информации состояний средств измерений, лет, не менее |
3,5 |
Надежность системных решений: защита от кратковременных сбоев питания серверов бесперебойного питания;
с помощью источника
связи: информация о результатах измерений может передаваться в организации-участники оптового рынка электроэнергии по электронной почте.
резервирование каналов
В журналах событий фиксируются факты:
-
- журнал счетчиков: параметрирования; пропадания напряжения; коррекции времени в счетчиках.
-
- журнал серверов: параметрирования; пропадания напряжения;
коррекции времени в счетчиках и серверах; пропадание и восстановление связи со счетчиками.
Защищенность применяемых компонентов:
-
- механическая защита от несанкционированного доступа и пломбирование: счетчиков электрической энергии;
промежуточных клеммников вторичных цепей напряжения; испытательной коробки;
серверов.
-
- защита на программном уровне информации при хранении, передаче, параметрировании:
счетчиков электрической энергии;
серверов.
Возможность коррекции времени в: счетчиках электрической энергии (функция автоматизирована); серверах (функция автоматизирована).
Возможность сбора информации: о состоянии средств измерений; о результатах измерений (функция автоматизирована).
Цикличность: измерений 30 мин (функция автоматизирована); сбора не реже одного раза в сутки (функция автоматизирована).
Знак утверждения типананосится на титульные листы эксплуатационной документации на АИИС КУЭ типографским способом.
Комплектность средства измеренийКомплектность АИИС КУЭ представлена в таблице 4.
Таблица 4 — Комплектность АИИС КУЭ
Наименование |
Обозначение |
Количество, шт./экз. |
1 |
2 |
3 |
Трансформаторы тока |
CTIG-500 |
12 |
Трансформаторы тока |
ТГФ-330 |
3 |
Трансформаторы тока |
ТВ-ЭК исп. М2 |
6 |
Трансформаторы тока |
ТВ-ЭК М2 |
6 |
Трансформаторы тока |
ТОГФ-110 |
3 |
Трансформаторы напряжения емкостные |
TCVT 362 |
12 |
Трансформаторы напряжения |
SU 362/Y |
15 |
Трансформаторы напряжения емкостные |
DFK 362 |
3 |
Трансформаторы напряжения |
GSE 30 |
12 |
Продолжение таблицы 4
1 |
2 |
3 |
Трансформаторы напряжения антирезонансные элегазовые |
ЗНГ-УЭТМ®-110 |
3 |
Счетчики электрической энергии трехфазные многофункциональные |
Альфа А1800 |
10 |
Устройства синхронизации системного времени |
УССВ-2 |
2 |
Сервер АИИС КУЭ Ленинградской АЭС-2 |
Сервер, совместимый с платформой х86-х64 |
1 |
Сервер АО «Концерн Росэнергоатом» |
Сервер, совместимый с платформой х86-х64 |
1 |
Методика поверки |
— |
1 |
Формуляр |
ДЯИМ.411732.006.ПФ-24 |
1 |
приведены в документе «Методика измерений электрической энергии с использованием
АИИС КУЭ Ленинградская АЭС-2», аттестованном ООО «ЭнергоПромРесурс», уникальный номер записи в реестре аккредитованных лиц № RA.RU.312078.
Нормативные документы, устанавливающие требования к средству измеренийГОСТ 22261-94 Средства измерений электрических и магнитных величин. Общие технические условия;
ГОСТ Р 8.596-2002 ГСИ. Метрологическое обеспечение измерительных систем. Основные положения.
ПравообладательАкционерное общество «Российский концерн по производству электрической и тепловой энергии на атомных станциях» (АО «Концерн Росэнергоатом»)
ИНН 7721632827
Юридический адрес: 109507, г. Москва, ул. Ферганская, д. 25
Телефон: (495) 647-41-89
E-mail: info@rosenergoatom.ru
ИзготовительАкционерное общество «Российский концерн по производству электрической и тепловой энергии на атомных станциях» (АО «Концерн Росэнергоатом»)
ИНН 7721632827
Адрес: 109507, г. Москва, ул. Ферганская, д. 25
Телефон: (495) 647-41-89
E-mail: info@rosenergoatom.ru
Испытательный центрОбщество с ограниченной ответственностью «ЭнергоПромРесурс» (ООО «ЭнергоПромРесурс»)
Адрес: 143443, Московская обл., г. Красногорск, мкр. Опалиха, ул. Ново-Никольская, д. 57, оф. 19
Телефон: (495) 380-37-61
E-mail: energopromresurs2016@gmail.com
Уникальный номер записи в реестре аккредитованных лиц № RA.RU.312047.
