Методика поверки «Микрометры серий 102, 103, 104, 105, 118, 119, 193, 227, 293, 340, 389, 406» (МП 203-76-2017)
ФГУП «ВСЕРОССИЙСКИЙ НАУЧНО-ИССЛЕДОВАТЕЛЬСКИЙ ИНСТИТУТ МЕТРОЛОГИЧЕСКОЙ СЛУЖБЫ»
ФГУП «вниимс»
УТВЕРЖДАЮ Зам. директора
<>^^§^1ру1зводственной метрологии фг^й «ВНИИМС»
.В. Иванникова
2017 г.
< 0,3; m z
•
о-0 о -.•
й »АЪА

Микрометры серий 102,103,104,105,118,119,
193, 227, 293,340,389, 406
Методика поверки
МП 203-76-2017 г. Москва2017
Настоящая методика поверки распространяется на микрометры серий 102, 103, 104, 105, 118, 119, 193, 227, 293, 340, 389, 406 (далее по тексту - микрометры), выпускаемые по технической документации Mitutoyo Corporation, Япония и устанавливает методы и средства их первичной и периодической поверок.
Интервал между поверками 1 год.
-
1. ОПЕРАЦИИ И СРЕДСТВА ПОВЕРКИ
1.1. При проведении поверки должны быть выполнены операции и применены средства поверки, указанные в таблице 1.
Таблица 1
Наименование операции |
Номер пункта методики поверки |
Средства поверки |
Проведение операции при | |
первичной поверке |
периода ческой поверке | |||
Внешний осмотр |
5.1. |
Визуально |
да |
да |
Опробование |
5.2. |
Визуально |
да |
да |
Определение шероховатости измерительных поверхностей микрометра и установочных мер |
5.3. |
Образец шероховатости поверхности по ГОСТ 9378-93 с параметром шероховатости Ra= 0,08 мкм или измерительный интерференционный микроскоп по ГОСТ 9847-79 модели МИИ-4 |
да |
нет |
Определение зазора между концом стрелки и шкалой циферблата микрометров серии 119 |
5.4 |
Визуально |
да |
нет |
Определение измерительного усилия |
5.5. |
Весы рычажные настольные циферблатные ВРНЦ (per. № 23740-07), стойка типа С-П-28-125x125 по ГОСТ 10197-70 |
да |
да |
Определение отклонения от плоскостности плоских измерительных поверхностей микрометров (кроме микрометров серии 118, 389 со сферическими измерительными поверхностями пятки и наконечника)и установочных мер |
5.6. |
Пластина плоская нижняя стеклянная ПИ 60, класса точности 2 (per. № 197-70) |
да |
да |
Продолжение таблицы 1
Наименование операции |
Номер пункта методики поверки |
Средства поверки |
Проведение операции при | |
первичной поверке |
периоди ческой поверке | |||
Определение отклонения от параллельности измерительных поверхностей микрометров (кроме микрометров серии 118, 119 и 389 со сферической измерительной поверхностью пятки и плоской или сферической поверхностью наконечника) |
5.7 |
Стеклянные плоскопараллельные пластины ПМ-15, ПМ-40, ПМ-65, ПМ-90 (per. № 589-74); меры длины концевые плоскопараллельные 4-го разряда по ГОСТ Р 8.763-2011 |
да |
да |
Определение абсолютной погрешности:
|
5.8 |
меры длины концевые плоскопараллельные 3-го разряда по ГОСТ Р 8.763-2011 меры длины концевые плоскопараллельные 4-го разряда по ГОСТ Р 8.763-2011 |
да |
да |
Определение отклонения длины от номинальной и отклонения от параллельности измерительных поверхностей установочных мер |
5.9 |
Меры длины концевые плоскопараллельные 4-го разряда по ГОСТ Р 8.763-2011; машина оптико-механическая для измерения длины ИЗМ-2 (per. № 1353-76) |
да |
да |
Примечание: Допускается применение аналогичных средств поверки, не приведенных в перечне, но обеспечивающих определение метрологических характеристик поверяемых средств измерений с требуемой точностью.
2. ТРЕБОВАНИЯ БЕЗОПАСНОСТИПри проведении поверки микрометров должны соблюдаться следующие требования:
-
- при подготовке к проведению поверки должны быть соблюдены требования пожарной безопасности при работе с легковоспламеняющимися жидкостями, к которым относится бензин, используемый для промывки;
-
- бензин хранят в металлической посуде, плотно закрытой металлической крышкой, в количестве не более однодневной нормы, требуемой для промывки;
-
- промывку проводят в резиновых технических перчатках типа II по ГОСТ 20010-93.
-
3.1. При проведении поверки температура помещения, в котором проводят поверку, должна соответствовать указанной в таблице 2:
Таблица 2 ____ _________________________________________________
Диапазоны измерений, мм |
Допускаемое отклонение температуры от +20 °C, °C |
от 0 до 150 включ. |
±4 |
св. 150 до 500 включ. |
±3 |
св. 500 до 1000 включ. |
±2 |
св. 1000 до 2000 |
±1 |
Относительная влажность окружающего воздуха, % не более 80.
4. ПОДГОТОВКА К ПОВЕРКЕПри поверке микрометр и установочные меры следует брать за теплоизоляционные накладки (при наличии), а при отсутствии их - при помощи теплоизолирующей салфетки; концевые меры длины также следует брать при помощи теплоизолирующей салфетки.
Микрометры и установочные меры должны быть выдержаны в помещении, где проводят поверку, на металлической плите в течение не менее 1 ч или в открытых футлярах не менее 3 ч.
5. ПРОВЕДЕНИЕ ПОВЕРКИ-
5.1. При проведении внешнего осмотра микрометров по п. 5.1. (далее нумерация согласно таблице 1) должно быть установлено соответствие микрометров требованиям технической документации фирмы-изготовителя в части формы измерительных поверхностей микрометров и установочных мер, качества поверхностей, оцифровки и штрихов шкал, комплектности и маркировки;
наличие твердого сплава на плоских измерительных поверхностях микрометров (за исключением пятки микрометров серии 340 и 104), стопорного устройства для микрометрического винта (кроме микрометров серий 227; 293 (рис.9, в, г, д (см. Приложение 1)), шкал на стебле (кроме микрометров серий 227; 293 (рис. 9, г, д (см. Приложение 1)) и барабане (кроме микрометров серии 119; 227; 293 (рис. 9, а, б, г, д (см. Приложение 1))) и циферблате (только для микрометров серии 119) микрометров, антикоррозионного покрытия микрометров (за исключением пятки, микрометрического винта и измерительной губки) и установочных мер (за исключением измерительных поверхностей), теплоизоляции скоб микрометров (кроме микрометров серий 103, 104 (кроме диапазона измерений 0-50 мм), 105, 118, 119, 389, 293 (рис. 9, е (см. Приложение 1)), отсутствие механических повреждений на измерительных и других наружных поверхностях деталей, влияющих на эксплуатационные качества;
наличие элемента питания для микрометров серий 227, 293, 340, 389,406.
-
5.2. При опробовании проверяют:
-
- плавность перемещения барабана микрометра вдоль стебля;
-
- отсутствие вращения микрометрического винта, закрепленного стопорным устройством, после приложения момента, передаваемого устройством, обеспечивающим измерительное усилие (при этом показания микрометра не должны изменяться);
-
- неизменность положения закрепленной передвижной или сменной пятки - по отсутствию радиального или осевого качения;
-
- неподвижность циферблата и вращение стрелки при перемещении барабана у микрометра серии 119;
-
- обеспечение электронным цифровым отсчетным устройством микрометров серий 227, 293, 340, 389, 406, выдачи цифровой информации в прямом коде (с указанием знака и абсолютного значения), установки начала отсчета в абсолютной системе координат.
-
5.3. Шероховатость измерительных поверхностей микрометра и установочных мер определяют сравнением с соответствующими образцами шероховатости или измерением на измерительном интерференционном микроскопе.
Шероховатость Ra измерительных поверхностей микрометров и установочных мер не должна превышать 0,08 мкм по ГОСТ 2789-73.
-
5.4. Зазор между концом стрелки и шкалой циферблата микрометров серии 119 контролируют по изменению показаний при наклоне шкалы. Стрелку совмещают с отметкой шкалы «0». Затем микрометр поворачивают вокруг оси, параллельной стрелке, приблизительно на 45° и, не меняя положения головы, наблюдают за изменением показаний. Так же определяют изменение показаний на отметках шкалы 25; 50; 75. Изменение показаний по шкале циферблата не должно превышать 0,5 деления шкалы. В этом случае зазор между концом стрелки и шкалой циферблата не превышает 0,7 мм.
-
5.5. Измерительное усилие микрометра определяют при помощи весов на двух различных участках шкалы стебля микрометра. Определение измерительного усилия должно производиться при контакте измерительной поверхности микрометрического винта с плоской поверхностью.
Измерения на весах производят по схеме, приведенной в Приложении 6.
Микрометр закрепляют в стойке при помощи кронштейна (Приложение 3) в таком положении, чтобы микрометрический винт занимал вертикальное положение и вставка находилась в центре измерительной поверхности микрометрического винта и касалась ее.
Вращая микрометрический винт до проскальзывания трещотки (фрикциона), определяют значение измерительного усилия по показанию стрелки весов.
Полученное показание весов в граммах, деленное на 100 (коэффициент пересчета показаний весов в значения измерительного усилия в ньютонах), равна измерительному усилию микрометра в ньютонах.
Допускается производить контроль измерительного усилия с помощью динамометра (Приложение 4).
Измерительное усилие микрометров серии 227 проверяют для каждого переключаемого диапазона измерительных усилий.
Измерительное усилие микрометров не должно превышать значений, указанных в таблицах 1.А-6.А Приложения 2.
-
5.6. Отклонение от плоскостности плоских измерительных поверхностей микрометров (кроме микрометров серии 118, 389 со сферическими измерительными поверхностями пятки и наконечника) и установочных мер определяют интерференционным методом при помощи плоской стеклянной пластины.
Стеклянную пластину накладывают на поверяемую поверхность. При этом добиваются такого контакта, при котором наблюдалось бы наименьшее число интерференционных полос (колец). Отклонение от плоскостности определяют по числу наблюдаемых интерференционных полос (колец), при этом одна полоса соответствует отклонению от параллельности 0,3 мкм. Отсчет следует производить, отступив 0,5 мм от края измерительной поверхности.
На черт. 1-3 приведено увеличенное изображение картины интерференционных полос (колец) при различных формах отклонений от плоскостности измерительной поверхности микрометра. Во всех приведенных случаях отсчет полос (колец) равен 2.
На черт. 1 измерительная поверхность представляет собой сферу и интерференционные кольца бив ограничены окружностями (контакт в точке а). Кольцо г так же, как и полосы г и е на черт. 2 и г и ж на черт. 3 во внимание не принимаются, поскольку они расположены от края измерительной поверхности на расстоянии менее 0,5 мм.

Г
Черт. 1
На черт. 2 контакт стеклянной пластины с измерительной поверхностью микрометра также осуществляется в одной точке, однако радиус кривизны измерительной поверхности в сечении Х-Х больше, чем в сечении Y-Y. Здесь кольцо б считается первой полосой, а полосы в и д принимаются за одну полосу (кольцо), поскольку при большей измерительной поверхности микрометра эти полосы соединились бы.

Черт. 2
На черт. 3 контакт стеклянной пластины с измерительной поверхностью микрометра, которая представляет собой цилиндрическую поверхность, осуществляется по линии а. Здесь полосы ограничены прямыми линиями и так же, как полосы в и д в предыдущем случае, каждая пара полос (б - д и в - е) считается соответственно одной полосой.

Черт. 3
Если по обе стороны от точки (линии) контакта будет наблюдаться неодинаковое число полос, то отсчет полос производится на той стороне, где число видимых полос будет больше.
Отклонение от плоскостности измерительных поверхностей микрометров серий 104, 105, 340 определяют также у всех сменных измерительных вставок, входящих в комплект микрометра.
Отклонение от плоскостности измерительных поверхностей микрометров и сменных измерительных вставок не должно превышать значений, указанных в таблицах 1 .А-6.А Приложения 2.
-
5.7. Отклонение от параллельности плоских измерительных поверхностей микрометров (кроме микрометров серии 118, 119 и 389 со сферической измерительной поверхностью пятки и плоской или сферической поверхностью наконечника) с верхним пределом диапазона измерений до 100 мм с шагом микрометрического винта 0,5 мм определяют при помощи стеклянных плоскопараллельных пластин. Для микрометров с верхним пределом диапазона измерений до 100 мм с шагом микрометрического винта 2 и 10 мм и микрометров с верхним пределом диапазона измерений свыше 100 мм при помощи концевых мер длины при незакрепленном стопорном винте.
-
5.7.1. Отклонение от параллельности плоских измерительных поверхностей микрометров (кроме микрометров серии 118, 119 и 389 со сферической измерительной поверхностью пятки и плоской или сферической поверхностью наконечника) с верхним пределом диапазона измерений до 100 мм для микрометров с шагом микрометрического винта 0,5 мм определяют интерференционным методом по четырем стеклянным плоскопараллельным пластинам, размеры которых отличаются друг от друга на значение, соответствующее 1/4 оборота микрометрического винта.
-
Приведя пластину в контакт с измерительными поверхностями микрометра, при использовании устройства, обеспечивающего измерительное усилие, добиваются такого положения, при котором была бы наименьшая сумма полос на обеих измерительных поверхностях. Отклонение от параллельности плоских измерительных поверхностей определяется наибольшей из сумм интерференционных полос, подсчитанной для каждой из четырех стеклянных пластин, при этом одна полоса соответствует отклонению от параллельности 0,3 мкм.
-
5.7.2. Отклонение от параллельности плоских измерительных поверхностей микрометров с верхним пределом диапазона измерений до 100 мм с шагом микрометрического винта 2 и 10 мм и микрометров с верхним пределом диапазона измерений свыше 100 мм определяют по концевым мерам длины или блокам концевых мер, размеры которых отличаются друг от друга на значение, соответствующее 1/4 оборота микрометрического винта.
Концевую меру или блок концевых мер последовательно устанавливают между измерительными поверхностями в положении 1, 2, 3, 4, на расстоянии Ъ от края измерительной поверхности, как показано на черт. 4, и подводят измерительные поверхности микрометра при использовании устройства, обеспечивающего измерительное усилие.
J

Черт. 4
Для исключения влияния отклонения от параллельности плоских измерительных поверхностей концевых мер их устанавливают между измерительными поверхностями микрометра одним и тем же краем АВ.
Отклонение от параллельности плоских измерительных поверхностей микрометра для каждого размера меры определяют как наибольшую разность показаний микрометра при четырех положениях меры.
Отклонение от параллельности измерительных поверхностей микрометров серий 104, 105, 340 определяют также со всеми сменными измерительными вставками, входящими в комплект микрометра.
Отклонения от параллельности плоских измерительных поверхностей в каждом из четырех положений микрометрического винта не должны превышать значений, указанных в таблицах 1 .А -7.А Приложения 2.
-
5.8. Абсолютную погрешность микрометров определяют в пяти (не менее) равномерно расположенных точках шкалы микрометра путем сравнения показаний с размерами концевых мер длины.
Точки, в которых рекомендуется производить проверку микрометров, указаны в таблице 3.
Таблица 3
Диапазон измерений микрометра, мм |
Шаг микрометрического винта, мм |
Рекомендуемые номинальные значения размеров концевых мер длины, используемых при поверке, мм |
0-10 |
10 |
2,00; 4,00; 6,00; 8,00; 10,00 |
А - (Д+10) |
А+2,00; А+4,00; А+6,00; А+8,00; А+10,00 | |
0-15 |
10 |
2,00; 5,00; 8,00; 10,00; 15,00 |
Д-(Д+15) |
А + 2,00; А + 5,00; А + 8,00; А + 10,00; А + 15,00 | |
0-25 |
0,5 |
5,12; 10,24; 15,36; 21,50; 25,00 |
А - (А + 25) |
А+5,12; А+10,24; А+15,36; А+21,50; А+25,00 | |
0-25 |
2 |
4,8; 10,4; 15,2; 19,6; 25 |
А-(А + 25) |
А+4,8; А+10,4; А+15,2; А+19,6; А+25,00 | |
0-30 |
10 |
6,00; 12,00; 18,00; 24,00; 30,00 |
А-(А + 30) |
А+6,00; А+12,00; А+18,00; А+24,00; А+30,00 |
Примечания:
-
1. А - нижний предел измерений поверяемого микрометра.
-
2. При поверке рекомендуется использовать набор концевых мер длины № 21 по ГОСТ 9038-90 для микрометров с шагом микрометрического винта 0,5 мм, и набор №3 по ГОСТ 9038-90 для микрометров с шагом микрометрического винта 2 и 10 мм.
Абсолютная погрешность микрометров не должна превышать пределов допускаемой абсолютной погрешности, указанных в таблицах 1 .А -6.А Приложения 2.
Абсолютную погрешность микрометров с верхним пределом диапазона измерений более 100 мм допускается определять с помощью дополнительного приспособления (см. Приложение 5), которое укрепляют на скобе микрометра. Регулируемая пятка приспособления и микрометрический винт микрометра должны быть соосны.
Регулируя пятку приспособления, добиваются такого ее положения, которое соответствует нулевому отсчету по шкале микрометра при вращении микрометрического винта до упора в пятку после ее закрепления. Затем производят поверку как у микрометров с диапазоном измерений 0-25 мм.
Абсолютная погрешность микрометрического устройства не должна превышать значений, указанных в таблицах 1 .А -6.А Приложения 2 для микрометров с верхним пределом диапазона измерений до 25 мм.
Если абсолютная погрешность микрометрического устройства превышает допускаемые значения абсолютной погрешности для микрометров с верхним пределом измерений до 25 мм, но не превышает допускаемых значений погрешности для пределов измерений поверяемого микрометра, то производится дополнительно поверка микрометра по концевым мерам длины без приспособления в точке, в которой выявлено наибольшее отклонение. При этом абсолютная погрешность микрометра не должна превышать значений, указанных в таблицах 1.А -6.А Приложения 2 для диапазонов измерений, соответствующих поверяемому микрометру.
-
5.9. Отклонения длины от номинальной и отклонения от параллельности измерительных поверхностей установочных мер определяют сравнением установочных мер с концевыми мерами длины соответствующих размеров.
-
5.9.1. Установочные меры с плоскими измерительными поверхностями поверяют на оптико-механической машине с использованием сферических наконечников, добиваясь наименьших показаний прибора при покачивании меры вокруг горизонтальной и вертикальной осей.
-
Отклонение длины установочной меры от номинального значения определяют в средней точке 2 и в четырех точках 1,3,4 м 5, расположенных на расстоянии 0,7 - 1 мм от края измерительной поверхности (черт. 5).
«сс*а
—--7

Черт. 5
За отклонение длины установочной меры от номинального значения принимают наибольшее по абсолютному значению отклонение из пяти полученных.
За отклонение от плоскопараллельности измерительных поверхностей установочных мер принимают наибольшую по абсолютному значению разность между наибольшим и наименьшим из отсчетов в точках 1,2,3,4 м. 5.
Отклонения длины от номинальных размеров и отклонения от плоскопараллельности измерительных поверхностей установочных мер не должны превышать значений, указанных в таблице 8.А Приложения 2.
6. ОФОРМЛЕНИЕ РЕЗУЛЬТАТОВ ПОВЕРКИ-
6.1. При положительных результатах поверки оформляется свидетельство о поверке по форме приложения 1 Приказа Минпромторга России № 1815 от 02.07.2015г.
-
6.2. При отрицательных результатах поверки оформляется извещение о непригодности по форме приложения 2 Приказа Минпромторга России № 1815 от 02.07.2015г.
Знак поверки наносятся на свидетельство о
А.Н. Литинский
Н.А. Табачникова
Г енеральный директор
ООО «Митутойо РУС»
Зам. начальника отдела 203
Испытательного центра ФГУП «ВНИИМС»
Ведущий инженер отдела 203

Н.И. Кравченко
ФГУП «ВНИИМС»
ПРИЛОЖЕНИЕ 1
Обязательное

а)

б)
Рисунок 1 - Общий вид микрометра серии 102

Рисунок 2 - Общий вид микрометра серии 103

а)

б)
Рисунок 3 - Общий вид микрометра серии 104

а)

б)
Рисунок 4 - Общий вид микрометра серии 105

Рисунок 6 - Общий вид микрометра серии 119

Рисунок 7 - Общий вид микрометра серии 193

Рисунок 8 - Общий вид микрометра серии 227



Lil

ж)


Рисунок 9 - Общий вид микрометров серии 293

Рисунок 10 - Общий вид микрометра серии 340

Рисунок 11 - Общий вид микрометра серии 389

Рисунок 12 - Общий вид микрометра серии 406
Основные метрологические характеристики микрометров
й 102, 103, 104, 105


Серия
Диапазон измерений, мм |
Значение отсчета по шкалам стебля и барабана, мм |
Пределы допускаемой абсолютной погрешности, мкм |
Измерительное усилие, Н |
Отклонение от плоскостности, мкм, не более |
Отклонение от параллельности, мкм, не более |
Ссылка на рису нок (см. Приложение 1) |
От 0 до 25 |
0,01 | |||||
От 25 до 50 |
±2,0 |
от 5 до 10 |
0,6 |
2 |
Рис 1,а | |
От 0 до 25 |
0,001 | |||||
От 25 до 50 | ||||||
От 0 до 25 | ||||||
От 25 до 50 |
0,01 |
±2,0 |
от 5 до 10 |
0,6 |
2 |
Рис 1, б |
От 50 до 75 | ||||||
От 75 до 100 |
±3,0 |
3 | ||||
От 0 до 25 |
0,001 |
±2,0 |
от 5 до 10 |
0,6 |
2±L/100* | |
От 25 до 50 | ||||||
От 0 до 25 |
±2,0 | |||||
От 25 до 50 |
±2,0 |
от 5 до 10 |
0,6 | |||
От 50 до 75 |
±2,0 | |||||
От 75 до 100 |
±3,0 | |||||
От 100 до 125 |
±3,0 | |||||
От 125 до 150 |
±3,0 | |||||
От 150 до 175 |
±4,0 |
Рис. 2 | ||||
От 175 до 200 |
0,01 |
±4,0 |
0,6 |
2+L/100* | ||
От 200 до 225 |
±4,0 | |||||
От 225 до 250 |
±5,0 |
От 5 до 15 | ||||
От 250 до 275 |
±5,0 | |||||
От 275 до 300 |
±5,0 | |||||
От 300 до 325 |
±6,0 | |||||
От 325 до 350 |
±6,0 |
1,0 | ||||
От 350 до 375 |
±6,0 | |||||
От 375 до 400 |
±7,0 |
ПРИЛОЖЕНИЕ 2
Обязательное
Продолжение Продолжение таблицы 1 .А
Серия |
Диапазон измерений, мм |
Значение отсчета по шкалам стебля и барабана, мм |
Пределы допускаемой абсолютной погрешности, мкм |
Измерительное усилие, Н |
Отклонение от плоскостности, мкм, не более |
Отклонение от параллельности, мкм, не более |
Ссылка на рисунок (см. Приложение 1) |
103 |
От 400 до 425 |
0,01 |
±7,0 |
От 5 до 15 |
1,0 |
2+L/100* |
Рис. 2 |
От 425 до 450 |
±7,0 | ||||||
От 450 до 475 |
±8,0 | ||||||
От 475 до 500 |
±8,0 | ||||||
От 500 до 525 |
±9,0 | ||||||
От 525 до 550 |
±9,0 | ||||||
От 550 до 575 |
±9,0 | ||||||
От 575 до 600 |
±9,0 | ||||||
От 600 до 625 |
±9,0 | ||||||
От 625 до 650 |
±9,0 | ||||||
От 650 до 675 |
±9,0 | ||||||
От 675 до 700 |
±9,0 | ||||||
От 700 до 725 |
±9,0 | ||||||
От 725 до 750 |
±9,0 | ||||||
От 750 до 775 |
±9,0 | ||||||
От 775 до 800 |
±9,0 | ||||||
От 800 до 825 |
±9,0 | ||||||
От 825 до 850 |
±9,0 | ||||||
От 850 до 875 |
±9,0 | ||||||
От 875 до 900 |
±9,0 | ||||||
От 900 до 925 |
±9,0 | ||||||
От 925 до 950 |
±9,0 | ||||||
От 950 до 975 |
±9,0 | ||||||
От 975 до 1000 |
±9,0 | ||||||
104 |
От 0 до 50 От 0 до 100 От 0 до 150 От 50 до 150 |
0,01 |
±(4+L/75)* |
от 5 до 10 |
0,6 |
См. таблицу 7.А Приложения 2 |
Рис. 3 |
ПРИЛОЖЕНИЕ 2
Обязательное
Продолжение Продолжение таблицы 1 .А
Серия |
Диапазон измерений, мм |
Значение отсчета по шкалам стебля и барабана, мм |
Пределы допускаемой абсолютной погрешности, мкм |
Измерительное усилие, Н |
Отклонение от плоскостности, мкм, не более |
Отклонение от параллельности, мкм, не более |
Ссылка на рисунок (см. Приложение 1) |
104 |
От 100 до 200 |
0,01 |
±(4+L/75)* |
От 5 до 10 |
0,6 |
См. таблицу 7.А Приложения 2 |
Рис. 3 |
От 150 до 300 | |||||||
От 200 до 300 | |||||||
От 300 до 400 |
От 10 до 14 |
1,0 | |||||
От 400 до 500 | |||||||
От 500 до 600 | |||||||
От 600 до 700 | |||||||
От 700 до 800 | |||||||
От 800 до 900 | |||||||
От 900 до 1000 | |||||||
105 |
От 500 до 600 |
0,01 |
±(6+L/75)* |
От 5 до 10 |
1,3 |
2+L/100* |
Рис. 4 |
От 600 до 700 | |||||||
От 700 до 800 | |||||||
От 800 до 900 | |||||||
От 900 до 1000 | |||||||
От 1000 до 1100 | |||||||
От 1100 до 1200 | |||||||
От 1200 до 1300 | |||||||
От 1300 до 1400 | |||||||
От 1400 до 1500 | |||||||
От 1500 до 1600 | |||||||
От 1600 до 1700 | |||||||
От 1700 до 1800 | |||||||
От 1800 до 1900 | |||||||
От 1900 до 2000 | |||||||
Примечание: * - L - верхний предел диапазона измерений микрометра, мм |
Таблица 2.А - Основные метрологические и технические характе |
ристики микрометров серий 118, |
119 | |||||||
Серия |
Диапазон измерений, мм |
Значение отсчета по шкалам стебля и барабана (циферблата), мм |
Глубина скобы, мм, не менее |
Пределы допускаемой абсолютной погрешности, мкм |
Измерительное усилие, Н |
Отклонение от плоскостности, мкм, не более |
Отклонение от параллельности, мкм, не более |
Форма измерительных поверхностей | |
пятки |
наконечника | ||||||||
118 |
От 0 до 25 |
0,01 |
110 |
±4 |
От 3 до 8 |
0,6 |
3 |
плоская |
плоская |
От 0 до 25 |
160 |
±4 |
0,6 |
плоская |
плоская | ||||
От 0 до 25 |
330 |
±5 |
1,0 |
плоская |
плоская | ||||
От 25 до 50 |
165 |
±4 |
0,6 |
плоская |
плоская | ||||
От 0 до 25 |
160 |
±4 |
0,6 |
— |
сферическая |
плоская | |||
От 0 до 25 |
160 |
±4 |
— |
— |
сферическая |
сферическая | |||
От 25 до 50 |
165 |
±4 |
— |
— |
сферическая |
сферическая | |||
119 |
От 0 до 25 |
0,01 |
50 |
±4 |
0,6 |
- |
сферическая |
плоская |
Таблица З.А - основные метрологические и технические характеристики микрометров серии 193
Серия |
Диапазон измерений, мм |
Значение отсчета по шкалам стебля и барабана, мм |
Цена деления механического счетчика, мм |
Пределы допускаемой абсолютной погрешности, мкм |
Измерительное усилие, Н |
Отклонение от плоскостности, мкм, не более |
Отклонение от параллельности, мкм, не более |
193 |
От 0 до 25 |
0,001; 0,01 |
0,01 |
±2 |
От 5 до 15 |
0,6 |
2+L/100* |
От 25 до 50 |
±2 |
0,6 | |||||
От 50 до 75 |
±2 |
0,6 | |||||
От 75 до 100 |
±3 |
0,6 | |||||
Примечание: * - L - верхний предел диапазона измерений микрометра, мм |
Таблица 4. А - Основные метрологические и технические характеристики микрометров серии 227
Серия |
Диапазон измерений, мм |
Шаг дискретности цифрового отсчетного устройства, мм |
Пределы допускаемой абсолютной погрешности*, мкм |
Измерительное усилие, переключаемое, Н |
Отклонение от плоскостности, мкм, не более |
Отклонение от параллельности, мкм, не более |
227 |
От 0 до 15 |
0,001 |
±2 |
0,5±0,15 1,0±0,20 1,5±0,25 2,0±0,30 2,5±0,35 |
0,3 |
2 |
От 15 до 30 |
±2 |
0,3 | ||||
От 0 до 10 |
±2 |
2±0,6 4±0,8 6±1,0 8±1,2 10±1,4 |
0,3 | |||
От 10 до 20 |
±2 |
0,3 | ||||
От 20 до 30 |
±2 |
0,3 | ||||
Примечание: * - без учета шага дискретности отсчета (без учета ошибки квантования) |
Таблица 5.А - Основные метрологические и технические характеристики микрометров серии 293, 340
Серия |
Диапазон измерений, мм |
Шаг дискретности цифрового отсчетного устройства, мм |
Пределы допускаемой абсолютной погрешности**, мкм |
Измерительное усилие, Н |
Отклонение от плоскостности, мкм, не более |
Отклонение от параллельности, мкм, не более |
Ссылка на рисунок (см. Приложение 1) |
293 |
От 0 до 25 |
0,0001* |
±0,5 |
От 7 до 9 |
0,3 |
0,6 |
Рис. 9, а |
От 0 до 25 |
0,001 |
±1,0 |
От 7 до 12 |
0,3 |
1,0 |
Рис. 9, б | |
От 25 до 50 |
±1,0 | ||||||
От 50 до 75 |
±1,0 |
2,0 | |||||
От 75 до 100 |
±2,0 |
ПРИЛОЖЕНИЕ 2
Обязательное
Продолжение Продолжение таблицы 5.А
Серия |
Диапазон измерений, мм |
Шаг дискретности цифрового отсчетного устройства, мм |
Пределы допускаемой абсолютной погрешности**, мкм |
Измерительное усилие, Н |
Отклонение от плоскостности, мкм, не более |
Отклонение от параллельности, мкм, не более |
Ссылка на рисунок (см. Приложение 1) |
293 |
От 0 до 25 |
0,001 |
±2 |
От 5 до 10 |
0,3 |
2,0 |
Рис. 9, в |
От 0 до 30 |
0,001 |
±2 |
От 5 до 10 |
0,3 |
2,0 |
Рис. 9, г, д | |
От 25 до 55 |
±2 |
2,0 | |||||
От 50 до 80 |
±3 |
2,0 | |||||
От 75 до 105 |
±3 |
3,0 | |||||
От 300 до 325 |
0,001 |
±6 |
От 10 до 14 |
0,6 |
5,0 |
Рис. 9, е | |
От 325 до 350 |
±6 |
5,0 | |||||
От 350 до 375 |
±6 |
5,0 | |||||
От 375 до 400 |
±7 |
6,0 | |||||
От 400 до 425 |
±7 |
6,0 | |||||
От 425 до 450 |
±7 |
6,0 | |||||
От 450 до 475 |
±8 |
6,0 | |||||
От 475 до 500 |
±8 |
7,0 | |||||
От 0 до 25 |
0,001 |
±1 |
От 5 до 10 |
0,3 |
1,0 |
Рис. 9, ж, з, и | |
От 25 до 50 |
±1 |
1,0 | |||||
От 50 до 75 |
±1 |
2,0 | |||||
От 75 до 100 |
±2 |
2,0 | |||||
От 100 до 125 |
±2 |
3,0 | |||||
От 125 до 150 |
±2 |
3,0 | |||||
От 150 до 175 |
±3 |
3,0 | |||||
От 175 до 200 |
±3 |
4,0 | |||||
От 200 до 225 |
±3 |
4,0 | |||||
От 225 до 250 |
±4 |
4,0 | |||||
От 250 до 275 |
±4 |
4,0 | |||||
От 275 до 300 |
±4 |
5,0 |
таблицы 5. А
Серия |
Диапазон измерений, мм |
Шаг дискретности цифрового отсчетного устройства, мм |
Пределы допускаемой абсолютной погрешности**, мкм |
Измерительное усилие, Н |
Отклонение от плоскостности, мкм, не более |
Отклонение от параллельности, мкм, не более |
Ссылка на рисунок (см. Приложение 1) |
340 |
От 0 до 150 |
0,001 |
±(4+L/75)*** |
От 5 до 10 |
0,6 |
См. таблицу 7.А Приложения 2 |
Рис. 10 |
От 150 до 300 | |||||||
От 300 до 400 |
От 10 до 14 |
1,0 | |||||
От 400 до 500 | |||||||
От 500 до 600 | |||||||
От 600 до 700 | |||||||
От 700 до 800 | |||||||
От 800 до 900 | |||||||
От 900 до 1000 | |||||||
406 |
От 0 до 25 |
0,001 |
±3 |
От 3 до 8 |
0,3 |
3,0 |
Рис. 12 |
От 25 до 50 |
±3 | ||||||
От 50 до 75 |
±3 | ||||||
От 75 до 100 |
±4 |
4,0 |
Примечание: * - шаг дискретности отсчета переключаемый, имеется возможность установки шага дискретности отсчета 0,0001 или 0,0005 мм ** - без учета шага дискретности отсчета (без учета ошибки квантования)
*** - L- верхний предел диапазона измерений микрометра, мм
Таблица 6.А - Основные метрологические и технические характеристики микрометров серии 389
Серия |
Диапазон измерений, мм |
Шаг дискретности цифрового отсчетного устройства, мм |
Глубина скобы, мм, не менее |
Пределы допускаемой абсолютной погрешности, мкм |
Измерительное усилие, Н |
Отклонение от плоскостности, мкм, не более |
Отклонение от параллельности, мкм, не более |
Форма измерительных поверхностей | |
пятки |
наконечника | ||||||||
389 |
От 0 до 25 |
0,001 |
160 |
±4 |
От 3 до 8 |
0,6 |
3 |
плоская |
плоская |
От 0 до 25 |
160 |
±4 |
0,6 |
- |
сферическая |
плоская | |||
От 0 до 25 |
160 |
±4 |
- |
сферическая |
сферическая | ||||
От 25 до 50 |
165 |
±4 |
0,6 |
3 |
плоская |
плоская | |||
От 25 до 50 |
165 |
±4 |
0,6 |
- |
сферическая |
плоская | |||
От 25 до 50 |
165 |
±4 |
- |
сферическая |
сферическая | ||||
От 0 до 25 |
330 |
±5 |
От 10 до 14 |
1,0 |
3 |
плоская |
плоская |
Таблица 7.А - Отклонение от параллельности измерительных поверхностей микрометров серий 104, 340
Верхний предел диапазона измерений, мм |
Отклонение от параллельности, мкм, не более |
До 75 включ. |
2 |
св. 75 до 150 включ. |
3 |
св. 150 до 1000 |
(2+L/100)* |
Примечание: * - L - верхний предел диапазона измерений микрометра, мм |
аблица 8.А - Основные метрологические характеристики установочных мер
Номинальный размер установочных мер, мм |
Допускаемое отклонение длины установочных мер от номинального размера, мкм |
Отклонение от плоскостности, мкм, не более |
Отклонение, от параллельности, мкм, не более |
Номинальный размер установочных мер, мм |
Допускаемое отклонение длины установочных мер от номинального размера, мкм |
Отклонение от плоскостности, мкм, не более |
Отклонение, от параллельности, мкм, не более |
25 |
±1,5 |
0,3 |
2,0 |
1025 |
±21,5 |
0,3 |
2,0 |
50 |
±2,0 |
0,3 |
2,0 |
1050 |
±22,0 |
0,3 |
2,0 |
75 |
±2,5 |
0,3 |
2,0 |
1075 |
±22,5 |
0,3 |
2,0 |
100 |
±3,0 |
0,3 |
2,0 |
1100 |
±23,0 |
0,3 |
2,0 |
125 |
±3,5 |
0,3 |
2,0 |
1125 |
±23,5 |
0,3 |
2,0 |
150 |
±4,0 |
0,3 |
2,0 |
1150 |
±24,0 |
0,3 |
2,0 |
175 |
±4,5 |
0,3 |
2,0 |
1175 |
±24,5 |
0,3 |
2,0 |
200 |
±5,0 |
0,3 |
2,0 |
1200 |
±25,0 |
0,3 |
2,0 |
225 |
±5,5 |
0,3 |
2,0 |
1225 |
±25,5 |
0,3 |
2,0 |
250 |
±6,0 |
0,3 |
2,0 |
1250 |
±26,0 |
0,3 |
2,0 |
275 |
±6,5 |
0,3 |
2,0 |
1275 |
±26,5 |
0,3 |
2,0 |
300 |
±7,0 |
0,3 |
2,0 |
1300 |
±27,0 |
0,3 |
2,0 |
325 |
±7,5 |
0,3 |
2,0 |
1325 |
±27,5 |
0,3 |
2,0 |
350 |
±8,0 |
0,3 |
2,0 |
1350 |
±28,0 |
0,3 |
2,0 |
375 |
±8,5 |
0,3 |
2,0 |
1375 |
±28,5 |
0,3 |
2,0 |
400 |
±9,0 |
0,3 |
2,0 |
1400 |
±29,0 |
0,3 |
2,0 |
425 |
±9,5 |
0,3 |
2,0 |
1425 |
±29,5 |
0,3 |
2,0 |
450 |
±10,0 |
0,3 |
2,0 |
1450 |
±30,0 |
0,3 |
2,0 |
475 |
±10,5 |
0,3 |
2,0 |
1475 |
±30,5 |
0,3 |
2,0 |
500 |
±11,0 |
0,3 |
2,0 |
1500 |
±31,0 |
0,3 |
2,0 |
продолжение таблицы 8. А
Номинальный размер установочных мер, мм |
Допускаемое отклонение длины установочных мер от номинального размера, мкм |
Отклонение от плоскостности, мкм, не более |
Отклонение, от параллельности, мкм, не более |
Номинальный размер установочных мер, мм |
Допускаемое отклонение длины установочных мер от номинального размера, мкм |
Отклонение от плоскостности, мкм, не более |
Отклонение, от параллельности, мкм, не более |
525 |
±11,5 |
0,3 |
2,0 |
1525 |
±31,5 |
0,3 |
2,0 |
550 |
±12,0 |
0,3 |
2,0 |
1550 |
±32,0 |
0,3 |
2,0 |
575 |
±12,5 |
0,3 |
2,0 |
1575 |
±32,5 |
0,3 |
2,0 |
600 |
±13,0 |
0,3 |
2,0 |
1600 |
±33,0 |
0,3 |
2,0 |
625 |
±13,5 |
0,3 |
2,0 |
1625 |
±33,5 |
0,3 |
2,0 |
650 |
±14,0 |
0,3 |
2,0 |
1650 |
±34,0 |
0,3 |
2,0 |
675 |
±14,5 |
0,3 |
2,0 |
1675 |
±34,5 |
0,3 |
2,0 |
700 |
±15,0 |
0,3 |
2,0 |
1700 |
±35,0 |
0,3 |
2,0 |
725 |
±15,5 |
0,3 |
2,0 |
1725 |
±35,5 |
0,3 |
2,0 |
750 |
±16,0 |
0,3 |
2,0 |
1750 |
±36,0 |
0,3 |
2,0 |
775 |
±16,5 |
0,3 |
2,0 |
1775 |
±36,5 |
0,3 |
2,0 |
800 |
±17,0 |
0,3 |
2,0 |
1800 |
±37,0 |
0,3 |
2,0 |
825 |
.±17,5 |
0,3 |
2,0 |
1825 |
±37,5 |
0,3 |
2,0 |
850 |
±18,0 |
0,3 |
2,0 |
1850 |
±38,0 |
0,3 |
2,0 |
875 |
±18,5 |
0,3 |
2,0 |
1875 |
±38,5 |
0,3 |
2,0 |
900 |
±19,0 |
0,3 |
2,0 |
1900 |
±39,0 |
0,3 |
2,0 |
925 |
±19,5 |
0,3 |
2,0 |
1925 |
±39,5 |
0,3 |
2,0 |
950 |
±20,0 |
0,3 |
2,0 |
1950 |
±40,0 |
0,3 |
2,0 |
975 |
±20,5 |
0,3 |
2,0 |
1975 |
±40,5 |
0,3 |
2,0 |
1000 |
±21,0 |
0,3 |
2,0 |
2000 |
±41,0 |
0,3 |
2,0 |


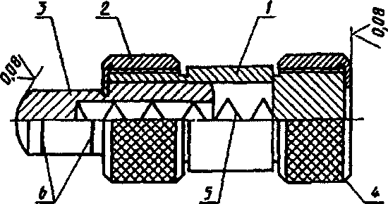
1 - корпус; 2 - гайка; 3 - подвижный наконечник с кольцевыми рисками, соответствующими допускаемым пределам измерительного усилия;
4 - гайка; 5 - пружина; 6 - риски при усилии 5 н 9 Н
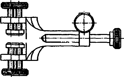
ПРИСПОСОБЛЕНИЕ ДЛЯ ОПРЕДЕЛЕНИЯ АБСОЛЮТНОЙ ПОГРЕШНОСТИ МИКРОМЕТРИЧЕСКОГО УСТРОЙСТВА



1 - циферблатные весы; 2 - микрометр; 3 - вставка с плоской или цилиндрической поверхностью; 4 - стол; 5 - устройство для крепления микрометр