Методика поверки «ГСИ. РАСХОДОМЕРЫ-СЧЕТЧИКИ ВИХРЕВЫЕ OPTISWIRL 4200» (РТ-МП-5494-449-2018)
ФЕДЕРАЛЬНОЕ АГЕНТСТВО ПО ТЕХНИЧЕСКОМУ РЕГУЛИРОВАНИЮ И МЕТРОЛОГИИ

ФЕДЕРАЛЬНОЕ БЮДЖЕТНОЕ УЧРЕЖДЕНИЕ «ГОСУДАРСТВЕННЫЙ РЕГИОНАЛЬНЫЙ ЦЕНТР СТАНДАРТИЗАЦИИ, МЕТРОЛОГИИ И ИСПЫТАНИЙ В Г. МОСКВЕ»
(ФБУ «РОСТЕСТ - МОСКВА») УТВЕРЖДАЮ Заместитель генерального директора


-
1.1 Настоящая методика поверки распространяется на расходомеры-счетчики вихревые OPTISWIRL 4200 (далее - расходомеры), изготовленные фирмой «KROHNE Messtechnik GmbH», Германия, и ООО «КРОНЕ-Автоматика», Самарская область, Волжский район, массив «Жилой массив Стромилово», и устанавливает методику их первичной и периодических поверок.
-
1.2 Интервал между поверками - 4 года.
2.1 При проведении поверки расходомеров выполняют операции, указанные в таблице 1. аблица 1- Операции поверки
Наименование операции |
Номер пункта методики поверки |
Проведение операции при: | |
первичной поверке |
периодической поверке | ||
Внешний осмотр |
7.1 |
да |
да |
Проверка герметичности |
7.2 |
да |
да |
Опробование |
7.3 |
да |
да |
Определение метрологических характеристик |
7.4 |
да |
да |
Определение метрологических характеристик имитационным методом |
7.5 |
нет |
да |
-
2.2 В случае отрицательных результатов при проведении перечисленных в п.2.1 операций, дальнейшее проведение поверки прекращается.
-
2.3 При невозможности демонтажа расходомера допускается проведении поверки на месте эксплуатации на рабочем расходе.
3.1 При проведении поверки применяют средства поверки, указанные в таблице 2. Таблица 2- средства поверки
Номер пункта методики поверки |
Наименование и тип основных средств поверки |
7.2, 7.3, 7.4 |
Преобразователь давления эталонный ПДЭ-010И. Регистрационный номер в Федеральном информационном фонде 33587-12. Диапазон измерений от 0 до 6,0 МПа, ПГ = ±1,0 % |
7.3, 7.4 |
Установка поверочная расходомерная «Flow Master». Регистрационный номер в Федеральном информационном фонде 40125-08. ПГкр = ±0,15 % |
7.3, 7.4 |
Установка поверочная расходомерная «Flow Master Mini». Регистрационный номер в Федеральном информационном фонде 56353-14. ПГкр = ±0,15% |
7.3, 7.4 |
Установка поверочная типа УПСЖ-50/ВМГ. Регистрационный номер в Федеральном информационном фонде 29553-05. ПГэр = ±0,25 % |
7.3, 7.4 |
Установка поверочная для счетчиков газа с диапазоном измерений от 5 до 6500 м3/ч, рабочий эталон 1-го разряда ГОСТ Р 8.618-2014 |
7.5 |
Генератор сигналов специальной формы SFG-2010. Регистрационный номер в Федеральном информационном фонде 29967-05. ПГ = ±(2-10-5F+0,0001 Гц) |
7.5 |
Частотомер электронно-счетный 43-88. Регистрационный номер в Федеральном информационном фонде 41190-09. Диапазон измерений частоты от 0,01 Гц до 1,00 МГц, 8f = ±|80|±l/fx-tC4 |
Продолжение таблицы 2
7.5 |
Нутромер индикаторный с ценой деления 0,01 мм НИ. Регистрационный номер в Федеральном информационном фонде 728-07. Диапазон измерений от 100 до 450 мм, КТ 2 |
7.5 |
Штангенциркуль ABSOLUTE Digimatic серии 551. Регистрационный номер в Федеральном информационном фонде 49805-12. Диапазон измерений от 0 мм до 150 мм. ПГ = ±0,05 мм; Глубина измерений 200 мм. |
7.5 |
Термометр цифровой малогабаритный ТЦМ 9410. Регистрационный номер в Федеральном информационном фонде 32156-06. Диапазон измерений от -50 °C до +200 °C, ПГ = ±0,1 °C |
7.4 |
Весы электронные КСС300. НПВ = 300 кг, КТ III |
7.4 |
Плотномер ПЛОТ-ЗБ. Диапазон измерений от 630 до 1010 кг/м3, ПГ = ±0,3 кг/м3 |
7.3, 7.4, 7.5 |
Магазин сопротивления Р4831. Регистрационный номер в Федеральном информационном фонде 48930-12. Диапазон сопротивлений: от 0,01 до 99999,99 Ом, ПГ = 0,02 %. |
7.3, 7.4 |
Секундомер электронный Интеграл С-01. Регистрационный номер в Федеральном информационном фонде 44154-16. Диапазон измерений от 0 до 9:59:59,99 с, ПГ = ±0,1 с |
7.5 |
Вольтметр универсальный В7-78/1. Регистрационный номер в Федеральном информационном фонде 52147-12. ППизм = ±(0,0005-1изм + 0,00005-1верХ.пр) |
-
3.2 Допускается применение аналогичных средств поверки, обеспечивающих определение метрологических характеристик поверяемых средств измерений с требуемой точностью.
-
4.1 При проведении поверки должны выполняться следующие требования безопасности:
-
- к проведению поверки допускаются лица, прошедшие инструктаж по технике безопасности на рабочем месте и имеющие группу по технике электробезопасности не ниже второй;
-
- вся аппаратура, питающаяся от сети переменного тока, должна быть заземлена;
-
- все разъемные соединения линий электропитания и линий связи должны быть исправны;
-
- соблюдать требования безопасности, указанные в технической документации на поверяемый прибор, применяемые средства поверки и вспомогательное оборудование;
-
- поверитель должен соблюдать правила пожарной безопасности, действующие на предприятии.
-
5.1 При проведении поверки должны быть соблюдены следующие условия:
-
- температура окружающего воздуха: +(20 ± 5) °C;
-
- температура окружающего воздуха при поверке на месте эксплуатации: +(20 ± 10) °C
-
- относительная влажность: от 30 до 80 %;
-
- атмосферное давление: от 84 до 106 кПа;
-
- поверочная среда для расходомеров: сухой воздух, вода по СанПиН 2.1.4.1074-01 или иная жидкость (продукт);
-
- дрейф температуры испытательной среды не должен превышать 2 °С/ч;
-
- длина прямолинейного участка трубопровода при поверке методом сличения:
-
- на входе первичного преобразователя, не менее 10DN
-
- на выходе первичного преобразователя, не менее 5 -DN.
-
6.1 Подготавливают к работе средства измерений, применяемые при поверке расходомера, в соответствии с их эксплуатационной документацией.
-
6.2 Подготавливают расходомер к работе в соответствии с указаниями, изложенными в эксплуатационной документации.
-
6.3 Подключают расходомер к источнику питания, поверочной установке и(или) другим средствам поверки (Приложение А).
-
6.4 Настраивают расходомер для измерения расхода соответствующей среды в соответствии с эксплуатационной документацией.
Примечание - Здесь и далее: если расходомер имеет исполнение без индикатора, то считывать данные и настраивать его можно при помощи HART-модема или HART-коммуникатора.
7 Проведение поверки-
7.1 Внешний осмотр
При внешнем осмотре расходомера проверяется:
-
- маркировка расходомера должна соответствовать данным, указанным в эксплуатационной документации. Целостность шильдиков не должна быть нарушена;
-
- заводской номер должен соответствовать записи в эксплуатационной документации;
-
- контакты разъемов должны быть чистые и не иметь следов коррозии;
-
- корпуса первичного преобразователя и преобразователя сигналов не должны иметь механических повреждений, влияющих на работоспособность;
-
- окно для считывания показаний дисплея должно быть чистое и не иметь дефектов, препятствующих правильному считыванию;
-
- проточная часть расходомера не должна иметь на внутренней поверхности грязи и отложений;
-
- тело обтекания не должно иметь сколов, зазубрин и прочих механических дефектов.
Результат проверки считается положительным, если по внешнему виду и маркировке расходомер соответствует данным, указанным в эксплуатационной документации.
-
7.2 Проверка герметичности
Для проверки герметичности необходимо установить расходомер в рабочий канал поверочной установки, заполнить его водой (воздухом) под давлением, максимальным для данной установки, в соответствии с ее руководством по эксплуатации. Затем перекрыть вход и выход рабочего канала поверочной установки.
После этого расходомер выдерживают в течение 10 минут. Допускается совместить данный пункт с п. 7.4 настоящей методики поверки.
При первичной поверке задается максимальное рабочее давление для конкретной модификации расходомера.
При поверке на месте эксплуатации данный пункт не проводится.
Результат проверки считается положительным, если в местах соединений и на корпусе расходомера не наблюдается каплеобразования или течи. Падение давления допускается не более 0,02 МПа.
-
7.3 Опробование
Допускается совместить данный пункт с п. 7.4 настоящей методики поверки.
-
7.3.1 Через расходомер пропускают некоторое количество поверочной среды, на расходе (0,2.. .0,5)’Qmax.
Расходомер считается поверенным по данному пункту, если выполняются условия:
-
- в рабочем режиме расходомер должен регистрировать измеряемый объемный расход (объем);
-
- в рабочем режиме расходомер должен генерировать выходной сигнал (токовый или частотный), пропорциональный текущему расходу.
-
7.3.2 Проверка идентификационных данных программного обеспечения Проверяют соответствие идентификационных данных программного обеспечения (ПО).
Для этого, согласно РЭ, необходимо войти в меню С6.1.8 расходомера и считать номер версии. Необходимо переписать идентификационные данные ПО в протокол поверки. Результаты поверки считают положительными, если идентификационные данные соответствуют данным, указанным в таблице 3.
Таблица 3 - Идентификационные данные
Идентификационные данные (признаки) |
Значение |
Номер версии (идентификационный номер) ПО |
не ниже 2.0.1 |
-
7.4 Определение метрологических характеристик
7.4.1 Определение допускаемой относительной погрешности измерений объемного расхода и объема методом сличения.
Допускается проводить поверку только по объемному расходу или объему.
Определение допускаемой относительной погрешности измерений объемного расхода и объема методом сличения проводят на жидкостной (водяной) или газовой (воздушной) поверочных установках.
Определение допускаемой относительной погрешности проводят на расходах (2mm, (0,2.. .0,3)’(2max И 0,9’(2max-
Для расходомеров с DN > 100 мм, допускается проводить поверку на расходах (2min, (0,2...0,3)-2 max И (0,4...0,7)-е max ((2min и (?max — минимальное и максимальное значения расхода для данного расходомера, соответственно (Приложение Б)).
При первичной поверке точки поверки могут быть выбраны из калибровочного протокола завода-изготовителя.
Величины расходов (0,2...0,3)-(2max, (0,4...0,7)-gmax и 0,9-(2тах устанавливают с допуском ±5 %, а расход (2min с допуском +10 %.
В каждой точке проводят не менее трех измерений. Среднеарифметическое значение результатов измерений заносят в протокол произвольной формы (Приложение В).
а) В случае, если при поверке используется аналоговый выход расходомера, то измеренный объемный расход Q,, м3/ч, вычисляется по формуле
17 / -I
I mm
7iax Anin )
Q,=
(О -Q ) +Q \X-max Х-min/
(i)
где /, - ток, измеренный контроллером поверочной установки за время проведения измерения, мА;
/min - минимальное значение установленного диапазона токового выхода,
соответствующее минимальному расходу поверяемого расходомера, мА;
/max - максимальное значение установленного диапазона токового выхода,
соответствующее максимальному расходу поверяемого расходомера, мА;
0тах - максимальное значение расхода поверяемого расходомера м3/ч;
(2т in - минимальное значение расхода поверяемого расходомера м3/ч.
б) В случае, если при поверке используется частотный выход расходомера, то измеренный объемный расход Qi, м3/ч, или объем V,, м3, вычисляется по формуле (2) или по формуле (3) соответственно:



(2)
JZ 1
'"Fmax.3600’(3)
где Ft - частота на выходе расходомера, за время проведения z-ro измерения, Гц;
■Гтах - максимальная частота поверяемого расходомера, Гц;
(?тах - максимальный расход поверяемого расходомера, соответствующий Fmax, м3/ч;
Ni - количество импульсов, накопленное поверочной установкой за время проведения
z-ro измерения, имп.
За Ft принимается среднее арифметическое значение частоты на выходе расходомера, из пяти измерений, равно распределенных по времени измерения.
Далее вычисляют погрешность измерений объемного расхода 3qi, % или объема %, при z-ом измерении по формулам:
Q3m
(4)
(5)
эт
где Qi - расход по расходомеру, м3/ч;
Q->m - расход по поверочной установке, м3/ч;
У, - объем по расходомеру, л;
Уэт - объем по поверочной установке, л.
За результат принимают наихудшее из полученных значений.
Результаты поверки считают положительными, если значение допускаемой относительной погрешности измерений объемного расхода и/или объема методом сличения не превышает значений:
-
- для воды (при 7?е>20000).............................................±0,75;
-
- для воздуха (при 7?е>20000).........................................±1,0;
-
- для воды и воздуха (при 10000<7?е<20000)......................±2,0.
где Re - число Рейнольдса, вычисляется по формуле где Q - расход, м3/с;
я - число Пи (3,14159265);
DeHymp - внутренний диаметр первичного преобразователя (из паспорта или РЭ), м; v - кинематическая вязкость воды (воздуха) при температуре поверки, м2/с
(Приложение Б).
-
7.4.2 Определение допускаемой абсолютной погрешности измерений температуры Определение допускаемой абсолютной погрешности измерения температуры проводится только для тех расходомеров, которые во время эксплуатации используются в режиме измерения газа или пара.
Примечание - режим измерения и среда указаны в паспорте прибора.
Определение допускаемой абсолютной погрешности измерения температуры осуществляется при помощи эталонного термометра и магазина сопротивлений.
Проточную часть расходомера герметично закрывают с одной стороны заглушкой и заполняют проточную часть водой (или иной жидкостью). Затем помещают в проточную часть
Лист 7 Всего листов 20 эталонный термометр. Выдержать заполненный расходомер до стабилизации температуры не менее 15 минут. Разница температуры воды (или иной жидкости) и окружающего воздуха не должна превышать ±1 °C.
Измерение проводится в одной точке при комнатной температуре. Количество повторов - не менее трех.
Температуру воды (или иной жидкости), измеренную расходомером, фиксируют при помощи информации на дисплее или HART-коммуникатора.
Далее подключают магазин сопротивлений и проводят поверку по п.7.5.2, в двух заданных значениях температуры: минус 10 °C и плюс 60 °C.
Для заданных значений температур на мерах электрического сопротивления устанавливают значение сопротивлений, соответствующих статистической характеристике преобразователя температуры Pt 1000, входящего в комплект поверяемого расходомера (Таблица 5).
Для каждого значения температуры фиксируют по три показания температуры, измеренных расходомером.
Результаты измерений заносят в протокол произвольной формы (Приложение В).
Значение абсолютной погрешности Д7\-, °C, измерений температуры вычисляют по формуле
ЬТк = Ti - Тэт, (7)
где Ti - значение температуры по расходомеру, °C;
Тэт - значение температуры по эталонному датчику температуры, °C.
За результат принимают наибольшее из полученных значений.
Результаты поверки считают положительными, если наибольшее значение допускаемой абсолютной погрешности измерений температуры не превышает ±0,5 °C.
-
7.4.3 Определение допускаемой приведенной погрешности канала измерения давления.
Определение допускаемой приведенной погрешности канала измерения давления проводится только для расходомеров со встроенным датчиком давления и для установленного диапазона датчика давления.
Перед проведением поверки проточную часть расходомера герметично закрывают с двух сторон заглушками и заполняют проточную часть водой. С одной стороны в одной из заглушек должно быть резьбовое отверстие со штуцером. К этому штуцеру воздушный компрессор (ручной пресс) или ручной водяной опрессовочный насос и создают давление в трех точках, равномерно распределенных по установленному диапазону измерения датчика давления, но не превышая максимальное рабочее давление расходомера. Например: Ртах, 0,5-Ртах и 0,1-Ртах (где Ртах - максимальное значение шкалы датчика давления, МПа).
В каждой точке проводят по одному измерению. Результаты измерений заносят в протокол произвольной формы (Приложение В).
Приведенную погрешность измерения давления ур , %, вычисляют по формуле
7р = J000/о , (8)
^"max ^min
где: Ризм - измеренное давление, по показаниям расходомера, МПа;
Рэт ~ измеренное давление, по показаниям эталонного манометра, МПа;
Ртах - максимальное значение установленного диапазона датчика давления, МПа;
Pmin - минимальное значение установленного диапазона датчика давления, МПа.
За результат принимают наихудшее из полученных значений.
Результаты поверки считают положительными, если значение допускаемой приведенной погрешности измерения давления ур не превышает ±0,5 %.
-
7.4.4 Определение допускаемой относительной погрешности измерений массы или объема на месте эксплуатации
Определение допускаемой относительной погрешности измерений массы или объема на месте эксплуатации проводится при помощи весов и плотномера.
Весы выбираются с таким расчетом, чтобы время налива воды (или иной жидкости) в емкость, установленную на весах (на рабочем расходе), было не менее 60 с.
Поверку проводят только на рабочем расходе и повторяют не менее двух раз. Результаты измерений заносят в протокол произвольной формы.
Допускаемую относительную погрешность измерений массы Smi, %, воды (или иной жидкости) определяют по формуле

(9)
где
Mi - масса воды (или иной жидкости) по показаниям расходомера, кг; Мэт - масса воды (или иной жидкости) по показаниям весов, кг.
Объем эталона Уэт, л, определяют по формуле
= (10) где Мэт - масса воды (или иной жидкости) по показаниям весов, кг;
К - коэффициент, учитывающий плотность воды (или иной жидкости) и выталкивающую силу воздуха при взвешивании.
Коэффициент К в формуле (10) может быть определен по формуле
К = 1 000__Ргири ~ Рвозд
(И)
Ргири ^Ржидк Рвозд )
Ргири - плотность материала эталонных гирь, принимаемая равной 8000 кг/м3;
Рвозд - плотность воздуха, как функция температуры и атмосферного давления, принимаемая из таблицы В1 приложения В (ГОСТ 8.400-2013), кг/м3;
Ржидк - плотность воды (или иной жидкости) по показаниям плотномера, кг/м3.
где
Далее определяют допускаемую относительную погрешность измерений объема %, при z-ом измерении по формуле (5).
За результат принимают наихудшее из полученных значений. Результаты измерений заносят в протокол произвольной формы (Приложение В).
Результаты поверки считают положительными, если значение допускаемой относительной погрешности измерений массы дм, или объема dv, не превышают значений, указанных в описании типа средства измерений свидетельства об утверждении типа.
7.5 Определение метрологических характеристик имитационным методом.
Определение метрологических характеристик имитационным методом проводится для расходомеров следующих исполнений:
-
- фланцевого исполнения с DN от 100 до 300 мм;
-
- бесфланцевого исполнения («сэндвич») с DN от 15 до 300 мм.
Схема отсоединения первичного преобразователя от преобразователя сигналов и расположение электрических разъемов приведено в Приложении Г.
-
7.5.1. Определение геометрических размеров.
Определение геометрических размеров проводится для внутреннего диаметра проточной части и тела обтекания расходомера.
-
7.5.1.1. Определение внутреннего диаметра проточной части расходомера осуществляют при помощи нутромера индикаторного, с ценой деления 0,01 мм (НИ).
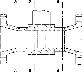
Внутренний диаметр (D) определяют как среднее арифметическое значение результатов измерений, не менее чем в трех поперечных сечениях проточной части. В каждом из сечений проводят измерения не менее чем в трех диаметральных направлениях, расположенных приблизительно под одинаковым углом друг к другу (рисунок 1).
За действительное значение внутреннего диаметра следует принять среднее арифметическое значение результатов измерений. Расчет диаметра D, мм, провести по формуле
п D-——, (12)п
где Di - значение диаметра при z-ом измерении, мм;
п - общее число измерений.
Результаты расчетов заносят в протокол произвольной формы (Приложение В).
Отклонение измеренного значения диаметра расходомера не должно отличаться на величину допуска, от указанного в Таблице 4. В случае, если отклонения при измерении превышают допуски, указанные в Таблице 4, то расходомер должен быть поверен в соответствии с п.7.4.1.

Рисунок 1 - Измерение проточной части.

Таблица 4 - Допуски
ых размеров
Ном. диаметр DN |
Внутренний диаметр проточной части D, мм |
Внутренний диаметр проточной части D*, мм |
Допускаемое отклонение размера проточной части, мм |
Характерный размер тела обтекания Т, мм |
Характерный размер тела обтекания Т*, мм |
Допускаемое отклонение характерного размера тела обтекания, мм |
DN15** |
16 |
16 |
±0,1 |
4,48 |
4,48 |
±0,05 |
DN25** |
24 |
24 |
±0,1 |
6,72 |
6,72 |
±0,05 |
DN40** |
38 |
37 |
±0,1 |
10,64 |
10,36 |
±0,1 |
DN50** |
50 |
45 |
±0,1 |
14,0 |
12,6 |
±0,1 |
DN 80** |
74 |
74 |
±0,1 |
20,72 |
20,72 |
±0,1 |
DN 100 |
97 |
92 |
±0,1 |
25,56 |
23,92 |
±0,1 |
DN 150 |
146 |
136 |
±0,1 |
33,52 |
31,3 |
±0,1 |
DN200 |
200 |
190 |
±0,2 |
50,0 |
47,5 |
±0,1 |
DN 250 |
250 |
236 |
±0,2 |
62,5 |
59,0 |
±0,1 |
DN300 |
295 |
284 |
±0,2 |
73,75 |
71,0 |
±0,1 |
* - внутренний диаметр проточной части только для расходомеров производства ООО «КРОНЕ-Автоматика» | ||||||
** - только для бесфланцевого («сэндвич») исполнения расходомеров |
-
7.5.1.2 Определение характерного размера тела обтекания проводят при помощи штангенциркуля с удлиненными губками. Измерения проводят в трех сечениях тела обтекания, равноудаленных друг от друга. В каждом из сечений проводят не менее трех измерений. За результат принимается среднее арифметическое по всем сечениям. Схема измерения характерного размера тела обтекания показана на рисунке 2.
Результаты расчетов заносят в протокол произвольной формы (Приложение В).
Отклонение измеренного характерного размера тела обтекания расходомера не должно отличаться от приведенного в Таблице 4. В случае, если отклонения при измерении превышают допуски, указанные в Таблице 4, то расходомер должен быть поверен в соответствии с п.7.4.1.

Рисунок 2 - Измерение характерного размера тела обтекания.
-
7.5.2. Определение допускаемой абсолютной погрешности канала измерения температуры.
Определение абсолютной погрешности канала измерения температуры (при периодической поверке имитационным методом) обязательно для расходомеров, применяемых для измерений массового расхода (массы) или расхода (объема), приведенного к стандартным условиям.
Определение допускаемой абсолютной погрешности канала измерения температуры имитационным методом осуществляется при помощи магазина сопротивлений.
К входным клеммам канала измерения температуры (рисунок 3) подключают магазин сопротивлений.
Определение допускаемой абсолютной погрешности измерения температуры проводят для трех значений температуры: минус 10 °C, плюс 20 °C и плюс 60 °C. Имитирующие их сопротивления указаны в таблице 5.
Таблица 5 - Имитирующие сопротивления (для термопреобразователей PtlOOO)
Задаваемая температура, °C |
Значение имитирующего сопротивления, Ом |
-10 |
960,9 |
+20 |
1077,9 |
+60 |
1232,4 |
Для заданных значений температур на мерах электрического сопротивления устанавливают значение сопротивлений, соответствующих статистической характеристике преобразователя температуры PtlOOO, входящего в комплект поверяемого расходомера.
Проводят измерения не менее чем по трем точкам и для каждого измерения определяют абсолютную погрешность каналов измерения температуры, в соответствии с формулой (7).
Результаты измерений заносят в протокол произвольной формы (Приложение В).
Для каждой задаваемой температуры рассчитывают среднее арифметическое значение температуры.
За результат принимают наихудшее из среднеарифметических значений.

Рисунок 3 - Подключение магазина сопротивлений.
Результаты поверки считают положительными, если значение допускаемой абсолютной погрешности измерений температуры не превышает ±0,5 °C.
-
7.5.3. Определение допускаемой приведенной погрешности канала измерения давления.
Определение допускаемой приведенной погрешности канала измерения давления (при периодической поверке имитационным методом) обязательно только для расходомеров, оснащенных встроенным датчиком давления.
Поверку канала измерений давления проводят по п. 7.4.3 настоящей методики.
-
7.5.4. Определение допускаемой приведенной погрешности токового выхода.
Для определения допускаемой приведенной погрешности токового выхода, используется специальная функция расходомера «Тестирование» («Test»), которая находится в разделе меню В.
Примечание - При имитационной поверке токового выхода на месте эксплуатации, следует полностью отключить данный выход расходомера от технологического оборудования. В некоторых случаях необходимо принимать дополнительные меры безопасности (при работе на действующей системе управления технологическим процессом).
Определение допускаемой приведенной погрешности токового выхода осуществляют при помощи универсального вольтметра (включенного в режиме измерения тока) или любого другого измерителя тока, подключенного к соответствующему выходу расходомера, согласно руководства по эксплуатации.
В разделе меню расходомера В 1.2 (тестирование токового выхода), последовательно устанавливают (согласно РЭ) значения имитируемого токового сигнала: 4 мА, 12 мА и 20 мА. При этом фиксируют показания универсального вольтметра. Затем вычисляют значение приведенной погрешности токового выхода, по формуле
= 1изм ~1за,> -100, (13)
-
i — i
max min
где iU3M - величина тока, по показаниям универсального вольтметра, мА;
i3a() - заданная величина тока, мА;
imax - максимальное значение тока, мА (imax = 20 мА);
imm - минимальное значение тока, мА (jmin = 4 мА).
Результаты измерений заносят в протокол произвольной формы (Приложение В).
Результаты поверки считают положительными, если значение допускаемой приведенной погрешности токового выхода у,- не превышает ±0,1 %.
-
7.5.5 Определение допускаемой относительной погрешности частотного выхода.
Определение допускаемой относительной погрешности частотного выхода осуществляют при помощи частотомера подключенного к соответствующему выходу расходомера (согласно руководства по эксплуатации).
В разделе меню расходомера В 1.3 (тестирование частотного выхода), последовательно устанавливают (согласно РЭ) значения имитируемой частоты: 100 Гц, 500 Гц и 1000 Гц. При этом фиксируют показания частотомера. Затем вычисляют значение относительной погрешности импульсного выхода 3f, %, по формуле
SF = F™'~F™> -юо; (14)
где FU3M - измеренная частота по показаниям частотомера, Гц;
F3ad - заданная частота, Гц.
Результаты измерений заносят в протокол произвольной формы (Приложение В).
Результаты поверки считают положительными, если значение допускаемой относительной погрешности импульсного выхода 3f не превышает ±0,1 %.
7.5.6. Определение относительной погрешности преобразователя сигналов при измерении частоты вихреобразования.
Погрешность измерения частоты вихреобразования преобразователем сигналов является составной частью общей погрешности измерения расходомера.
Для определения погрешности измерения частоты вихреобразования преобразователем сигналов необходимо собрать электрическую схему, приведенную на рисунке 4.
ГЕНЕРАТОР | |||
ЧАСТОТОМЕР |
С2, 1 нФ
Cl, 1 нФ
Х.3.1
OPTISWIRL
Рисунок 4 - Схема определения погрешности измерения частоты вихреобразования.
На рисунке обозначено:
Х.3.1 и Х.З.З - клеммы, согласно приложению Г, рисунок Г.2.
Войти в меню конвертора в раздел В2.17 (Тестирование\Текущие значения\Частота вихреобразования). На дисплее, в нижней строке, будет отображен диапазон частот, соответствующий конфигурации настроек данного расходомера.
Для проверки погрешности измерения частоты последовательно подать с генератора синусоидальный сигнал на вход преобразователя сигнала частотой 0,3-Fmax, 0,6-Fmax и 0,9-Fmax с амплитудой 1 В действующего значения, где Fmax - максимальная частота, указанная в разделе меню В2.17.
Частоту сигнала контролировать частотомером.
Для обеспечения требуемой точности измерения частотомером, допускается измерение периода подаваемого сигнала, с последующим вычислением частоты.
Зафиксировать измеренные значения частот на дисплее конвертора.
По полученным значениям измерения частот, определить относительную погрешность измерения частоты вихреобразован ия дрк, по формуле

(15)
где Рд-- значение частоты, по показаниям преобразователя сигналов, Гц;
F-jm - значение частоты, по показаниям частотомера. Гц.
Значение погрешности не должно превышать 0,1% в диапазоне формируемых сенсорным модулем частот.
Результаты поверки считают положительными, если значение относительной погрешности при измерении частоты не превышает ±0.1 %.
8 Оформление результатов поверки-
8.1 Результаты поверки заносят в протокол произвольной формы (пример приведен в Приложении В).
-
8.2 При положительных результатах поверки выдается свидетельство о поверке в соответствии с действующими правовыми нормативными документами или делается отметка в паспорте прибора. Знак поверки наносится на свидетельство о поверке или паспорт.
-
8.3 При отрицательных результатах поверки выдают извещение о непригодности средства измерений с указанием причин.
Разработано:

Сулин

Н.В. Салунин
Начальник лаборатории № 449
ФБУ «Ростест-Москва»
Ведущий инженер по метрологии лаборатории № 449
ФБУ «Ростест-Москва»
ПРИЛОЖЕНИЕ А(обязательное)

Рисунок А.1 - Схема подключения частотно-импульсного выхода
На рисунке А.1 обозначено:
-
1 - источник питания постоянного тока (для расходомера);
-
2 - источник питания постоянного тока (для частотного/импулъсного выхода);
-
3 - Частотомер счетчик импульсов (или поверочная установка). Fmax = 1000 Гц.
Рисунок А.2 - Схема подключения токового выхода
На рисунке А.2 обозначено:
-
1 - ист очник питания постоянного тока (для расходомера);
-
2 - средство измерений постоянного тока (или поверочная установка);
-
3 - НART-коммуникатор. Нагрузка R > 250 Ом.
(справочное)
КИНЕМАТИЧЕСКАЯ ВЯЗКОСТЬ*
Таблица В.1 - Кинематическая вязкость
Температура |
Кинематическая вязкость воды |
Кинематическая вязкость воздуха |
°C |
b?/c)-10‘6 |
(м2/с)-10-5 |
0 |
1,787 |
1,32 |
5 |
1,519 |
1.36 |
10 |
1.307 |
1,41 |
15 |
1.137 |
1,47 |
20 |
1,004 |
1,51 |
25 |
0,891 |
1.56 |
30 |
0.801 |
1,60 |
40 |
0.658 |
] .66 |
50 |
0.658 |
1,76 |
60 |
0.475 |
1,86 |
70 |
0.413 |
1,97 |
80 |
0.365 |
2,07 |
90 |
0,326 |
2,20 |
100 |
0.294 |
2,29 |
* - При абсолютном давлении Рабс = 101325 Па.
ЗНАЧЕНИЯ РАСХОДОВ**
Номинальный диаметр. DN |
Вода |
Воздух | ||
(/min, М3/ч |
(/max, М'.Ч |
(/min, М3 Ч |
(/max, М‘ Ч | |
15 |
0.36 |
5.07 |
6.8 |
32,57 |
25 |
0.81 |
11,4 |
9.77 |
114 |
40 |
2.04 |
28,58 |
24,5 |
326,6 |
50 |
3.53 |
49,48 |
42,41 |
565.5 |
80 |
7.74 |
108.3 |
92.9 |
1239 |
100 |
13.3 |
186,2 |
159,6 |
2128 |
150 |
30,13 |
421.89 |
361,6 |
4822 |
200 |
56.61 |
792.5 |
679.3 |
9057 |
250 |
90.49 |
1267 |
1086 |
14478 |
300 |
131.4 |
1840 |
1577 |
21028 |
** - Значения приведены для температуры +20 °C. абсолютного давления 101325 Па. плотности воздуха 1,204 кг/м3 и плотности воды 998,2 кг/м3.
ПРИЛОЖЕНИЕ В(справочное)
-
I Гример протокола поверки
№__от «___»___________ 20___г.
Вид поверки: |
Первичная / Периодическая |
Место проведения поверки: | |
Наименование, тип (модификация) средства измерений, регистрационный номер в Росреестре СИ РФ: | |
Основные метрологические характеристики СИ: | |
Заводской номер: | |
Методика поверки: | |
Применяемые эталоны: |
Условии проведения поверки:
'Температура окружающего воздуха. °C |
■ |
Относительная влажность воздуха, % | |
Атмосферное давление, кПа | |
Поверочная среда |
Результаты поверки:
Внешний осмотр: Соответствует / Не соответствует.
I Гроверка герметичности: Соответствует / Не соответствует. Опробование: Соответствует Не соответствует.
Таблица 1 ~ Определение относительной погрешности измерений объема
Расход.Q |
V прибора |
V эталона |
Относительная погрещность, Sv |
Допуск, Зудоп | |
% |
м3/ч |
Л |
Л |
% |
% |
1 0,9'Qmax | |||||
0,)‘Qmax | |||||
Qinin |
Таблица 2 - Определение абсолютной погрешности измерений температуры
Температу ра |
Температура по эталону |
Температура по расходомеру |
Абсолютная погрешность. ДГ |
Допуск. Д7доп |
°C |
°C |
°C |
°C |
°C |
-10 |
+0.5 | |||
Г +20 | ||||
+60 |
J1оверитель:
Таблица 3 - Определение п |
риведенной погрешности измерений давления | ||||
Давление |
Давление по эталону |
Давление по расходомеру |
Приведенная погрешность. ур |
Допуск, УРдоп | |
% |
МПа |
МПа |
МПа |
% |
% |
Р max |
±0,5 | ||||
0,5'Ртах | |||||
0.1 'Р max |
Номер версии (идентификационный номер) ПО:
Заключение: Средство измерений пригодно / непригодно к применению.
Поверитель:
Пример протокола имитационной поверки
ПРОТОКОЛ ПОВЕРКИ№______________ от«___»__________ 20___г.
Вид поверки: |
Первичная / Периодическая |
Место проведения поверки: | |
Наименование, тип (модификация) средства измерений, регистрационный номер в Росреестре СИ РФ: | |
Основные метрологические характеристики СИ: | |
Заводской номер: | |
Методика поверки: | |
Применяемые эталоны: |
Условия проведения поверки:
Температура окружающего воздуха, °C | |
Относительная влажность воздуха, % | |
Атмосферное давление. кПа | |
Поверочная среда |
1 ...... .....1 ■ ■ Результаты поверки: Внешний осмотр: Соответствует ! Не соответствует. Проверка герметичности: Соответствует / Не соответствует. Опробование: Соответствует / Не соответствует. Таблица I - Определение внутреннего диаметра проточной части расходомера | |||||
Диамет |
р проточной части D |
Среднее значение диаметра проточной части |
Эталонное значение диаметра проточной части |
Допуск, А доп | |
Сечение А |
Сечение Б |
С ечение В | |||
мм |
мм |
мм |
мм |
мм |
мм |
Таблица 2 - Определение характерного размера тела обтекания | |||||
Размер тела обтекания Т |
Среднее значение размера тела обтекания |
Эталонное значение размера тела обтекания |
Допуск, Адоп | ||
Сечение 1 |
Сечение 2 |
Сечение 3 | |||
1 мм |
мм |
мм |
мм |
мм |
мм |
^Поверитель: |
3 - Определение абсолютной погреши ости измерений температуры
- Температура |
Температура по эталону |
Температура ио расходомеру |
Абсолютная погрешность, АТ |
Допуск. А7доп |
°C |
°C |
°C |
°C |
°C |
-10 | ||||
+20 |
±0,5 | |||
+60 |
Таблица 4 - Определение приведенной погрешности измерений давления
Давление |
Давление по эталону |
Давление по расходомеру |
Приведенная погрешность, ур |
Допуск, УР доп | |
% |
МПа |
МПа |
МГ1а |
% |
% |
Ртах |
±0.5 | ||||
0,5'Ртах | |||||
0.1 Ртах |
Таблица 5 - Определение приведенной погрешности токовцго в ыхода
Ток по эталону |
Ток по расходомеру |
Приведенная тогрешность. у/ |
Допуск, у/доп |
мА |
мА |
% | |
4 | |||
12 |
±0,1 | ||
20 |
аблица 6 - Определение относительной погрешности частотного выхода
Частота по эталону |
Частота по расходомеру |
Приведенная тогрешность. S/ |
Допуск, 5/гдоп |
Гц |
Гц |
% |
% |
100 |
±0,1 | ||
500 | |||
1000 |
'аблица 7 - Определение относительной погрешности преобразователя сигналов :ри измерении частоты вихреобразован ия
Заданная частота. F |
Частота по расходомеру |
Частота по эталону |
Относительная тогрешность, Ofk |
Допуск, ЗрКдоп | |
% |
Гц |
Гц |
Гц |
% |
% |
0.9F max | |||||
0.6’Fmax | |||||
0,3 "F max |

Номер версии (идентификационный номер) ПО: _____________________
Заключение: Средство измерений пригодно / непригодно к применению.
Поверитель:
ПРИЛОЖЕНИЕ Г(справочное)
СХЕМА ОТСОЕДИНЕНИЯ ПРЕОБРАЗОВАТЕЛЯ СИГНАЛОВ

Рисунок Г.1 - Схема отсоединения преобразователя сигналов
На рисунке Г. 1 обозначено:
-
1 - Цилиндрические винты (4 шт.);
-
2 - Шайбы (4 шт.);
-
3 - Прокладка.
СХЕМА РАСПОЛОЖЕНИЯ РАЗЪЕМОВ ПРЕОБРАЗОВАТЕЛЯ СИГНАЛОВ

Рисунок Г.2 - Разъемы преобразователя сигналов
На рисунке Г.2 обозначено:
-
1 - Разъем преобразователя температуры;
-
2 - Разъем преобразователей давления;
-
3 - Разъем пьезодатчика.