Методика поверки «Экзаменаторы эталонные I разряда М-055 производства ООО Инженерно-метрологический центр "Микро", г.С.-Петербург» (МП 47965-11)
ФГУП «ВСЕРОССИЙСКИЙ НАУЧНО-ИССЛЕДОВАТЕЛЬСКИЙ ИНСТИТУТ МЕТРОЛОГИЧЕСКОЙ СЛУЖБЫ»
ФГУП «вниимс»
УТВЕРЖДАЮ одитель ГЦИ СИ П «ВНИИМС»
п

В.Н. Яншин
<• > 2011 г.
Экзаменаторы эталонные I разряда М-055 производства ООО ИМЦ «Микро», г. Санкт-Петербург
МЕТОДИКА ПОВЕРКИ
МОСКВА
2011
Настоящая методика поверки распространяется на экзаменатор эталонный I разряда
М-055 (далее - экзаменатор) и устанавливает методику его первичной и периодической поверок.
Межповерочный интервал - два года.
-
1. ОПЕРАЦИИ И СРЕДСТВА ПОВЕРКИ
-
1.1 При проведении поверки должны быть выполнены операции указанные в таблице 1.
-
Таблица 1
Наименование операций |
Номер пункта методики поверки |
Основные средства поверки и их нормативно-технические характеристики |
Обязательность проведения операции при | |
первичной поверке |
периодической поверке и после ремонта | |||
1 |
2 |
3 |
4 |
5 |
Внешний осмотр |
5.1 |
Визуально |
Да |
Да |
Опробование |
5.2 |
Да |
Да | |
Определение отклонения от прямолинейности рабочей поверхности экзаменатора |
5.3 |
Уровень электронный М-050-03 ПГ ±(2+0,01 а)мкм/м, а - диапазон измерений, мкм/м |
Да |
Да |
Определение шероховатости рабочей поверхности стола экзаменатора |
5.4 |
Профилометр типа А по ГОСТ 19300-86 |
Да |
Да |
Измерение длины рычага |
5.5 |
Плита поверочная Кл.О Высотомер Digimar 817CLM ПГ+Змкм |
Да |
Да |
Определение погрешности измерений и проверка диапазона измерений отсчетного устройства |
5.6 |
Меры длины концевые плоскопараллельные 2 разряда МИ 2060-90 Стойка С-1 ГОСТ 1017-70 |
Да |
Да |
Проверка вариации показаний отсчетного устройства |
5.7 |
Прибор ППГ-3 0... 10мм |
Да |
Да |
Определение абсолютной погрешности экзаменатора |
5.8 |
Расчетным путем |
Да |
Да |
-
1.2 Допускается применять другие вновь разработанные или существующие средства измерения, удовлетворяющие по точности требованиям настоящей методики поверки.
-
1.3 Применяемые средства поверки должны быть поверены и иметь действующие свидетельства о поверке.
-
2. ТРЕБОВАНИЯ БЕЗОПАСНОСТИ
-
2.1 При подготовке к проведению поверки следует соблюдать правила противопожарной безопасности, установленные для работы с легковоспламеняющимися жидкостями, к которым относится бензин, используемый для промывки.
-
2.2 Бензин хранить в металлической посуде, плотно закрытой металлической крышкой, в количестве не более однодневной нормы, требуемой для промывки.
-
2.3 Промывку проводят в резиновых технических перчатках типа II по ГОСТ 20010-93.
-
-
3. УСЛОВИЯ ПОВЕРКИ
3.1 При проведении поверки должны быть соблюдены следующие условия:
-
• температура окружающей среды, °C.............................................20±1;
-
• относительная влажность воздуха, %..........................................58±20;
-
• атмосферное давление, кПа.....................................................101,3±4;
-
3.2 Число измерений в каждой проверяемой точке должно быть не менее трех.
-
4. ПОДГОТОВКА К ПОВЕРКЕ
Перед проведением поверки необходимо:
-
- Ознакомиться с руководством по эксплуатации М-055.000РЭ.
-
- Выдержать экзаменатор в помещении, где будут проводить поверку при температуре, указанной выше, не менее 6 ч.
-
- Установить экзаменатор на жесткое основание (гранитную или чугунную плиту), не подверженное внешним вибрациям.
-
- Подключить оптоэлектронный преобразователь к разъему УЦИ.
-
- Подключить сетевой кабель к разъему сетевого кабеля УЦИ
-
- Обеспечить заземление УЦИ
-
- Включить УЦИ тумблером на задней панели.
-
- Выдержать УЦИ во включенном состоянии при номинальном напряжении не менее 20мин.
-
- Проверить и при необходимости установить значения параметров УЦИ:
-
- Масштаб показаний равен 2.
-
- Значение компенсируемой систематической погрешности Е, равное указанному в паспорте.
-
- Измерительную поверхность стола экзаменатора промыть бензином по ГОСТ 1012 и протереть сухой салфеткой.
-
5. ПРОВЕДЕНИЕ ПОВЕРКИ
-
5.1. Внешний осмотр
Внешний осмотр производится визуально. При внешнем осмотре должно быть установлено:
-
- комплектность экзаменатора в соответствии с эксплуатационной документацией.
-
- отсутствие механических повреждений, влияющих неправильность функционирования и метрологические показатели.
-
5.2. Опробование
5.2.1. При опробовании:
-
- проверить работоспособность экзаменатора при имеющейся возможности изменения показаний ±3000 мкм/м
-
- проверить правильность отображения результата измерений мкм/м.
-
5.3. Определение отклонения от плоскостности рабочей поверхности стола экзаменатора.
Гранитную рабочую поверхность тщательно протереть бензином.
Отклонение от прямолинейности в продольном направлении рабочей поверхности стола определяется электронным уровнем М-050-03 с измерительной кареткой.
Отклонение от прямолинейности не должно превышать 3 мкм.
-
5.4. Определение шероховатости рабочей поверхности стола экзаменатора.
Шероховатость определяют измерением профильным методом по ГОСТ 13300-86 на базовой длине 0,25мм.
Шероховатость по параметру Ra не должна превышать 0,4мкм.
-
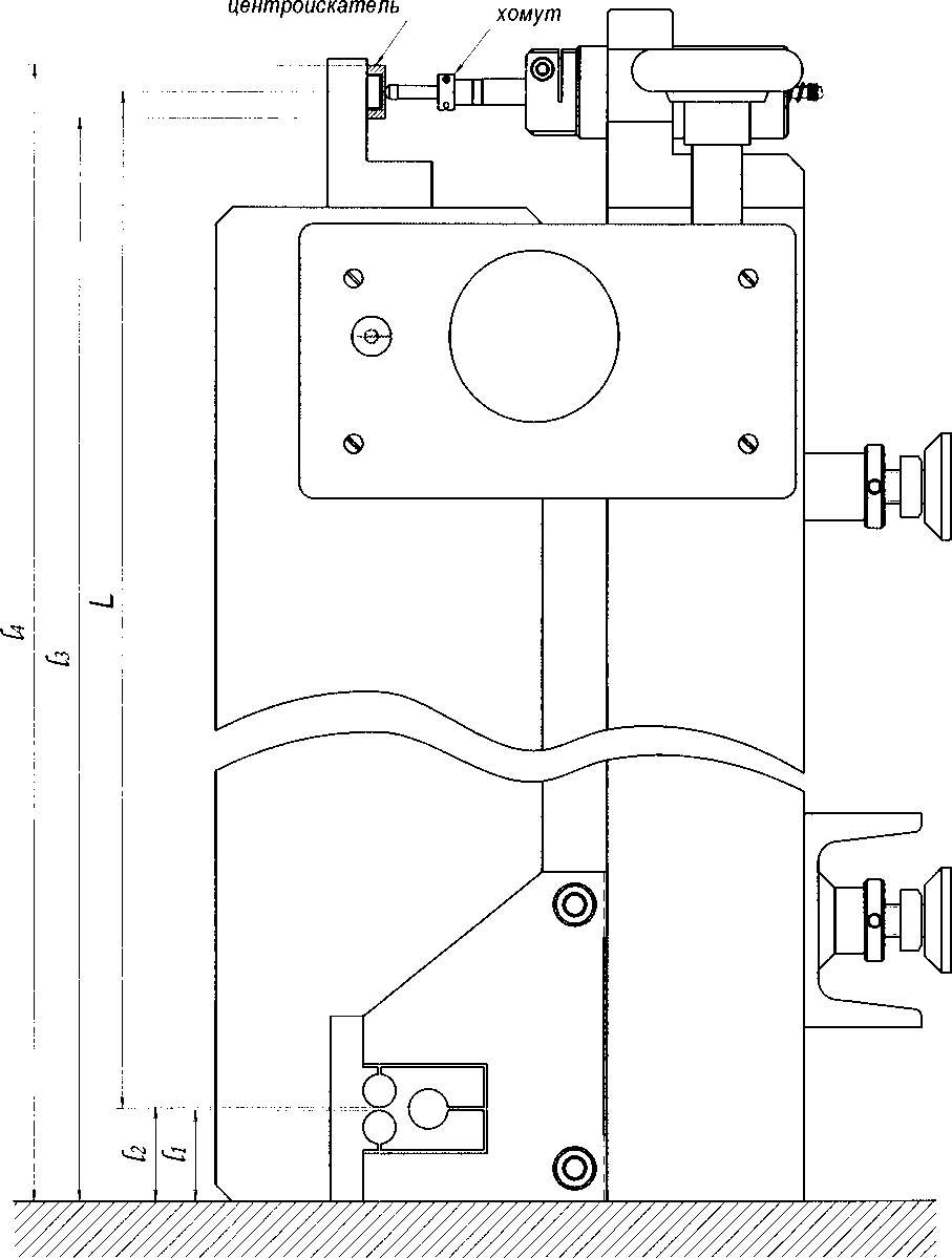
5.5. Измерение длины рычага стола.
Измерение длины рычага стола производится согласно схемы (Приложение А) в следующей последовательности:
Прикрепить стол экзаменатора к основанию с помощью струбцины
Установить центроискатель (Приложение Б) между кронштейном и оптоэлектронным преобразователем, так, чтобы шарик наконечника преобразователя располагался в коническом гнезде. Закрепить измерительный шток преобразователя с помощью миниатюрной струбцины.
Установить экзаменатор задним торцом на гранитную плиту класса 0.
С помощью высотомера со сферическим наконечником измерить расстояния 11, 12,13,14.
Вычислить действительную длину рычага стола
2
Погрешность измерения длины рычага не должна превышать ±0,1 мм.
Действительная длина рычага стола должна соответствовать указанной в паспорте.
-
5.6. Проверка диапазона измерений и определение погрешности измерений отсчетного устройства.
Погрешность и диапазон измерений отсчетного устройства определяется мерами длины концевыми плоскопараллельными 2 разряда.
Оптоэлектронный преобразователь закрепляется в кронштейне стойки С-1 с посадочным диаметром 28мм.
Масштаб показаний устанавливается равный 1.
За начало отсчета принимаются показания отсчетного устройства равное 5мм, где производят обнуление показаний.
Погрешность определяется в 5 контрольных точках равномерно расположенных на диапазоне измерения ± 2мм.
Погрешность отсчетного устройства не должны превышать ±0,Змкм.
-
5.7. Проверка вариации показаний отсчетного устройства.
Оптоэлектронный преобразователь устанавливается в ППГ-3 на пятку №3. За начало отсчета принимаются показания преобразователя равное 5 мм, где производят обнуление показаний.
Вариация показаний проверяется в пяти равномерно расположенных точках диапазона измерений ±2мм, как наибольшая разность показаний при подходе к проверяемым точкам с противоположных сторон.
Вариация показаний не должна превышать 0,2 мкм.
-
5.8. Определение абсолютной погрешности экзаменатора
Погрешность экзаменатора состоит из следующих погрешностей:
51 - аддитивная погрешность от отсчетного устройства
5г - мультипликативная погрешность от неучтенной длины плеча рычага стола, вызванной погрешностью измерения плеча рычага.
51=0,6 мкм/м при погрешности отсчетного устройства, равном 0,3 мкм.
При погрешности измерения плеча рычага равной 0,1 мм относительная погрешность будет = 2 х 10“4
500
Тогда приведенная погрешность на всем диапазоне измерений экзаменатора, равном 3000 мкм/м.
52=ЗООО-2-1О'4=О,6 мкм/м,
Учитывая характер составляющих погрешностей предел абсолютной погрешности экзаменатора выражается следующей формулой:
5=±0,6+2-а-10‘4мкм/м,
где a-измеренное значение
-
6. ОФОРМЛЕНИЕ РЕЗУЛЬТАТОВ ПОВЕРКИ
При положительных результатах поверки выдается свидетельство-протокол установленной формы с указанием фактических результатов определения погрешностей прибора, даты и имени поверителя, действующий протокол подтверждается клеймом.
При отрицательных результатах поверки клеймо погашается, выдается извещение о временной непригодности прибора с указанием причин.
Периодичность поверки устанавливается два раза в год. Поверка также необходима после проведения каждого ремонта.
Приложение А



Приложение Б (Центроискатель)

