Методика поверки «Комплект мер неразрушающего контроля КМ-131» (КМ-131.76005454.01.11 ПС)
ООО «НПП «ПРОМПРИБОР»
Комплект мер неразрушающего контроля КМ-131
Паспорт
КМ-131.76005454.01.11 ПС

В. Н. Яншин
2011 г.
ТВЕРЖДАЮ
«Методика поверки»
ГЦИ СИ ФГУП «вниимс»
2011
10 Методика поверки-
10.1 Область применения
Настоящая методика поверки распространяется на Комплект мер неразрушающего контроля КМ-131 (далее по тексту - комплект мер), выпускаемые ООО "НПП "ПРОМПРИБОР".
Межповерочный интервал - 3 года.
-
10.2 Нормативные ссылки
В настоящей методике использованы ссылки на следующие нормативные документы:
-
- ПР 50.2.006-94 ГСИ. Правила по метрологии. Поверка средств измерений. Организация и порядок проведения поверки средств измерений.
-
- ПР 50.2.007-94 ГСИ. Правила по метрологии. Поверительные клейма.
-
10.3 Операции и средства поверки
При проведении первичной и периодической поверок выполняют операции и применяют средства поверки, указанные в таблице 3.
Таблица 3 - Наименование one] |
раций поверки и с] |
редства поверки | ||
Наименование операции |
Номер пункта МП |
Вид поверки |
Наименование средства поверки, обозначение нормативного документа, регламентирующего технические требования, метрологические и основные технические характеристики средства поверки | |
Первичная |
Периодическая | |||
1 .Проверка внешнего вида и комплектности |
11.9.1 |
+ |
+ |
— |
2.Проверка глубины ИД и пределов допускаемой основной абсолютной погрешности значения глубины ИД |
11.9.2 |
+ |
+ |
Прибор для измерения текстуры поверхности, отклонения от формы дуги окружности, прямолинейности и радиуса дуги средней линии по методу наименьших квадратов FORM TALYSURF, погр. ± 2 %, ГР № 20668-00 |
3. Проверка ширины ИД и пределов допускаемой основной абсолютной погрешности значения глубины ИД |
11.9.3 |
+ |
+ |
Микроскоп УИМ-23 ГОСТ 14968-69, погр. ± (1,4+L/80) мкм, где L в мм, ГР № 3705-73 |
4. Проверка длины ИД и пределов допускаемой основной абсолютной погрешности значения глубины ИД |
11.9.4 |
+ |
+ |
Микроскоп УИМ-23 ГОСТ 14968-69, погр. ± (1,4+L/80) мкм, где L в мм, ГР № 3705-73 |
Примечания
-
1 Допускается применение других средств поверки, обеспечивающих определение метрологических характеристик с требуемой точностью.
-
2 Применяемые средства поверки должны иметь действующие свидетельства о поверке.
-
10.4 Требования к квалификации поверителей и требования безопасности
- К проведению поверки допускают лиц, имеющих квалификацию поверителя, аттестованных по ПР 50.2.012, прошедших инструктаж по технике безопасности и 7
ознакомившихся с настоящим паспортом, а также эксплуатационной документацией на средства поверки.
-
- При проведении поверки необходимо соблюдать правила электробезопасности, указанные в эксплуатационной документации на средства поверки.
-
- Все приборы и оборудование, питаемые от электросети, должны быть заземлены.
-
- Процесс проведения поверки не относиться к вредным условиям труда и не наносит вред окружающей среде.
-
10.5 Условия поверки
При проведении поверки должны соблюдаться следующие условия:
-
- температура окружающего воздуха - 20 ± 5 °C;
-
- относительная влажность воздуха - 65 ± 15 %;
-
- атмосферное давление - от 86,0 до 106,7 кПа.
-
10.6 Перед проведением поверки поверхности мер должны быть очищены от грязи, а средства поверки должны быть подготовлены к работе в соответствии с их инструкциями по эксплуатации.
-
10.7 После пребывания комплекта мер в условиях отличных от нормальных, он должен быть выдержан не менее 1 часа в условиях, соответствующих п.10.5.
-
10.8 Первичная поверка комплекта мер производится после его изготовления. Результаты измерений линейных ИД при первичной поверке заносятся в настоящий паспорт.
-
10.9 Проведение поверки
При внешнем осмотре должно быть установлено соответствие комплекта мер следующим требованиям:
-
- комплектность, маркировка должны соответствовать требованиям паспорта на комплект мер;
-
- на поверхностях мер не должно быть грубых вмятин, рисок и царапин, задиров и заусенцев, сигнал от которых равен или более 50 % сигнала минимального выявляемого дефекта. Не допускается наличие коррозии.
Комплект мер считается прошедшим поверку с положительным результатом, если комплектность соответствует паспорту, имеется маркировка с ясным указанием типа и серийного номера комплекта мер, отсутствуют грубые вмятины, риски и царапины, задиры, заусенцы и коррозия.
Если данные требования не выполняются, то комплект мер считается непригодным к применению, к эксплуатации не допускается, выписывается свидетельство о непригодности, дальнейшие пункты методики не выполняются.
10.9.2 Проверка глубины ИД и пределов допускаемой основной абсолютной погрешности значения глубины ИДИзмерение глубины ИД проводить в пяти равномерно распределенных точках прибором FORM TALYSURF для мер СОИ 2353.04-2, СОИ 2353.04-3 и СОИ 2353.14, входящих в состав комплекта мер.
Среднее значение измеряемой величины вычислить по формуле:
п
ЪН,

_ _
ср ~ п , (1)
где Я, - z-й результат измерения;
п - число измерений.
Определить случайную составляющую основной погрешности по формуле:
Дс,;Ч =
(2)
где t - коэффициент Стьюдента. При доверительной вероятности Р=0,95 и числе наблюдений п=5, t=2,78;
с - среднее квадратичное отклонение результата измерений ширины дефекта, определяемое по формуле:

(=i
(3)
Основную погрешность определить по формуле:


(4)
где Acutm - погрешность средства поверки.
Комплект мер считается прошедшим поверку с положительным результатом, если глубина ИД и пределы ее допускаемой основной абсолютной погрешности соответствуют значениям, указанным в таблице 1.
Если данные требования не выполняются, то комплект мер считается непригодным к применению, к эксплуатации не допускается, выписывается свидетельство о непригодности, дальнейшие пункты методики не выполняются.
10.9.3 Проверка ширины ИД и пределов допускаемой основной абсолютной погрешности значения глубины ИДИзмерение ширины ИД проводить в пяти равномерно распределенных точках для каждой меры, входящей в состав комплекта мер.
Процедура измерений и обработки результатов аналогична процедуре, описанной в п. 10.9.2.
Комплект мер считается прошедшим поверку с положительным результатом, если ширина ИД и пределы ее допускаемой основной абсолютной погрешности соответствуют значениям, указанным в таблице 1.
Если данные требования не выполняются, то комплект мер считается непригодным к применению, к эксплуатации не допускается, выписывается свидетельство о непригодности, дальнейшие пункты методики не выполняются.
10.9.4 Проверка длины ИД и пределов допускаемой основной абсолютной погрешности значения глубины ИДИзмерение ширины ИД проводить в пяти равномерно распределенных точках для мер СОИ 2353.04-1, СОИ 2353.04-3 и СОИ 2353.14, входящих в состав комплекта мер.
Процедура измерений и обработки результатов аналогична процедуре, описанной в п. 10.9.2.
Комплект мер считается прошедшим поверку с положительным результатом, если длина ИД и пределы ее допускаемой основной абсолютной погрешности соответствуют значениям, указанным в таблице 1.
Если данные требования не выполняются, то комплект мер считается непригодным к применению, к эксплуатации не допускается, выписывается свидетельство о непригодности, дальнейшие пункты методики не выполняются.
10.10 Оформление результатов поверкиРезультаты поверки каждой меры из комплекта мер заносятся в протокол поверки.
При положительных результатах поверки выписывается свидетельство о поверке установленного образца. При отрицательных результатах поверки выписывается извещение о непригодности с указанием причин.
11 Информация об изготовителеИзготовитель: Общество с ограниченной ответственностью «Научно-производственное предприятие ПРОМПРИБОР»
(ООО "НПП "ПРОМПРИБОР”)
Адрес: 107078, г. Москва, Орликов переулок, 6.
Тел./факс: (495) 580-37-77;
E-mail: pp@ndtprompribor.ru;
Сайт: www.ndtprompribor.ru
Приложение АМеры типа СОП 2353.04 из комплекта мер неразрушающего контроля КМ-131.
Инструкция по применению
А. 1 Назначение
А. 1.1 Меры СОП 2353.04-1, СОП 2353.04-2, СОП 2353.04-3 (далее по тексту - меры типа СОП 2353.04) предназначены для настройки и проверки работоспособности дефектоскопов вихретоковых специализированных ВД-131 НД;
А. 1.2 Меры типа СОП 2353.04 являются обязательной составной частью дефектоскопов ВД-131НД.
А.2 Условия применения
А.2.1 Порядок и условия применения мер типа СОП 2353.04 должны соответствовать требованиям руководства по эксплуатации ВД-131НД.76005454.01.11 РЭ дефектоскопа ВД-131НД.
А.2.2 Рабочей поверхностью мер типа СОП 2353.04 является наружная цилиндрическая поверхность и торцы ролика. На рабочей поверхности мер и внутри ИД не допускается наличие коррозии, загрязнений, задиров и заусенцев. При наличии указанных дефектов меры типа СОП 2353.04 бракуются.
А.2.3 Не допускается зачистка рабочей поверхности и исправление ИД мер типа СОП 2353.04 абразивными материалами, а также промывка мер агрессивными жидкостями.
А.2.4 При необходимости следует очистить рабочую поверхность с ИД, а также торцевые поверхности мер, жесткой волосяной кистью, смоченной бензином, затем меры смазать жидким смазочным маслом (типа 132-08, ОКБ 122-21 или консервационным маслом НГ-203А) и обтереть насухо мягкой тканью.
А.2.5 Перед началом работы меры типа СОП 2353.04 загрузить в кассету, кассету установить в направляющие электромеханического блока, далее следовать указаниям руководства по эксплуатации ВД-131НД.76005454.01.11 РЭ.
А.2.6 Меры типа СОП 2353.04 хранить в таре предприятия-изготовителя.
А.2.7 В случае если рабочая поверхность мер и искусственные дефекты повреждены коррозией, забоинами и т. п., в результате которых нарушается тестирование мер типа СОП 2353.04 (происходит пропуск дефектов) дефектоскопом, такие поврежденные меры подлежат замене.
А.З Указания мер безопасности
А.3.1 Необходимо исключить возможность травмирования обслуживающего персонала в результате случайных падений мер.


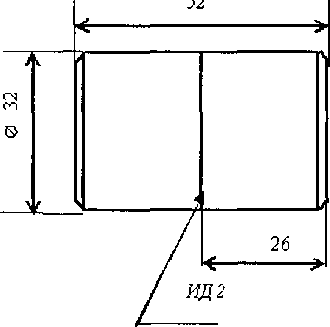
Рисунок Б.1 - Эскиз меры СОП 2353.04-1. Место нанесения ИД

Рисунок Б.2 - Эскиз меры СОП 2353.04-2. Место нанесения ИД

Рисунок Б.З - Эскиз меры СОП 2353.04-3. Места нанесения ИД

ИД4
Рисунок Б.4 - Эскиз меры СОП 2353.14. Место нанесения ИД
Приложение В(обязательное)
Протокол
поверки комплекта мер неразрушающего контроля КМ-131
Изготовитель______________________________________________________________
Заводской номер комплекта_______________________________________________
Комплект принадлежит_________________________________________________
Поверку производил__________________________
«_____»___________________20_____г.
Результаты поверки:__________________________________________________________
Поверяемая характеристика |
Значение характеристики |
Вывод | ||
номинальное |
допускаемое |
измеренное | ||
Заключение по результатам поверки
Подпись поверяющего________________________/_____________________/
14