Методика поверки «КАЛИБРАТОР УНИВЕРСАЛЬНЫЙ Н4-301» (УШЯИ.411648.005 МП)

. Mi 155 ШМ.
СОГЛАСОВАНО

КАЛИБРАТОР УНИВЕРСАЛЬНЫЙ Н4-301
УШЯИ.411648.005 МП
(МРБ МП.Ж/-20Ш
РАЗРАБОТЧИК ОАО “МНИПИ”
Руководитель разработки, начальна ^срктора 12 ..............А.С.Ермоленко ..........2018
Исполнитель, инженер-конструктор 2 категории
Т.А. Григорович
...........2018
Нормоконтролер, вед.инженер ОКТДиС
С.К.Лашкова
“.Zc.”.............2018
УШЯИ.411648.005 МП 2
СодержаниеПриложение А Форма протокола поверки

.5 мег.
Вводная частьНастоящая методика поверки (МП) распространяется на калибратор универсальный Н4-301 с модификацией Н4-301/1 ТУ BY 100039847.158-2018 (далее по тексту - калибра гор) и устанавливает ме тодику его первичной и периодической поверок.
Калибратор подлежит первичной поверке при выпуске из производства или после гарантийного ремонта и периодической поверке при эксплуатации и хранении.
Поверка должна проводиться в органах, аккредитованных в данном виде деятельности.
Межповерочный интервал калибратора - 12 мес.
1 Операции и средства поверки1.1 При проведении поверки должны быть выполнены следующие операции и применены средства поверки с характеристиками, указанными в таблице 1.1.
Таблица 1.1
Наименование операции |
Номер пункта методики поверки |
Наименование и тип эталонов и вспомогательных средств поверки, их метрологические и основные технические характеристики |
Проведение операции при | |
первичной поверке |
периодической поверке | |||
Внешний осмотр |
51 |
- |
да |
да |
Проверка электрической прочности изоляции |
5.2 |
Установка высоковольтная УПУ-21: - выходное постоянное и переменное напряжение от 0 до 4 кВ погрешность ± 4%, частота 50 Гц |
да |
нет |
Опробование |
5.3 |
да |
да | |
Определение метрологических характеристик: |
5.4 |
5 °C до 20 °C;
30 % до 80 %;
(230 ±23) В; |
да |
да |
Продолжение таблицы 1.1
Наименование операции
Номер пункта методики поверки
Наименование и тип эталонов и вспомогательных средств поверки, их метрологические и основные технические характеристики
Проведение операции при
- определение основной погрешности воспроизведения напряжения постоянного тока
Мультиметр Fluke 8508А
U= от 0,5 мкВ до ±1000 В, погрешность ± (0,0004 - 0,0006) %.
U~ от 100 мкВ до 1050 В, погрешность ± (0,008 - 2,0) %, частота от 1 Гц до I МГц.
1= от 0,002 мкА до ±20 А, погрешность ± (0,001 - 0,047) %.
I- от 0,1 мкА до 20 А, погрешность ± (0,042- 0,4) %, частота от 1 Гц до 100 кГц.
первичной
поверке
да
периодической поверке да
- проверка максимального тока нагрузки, определение напряжения шумов и пульсаций в режиме воспроизведения напряжения постоянного тока
5.4.2
Мультиметр Fluke 8508А
U= от 0,5 мкВ до ±1000 В, погрешность ± (0,0004 - 0,0006) %.
U- от 100 мкВ до 1050 В, погрешность ± (0,008 - 2,0) %, частота от 1 Гц до 1 МГц.
1= от 0,002 мкА до ±20 А, погрешность ± (0,001 - 0,047) %.
1~ от 0,1 мкА до 20 А, погрешность ± (0,042- 0,4) %, частота от 1 Гц до 100 кГц.
Вольтметр переменного тока ВЗ-6О:
-
- диапазон измерения от 10 мкВ до 1000 В;
-
- поддиапазоны с верхними пределами 10, 100 мВ, 1,10, 100, 1000 В;
-
- диапазон частот от 20 Гц до 100 кГц;
-
- погрешность ± [(0,035 - 0,2)
Uk
+(0,005 -0,1 )•(.......1)]%,
Un
где Uk - конечное значение диапазона, В; Un - показание прибора, В.
Магазин сопротивлений Р4830/1:
-
- класс точности 0,05/2,5-10'5;
-
- диапазон значений воспроизводимого сопротивления от 0,01 до 12222,21 Ом. Нагрузка 40 к Я УШЯИ.465214.005;
Нагрузка 120 kQ УШЯИ.465214.005-01.
ла
нет
I
• S


Продолжение таблицы 1.1
Наименование операции |
Номер пункта методики поверки |
Наименование и тип эталонов и вспомогательных средств поверки, их метрологические и основные технические характеристики |
Проведение операции при | |
первичной поверке |
периодической поверке | |||
- определение основной погрешности воспроизведения напряжения переменного тока |
5.4.3 |
Мультиметр Fluke 8508А U= от 0,5 мкВ до ±1000 В, погрешность ± (0,0004 - 0,0006) %. U-от 100 мкВ до 1050 В, погрешность ± (0,008 - 2,0) %, частота от 1 Гц до 1 МГц. 1= от 0,002 мкА до ±20 А, погрешность ± (0,001 - 0,047) %. 1~ от 0,1 мкА до 20 А, погрешность ± (0,042- 0,4) %, частота от I Гц до 100 кГц. | ||
- проверка максимального тока нагрузки, способность калибратора работать на емкостную нагрузку в режиме воспроизведения напряжения переменного тока |
5.4.4, 5.4.5 |
Мультиметр Fluke 8508А U= от 0,5 мкВ до ±1000 В, погрешность ± (0,0004 - 0,0006) %. U~ от 100 мкВ до 1050 В, погрешность ± (0,008 - 2,0) %, частота от 1 Гц до 1 МГц. 1= от 0,002 мкА до ±20 А, погрешность ± (0,001 - 0,047) %. 1~ от 0,1 мкА до 20 А, погрешность ± (0,042 - 0,4) %, частота от 1 Гц до 100 кГц. Магазин сопротивлений Р4830/1:
|
да |
нет |
1енныь
Продолжение таблицы 1.1
Наименование операции |
Номер пункта методики поверки |
Наименование и тип эталонов и вспомогательных средств поверки, их метрологические и основные технические характеристики |
Проведение операции при | |
первичной поверке |
периодической поверке | |||
- определение коэффициента гармоник в режиме воспроизведения напряжения переменного тока |
5.4.6 |
Измеритель нелинейных искажений СК6-13:
Магазин сопротивлений Р4830/1:
|
да |
нет |
- определение основной погрешности воспроизведения силы постоянного тока |
5.4.7 |
Мультиметр Fluke 8508А U= от 0,5 мкВ до ±1000 В, погрешность ± (0,0004 - 0,0006) %. U- от 100 мкВ до 1050 В, погрешность ± (0,008 - 2,0) %, частота от 1 Гц до 1 МГц. 1= от 0,002 мкА до ±20 А, погрешность ± (0,001 - 0,047) %. 1~ от 0,1 мкА до 20 А, погрешность ± (0,042- 0,4) %, частота от 1 Гц до 100 кГц. |
да |
да |

Продолжение таблицы 1.1
Наименование операции |
Номер пункта методики поверки |
Наименование и тип эталонов и вспомогательных средств поверки, их мегрологические и основные технические характеристики |
Проведение операции при | |
первичной поверке |
периодической поверке | |||
- проверка максимального напряжения на нагрузке, определение напряжения шумов и пульсаций при воспроизведении силы постоянного тока |
5.4.8 |
Мультиметр Fluke 8508А U= от 0,5 мкВ до ±1000 В, погрешность ± (0,0004 - 0,0006) %. U- от 100 мкВ до 1050 В, погрешность ± (0,008 - 2,0) %, частота от 1 Гц до 1 МГц. 1= от 0,002 мкА до ±20 А, погрешность ± (0,001 - 0,047) %. 1- от 0,1 мкА до 20 А, погрешность ± (0,042- 0,4) %, частота от 1 Гц до 100 кГц. Вольтметр универсальный В 7- 72: -диапазоны измерения напряжения постоянного тока 200 мВ, 2 В;
Uk- конечное значение диапазона измерения, В. Вольтметр переменного тока ВЗ-60:
Uk +(0,005 -0,1 )•(.......1)J%. Un где Uk - конечное значение диапазона, В; Un - показание прибора, В. Нагрузка 0,4 Я УШЯИ.465214.006 Нагрузка 1,5 Q УШЯИ.465214.007 Нагрузка 15 О УШЯИ.465214.007-01 |
да |
нет |


Продолжение таблицы 1.1
Наименование операции
Номер пункта методики поверки
- определение основной погрешности воспроизведения силы переменного тока
>

- проверка максимального напряжения на нагрузке, определение коэффициента гармоник в диапазонах 200 мА, 2 и 5 А при воспроизведении силы переменного тока
Наименование и тип эталонов и вспомогательных средств поверки, их метрологические и основные технические характеристики
первичной поверке
Мультиметр Fluke 8508А
U= от 0,5 мкВ до ±1000 В, погрешность ± (0,0004 - 0,0006) %.
U- от 100 мкВ до 1050 В, погрешность ± (0,008 - 2,0) %, частота от 1 Гц до 1 МГц.
1= от 0,002 мкА до ±20 А, погрешность ± (0,001 - 0,047) %.
1~ от 0,1 мкА до 20 А, погрешность ± (0,042- 0,4) %, частота от 1 Гц до 100 кГц.
Проведение операции при периодической поверке да
да
Мультиметр Fluke 8508А
U= от 0,5 мкВ до ±1000 В, погрешность ± (0,0004 - 0,0006) %.
U- от 100 мкВ до 1050 В, погрешность ± (0,008 - 2,0) %, частота от 1 Гц до 1 МГц.
1= от 0,002 мкА до ±20 А, погрешность ± (0,001 - 0,047) %.
1~ от 0,1 мкА до 20 А, погрешность ± (0,042- 0,4) %, частота от 1 Гц до 100 кГц.
Вольтметр универсальный В7-72:
- измерение силы переменного тока от 10 мА до 2 А в диапазоне частот от 20 Гц до 5 кГц;
-.пределы допускаемой основной погрешности ±[(0,15 - 0,4) % от 1 + (0,01 - 0,15)% от 1к], где I - значение измеряемого напряжения, В;
1к- конечное значение диапазона измерения, В.
да
нет
Измеритель нелинейных искажений С Кб-13:
-
- диапазоны измерения коэффициентов гармоник от 0,003 % до 100 %;
-
- диапазон частот от 10 Гц до 120 кГц;
-
- предел измерения коэффициента гармоник 0,01; 0,1; 1 %;
-
- погрешность измерения коэффициента гармоник ±0,1 от верхнего значения предела.
Нагрузка 0,4 Q УШЯИ.465214.006
Нагрузка 1,5 Q УШЯИ.465214.007
Нагрузка 15 Q УШЯИ.465214.007-01

’/ пхни*080*
1-----*. Л...ПЦ4СТ*1*


Продолжение таблицы 1.1
Наименование операции |
Номер пункта методики поверки |
Наименование и тип эталонов и вспомогательных средств поверки, их метрологические и основные технические характеристики |
Проведение операции при | |
первичной поверке |
периодической поверке | |||
- определение погрешности установки частоты воспроизводимых напряжений переменного тока |
5.4.11 |
Частотомер 43-63:
1 частоты £ (5-10'7 + ----------), 1изм’ 1сч где fH3M - измеряемая частота, Гц; tC4 - время счета, с. |
да |
нет |
Примечания
|
-
2.1 Проведение измерений при проверке и (или) обработке результатов измерений допускают лиц, которые подтвердили компетенцию выполнения поверочных работ.
-
2.2 Поверители должны пройти инструктаж по технике безопасности и иметь группу допуска не ниже III по электробезопасности на право работы с напряжением до 1000 В, группу допуска не ниже IV по электробезопасности на право работы на электроустановках с напряжением выше 1000 В в соответствии с ТКП 181-2009.
-
3.1 При подготовке и проведении поверки калибратора должны соблюдаться требования безопасности, указанные в эксплуатационной документации УШЯИ. 411648.005 РЭ, УШЯИ. 411648.005-01 РЭ.
-
3.2 По требованиям к безопасности калибратор относится к классу защиты I ГОСТ 1ЕС 61010-1-2014.
. Заземление корпуса калибратора обеспечивается через двухполюсную вилку с заземляющим контактом.
-
3.3 Калибратор является источником опасного напряжения до 1000 В. Оповещение оператора о возможном опасном напряжении осуществляется символом ZV в зоне гнезд
‘ 3.4 В процессе эксплуатации и ремонта воспрещается:
> - проводить замену деталей под напряжением;
* - оставлять без надзора калибратор под напряжением.
3.5 Калибратор не оказывает вредного воздействия на окружающую среду при соблюдении правил эксплуатации, изложенных в эксплуатационной
документации.

-
4.1 При проведении поверки должны быть соблюдены следующие условия:
(20 ±5) °C; от 30 % до 80 %;
от 84 до 106 кПа
(от 630 до 795 мм рт.ст.); (230 ±23) В;
(50 ± 0,5) Гц.
-
- температура окружающего воздуха
-
- относительная влажность воздуха
-
- атмосферное давление
-
- напряжение питающей сети
-
- частота питающей сети
-
4.2 Перед проведением поверки калибратор выдержать в условиях, установленных в 4.1 не менее 5 ч.
-
4.3 Средства поверки выдержать в условиях, оговоренных для проведения поверки, и подготовить к работе в соответствии с их эксплуатационной документацией.
-
4.4 При подготовке к поверке калибратора должны быть выполнены подготовительные работы, указанные в руководстве по эксплуатации.
-
4.5 Калибратор обеспечивает работоспособность через 1 мин после включения, а метрологические характеристики - через 1 ч.
-
4.6 При проведении поверки следует использовать принадлежности из состава калибратора.

I)-/ nJ0

УШ.ЯИ.411648.005 МП 11
-
5 Проведение поверки
-
5.1 Внешний осмотр
-
5.1.1 При проведении внешнего осмотра должно быть установлено соответствие поверяемого калибратора следующим требованиям:
-
-
-
- наличие в комплекте соединительных проводов, нагрузок;
-
- наличие и прочность крепления органов управления, четкость фиксации их положения, наличие вставок плавких;
отсутствие механических повреждений;
исправность гнезд, четкость маркировки калибратора.
Калибратор, имеющий дефекты, признается непригодным и направляется в ремонт.
-
5.2 Проверка электрической прочности изоляции
-
5.2.1 Проверку электрической прочности изоляции проводят в нормальных условиях применения по ГОСТ IEC 61010-1-2014 с помощью установки высоковольтной измерительной (испытательной) УПУ-21 следующим образом:
-
-
- подают испытательное напряжение между соединенными вместе питающими штырями и корпусным штырем вилки сетевой, начиная со значения 230 В (сетевой выключатель должен быть включен);
-
- увеличивают испытательное напряжение до значения 1,5 кВ плавно или равномерно ступенями за время от 5 до 10 с.
Изоляция должна находиться под полным испытательным напряжением в течение 1 мин.
Результаты проверки считают удовлетворительными, если при проверке прочности изоляции не произошло пробоя или поверхностного перекрытия. Появления •‘коронного” разряда или предшествующего ему шума не является признаком неудовлетворительного качества изоляции.
-
5.3 Опробование
-
5.3.1 Опробованием калибратора является проверка способности калибратора воспроизводить напряжение постоянного тока, напряжение переменного тока, силы постоянного тока и силы переменного тока на каждом диапазоне в верхней конечной точке.
-
Включают калибратор, устанавливают поочередно необходимый режим и диапазон воспроизведения, устанавливают воспроизведение верхнего конечного значения напряжения или тока, нажимают кнопку ПУСК и наблюдают за появлением информации о воспроизведении набранной величины (появление и гашение символа •.
При проверке воспроизведения силы тока на ВЫХОДЕ 2 необходимо устанавливать перемычку.
Результаты опробования считают удовлетворительными, если информация о воспроизведении появляется при проверке каждого диапазона.
Неисправный калибратор признают непригодным и направляют в ремонт.
Л Q ■

gg.. *
УШЯИ.411648.005 МП 12
5.4 Определение метрологических характеристик-
5.4.1 Определение основной погрешности калибратора при воспроизведении напряжения постоянного тока осуществляют путем измерения выходного напряжения калибратора мультиметром Fluke 8508Л следующим образом:
- собирают схему измерения без нагрузки Rh в соответствии с рисунком 5.1;

Н4-301(Н4-301/1) - поверяемые калибраторы;
Fluke 8508А - мультиметр.
Принадлежности из комплекта поверяемого калибратора: Pl, Р2 - перемычки Тгб.626.055;
009-01 - насадка УШЯИ.301539.009-01 (красная);
009 - насадка УШЯИ.301539.009 (черная);
К1 -провод УШЯИ.685611.270-01 (красный);
К2 - провод УШЯИ.685611.270 (черный)
Рисунок 5.1 - Схема соединения приборов для определения основной погрешности в режиме воспроизведения напряжения постоянного и переменного токов
-
- устанавливают мультиметр Fluke 8508А в режим измерения напряжения постоянного тока;
-
- устанавливают на выходе поверяемого калибратора напряжение в соответствии с таблицей 5.1, фиксируют для каждого из них показание мультиметра Fluke 8508А и вычисляют погрешность AU, В. по формуле
AU = U - UH3M,
где U - поверяемая точка, В;
UlUM - показание мультиметра Fluke 8508А, В.

Таблица 5.1
Конечное значение диапазона измерений, С1к |
Поверяемая точка |
Пределы допускаемой основной погрешности, ±Д, мВ |
200 мВ |
± 000,05 |
0,020 |
± 100,00 |
0,090 | |
± 200,00 |
0,160 | |
2В |
±0,0010 |
0,100 |
± 1,0000 |
0,600 | |
± 2,0000 |
1,100 | |
20 В |
±00,010 |
1 |
± 10,000 |
6 | |
± 20,000 |
11 | |
200 В |
±001,00 |
20 |
± 100,00 |
90 | |
± 200,00 |
160 | |
600 В |
±0010,0 |
130 |
± 0300,0 |
420 | |
± 0600,0 |
720 |
Результаты поверки считают удовлетворительными, если основная погрешность калибратора не превышает значений, указанных в таблице 5.1.
-
5.4.2 Проверку максимального тока нагрузки, определение напряжения шумов и пульсаций в режиме воспроизведения напряжения постоянного тока на диапазонах 200 мВ, 2 и 20 В проводят по методике 5.4.2.1, а на диапазонах 200 и 600 В по методике 5.4.2.2.
5.4.2.1 Проверку максимального тока нагрузки, определение напряжения шумов и пульсаций в режиме воспроизведения напряжения постоянного тока на диапазонах 200 мВ, 2 и 20 В проводят следующим образом:
- собирают схему измерения в соответствии с рисунком 5.2



114-301 (114-301 /1) - поверяемые калибраторы;
Fluke 8508А - мультиметр;
133-60 - вольтметр переменного тока;
Р4830/1 - магазин сопротивлений.
Принадлежности из комплекта поверяемого калибратора:
Pl, Р2 - перемычки Tr6.626.055;
009-01 - насадка УШЯИ.301539.009-01 (красная);
009 - насадка УШЯИ.301539.009 (черная);
004-04 - насадка УШЯИ.301539.009-04 (красная);
004-03 - насадка УШЯИ.301539.009-03 (черная);
К1 -провод УШЯИ.685611.270-01 (красный);
К2 - провод УШЯИ.685611.270 (черный)
Рисунок 5.2 - Схема соединения приборов для проверки максимального тока нагрузки и определения напряжения шумов и пульсаций калибратора в режиме воспроизведения напряжения постоянного тока на диапазонах 200 мВ, 2 и 20 В.

-
- калибратор включают на диапазон 200 мВ, устанавливают на выходе калибратора напряжение значением 200 мВ;
-
- устанавливают значение сопротивления магазина равным 20 Ом;
-
- определяют основную погрешность калибратора аналогично 5.4.1;
-
- подключают вольтметр переменного тока ВЗ-60, измеряют напряжение пульсаций.
Аналогичную проверку проводят на диапазонах 2 и 20 В в точках и при нагрузках, указанных в таблице 5.2.
Таблица 5.2
Конечное значение диапазона измерений, Uk |
Поверяемая точка |
Нагрузка |
Пределы допускаемой основной погрешности ±Д, мВ |
Допускаемое значение напряжения шумов и пульсаций, мВ, не более |
200 мВ |
± 200,00 |
Р4830/1 -20 Ом |
0,160 |
1 |
2 В |
± 2,0000 |
Р4830/1 -200 Ом |
1,100 |
2 |
20 В |
± 20,000 |
Р4830/1 -2 кОм |
11 |
2 |
200 В |
± 200,00 |
Нагрузка 40 kQ У111ЯИ.465214.005 |
160 |
150 |
600 В |
± 0600,0 |
Нагрузка 120 kQ УШЯИ.465214.005-01 |
720 |
250 |
Результаты проверки считают удовлетворительными, если основная погрешность калибратора и значение напряжения шумов и пульсаций не превышают значений, указанных в таблице 5.2.


-
5.4.2.2 Проверку максимального тока нагрузки и определение напряжения шумов и пульсаций в режиме воспроизведения напряжения постоянного тока на диапазонах 200 и 600 В проводят следующим образом:
- собирают схему измерения в соответствии с рисунком 5.3;


Н4-301(Н4-301/1) - поверяемые калибраторы;
Fluke 8508Л - мультиметр;
ВЗ-60 - вольтметр переменного тока.
Принадлежности из комплекта поверяемого калибратора: Pl, Р2 - перемычки 'Ггб.626.055;
Нагрузка 40 kQ - нагрузка 40 к£1 УШЯИ.465214.005;
Нагрузка 120 к£2 - нагрузка 120 кН УШЯИ.465214.005-01;
009-01 - насадка УШЯИ.301539.009-01 (красная);
009 - насадка УШЯИ.301539.009 (черная);
К1 - провод УШЯИ.685611.270-01 (красный);
К2 - провод УШЯИ.685611.270 (черный)
Рисунок 5.3 - Схема соединения приборов для проверки максимздьжгод&вд нагрузки и определения напряжения шумов и пульсаций калибратора/ в режи^ воспроизведения напряжения постоянного тока на диапазонах 200 и 600 рс / j
информация L и иирмачихмои документа uw»
-
- включают нагрузку 40 к£2;
-
- калибраторы включают на диапазон 200 В, устанавливают на выходе калибратора напряжение значением 200 В;
-
- определяют основную погрешность калибратора в точке 200 В аналогично 5.4.1;
-
- подключают вместо мультиметра Fluke 8508А вольтметр переменного тока ВЗ-60 и измеряют напряжение пульсаций.
Аналогичную проверку проводят на диапазоне 600 В при нагрузке 120 к£2.
Результаты поверки считают удовлетворительными, если основная погрешность калибратора при нагрузке, значение напряжения шумов и пульсаций не превышают значений, указанных в таблице 5.2.
-
5.4.3 Определение основной погрешности калибратора при воспроизведении напряжения переменного тока осуществляют путем измерения выходного напряжения калибратора мультиметром Fluke 8508А следующим образом:
-
- собирают схему измерения в соответствии с рисунком 5.1;
-
- устанавливают мультиметр Fluke 8508А в режим измерения напряжения переменного тока;
-
- устанавливают на выходе поверяемого калибратора напряжения и частоты сигналов в соответствии с таблицей 5.3, фиксируют для каждого из них показания мультиметра Fluke 8508А и вычисляют погрешность AU, В, по формуле (1).
Таблица 5.3
Конечное значение диапазона измерений, Uk
Поверяемая точка
Частота, f
Пределы допускаемой основной погрешности
±Д
200 мВ
001,0
20 Гц
0,10 мВ
200 Гц
0,10 мВ
20 кГц
0,10 мВ
40 кГц
0,20 мВ
100,0
20 Гц
0,30 мВ
200 Гц
0,30 мВ
20 кГц
0,30 мВ
40 кГц
0,40 мВ
200,0
20 Гц
0,50 мВ
200 Гц
0,50 мВ
20 кГц
0,50 мВ
40 кГц
0,60 мВ
2 В
0,100
20 Гц
0,55 мВ
200 Гц
0,55 мВ
20 кГц
0,55 мВ
40 кГц
2,2 мВ
1,000
20 Гц
1,9 мВ
200 Гц
1,9 мВ
20 кГц
1,9 мВ
40 кГц
4,0 мВ
2,000
20 Гц
3,4iv
200 Гц
3,4/
20 кГц
3,4
технической
40 кГц
бЖ
J3 и нормативной у <
Продолжение таблицы 5.3
Конечное значение диапазона измерений, Uk |
Поверяемая точка |
Частота, f |
Пределы допускаемой основной погрешности, ±Д |
20 В |
01,00 |
20 Гц |
5,5 мВ |
200 Гц |
5,5 мВ | ||
20 кГц |
5,5 мВ | ||
40 кГц |
22 мВ | ||
10,00 |
20 Гц |
19 мВ | |
200 Гц |
19 мВ | ||
20 кГц |
19 мВ | ||
40 кГц |
40 мВ | ||
20,00 |
20 Гц |
34 мВ | |
200 Гц |
34 мВ | ||
20 кГц |
34 мВ | ||
40 кГц |
60 мВ | ||
200 В |
010,0 |
40 Гц |
0,12 В |
1 кГц |
0,12 В | ||
100,0 |
40 Гц |
0,3 В | |
1 кГц |
0,3 В | ||
200,0 |
40 Гц |
0,5 В | |
1 кГц |
0,5 В | ||
600 В |
100,0 |
40 Гц |
0,5 В |
1 кГц |
0,5 В | ||
300,0 |
40 Гц |
0,9 В | |
1 кГц |
0,9 В | ||
600,0 |
40 Гц |
1,5 В | |
1 кГц |
1,5 В |
Результаты поверки считают удовлетворительными, если основная погрешность калибратора не превышает значений, указанных в таблице 5.3.
-
5.4.4 Проверку максимального тока нагрузки, способность калибратора работать на емкостную нагрузку в режиме воспроизведения напряжения переменного тока на диапазонах 200 мВ, 2 и 20 В проводят следующим образом:
- собирают схему измерения в соответствии с рисунком 5.4;

£££ 4Щ .0/ MM

Н4-301(114-301/1) - поверяемые калибраторы;
Fluke 8508А - мультиметр;
Р4830/1 - магазин сопротивлений.
Принадлежности из комплекта поверяемого калибратора:
Р1, Р2 - перемычки Tr6.626.055;
Нагрузка 1000 pF - нагрузка 1000 pF УШЯИ.465214.005-03;
009-01 - насадка УИ1ЯИ.301539.009-01 (красная);
009 - насадка УШЯИ.301539.009 (черная);
004-04 - насадка УШЯИ.301539.009-04 (красная);
004-03 - насадка УШЯИ.301539.009-03 (черная);
К1 - провод УШЯИ.685611.270-01 (красный);
К2 - провод УШЯИ.685611.270 (черный)
Рисунок 5.4 - Схема соединения приборов для проверки максимального тока нагрузки, способности калибратора работать на емкостную нагрузку в режиме воспроизведения напряжения переменного тока на диапазонах 200 мВ, 2 и 20

Отдел гехнмческой ииформ»»»* м яорйй >ивно>|
-
- устанавливают мультиметр Fluke 85О8А в режим измерения напряжения переменного тока;
-
- калибратор включают на диапазон 200 мВ, устанавливают на выходе калибратора напряжение значением 200 мВ частотой 1 кГц;
-
- устанавливают значение сопротивления магазина равным 20 Ом;
-
- определяют основную погрешность калибратора аналогично 5.4.1;
Аналогичную проверку проводят на диапазонах 2 и 20 В в точках и при нагрузках, указанных в таблице 5.4.
Таблица 5.4
Конечное значение диапазона измерений, Uk |
Поверяемая точка |
Нагрузка |
Пределы допускаемой основной погрешности, ±Д |
200 мВ |
200.0 6=20 Гц; 1 кГц; 40 кГц |
Магазин сопротивлений Р4830/1 - 20 Ом; нагрузка 1000 pF УШЯИ.465214.005-03 |
0,5 мВ |
2В |
2.000 6=20 Гц; 1 кГц; 40 кГц |
Магазин сопротивлений Р4830/1 - 200 Ом; нагрузка 1000 pF У1ПЯИ.465214.005-03 |
3,4 мВ |
20 В |
20.00 6=20 Гц; 1 кГц; 40 кГц |
Магазин сопротивлений Р4830/1 - 2 кОм; нагрузка 1000 pF УШЯИ. 465214.005-03 |
34 мВ |
200 В |
200.0 6=40 Гц; 1 кГц |
Нагрузка 40 kQ УШЯИ.465214.005; нагрузка 330 pF УШЯИ.465214.005-02 |
0,5 В |
600 В |
0600 6=40 Гц; 1 кГц |
Нагрузка 120 kQ У111ЯИ.465214.005-01; нагрузка 330 pF УШЯИ.465214.005-02 |
1,5 В |
Результаты поверки считают удовлетворительными, если основная погрешность не превышает значений, указанных в таблице 5.4.
-
5.4.5 Проверку максимального тока нагрузки, способность калибратора работать на емкостную нагрузку в режиме воспроизведения напряжения переменного тока на диапазонах 200 и 600 В проводят следующим образом:
- собирают схему измерения в соответствии с рисунком 5.5;
УШЯИ.411648.005 МГ1 21

H4-301 (H4-301/1)- поверяемые калибраторы;
Fluke 8508А - мультиметр.
Принадлежности из комплекта поверяемого калибратора: Pl, Р2 - перемычки Тг6.626.055;
Нагрузка 330 pF - нагрузка 330 pF УШЯИ.465214.005-02;
Нагрузка 40 kfi - нагрузка 40 kQ УШЯИ.465214.005;
Нагрузка 120 kQ - нагрузка 120 kQ УШЯИ.465214.005-01; 009-01 - насадка У ШЯИ.301539.009-01 (красная);
009 - насадка УШЯИ.301539.009 (черная); KI - провод УШЯИ.685611.270-01 (красный); К2 - провод УШЯИ.685611.270 (черный)

Рисунок 5.5 - Схема соединения приборов для проверки макс нагрузки, способности калибратора работать на емкостную натр воспроизведения напряжения переменного тока на диапазонах 200 и 600
й'хврежи'ме
, норм»1*'*’1 />
УШЯИ.411648.005 МП 22
-
- подключают нагрузки 330 pF; 40 kQ;
-
- калибратор включают на диапазон 200 В, устанавливают на выходе калибратора напряжение значением 200 В частотой 1 кГц;
-
- определяют основную погрешность калибратора аналогично 5.4.3;
Аналогичную проверку проводят на диапазоне 600 В в точке 600 В частотой 1 кГц при нагрузках 330 pF; 120 kQ.
Результаты поверки считают удовлетворительными, если основная погрешность не превышает значений, указанных в таблице 5.4.
-
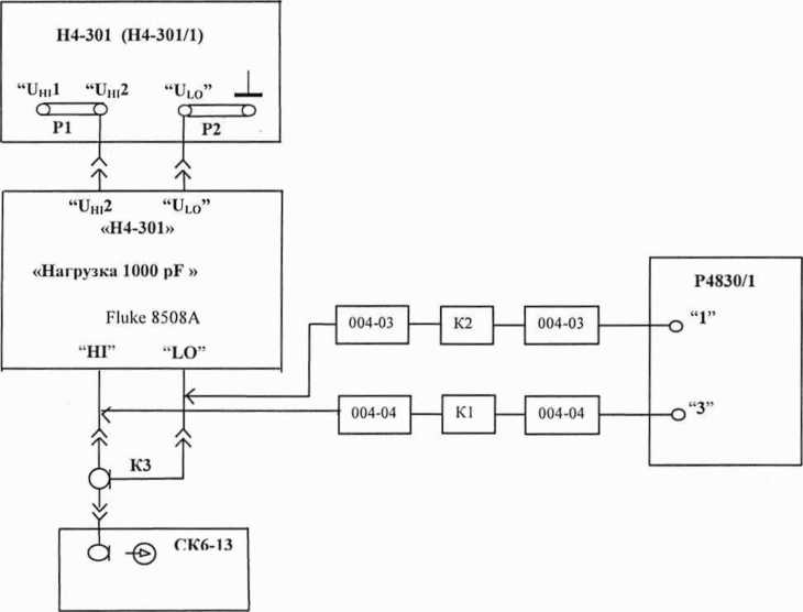
5.4.6 Проверку коэффициента гармоник калибратора в режиме воспроизведения напряжения переменного тока осуществляют прибором СК6-13 в точках при нагрузках активных и емкостных, указанных в таблице 5.4 следующим образом:
-
- собирают схему измерения в соответствии с рисунком 5.6 для диапазонов 200 мВ, 2, 20 В и в соответствии с рисунком 5.7 для диапазонов 200 и 600В.
Измерения выполняют при частотах, указанных в таблице 5.4.

, Отдел илучно-<? техвяч»»®*1 s пнфоржаи»'1 '5\ н иирм»»а!аЮ‘

H4-30l(H4-301/l) - поверяемые калибраторы;
Р4830/1 - магазин сопротивлений;
СК6-13 - измеритель нелинейных искажений;
КЗ - кабель из комплекта СК6-13.
Принадлежности из комплекта поверяемого калибратора:
Pl, Р2 - перемычки Тг6.626.055;
Нагрузка 1000 pF - нагрузка 1000 pF УШЯИ.465214.005-03;
004-04 - насадка УШЯИ.301539.009-04 (красная);
004-03 - насадка УШЯИ.301539.009-03 (черная);
К1 - провод УШЯИ.685611.270-01 (красный);
К2 - провод У ШЯИ.685611.270 (черный)
Рисунок 5.6 - Схема соединения приборов для определения коэффициента гармоник калибратора в режиме воспроизведения напряжения переменного тока на диапазонах 200 мВ, 2 и 20 В.



Н4-301, Н4-301/1 - поверяемые калибраторы;
СК6-13 - измеритель нелинейных искажений;
КЗ - кабель из комплекта СК6-13.
Принадлежности из комплекта поверяемого калибратора:
Pl, Р2 - перемычки Тгб.626.055;
Нагрузка 330 pF - нагрузка 330 pF УШЯИ.465214.005-02;
Нагрузка 40 kQ - нагрузка 40 kQ УШЯИ.465214.005;
Нагрузка 120 kQ - нагрузка 1000 pF УШЯИ.465214.005-01;
К1 - провод У ШЯИ.685611.270-01 (красный);
К2 - провод УШЯИ.685611.270 (черный)
Рисунок 5.7 - Схема соединения приборов для определения коэффициента гармоник калибратора в режиме воспроизведения напряжения переменного тока на диапазонах 200 и 600 В.

УШЯИ.411648.005 МП 25
-
5.4.7 Определение основной погрешности калибратора при воспроизведении силы постоянного тока осуществляют путем измерения воспроизводимой силы постоянного тока калибратора мультиметром Fluke 8508А следующим образом:
- собирают схему измерения в соответствии с рисунком 5.8;

144-301(144-301/1) - поверяемые калибраторы;
Fluke 8508А - мультиметр.
Принадлежности из комплекта поверяемого калибратора: 009-01 - насадка УШЯИ.301539.009-01 (красная);
009 - насадка УШЯИ.301539.009 (черная);
К1 - провод УШЯИ.685611.270-01 (красный);
К2 - провод УШЯИ.685611.270 (черный)
Рисунок 5.8 - Схема соединения приборов для определения основной погрешности воспроизведения силы постоянного и переменного токов на диапазонах 200 мкА; 2, 20, 200 мА; 2, 5 А для калибратора 144-301 и на диапазонах 200 мкА; 2; 20; 200 мА для калибратора Н4-301/1
-
- мультиметр Fluke 85О8А включают в режим измерения силы постоянного тока;
-
- устанавливают на выходе калибратора силу тока в соответствии с таблицей 5.5, фиксируют показания мультиметра Fluke 8508А и вычисляют погрешность воспроизведения тока A I, А, по формуле
А I = I - 1Нзм,
где I - поверяемая точка, мА.
11|(М - показания мультиметра Fluke 8508А
(2)
а
Отдел научно-технической информации_ и нормативной документадин
УШЯИ.411648.005 МГ1 26
Таблица 5.5
Конечное значение диапазона измерений,1к |
Поверяемая точка |
Пределы допускаемой основной погрешности ±Д |
200 мкЛ |
±001,00 |
0,04 мкА |
± 050,00 |
0,09 мкА | |
± 100,00 |
0,14 мкА | |
± 150,00 |
0,19 мкА | |
± 200,00 |
0,24 мкА | |
2 мА |
±0,0010 |
0,2мкА |
± 0,5000 |
0,7мкА | |
± 1,0000 |
1,2 мкА | |
± 1,5000 |
1,7 мкА | |
± 2,0000 |
2,2 мкА | |
20 мА |
±00,010 |
2 мкА |
± 5,000 |
7 мкА | |
± 10,000 |
12 мкА | |
± 15,000 |
17 мкА | |
± 20.000 |
22 мкА | |
200 мА |
±000,10 |
20 мкА |
± 050,00 |
70 мкА | |
± 100,00 |
120 мкА | |
± 150,00 |
170 мкА | |
± 200,00 |
220 мкА | |
Н4-301 | ||
2 А |
±0,0010 |
0,4 мА |
±0,5000 |
0,9 мА | |
± 1,0000 |
1,4 мА | |
± 1,5000 |
1,9 мА | |
± 2,0000 |
2,4 мА | |
5 А |
± 1,0000 |
2,0 мА |
± 3,0000 |
4,0 мА | |
± 5,0000 |
6,0 мА |
Результаты поверки считают удовлетворительными, если основная погрешность воспроизведения силы постоянного тока не превышает значений, указанных в таблице 5.5.
-
5.4.8 Проверку максимального напряжения на нагрузке, определение напряжения шумов и пульсаций при воспроизведении силы постоянного тока проводят следующим образом:
- собирают схему измерения в соответствии с рисунком 5.9;

Отдел научно-
информации
технической
к нормативной
70 w

Н4-301, Н4-301/1 - поверяемые калибраторы;
В7-72 - вольтметр универсальный;
ВЗ-60 - вольтметр переменного тока;
Fluke 8508А - мультиметр.
Принадлежности из комплекта поверяемого калибратора:
Нагрузка 15 Q - нагрузка 15 Q УШЯИ.465214.007-01 для калибраторов
Н4-301, Н4-301/1 на диапазоне 200 мА;
Нагрузка 1,5 Q - нагрузка 1,5 Q УШЯИ.465214.007 для калибратора Н4-301 на диапазоне 2 А;
Нагрузка 0,4 Q - нагрузка 0,4 Q УШЯИ.465214.006 для калибратора Н4-301 па диапазонах 5 А
009-01 - насадка УШЯИ.301539.009-01 (красная);
009 - насадка УШЯИ.301539.009 (черная);
К1 - провод УШЯИ.685611.270-01 (красный);
К2 - провод УШЯИ.685611.270 (черный)
Рисунок 5.9 - Схема соединения приборов для проверки максимального напряжения на нагрузке и определения напряжения шумов и пульсаций калибратора в режиме
воспроизведения силы постоянного тока на диапазонах 200 мА, 2 и 5 А.

Отдел научно-техыичесмоА инфоряашии и норматадрлой- j г. доитмемтад*» л*
-
- подключают нагрузку 15 Q к выходам калибратора;
-
- включают проверяемый калибратор в режим воспроизведения силы постоянного тока, диапазон 200 мА, устанавливают выходной ток равный 200 мА;
-
- проверяют вольтметром В7-72 напряжение постоянного тока на нагрузке, значение которого должно быть не менее 3 В;
-
- определяют мультиметром Fluke 8508А основную погрешность воспроизведения силы постоянного тока 200 мА;
-
- измеряют напряжение пульсаций на нагрузке вольтметром ВЗ-60;
-
- устанавливают выходной ток минус 200 мА, повторяют измерения.
-
- для калибратора 114-301 повторяют измерения на диапазонах 2 и 5 А при нагрузках в соответствии с таблицей 5.6.
Таблица 5.6
Конечное значение диапазона измерений, 1к |
Поверяемая точка |
Нагрузка |
Пределы допускаемой основной погрешности, ±Д |
Максимальное напряжение на нагрузке, и, В |
Допускаемое значение напряжения шумов и пульсаций, мВ |
200 мА |
± 200,00 |
11агрузка 15 Q У ШЯИ.465214.005 |
220 мкА |
3 |
10 |
2 А |
± 2,0000 |
11агрузка 1,5 Q У ШЯИ.465214.005 |
2,4 мА |
3 |
10 |
5 А |
± 5,0000 |
11агрузка 0,4 Q УШЯИ.465214.005 |
6,0 мА |
2 |
10 |
Результаты поверки считают удовлетворительными, если основная погрешность воспроизведения силы постоянного тока при максимальном напряжении на выходе нс превышает значений, указанных в таблице 5.6 и напряжение пульсаций не превышает 10 мВ.
-
5.4.9 Определение основной погрешности калибратора при воспроизведении силы переменного тока проводят следующим образом:
-
- собирают схему измерения в соответствии с рисунком 5.8;
-
- мультиметр Fluke 8508А включают в режим измерения силы переменного тока;
-
- устанавливают на выходе калибратора силу и частоту воспроизводимого тока в соответствии с таблицей 5.7, фиксируют показания мультиметра Fluke 8508А и вычисляют погрешность воспроизведения тока Д 1, А, по формуле (2)
Таблица 5.7
Конечное значение диапазона измерений, 1к |
Поверяемая точка |
Частота, f, Гц |
Пределы допускаемой основной погрешности, ±Д |
H4-30I , H4-3OI /1 | |||
200 мкА |
010,00 |
20 |
0,12 мкА |
300 |
0,12 мкА | ||
1000 |
0,12 мкА | ||
100,00 |
20 |
0,25 мкА | |
300 |
0,25 мкА | ||
1000 |
0,25 мкА | ||
200,00 |
20 |
0,4 мкА | |
300 |
0,4 мкА | ||
1000 |
0,4 мкА | ||
2 мА |
0,1000 |
20 |
1,2 мкА |
300 |
1,2 мкА | ||
1000 |
1,2 мкА | ||
1,0000 |
20 |
2,5 мкА | |
300 |
2,5 мкА | ||
1000 |
2,5 мкА | ||
2,0000 |
20 |
4 мкА | |
300 |
4 мкА | ||
1000 |
4 мкА | ||
20 мА |
01,000 |
20 |
12 мкА |
300 |
12 мкА | ||
1000 |
12 мкА | ||
10,000 |
20 |
25 мкА | |
300 |
25 мкА | ||
1000 |
25 мкА | ||
20,000 |
20 |
40 мкА | |
300 |
40 мкА | ||
1000 |
40 мкА | ||
200 мА |
010,00 |
20 |
120 мкА |
300 |
120 мкА | ||
1000 |
120 мкА | ||
100,00 |
20 |
250 мкА | |
300 |
250 мкА | ||
1000 |
250 мкА | ||
200,00 |
20 |
400 мкА | |
300 |
400 мкА | ||
1000 |
400 мкА |
Продолжение таблицы 5.7
Конечное значение диапазона измерений, 1к |
Поверяемая точка |
Частота, f, Гц |
Пределы допускаемой основной погрешности, ±Д |
Н4-301 | |||
2 А |
0,1000 |
20 |
1,2 мА |
300 |
1,2 мА | ||
1000 |
1,2 мА | ||
1,0000 |
20 |
2,5 мА | |
300 |
2,5 мА | ||
1000 |
2,5 мА | ||
2,0000 |
20 |
4 мА | |
300 |
4 мА | ||
1000 |
4 мА | ||
5 А |
1,0000 |
. 20 |
4 мА |
300 |
4 мА | ||
1000 |
4 мА | ||
3,0000 |
20 |
7 мА | |
300 |
7 мА | ||
1000 |
7 мА | ||
5,0000 |
20 |
10 мА | |
300 |
10 мА | ||
1000 |
10 мА |
Результаты поверки считают удовлетворительными, если основная погрешность воспроизведения силы переменного тока не превышает значений, указанных в таблице 5.7.
-
5.4.10 Проверку максимального напряжения на нагрузке, определение коэффициента гармоник на диапазонах 200 мА калибраторов Н4-301 и 114-301/1 и на диапазонах 2 и 5 А калибратора Н4-301 (ВЫХОД 2) в режиме воспроизведения силы переменного тока проводят следующим образом:
-
- снимают перемычку проверяемого калибратора, установленную между клеммами “Ulo” и “-L”;
-
- собирают схему измерения в соответствии с рисунком 5.10, в качестве нагрузки используют нагрузку 15 Q;
-
- включают проверяемый калибратор в режим воспроизведения силы переменного тока на диапазоне 200 мА, устанавливают выходной ток 200 мА частотой 300 Гц;
-
- проверяют вольтметром В7-72 напряжение переменного тока на выходе поверяемого калибратора, значение которого должно быть не менее 3 В. Вольтметр В7-72 при этом подключен к соответствующим гнездам нагрузки 15 Q;
-
- определяют аналогично 5.4.9 погрешность воспроизведения силы переменного тока мультиметром Fluke 8508А;
-
- измеряют прибором СК6-13 коэффициент гармоник;
гармоник на этих
* и
А пр
Отдел научно-
пнформаиин
-
- устанавливают частоту 20, 1000 Гц и измеряют коэффициент частотах.
-
- повторяют измерения для выходного тока 2 А на диапазоне 2 и 5 А на диапазоне 5 А при нагрузке 0,4 Q калибратора Н4-301.
техническом




Н4-301 (Н4-301/1) - поверяемые калибраторы;
В7-72 - вольтметр универсальный;
СК6-13 - измеритель нелинейных искажений;
Нагрузка 15 Q УШЯИ.465214. 007-01 для калибраторов Н4-301 и Н4-301/1 на диапазоне 200 мА;
Нагрузка 1,5 Q УШЯИ.465214.007 для калибратора Н4-301 на диапазоне 2 А;
Нагрузка 0,4 Q УШЯИ.465214.006 для калибратора Н4-301 на диапазоне 5 А 009-01 - насадка УШЯИ.301539.009-01 (красная);
009 - насадка УШЯИ.301539.009 (черная);
К1 - провод УШЯИ.685611.270-01 (красный);
К2 - провод УШЯИ.685611.270 (черный)
Рисунок 5.10 - Схема соединения прибора для проверки максимального напряжения на нагрузке и определения коэффициента гармоник калибраторов Н4-301 ,J[i4-301 /1 в режиме воспроизведения силы переменного тока на диапазоне 200 м4 Н4-301 - на диапазоне 2 и 5 А. '

и норма
С * «хрЗДО Р а
>•""'xV' <?/Отдел
5/ 1ехаическои

Таблица 5,8
Конечное значение диапазона измерений, 1к |
Поверяемая точка |
Пределы допускаемой основной погрешности, ±Д |
Максимальное напряжение на нагрузке, U, В |
Коэффициент гармоник, %, не более |
200 мА |
200,00 |
400 мкА |
3,0 |
0,25 |
2 А |
2.0000 |
4 мА |
3,0 |
0,25 |
5 А |
5,0000 |
10 мА |
2,0 |
1,0 |
Результаты поверки считают удовлетворительными, если основная погрешность воспроизведения силы переменного тока при максимальном напряжении на выходе не превышает значений, указанных в таблице 5.8 и коэффициент гармоник нс превышает 0,25 % для диапазонов 200 мА, 2 А и 1 % для диапазона 5 А.
-
5.4.11 Определение погрешности установки частоты воспроизводимых напряжения переменного тока проводят следующим образом:
-
- поверяемый калибратор устанавливают в режим воспроизведения напряжения переменного тока, диапазон 20 13, выходное напряжение 5 В, частота 20 Гц;
-
- к выходным гнездам калибратора подключают частотомер 43-63 и измеряют частоту воспроизводимого напряжения;
-
- последовательно устанавливают частоту равной 20; 1000; 1001 Гц; 20; 40 кГц и измеряют установленную частоту;
-
- определяют относительную погрешность 5, в процентах, установки частоты в каждой проверяемой точке по формуле
f- Ппм
5 =...............100, (3)
f
где f - установленное значение частоты, Гц;
Сом - измеренное значение частоты, Гц.
Результаты поверки считают удовлетворительными, если погрешность воспроизводимой частоты не превышает ±1 %.
6 Оформление результатов поверки-
6.1 Результаты поверки оформляют протоколом по форме приложения А.
-
6.2 Если по результатам поверки калибратор признан пригодным к применению,
то на него и (или) эксплуатационную документацию наносят поверительное клеймо и (или) выдают свидетельство о поверке по форме, установленной ТКП 8.003 (Приложение Г).
-
6.3 Если по результатам поверки калибратор признан непригодным к применению, поверительное клеймо гасят, свидетельство о поверке аннулируют и выписываю заключение о непригодности по форме, установленной ТКП 8.003 (Приложение Д) с указание причин. Калибратор к применению не допускается. Чх
научно-
//°/ технической \“5'Д I г* ( информации I- ,| \ и нормативной /к II '\Qj\ документации А // Ж-#
Приложение А(рекомендуемое)
Форма протокола поверки
Протокол поверки №
Калибраторы универсальные Н4-301, Н4-301/1 зав.№ _____
выпуск______________года
Принадлежит: ________________________________
Наименование организации, проводившей поверку:______________________________
Поверка проводилась в соответствии с методикой поверки МРБ МГ1. -2018,
УШЯИ.411648.005 МП Условия поверки: | |
температура окружающего воздуха, °C | |
относительная влажность воздуха,% | |
атмосферное давление, кПа (мм рг.ст.) | |
напряжение питающей сети. В | |
частота питающей сети (50 ± 0,5) Гц |
Средства поверки:
Наименование средства измерений |
Тип |
Заводской номер |
Свидетельство о поверке | |
номер |
срок действия | |||
А.1 Внешний осмотр (5.1)
(соотв., не соотв.)

А.2 Проверка электрической прочности изоляции (5.2)
А.З Опробование (5.3)
А.4 Определение метрологических характеристик (5.4)
А.4.1 Определение основной погрешности воспроизведения напряжения постоянного тока (5.4.1)
Таблица А.1
Конечное значение диапазона измерений, Uk |
Поверяемая точка |
Измеренное значение воспроизводимого напряжения, UH1M |
Основная погрешность, А |
Пределы допускаемой основной погрешности, ± А |
мВ |
мВ |
мВ | ||
200 мВ |
+000,05 -000,05 + 100,00 + 100.00 +200,00 - 200,00 |
0,020 | ||
0,020 | ||||
0,090 | ||||
0,090 | ||||
0,160 | ||||
0,160 | ||||
В | ||||
2 В |
+ 0,0010 -0,0010 + 1,0000 -1,0000 +2,0000 - 2,0000 |
0,100 | ||
0,100 | ||||
0,600 | ||||
0,600 | ||||
1,100 | ||||
1,100 | ||||
20 В |
+ 00,010 |
1 | ||
- 00,010 |
1 | |||
+ 10,000 |
6 | |||
-10.000 |
6 | |||
+ 20,000 |
11 | |||
-20,000 |
11 | |||
200 В |
+001.00 |
20 | ||
-001,00 |
20 | |||
+ 100,00 |
90 | |||
- 100,00 |
90 | |||
+ 200,00 |
160 | |||
- 200,00 |
160 | |||
600 В |
+0010,0 |
130 | ||
-0010,0 |
130 | |||
+0300,0 |
420 | |||
-0300,0 |
420 | |||
+0600,0 |
720 | |||
- 0600,0 |
720 |
(соотв., не соотв.)
I Jr
fiS'f0wa ваучно-//С/ нхвпческой (1>х! ивформачя11.
н норма!пиной документации
А.4.2 Проверка максимального тока нагрузки, определение напряжения шумов и пульсаций в режиме воспроизведения напряжения постоянного тока (5.4.2)
Таблица А.2 - Определение основной погрешности воспроизведения напряжения постоянного
тока при максимальном токе нагрузки
Конечное значение диапазона измерений, UK |
Поверяемая точка |
Нагрузка, R |
Измеренное значение воспроизводимого напряжения, иизм |
Основная погрешность, Д |
Пределы допускаемой основной погрешности, ± Д |
мВ |
мВ |
мВ | |||
200 мВ |
+ 200,00 |
20 Ом |
0,160 | ||
- 200,00 |
20 Ом |
0,160 | |||
В | |||||
2В |
+ 2,0000 |
200 Ом |
1,100 | ||
- 2,0000 |
200 Ом |
1,100 | |||
20 В |
+ 20,000 |
2 кОм |
11 | ||
- 20,000 |
2 кОм |
11 | |||
200 В |
+ 200,00 |
40 kQ |
160 | ||
- 200,00 |
40 kQ |
160 | |||
600 В |
+ 0600,0 |
120 kQ |
720 | ||
- 0600,0 |
120 kQ |
720 |
(соотв., не соотв.)
и
Таблица А.З - Oni
Конечное значение диапазона измерений, Uk |
Поверяемая точка |
Напряжение шумов и пульсаций, U, мВ |
Допускаемое значение напряжения шумов и пульсаций, мВ |
200 мВ |
+ 200 |
1 | |
-200 | |||
2 В |
+ 2 |
2 | |
-2 | |||
20 В |
+ 20 |
2 | |
-20 | |||
200 В |
+ 200 |
150 | |
-200 | |||
600 В |
+ 600 |
250 | |
-600 |

А.4.3 Определение основной погрешности воспроизведения напряжения
переменного тока (5.4.3)
Таблица А.4
Конечное значение диапазона измерений. Uk |
Поверяемая точка |
Частота, f |
Измеренное значение вое п роиз водимого напряжения, UHJM |
Основная погрешность, А |
Пределы допускаемой основной погрешности, ±А |
мВ |
мВ |
мВ | |||
200 мВ |
001,00 |
20 Гц |
0,10 | ||
200 Гц |
0,10 | ||||
20 кГц |
0,10 | ||||
40 кГц |
0,20 | ||||
100,00 |
20 Гц |
0,30 | |||
200 Гц |
0,30 | ||||
20 кГц |
0,30 | ||||
40 кГц |
0,40 | ||||
200,00 |
20 Гц |
0,50 | |||
200 Гц |
0,50 | ||||
20 кГц |
0,50 | ||||
40 кГц |
0,60 | ||||
В | |||||
2 В |
0,1000 |
20 Гц |
0,55 | ||
200 Гц |
0.55 | ||||
20 кГц |
0,55 | ||||
40 кГц |
2,2 | ||||
1,0000 |
20 Гц |
1,9 | |||
200 Гц |
1,9 | ||||
20 кГц |
1,9 | ||||
40 кГц |
4,0 | ||||
2,0000 |
20 Гц |
3,4 | |||
200 Гц |
3,4 | ||||
20 кГц |
3,4 | ||||
40 кГц |
6,0 | ||||
20 В |
01,000 |
20 Гц |
5.5 | ||
200 Гц |
5,5 | ||||
20 кГц |
5,5 | ||||
40 кГц |
22 | ||||
10,000 |
20 Гц |
19 | |||
200 Гц |
19 | ||||
20 кГц |
19 | ||||
40 кГц |
40 | ||||
20,000 |
20 Гц |
34 | |||
200 Гц |
34 | ||||
10 кГц |
34 | ||||
40 кГц |
60 |
(соотв., не соотв.) ____
Ж-—-ж .уЛу Отдел научно \г*\' ( / технической ,
! ’S [ информации |;
*А*\ Н нормативной I г j vA\ документации А Л
Продолжение таблицы А.4
Конечное значение диапазона измерений, Uk |
Поверяемая точка |
Частота, f |
Измеренное значение воспроизводимого напряжения, UH)M |
Основная погрешность, А |
Пределы допускаемой основной погрешности, ±д |
В |
В |
В | |||
200 В |
010,00 |
40 Гц |
0,12 | ||
1 кГц |
0,12 | ||||
100,00 |
40 Гц |
0,3 | |||
1 кГц |
0,3 | ||||
200,00 |
40 Гц |
0.5 | |||
1 кГц |
0,5 | ||||
600 В |
0100,0 |
40 Гц |
0,5 | ||
1 кГц |
0,5 | ||||
0300,0 |
40 Гц |
0,9 | |||
1 кГц |
0,9 | ||||
0600,0 |
40 Гц |
1,5 | |||
1 кГц |
1,5 |
(соотв., не соотв.)
А.4.4 Проверка максимального тока нагрузки и способность калибратора работать на емкостную нагрузку при воспроизведении напряжении переменного тока (5.4.4, 5.4.5)

Таблица А.5 - Определение основной погрешности воспроизведения напряжения переменного тока при максимальном токе нагрузки и емкости нагрузки
Конечное значение диапазона измерений, Uk |
Поверяемая точка |
Частота, f, Гц |
Нагрузка |
Измеренное значение воспроизводимого напряжения на выходе калибратора, Uhtm |
Основная погрешность, А |
Пределы допускаемой основной по грешности, ± А |
мВ |
мВ |
мВ | ||||
200 мВ |
200,0 |
1000 |
20 Ом 1000 пФ |
0,5 | ||
В | ||||||
2 В |
2,000 |
1000 |
200 Ом 1000 пФ |
3,4 | ||
20 В |
20,00 |
1000 |
2 кОм 1000 пФ |
34 | ||
В |
В | |||||
200 В |
200,0 |
1000 |
40 kQ 330 pF |
0,5 | ||
, 600 В |
600,0 |
1000 |
120 kQ 330 pF |
1,5 |

(соотв., не соот/

Отдел научно-
технической
информации
и нормативной
документации
А.4.5 Определение коэффициента гармоник напряжения переменного тока (5.4.6)
Таблица А.6
Диапазон |
Поверяемая точка |
Частота, f |
Измеренное значение коэффициента гармоник, % |
Предел допускаемого значения коэффициента гармоник, % |
200 мВ |
200,0 |
20 Гц |
0,25 | |
40 кГц |
0,25 | |||
2В |
2,000 |
20 Гц |
0,25 | |
40 кГц |
0,25 | |||
20 В |
20,00 |
20 Гц |
0,25 | |
40 кГц |
0,25 | |||
200 В |
200,0 |
40 Гц |
0,5 | |
1 кГц |
0,5 | |||
600 В |
600,0 |
40 Гц |
0,5 | |
1 кГц |
0,5 |
(соотв., не соотв.)
А.4.6 Определение основной погрешности воспроизведения силы постоянного тока (5.4.7)
Таблица А.7
Конечное значение диапазона измерений. 1к |
Поверяемая точка |
Измеренное значение воспроизводимого тока, 1Изм |
Основная погрешность, А |
Пределы допускаемой основной погрешности, ± А |
мкА |
мкА |
мкА | ||
200 мкА |
+ 001,00 |
0,04 | ||
-001,00 |
0,04 | |||
+ 050,00 |
0,09 | |||
- 050,00 |
0,09 | |||
+ 100,00 |
0,14 | |||
- 100,00 |
0,14 | |||
+ 150,00 |
0,19 | |||
- 150,00 |
0,19 | |||
+ 200,00 |
0,24 | |||
- 200,00 |
0,24 | |||
мА | ||||
2 мА |
+ 0,0010 |
0,2 | ||
- 0,0010 |
0,2 | |||
+ 0,5000 |
0,7 | |||
- 0,5000 |
0,7 | |||
+ 1.0000 |
1,2 | |||
- 1,0000 |
1,2 | |||
+ 1,5000 |
1,7 | |||
- 1,5000 |
1,7 | |||
+ 2,0000 |
2,2 | |||
- 2.0000 |
-------ZZr.c ----. |

цокументации
УШЯИ.4И 648.005 МП 39
Продолжение таблицы А.7
Конечное значение диапазона измерений, 1к |
Поверяемая точка |
Измеренное значение воспроизводимого тока, 1изм |
Основная погрешность, А |
Пределы допускаемой основной погрешности, ± А |
мА |
мкА |
мкА | ||
20 мА |
+ 00,010 |
2 | ||
-00,010 |
2 | |||
+ 5,0000 |
7 | |||
- 5,0000 |
7 | |||
+ 10,000 |
12 | |||
- 10,000 |
12 | |||
+ 15,000 |
17 | |||
- 15,000 |
17 | |||
+ 20,000 |
22 | |||
- 20,000 |
22 | |||
200 мА |
+ 001,00 |
20 | ||
-001,00 |
20 | |||
+ 050,00 |
70 | |||
-050,00 |
70 | |||
+ 100,00 |
120 | |||
- 100,00 |
120 | |||
+ 150,00 |
170 | |||
- 150,00 |
170 | |||
+ 200,00 |
220 | |||
- 200,00 |
220 | |||
А |
мА |
мА | ||
2 А |
+ 0,0010 |
- |
0,4 | |
-0,0010 |
0,4 | |||
+ 0,5000 |
0,9 | |||
-0,5000 |
0,9 | |||
+ 1,0000 |
1,4 | |||
- 1,0000 |
1,4 | |||
+ 1,5000 |
1,9 | |||
- 1,5000 |
1,9 | |||
+ 2,0000 |
2,4 | |||
- 2,0000 |
2,4 | |||
5 А |
+ 1,0000 |
2,0 | ||
-1,0000 |
2,0 | |||
+3,0000 |
4,0 | |||
-3,0000 |
4,0мА | |||
+5,0000 |
6,0 мА | |||
-5,0000 |
6,0 мА |

УШЯИ.411648.005 МП 40
А.4.7 Проверка максимального напряжения на нагрузке, определение напряжения шумов и пульсаций при максимальном напряжении на нагрузке (5.4.8)
Таблица А.8 - Определение основной погрешности воспроизведения силы постоянного тока при максимальном напряжении на нагрузке
Конечное значение диапазона измерений, 1к |
Поверяемая точка |
Измеренное значение напряжения на нагрузке, Uh3M |
Сопротивление нагрузки, R, Ом |
Измеренное значение воспроизводимого тока, 1изм |
Основная погрешность, А |
Предел допускаемой основной погрешности ,± А |
Н4-30ЦН4-301 /1) | ||||||
В |
Ом |
мА |
мкА |
мкА | ||
200 мА |
+ 200,00 |
15 |
220 | |||
- 200,00 |
15 |
220 | ||||
Н4-301 | ||||||
А |
мА |
мА | ||||
2 А |
+ 2,0000 |
1,5 |
2,4 | |||
- 2,0000 |
1,5 |
2,4 | ||||
5 А |
+5,0000 |
0,4 |
6,0 | |||
-5,0000 |
0,4 |
6,0 |
(соотв., не соотв.)
Таблица А.9 - Определение напряжения шумов и пульсаций при максимальном напряжении на нагрузке
Конечное значение диапазона измерений, 1к |
Поверяемая точка |
Сопротивление нагрузки, R, Ом |
Измеренное значение напряжения шумов и пульсаций, UinM. мВ |
Допускаемое значение напряжения шумов и пульсаций, мВ |
Н4-301(Н4-301/1) | ||||
200 мА |
+ 200,00 |
15 |
10 | |
- 200,00 |
15 |
10 | ||
Н4-301 | ||||
2 А |
+ 2,0000 |
1,5 |
10 | |
- 2,0000 |
1,5 |
10 | ||
5 А |
+ 5,0000 |
0,4 |
10 | |
- 5,0000 |
0,4 |
10 |

У ШЯИ.411648.005 МП 41
А.4.8 Определение основной погрешности воспроизведения силы переменного тока (5.4.9)
Таблица А. 10 - Определение основной погрешности воспроизведения силы переменного тока на диапазонах 200 мкА, 2, 20, 200 мА, 2, 5 А
Конечное значение диапазона измерений, 1к |
1 Сверяемая точка |
Частота, f |
Измеренное значение воспроизводимого тока, 1изм |
Основная погрешность. Д |
Пределы допускаемой основной погрешности, ±Д |
мкА |
мкА |
мкА | |||
200 мкА |
010,0 |
20 Гц |
~г |
0,12 | |
300 Гц |
0,12 | ||||
1000 Гц |
0,12 | ||||
100,0 |
20 Гц |
0,25 | |||
300 Гц |
0,25 | ||||
1000 Гц |
0,25 | ||||
200,0 |
20 Гц |
0,4 | |||
300 Гц |
0,4 | ||||
1000 Гц |
0,4 | ||||
мА | |||||
2 мА |
0,100 |
20 Гц |
1,2 | ||
300 Гц |
1,2 | ||||
1000 Гц |
1,2 | ||||
1,000 |
20 Гц |
2,5 | |||
300 Гц |
2,5 | ||||
1000 Гц |
2,5 | ||||
2,000 |
20 Гц |
4 | |||
300 Гц |
4 | ||||
1000 Гц |
4 | ||||
20 мА |
01,00 |
20 Гц |
12 | ||
300 Гц |
12 | ||||
1000 Гц |
12 | ||||
10,00 |
20 Гц |
25 | |||
300 Гц |
25 | ||||
1000 Гц |
25 | ||||
20,00 |
20 Гц |
40 | |||
300 Гц |
40 | ||||
1000 Гц |
40 | ||||
200 мА |
010,0 |
20 Гц |
120 | ||
300 Гц |
120 | ||||
1000 Гц |
120 | ||||
100,0 |
20 Гц |
250 | |||
300 Гц |
250 | ||||
1000 Гц |
250 | ||||
200,0 |
20 Гц |
400 | |||
300 Гц |
40£^. | ||||
1000 Гц |

(соотв.,

УШЯИ.411648.005 МП 42
Продолжение таблицы А. 10
Конечное значение диапазона измерений 1к |
Поверяемая точка |
Частота, f |
Измеренное значение воспроизводимого тока, 11ПМ |
Основная погрешность, А |
Пределы допускаемой основной погрешности, ± А |
Н4-301 |
H4-30I | ||||
А |
мА |
мА | |||
2 А |
0,100 |
20 Гц |
1,2 | ||
300 Гц |
1,2 | ||||
1000 Гц |
1,2 | ||||
1,000 |
20 Гц |
2,5 | |||
300 Гц |
2,5 | ||||
1000 Гц |
2,5 | ||||
2,000 |
20 Гц |
4 | |||
300 Гц |
4 | ||||
1000 Гц |
4 | ||||
5 А |
1,000 |
20 Гц |
4 | ||
300 Гц |
4 | ||||
1000 Гц |
4 | ||||
3,000 |
20 Гц |
7 | |||
300 Гц |
7 | ||||
1000 Гц |
7 | ||||
| |
5,000 |
20 Гц |
10 | ||
300 Гц |
10 | ||||
1000 Гц |
10 |
(соотв., не соотв.)

Отдел научно-технически
А.4.9 Проверка максимального напряжения на нагрузке, определение коэффициента гармоник при воспроизведении силы переменного тока (5.4.10)
Таблица А. 11 - Проверка максимального напряжения на нагрузке на диапазонах 200 мА для Н4-301, Н4-301/1, 2 и 5 А для Н4-301 при воспроизведении силы переменного тока
Конечное значение диапазона измерений, 1к |
Поверяемая точка |
Частота, f |
Сопротивление нагрузки, R |
Показание вольтметра 137-72 на нагрузке, и |
Измеренное значение воспроизводимого тока, 1изм |
Основная погрешность, Д |
Пределы допускаемой основной погрешности, ± Д |
Н4-301(Н4-301/1) | |||||||
Гц |
Ом |
В |
мА |
мкА |
мкА | ||
200 мА |
200,0 |
20 |
15 |
400 мкА | |||
300 |
15 |
400 мкА | |||||
1000 |
15 |
400 мкА | |||||
Н4-301 | |||||||
А |
мА |
мА | |||||
2 А |
2,000 |
20 |
1.5 |
4 мА | |||
300 |
1.5 |
4 мА | |||||
1000 |
1.5 |
4 мА | |||||
5 А |
5,000 |
20 |
0.4 |
10 мА | |||
300 |
0.4 |
10 мА | |||||
1000 |
0.4 |
10 мА |
(соотв., не соотв.)
Таблица А. 12 - Определение коэффициента гармоник силы переменного тока
Конечное значение диапазона измерений, 1к |
Поверяемая точка |
Частота, f |
Сопротивление нагрузки, R |
Измеренное значение коэффициента гармоник, % |
Допускаемое значение коэффициента гармоник, не более, % |
Гц |
Ом |
Н4-301( Н4-301/)! | |||
200 мА |
200,0 |
20 |
15 |
0,25 | |
300 |
15 |
0,25 | |||
1000 |
15 |
0,25 | |||
Н4-301 | |||||
2 А |
2,000 |
20 |
1.5 |
0,25 | |
300 |
1.5 |
0,25 | |||
1000 |
1.5 |
0,25 | |||
5 А |
5,000 |
20 |
0.4 |
1,0 | |
300 |
0.4 |
1,0 | |||
1000 |
0.4 |
1,0 |
(соотв., не соотв.)
А.4.10 Проверка диапазона и определение иогрешности установки частоты воспроизводимых переменных напряжений (5.4.11)
Таблица А. 13
Поверяемая точка |
Измеренное значение частоты, f, Гц |
Погрешность установки частоты, % |
Предел допускаемой погрешности установки частоты, % |
Н4-301 (Н4-301 /1) |
Н4-30ЦН4-301 /1) | ||
20 Гц |
1 | ||
1000 Гц |
1 | ||
1001 Гц |
1 | ||
20 кГц |
1 | ||
40 кГц |
1 |
(соотв., не соотв.)
Результаты поверки ______________
Поверитель
Дата поверки

УШЯИ.411648.005 МП 45
^.5венньи^^.
\\

Лист регистрации изменений
Изм |
Номера листов (страниц) |
Всего листов (страниц) в докум. |
№ док. |
Входящий № сопроводит, докум.и дата |
Подл |
Дата | |||
измененных |
замененных |
новых |
аннулированных | ||||||
//£/ КХНИ"'**0"
•\s' нор"1'’1*" ?