Руководство по эксплуатации «Мультиметр "Ресурс-ПЭ"» (ЭГТХ.426481.018 РЭ)
422252

2012
-
3 Порядок работы с мультиметром
-
3.7 Работа мультиметра в режиме измерений параметров тока по измерительному входу канала 1 «I1»
-
3.8 Работа мультиметра в режиме измерений параметров тока по измерительному входу канала 2 «I2»
-
3.11 Работа мультиметра в режиме измерений нагрузки вторичных цепей трансформаторов напряжения «ТН»
-
3.12 Работа мультиметра в режиме измерений нагрузки вторичных цепей трансформаторов тока «ТТ»
-
3.13 Работа мультиметра в режиме измерений потерь напряжения на линии связи «илс»
-
3.14 Работа мультиметра в режимах измерений активной, реактивной и полной мощности «PQW1» и «PQW2»
Приложение А Габаритные и установочные размеры
Приложение Б Расположение соединителей измерительных входов
Приложение В Схемы подключений
Приложение Г Условные обозначения
Приложение Д Структура меню мультиметра
Документ содержит сведения о характеристиках мультиметра, конструкции, принципе работы, а также указания, необходимые для правильной и безопасной эксплуатации мультиметра, наиболее полного использования технических возможностей и оценке технического состояния мультиметра при определении необходимости отправки в ремонт.
К эксплуатации мультиметра допускаются лица, прошедшие инструктаж по технике безопасности и имеющие группу по электробезопасности не ниже III, допущенные к работе в действующих электроустановках.
При изучении, эксплуатации и техническом обслуживании мультиметра необходимо дополнительно руководствоваться паспортом ЭГТХ.426481.018 ПС.
Предложения и замечания по работе мультиметра, содержанию и оформлению эксплуатационной документации просьба направлять по адресу:
440000, Россия, г. Пенза, ул. Лермонтова, 3.
Телефон/факс (8412) 55-31-29, 56-42-76, 56-29-87.
Адрес в Интернете: http://www.entp.ru, e-mail: info@entp.ru.
1 Описание работы мультиметра 1.1 Назначение мультиметраМультиметр «Ресурс-ПЭ» измеряет параметры напряжения, тока, мощности и предназначен для применения при определении метрологических характеристик трансформаторов тока (ТТ) и трансформаторов напряжения (ТН), проведения ревизии их вторичных цепей без разрыва измерительной цепи.
Область применения: измерение параметров напряжения, тока и мощности на предприятиях промышленности, коммунального хозяйства и в энергосистемах, определение метрологических характеристик и проверка трансформаторов тока и напряжения, в том числе на месте эксплуатации.
Мультиметр является малогабаритным носимым средством измерений и имеет габаритные размеры (240 х 130 х 55) мм.
Электрическое питание мультиметра осуществляется от двух встраиваемых источников постоянного тока (гальванических элементов или аккумуляторов), обеспечивающих при полной зарядке продолжительность непрерывной работы мультиметра в течение не менее 8 часов.
Мультиметр «Ресурс-ПЭ» соответствует требованиям технических условий ТУ 4222-018-53718944-2006.
Мультиметр имеет несколько модификаций, отличающихся наличием в комплектности токоизмерительных клещей.
Мультиметры в зависимости от модификации имеют следующее обозначение:
Ресурс - ПЭ - Х - Х
Тип мультиметра_______________________________________
Номинальный первичный ток токоизмерительных клещей, в амперах, подключаемых ко второму измерительному входу мультиметра:
5 - при комплектации мультиметра токоизмерительными клещами типа КП15-5;
1000 - при комплектации мультиметра токоизмерительными клещами типа КП52-1000;
-
- отсутствие символа в данной позиции означает
отсутствие в комплектации токоизмерительных клещей_____________
Номинальный первичный ток токоизмерительных клещей, в амперах, подключаемых к первому измерительному входу мультиметра:
5 - при комплектации мультиметра токоизмерительными клещами типа КП15-5;
1000 - при комплектации мультиметра токоизмерительными клещами типа КП52-1000;
-
- отсутствие символа в данной позиции означает отсутствие в комплектации токоизмерительных клещей
-
1.2.1 Измерительные входы
-
1.2.1.1 Мультиметр имеет два измерительных входа. Каждый измерительный вход предназначен для измерений параметров напряжения и тока.
-
-
1.2.1.3 При измерении параметров напряжения применяют соединительные кабели из комплекта поставки и зажимы типа «крокодил» или клеммы типа «U».
-
1.2.1.4 При измерении параметров тока применяют токоизмерительные клещи (разъёмные трансформаторы тока). В таблице 1.1 приведены наименование токоизмерительных клещей и их основные технические характеристики.
Таблица 1.1
Наименование |
Диаметр измерительного окна, мм |
Номинальный первичный ток, А |
КП15-5 |
15 |
5 |
КП52-1000 |
52 |
1000 |
-
1.2.1.5 Измерительные входы гальванически изолированы друг от друга.
-
1.2.1.6 Входное сопротивление мультиметра по измерительным входам не менее 1 МОм.
-
1.2.1.7 Амплитудные значения напряжения не должны превышать
300 • Vi в.
-
1.2.1.8 Амплитудные значения силы тока не должны превышать
3 • 1ном ^/2 А при использовании КП15-5 и 1,5 • 1ном ^/2 А при использовании КП52-1000.
-
1.2.2 Режимы работы
Мультиметр работает в следующих режимах:
-
1.2.2.1 Измерение параметров напряжения по измерительному входу канала 1 (режим «U1»), по измерительному входу канала 2 (режим «U2») или по измерительным входам каналов 1 и 2 (режим «U1-2»).
-
1.2.2.2 Сравнение параметров напряжения, измеренных по измерительным входам каналов 1 и 2 (режим «ТНср»), выполнение функций устройства сравнения при проверке ТН.
-
1.2.2.3 Измерение параметров тока по измерительному входу канала 1 (режим «I1»), по измерительному входу канала 2 (режим «I2») или по измерительным входам каналов 1 и 2 (режим «I1-2»).
-
1.2.2.4 Сравнение параметров тока, измеренных по измерительным входам каналов 1 и 2 (режим «ТТср»), выполнение функций устройства сравнения при проверке ТТ.
-
1.2.2.5 Измерение нагрузки вторичных цепей ТН (режим «ТН»).
-
1.2.2.6 Измерение нагрузки вторичных цепей ТТ (режим «ТТ»).
-
1.2.3 Измеряемые характеристики
Номенклатура измеряемых мультиметром характеристик определяется режимом его работы.
-
1.2.3.1 В режимах «U1» и «U2» мультиметр измеряет по соответствующему измерительному входу:
-
- среднеквадратическое значение напряжения;
-
- среднеквадратическое значение напряжения основной частоты;
-
- отклонение среднеквадратического значения напряжения основной частоты от номинального значения напряжения;
-
- коэффициент искажения синусоидальности напряжения;
-
- коэффициент n-ой гармонической составляющей (далее - гармоники) напряжения (подпункт 3.3.5.7 рисунок 3.6).
Примечание - n - номер гармонической составляющей (n изменяется от 2 до 40).
-
1.2.3.2 В режиме «U1-2» мультиметр измеряет:
-
- среднеквадратическое значение напряжения по каждому измерительному входу;
-
- среднеквадратическое значение напряжения основной частоты по каждому измерительному входу;
-
- отклонение среднеквадратического значения напряжения основной частоты по каждому измерительному входу от номинального значения напряжения;
-
- коэффициент искажения синусоидальности напряжения по каждому измерительному входу;
-
- коэффициент n-ой гармоники напряжения по каждому измерительному входу (подпункт 3.5.5.7 рисунок 3.10);
-
- угол фазового сдвига между напряжениями основной частоты по измерительным входам каналов 1 и 2;
-
- угол фазового сдвига между n-ми гармониками напряжения по измерительным входам канала 1 и 2 (подпункт 3.5.5.7 рисунок 3.10).
-
1.2.3.3 В режиме «ТНср» мультиметр измеряет:
-
- среднеквадратическое значение напряжения по каждому измерительному входу;
-
- среднеквадратическое значение напряжения основной частоты по каждому измерительному входу;
-
- коэффициент искажения синусоидальности напряжения по каждому измерительному входу;
-
- коэффициент n-ой гармоники напряжения по каждому измерительному входу (подпункт 3.6.5.7 рисунок 3.10);
- угол фазового сдвига между n -ми гармониками напряжения по измерительным входам каналов 1 и 2 (подпункт 3.6.5.7 рисунок 3.10);
- отклонение среднеквадратического значения напряжения основной частоты по измерительному входу канала 2 от соответствующего значения напряжения по измерительному входу канала 1;
- угол фазового сдвига между напряжениями основной частоты по измерительным входам каналов 1 и 2.
-
1.2.3.4 В режимах «I1» и «I2» мультиметр измеряет по соответствующему измерительному входу:
- среднеквадратическое значение силы тока;
- среднеквадратическое значение силы тока основной частоты;
- коэффициент загрузки по току;
- коэффициент искажения синусоидальности тока;
- коэффициент n - ой гармоники тока (подпункт 3.7.5.7 рисунок 3.19).
-
1.2.3.5 В режиме «I1-2» мультиметр измеряет:
- среднеквадратическое значение силы тока по каждому измерительному входу;
- среднеквадратическое значение силы тока основной частоты по каждому измерительному входу;
- коэффициент загрузки по току для каждого измерительного входа;
- коэффициент искажения синусоидальности тока по каждому измерительному входу;
- коэффициент n - ой гармоники тока по каждому измерительному входу (подпункт 3.9.5.7 рисунок 3.23);
- угол фазового сдвига между токами основной частоты по измерительным входам каналов 1 и 2;
- угол фазового сдвига между n- ми гармониками тока по измерительным входам каналов 1 и 2 (подпункт 3.9.5.7 рисунок 3.23).
-
1.2.3.6 В режиме «ТТср» мультиметр измеряет:
- среднеквадратическое значение силы тока по каждому измерительному входу;
- среднеквадратическое значение силы тока основной частоты по каждому измерительному входу;
- коэффициент искажения синусоидальности тока по каждому измерительному входу;
- коэффициент n - ой гармоники тока по каждому измерительному входу (подпункт 3.10.5.7 рисунок 3.27);
- угол фазового сдвига между n- ми гармониками тока по измерительным входам каналов 1 и 2 (подпункт 3.10.5.7 рисунок 3.27);
- отклонение среднеквадратического значения силы тока основной частоты по измерительному входу канала 2 от соответствующего значения силы тока по измерительному входу канала 1;
- угол фазового сдвига между токами основной частоты по измерительным входам каналов 1 и 2.
- отклонение среднеквадратического значения напряжения основной частоты по измерительному входу канала 1 от номинального значения напряжения;
- коэффициент искажения синусоидальности напряжения по измерительному входу канала 1;
-
- коэффициент n-ой гармоники напряжения по измерительному входу канала 1 (подпункт 3.11.5.7 рисунок 3.32);
-
- среднеквадратическое значение силы тока основной частоты по измерительному входу канала 2;
-
- коэффициент искажения синусоидальности тока по измерительному входу канала 2;
-
- коэффициент n-ой гармоники тока по измерительному входу канала 2 (подпункт 3.11.5.7 рисунок 3.32);
-
- угол фазового сдвига между n-ми гармониками тока по измерительному входу канала 2 и напряжения по измерительному входу канала 1 (подпункт 3.11.5.7 рисунок 3.32);
-
- полную мощность нагрузки ТН;
-
- значение нагрузки ТН в процентном отношении от номинального значения полной мощности ТН;
-
- угол фазового сдвига между током основной частоты по измерительному входу канала 2 и напряжением основной частоты по измерительному входу канала 1;
-
- коэффициент мощности нагрузки ТН.
-
1.2.3.8 В режиме «ТТ» мультиметр измеряет:
-
- среднеквадратическое значение напряжения по измерительному входу канала 1;
-
- коэффициент искажения синусоидальности напряжения по измерительному входу канала 1;
-
- коэффициент n-ой гармоники напряжения по измерительному входу канала 1;
-
- среднеквадратическое значение силы тока основной частоты по измерительному входу канала 2;
-
- коэффициент загрузки по току для измерительного входа канала 2;
-
- коэффициент искажения синусоидальности тока по измерительному входу канала 2;
-
- коэффициент n-ой гармоники тока по измерительному входу канала 2 (подпункт 3.12.5.7 рисунок 3.36);
-
- угол фазового сдвига между n-ми гармониками тока по измерительному входу канала 2 и напряжения по измерительному входу канала 1 (подпункт 3.12.5.7 рисунок 3.36);
-
- полную мощность нагрузки ТТ;
- значение нагрузки ТТ в процентном отношении от номинального значения полной мощности ТТ;
- угол фазового сдвига между током основной частоты по измерительному входу канала 2 и напряжением основной частоты по измерительному входу канала 1;
- коэффициент мощности нагрузки ТТ.
-
1.2.3.9 В режиме «илс» мультиметр измеряет:
-
- среднеквадратическое значение напряжения основной частоты по измерительному входу канала 1;
-
- отклонение среднеквадратического значения напряжения основной частоты по измерительному входу канала 1 от среднеквадратического значения напряжения, принятого по радиоканалу от другого мультиметра;
-
- среднеквадратическое значение силы тока основной частоты по измерительному входу канала 2;
-
- угол фазового сдвига между током основной частоты по измерительному входу канала 2 и напряжением основной частоты по измерительному входу канала 1;
-
- угол фазового сдвига между напряжением основной частоты по измерительному входу канала 1 одного мультиметра и среднеквадратическим значением напряжения по измерительному входу канала 1, принятым по радиоканалу от другого мультиметра.
-
1.2.3.10 В режиме «PQW1» и «PQW2» мультиметр измеряет:
-
- среднеквадратическое значение напряжения по измерительному входу канала 1 в режиме «PQW1» (по измерительному входу канала 2 в режиме «PQW2»);
-
- среднеквадратическое значение напряжения основной частоты по измерительному входу канала 1 в режиме «PQW1» (по измерительному входу канала 2 в режиме «PQW2»);
-
- коэффициент искажения синусоидальности напряжения по измерительному входу канала 1 в режиме «PQW1» (по измерительному входу канала 2 в режиме «PQW2»);
-
- коэффициент n-ой гармоники напряжения по измерительному входу канала 1 в режиме «PQW1» (по измерительному входу канала 2 в режиме «PQW2») (подпункт 3.14.5.7 рисунок 3.44);
-
- среднеквадратическое значение силы тока основной частоты по измерительному входу канала 2 в режиме «PQW1» (по измерительному входу канала 1 в режиме «PQW2»);
-
- среднеквадратическое значение силы тока по измерительному входу канала 2 в режиме «PQW1» (по измерительному входу канала 1 в режиме «PQW2»);
-
- коэффициент искажения синусоидальности тока по измерительному входу канала 2 в режиме «PQW1» (по измерительному входу канала 1 в режиме «PQW2»);
- коэффициент n - ой гармоники тока по измерительному входу канала 2 в режиме «PQW1» (по измерительному входу канала 1 в режиме «PQW2») (подпункт 3.14.5.7 рисунок 3.44);
-
- угол фазового сдвига между л-ми гармониками тока по измерительному
входу канала 2 и напряжения по измерительному входу канала 1 в режиме «PQW1» (угол фазового сдвига между л-ми гармониками тока по
измерительному входу канала 1 и напряжения по измерительному входу канала 2 в режиме «PQW2») (подпункт 3.14.5.7 рисунок 3.44);
-
- активную, реактивную и полную мощность;
-
- активную, реактивную и полную мощность по первой гармонике;
-
- коэффициент мощности;
-
- угол фазового сдвига между током по измерительному входу канала 2 и напряжения по измерительному входу канала 1 в режиме «PQW1» (угол фазового сдвига между током по измерительному входу канала 1 и напряжением по измерительному входу канала 2 в режиме «PQW2»);
-
- активную и реактивную энергию.
-
1.2.4 Метрологические характеристики
-
1.2.4.1 Диапазоны измерений и пределы допускаемых основных погрешностей приведены в таблице 1.2.
-
Номинальное значение измеряемой силы тока 1ном определяется типом применяемых токоизмерительных клещей и составляет:
-
- 5 А при применении КП15-5;
-
- 1000 А при применении КП52-1000.
-
1.2.4.2 Пределы допускаемой дополнительной температурной погрешности при измерении параметров 1, 2, 5, 10 - 12, 14, 16 таблицы 1.2 составляют 1/3 пределов допускаемой основной погрешности на каждые 10 °С изменения температуры окружающей среды от нормальной.
-
1.2.4.3 Нестабильность измерений среднеквадратического значения напряжения и среднеквадратического значения напряжения основной частоты в рабочих условиях применения мультиметра не более ± 0,04 % за 15 мин при изменении температуры окружающего воздуха не более 20 °С.
Таблица 1.2
Измеряемый параметр |
Диапазон измерений |
Пределы допускаемой основной погрешности: абсолютной А; относительной 5,%; приведённой у, % |
Примечание |
Измерение ха |
рактеристик нап |
ряжения, тока, мощности | |
1 Среднеквадратическое значение:
U(1), В |
от 0,015 до 300 |
± 0,2 (5) |
15 В < U <300 В |
± 1 (5) |
0,15 В < U < 15 В | ||
± 2 (5) |
0,015 В < U < 0,15 В | ||
2 Отклонение напряжения от номинального значения 6U, % |
от - 20 до 20 |
± 0,2 (А) |
15 В < ином < 250 В ином - номинальное значение напряжения |
3 Коэффициент искажения синусоидальности напряжения Ки, % |
от 0,2 до 30 |
± 0,1 (А) |
К и < 1 % 15 В < U <300 В |
± 10 (5) |
К и > 1 % 15 В < и < 300 В и < 300^/2 В | ||
4 Угол фазового сдвига между напряжениями основной частоты фи |
от - 180° до 180° |
± 0,1°(А) |
15 В < U < 300 В |
5 Среднеквадратическое значение:
I(1), А |
от 0,002-1ном до 1,5^/ном |
± 0,3 (5) |
0,051ном < I < 1,51ном |
± 1 (5) |
0,01/ном < I < 0,05/ном | ||
± 4 (5) |
0,002"1ном < I < 0,01/™ | ||
6 Коэффициент искажения синусоидальности тока К/, % |
от 0,5 до 100 |
± 0,1 (А) |
Ki < 1 % 0,05/ном < I < 1,5•/ном |
± 10 (5) |
K > 1 % 0,05•/ном < I < 1,5•/ном | ||
7 Угол фазового сдвига между токами основной частоты ф/ |
от - 180° до 180° |
± 0,5° (А) |
0,01 •/ном < I < 1,5•/ном |
8 Угол фазового сдвига между напряжением и током основной частоты фи/ |
от - 180° до 180° |
± 0,5° (А) |
0,05 •/ном < I < 1,5 •/ном 1,5 В < и < 300 В |
± 1° (А) |
0,01 •/ном < I < 0,05•/ном 1,5 В< и < 300 В | ||
9 Частота f, Гц |
от 46 до 54 |
± 0,02 (А) |
15 В < и < 300 В 0,05•/ном < I < 1,5•/ном |
10 Активная мощность (прямое и обратное направление) Р, Вт |
- |
± 0,5 (Y)1) |
0,05•/ном < I < 1,5•/ном 15 В < и < 300 В |
± 2 (Y)1) |
0,01 •/ном < I < 0,05 •/ном 15 В < и < 300 В | ||
11 Реактивная мощность (емкостной и индуктивный характер)Q, вар |
- |
± 0,5 (Y)1) |
0,05•/ном < I < 1,5•/ном 15 В < и < 300 В |
± 2 (Y)1) |
0,01 •/ном < I < 0,05 •/ном 15 В < и < 300 В |
Продолжение таблицы 1.2
Измеряемый параметр |
Диапазон измерений |
Пределы допускаемой основной погрешности: абсолютной А; относительной 5,%; приведённой у, % |
Примечание | |
12 Полная мощность S, В^А |
- |
± 0,5 (5) |
0,051ном <I< 1,51ном 15 В < U < 300 В | |
± 2 (5) |
0,011ном < I < 0,05 ^1ном 15 В < U < 300 В | |||
13 Коэффициент мощности КМ |
от - 1 до 1 |
± 0,01 (А) |
0,051ном <1< 1,5 «/ном 15 В < U < 300 В | |
± 0,02 (А) |
0,01 •/ном < I < 0,05 •/ном 15 В < U < 300 В | |||
Измерение мощности нагрузки трансформаторов напряжения2) | ||||
14 Полная мощность S, В •А |
от 0,15 до 2250 |
± 0,5 (5) |
0,25 А < I < 7,5 А 15 В < U < 300 В | |
± 2 (5) |
0,05 А < I < 0,25 А 15 В < U < 300 В | |||
± 4 (5) |
0,01 А < I < 0,05 А 15 В < U < 300 В | |||
15 Коэффициент мощности КМ |
0,5 <|Км|< 1 |
± 0,01 (А) |
0,05 А < I < 7,5 А 15 В < U < 300 В | |
± 0,02 (А) |
0,01 А < I < 0,05 А 15 В < U < 300 В | |||
Измерение нагрузки трансформаторов тока2) | ||||
16 Полная мощность S, В^А |
от 3,7540-3 до 2250 |
± 1 (5) |
0,25 А < I < 7,5 А 1,5 В < U < 15 В | |
± 2 (5) |
0,25 А < I < 7,5 А 0,15 В < U < 1,5 В | |||
± 4 (5) |
0,25 А < I < 7,5 А 0,015 В < U< 0,15 В | |||
17 Коэффициент мощности КМ |
0,5 <|Км|< 1 |
± 0,02 (А) |
0,25 А < I < 7,5 А 0,015 В < U <15 В | |
Проверка трансформаторов напряжения3-* | ||||
18 Погрешность напряжения 6U1-2, % |
от - 5 до 5 |
± 0,03 (А) |
| 6U1.2 | < 45 В < U < |
1 % L20 В |
± 0,05 (А) |
1 % <| 6U1-2 45 В < U < |
< 5 % 20 В | ||
19 Угловая погрешность фи1-2 |
от - 5° до 5° |
± 0,05° (А) |
| 6U1.2 | < 45 В < U < |
1 % L20 В |
± 0,1° (А) |
1 % <| 6U1-2 45 В < U < 1 |
< 5 % 20 В |
Продолжение таблицы 1.2
Измеряемый параметр |
Диапазон измерений |
Пределы допускаемой основной погрешности: абсолютной А; относительной 5,%; приведённой у, % |
Примечание |
Проверка трансформаторов тока2) 3) | |||
20 Токовая погрешность 6/1-2, % |
от - 5 до 5 |
± 0,05 (А) |
| 6I12 | < 1 % 0,25 А < I < 7,5 А |
± 0,1 (А) |
1 % <| 6I12 |< 5 % 0,25 А < I < 7,5 А | ||
21 Угловая погрешность ф11-2
|
от - 5° до 5° вной мощности тносительной п сти делится на огрешности из ся на коэффици тельны при испо тельны в течени |
± 0,1° (А) |
| 6I12 | < 1 % 0,25 А < I < 7,5 А |
± 0,2° (А) нормируется погре огрешности измерен оэффициент активн мерений реактивно нт реактивной мощн льзовании КП15-5. е 60 мин после совм |
1 % <| 6I12 |< 5 % 0,25 А < I < 7,5 А шность, приведённая к ий активной мощности ой мощности КМ = P/S. мощности значение гости Kq = Q/S. естной калибровки. |
-
1.2.5 Интервалы измерений
Интервал времени усреднения всех параметров составляет 0,5 с.
Мультиметр производит дополнительное усреднение результатов измерений. Количество результатов измерений Nep, используемых для дополнительного усреднения, задается пользователем в диапазоне от 1 до 60 значений. По умолчанию устанавливается усреднение четырех результатов измерений.
Период обновления информации на индикаторе мультиметра определяется выбранным значением количества результатов измерений.
-
1.2.6 Представление результатов измерений
Вывод результатов измерений производится на индикатор мультиметра по запросу с клавиатуры при проведении измерений и при просмотре архивных данных. При этом отображается условное обозначение измеряемого параметра и результат измерений.
Список измеряемых и отображаемых параметров определяется режимом работы мультиметра и может быть изменен пользователем. Включение и исключение параметров из списка отображаемых на индикаторе производится отдельно для каждого режима работы.
Мультиметр предоставляет возможность просмотра на индикаторе сохраненных результатов измерений.
Результаты измерений выражаются в единицах измерений,
установленных в ГОСТ 8.417-2002.
-
1.2.7 Обработка и хранение результатов измерений
В мультиметре предусмотрена возможность сохранения значений измеряемых параметров в энергонезависимой памяти. Архивирование результатов измерений производится по команде «Запись» и только при работе мультиметра в режиме «Пуск».
Список архивируемых параметров определяется режимом работы мультиметра и может быть изменен пользователем. Включение и исключение параметров из списка отображаемых на индикаторе производится отдельно для каждого режима работы.
Каждая архивная запись содержит следующие данные:
-
- дата и время измерений;
-
- режим работы мультиметра;
-
- список измеряемых параметров;
-
- значения результатов измерений;
-
- параметры идентификации объекта измерений: номер секции и номер ячейки.
-
1.2.8 Функциональные возможности мультиметра
При включении электропитания мультиметр автоматически проверяет основные узлы и начинает работать при успешном завершении теста.
В процессе работы на индикаторе мультиметра графически отображается информация об уровне заряда встраиваемых источников постоянного тока.
Мультиметр обеспечивает выбор режима работы и настройку необходимых параметров до запуска измерений.
Таймер мультиметра получает питание от дополнительной батарейки и обеспечивает ведение календаря (день, месяц, год) и отсчет реального времени (часы, минуты, секунды).
Мультиметр сохраняет настройки всех режимов работы и обеспечивает непрерывный отсчет времени при выключении питания. При включении питания мультиметр обеспечивает восстановление сохраненного при выключении режима работы.
Мультиметр обеспечивает как автономную работу, так и работу с другим аналогичным мультиметром при измерении потерь напряжения на линии связи. При этом обеспечивается обмен результатами измерений с использованием радиоканала.
Мультиметр обеспечивает передачу данных по интерфейсу IrDA.
-
1.2.9 Технические характеристики
Нормальные условия применения мультиметра:
- температура окружающего воздуха (20 ± 10) ° С ;
- относительная влажность воздуха от 30 до 80 %;
- атмосферное давление от 84 до 106 кПа (от 630 до 795 мм рт.ст.).
Рабочие условия применения мультиметра в части климатических воздействий соответствуют группе 4 по ГОСТ 22261-94:
-
- температура окружающего воздуха от минус 20 до плюс 55°С;
-
- относительная влажность воздуха 90 % при температуре окружающего воздуха плюс 30°С;
-
- атмосферное давление от 70 до 106,7 кПа (от 537 до 800 мм рт. ст.).
Электропитание мультиметра осуществляется от двух встраиваемых источников постоянного тока типоразмера АА (HR6) напряжением от 1,2 до
-
1,5 В.
Сила потребляемого тока мультиметра не более 0,3 А в режиме просмотра данных и не более 0,4 А в режиме измерений.
Время установления рабочего режима не более 30 с.
Продолжительность непрерывной работы мультиметра при полном заряде встраиваемых источников постоянного тока не менее 8 ч.
Корпус мультиметра выполнен из ABS пластика.
Измерительные входы каналов выполнены в виде гнезд для штекерного подключения соединительных кабелей.
При измерении параметров напряжения подключение к контролируемому напряжению производится с помощью соединительных кабелей из комплекта поставки и зажимов типа «крокодил» или клеммы типа «U».
Измерение параметров тока производится с помощью токоизмерительных клещей, обеспечивающих измерение параметров тока без разрыва цепи на кабеле.
Габаритные размеры и масса мультиметра и токоизмерительных клещей приведены в таблице 1.3.
Таблица 1.3
Наименование |
Размеры, мм, не более (высота х ширина х глубина) |
Масса, кг, не более (1 шт.) |
Мультиметр «Ресурс-ПЭ» |
240 х 130 х 55 |
0,8 |
КП15-5 |
140 х 50 х 30 |
0,4 |
КП52-1000 |
220 х 120 х 50 |
0,9 |
-
1.2.10 Показатели электромагнитной совместимости
По электромагнитной совместимости в части помехоэмисии мультиметр соответствует требованиям ГОСТ Р 51522-99 для оборудования класса А, а в части помехоустойчивости - требованиям ГОСТ Р 51522-99 для переносного испытательного и измерительного оборудования.
ВНИМАНИЕ! Настоящий мультиметр удовлетворяет нормам индустриальных радиопомех, установленным для оборудования класса А по ГОСТ Р 51318.22-99 (СИСПР 22-97), и не должно применяться в жилых, коммерческих зонах и производственных зонах с малым энергопотреблением и подключаться к низковольтным распределительным электрическим сетям.
-
1.2.11 Показатели надежности
Средняя наработка на отказ 45000 ч.
Средний срок службы 10 лет.
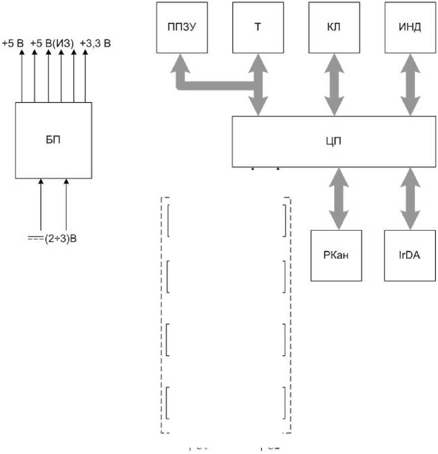
1.3 Устройство и работаСтруктурная схема мультиметра представлена на рисунке 1.1.
Все модули мультиметра размещены на одной печатной плате, установленной в неметаллическом корпусе.
Измерительный блок состоит из двух идентичных каналов, в каждом из которых имеются входной делитель напряжения, буферный усилитель, аналогоцифровой преобразователь с последовательным синхронным интерфейсом, источник опорного напряжения. Измерительные каналы гальванически изолированы друг от друга и от основной схемы.
Работой всех модулей мультиметра управляет центральный процессор.
В мультиметре используется графический индикатор с разрешением (64 х 128) точек.
Таймер реального времени является энергонезависимым и используется для реализации функции часов, ведения календаря и привязки результатов измерений ко времени.
Источник питания мультиметра работает от двух гальванических элементов типоразмера АА (IIIR6) и содержит несколько преобразователей постоянного напряжения. Небольшая сила потребляемого тока мультиметра гарантирует работу от одного комплекта аккумуляторов из комплекта поставки в течение 8 ч.
Радиоканал реализован на радиочастотном преобразователе, антенна которого расположена внутри корпуса мультиметра. Радиоканал используется для синхронизации времени и взаимной калибровки при совместной работе двух мультиметров.
Инфракрасный порт обеспечивает обмен информацией между мультиметром и внешним устройством.

< ь |
J к | ||||
---- |
— |
-| г |
— |
--- | |
УГР1 |
1 1 1 1 1 1 1 1 |
УГР2 | |||
J |
1 |
1 1 1 |
L | ||
АЦП1 |
1 к 1 1 1 |
АЦП2 | |||
J |
к |
1 1 1 1 1 | |||
БУ1 |
s 1 1 1 1 t i f |
БУ2 | |||
к |
i i i i i |
.J | |||
ДН1 |
i i i |
ДН2 | |||
1 | |||||
ш |
U2 |
ДН - делитель напряжения;
БУ - буферный усилитель;
АЦП - аналого-цифровой преобразователь;
УГР - устройство гальванической развязки;
IrDA - инфракрасный порт;
РКан - радиоканал;
ЦП - центральный процессор;
ППЗУ - перепрограммируемое постоянное запоминающее устройство;
Т - таймер реального времени;
КЛ - клавиатура;
ИНД - индикатор;
БП - блок питания.
Рисунок 1.1
При переводе мультиметра в режим «Пуск» ЦП вырабатывает сигналы управления АЦП, получает по последовательному интерфейсу данные и производит их обработку, основанную на передискретизации, цифровой фильтрации и дискретном преобразовании Фурье (ДПФ). По результатам ДПФ рассчитываются среднеквадратические значения напряжений и силы токов основной частоты. Одновременно ЦП вычисляет на основании мгновенных значений входных сигналов углы фазовых сдвигов напряжений и токов, коэффициенты искажения синусоидальности напряжения и тока, активной, реактивной и полной мощности. Измерения по обоим измерительным входам производятся параллельно, интервал измерений (интервал времени усреднений) 0,5 с.
Все результаты измерений отображаются на индикаторе и могут быть сохранены в энергонезависимой памяти мультиметра.
Идентификационные данные встроенного программного обеспечения мультиметра приведены в документе «Мультиметр «Ресурс-ПЭ». Паспорт. ЭГТХ.426481.018 ПС».
1.4 Маркировка и пломбирование-
1.4.1 На лицевой панели мультиметра способом трафаретной печати нанесено:
-
- наименование мультиметра;
-
- товарный знак предприятия-изготовителя;
-
- знак утверждения типа средства измерений;
-
- знак соответствия системы сертификации ГОСТ Р;
-
- условные обозначения измерительных входов;
-
- максимальные значения измеряемого напряжения по каждому измерительному входу;
-
- наименование интерфейса передачи данных;
-
- категории измерений;
-
- символ двойной изоляции (класс защиты II по ГОСТ Р МЭК 536-94).
-
1.4.2 На табличке, прикреплённой к задней панели мультиметра, нанесено:
-
- наименование и условное обозначение мультиметра;
-
- обозначение технических условий;
-
- порядковый номер по системе нумерации предприятия-изготовителя;
-
- квартал и год изготовления;
-
- наименование предприятия-изготовителя и его местонахождение.
-
1.4.3 Знак утверждения типа средств измерений и знак соответствия системы сертификации ГОСТ Р нанесены на титульные листы эксплуатационных документов типографским способом.
-
1.4.4 Клавиатура содержит надписи, поясняющие функциональное назначение кнопок. Подробное описание функций отдельных кнопок приводится в 3.1.
-
1.4.5 На два разных винта, соединяющих верхнюю и нижнюю крышки мультиметра, устанавливаются пломбы предприятия-изготовителя и
поверившей мультиметр организации.
-
1.4.6 На корпус токоизмерительных клещей способом трафаретной печати нанесено:
- тип токоизмерительных клещей;
- товарный знак предприятия изготовителя;
- номинальное и максимальное значение измеряемого тока;
- порядковый номер, соответствующий номеру мультиметра;
- надпись, соответствующая номеру измерительного входа мультиметра, используемого для подключения токоизмерительных клещей.
На корпус токоизмерительных клещей также нанесен символ двойной изоляции (класс защиты II по ГОСТ Р МЭК 536-94).
-
1.4.7 На крышку, закрывающую отсек для аккумуляторов, на переднюю часть мультиметра рядом с измерительными входами и на токоизмерительные клещи нанесен символ Z-lA для предупреждения пользователя о необходимости обратиться к руководству по эксплуатации.
-
1.4.8 Маркировка потребительской и транспортной тары содержит:
-
- манипуляционные знаки по ГОСТ 14192-96: «Хрупкое. Осторожно», «Беречь от влаги», «Верх»;
-
- наименование мультиметра.
-
1.5.1 В качестве внутренней упаковки мультиметра, соединительных кабелей, токоизмерительных клещей и зажимов применяется мешок из полиэтиленовой плёнки толщиной не менее 0,7 мм.
-
1.5.2 В качестве потребительской тары используется сумка.
-
1.5.3 В единицу транспортной тары укладывается один комплект поставки.
-
1.5.4 Транспортная тара - ящик из гофрированного картона.
-
1.5.5 Упакованная в мешок из полиэтиленовой плёнки толщиной не менее 0,7 мм эксплуатационная документация вкладывается в сумку вместе с мультиметром.
-
1.5.6 Мультиметр и все изделия, входящие в комплект его поставки, помещаются в сумку и укладываются в транспортную тару.
-
1.5.7 Наружные (габаритные) размеры транспортной тары (длина х ширина х высота) не более (400 х 400 х 250) мм.
-
1.5.8 Масса одного комплекта поставки в транспортной таре не более 4 кг.
-
2.1.1 Перед эксплуатацией необходимо ознакомиться с эксплуатационной документацией на мультиметр.
-
2.1.2 При эксплуатации мультиметра должны соблюдаться требования, установленные «Правилами технической эксплуатации электроустановок потребителей» и «Межотраслевыми правилами по охране труда (правилами безопасности) при эксплуатации электроустановок».
-
2.1.3 Не допускается проводить ремонт мультиметра, если подключаемые или подключенные к мультиметру цепи находятся под напряжением.
-
2.1.4 Не допускается производить смену аккумуляторов, если мультиметр подключен к измерительной цепи.
-
2.1.5 К эксплуатации мультиметра допускаются лица, прошедшие инструктаж по технике безопасности и имеющие группу по электробезопасности не ниже III, допущенные к работе в действующих электроустановках.
-
2.1.6 Подключение цепей напряжения по возможности должно производиться при отключенной сети. В противном случае подключение к измеряемой сети должно приводиться в соответствии с действующими правилами электробезопасности.
-
2.2.1 Амплитудное значение измеряемого напряжения должно быть не более 424 В (среднеквадратическое значение напряжения - не более 300 В).
-
2.2.2 Амплитудное значение измеряемой силы тока должно быть не более 3 • 1ном • V2 А при использовании токоизмерительных клещей типа КП15-5 и не более 1,5 • 1ном Л А при использовании токоизмерительных клещей типа КП52-1000 (среднеквадратическое значение силы тока - не более 1,5-!ном А). Номинальное значение силы тока 1ном определяется типом применяемых токоизмерительных клещей.
-
2.3.1 Установка и монтаж мультиметра
При проведении измерений мультиметр удерживается в руках, но может быть установлен на горизонтальной или вертикальной поверхности.
Монтаж на вертикальную поверхность производится с использованием крепежного отверстия на обратной стороне мультиметра.
Мультиметр обеспечивает работу в горизонтальном положении (лежа) или в наклонном положении с использованием упора.
Габаритные и установочные размеры мультиметра приведены в приложении А.
-
2.3.2 Подключение
-
2.3.2.1 Включение мультиметра осуществляется нажатием кнопки I®..
-
2.3.2.2 Мультиметр предусматривает возможность автоматического выключения, если в течение определённого времени он является неактивным. При настройке автоматического выключения мультиметра будет автоматически выключаться при отсутствии нажатий на какую-либо клавишу в течение времени, определенного пользователем. Настройка автоматического выключения приведена в пункте 3.15.1.
-
2.3.2.3 Мультиметр питается от двух встраиваемых источников постоянного тока (гальванических элементов или аккумуляторов) типоразмера АА (HR6).
-
Уровень заряда встраиваемых источников постоянного тока отображается на индикаторе мультиметра. При использовании в качестве встраиваемых источников постоянного тока аккумуляторов, их заряд осуществляется во внешнем зарядном устройстве. Рекомендации по заряду аккумуляторов приведены в подразделе 4.2.
ПРЕДОСТЕРЕЖЕНИЕ: НА КЛЕММАХ ДЛЯ ПОДКЛЮЧЕНИЯ

АККУМУЛЯТОРОВ МОЖЕТ ОКАЗАТЬСЯ ОПАСНОЕ НАПРЯЖЕНИЕ! ВО ИЗБЕЖАНИЕ ПОРАЖЕНИЯ ЭЛЕКТРИЧЕСКИМ ТОКОМ ПРИ ЗАМЕНЕ АККУМУЛЯТОРОВ, ПЕРЕД ТЕМ КАК СНЯТЬ КРЫШКУ АККУМУЛЯТОРНОГО ОТСЕКА, ОТКЛЮЧИТЕ МУЛЬТИМЕТР ОТ ИЗМЕРЯЕМОЙ ЦЕПИ И ВЫКЛЮЧИТЕ МУЛЬТИМЕТР.
-
2.3.2.4 Подключение мультиметра к измеряемым цепям выполнять в следующей последовательности:
-
- отключить напряжение на участке цепи, к которому производится подключение мультиметра;
-
- подключить соединительные кабели напряжения ко измерительным входам мультиметра и измеряемой цепи;
-
- подключить токоизмерительные клещи к измерительным входам мультиметра и измеряемой цепи;
-
- включить напряжение на участке цепи, к которому произведено подключение мультиметра;
-
- включить мультиметр.
ПРЕДОСТЕРЕЖЕНИЕ: В ЦЕЛЯХ БЕЗОПАСНОСТИ

ПОДКЛЮЧЕНИЕ (ОТКЛЮЧЕНИЕ) К ИЗМЕРЯЕМЫМ ЦЕПЯМ РЕКОМЕНДУЕТСЯ ПРОИЗВОДИТЬ ПРИ ПОЛНОСТЬЮ СНЯТОМ НАПРЯЖЕНИИ НА НИХ. В ПРОТИВНОМ СЛУЧАЕ ПОДКЛЮЧЕНИЕ (ОТКЛЮЧЕНИЕ) К ИЗМЕРЯЕМЫМ ЦЕПЯМ ДОЛЖНО ПРОВОДИТЬСЯ В СООТВЕТСТВИИ С ДЕЙСТВУЮЩИМИ ПРАВИЛАМИ
ЭЛЕКТРОБЕЗОПАСНОСТИ.
-
2.3.2.5 Расположение соединителей измерительных входов каналов 1 и 2, используемых для подключения к измеряемым цепям, приведено на лицевой панели мультиметра (приложение Б).
-
2.3.2.6 Схемы подключений мультиметра к измеряемым цепям приведены в приложении В.
-
2.3.2.7 Подключение цепей напряжения
Подключение цепей напряжения выполнять соединительными кабелями из комплекта поставки мультиметра. Допускается использовать многожильные или одножильные изолированные провода сечением от 0,5 до 1,5 мм2, например МГШВ-2-0,5, оканчивающиеся изолированными штекерами.
Подключение к измеряемому напряжению может производиться с использованием двух типов соединителей:
- разъемных соединителей типа «крокодил», для проведения кратковременных измерений;
- клемм типа «U» для проведения длительных измерений.
Оба типа соединителей входят в комплект поставки.
Конкретный тип используемых соединителей определяет пользователь перед началом измерений.
-
2.3.2.8 Подключение токоизмерительных клещей
Подключение токоизмерительных клещей производить согласно цветовой маркировке измерительных входов каналов мультиметра и штекеров токоизмерительных клещей.
При подключении токоизмерительных клещей к измеряемой цепи необходимо открыть измерительное окно и обхватить токопровод таким образом, чтобы контактные поверхности магнитопровода были надежно сомкнуты.
Токоизмерительные клещи должны быть подключены так, чтобы стрелка, расположенная на корпусе токоизмерительных клещах, указывала направление от источника тока.
ПРЕДОСТЕРЕЖЕНИЕ: НЕЛЬЗЯ ПОДСОЕДИНЯТЬ ТОКОВЫЙ

СИГНАЛ К ИЗМЕРИТЕЛЬНЫМ ВХОДНЫМ КАНАЛОВ 1 И 2 НАПРЯМУЮ! ПРИ ИЗМЕРЕНИИ ТОКА С ПОМОЩЬЮ МУЛЬТИМЕТРА НЕОБХОДИМО ИСПОЛЬЗОВАТЬ ТОКОИЗМЕРИТЕЛЬНЫЕ КЛЕЩИ, ВХОДЯЩИЕ В КОМПЛЕКТ ПОСТАВКИ МУЛЬТИМЕТРА.
-
2.3.2.9 После включения мультиметра на индикаторе появится изображение в соответствии с пунктом 3.2.1.
-
2.3.2.10 Для установления рабочего режима необходимо выдержать мультиметр во включенном состоянии в течение 30 с.
-
2.3.2.11 Настройка параметров работы мультиметра
Перед проведением измерений необходимо настроить параметры работы мультиметра в зависимости от измеряемых параметров в соответствии с указаниями раздела 3. При этом необходимо задать:
- режим работы;
- список измеряемых параметров;
- интервал времени усреднения;
- номинальные значения измеряемых напряжений и токов.
3 Порядок работы с мультиметром 3.1 Основные положения-
3.1.1 Управление мультиметром осуществляется с помощью клавиатуры расположенной на лицевой панели мультиметра.
Режимы работы мультиметра и результаты измерений отображаются на графическом индикаторе, имеющем разрешение (64 х 128) точек.
Общий вид клавиатуры приведен на рисунке А.1 (приложение А).
-
3.1.2 Назначение кнопок
Назначение кнопок приведено в таблице 3.1
Таблица 3.1
Кнопка


Запись

Назначение
Включение и выключение питания мультиметра.
Длительность нажатия кнопки для выполнения команды выключения составляет 3 с
Включение и выключение подсветки мультиметра
Перевод мультиметра в режимы настройки измерений
Перевод мультиметра в режим общей настройки работы
Управление записью и чтением результатов измерений. Функция записи доступна только в режиме «Пуск». Функция чтения доступна только в режиме «Стоп»
Запуск и останов измерений
Переход в режим редактирования данных. Подтверждение ввода значения
Выход из режима редактирования с отказом от изменения данных
Перемещение по пунктам меню и изменение значений при редактировании
3.2 Меню мультиметра и навигация по нему-
3.2.1 После включения мультиметра на его индикаторе появляется рабочее окно, содержащее информацию о текущем режиме работы, значении времени и степени заряда аккумулятора. Настройка режима работы при выключении питания запоминается и используется при повторном включении мультиметра.
-
3.2.2 Видимая область индикатора разделена на три зоны в соответствии с рисунком 3.1:
- служебная строка;
- информационное поле;
- строка управления.
поле 1 поле 2 поле 3 поле 4 поле 5

Рисунок 3.1
-
3.2.3 В полях служебной строки отображается следующая информация:
-
- поле 1 - информация о степени заряда источников постоянного тока (аккумуляторов);
-
- поле 2 - указатель режима работы:
а) символ «М» - режим измерений;
б) символ «А» - режим просмотра архивных данных;
в) пустое поле - настройка режимов работы;
-
- поле 3- индикатор обмена данными по радиоканалу:
а) символ «у» - прием данных по радиоканалу;
б) пустое поле - отсутствие радиосигнала;
-
- поле 4 - текущее значение времени;
-
- поле 5 - текущее значение даты.
-
3.2.4 В полях строки управления отображается следующая информация:
-
- поле 6 - используемые измерительные входы:
а) надпись «I» - измерительные входы тока;
б) надпись «U» - измерительные входы напряжения;
в) надпись «U/I» - измерительные входы напряжения и тока;
-
- поле 7 - доступные для используемых измерительных входов поля 6 режимы измерений:
а) надписи «I1», «I2», «I1-2», «ТТср» - для измерительных входов тока;
б) надписи «U1», «U2», «U1-2», «ТНср» - для измерительных входов напряжения;
в) надписи «ТТ», «ТН», «илс», «PQW1», «PQW2» - для
измерительных входов напряжения и тока;
-
- поле 8 - режим отображаемых данных:
а) надпись «0000» - отображение результатов измерений;
б) надпись «НОМ» - отображение исходных данных;
в) символ « ®» - настройка списка измеряемых и отображаемых
параметров;
-
- поле 9 - номера измерительных входов «1» или «2»;
-
- поле 10 - обозначение исходных данных и измеряемых параметров (условные обозначения приведены в приложении Г).
-
3.2.5 В информационном поле выводятся значения исходных данных и измеряемых параметров с единицами измерений, а также параметры идентификации объекта измерений: номер секции и номер ячейки (на рисунке 3.1 С1 и Я1 соответственно).
Для изменения параметров идентификации объекта измерений необходимо в основном режиме работы мультиметра нажать клавишу «Режим» и перевести курсор (стилизованная стрелка) на параметр, подлежащий редактированию с помощью кнопок «^» или «^-» (рисунок 3.2). Изменение параметров идентификации объекта производится с помощью кнопок «ф» и «Ф».
Значение измеренной частоты основного сигнала выводится всегда в левой верхней части информационного поля.
-
3.2.6 Пример вывода результата измерений коэффициента искажения синусоидальности напряжения приведен на рисунке 3.1.
Пример вывода результата измерений мощности приведен на рисунке 3.2. В правой верхней части информационного поля графически указываются тип схемы подключений (подпункт 3.14.5.3) и номер квадранта измеренной мощности (подпункт 3.14.5.5).

Рисунок 3.2

-
3.2.7 Меню мультиметра имеет циклическую форму и иерархическую структуру. Структура меню мультиметра приведена в приложении Д.
-
3.2.8 Используя кнопки «^» и «^» выбирается рабочее поле строки управления. Выбранное поле выделяется инверсным, по отношению к другим полям, фоном и надписью. На рисунке 3.1 выбранным является поле 10 (обозначение измеряемого параметра).
-
3.2.9 Выбор возможных значений в каждом поле производится с помощью кнопок «т» и «ф», при этом одновременно изменяется информация в полях, связанных с редактируемым.
-
3.2.10 Настройка общих параметров мультиметра производится в режиме «Настройка». Переход в режим настройка производится нажатием кнопки «Настр.»
Для выхода из режима «Настройка» используется кнопка «Режим».
3.3 Работа мультиметра в режиме измерений параметров напряжения по измерительному входу канала 1 «U1»-
3.3.1 Режим используется при измерении параметров выходных сигналов ТН, в том числе показателей качества электроэнергии.
-
3.3.2 Полный список измеряемых параметров приведен в подпункте 1.2.3.1.
-
3.3.3 Подключить измерительный вход канала 1 к измеряемому напряжению.
-
3.3.4 Настройка мультиметра в режиме «U1»
-
3.3.4.1 Нажать кнопку включения питания до появления звукового сигнала.
-
3.3.4.2 После вывода информации на индикатор нажать кнопку «Режим».
-
3.3.4.3 Убедиться в отсутствии символов пуска измерений «М» и просмотра архива измерений «А» в поле 2.
-
При наличии символа «М» нажать кнопку «Пуск/Стоп» или «Отмена».
При наличии символа «А» нажать кнопку «Отмена».
-
3.3.4.4 Используя кнопки «^» или «^» выбрать поле 6 строки управления.
-
3.3.4.5 Используя кнопки «ф» или «ф» выбрать вход напряжения, символ «U» в редактируемом поле.
-
3.3.4.6 Нажать кнопку «^-», перейти в поле 7 строки управления, режим измерений.
-
3.3.4.7 Используя кнопки «ф» или «ф» установить режим «U1».
-
3.3.4.8 Нажать кнопку «^-», перейти в поле 8 строки управления, отображение данных.
-
3.3.4.9 Используя кнопки «ф» или «ф» установить режим «НОМ». При этом в информационном поле выводится номинальное значение измеряемого напряжения.
Номинальное значение напряжения ином, В, используется для расчета отклонения напряжения. Расчет отклонения среднеквадратического значения напряжения основной частоты от номинального значения напряжения SU, %, производится в соответствии с формулой (3.1)
U - U ном
8U =-------• 100 %, (3.1)
U ном
где U - измеренное среднеквадратическое значение напряжения основной частоты, В.
При выполнении мультиметром функций вольтметра без измерений отклонения напряжения, номинальное значение напряжения не используется, поэтому действия, приведенные в подпунктах 3.3.4.10 - 3.3.4.13, не выполняются.
-
3.3.4.10 Нажимая на кнопку «^-», перейти в поле 10 строки управления, обозначение параметра. Нажать кнопку «Ввод» для перехода в режим редактирования номинального значения измеряемого напряжения. При этом в информационном поле кроме установленного номинального значения напряжения появится символ подчеркивания («_»).
Пример вывода данных на индикатор мультиметра в режиме редактирования номинального значения напряжения приведен на рисунке 3.4.

Рисунок 3.4
-
3.3.4.11 Порядок редактирования численного значения параметра:
- редактирование значения производится поразрядно;
- редактируется разряд, отмеченный символом подчеркивания «_»;
- перемещение между разрядами редактируемого числа производится с помощью кнопок «^» или «^»;
-
- для изменения значения выбранного разряда используются кнопки «t» или «ф»;
-
- ввод нового значения должен подтверждаться нажатием кнопки «Ввод», при этом новое значение сохраняется в энергонезависимой памяти, и мультиметр выходит из режима редактирования;
-
- для выхода из режима редактирования без сохранения изменений необходимо нажать кнопку «Отмена».
-
3.3.4.12 Рекомендуется настроить измерительный вход канала 1 на работу с номинальным значением напряжения 57,735 В, измерительный вход канала 2 - 100 В.
-
3.3.4.13 Нажимая кнопку «^» перейти в поле 8 строки управления, отображение данных.
-
3.3.4.14 Нажав кнопку «ф»перейти в режим « ®», настройки списка отображаемых и архивируемых данных.
По умолчанию устанавливается полный список измеряемых параметров режима «U1», который включает:
-
- среднеквадратическое значение напряжения «U», В;
-
- среднеквадратическое значение напряжения основной частоты «U1», В;
-
- отклонение среднеквадратического значения напряжения основной частоты от номинального значения «8U», %;
-
- коэффициент искажения синусоидальности напряжения «Ku», %;
-
- коэффициент n-ой гармоники напряжения «Ku(n)», %.
Для изменения списка измеряемых параметров необходимо выполнить действия, приведенные в подпунктах 3.3.4.15 - 3.3.4.18.
-
3.3.4.15 Нажимая кнопку «^» перейти в поле 10 строки управления, обозначение параметра.
При первоначальном вхождении в режим настройки измеряемых параметров в информационном поле отображается признак измерений среднеквадратического значения напряжения по измерительному входу канала 1 «U».
Пример отображения информации на индикаторе мультиметра в режиме настройки измеряемых параметров приведен на рисунке 3.5.

Рисунок 3.5
-
3.3.4.16 Для изменения признака (смена состояния «ДА»-«НЕТ») необходимо нажать кнопку «Ввод». Повторное нажатие кнопки «Ввод» изменит значение признака на предыдущее состояние.
-
3.3.4.17 Для перехода к просмотру признака другого параметра необходимо использовать кнопки «ф» или «ф», а для изменения признака использовать кнопку «Ввод».
-
3.3.4.18 По окончании просмотра (редактирования) списка измеряемых параметров нажимая кнопку «^» перейти в поле 8 строки управления, отображение данных.
-
3.3.5 Запуск измерений в режиме «U1»
Запуск измерений производится после выполнения действий, приведенных в пункте 3.3.4.
-
3.3.5.1 Используя кнопки «^»и «^-» перейти в поле 8 строки управления, обозначение параметра.
-
3.3.5.2 Нажимая кнопку «ф» перейти в режим «0000» отображения результатов измерений.
-
3.3.5.3 Для начала измерений нажать кнопку «Пуск/Стоп», при этом в поле 2 служебной строки выводится символ «М», признак пуска измерений.
-
3.3.5.4 На индикаторе мультиметра отображаются результаты измерений первого из выбранных параметров, обычно «U». Условное обозначение параметра выводится в поле 10 строки управления.
Значение частоты основного сигнала отображается в левой верхней части информационного поля.
Если входной сигнал превышает пределы измерений, то каждое измерение сопровождается звуковым сигналом. Необходимо остановить измерение, нажав кнопку «Отмена» или «Пуск/Стоп». Входной сигнал может превышать пределы измерений при неправильном подключении мультиметра или при неверном задании режима измерений. После перевода мультиметра в режим останова измерений необходимо проверить схему подключений и
-
3.3.5.5 Нажимая кнопку «^» перейти в поле 10 строки управления, обозначение параметра.
-
3.3.5.6 Используя кнопки «ф» или «ф» выбирается параметр, результаты измерений которого отображаются на индикаторе.
-
3.3.5.7 При отображении результата измерений коэффициента искажения синусоидальности напряжения имеется возможность графического отображения коэффициентов n-ых гармоник напряжения. При нажатии кнопки «Ввод» на индикаторе выводится информация в виде, представленном на рисунке 3.6.
Значение каждой гармоники напряжения выводится в виде вертикального отрезка, высота которого определяется отношением значения коэффициента n-ой гармоники напряжения к значению коэффициента искажения синусоидальности.
В нижней части изображения помещается курсор, который выделяет необходимую гармонику. Положение курсора изменяется по нажатию кнопок «■^» или «^-», при этом значение коэффициента выбранной n-ой гармоники напряжения отображается в верхней части изображения.
Выход из режима просмотра значений коэффициентов n-ых гармоник напряжения производится по нажатию кнопки «Отмена».
-
3.3.5.8 Количество усреднений результатов измерений при выводе на индикатор задается в меню «Настройки» и описано в пункте 3.15.5.
-
3.3.5.9 При отсутствии нажатий на какую-либо кнопку клавиатуры в течение времени, определенного параметром «Настройка/Выкл» мультиметр выключается. Настройка данного параметра описана в пункте 3.15.1.
-
3.3.5.10 Для сохранения очередного результата измерений в энергонезависимой памяти необходимо нажать кнопку «Запись». Каждой архивной записи присваивается номер. Перечень сохраняемых данных приведен в пункте 1.2.7.
-
3.3.5.11 Останов измерений производится повторным нажатием кнопки «Пуск/Стоп» или «Отмена». При этом в поле 2 строки управления не должен отображаться символ «М».
3.3.6 Просмотр архивных результатов измерений в режиме «U1»
Просмотр сохраненных результатов измерений производится отдельно для каждого режима работы, поэтому мультиметр перед выполнением действий, приведенных в подпунктах 3.3.6.1 - 3.3.6.7, должен быть переведен в режим «U1».
-
3.3.6.1 При наличии символа «М» в поле 2 служебной строки нажать кнопку «Пуск/Стоп» или «Отмена», перевести мультиметр в режим останова измерений.
-
3.3.6.2 Нажать кнопку «Запись» и перевести мультиметр в режим просмотра архивов. При этом в поле 2 служебной строки выводится признак просмотра архива, символ «А» и порядковый номер записи. Например, «А19». Одновременно с этим автоматически выбирается поле 10 строки управления.
Время и дата сохраненных результатов измерений отображаются в поле 4 и поле 5 служебной строки соответственно.
-
3.3.6.3 В поле 10 строки управления выводится обозначение параметра, а в информационном поле выводятся сохраненные результаты измерений в виде, приведенном на рисунке 3.7.
Рисунок 3.7
-
3.3.6.4 Для просмотра результатов измерений всех параметров выбранной записи используются кнопки «т» или «ф». Нажатие этих кнопок приводит к последовательному выводу результатов измерений.
-
3.3.6.5 Для перехода к следующей по времени записи необходимо нажать кнопку «^», для перехода к предыдущей - кнопку «^».
-
3.3.6.6 Выход из режима просмотра архивных результатов измерений производится нажатием кнопки «Отмена».
-
3.4.1 Режим используется при измерении параметров выходных сигналов ТН, в том числе показателей качества электроэнергии.
-
3.4.2 Список измеряемых параметров приведен в подпункте 1.2.3.1.
-
3.4.3 Подключить измерительный вход канала 2 к измеряемому напряжению.
-
3.4.4 При работе в режиме «U2» в поле 9 выводится значение «2», номер используемого измерительного входа, это единственное отличие режимов «U2» и «U1».
-
3.4.4 Настройка, проведение измерений и просмотр архивов результатов измерений производится в соответствии с подразделом 3.3.
-
3.5.1 Режим используется при измерении параметров напряжений, в том числе показателей качества электроэнергии, по двум независимым измерительным входам.
Номинальное значение измеряемого напряжения может быть задано отдельно для каждого измерительного входа.
-
3.5.2 Полный список измеряемых параметров для данного режима приведен в подпункте 1.2.3.2.
-
3.5.3 Подключить измерительные входы каналов 1 и 2 к измеряемому напряжению.
-
3.5.4 Настройка мультиметра в режиме «U1-2»
-
3.5.4.1 Нажать кнопку включения питания до появления звукового сигнала.
-
3.5.4.2 После вывода информации на индикатор нажать кнопку «Режим».
-
3.5.4.3 Убедиться в отсутствии символов пуска измерений «М» и просмотра архива измерений «А» в поле 2.
При наличии символа «М» нажать кнопку «Пуск/Стоп» или «Отмена».
При наличии символа «А» нажать кнопку «Отмена».
-
3.5.4.4 Используя кнопки «^» или «^» выбрать поле 6 строки управления.
-
3.5.4.5 Используя кнопки «ф» или «ф» выбрать в редактируемом поле режим измерения напряжения, символ «U».
-
3.5.4.6 Нажать кнопку «^-», перейти в поле 7 строки управления, режим измерений.
-
3.5.4.7 Используя кнопки «ф» или «ф» установить режим «U1-2».
-
3.5.4.8 Нажать кнопку «^», перейти в поле 8 строки управления, отображение данных.
-
3.5.4.9 Используя кнопки «ф» или «ф» установить режим «НОМ». При этом в информационном поле выводится номинальное значение измеряемого напряжения для измерительного входа канала 1. Условное обозначение параметра «иНОМ» выводится в поле 10, а номер канала «1» в поле 9 строки управления.
Номинальное значение напряжения используется для расчета, отклонения напряжения. Расчет отклонения среднеквадратического значения напряжения основной частоты от номинального значения напряжения, производится в соответствии с формулой (3.1) для каждого измерительного входа.
При выполнении мультиметром функций вольтметра без измерений отклонения напряжения, номинальное значение напряжения не используется, поэтому действия, приведенные в подпунктах 3.5.4.10 - 3.5.4.13, не выполняются.
-
3.5.4.10 Нажимая на кнопку «^-», перейти в поле 10 строки управления, обозначение параметра. Нажать кнопку «Ввод» для перехода в режим редактирования номинального значения измеряемого напряжения. При этом в информационном поле кроме номинального значения напряжения появится символ подчеркивания «_».
Пример вывода данных на индикатор мультиметра в режиме редактирования номинальных значений напряжения измерительных входов канала 1 и канала 2 приведен на рисунке 3.8.


а) б)
Рисунок 3.8
-
3.5.4.11 Порядок редактирования численного значения параметра приведен в подпункте 3.3.4.11.
-
3.5.4.12 Для перехода к просмотру номинального значения напряжения по измерительному входу канала 2 нажать кнопку «Ф»или «ф». В поле 9 строки управления выводится номер «2». Редактирование параметра доступно после нажатия кнопки «Ввод». Описание действий приведено в подпункте 3.3.4.11.
-
3.5.4.13 Нажимая кнопку «^» перейти в поле 8 строки управления, отображение данных.
-
3.5.4.14 Нажав кнопку «ф»перейти в режим « ®», настройки списка отображаемых и архивируемых данных.
По умолчанию устанавливается полный список измеряемых параметров режима «U1-2», который включает:
-
- среднеквадратическое значение напряжения «U» по измерительным входам каналов 1 и 2, В;
-
- среднеквадратическое значение напряжения основной частоты «U1» по измерительным входам каналов 1 и 2, В;
-
- коэффициент искажения синусоидальности напряжения «Ku» по измерительным входам каналов 1 и 2, %;
-
- коэффициент n-ой гармоники напряжения «Ku(n)» по измерительным входам каналов 1 и 2, %;
-
- угол фазового сдвига между напряжениями основной частоты по измерительным входам каналов 1 и 2 «Афи»;
-
- угол фазового сдвига между n-ми гармониками напряжения по измерительным входам каналов 1 и 2 «Аф».
В поле 9 строки управления выводится номер измерительного входа, к которому относится измеряемый параметр.
Для изменения списка измеряемых параметров необходимо выполнить действия, приведенные в подпунктах 3.5.4.15 - 3.5.4.18.
-
3.5.4.15 Нажимая кнопку «^-» перейти в поле 10 строки управления, обозначение параметра.
При первоначальном вхождении в режим настройки измеряемых параметров в информационном поле отображается признак измерений среднеквадратического значения напряжения «U» по измерительному входу канала 1.
Пример отображения информации на индикаторе мультиметра в режиме настройки измеряемых параметров приведен на рисунке 3.9.

Рисунок 3.9
-
3.5.4.16 Для изменения признака (смена состояния «ДА»-«НЕТ») необходимо нажать кнопку «Ввод». Повторное нажатие кнопки «Ввод» изменит значение признака на предыдущее состояние.
-
3.5.4.17 Для перехода к просмотру признака другого параметра необходимо использовать кнопки «ф» или «ф».
-
3.5.4.18 По окончании просмотра (редактирования) списка измеряемых параметров нажимая кнопку «^» перейти в поле 8 строки управления, отображение данных.
-
3.5.5.1 Используя кнопки «^»и «^-» перейти в поле 8 строки управления, обозначение параметра.
-
3.5.5.2 Нажимая кнопку «ф» перейти в режим «0000» отображения результатов измерений.
-
3.5.5.3 Для начала измерений нажать кнопку «Пуск/Стоп», при этом в поле 2 служебной строки выводится символ «М», признак пуска измерений.
-
3.5.5.4 На индикаторе мультиметра отображаются результаты измерений первого из выбранных параметров, обычно «U» по измерительному входу канала 1. Условное обозначение параметра выводится в поле 10, номер измерительного входа «1» или «2» в поле 9 строки управления.
Значение частоты основного сигнала отображается в левой верхней части информационного поля.
Если входной сигнал превышает пределы измерений, то каждое измерение сопровождается звуковым сигналом. Необходимо остановить измерение, нажав кнопку «Отмена» или «Пуск/Стоп». Входной сигнал может превышать пределы измерений при неправильном подключении мультиметра или при неверном задании режима измерений. После перевода мультиметра в режим останова измерений необходимо проверить схему подключений и заданный режим измерений и повторно перевести мультиметр в режим измерений нажав кнопку «Пуск/Стоп».
-
3.5.5.5 Нажимая кнопку «^-» перейти в поле 10 строки управления, обозначение параметра.
-
3.5.5.6 Используя кнопки «Ф» или «ф» выбирается параметр, результаты измерений которого отображаются на индикаторе.
Принадлежность измеряемого параметра к измерительному входу канала 1 или канала 2 указывается в поле 9 строки управления. Поле 9 остается свободным при выводе значения угла фазового сдвига между напряжениями основной частоты по измерительным входам каналов 1 и 2 «Лфи».
-
3.5.5.7 При отображении результата измерений коэффициента искажения синусоидальности напряжения имеется возможность графического отображения коэффициентов n-ых гармоник напряжения и углов фазового сдвига между соответствующими n-ми гармониками напряжения по измерительным входам каналов 1 и 2. При нажатии кнопки «Ввод» на индикаторе выводится информация в виде, приведенном на рисунке 3.10.

Значение каждой гармоники напряжения выводится в виде вертикального отрезка, высота которого определяется отношением значения коэффициента n-ой гармоники напряжения к значению коэффициента искажения синусоидальности напряжения.
В нижней части изображения помещается курсор, который выделяет требуемую гармонику. Положение курсора изменяется по нажатию кнопок «•^» или «^-», при этом значение коэффициента выбранной n-ой гармоники напряжения отображается в верхней части изображения вместе со значением угла фазового сдвига между соответствующими n-ми гармониками напряжения по измерительным входам каналов 1 и 2.
Выход из режима просмотра значений коэффициентов n-ых гармоник напряжения производится по нажатию кнопки «Отмена».
-
3.5.5.8 Количество усреднений результатов измерений при выводе на индикатор задается в меню «Настройки» и описано в пункте 3.15.5.
-
3.5.5.9 При отсутствии нажатий на какую-либо кнопку клавиатуры в течение времени, определенного параметром «Настройка/Выкл» мультиметр выключается. Настройка данного параметра описана в пункте 3.15.1.
-
3.5.5.10 Для сохранения очередного результата измерений в энергонезависимой памяти необходимо нажать кнопку «Запись». Каждой архивной записи присваивается номер. Перечень сохраняемых данных приведен в пункте 1.2.7.
-
3.5.5.11 Останов измерений производится при выключении питания мультиметра или повторном нажатием кнопки «Пуск/Стоп» или «Отмена». При этом в поле 2 строки управления не должен отображаться символ «М».
-
3.5.6 Просмотр архивных результатов измерений в режиме «U1-2»
Просмотр сохраненных результатов измерений производится отдельно для каждого режима работы, поэтому мультиметр перед выполнением действий, приведенных в подпунктах 3.5.6.1 - 3.5.6.7, должен быть переведен в режим «U1-2».
-
3.5.6.1 При наличии символа «М» в поле 2 служебной строки нажать кнопку «Пуск/Стоп» или «Отмена» и перевести мультиметр в режим останова измерений.
Время и дата сохраненных результатов измерений отображаются в поле 4 и поле 5 служебной строки соответственно.
-
3.5.6.3 В поле 10 строки управления выводится обозначение параметра, в поле 9 номер измерительного входа, а в информационном поле выводятся сохраненные результаты измерений в виде, приведенном на рисунке 3.11.
-
3.5.6.4 Для просмотра результатов измерений всех параметров выбранной записи используются кнопки «t> или «ф». Нажатие этих кнопок приводит к последовательному выводу результатов измерений.
-
3.5.6.5 Для перехода к следующей по времени записи необходимо нажать кнопку «^», для перехода к предыдущей - кнопку «^».
-
3.5.6.6 Выход из режима просмотра архивных результатов измерений производится нажатием кнопки «Отмена>.
Рисунок 3.11
3.6 Работа мультиметра в режиме измерений параметров напряжения по измерительным входам каналов 1 и 2 «ТНср»-
3.6.1 В режиме «ТНср> мультиметр используется как устройство сравнения при проверке трансформаторов напряжения с одновременным измерением показателей качества электроэнергии.
Используется одно значение номинального напряжения для обоих измерительных входов.
-
3.6.2 Полный список измеряемых параметров для данного режима приведен в подпункте 1.2.3.3.
-
3.6.3 Подключить измерительные входы канала 1 и канала 2 к измеряемым напряжениям от ТН. На измерительный вход канала 1 должно быть подключено измеряемое напряжение с эталонного ТН, на измерительный вход канала 2 - с проверяемого ТН.
-
3.6.4 Настройка мультиметра в режиме «ТНср>
-
3.6.4.1 Нажать кнопку включения питания до появления звукового сигнала.
-
3.6.4.2 После вывода информации на индикатор нажать кнопку «Режим>.
-
3.6.4.4 Используя кнопки «^» или «^» выбрать поле 6 строки управления.
-
3.6.4.5 Используя кнопки «ф» или «ф» выбрать в редактируемом поле 6 вход напряжения, символ «U».
-
3.6.4.6 Нажать кнопку «^-», перейти в поле 7 строки управления, режим измерений.
-
3.6.4.7 Используя кнопки «ф» или «ф» установить режим «ТНср».
-
3.6.4.8 Нажать кнопку «^», перейти в поле 8 строки управления, отображение данных.
-
3.6.4.9 Используя кнопки «ф» или «ф» установить режим «НОМ». При этом в информационном поле выводится номинальное значение измеряемого напряжения для обоих измерительных входов. Условное обозначение параметра «ином» выводится в поле 10, а принадлежность параметра к обоим измерительным входам подтверждается надписью «1, 2» в поле 9 строки управления. Пример отображения информации приведен на рисунке 3.12.
Рисунок 3.12
Номинальное значение напряжения используется для выбора рабочего диапазона измерений.
-
3.6.4.10 Нажимая на кнопку «^-», выбрать поле 10 строки управления, обозначение параметра, и нажать кнопку «Ввод» для перехода в режим редактирования номинального значения измеряемого напряжения. При этом в информационном поле кроме установленного номинального значения напряжения появится символ подчеркивания «_».
-
3.6.4.11 Порядок редактирования численного значения параметра приведен в подпункте 3.3.4.11.
-
3.6.4.12 Нажимая кнопку «^» перейти в поле 8 строки управления, отображение данных.
-
3.6.4.13 Нажав кнопку «ф» перейти в режим « -®», настройки списка отображаемых и архивируемых данных.
По умолчанию устанавливается полный список измеряемых параметров режима «ТНср», который включает:
- среднеквадратическое значение напряжения «U » по измерительным входам каналов 1 и 2, В;
- среднеквадратическое значение напряжения основной частоты «U1» по измерительным входам каналов 1 и 2, В;
- отклонение среднеквадратического значения напряжения основной частоты по измерительному входу канала 2 от среднеквадратического значения напряжения основной частоты по измерительному входу канала 1 «8U», %;
-
- коэффициент искажения синусоидальности напряжения «Ku» по измерительным входам каналов 1 и 2, %;
-
- коэффициент n-ой гармоники напряжения «Ku(n)» по измерительным входам каналов 1 и 2, %;
-
- угол фазового сдвига между напряжениями основной частоты по измерительным входам каналов 1 и 2 «Афи»;
-
- угол фазового сдвига между n-ми гармониками напряжения по измерительным входам каналов 1 и 2 «Аф».
Расчет отклонения среднеквадратического значения напряжения основной частоты по измерительному входу канала 2 от среднеквадратического значения напряжения основной частоты по измерительному входу канала 1 5U. %, производится в соответствии с формулой (3.2)
SU = U2U-Ul • 100 %, (3.2)
где U2 - измеренное среднеквадратическое значение напряжения основной частоты по измерительному входу канала 2, В;
U1 - измеренное среднеквадратическое значение напряжения основной частоты по измерительному входу канала 1, В.
В поле 9 строки управления выводится номер измерительного входа, к которому относится измеряемый параметр.
Для изменения списка измеряемых параметров необходимо выполнить операции 3.6.4.14 - 3.6.4.17.
-
3.6.4.14 Нажимая кнопку «^» перейти в поле 10 строки управления, обозначение параметра.
При первоначальном вхождении в режим настройки измеряемых параметров в информационном поле отображается признак измерений среднеквадратического значения напряжения по измерительному входу канала 1 «U».
Пример отображения информации на индикаторе мультиметра в режиме настройки измеряемых параметров приведен на рисунке 3.13.

Рисунок 3.13
-
3.6.4.15 Для изменения признака (смена состояния «ДА»-«НЕТ») необходимо нажать кнопку «Ввод». Повторное нажатие кнопки «Ввод» изменит значение признака на предыдущее состояние.
-
3.6.4.16 Для перехода к просмотру признака другого параметра необходимо использовать кнопки «ф» или «ф».
-
3.6.4.17 По окончании просмотра (редактирования) списка измеряемых параметров нажимая кнопку «^» перейти в поле 8 строки управления, отображение данных.
-
3.6.5 Запуск измерений в режиме «ТНср»
Запуск измерений производится после выполнения действий,
приведенных в пункте 3.6.4.
-
3.6.5.1 Используя кнопки «^»и «^-» перейти в поле 8 строки управления, обозначение параметра.
-
3.6.5.2 Нажимая кнопку «ф» перейти в режим «0000» отображения результатов измерений.
-
3.6.5.3 Для начала измерений нажать кнопку «Пуск/Стоп», при этом в поле 2 служебной строки выводится символ «М», признак пуска измерений.
-
3.6.5.4 На индикаторе мультиметра отображаются результаты измерений первого из выбранных параметров, обычно «U» по измерительному входу канала 1. Условное обозначение параметра выводится в поле 10, номер измерительного входа 1 или 2 в поле 9 строки управления.
Значение частоты основного сигнала отображается в левой верхней части информационного поля.
В правой верхней части информационного поля выводится значение времени действия калибровочных коэффициентов в виде строки «Тклб = хх», где «хх» - время действия калибровочных коэффициентов в минутах.
Если входной сигнал превышает пределы измерений, то каждое измерение сопровождается звуковым сигналом. Необходимо остановить измерение, нажав кнопку «Отмена» или «Пуск/Стоп». Входной сигнал может превышать пределы измерений при неправильном подключении мультиметра или при неверном задании режима измерений. После перевода мультиметра в режим останова измерений необходимо проверить схему подключений и заданный режим измерений и повторно перевести мультиметр в режим измерений нажав кнопку «Пуск/Стоп».
-
3.6.5.5 Нажимая кнопку «^» перейти в поле 10 строки управления, обозначение параметра.
-
3.6.5.6 Используя кнопки «ф» или «ф» выбираются для отображения на индикаторе значения требуемых параметров.
Результату измерений угла фазового сдвига между напряжениями основной частоты по измерительным входам каналов 1 и 2 соответствует обозначение «Лфи» в поле 10 строки управления, при этом поле 9 остается свободным.
-
3.6.5.7 При отображении результата измерений коэффициента искажения синусоидальности напряжения имеется возможность графического отображения коэффициентов n-ых гармоник напряжения и углов фазового сдвига между соответствующими n-ми гармониками напряжения по измерительным входам каналов 1 и 2. При нажатии кнопки «Ввод» на индикаторе выводится информация в виде, приведенном на рисунке 3.10.
Значение каждой гармоники напряжения выводится в виде вертикального отрезка, высота которого определяется отношением значения коэффициента n-ой гармоники напряжения к значению коэффициента искажения синусоидальности напряжения.
В нижней части изображения помещается курсор, который выделяет требуемую гармонику. Положение курсора изменяется по нажатию кнопок «■^» или «^-», при этом значение коэффициента выбранной n-ой гармоники напряжения отображается в верхней части изображения вместе со значением угла фазового сдвига между соответствующими n-ми гармониками напряжения по измерительным входам каналов 1 и 2.
Выход из режима просмотра значений коэффициентов n-ых гармоник напряжения производится по нажатию кнопки «Отмена».
-
3.6.5.8 Количество усреднений результатов измерений при выводе на индикатор задается в меню «Настройки» и описано в пункте 3.15.5.
-
3.6.5.9 При отсутствии нажатий на какую-либо кнопку клавиатуры в течение времени, определенного параметром «Настройка/Выкл» мультиметр выключается. Настройка данного параметра описана в пункте 3.15.1.
-
3.6.5.10 Для сохранения очередного результата измерений в энергонезависимой памяти необходимо нажать кнопку «Запись». Каждой архивной записи присваивается номер. Перечень сохраняемых данных приведен в пункте 1.2.7.
-
3.6.5.11 Останов измерений производится при выключении питания мультиметра или при повторном нажатии кнопки «Пуск/Стоп» или «Отмена». При этом в поле 2 строки управления не должен отображаться символ «М».
3.6.6 Взаимная калибровка измерительных входов напряжения
С целью повышения точности измерений отклонения среднеквадратического значения напряжения по измерительному входу канала 2 от среднеквадратического значения напряжения по измерительному входу канала 1 и угла фазового сдвига между напряжениями основной частоты
-
3.6.6.1 Калибровка выполняется при выводе в поле 10 строки управления наименования параметра «Клби». При этом в информационном поле выводится значение калибровочного коэффициента. Пример вывода данных для данного режима приведен на рисунке 3.14.
Рисунок 3.14
-
3.6.6.2 Время действия калибровочных коэффициентов «Тклб» после успешного выполнения операции калибровки устанавливается равным 60 мин.
-
3.6.6.3 Значение «Тклб» уменьшается по окончании каждой календарной минуты.
-
3.6.6.4 За время действия калибровки погрешность сравнения параметров двух напряжений соответствует таблице 1.2 в части проверки ТН.
-
3.6.6.5 Операция калибровки может быть выполнена при соблюдении следующих требований:
-
- рассчитанный коэффициент калибровки не превышает удвоенной погрешности измерений;
-
- параметр «КалР» в состоянии «Да».
-
3.6.6.6 Порядок разрешения калибровки:
-
- перевести мультиметр в режим останова измерений (нажать кнопку «Отмена»);
-
- нажать кнопку «Настр.» и перейти в режим общих настроек, выбирается поле 10 строки управления;
-
- нажимая кнопки «т» или «ф» выбрать в поле 10 строки управления параметр «КалР», пример вывода информации на индикатор приведен на рисунке 3.15;
-
- если значение параметра установлено в состояние «Нет», то необходимо нажать кнопку «Ввод», в информационном поле под признаком «Нет» появится символ подчеркивания «_»;
-
- нажать кнопку «т» или «ф» и установить в информационном поле признак «Да»;
-
- нажать кнопку «Ввод», установив, режим разрешения калибровки.

Рисунок 3.15
-
3.6.6.7 Порядок проведения калибровки:
- подключить измерительные входы напряжения мультиметра параллельно к одному и тому же источнику напряжения;
- настроить мультиметр на работу в режиме «ТНср»;
- разрешить выполнение калибровки;
- произвести пуск измерений;
- вывести в информационном поле значение калибровочного коэффициента, в поле 10 служебной строки обозначение параметра «Клби»;
-
- нажать кнопку «Ввод»;
-
- при разнице значений между напряжениями меньше удвоенного значения погрешности измерения выполнится взаимная калибровка измерительных входов напряжения, значение параметра «Тклб» установится равным 60 мин, рассчитается и выведется на индикатор новое значение калибровочного коэффициента.
Проверить правильность выполнения калибровки можно по значению параметра «SU». После проведения калибровки значение параметра не должно превышать пределов допускаемой погрешности, установленных для параметра 18 таблицы 1.2, а параметр «Тклб» устанавливается равным 60 мин. При необходимости, проводят взаимную калибровку повторно.
-
3.6.7 Просмотр архивных результатов измерений в режиме «ТНср»
Просмотр сохраненных результатов измерений производится отдельно для каждого режима работы, поэтому мультиметр перед выполнением операций 3.6.7.1 - 3.6.7.7 должен быть переведен в режим «ТНср».
-
3.6.7.1 При наличии символа «М» в поле 2 служебной строки нажать кнопку «Пуск/Стоп» или «Отмена» и перевести мультиметр в режим останова измерений.
-
3.6.7.2 Нажать кнопку «Запись» и перевести мультиметр в режим просмотра архивов. При этом в поле 2 служебной строки выводится признак просмотра архива, символ «А» и порядковый номер записи, например, «А19». Одновременно с этим выбирается поле 10 строки управления.
Время и дата сохраненных результатов измерений отображаются в поле 4 и поле 5 служебной строки соответственно.

Рисунок 3.16
-
3.6.7.4 Для просмотра результатов измерений всех параметров в этой записи используются кнопки «ф» или «ф». Нажатие этих кнопок приводит к последовательному выводу результатов измерений.
-
3.6.7.5 Для перехода к следующей по времени записи необходимо нажать кнопку «^», для перехода к предыдущей - кнопку «^».
-
3.6.7.6 Выход из режима просмотра архивных результатов измерений производится нажатием кнопки «Отмена».
-
3.7.1 Режим используется при измерении параметров ТТ.
-
3.7.2 Полный список измеряемых параметров приведен в подпункте 1.2.3.4.
-
3.7.3 Подключить к измерительному входу канала 1 токоизмерительные клещи, обхватить токоизмерительными клещами токопровод, параметры тока в котором необходимо измерить.
-
3.7.4 Настройки мультиметра в режиме «I1»
-
3.7.4.1 Нажать кнопку включения питания до появления звукового сигнала.
-
3.7.4.2 После вывода информации на индикатор нажать кнопку «Режим».
-
3.7.4.3 Убедиться в отсутствии символов пуска измерений «М» и просмотра архива измерений «А» в поле 2.
При наличии символа «М» нажать кнопку «Пуск/Стоп» или «Отмена».
При наличии символа «А» нажать кнопку «Отмена».
-
3.7.4.4 При помощи кнопки «^» перейти в поле 6 строки управления.
-
3.7.4.5 Используя кнопки «ф» или «ф» задать в редактируемом поле вход тока, символ «I».
-
3.7.4.6 Нажать кнопку «^-», перейти в поле 7 строки управления, режим измерений.
-
3.7.4.7 Используя кнопки «ф» или «ф» установить режим «I1».
-
3.7.4.8 Нажать кнопку «^», перейти в поле 8 строки управления, отображение данных.
-
3.7.4.9 Используя кнопки «Ф» или «ф» установить режим «НОМ». При этом в информационном поле выводится номинальное значение измеряемого тока.
Условное обозначение параметра «1ном» выводится в поле 10, а принадлежность параметра к измерительному входу канала 1 подтверждается надписью «1» в поле 9 строки управления. Пример отображения информации приведен на рисунке 3.17.

Рисунок 3.17
Номинальное значение тока 1ном, А, используется для расчета коэффициента загрузки по току. Расчет коэффициента загрузки по току 8I, %, производится в соответствии с формулой (3.3)
81 = I- ■ I00 %, (3.3)
ном
где I - измеренное среднеквадратическое значение силы тока, А.
При выполнении мультиметром функций амперметра без измерений коэффициента загрузки по току, номинальное значение тока не используется, поэтому действия, приведенные в подпунктах 3.7.4.8 - 3.7.4.11, не выполняются.
-
3.7.4.10 Нажимая на кнопку «^-», перейти в поле 10 строки управления, обозначение параметра, и нажать кнопку «Ввод» для перехода в режим редактирования номинального значения измеряемого тока. При этом в информационном поле кроме установленного номинального значения тока появится символ подчеркивания «_».
-
3.7.4.11 Порядок редактирования численного значения параметра приведен в подпункте 3.3.4.11.
-
3.7.4.12 Нажимая кнопку «^» перейти в поле 8 строки управления, отображение данных.
-
3.7.4.13 Нажав кнопку «ф» перейти в режим « ®», настройка списка отображаемых и архивируемых данных.
-
- коэффициент загрузки по току «81», %;
-
- коэффициент искажения синусоидальности тока «KI», %;
-
- коэффициент n-ой гармоники тока «KI(n)», %.
Для изменения списка измеряемых и архивируемых параметров необходимо выполнить действия, приведенные в подпунктах 3.7.4.14 - 3.7.4.17.
-
3.7.4.14 Нажимая кнопку «^-» перейти в поле 10 строки управления, обозначение параметра.
При первоначальном вхождении в режим настройки измеряемых параметров в информационном поле отображается признак измерений среднеквадратического значения тока по измерительному входу канала 1 «I».
Пример отображения информации на индикаторе мультиметра в режиме настройки измеряемых параметров приведен на рисунке 3.18.
-
3.7.4.15 Для изменения признака (смена состояния «ДА»-«НЕТ») необходимо нажать кнопку «Ввод». Повторное нажатие кнопки «Ввод» изменит значение признака на предыдущее состояние.
-
3.7.4.16 Для перехода к просмотру признака другого параметра необходимо использовать кнопки «ф» или «ф» и нажать кнопку «Ввод» для изменения признака.
-
3.7.4.17 По окончании просмотра (редактирования) списка измеряемых параметров нажимая кнопку «^» перейти в поле 8 строки управления, отображение данных.
Рисунок 3.18
-
3.7.5 Запуск измерений в режиме «I1»
Запуск измерений производится после выполнения действий, привденных в пункте 3.7.4.
-
3.7.5.1 Используя кнопки «^»и «^-» перейти в поле 8 строки управления, обозначение параметра.
-
3.7.5.2 Нажимая кнопку «ф» перейти в режим «0000» отображения результатов измерений.
-
3.7.5.3 Для начала измерений нажать кнопку «Пуск/Стоп», при этом в поле 2 служебной строки выводится символ «М», признак пуска измерений.
-
3.7.5.4 На индикаторе мультиметра отображаются результаты измерений первого из выбранных параметров, обычно «I». Условное обозначение параметра выводится в поле 10 строки управления.
Значение частоты основного сигнала отображается в левой верхней части информационного поля.
Если входной сигнал превышает пределы измерений, то каждое измерение сопровождается звуковым сигналом. Необходимо остановить измерение, нажав кнопку «Отмена» или «Пуск/Стоп». Входной сигнал может превышать пределы измерений при неправильном подключении мультиметра или при неверном задании режима измерений. После перевода мультиметра в режим останова измерений необходимо проверить схему подключений и заданный режим измерений и повторно перевести мультиметр в режим измерений нажав кнопку «Пуск/Стоп».
-
3.7.5.5 Нажимая кнопку «^» перейти в поле 10 строки управления, обозначение параметра.
-
3.7.5.6 Используя кнопки «ф» или «ф» выбирается параметр, результаты измерений которого отображаются на индикаторе.
-
3.7.5.7 При отображении результата измерений коэффициента искажения синусоидальности тока имеется возможность графического отображения коэффициентов n-ых гармоник тока. При нажатии кнопки «Ввод» на индикаторе выводится информация в виде, приведенном на рисунке 3.19.
Значение каждой гармоники тока выводится в виде вертикального отрезка, высота которого определяется отношением значения коэффициента n-ой гармоники тока к значению коэффициента искажения синусоидальности тока.
В нижней части изображения помещается курсор, который выделяет требуемую гармонику. Положение курсора изменяется по нажатию кнопок «■^» или «^-», при этом значение коэффициента выбранной n-ой гармоники тока отображается в верхней части изображения.
Выход из режима просмотра значений коэффициентов n-ых гармоник тока производится по нажатию кнопки «Отмена».

-
3.7.5.8 Количество усреднений результатов измерений при выводе на индикатор задается в меню «Настройки» и описано в пункте 3.15.5.
-
3.7.5.9 При отсутствии нажатий на какую-либо кнопку клавиатуры в течение времени, определенного параметром «Настройка/Выкл» мультиметр выключается. Настройка данного параметра описана в пункте 3.15.1.
-
3.7.5.10 Для сохранения очередного результата измерений в энергонезависимой памяти необходимо нажать кнопку «Запись». Каждой архивной записи присваивается номер. Перечень сохраняемых данных приведен в пункте 1.2.7.
-
3.7.5.11 Останов измерений производится при выключении питания мультиметра или повторным нажатием кнопки «Пуск/Стоп» или «Отмена». При этом в поле 2 строки управления не должен отображаться символ «М».
3.7.6 Просмотр архивных результатов измерений в режиме «I1»
Просмотр сохраненных результатов измерений производится отдельно для каждого режима работы, поэтому мультиметр перед выполнением действий, приведенных в подпунктах 3.7.6.1 - 3.7.6.7, должен быть переведен в режим «I1».
-
3.7.6.1 При наличии символа «М» в поле 2 служебной строки нажать кнопку «Пуск/Стоп» или «Отмена» и перевести мультиметр в режим останова измерений.
-
3.7.6.2 Нажать кнопку «Запись» и перевести мультиметр в режим просмотра архивов. При этом в поле 2 служебной строки выводится признак просмотра архива, символ «А» и порядковый номер записи. Например, «А19». Одновременно с этим выбирается поле 10 строки управления.
Время и дата сохраненных результатов измерений отображаются в поле 4 и поле 5 служебной строки соответственно.
-
3.7.6.3 В поле 10 строки управления выводится обозначение параметра, в поле 9 номер измерительного входа, а в информационном поле выводятся сохраненные результаты измерений в виде, приведенном на рисунке 3.20.
Рисунок 3.20
-
3.7.6.4 Для просмотра результатов измерений всех параметров в этой записи используются кнопки «ф» или «ф». Нажатие этих кнопок приводит к последовательному выводу результатов измерений.
-
3.7.6.5 Для перехода к следующей по времени записи необходимо нажать кнопку «^», для перехода к предыдущей - кнопку «^».
-
3.7.7.6 Выход из режима просмотра архивных результатов измерений производится нажатием кнопки «Отмена».
-
3.8.1 Режим используется при измерении параметров ТТ.
-
3.8.2 Полный список измеряемых параметров приведен в подпункте 1.2.3.4.
-
3.8.3 Подключить к измерительному входу канала 2 токоизмерительные клещи, обхватить токоизмерительными клещами токопровод, параметры тока в котором необходимо измерить.
-
3.8.4 Настройку, проведение измерений и просмотр архивов результатов измерений проводить в соответствии с подразделом 3.7.
-
3.9.1 Режим может быть реализован только при комплектации мультиметра двумя токоизмерительными клещами и используется при одновременном измерении параметров тока двух независимых источников.
-
3.9.2 Полный список измеряемых параметров приведен в подпункте 1.2.3.5.
-
3.9.3 Подключить к измерительным входам каналов 1 и 2 соответствующие токоизмерительные клещи, обхватить токоизмерительными клещами токопровода, параметры тока в которых необходимо измерить.
-
3.9.4 Настройки мультиметра в режиме «I1-2»
-
3.9.4.1 Нажать кнопку включения питания до появления звукового сигнала.
-
3.9.4.2 После вывода информации на индикатор нажать кнопку «Режим».
-
3.9.4.3 Убедиться в отсутствии символов пуска измерений «М» и просмотра архива измерений «А» в поле 2.
При наличии символа «М» нажать кнопку «Пуск/Стоп» или «Отмена».
При наличии символа «А» нажать кнопку «Отмена».
-
3.9.4.4 Используя кнопки «^» или «^» выбрать поле 6 строки управления.
-
3.9.4.5 Используя кнопки «ф» или «ф» выбрать в редактируемом поле вход тока, символ «I».
-
3.9.4.6 Нажать кнопку «^-», перейти в поле 7 строки управления, режим измерений.
-
3.9.4.7 Используя кнопки «ф» или «ф» установить режим «I1-2».
-
3.9.4.8 Нажать кнопку «^», перейти в поле 8 строки управления, отображение данных.
-
3.9.4.9 Используя кнопки «ф» или «ф» установить режим «НОМ». При этом в информационном поле выводится номинальное значение измеряемого тока для измерительного входа канала 1. Условное обозначение параметра «1НОМ» выводится в поле 10, а номер измерительного входа канала «1» или «2» в поле 9 строки управления.
Номинальное значение тока используется для расчета коэффициента загрузки по току. Расчет коэффициента загрузки по току производится в соответствии с формулой (3.3) для каждого измерительного входа.
При выполнении мультиметром функций амперметра без измерений коэффициента загрузки по току, номинальное значение тока не используется, поэтому действия, приведенные в подпунктах 3.9.4.10 - 3.9.4.13, не выполняются.
-
3.9.4.10 Нажимая на кнопку «^-», перейти в поле 10 строки управления, обозначение параметра, и нажать кнопку «Ввод» для перехода в режим редактирования номинального значения измеряемого тока. При этом в информационном поле кроме установленного номинального значения тока появится символ подчеркивания «_».
Пример вывода данных на индикатор мультиметра в режиме редактирования номинального значения тока по измерительным входам каналов 1 и 2 приведен на рисунке 3.21.

а)

Рисунок 3.21
б)
-
3.9.4.11 Порядок редактирования численного значения параметра приведен в подпункте 3.3.4.11.
-
3.9.4.12 Для перехода к просмотру номинального значения тока по измерительному входу каналу 2 нажать кнопку «Ф»или «ф». В поле 9 строки управления выводится номер «2». Редактирование параметра доступно после нажатия кнопки «Ввод», описание действий приведено в подпункте 3.3.4.11.
-
3.9.4.13 Нажимая кнопку «^» перейти в поле 8 строки управления, отображение данных.
-
3.9.4.14 Нажав кнопку «ф» перейти в режим « ©», настройки списка отображаемых и архивируемых данных.
По умолчанию устанавливается полный список измеряемых параметров режима «I1-2», который включает:
-
- среднеквадратическое значение силы тока «I» по измерительным входам каналов 1 и 2, А;
-
- среднеквадратическое значение силы тока основной частоты «I1» по измерительным входам каналов 1 и 2, А;
-
- коэффициент загрузки по току «51» для измерительных входов каналов 1 и 2, %;
-
- коэффициент искажения синусоидальности тока «KI» по
измерительным входам каналов 1 и 2, %;
-
- коэффициент n-ой гармоники тока «KI(n)» измерительным входам каналов 1 и 2, %;
-
- угол фазового сдвига между токами основной частоты по измерительным входам каналов 1 и 2 «Аф1»;
-
- угол фазового сдвига между n-ми гармониками тока по измерительным входам каналов 1 и 2 «Аф».
В поле 9 строки управления выводится номер измерительного входа, к которому относится измеряемый параметр.
Для изменения списка измеряемых параметров необходимо выполнить действия, приведенные в подпунктах 3.9.4.15 - 3.9.4.18.
-
3.9.4.15 Нажимая кнопку «^» перейти в поле 10 строки управления, обозначение параметра.
При первоначальном вхождении в режим настройки измеряемых параметров в информационном поле отображается признак измерений среднеквадратического значения силы тока «I» по измерительному входу канала 1.
Пример отображения информации на индикаторе мультиметра в режиме настройки измеряемых параметров приведен на рисунке 3.22.

Рисунок 3.22
-
3.9.4.16 Для изменения признака (смена состояния «ДА»-«НЕТ») необходимо нажать кнопку «Ввод». Повторное нажатие кнопки «Ввод» изменит значение признака на предыдущее состояние.
-
3.9.4.17 Для перехода к просмотру признака другого параметра необходимо использовать кнопки «ф» или «ф» и нажать кнопку «Ввод» для изменения признака.
-
3.9.4.18 По окончании просмотра (редактирования) списка измеряемых параметров нажимая кнопку «^» перейти в поле 8 строки управления, отображение данных.
-
3.9.5 Запуск измерений в режиме «I1-2»
Запуск измерений производится после выполнения действий, приведенных в пункте 3.9.4.
-
3.9.5.1 Используя кнопки «^» и «^» перейти в поле 8 строки управления, обозначение параметра.
-
3.9.5.2 Нажимая кнопку «ф» перейти в режим «0000» отображения результатов измерений.
-
3.9.5.3 Для начала измерений нажать кнопку «Пуск/Стоп», при этом в поле 2 служебной строки выводится символ «М», признак пуска измерений.
-
3.9.5.4 На индикаторе мультиметра отображаются результаты измерений первого из выбранных параметров, обычно «I» по измерительному входу канала 1. Условное обозначение параметра выводится в поле 10, номер измерительного входа канала 1 или 2 в поле 9 строки управления.
Значение частоты основного сигнала отображается в левой верхней части информационного поля.
Если входной сигнал превышает пределы измерений, то каждое измерение сопровождается звуковым сигналом. Необходимо остановить измерение, нажав кнопку «Отмена» или «Пуск/Стоп». Входной сигнал может превышать пределы измерений при неправильном подключении мультиметра или при неверном задании режима измерений. После перевода мультиметра в режим останова измерений необходимо проверить схему подключений и заданный режим измерений, повторно перевести мультиметр в режим измерений, нажав кнопку «Пуск/Стоп».
-
3.9.5.5 Нажимая кнопку «^» перейти в поле 10 строки управления, обозначение параметра.
-
3.9.5.6 Используя кнопки «ф» или «ф» выбирается параметр, результаты измерений которого отображаются на индикаторе.
Принадлежность измеряемого параметра к измерительному входу канала 1 или 2 указывается в поле 9 строки управления. Поле 9 остается свободным при выводе значения угла фазового сдвига между токами «Аф1».
-
3.9.5.7 При отображении результата измерений коэффициента искажения синусоидальности тока имеется возможность графического отображения коэффициентов n-ых гармоник тока и углов фазового сдвига между соответствующими n-ми гармониками тока по измерительным входам каналов 1 и 2. При нажатии кнопки «Ввод» на индикаторе выводится информация в виде, приведенном на рисунке 3.23.
Значение каждой гармоники тока выводится в виде вертикального отрезка, высота которого определяется отношением значения коэффициента n-ой гармоники к значению коэффициента искажения синусоидальности тока.
В нижней части изображения помещается курсор, который выделяет требуемую гармонику. Положение курсора изменяется по нажатию кнопок «■^» или «^-», при этом значение коэффициента выбранной n-ой гармоники отображается в верхней части изображения вместе со значением угла фазового сдвига между соответствующими n-ми гармониками тока по измерительным входам каналов 1 и 2.
Выход из режима просмотра значений коэффициентов n-ых гармоник тока производится по нажатию кнопки «Отмена».

-
3.9.5.8 Количество усреднений результатов измерений при выводе на индикатор задается в меню «Настройки» и описано в пункте 3.15.5.
-
3.9.5.9 При отсутствии нажатий на какую-либо кнопку клавиатуры в течение времени, определенного параметром «Настройка/Выкл» мультиметр выключается. Настройка данного параметра описана в пункте 3.15.1.
-
3.9.5.10 Для сохранения очередного результата измерений в энергонезависимой памяти необходимо нажать кнопку «Запись». Каждой архивной записи присваивается номер. Перечень сохраняемых данных приведен в пункте 1.2.7.
-
3.9.5.11 Останов измерений производится при выключении питания мультиметра или при повторном нажатие кнопки «Пуск/Стоп» или «Отмена». При этом в поле 2 строки управления не должен отображаться символ «М».
3.9.6 Просмотр архивных результатов измерений в режиме «I1-2»
Просмотр сохраненных результатов измерений производится отдельно для каждого режима работы, поэтому мультиметр перед выполнением операций, приведенных в подпунктах 3.9.6.1 - 3.9.6.7 должен быть переведен в режим «I1-2».
-
3.9.6.1 При наличии символа «М» в поле 2 служебной строки нажать кнопку «Пуск/Стоп» или «Отмена» и перевести мультиметр в режим останова измерений.
-
3.9.6.2 Нажать кнопку «Запись» и перевести мультиметр в режим просмотра архивов. При этом в поле 2 служебной строки выводится признак просмотра архива, символ «А» и порядковый номер записи. Например, «А19». Одновременно с этим выбирается поле 10 строки управления.
Время и дата сохраненных результатов измерений отображаются в поле 4 и поле 5 служебной строки соответственно.
-
3.9.6.3 В поле 10 строки управления выводится обозначение параметра, в поле 9 номер измерительного входа, а в информационном поле выводятся сохраненные результаты измерений в виде, приведенном на рисунке 3.24.
Рисунок 3.24
-
3.9.6.4 Для просмотра результатов измерений всех параметров выбранной записи используются кнопки «т» или «ф». Нажатие этих кнопок приводит к последовательному выводу результатов измерений.
-
3.9.6.5 Для перехода к следующей по времени записи необходимо нажать кнопку «^», для перехода к предыдущей - кнопку «^».
-
3.9.6.6 Выход из режима просмотра архивных результатов измерений производится нажатием кнопки «Отмена».
-
3.10.1 В режиме «ТТср» мультиметр используется как устройство сравнения при проверке ТТ с одновременным измерением дополнительных параметров тока. Режим может быть применен только при комплектации мультиметра двумя токоизмерительными клещами типа КП15-5.
В данном режиме используется одно значение номинального тока для обоих измерительных входов.
-
3.10.2 Полный список измеряемых параметров приведен в подпункте 1.2.3.6.
-
3.10.3 Подключить к измерительным входам каналов 1 и 2 соответствующие токоизмерительные клещи, обхватить токоизмерительными клещами токопровода, параметры тока в которых необходимо измерить и сравнить.
-
3.10.4 Настройки мультиметра в режиме «ТТср»
-
3.10.4.1 Нажать кнопку включения питания до появления звукового сигнала.
-
3.10.4.2 После вывода информации на индикатор нажать кнопку «Режим».
-
3.10.4.3 Убедиться в отсутствии символов пуска измерений «М» и просмотра архива измерений «А» в поле 2.
При наличии символа «М» нажать кнопку «Пуск/Стоп» и «Отмена».
При наличии символа «А» нажать кнопку «Отмена».
-
3.10.4.4 Используя кнопки «^» или «^» выбрать поле 6 строки управления.
-
3.10.4.5 Используя кнопки «ф» или «ф» выбрать в редактируемом поле вход напряжения, символ «U».
-
3.10.4.6 Нажать кнопку «^», перейти в поле 7 строки управления, режим измерений.
-
3.10.4.7 Используя кнопки «ф» или «ф» установить режим «ТТср».
-
3.10.4.8 Нажать кнопку «^», перейти в поле 8 строки управления, отображение данных.
-
3.10.4.9 Используя кнопки «ф» или «ф» установить режим «НОМ». При этом в информационном поле выводится номинальное значение измеряемого тока для обоих измерительных входов. Условное обозначение параметра «1НОМ» выводится в поле 10, а принадлежность параметра к обоим измерительным входам подтверждается надписью «1, 2» в поле 9 строки управления. Пример отображения информации приведен на рисунке 3.25.
Рисунок 3.25
Номинальное значение тока используется для выбора рабочего диапазона измерений.
-
3.10.4.10 Нажимая на кнопку «^», перейти в поле 10 строки управления, обозначение параметра, и нажать кнопку «Ввод» для перехода в режим редактирования номинального значения измеряемого тока. При этом в информационном поле кроме установленного номинального значения тока появится символ подчеркивания «_».
-
3.10.4.11 Порядок редактирования численного значения параметра приведен в подпункте 3.3.4.11.
-
3.10.4.12 Нажимая кнопку «^» перейти в поле 8 строки управления, отображение данных.
-
3.10.4.13 Нажав кнопку «ф» перейти в режим « ®», настройки списка отображаемых и архивируемых данных.
По умолчанию устанавливается полный список измеряемых параметров режима «ТТср», который включает:
-
- среднеквадратическое значение силы тока «I» по измерительным входам каналов 1 и 2, A;
-
- среднеквадратическое значение силы тока основной частоты «I1» по измерительным входам каналов 1 и 2, A;
-
- отклонение среднеквадратического значения силы тока основной частоты по измерительному входу канала 2 от среднеквадратического значения силы тока основной частоты по измерительному входу канала 1 «81», %;
-
- коэффициент искажения синусоидальности тока «KI» по
измерительным входам каналов 1 и 2, %;
-
- коэффициент n-ой гармоники тока «KI(n)» по измерительным входам каналов 1 и 2, %;
-
- угол фазового сдвига между токами основной частоты по измерительным входам каналов 1 и 2 «Аф1»;
-
- угол фазового сдвига между n-ми гармониками тока по измерительным входам каналов 1 и 2 «Аф».
Расчет отклонения среднеквадратического значения силы тока основной частоты по измерительному входу канала 2 от среднеквадратического значения силы тока основной частоты по измерительному входу канала 1 8/, %, производится в соответствии с формулой (3.4)
Ы . 100 %, (3.4)
I1
где I2 - измеренное среднеквадратическое значение силы тока основной частоты по измерительному входу канала 2, А;
I1 - измеренное среднеквадратическое значение силы тока основной частоты по измерительному входу канала 1, А.
В поле 9 строки управления выводится номер измерительного входа, к которому относится измеряемый параметр.
Для изменения списка измеряемых параметров необходимо выполнить действия, приведенные в подпунктах 3.10.4.14 - 3.10.4.17.
-
3.10.4.14 Нажимая кнопку «^-» перейти в поле 10 строки управления, обозначение параметра.
При первоначальном вхождении в режим настройки измеряемых параметров в информационном поле отображается признак измерений среднеквадратического значения силы тока «I» по измерительному входу канала 1.
Пример отображения информации на индикаторе мультиметра в режиме настройки измеряемых параметров приведен на рисунке 3.26.

Рисунок 3.26
-
3.10.4.15 Для изменения признака (смена состояния «ДА»-«НЕТ») необходимо нажать кнопку «Ввод». Повторное нажатие кнопки «Ввод» изменит значение признака на предыдущее состояние.
-
3.10.4.16 Для перехода к просмотру признака другого параметра необходимо использовать кнопки «ф» или «ф» и нажать кнопку «Ввод» для изменения признака.
-
3.10.4.17 По окончании просмотра (редактирования) списка измеряемых параметров нажимая кнопку «^» перейти в поле 8 строки управления, отображение данных.
-
3.10.5 Запуск измерений в режиме «ТТср»
Запуск измерений производится после выполнения действий, приведенных в пункте 3.10.4.
-
3.10.5.1 Используя кнопки «^» и «^» перейти в поле 8 строки управления, обозначение параметра.
-
3.10.5.2 Нажимая кнопку «ф» перейти в режим «0000» отображения результатов измерений.
-
3.10.5.3 Для начала измерений нажать кнопку «Пуск/Стоп», при этом в поле 2 служебной строки выводится символ «М» признака пуска измерений.
-
3.10.5.4 На индикаторе мультиметра отображаются результаты измерений первого из выбранных параметров, обычно «I» по измерительному входу канала 1. Условное обозначение параметра выводится в поле 10, номер измерительного входа канала 1 или 2 в поле 9 строки управления.
Значение частоты основного сигнала отображается в левой верхней части информационного поля.
В правой верхней части информационного поля выводится значение времени действия калибровочных коэффициентов в виде строки «Тклб = хх», где «хх» - время действия калибровочных коэффициентов в минутах.
Если входной сигнал превышает пределы измерений, то каждое измерение сопровождается звуковым сигналом. Необходимо остановить измерение, нажав кнопку «Отмена» или «Пуск/Стоп». Входной сигнал может превышать пределы измерений при неправильном подключении мультиметра или при неверном задании режима измерений. После перевода мультиметра в режим останова измерений необходимо проверить схему подключений и заданный режим измерений, повторно перевести мультиметр в режим измерений, нажав кнопку «Пуск/Стоп».
-
3.10.5.5 Нажимая кнопку «^-» перейти в поле 10 строки управления -обозначение параметра.
-
3.10.5.6 Используя кнопки «Ф» или «ф» выбирается параметр, результаты измерений которого отображаются на индикаторе.
Результату измерений угла фазового сдвига между токами соответствует обозначение «Аф1» в поле 10 строки управления, при этом поле 9 остается свободным.
-
3.10.5.7 При отображении результата измерений коэффициента искажения синусоидальности тока имеется возможность графического отображения коэффициентов n-ых гармоник тока и углов фазового сдвига между соответствующим гармониками тока по измерительным входам каналов 1 и 2. При нажатии кнопки «Ввод» на индикаторе выводится информация в виде, приведенном на рисунке 3.27.
Значение каждой гармоники тока выводится в виде вертикального отрезка, высота которого определяется отношением значения коэффициента n-ой гармоники тока к значению коэффициента искажения синусоидальности тока.

В нижней части изображения помещается курсор, который выделяет требуемую гармонику. Положение курсора изменяется по нажатию кнопок «•^» или «^-», при этом значение коэффициента выбранной n-ой гармоники тока отображается в верхней части изображения вместе со значением угла фазового сдвига между соответствующими n-ми гармониками напряжения по измерительным входам каналов 1 и 2.
Выход из режима просмотра значений коэффициентов n-ых гармоник тока производится по нажатию кнопки «Отмена».
-
3.10.5.8 Количество усреднений результатов измерений при выводе на индикатор задается в меню «Настройки» и описано в пункте 3.15.5.
-
3.10.5.9 При отсутствии нажатий на какую-либо кнопку клавиатуры в течение времени, определенного параметром «Настройка/Выкл» мультиметр выключается. Настройка данного параметра описана в пункте 3.15.1.
-
3.10.5.10 Для сохранения очередного результата измерений в энергонезависимой памяти необходимо нажать кнопку «Запись». Каждой архивной записи присваивается номер. Перечень сохраняемых данных приведен в пункте 1.2.7.
-
3.10.5.11 Останов измерений производится при выключении питания мультиметра или при повторном нажатии кнопки «Пуск/Стоп». При этом в поле 2 строки управления не должен отображаться символ «М».
3.10.6 Взаимная калибровка измерительных входов тока
С целью повышения точности измерений отклонения среднеквадратического значения силы тока измерительного входа канала 2 от среднеквадратического значения силы тока измерительного входа канала 1 и угла фазового сдвига между токами основной частоты по измерительным входам каналов 1 и 2 в мультиметре предусмотрена операция взаимной калибровки.
-
3.10.6.1 Калибровка выполняется при выводе в поле 10 строки управления наименования параметра «Клб1». При этом в информационном поле выводится значение калибровочного коэффициента Пример вывода данных для данного режима приведен на рисунке 3.28.
Рисунок 3.28
-
3.10.6.2 Время действия калибровочных коэффициентов «Тклб» после успешного выполнения операции калибровки устанавливается равным 60 мин.
-
3.10.6.3 Значение «Тклб» уменьшается по окончании каждой календарной минуты.
-
3.10.6.4 За время действия калибровки погрешность сравнения параметров двух токов соответствует таблице 1.2 в части проверки ТТ.
-
3.10.6.5 Операция калибровки может быть выполнена при соблюдении следующих условий:
- рассчитанный коэффициент калибровки не превышает удвоенной погрешности измерений;
- операция калибровки разрешена, параметр «КалР» в состоянии «Да».
-
3.10.6.6 Порядок получения разрешения калибровки:
- перевести мультиметр в режим останова измерений, нажав кнопку «Отмена»;
- нажать кнопку «Настр.» и перейти в режим общих настроек, выбрать поле 10 строки управления;
-
- нажимая кнопки «t> или «ф» выбрать в поле 10 строки управления параметр «КалР>, пример вывода информации на индикатор приведен на рисунке 3.15;
-
- если значение параметра установлено в состояние «Нет», то необходимо нажать кнопку «Ввод», в информационном поле под признаком «Нет» появится символ подчеркивания «_»;
-
- нажать кнопку «т» или «ф» и установить в информационном поле признак «Да»;
-
- нажать кнопку «Ввод», установив режим разрешения калибровки.
-
3.10.6.7 Порядок проведения калибровки
-
- подключить измерительные входы тока мультиметра параллельно к одному и тому же источнику тока;
-
- настроить мультиметр на работу в режиме «ТТср»;
-
- разрешить выполнение калибровки;
-
- произвести пуск измерений;
-
- вывести в информационном поле значение калибровочного коэффициента, в поле 10 служебной строки обозначение параметра «Клб1»;
-
- нажать кнопку «Ввод»;
- при разнице значений между токами меньше удвоенного значения погрешности измерений выполнится взаимная калибровка измерительных входов тока, значение параметра «Тклб» установится равным 60 мин, рассчитается и выведется на индикатор новое значение калибровочного коэффициента.
Проверить правильность выполнения калибровки можно по значениям параметров «81» и «Аф». После проведения калибровки значения параметров не должны превышать пределов допускаемой погрешности, установленных для параметров 20, 21 таблицы 1.2 соответственно, а параметр «Тклб»
устанавливается равным 60 мин. При необходимости, проводят взаимную калибровку повторно.
-
3.10.7 Просмотр архивных результатов измерений в режиме «ТТср»
Просмотр сохраненных результатов измерений производится отдельно для каждого режима работы, поэтому мультиметр перед выполнением операций, приведенных в подпунктах 3.10.7.1 - 3.10.7.7 должен быть переведен в режим «ТТср».
-
3.10.7.1 При наличии символа «М» в поле 2 служебной строки нажать кнопку «Пуск/Стоп» или «Отмена» и перевести мультиметр в режим останова измерений.
-
3.10.7.2 Нажать кнопку «Запись» и перевести мультиметр в режим просмотра архивов. При этом в поле 2 служебной строки выводится признак просмотра архива, символ «А» и порядковый номер записи, например, «А19». Одновременно с этим выбирается поле 10 строки управления.
Время и дата сохраненных результатов измерений отображаются в поле 4 и поле 5 служебной строки соответственно.
-
3.10.7.3 В поле 10 строки управления выводится обозначение параметра, в поле 9 - номер измерительного входа, а в информационном поле выводятся сохраненные результаты измерений в виде, приведенном на рисунке 3.29.
Рисунок 3.29
-
3.10.7.4 Для просмотра результатов измерений всех параметров в этой записи используются кнопки «Т» или «ф». Нажатие этих кнопок приводит к последовательному выводу результатов измерений.
-
3.10.7.5 Для перехода к следующей по времени записи необходимо нажать кнопку «^», для перехода к предыдущей - кнопку «^».
-
3.10.7.6 Выход из режима просмотра архивных результатов измерений производится нажатием кнопки «Отмена».
-
3.11.1 Режим используется при измерении параметров нагрузки вторичных цепей ТН. Режим может быть применен только при комплектации мультиметра токоизмерительными клещами типа КП15-5.
-
3.11.2 Полный список измеряемых параметров приведен в подпункте 1.2.3.7.
-
3.11.3 Подключить измерительный вход напряжения канала 1 на выходные клеммы ТН, а измерительный вход тока канала 2 с помощью токоизмерительных клещей на токопровод, соединяющий ТН с нагрузкой.
-
3.11.4 Настройки мультиметра в режиме «ТН»
-
3.11.4.1 Нажать кнопку включения питания до появления звукового сигнала.
-
3.11.4.2 После вывода информации на индикатор нажать кнопку «Режим».
-
3.11.4.3 Убедиться в отсутствии символов пуска измерений «М» и просмотра архива измерений «А» в поле 2.
При наличии символа «М» нажать кнопку «Пуск/Стоп» и «Отмена».
При наличии символа «А» нажать кнопку «Отмена».
-
3.11.4.4 Используя кнопки «^» или «^» выбрать поле 6 строки управления.
-
3.11.4.5 Используя кнопки «ф» или «ф» выбрать в редактируемом поле вход напряжения и тока, символ «U/I».
-
3.11.4.6 Нажать кнопку «^», перейти в поле 7 строки управления, режим измерений.
-
3.11.4.7 Используя кнопки «ф» или «ф» установить режим «ТН».
-
3.11.4.8 Нажать кнопку «^», перейти в поле 8 строки управления, отображение данных.
-
3.11.4.9 Используя кнопки «ф» или «ф» установить режим «НОМ». При этом в информационном поле выводится номинальное значение измеряемых параметров. Условное обозначение параметров «иНОМ» или «SHOM» выводится в поле 10. Перемещение по параметрам осуществляется при помощи кнопок «ф» или «ф». Пример отображения номинального значения измеряемой полной мощности приведен на рисунке 3.30.
Рисунок 3.30
Необходимо ввести требуемые номинальные значения параметров ТН: #НОМ, В, и *$НОМ, В’А-
-
3.11.4.10 Нажимая на кнопку «^», перейти в поле 10 строки управления, обозначение параметра, и нажать кнопку «Ввод» для перехода в режим редактирования номинального значения параметра. При этом в информационном поле кроме установленного номинального значения параметра появится символ подчеркивания «_».
-
3.11.4.11 Порядок редактирования численного значения параметра приведен в подпункте 3.3.4.11.
-
3.11.4.12 Нажимая кнопку «^» перейти в поле 8 строки управления, отображение данных.
-
3.11.4.13 Нажав кнопку «ф» перейти в режим « ®», настройки списка отображаемых и архивируемых данных.
По умолчанию устанавливается полный список измеряемых параметров режима «ТН», который включает:
-
- среднеквадратическое значение напряжения «U» по измерительному входу канала 1, В;
-
- отклонение среднеквадратического значения напряжения от номинального значения напряжения измерительному входу канала 1 «8U», %;
-
- коэффициент искажения синусоидальности напряжения по измерительному входу канала 1 «Ku», %;
-
- коэффициент n-ой гармоники напряжения по измерительному входу канала 1 «Ku(n)», %;
-
- среднеквадратическое значение тока по измерительному входу канала 2 «I», А
-
- коэффициент искажения синусоидальности тока по измерительному входу канала 2 «KI», %;
-
- коэффициент n-ой гармоники тока по измерительному входу канала 2 «KI(n)», %;
-
- угол фазового сдвига между n-ми гармониками тока по измерительному входу канала 2 и напряжения по измерительному входу канала 1 «Аф»;
-
- полная мощность нагрузки ТН «S», В-А;
-
- значение нагрузки ТН в процентном отношении от номинального значения полной мощности ТН «8S», %;
- угол фазового сдвига между током основной частоты по измерительному входу канала 2 и напряжением основной частоты по измерительному входу канала 1 «Дф1»;
- коэффициент мощности нагрузки ТН «КМ».
Расчет полной мощности нагрузки ТН при трехфазной четырехпроводной схеме подключений S, В-А, может производиться в соответствии с формулами (3.5), (3.6)
S = SA + SJ + Sc ,(3.5)
(3.6)
где Sa, Sb, Sc - полная мощность ТН по фазам А, В, С соответственно при однофазной схеме подключений, В-А;
P - активная мощность ТН при трехфазной четырехпроводной схеме подключений, P = РА + РВ + РС (РА, РВ, РС - активная (с учётом знака) мощность ТН по фазам А, В, С соответственно при однофазной схеме подключений), Вт;
Q - реактивная мощность ТН при трехфазной четырехпроводной схеме подключений, Q = Qa + Qb + Qc (Qa, Qb, Qc - реактивная (с учётом знака) мощность ТН по фазам А, В, С соответственно при однофазной схеме подключений), вар.
Расчет значения нагрузки ТН в процентном отношении от номинального значения полной мощности ТН 8S, %, производиться в соответствии с формулой (3.7) где ином - заданное номинальное значение напряжения ТН, В;
■ 2
ном
S
У
ном
(3.7)
U - измеренное среднеквадратическое значение напряжения, В;
Sh™ - заданная номинальная мощность ТН, В •А;
S - измеренная полная мощность нагрузки ТН, В •А.
Расчет коэффициента мощности нагрузки ТН производиться в соответствии с формулой (3.8)
Км = J, (3-8)
где P - измеренная активная мощность нагрузки ТН, Вт;
S - измеренная полная мощность нагрузки ТН, В •А.
В поле 9 строки управления выводится номер измерительного входа, к которому относится измеряемый параметр.
Для изменения списка измеряемых параметров необходимо выполнить действия, приведенные в подпунктах 3.11.4.14 - 3.11.4.17.
При первоначальном вхождении в режим настройки измеряемых параметров в информационном поле отображается признак измерений среднеквадратического значения напряжения «U» по измерительному входу канала 1.
Пример отображения информации на индикаторе мультиметра в режиме настройки измеряемых параметров приведен на рисунке 3.31.

Рисунок 3.31
-
3.11.4.15 Для изменения признака (смена состояния «ДА»-«НЕТ») необходимо нажать кнопку «Ввод». Повторное нажатие кнопки «Ввод» изменит значение признака на предыдущее состояние.
-
3.11.4.16 Для перехода к просмотру признака другого параметра необходимо использовать кнопки «ф» или «ф».
-
3.11.4.17 По окончании просмотра (редактирования) списка измеряемых параметров нажимая кнопку «^» перейти в поле 8 строки управления, отображение данных.
-
3.11.5 Запуск измерений в режиме «ТН»
Запуск измерений производится после выполнения действий, приведенных в пункте 3.11.4.
-
3.11.5.1 Используя кнопки «^»и «^-» перейти в поле 8 строки управления, обозначение параметра.
-
3.11.5.2 Нажимая кнопку «ф» перейти в режим «0000» отображения результатов измерений.
-
3.11.5.3 Нажимая кнопку «Ввод» выбрать тип схемы подключений ТН: однофазная, трёхфазная трехпроводная, трехфазная четырехпроводная. Каждому типу схемы подключений ТН соответствует условное обозначение:
_ - при однофазной схеме подключений ТН;
- при трехфазной трехпроводной схеме подключений ТН;
_ _ - при трехфазной четырехпроводной схеме подключений ТН, расчет мощности производится по формуле (3.5);
А - при трехфазной четырехпроводной схеме подключения ТН, расчет мощности производится по формуле (3.6).
-
3.11.5.5 На индикаторе мультиметра отображаются результаты измерений первого из выбранных параметров, обычно «U» по измерительному входу канала 1. Условное обозначение параметра выводится в поле 10, номер измерительного входа «1» в поле 9 строки управления.
Значение частоты основного сигнала отображается в левой верхней части информационного поля.
Если входной сигнал превышает пределы измерений, то каждое измерение сопровождается звуковым сигналом. Необходимо остановить измерение, нажав кнопку «Отмена» или «Пуск/Стоп». Входной сигнал может превышать пределы измерений при неправильном подключении мультиметра или при неверном задании режима измерений. После перевода мультиметра в режим останова измерений необходимо проверить схему подключений и заданный режим измерений, повторно перевести мультиметр в режим измерений, нажав кнопку «Пуск/Стоп».
-
3.11.5.6 Нажимая кнопку «^» перейти в поле 10 строки управления, обозначение параметра.
-
3.11.5.7 Используя кнопки «ф» или «ф» выбирается параметр, результаты измерений которого отображаются на индикаторе.
-
3.11.5.8 При отображении результата измерений коэффициента искажения синусоидальности напряжения и тока имеется возможность графического отображения коэффициентов n-ых гармоник напряжения и тока и углов фазового сдвига между соответствующими n-ми гармониками напряжения и тока. При нажатии кнопки «Ввод» на индикаторе выводится информация в виде, приведенном на рисунке 3.32.
Значение каждой гармоники напряжения и тока выводится в виде вертикального отрезка, высота которого определяется отношением значения коэффициента n-ой гармоники напряжения или тока к значению коэффициента искажения синусоидальности напряжения или тока соответственно.
В нижней части изображения помещается курсор, который выделяет требуемую гармонику. Положение курсора изменяется по нажатию кнопок «■^» или «^-», при этом значение коэффициента выбранной n-ой гармоники отображается в верхней части изображения вместе со значением угла фазового сдвига между соответствующими n-ми гармониками напряжения и тока.
Выход из режима просмотра значений коэффициентов n-ых гармоник напряжения или тока производится по нажатию кнопки «Отмена».

-
3.11.5.9 Количество усреднений результатов измерений при выводе на индикатор задается в меню «Настройки» и описано в пункте 3.15.5.
-
3.11.5.10 При отсутствии нажатий на какую-либо кнопку клавиатуры в течение времени, определенного параметром «Настройка/Выкл» мультиметр выключается. Настройка данного параметра описана в пункте 3.15.1.
-
3.11.5.11 Для сохранения очередного результата измерений в энергонезависимой памяти необходимо нажать кнопку «Запись». Каждой архивной записи присваивается номер. Перечень сохраняемых данных приведен в пункте 1.2.7.
-
3.11.5.12 Останов измерений производится при выключении питания мультиметра или при повторном нажатии кнопки «Пуск/Стоп». При этом в поле 2 строки управления не должен отображаться символ «М».
-
3.11.5.13 Измерение параметров нагрузки ТН при трехфазной трехпроводной схеме подключений производится двумя последовательными измерениями. Схемы подключений и последовательность при измерениях (указана цифрами) приведены на рисунке В.10 (приложение В). При каждом подключении необходимо зафиксировать результат измерений мощности, нажав кнопку «Ввод», при этом на индикаторе появится надпись с номером измерения, например, «1 измерение». При последнем измерении производится автоматический расчет полной мощности нагрузки трехфазного ТН, а также расчет значения нагрузки трехфазного ТН в процентном отношении от номинального значения полной мощности ТН и коэффициента полной мощности нагрузки трехфазного ТН.
-
3.11.5.14 Измерение параметров нагрузки ТН при трехфазной четырехпроводной схеме подключений производится тремя последовательными измерениями. Схемы подключения и последовательность при измерениях (указана цифрами) приведены на рисунке В.11 (приложение В). При каждом подключении необходимо зафиксировать результат измерений мощности, нажав кнопку «Ввод», при этом на индикаторе появится надпись с номером измерения, например, «1 измерение». При последнем измерении производится автоматический расчет полной мощности нагрузки трехфазного ТН, а также расчет значения нагрузки трехфазного ТН в процентном отношении от номинального значения полной мощности ТН и коэффициента полной мощности нагрузки трехфазного ТН.
Для сброса результата изменений мощности необходимо остановить измерение, нажав кнопку «Пуск/Стоп», а затем обнулить результаты, нажав кнопку «Отмена».
3.11.6 Просмотр архивных результатов измерений в режиме «ТН»
Просмотр сохраненных результатов измерений производится отдельно для каждого режима работы, поэтому мультиметр перед выполнением действий, приведенных в подпунктах 3.11.6.1 - 3.11.6.7, должен быть переведен в режим «ТН».
-
3.11.6.1 При наличии символа «М» в поле 2 служебной строки нажать кнопку «Пуск/Стоп» или «Отмена» и перевести мультиметр в режим останова измерений.
-
3.11.6.2 Нажать кнопку «Запись» и перевести мультиметр в режим просмотра архивов. При этом в поле 2 служебной строки выводится признак просмотра архива, символ «А» и порядковый номер записи. Например, «А19». Одновременно с этим выбирается поле 10 строки управления.
Время и дата сохраненных результатов измерений отображаются в поле 4 и поле 5 служебной строки.
-
3.11.6.3 В поле 10 строки управления выводится обозначение параметра, в поле 9 номер измерительного входа, а в информационном поле выводятся сохраненные результаты измерений в виде, приведенном на рисунке 3.33.
Рисунок 3.33
-
3.11.6.4 Для просмотра результатов измерений всех параметров в этой записи используются кнопки «т» или «ф». Нажатие этих кнопок приводит к последовательному выводу результатов измерений.
-
3.11.6.5 Для перехода к следующей по времени записи необходимо нажать кнопку «^», для перехода к предыдущей - кнопку «^».
-
3.11.6.6 Выход из режима просмотра архивных результатов измерений производится нажатием кнопки «Отмена».
-
3.12.1 Режим используется при измерении параметров нагрузки вторичных цепей ТТ.
-
3.12.2 Полный список измеряемых параметров приведен в подпункте 1.2.3.8.
-
3.12.3 Подключить измерительный вход напряжения канала 1 на выходные клеммы ТТ, а измерительный вход тока канала 2 с помощью токоизмерительных клещей на токопровод, соединяющий ТТ с нагрузкой.
-
3.12.4 Настройки мультиметра в режиме «ТТ»
-
3.12.4.1 Нажать кнопку включения питания до появления звукового сигнала.
-
3.12.4.2 После вывода информации на индикатор нажать кнопку «Режим».
-
3.12.4.3 Убедиться в отсутствии символов пуска измерений «М» и просмотра архива измерений «А» в поле 2.
При наличии символа «М» нажать кнопку «Пуск/Стоп».
При наличии символа «А» нажать кнопку «Отмена».
-
3.12.4.4 Используя кнопки «^» или «^» выбрать поле 6 строки управления.
-
3.12.4.5 Используя кнопки «ф» или «ф» выбрать в редактируемом поле вход напряжения и тока, символ «U/I».
-
3.12.4.6 Нажать кнопку «^», перейти в поле 7 строки управления, режим измерений.
-
3.12.4.7 Используя кнопки «ф» или «ф» установить режим «ТТ».
-
3.12.4.8 Нажать кнопку «^», перейти в поле 8 строки управления, отображение данных.
-
3.12.4.9 Используя кнопки «ф» или «ф» установить режим «НОМ». При этом в информационном поле выводится номинальное значение измеряемых параметров. Условное обозначение параметров «1НОМ» или «SHOM» выводится в поле 10. Перемещение по параметрам осуществляется при помощи кнопок «ф» или «ф». Пример отображения номинального значения измеряемой полной мощности приведен на рисунке 3.34.
Необходимо ввести требуемые номинальные значения параметров ТТ: /ном, А, и ^НОМ, В'А-
-
3.12.4.10 Нажимая на кнопку «^», перейти в поле 10 строки управления, обозначение параметра, и нажать кнопку «Ввод» для перехода в режим редактирования номинального значения параметра. При этом в информационном поле кроме установленного номинального значения параметра появится символ подчеркивания «_».
Рисунок 3.34
-
3.12.4.11 Порядок редактирования численного значения параметра приведен в подпункте 3.3.4.11.
-
3.12.4.12 Нажимая кнопку «^» перейти в поле 8 строки управления, отображение данных.
-
3.12.4.13 Нажав кнопку «ф» перейти в режим «‘ настройка списка отображаемых и архивируемых данных.
По умолчанию устанавливается полный список измеряемых параметров режима «ТТ», который включает:
-
- среднеквадратическое значение напряжения по измерительному входу канала 1 «U», В;
-
- коэффициент искажения синусоидальности напряжения по измерительному входу канала 1 «Ku», %;
-
- коэффициент n-ой гармоники напряжения по измерительному входу канала 1 «Ku(n)», %;
-
- среднеквадратическое значение силы тока по измерительному входу канала 2 «I», А;
-
- коэффициент загрузки по току для измерительного входа канала 2 «81», %;
-
- коэффициент искажения синусоидальности тока по измерительному входу канала 2 «KI», %;
-
- коэффициент n-ой гармоники тока по измерительному входу канала 2 «KI(n)», %;
-
- угол фазового сдвига между n-ми гармониками тока по измерительному входу канала 2 и напряжения по измерительному входу канала 1 «Дф(п)»;
-
- полная мощность нагрузки ТТ «S», В-А;
-
- значение мощности нагрузки ТТ в процентном отношении от номинального значения мощности ТТ «8S», %;
-
- угол фазового сдвига между током основной частоты по измерительному входу канала 2 и напряжением основной частоты по измерительному входу канала 1 «Дф1»;
-
- коэффициент мощности нагрузки ТТ «КМ».
Расчет значения нагрузки ТТ в процентном отношении от номинального значения полной мощности ТТ 8S, %, производиться в соответствии с формулой (3.9)
f I 2
ном
S
1
ном
■ 100 %,
(3.9)
где 1ном - заданное номинальное значение тока ТТ, В;
I- измеренное среднеквадратическое значение силы тока, В;
Уном - заданная номинальная мощность ТТ, В •А;
S - измеренная полная мощность нагрузки ТТ, В •А.
Расчет коэффициента мощности нагрузки ТТ производиться в соответствии с формулой (3.10)
Км = у, (3.10)
где P - измеренная активная мощность нагрузки ТТ, Вт;
S - измеренная полная мощность нагрузки ТТ, В •А.
В поле 9 строки управления выводится номер измерительного входа, к которому относится измеряемый параметр.
Для изменения списка измеряемых параметров необходимо выполнить действия, приведенные в подпунктах 3.12.4.14 - 3.12.4.17.
-
3.12.4.14 Нажимая кнопку «^-» перейти в поле 10 строки управления, обозначение параметра.
При первоначальном вхождении в режим настройки измеряемых параметров в информационном поле отображается признак измерений среднеквадратического значения напряжения «U» по измерительному входу канала 1.
Пример отображения информации на индикаторе мультиметра в режиме настройки измеряемых параметров приведен на рисунке 3.35.

Рисунок 3.35
-
3.12.4.15 Для изменения признака (смена состояния «ДА»-«НЕТ») необходимо нажать кнопку «Ввод». Повторное нажатие кнопки «Ввод» изменит значение признака на предыдущее состояние.
-
3.12.4.16 Для перехода к просмотру признака другого параметра необходимо использовать кнопки «ф» или «ф».
-
3.12.5 Запуск измерений в режиме «ТТ»
Запуск измерений производится после выполнения действий 3.11.4.
-
3.12.5.1 Используя кнопки «^» и «^» перейти в поле 8 строки управления, обозначение параметра.
-
3.12.5.2 Нажимая кнопку «ф» перейти в режим «0000» отображения результатов измерений.
-
3.12.5.3 Для начала измерений нажать кнопку «Пуск/Стоп», при этом в поле 2 служебной строки выводится символ «М», признак пуска измерений.
-
3.12.5.4 На индикаторе мультиметра отображаются результаты измерений первого из выбранных параметров, обычно «U» по измерительному входу канала 1. Условное обозначение параметра выводится в поле 10, номер измерительного входа «1» или «2» в поле 9 строки управления.
Значение частоты основного сигнала отображается в левой верхней части информационного поля.
Если входной сигнал превышает пределы измерений, то каждое измерение сопровождается звуковым сигналом. Необходимо остановить измерение, нажав кнопку «Отмена» или «Пуск/Стоп». Входной сигнал может превышать пределы измерений при неправильном подключении мультиметра или при неверном задании режима измерений. После перевода мультиметра в режим останова измерений необходимо проверить схему подключений и заданный режим измерений, повторно перевести мультиметр в режим измерений, нажав кнопку «Пуск/Стоп».
-
3.12.5.5 Нажимая кнопку «^» перейти в поле 10 строки управления, обозначение параметра.
-
3.12.5.6 Используя кнопки «ф» или «ф» выбирается параметр, результаты измерений которого отображаются на индикаторе.
-
3.12.5.7 При отображении результата измерений коэффициента искажения синусоидальности напряжения и тока имеется возможность графического отображения коэффициентов n-ых гармоник напряжения и тока и углов фазового сдвига между соответствующими n-ми гармониками напряжения и тока. При нажатии кнопки «Ввод» на индикаторе выводится информация в виде, приведенном на рисунке 3.36.
Значение каждой гармоники напряжения или тока выводится в виде вертикального отрезка, высота которого определяется отношением значения коэффициента n-ми гармоники напряжения или тока к значению коэффициента искажения синусоидальности напряжения или тока соответственно.
В нижней части изображения помещается курсор, который выделяет требуемую гармонику. Положение курсора изменяется по нажатию кнопок «■^» или «^-», при этом значение коэффициента выбранной n-ой гармоники отображается в верхней части изображения вместе со значением угла фазового сдвига между соответствующими n-ми гармониками напряжения и тока.
Значение w-ой Значение угла между п-ми

Рисунок 3.36
-
3.12.5.8 Количество усреднений результатов измерений при выводе на индикатор задается в меню «Настройки» и описано в пункте 3.15.5.
-
3.12.5.9 При отсутствии нажатий на какую-либо кнопку клавиатуры в течение времени, определенного параметром «Настройка/Выкл» мультиметр выключается. Настройка данного параметра описана в пункте 3.15.1.
-
3.12.5.10 Для сохранения очередного результата измерений в энергонезависимой памяти необходимо нажать кнопку «Запись». Каждой архивной записи присваивается номер. Перечень сохраняемых данных приведен в пункте 1.2.7.
-
3.12.5.11 Останов измерений производится при выключении питания мультиметра или при повторном нажатии кнопки «Пуск/Стоп». При этом в поле 2 строки управления не должен отображаться символ «М».
3.12.6 Просмотр архивных результатов измерений в режиме «ТТ»
Просмотр сохраненных результатов измерений производится отдельно для каждого режима работы, поэтому мультиметр перед выполнением действий, приведенных в 3.12.6.1 - 3.12.6.7, должен быть переведен в режим «ТТ».
-
3.12.6.1 При наличии символа «М» в поле 2 служебной строки нажать кнопку «Пуск/Стоп» или «Отмена» и перевести мультиметр в режим останова измерений.
-
3.12.6.2 Нажать кнопку «Запись» и перевести мультиметр в режим просмотра архивов. При этом в поле 2 служебной строки выводится признак просмотра архива, символ «А» и порядковый номер записи. Например, «А19». Одновременно с этим выбирается поле 10 строки управления.
Время и дата сохраненных результатов измерений отображаются в поле 4 и поле 5 служебной строки соответственно.
-
3.12.6.3 В поле 10 строки управления выводится обозначение параметра, в поле 9 номер измерительного входа, а в информационном поле выводятся сохраненные результаты измерений в виде, приведенном на рисунке 3.37.

Рисунок 3.37
-
3.12.6.4 Для просмотра результатов измерений всех параметров в этой записи используются кнопки «t> или «ф». Нажатие этих кнопок приводит к последовательному выводу результатов измерений.
-
3.12.6.5 Для перехода к следующей по времени записи необходимо нажать кнопку «^», для перехода к предыдущей - кнопку «^».
-
3.12.6.6 Выход из режима просмотра архивных результатов измерений производится нажатием кнопки «Отмена>.
-
3.13.1 Режим используется при измерении потерь напряжения на протяженных линиях связи, соединяющих ТН и счетчик электроэнергии или другое средство измерений.
Работа в режиме «илс» осуществляется двумя мультиметрами совместно. Обмен данными между ними производится по радиоканалу.
-
3.13.2 Полный список измеряемых параметров приведен в подпункте 1.2.3.9.
-
3.13.3 Подключить измерительные входы напряжения канала 1 каждого мультиметра параллельно нагрузке.
Для определения дополнительных параметров измерительных линий (характера нагрузки) подключить токоизмерительные клещи мультиметров к кабелю, соединяющему нагрузку с ТН.
-
3.13.4 Настройки мультиметров в режиме «илс»
-
3.13.4.1 Нажать кнопку включения питания до появления звукового сигнала.
-
3.13.4.2 После вывода информации на индикатор нажать кнопку «Режим».
-
3.13.4.3 Убедиться в отсутствии символов пуска измерений «М» и просмотра архива измерений «А» в поле 2.
При наличии символа «М» нажать кнопку «Пуск/Стоп» или «Отмена».
При наличии символа «А» нажать кнопку «Отмена».
-
3.13.4.4 Используя кнопки «^» или «^» выбрать поле 6 строки управления.
-
3.13.4.5 Используя кнопки «ф» или «ф» выбрать в редактируемом поле вход напряжения и тока, символ «U/I».
-
3.13.4.6 Нажать кнопку «^», перейти в поле 7 строки управления, режим измерений.
-
3.13.4.7 Используя кнопки «ф» или «ф» установить режим «илс».
-
3.13.4.8 Нажать кнопку «^», перейти в поле 8 строки управления, отображение данных.
-
3.13.4.9 Нажав кнопку «ф» перейти в режим « -®», настройки списка отображаемых и архивируемых данных.
По умолчанию устанавливается полный список измеряемых параметров режима «илс», который включает:
-
- среднеквадратическое значение напряжения основной частоты по измерительному входу канала 1 «U1», В;
-
- отклонение среднеквадратического значения напряжения основной частоты по измерительному входу канала 1 от среднеквадратического значения напряжения, принятого по радиоканалу от другого мультиметра «8U», %;
-
- среднеквадратическое значение силы тока основной частоты по измерительному входу канала 2 «I1», А;
-
- угол фазового сдвига между током основной частоты по измерительному входу канала 2 и напряжением основной частоты по измерительному входу канала 1 «Афи»;
-
- угол фазового сдвига между напряжением основной частоты по измерительному входу канала 1 одного мультиметра и среднеквадратическим значением напряжения по измерительному входу канала 1, полученным по радиоканалу от другого мультиметра «Аф».
Для изменения списка измеряемых параметров необходимо выполнить операции 3.13.4.10 - 3.13.4.13.
-
3.13.4.10 Нажимая кнопку «^-» перейти в поле 10 строки управления, обозначение параметра.
При первоначальном вхождении в режим настройки измеряемых параметров в информационном поле отображается признак измерений среднеквадратического значения напряжения «и» основной частоты по измерительному входу канала 1.
Пример отображения информации на индикаторе мультиметра в режиме настройки измеряемых параметров приведен на рисунке 3.38.

Рисунок 3.38
-
3.13.4.11 Для изменения признака (смена состояния «ДА»-«НЕТ») необходимо нажать кнопку «Ввод». Повторное нажатие кнопки «Ввод» изменит значение признака на предыдущее состояние.
-
3.13.4.12 Для перехода к просмотру признака другого параметра необходимо использовать кнопки «ф» или «ф».
-
3.13.4.13 По окончании просмотра (редактирования) списка измеряемых параметров нажимая кнопку «^» перейти в поле 8 строки управления, отображение данных.
-
3.13.4.14 При отсутствии нажатий на какую-либо кнопку клавиатуры в течение времени, определенного параметром «Настройка/Выкл» мультиметр выключается. Настройка данного параметра описана в пункте 3.15.1.
-
3.13.5 Порядок проведения измерений потерь напряжения на линии связи с помощью двух мультиметров в режиме «илс»
Порядок проведения измерений производится после выполнения действий, приведенных в пункте 3.13.4.
-
3.13.5.1 Задать режим работы по радиоканалу.
Для задания режима работы по радиоканалу необходимо выполнить следующие действия:
-
- нажать кнопку «Настр.»;
-
- используя кнопки «ф» или «ф» выбрать в поле 10 параметр «РКан»;
-
- нажать кнопку «Ввод», и в информационном поле дополнительно появится символ подчеркивания «_»;
-
- используя кнопки «ф» или «ф» задать для одного мультиметра режим «Ведущий», для другого - «Ведомый»;
-
- нажать кнопку «Ввод» для подтверждения нового режима работы радиоканала.
Пример вывода данных на индикатор мультиметра при задании режима работы радиоканала приведен на рисунке 3.39.

Рисунок 3.39
Для совместного измерения потерь напряжения на линии связи необходимо задание разных режимов работы радиоканалов для двух мультиметров. Выбор режима работы радиоканала мультиметров может выполняться произвольно, так как не влияет на результат измерений, а сказывается только на процедуре установления соединения мультиметров по радиоканалу.
Рекомендуется при работе в режимах, отличных от «Плс» отключать радиоканал для уменьшения энергопотребления мультиметра.
Выход из режима настройки радиоканала производится по нажатию кнопки «Режим».
Используя кнопки «^»и «^-» перейти в поле 8 строки управления, обозначение параметра.
Нажимая кнопку «ф» перейти в режим «0000» отображения результатов измерений.
-
3.13.5.2 Подключить мультиметры к ТН.
-
3.13.5.3 Произвести пуск измерений у мультиметров.
Для начала измерений нажать кнопку «Пуск/Стоп», при этом в поле 2 служебной строки выводится символ «М», признак пуска измерений.
Если входной сигнал превышает пределы измерений, то каждое измерение сопровождается звуковым сигналом. Необходимо остановить измерение, нажав кнопку «Отмена» или «Пуск/Стоп». Входной сигнал может превышать пределы измерений при неправильном подключении мультиметра или при неверном задании режима измерений. После перевода мультиметра в режим останова измерений необходимо проверить схему подключений и заданный режим измерений, повторно перевести мультиметр в режим измерений, нажав кнопку «Пуск/Стоп».
При установлении соединения по радиоканалу с другим мультиметром в поле 3 служебной строки выводится символ «у», что свидетельствует о расчете всех необходимых данных.
На индикаторе мультиметра отображаются результаты измерений первого из выбранных параметров, обычно «U» по измерительному входу канала 1. Условное обозначение параметра выводится в поле 10, номер измерительного входа «1» или «2» в поле 9 строки управления.
Значение частоты основного сигнала отображается в левой верхней части информационного поля.
В правой верхней части информационного поля выводится значение времени действия калибровочных коэффициентов в виде строки «Тклб = хх», где хх - время действия калибровочных коэффициентов в минутах.
Нажимая кнопку «^» перейти в поле 10 строки управления, обозначение параметра.
Используя кнопки «ф» или «ф» выбирается для отображения на индикаторе значения требуемых параметров.
-
3.13.5.4 Произвести взаимную калибровку мультиметров в соответствии с пунктом 3.13.6.
-
3.13.5.5 Остановить измерения у обоих мультиметрах.
Останов измерений производится при выключении питания мультиметра или при повторном нажатии кнопки «Пуск/Стоп». При этом в поле 2 строки управления не должен отображаться символ «М».
-
3.13.5.6 Отключить режим радиоканала.
-
3.13.5.7 Установить на обоих мультиметрах:
-
- параметры «Тпус» (время автоматического пуска режима измерений), «Nu3M» (количество измерений) и «Тфаз» (время повторного автоматического пуска режима измерений) в соответствии с пунктом 3.15.11;
-
- параметр «Nep» (количество усреднений результатов измерений) в диапазоне значений 20 - 30 в соответствии с пунктом 3.15.5;
-
- параметр «Выкл» (время автоматического выключения питания
мультиметра) равным 60 мин в соответствии с пунктом 3.15.1.
Параметры «Тпус» и «Тфаз» необходимо задавать достаточными для транспортировки мультиметра до объекта измерений и переключения его между фазами (объектами).
-
3.13.5.8 Перенести один из мультиметров к объекту измерений.
-
3.13.5.9 Подключить измерительные кабели.
-
3.13.5.10 При достижении значений минут таймера мультиметра установленного значения минут параметра «Тпус» произойдет автоматический пуск режима измерений. Результаты измерений автоматически записываются в архив (число измерений и записей в архив определяется параметром «Nu3M»). По окончанию измерений звуковой сигнал сообщит о необходимости переключить измерительные кабели к следующей фазе (объекту). По истечении времени переключения на другую фазу, установленного параметром «Тфаз», цикл измерений повторится. Результаты измерений автоматически записываются в архив после каждого цикла измерений.
-
3.13.5.11 Для остановки процесса измерений на объекте необходимо установить параметр «Тфаз» равным нулю.
-
3.13.5.12 Произвести сравнение архивных данных.
3.13.6 Взаимная калибровка измерительных входов напряжения двух мультиметров
С целью повышения точности измерений потерь напряжения на линии связи в мультиметре предусмотрена операция взаимной калибровки двух мультиметров.
Калибровка проводится только на мультиметре с режимом радиоканала «Ведомый».
-
3.13.6.1 Калибровка выполняется при выводе на индикатор значения калибровочного коэффициента, наименование параметра «Клби» в поле 10 строки управления. Пример вывода данных для этого режима приведен на рисунке 3.40.
Рисунок 3.40
-
3.13.6.2 Время действия калибровочных коэффициентов «Тклб» после успешного выполнения операции калибровки устанавливается равным 60 мин.
-
3.13.6.3 Значение «Тклб» уменьшается по окончании каждой
календарной минуты.
-
3.13.6.4 За время действия калибровки погрешность сравнения двух напряжений соответствует таблице 1.2 и подпункту 1.2.4.3.
-
3.13.6.5 Операция калибровки может быть выполнена при соблюдении следующих условий:
-
- рассчитанный коэффициент калибровки не превышает удвоенной погрешности измерений;
-
- операция калибровки разрешена, параметр «КалР» в состоянии «Да»;
-
- между мультиметрами существует связь по радиоканалу.
-
3.13.6.6 Порядок получения разрешения калибровки
-
- перевести мультиметр в режим останова измерений, нажать кнопку «Отмена»;
-
- нажать кнопку «Настр.», перейти в режим общих настроек и выбрать поле 10 строки управления;
-
- нажимая кнопки «т» или «ф» выбрать в поле 10 строки управления параметр «КалР», пример вывода информации на индикатор приведен на рисунке 3.15;
-
- если значение параметра установлено в состояние «Нет», необходимо нажать кнопку «Ввод» в информационном поле под признаком «Нет» появится символ подчеркивания «_»;
-
- нажать кнопку «т» или «ф» и установить в информационном поле признак «Да»;
-
- нажать кнопку «Ввод», установив режим разрешения калибровки.
-
3.13.6.7 Порядок проведения калибровки
-
- подключить измерительные входы напряжения канала 1 двух мультиметров параллельно к одному и тому же источнику напряжения;
-
- настроить мультиметр на работу в режиме «илс» в соответствии с пунктом 3.13.4;
-
- разрешить выполнение калибровки в соответствии с
подпунктом 3.13.6.6;
-
- разрешить работу радиоканала в соответствии с подпунктом 3.13.5.1;
-
- произвести пуск измерений в соответствии с подпунктом 3.13.5.3;
-
- вывести в информационном поле значение калибровочного коэффициента, в поле 10 служебной строки обозначение параметра «Клби»;
-
- нажать кнопку «Ввод»;
-
- при разнице значений между напряжениями меньше удвоенного значения погрешности измерений выполнится взаимная калибровка измерительных входов напряжения, значение параметра «Тклб» установится равным 60 мин, рассчитается и выведется на индикатор новое значение калибровочного коэффициента;
Проверить правильность выполнения калибровки можно по значению параметра «5U». После проведения калибровки значение параметра не должно превышать пределов допускаемой погрешности, установленных для параметра 1 таблицы 1.2 в подпункте 1.2.4.3 и в таблице 1.2, а параметр «Тклб» устанавливается равным 60 мин. При необходимости, проводят взаимную калибровку повторно.
-
3.13.7 Просмотр архивных результатов измерений в режиме «илс»
Просмотр сохраненных результатов измерений производится отдельно для каждого режима работы, поэтому мультиметр перед выполнением действий, приведенных в подпунктах 3.13.7.1 - 3.13.7.7 должен быть переведен в режим «илс».
-
3.13.7.1 При наличии символа «М» в поле 2 служебной строки нажать кнопку «Пуск/Стоп» или «Отмена» и перевести мультиметр в режим останова измерений.
-
3.13.7.2 Нажать кнопку «Запись» и перевести мультиметр в режим просмотра архивов. При этом в поле 2 служебной строки выводится признак просмотра архива, символ «А» и порядковый номер записи, например, «А19». Одновременно с этим выбирается поле 10 строки управления.
Время и дата сохраненных результатов измерений отображаются в поле 4 и поле 5 служебной строки соответственно.
-
3.13.7.3 В поле 10 строки управления выводится обозначение параметра, в поле 9 - номер измерительного входа, а в информационном поле выводятся сохраненные результаты измерений в виде, приведенном на рисунке 3.41.
Рисунок 3.41
-
3.13.7.4 Для просмотра результатов измерений всех параметров в этой записи используются кнопки «ф» или «ф». Нажатие этих кнопок приводит к последовательному выводу результатов измерений.
-
3.13.7.5 Для перехода к следующей по времени записи необходимо нажать кнопку «^», для перехода к предыдущей - кнопку «^».
-
3.13.7.6 Выход из режима просмотра архивных результатов измерений производится нажатием кнопки «Отмена>.
-
3.14.1 Режим используется при измерении параметров мощности.
-
3.14.2 Полный список измеряемых параметров приведен в подпункте 1.2.3.10.
-
3.14.3 Подключить измерительный вход напряжения канала 1 параллельно нагрузке, а измерительный вход тока канала 2 с помощью токоизмерительных клещей на токопровод.
-
3.14.4 Настройки мультиметра в режимах «PQW1> и «PQW2>
-
3.14.4.1 Нажать кнопку включения питания до появления звукового сигнала.
-
3.14.4.2 После вывода информации на индикатор нажать кнопку «Режим>.
-
3.14.4.3 Убедиться в отсутствии символов пуска измерений «М> и просмотра архива измерений «А> в поле 2.
При наличии символа «М> нажать кнопку «Пуск/Стоп> или «Отмена>.
При наличии символа «А> нажать кнопку «Отмена>.
-
3.14.4.4 Используя кнопки «^» или «^» выбрать поле 6 строки управления.
-
3.14.4.5 Используя кнопки «ф» или «ф» выбрать в редактируемом поле вход напряжения и тока, символ «U/I».
-
3.14.4.6 Нажать кнопку «^», перейти в поле 7 строки управления, режим измерений.
-
3.14.4.7 Используя кнопки «ф» или «ф» установить режим «PQW1» или «PQW2».
-
3.14.4.8 Нажать кнопку «^», перейти в поле 8 строки управления, отображение данных.
-
3.14.4.9 Нажав кнопку «ф» перейти в режим « ®», настройки списка отображаемых и архивируемых данных.
По умолчанию устанавливается полный список измеряемых параметров, который включает:
-
- среднеквадратическое значение напряжения «U» по измерительному входу канала 1 в режиме «PQW1» (по измерительному входу канала 2 в режиме «PQW2»), В;
-
- среднеквадратическое значение напряжения основной частоты «U1» по измерительному входу канала 1 в режиме «PQW1» (по измерительному входу канала 2 в режиме «PQW2»), В;
-
- коэффициент искажения синусоидальности напряжения «Ku» по измерительному входу канала 1 в режиме «PQW1» (по измерительному входу канала 2 в режиме «PQW2»), %;
-
- коэффициент n-ой гармоники напряжения «Ku(n)» по измерительному входу канала 1 в режиме «PQW1» (по измерительному входу канала 2 в режиме «PQW2»), %;
-
- среднеквадратическое значение силы тока «I» по измерительному входу канала 2 в режиме «PQW1» (по измерительному входу канала 1 в режиме «PQW2»), А;
-
- среднеквадратическое значение силы тока основной частоты «I1» по измерительному входу канала 2 в режиме «PQW1» (по измерительному входу канала 1 в режиме «PQW2»), А;
-
- коэффициент искажения синусоидальности тока «KI» по измерительному входу канала 2 в режиме «PQW1» (по измерительному входу канала 1 в режиме «PQW2»), %;
-
- коэффициент n-ой гармоники тока «KI(n)» по измерительному входу канала 2 в режиме «PQW1» (по измерительному входу канала 1 в режиме «PQW2»), %;
-
- угол фазового сдвига между n-ми гармониками тока по измерительному
входу канала 2 и напряжения по измерительному входу канала 1 в режиме «PQW1» (угол фазового сдвига между n-ми гармониками тока по
измерительному входу канала 1 и напряжения по измерительному входу канала 2 в режиме «PQW2») «Лф»;
-
- активная мощность «P», Вт;
-
- активная мощность по первой гармонике «P1», Вт;
-
- реактивная мощность «Q», вар;
-
- реактивная мощность по первой гармонике «Q1», вар;
-
- полная мощность «S», В-А;
-
- полная мощность по первой гармонике «S1», В-А;
-
- коэффициент мощности «КМ»;
-
- угол фазового сдвига между током по измерительному входу канала 2 и напряжения по измерительному входу канала 1 в режиме «PQW1» (угол фазового сдвига между током по измерительному входу канала 1 и напряжением по измерительному входу канала 2 в режиме «PQW2») «ЛфЬ>;
-
- активная энергия «Wa»;
-
- реактивная энергия «WR».
Для изменения списка измеряемых параметров необходимо выполнить действия, приведенные в перечислениях 3.14.4.10 - 3.14.4.13.
-
3.14.4.10 Нажимая кнопку «^-» перейти в поле 10 строки управления, обозначение параметра.
При первоначальном вхождении в режим настройки измеряемых параметров в информационном поле отображается признак измерений среднеквадратического значения напряжения «U» по измерительному входу канала 1 в режиме «PQW1» (среднеквадратического значения напряжения «U» по измерительному входу канала 2 в режиме «PQW2»).
Пример отображения информации на индикаторе мультиметра в режиме настройки измеряемых параметров приведен на рисунке 3.42.


а) б)
Рисунок 3.42
-
3.14.4.11 Для изменения признака (смена состояния «ДА»-«НЕТ») необходимо нажать кнопку «Ввод». Повторное нажатие кнопки «Ввод» изменит значение признака на предыдущее состояние.
-
3.14.4.12 Для перехода к просмотру признака другого параметра необходимо использовать кнопки «ф» или «ф».
-
3.14.4.13 По окончании просмотра (редактирования) списка измеряемых параметров нажимая кнопку «^» перейти в поле 8 строки управления, отображение данных.
-
3.14.5 Запуск измерений в режиме «PQW1» и «PQW2»
Запуск измерений производится после выполнения действий, приведенных в пункте 3.14.4.
-
3.14.5.1 Используя кнопки «^» и «^» перейти в поле 8 строки управления, обозначение параметра.
-
3.14.5.2 Нажимая кнопку «ф» перейти в режим «0000» отображения результатов измерений.
-
3.14.5.3 Нажимая кнопку «Ввод» выбрать тип схемы подключений: однофазная, трёхфазная трехпроводная, трехфазная четырехпроводная. Тип
Каждому типу схемы подключений соответствует условное обозначение: 3L - однофазная схеме подключений;
- трехфазная трехпроводная схеме подключений;

- трехфазная четырехпроводная схеме подключений, расчет полной мощности производится по формуле (3.5);
Н - трехфазная четырехпроводная схеме подключений, расчет полной мощности производится по формуле (3.6).
-
3.14.5.4 Для начала измерений мощности при однофазной схеме подключений нажать кнопку «Пуск/Стоп», при этом в поле 2 служебной строки выводится символ «М», признак пуска измерений.
-
3.14.5.5 На индикаторе мультиметра отображаются результаты измерений первого из выбранных параметров, обычно «U» по измерительному входу канала 1 в режиме «PQW1» (по измерительному входу канала 2 в режиме «PQW2»). Условное обозначение параметра выводится в поле 10, номер измерительного входа в поле 9 строки управления.
Значение частоты основного сигнала отображается в левой верхней части информационного поля.
Номер квадранта измеренной мощности указывается графически в правой верхней части информационного поля (рисунок 3.2). Номер квадранта определяется видом измеренной мощности и ее направлением, а также характером нагрузки, к которой подключается мультиметр (рисунок 3.43).
Экспортируемая активная мощность (прямое направление)
Импортируемая активная мощность (прямое направление)
II
Импортируемая реактивная мощность (прямое направление)
Экспортируемая реактивная мощность (прямое направление)
НН
ттт
IV

I, II, III, IV - номера квадрантов измеренной мощности; . - нагрузка индуктивного характера;
“ - нагрузка емкостного характера.
Рисунок 3.43
Если входной сигнал превышает пределы измерений, то каждое измерение сопровождается звуковым сигналом. Необходимо остановить измерение, нажав кнопку «Отмена» или «Пуск/Стоп». Входной сигнал может превышать пределы измерения при неправильном подключении мультиметра или при неверном задании режима измерений. После перевода мультиметра в режим останова измерений необходимо проверить схему подключений и заданный режим измерений, повторно перевести мультиметр в режим измерений, нажав кнопку «Пуск/Стоп».
-
3.14.5.6 Нажимая кнопку «^» перейти в поле 10 строки управления, обозначение параметра.
-
3.14.5.7 Используя кнопки «ф» или «ф» выбирается параметр, результаты измерений которого отображаются на индикаторе.
-
3.14.5.8 При отображении результата измерений коэффициента искажения синусоидальности напряжения и тока имеется возможность графического отображения значений коэффициентов n-ых гармоник напряжения и тока и углов фазового сдвига между соответствующими n-ми гармониками напряжения и тока. При нажатии кнопки «Ввод» на индикаторе выводится информация в виде, приведенном на рисунке 3.44.
Значение каждого коэффициента гармоники напряжения и тока выводится в виде вертикального отрезка, высота которого определяется отношением значения коэффициента n-ой гармоники напряжения или тока к значению коэффициента искажения синусоидальности напряжения или тока соответственно.
В нижней части изображения помещается курсор, который выделяет требуемую гармонику. Положение курсора изменяется по нажатию кнопок «■^» или «^-», при этом значение коэффициента выбранной n-ой гармоники напряжения или тока отображается в верхней части изображения вместе со значением угла фазового сдвига между соответствующими n-ми гармониками напряжения и тока.
-
3.14.5.9 Количество усреднений результатов измерений при выводе на индикатор задается в меню «Настройки» и описано в пункте 3.15.5.
-
3.14.5.10 При отсутствии нажатий на какую-либо кнопку клавиатуры в течение времени, определенного параметром «Настройка/Выкл» мультиметр выключается. Настройка данного параметра описана в пункте 3.15.1.
-
3.14.5.11 Для сохранения очередного результата измерений в энергонезависимой памяти необходимо нажать кнопку «Запись». Каждой архивной записи присваивается номер. Перечень сохраняемых данных приведен в пункте 1.2.7.
-
3.14.5.12 Останов измерений производится при выключении питания мультиметра или при повторном нажатии кнопки «Пуск/Стоп» или «Отмена». При этом в поле 2 строки управления не должен отображаться символ «М».
-
3.14.5.13 Измерение параметров активной, реактивной и полной
мощности при трехфазной трехпроводной схеме подключений производится двумя последовательными измерениями. Схемы подключений и последовательность при измерениях (указана цифрами) приведены на рисунке В.10 (приложение В). При каждом подключении необходимо
зафиксировать результат измерений мощности, нажав кнопку «Ввод», при этом на индикаторе появится надпись с номером измерения, например, «1 измерение». При последнем измерении производится автоматический расчет активной, реактивной и полной мощности, а также коэффициента мощности трехфазной сети.
-
3.11.5.14 Измерение параметров активной, реактивной и полной
мощности при трехфазной четырехпроводной схеме подключений производится тремя последовательными измерениями. Схемы подключения и последовательность при измерениях (указана цифрами) приведены на рисунке В11 (приложение В). При каждом подключении необходимо
зафиксировать результат измерений мощности, нажав кнопку «Ввод», при этом на индикаторе появится надпись с номером измерения, например, «1 измерение». При последнем измерении производится автоматический расчет активной, реактивной и полной мощности, а также коэффициента мощности трехфазной сети.
Для сброса результата изменений мощности необходимо остановить измерение, нажав кнопку «Пуск/Стоп», а затем обнулить результаты, нажав кнопку «Отмена».
-
3.14.6 Просмотр архивных результатов измерений в режиме «PQW1» и «PQW2»
Просмотр сохраненных результатов измерений производится отдельно для каждого режима работы, поэтому мультиметр перед выполнением действий, приведенных в подпунктах 3.14.6.1 - 3.14.6.7 должен быть переведен в режим «PQW1» («PQW2»).
-
3.14.6.2 Нажать кнопку «Запись» и перевести мультиметр в режим просмотра архивов. При этом в поле 2 служебной строки выводится признак просмотра архива, символ «А» и порядковый номер записи. Например, «А19». Одновременно с этим выбирается поле 10 строки управления.
Время и дата сохраненных результатов измерений отображаются в поле 4 и поле 5 служебной строки соответственно.
-
3.14.6.3 В поле 10 строки управления выводится обозначение параметра, в поле 9 номер измерительного входа, а в информационном поле выводятся сохраненные результаты измерений в виде, приведенном на рисунке 3.45.
а)
Рисунок 3.45
б)
-
3.14.6.4 Для просмотра результатов измерений всех параметров выбранной записи используются кнопки «ф» или «ф». Нажатие этих кнопок приводит к последовательному выводу результатов измерений.
-
3.14.6.5 Для перехода к следующей по времени записи необходимо нажать кнопку «^», для перехода к предыдущей - кнопку «^».
-
3.14.6.6 Выход из режима просмотра архивных результатов измерений производится нажатием кнопки «Отмена».
-
3.15.1 Время выключения
-
3.15.1.1 Выбор времени автоматического выключения питания мультиметра производится в разделе меню «Выкл» в режиме «Настройка».
Время выключения питания мультиметра определяется интервалом времени от момента последнего нажатия на кнопку клавиатуры, до автоматического выключения питания мультиметра. Этот параметр используется для увеличения времени работы от одного комплекта встраиваемых источников постоянного тока.
Значение параметра выбирается из ряда допустимых значений: 1; 5; 10; 30; 60 мин.
По умолчанию устанавливается время автоматического выключения питания мультиметра, равное 10 мин.
-
3.15.1.2 Для просмотра значения этого параметра необходимо выполнить следующие действия:
- нажать кнопку включения питания до появления звукового сигнала;
- после вывода информации на индикатор убедиться в отсутствии символов пуска измерений «М» и просмотра архива измерений «А» в поле 2. При наличии символа «М» нажать кнопку «Пуск/Стоп» или «Отмена», при наличии символа «А» нажать кнопку «Отмена»;
- нажать кнопку «Настр.». На индикаторе появится информация об общих настройках мультиметра, доступным для изменения является только наименование параметра в поле 10 строки управления;
- используя кнопки «т» или «ф» выбрать параметр «Выкл», пример вывода данных приведен на рисунке 3.46;

Рисунок 3.46
-
- для изменения значения параметра нажать кнопку «Ввод», при этом под значением параметра отобразится символ подчеркивания «_»;
-
- используя кнопки «т» или «ф» выбрать требуемое значение параметра и нажать кнопку «Ввод» для подтверждения ввода нового значения;
-
- для отмены ввода нового значения нажать кнопку «Отмена»;
-
- для перехода в режим настройки измерений нажать кнопку «Режим».
-
3.15.2 Управление подсветкой
-
3.15.2.1 Выбор времени автоматического выключения подсветки индикатора мультиметра производится в разделе меню «Тсв» в режиме «Настройка».
Подсветка индикатора позволяет использовать мультиметр в условиях недостаточной освещенности. Отключение подсветки индикатора при достаточной освещенности позволяет увеличить продолжительность непрерывной работы мультиметра от одного комплекта встраиваемых источников постоянного тока.
-
3.15.2.2 Значение параметра выбирается из ряда допустимых значений: 0; 10 - 60 с.
По умолчанию устанавливается режим выключенной подсветки, когда значение параметра равно 0 с.
- после вывода информации на индикатор убедиться в отсутствии символов пуска измерений «М» и просмотра архива измерений «А» в поле 2. При наличии символа «М» нажать кнопку «Пуск/Стоп» или «Отмена», при наличии символа «А» нажать кнопку «Отмена»;
- нажать кнопку «Настр.». На индикаторе появится информация об общих настройках мультиметра, доступным для изменения является только наименование параметра в поле 10 строки управления;
- используя кнопки «ф» или «ф» выбрать параметр «Тсв», пример вывода данных приведен на рисунке 3.47;

Рисунок 3.47
-
- для изменения значения параметра нажать кнопку «Ввод», при этом под значением параметра отобразится символ подчеркивания «_»;
-
- используя кнопки «Ф» или «ф» выбрать требуемое значение параметра и нажать кнопку «Ввод» для подтверждения ввода нового значения;
-
- для отмены ввода нового значения нажать кнопку «Отмена»;
-
- для перехода в режим настройки измерений нажать кнопку «Режим».
-
3.15.3 Установка даты и времени
-
3.15.3.1 Установка текущих значений времени и даты в мультиметре производится в разделе меню «Дата» в режиме «Настройка».
Мультиметр выпускается предприятием изготовителем с установленным значениями времени и даты, их начальная установка не требуется. Однако при сезонном изменении времени может возникнуть необходимость скорректировать текущие значения внутреннего таймера мультиметра. Для выполнения данной функции в мультиметре предусмотрен режим ввода новых значений времени и даты.
-
3.15.3.2 Кроме встраиваемых источников постоянного тока в мультиметре имеется дополнительная батарейка, которая обеспечивает питание внутреннего таймера мультиметра и непрерывный ход часов в выключенном состоянии и при извлечении встраиваемых источников постоянного тока.
-
3.15.3.3 Для ввода новых значений времени и даты необходимо выполнить следующие действия:
- нажать кнопку включения питания до появления звукового сигнала;
- после вывода информации на индикатор убедиться в отсутствии символов пуска измерений «М» и просмотра архива измерений «А» в поле 2. При наличии символа «М» нажать кнопку «Пуск/Стоп» или «Отмена», при наличии символа «А» нажать кнопку «Отмена»;
- нажать кнопку «Настр.». На индикаторе появится информация об общих настройках мультиметра, доступным для изменения является только наименование параметра в поле 10 строки управления;
- используя кнопки «т» или «ф» выбрать параметр «Дата», пример вывода данных приведен на рисунке 3.48;

Рисунок 3.48
-
- для изменения значения параметра нажать кнопку «Ввод», при этом в информационном поле появиться текущие значения времени и даты с символом подчеркивания «_»;
-
- используя кнопки «т» или «ф» выбрать требуемое значение параметра и нажать кнопку «Ввод» для подтверждения ввода нового значения;
-
- для отмены ввода нового значения нажать кнопку «Отмена»;
-
- для перехода в режим настройки измерений нажать кнопку «Режим».
-
3.15.4 Настройка интерфейса
-
3.15.4.1 Выбор используемого интерфейса и скорости передачи данных производится в разделах меню «Инт» и «V-rs» в режиме «Настройка».
Мультиметр оснащен следующими интерфейсами:
-
- I-RS - интерфейс RS-232 (расположен в корпусе мультиметра), который предназначен для проведения программной калибровки мультиметра по всем измерительным входом на предприятии-изготовителе;
-
- IrDa - инфракрасный порт, который предназначен для обмена информацией между мультиметром и внешними устройствами с помощью программного обеспечения «Архивы ПЭ».
По умолчанию отображается интерфейс IrDa. Для установки интерфейса IrDa необходимо выполнить действия, приведенные в подпункте 3.15.4.2.
Мультиметр поддерживает скорость передачи данных по интерфейсам в диапазоне от 1200 до 115200 бит/с (программное обеспечение «Архивы ПЭ» поддерживает скорость передачи данных равную 9600 бит/с). По умолчанию установлена скорость передачи данных равная 9600 бит/с.
- нажать кнопку включения питания до появления звукового сигнала;
- после вывода информации на индикатор убедиться в отсутствии символов пуска измерений «М» и просмотра архива измерений «А» в поле 2. При наличии символа «М» нажать кнопку «Пуск/Стоп» или «Отмена», при наличии символа «А» нажать кнопку «Отмена»;
- нажать кнопку «Настр.». На индикаторе появится информация об общих настройках мультиметра, доступным для изменения является только наименование параметра в поле 10 строки управления;
- используя кнопки «Ф» или «ф» выбрать параметр «Инт» при выборе типа интерфейса или «V-rs> при настройке скорости обмена, пример вывода данных приведен на рисунке 3.49;

а)

б)
Рисунок 3.49
-
- для изменения значения параметра нажать кнопку «Ввод», при этом под значением параметра отобразится символ подчеркивания «_»;
-
- используя кнопки «Ф» или «ф» выбрать требуемое значение параметра и нажать кнопку «Ввод» для подтверждения ввода нового значения;
-
- для отмены ввода нового значения нажать кнопку «Отмена»;
-
- для перехода в режим настройки измерений нажать кнопку «Режим».
-
3.15.5 Усреднение результатов измерений
-
3.15.5.1 Выбор количества результатов измерений, используемых для дополнительного усреднения, производится в разделе меню «Nep» в режиме «Настройка».
Мультиметр производит усреднение всех параметров каждые 0,5 с. Чтобы уменьшить влияние шумов, электромагнитных полей и других факторов в мультиметре реализована функция дополнительного усреднения результатов измерений.
-
3.15.5.2 Изменение данного параметра приводит к соответствующему изменению времени обновления результатов измерений на индикаторе мультиметра.
-
3.15.5.3 Допускается устанавливать значение параметра от одного до 60.
По умолчанию устанавливается значение параметра, равное четырем, то есть усреднение четырех результатов измерений.
-
3.15.5.4 Для ввода количества результатов измерений, используемых для дополнительного усреднения, необходимо выполнить следующие действия:
- нажать кнопку включения питания до появления звукового сигнала;
- после вывода информации на индикатор убедиться в отсутствии символов пуска измерений «М» и просмотра архива измерений «А» в поле 2. При наличии символа «М» нажать кнопку «Пуск/Стоп» или «Отмена», при наличии символа «А» нажать кнопку «Отмена»;
- нажать кнопку «Настр.». На индикаторе появится информация об общих настройках мультиметра, доступным для изменения является только наименование параметра в поле 10 строки управления;
- используя кнопки «ф» или «ф» выбрать параметр «Nep», пример вывода данных приведен на рисунке 3.50;

Рисунок 3.50
-
- для изменения значения параметра нажать кнопку «Ввод», при этом под значением параметра отобразится символ подчеркивания «_»;
-
- используя кнопки «Ф» или «ф» выбрать требуемое значение параметра и нажать кнопку «Ввод» для подтверждения ввода нового значения;
-
- для отмены ввода нового значения нажать кнопку «Отмена»;
-
- для перехода в режим настройки измерений нажать кнопку «Режим».
-
3.15.6 Настройка звукового сопровождения
-
3.15.6.1 Настройка звукового сопровождения работы с мультиметром производится в разделе меню «Звук» в режиме «Настройка».
Каждое нажатие кнопки мультиметра может сопровождаться звуковым сигналом.
По умолчанию устанавливается режим звукового сопровождения работы с мультиметром, когда значение параметра установлено в состоянии «Да».
-
3.15.6.2 Включение и выключение питания мультиметра при нажатии кнопки управления всегда сопровождается звуковым сигналом, даже когда значение параметра установлено в состоянии «Нет». При включении питания звуковой сигнал сообщает о возможности отжать нажатую клавишу. При выключении питания звуковой сигнал сообщает о возможности отжать нажатую клавишу.
- после вывода информации на индикатор убедиться в отсутствии символов пуска измерений «М» и просмотра архива измерений «А» в поле 2. При наличии символа «М» нажать кнопку «Пуск/Стоп» или «Отмена», при наличии символа «А» нажать кнопку «Отмена»;
- нажать кнопку «Настр.». На индикаторе появится информация об общих настройках мультиметра, доступным для изменения является только наименование параметра в поле 10 строки управления;
- используя кнопки «т» или «ф» выбрать параметр «Звук», пример вывода данных приведен на рисунке 3.51;

Рисунок 3.51
-
- для изменения значения параметра нажать кнопку «Ввод», при этом под значением параметра отобразится символ подчеркивания «_»;
-
- используя кнопки «т» или «ф» выбрать требуемое значение параметра и нажать кнопку «Ввод» для подтверждения ввода нового значения;
-
- для отмены ввода нового значения нажать кнопку «Отмена»;
-
- для перехода в режим настройки измерений нажать кнопку «Режим».
-
3.15.7 Управление работой радиоканала
-
3.15.7.1 Изменение режима работы мультиметра по радиоканалу производится в разделе меню «РКан» в режиме «Настройка».
Управление работой радиоканала осуществляется в режиме измерений потерь напряжения на линии связи от ТН до счетчика или другого средства измерений «илс», когда совместно используются два мультиметра, которые обмениваются результатами измерений по радиоканалу.
-
3.15.7.2 Для уменьшения тока потребления приемопередатчик мультиметра находится в выключенном состоянии (по умолчанию значение параметра установлено в состоянии «Нет»).
-
3.15.7.3 Мультиметр при проведении измерений в режиме «илс» может работать как ведущее или ведомое устройство. Это состояние определяет порядок синхронизации мультиметров по радиоканалу и не влияет на измерения.
- после вывода информации на индикатор убедиться в отсутствии символов пуска измерений «М» и просмотра архива измерений «А» в поле 2. При наличии символа «М» нажать кнопку «Пуск/Стоп» или «Отмена», при наличии символа «А» нажать кнопку «Отмена»;
- нажать кнопку «Настр.». На индикаторе появится информация об общих настройках мультиметра, доступным для изменения является только наименование параметра в поле 10 строки управления;
- используя кнопки «т» или «ф» выбрать параметр «РКан», пример вывода данных приведен на рисунке 3.52;

Рисунок 3.52
-
- для изменения значения параметра нажать кнопку «Ввод», при этом под значением параметра отобразится символ подчеркивания «_»;
-
- используя кнопки «т» или «ф» выбрать требуемое значение параметра и нажать кнопку «Ввод» для подтверждения ввода нового значения;
-
- для отмены ввода нового значения нажать кнопку «Отмена»;
-
- для перехода в режим настройки измерений нажать кнопку «Режим».
-
3.15.8 Взаимная калибровка измерительных входов мультиметра
-
3.15.8.1 Разрешение взаимной калибровки измерительных входов напряжения или тока мультиметра производится в разделе меню «КалР» в режиме «Настройка».
Взаимную калибровку измерительных входов требуется проводить при работе мультиметра в режимах «ТНср», «ТТср», «илс».
-
3.15.8.2 В обычном режиме взаимная калибровка каналов запрещена (по умолчанию значение параметра установлено в состоянии «Нет»). Для разрешения операции необходимо изменить значение параметра.
-
3.15.8.3 При установлении значения параметра в состояние «Да», мультиметр будет находится в этом состоянии до проведения взаимной калибровки. Через 1 мин после проведения взаимной калибровки значение параметра возвращается в запрещающее состояние для исключения случайной калибровки в процессе работы.
- после вывода информации на индикатор убедиться в отсутствии символов пуска измерений «М» и просмотра архива измерений «А» в поле 2. При наличии символа «М» нажать кнопку «Пуск/Стоп» или «Отмена», при наличии символа «А» нажать кнопку «Отмена»;
- нажать кнопку «Настр.». На индикаторе появится информация об общих настройках мультиметра, доступным для изменения является только наименование параметра в поле 10 строки управления;
- используя кнопки «т» или «ф» выбрать параметр «КалР», пример вывода данных приведен на рисунке 3.53;

Рисунок 3.53
-
- для изменения значения параметра нажать кнопку «Ввод», при этом под значением параметра отобразится символ подчеркивания «_»;
-
- используя кнопки «т» или «ф» выбрать требуемое значение параметра и нажать кнопку «Ввод» для подтверждения ввода нового значения;
-
- для отмены ввода нового значения нажать кнопку «Отмена»;
-
- для перехода в режим настройки измерений нажать кнопку «Режим».
-
3.15.9 Общая калибровка мультиметра
-
3.15.9.1 При выпуске из производства мультиметр проходит калибровку и поверку. Чтобы исключить возможность несанкционированного изменения калибровочных коэффициентов в мультиметре сохраняется дата и время последней операции калибровки.
Просмотр времени и даты последней калибровки мультиметра производится в разделе меню «ДатК» в режиме «Настройка».
-
3.15.9.2 Для просмотра времени и даты последней калибровки мультиметра необходимо выполнить следующие действия:
-
- нажать кнопку включения питания до появления звукового сигнала;
-
- после вывода информации на индикатор убедиться в отсутствии символов пуска измерений «М» и просмотра архива измерений «А» в поле 2. При наличии символа «М» нажать кнопку «Пуск/Стоп» или «Отмена», при наличии символа «А» нажать кнопку «Отмена»;
- нажать кнопку «Настр.». На индикаторе появится информация об общих настройках мультиметра, доступным для изменения является только наименование параметра в поле 10 строки управления;
- используя кнопки «т» или «ф» выбрать параметр «ДатК», пример вывода данных приведен на рисунке 3.54.

Рисунок 3.54
-
3.15.10 Начальная инициализация
-
3.15.10.1 Интерфейс пользователя предполагает настройку некоторых параметров работы мультиметра, а именно: измеряемые, отображаемые и архивируемые данные для каждого из режимов работы, номинальные значения токов и напряжений и т.п.
Установка этих параметров в состояние, установленное по умолчанию, производится в разделе меню «Сбр» в режиме «Настройка».
-
3.15.10.2 Для установки номинальных значений параметров мультиметра необходимо выполнить следующие действия:
-
- нажать кнопку включения питания до появления звукового сигнала;
-
- после вывода информации на индикатор убедиться в отсутствии символов пуска измерений «М» и просмотра архива измерений «А» в поле 2. При наличии символа «М» нажать кнопку «Пуск/Стоп» или «Отмена», при наличии символа «А» нажать кнопку «Отмена»;
-
- нажать кнопку «Настр.». На индикаторе появится информация об общих настройках мультиметра, доступным для изменения является только наименование параметра в поле 10 строки управления;
-
- используя кнопки «т» или «ф» выбрать параметр «Сбр», пример вывода данных приведен на рисунке 3.55;
Рисунок 3.55
-
- используя кнопки «t> или «ф» выбрать значение «ДА» и нажать кнопку «Ввод> для подтверждения ввода нового значения;
-
- при этом мультиметр выполнит установку параметров в исходное значение и выключится;
-
- включить мультиметр и перейти в требуемый режим работы.
-
3.15.11 Настройка мультиметра для измерений потерь напряжения на линии связи
-
3.15.11.1 Настройка параметров необходимых для проведения измерений потерь напряжений на линии связи производится в разделах меню «Тпус», «Тфаз» и «Nu3M» в режиме «Настройка».
Настройки параметров осуществляются в режиме измерений потерь напряжения на линии связи от ТН до счетчика или другого средства измерений «Иле», когда совместно используются два мультиметра, которые обмениваются результатами измерений по радиоканалу.
-
3.15.11.2 На двух мультиметрах устанавливают следующие параметры:
-
- время автоматического пуска режима измерений (раздел меню «Тпуе»). Значение параметра выбирается из ряда допустимых значений: от 0 до 59 мин. По умолчанию значение параметра установлено в состоянии «30»;
-
- количество измерений (раздел меню «Nu3M»). Значение параметра выбирается из ряда допустимых значений: 1; 2; 3; 4; 5. По умолчанию значение параметра установлено в состоянии «1»;
-
- время повторного автоматического пуска режима измерений (раздел меню «Тфаз»). Значение параметра выбирается из ряда допустимых значений: от 0 до 59 мин. По умолчанию значение параметра установлено в состоянии «0», что запрещает работу мультиметра в автоматическом режиме измерений.
-
3.15.11.3 Для настройки параметров мультиметра для проведения измерений потерь напряжений на линии связи необходимо выполнить следующие действия:
-
- нажать кнопку включения питания до появления звукового сигнала;
-
- после вывода информации на индикатор убедиться в отсутствии символов пуска измерений «М» и просмотра архива измерений «А» в поле 2. При наличии символа «М» нажать кнопку «Пуск/Стоп» или «Отмена», при наличии символа «А» нажать кнопку «Отмена»;
-
- нажать кнопку «Настр.». На индикаторе появится информация об общих настройках мультиметра, доступным для изменения является только наименование параметра в поле 10 строки управления;
-
- используя кнопки «т» или «ф» выбрать параметр «Тпуе» при выбора времени запуска измерений или «Тфаз» при выборе времени переключения на другую фазу, или «Nu3M» при выборе количества измерений, пример вывода данных приведен на рисунке 3.56;
-
- для изменения значения параметра нажать кнопку «Ввод», при этом под значением параметра отобразится символ подчеркивания «_»;
-
- используя кнопки «t» или «ф» выбрать требуемое значение параметра и нажать кнопку «Ввод» для подтверждения ввода нового значения;
-
- для отмены ввода нового значения нажать кнопку «Отмена»;
-
- для перехода в режим настройки измерений нажать кнопку «Режим».
а) б)
в)
Рисунок 3.56
-
3.15.12 Идентификационные данные внутреннего программного обеспечения мультиметра
-
3.15.12.1 Просмотр идентификационных данных внутреннего программного обеспечения (далее - ПО) мультиметра производится в разделе меню «КС» в режиме «Настройка».
В информационном поле приводится контрольная сумма исполняемого кода внутреннего ПО мультиметра.
В строке управления приводятся номер мультиметра и номер версии внутреннего ПО мультиметра.
ПО: 1.9 1
Номер версии внутреннего ПО мультиметра____________________|
Условное обозначение типа токоизмерительных клещей, которыми комплектуется мультиметр по измерительному входу канала 1:
1 - токоизмерительные клещи типа КП 15-5;
5 - токоизмерительные клещи типа КП52-1000;
0 - токоизмерительные клещи отсутствуют_______________________
Условное обозначение типа токоизмерительных клещей, которыми комплектуется мультиметр по измерительному входу канала 2:
1 - токоизмерительные клещи типа КП15-5;
5 - токоизмерительные клещи типа КП52-1000;
0 - токоизмерительные клещи отсутствуют
-
3.15.12.2 Для просмотра идентификационных данных внутреннего ПО мультиметра необходимо выполнить следующие действия:
-
- нажать кнопку включения питания до появления звукового сигнала;
-
- после вывода информации на индикатор убедиться в отсутствии символов пуска измерений «М» и просмотра архива измерений «А» в поле 2. При наличии символа «М» нажать кнопку «Пуск/Стоп» или «Отмена», при наличии символа «А» нажать кнопку «Отмена»;
-
- нажать кнопку «Настр.». На индикаторе появится информация об общих настройках мультиметра, доступным для изменения является только наименование параметра в поле 10 строки управления;
-
- используя кнопки «т» или «ф» выбрать параметр «КС», пример вывода данных приведен на рисунке 3.57.
Рисунок 3.57
4 Техническое обслуживание-
4.1 Техническое обслуживание мультиметра заключается в выполнении следующих работ:
- систематическое наблюдение за правильностью работы;
- периодический осмотр, при котором проверяется отсутствие внешних механических повреждений мультиметра, токоизмерительных клещей и других изделий в соответствии с комплектностью мультиметра;
- удаление с корпуса мультиметра пыли, грязи, влаги;
- удаление с корпуса токоизмерительных клещей пыли, грязи;
- очистка контактных поверхностей магнитопровода и фиксатора закрытого положения токоизмерительных клещей;
- заряд аккумуляторов;
- замена аккумуляторов.
4.2 Заряд аккумуляторовЗаряд аккумуляторов должен производиться во внешнем зарядном устройстве из комплекта поставки:
-
- после 4 - 8 ч работы мультиметра;
-
- еженедельно если общее время работы за неделю не превышает 8 ч.
Для заряда аккумуляторов необходимо выполнить следующие действия:
-
- отключить соединительные кабели напряжения и токоизмерительные клещи от измеряемой цепи;
-
- выключить питание мультиметра;
-
- отсоединить кабели напряжения и токоизмерительные клещи от входов мультиметра;
-
- надавить на верхнюю часть крышки аккумуляторного отсека и сдвинуть её вниз;
-
- снять крышку аккумуляторного отсека с мультиметра;
-
- вынуть аккумуляторы из аккумуляторного отсека;
-
- вставить новые аккумуляторы. Для замены использовать только NiMH аккумуляторы типоразмера АА (HR6). При установке аккумуляторов соблюдайте полярность;
-
- установить на место крышку аккумуляторного отсека.
ПРЕДОСТЕРЕЖЕНИЕ: НА КЛЕММАХ ДЛЯ ПОДКЛЮЧЕНИЯ АККУМУЛЯТОРОВ МОЖЕТ ОКАЗАТЬСЯ ОПАСНОЕ НАПРЯЖЕНИЕ! ВО ИЗБЕЖАНИЕ ПОРАЖЕНИЯ ЭЛЕКТРИЧЕСКИМ ТОКОМ ПРИ ЗАМЕНЕ АККУМУЛЯТОРОВ, ПЕРЕД ТЕМ КАК СНЯТЬ КРЫШКУ АККУМУЛЯТОРНОГО ОТСЕКА, ОТКЛЮЧИТЕ МУЛЬТИМЕТР ОТ ИЗМЕРЯЕМОЙ ЦЕПИ И ВЫКЛЮЧИТЕ МУЛЬТИМЕТР.
5 Поверка мультиметра-
5.1 Поверка мультиметра должна проводиться в соответствии с документом «Мультиметр «Ресурс-ПЭ». Методика поверки.
БГТК.411181.018 МП».
-
5.2 Межповерочный интервал - четыре года
-
5.3 Поверка осуществляется с помощью калибратора переменного тока «Ресурс-К2».
-
6.1 Мультиметр до введения в эксплуатацию следует хранить на складах в упаковке предприятия-изготовителя при температуре окружающего воздуха от 0 до плюс 40°С и относительной влажности воздуха не более 80 % при температуре плюс 35 °С.
-
6.2 Хранить мультиметры без упаковки следует при температуре окружающего воздуха от плюс 10 до плюс 35 °С и относительной влажности воздуха 80 % при температуре плюс 25 °С. В помещениях для хранения содержание пыли, паров, кислот и щелочей, агрессивных газов и других вредных примесей, вызывающих коррозию, не должно превышать содержание коррозионно-стойких агентов для атмосферы типа 1 по ГОСТ 15150-69.
-
7.1 Транспортирование мультиметра должно производиться в закрытых транспортных средствах любого вида. При транспортировании самолётом мультиметр должен быть размещён в отапливаемом герметизированном отсеке.
-
7.2 Условия транспортирования мультиметра в части климатических воздействий. Мультиметр выдерживает условия, установленные для группы 4 по ГОСТ 22261-94:
-
- температура окружающего воздуха от минус 50 до плюс 70 °С;
-
- относительная влажность воздуха 95 % при 30 °С;
-
- атмосферное давление от 70 до 106,7 кПа (от 537 до 800 мм рт. ст.).
-
7.3 Условия транспортирования мультиметра в части механических воздействий. Мультиметр выдерживает условия, установленные для группы 4 по ГОСТ 22261-94 (транспортная тряска):
-
- число ударов в минуту от 80 до 120;
-
- максимальное ускорение 30 м/с2.
А.1 Габаритные и установочные размеры мультиметра представлены на рисунке А.1.


Рисунок А.1
Приложение Б Расположение соединителей измерительных входовБ.1 Обозначение соединителей измерительных входов на лицевой панели мультиметра представлено на рисунке Б.1.

Рисунок Б.1
Б.2 Расположение соединителей измерительных входов мультиметра представлено на рисунке Б.2.

Измерительные входы канала 1
Измерительные входы канала 2
Рисунок Б.2
Приложение В Схемы подключенийВ.1 Схема подключений мультиметра в режиме «U1» представлена на рисунке В.1.

Рисунок В.1
В.2 Схема подключений мультиметра в режиме «U2» представлена на рисунке В.2.

Рисунок В.2

Рисунок В.3
В.4 Схема подключений мультиметра в режиме «THcp» представлена на рисунке В.4.

Рисунок В.4

Рисунок В.5
В.6 Схема подключений мультиметра в рисунке В.6.
режиме «I2» представлена на
Счетчик электроэнергии


Рисунок В.6

Рисунок В.7
В.8 Схема подключений мультиметра в режиме «ТТср» представлена на рисунке В.8.
Счетчик электроэнергии .
■■■

Рисунок В.8

Счетчик электроэнергии DLJD
TH

Рисунок В.9
В.10 Схема подключений мультиметра в режиме «ТН» и «PQW1» при трехфазной трехпроводной схеме подключений представлена на рисунке В.10.

Рисунок В.10

Рисунок В.11
В.12 Схема подключений рисунке В.12.
мультиметра в режиме «TT» представлена на

Рисунок В.12

Рисунок В.13
В.14 Схема подключений мультиметра в режиме «илс» представлена на рисунке В.14.

Рисунок В.14
Приложение Г Условные обозначенияГ.1 Условные обозначения исходных данных и измеряемых параметров в меню мультиметра:
U - среднеквадратическое значение напряжения;
U1 - среднеквадратическое значение напряжения основной частоты; ином - номинальное значение напряжения;
8U - отклонение среднеквадратического значения напряжения от
номинального значения напряжения или отклонение среднеквадратического значения напряжения по измерительному входу канала 2 от среднеквадратического значения напряжения по измерительному входу канала 1 (в зависимости от режима измерений мультиметра);
Ки - коэффициент искажения синусоидальности напряжения;
Кип - коэффициент n-ой гармонической составляющей напряжения;
Дфи - угол фазового сдвига между напряжениями основной частоты или угол фазового сдвига между током основной частоты по измерительному входу канала 2 и напряжением основной частоты по измерительному входу канала 1 (в зависимости от режима измерений мультиметра);
-
I - среднеквадратическое значение силы тока;
-
II - среднеквадратическое значение силы тока основной частоты; 1ном - номинальное значение тока;
SI - коэффициент загрузки по току или отклонение
среднеквадратического значения силы тока по измерительному входу канала 2 от среднеквадратического значения силы тока по измерительному входу канала 1 (в зависимости от режима измерений мультиметра);
К1 - коэффициент искажения синусоидальности тока;
К1п - коэффициент n-ой гармонической составляющей тока;
Дф1 - угол фазового сдвига между токами основной частоты или угол
фазового сдвига между током и напряжением основной частоты (в зависимости от режима измерений мультиметра);
P - активная мощность;
P1 - активная мощность основной частоты;
Q - реактивная мощность;
Q1 - реактивная мощность основной частоты;
Sном - номинальное значение полной мощности;
S - полная мощность;
S1 - полная мощность основной частоты;
WA - активная энергия;
WR - реактивная энергия;
Дф - угол фазового сдвига между n-ми гармоническими составляющими напряжения или угол фазового сдвига между л-ми гармоническими составляющими тока, или угол фазового сдвига между л-ми гармоническими составляющими напряжения и тока, или угол фазового сдвига между среднеквадратическим значением напряжения одного мультиметра и среднеквадратическим значением напряжения, принятым по радиоканалу от другого мультиметра (в зависимости от режима измерений мультиметра);
КМ - коэффициент мощности;
Клби - коэффициент калибровки по напряжению;
Клб1 - коэффициент калибровки по току;
Клбф - коэффициент калибровки угла фазового сдвига.
Приложение Д Структура меню мультиметраД.1 Структура строки управления меню мультиметра при использовании
измерительных входов напряжения представлена на рисунке Д.1.

Рисунок Д.1

Рисунок Д.2
Поле 6 |
Поле 7 |
Поле 8 |
Поле 9 |
Поле 10 |

Рисунок Д.3

Рисунок Д.4
118