Методика поверки ««Инструкция. ГСИ. Уровнемеры У1500М. Методика поверки. 2498.04.00.00.000 МП»» (У1500М.)
УТВЕРЖДЕНО приказом Федерального агентства по техническому регулированию и метрологии от «06» августа 2021 г. № 1683
Лист № 1
Всего листов 6
Регистрационный № 45414-10
ОПИСАНИЕ ТИПА СРЕДСТВА ИЗМЕРЕНИЙ
Уровнемеры yi500M-DIN
Назначение средства измерений
Уровнемеры У1500М-DIN
непрерывного измерения уровня нефтепродукты, техническая вода,
дистанционного, товарная нефть,
предназначены для автоматического, различных жидкостей (сырая нефть, подтоварная вода) и уровней раздела сред многофазных жидкостей (нефть-эмульсия-подтоварная вода, нефтепродукты эмульсия-вода) по одному или двум независимым каналам (датчикам).
Описание средства измеренийПринцип действия уровнемеров заключается в измерении интервала времени, необходимого для прохождения сигнала ультразвуковой волной расстояния от излучателя (пьезоэлемента) до поплавка в котором установлен постоянный магнит. Положение поплавка определяется уровнем жидкости в резервуаре. Пересчёт производится путём вычитания вышеуказанного расстояние из высоты резервуара.
Работа уровнемеров происходит следующим образом:
-
- возбуждённая пьезоэлементом ультразвуковая волна распространяясь вниз по сердечнику достигает магнитного поля поплавка. Вследствие эффекта Виллари в обмотке в этот момент возникает ЭДС. Интервал времени от возбуждения волны до возникновения ЭДС измеряется, калибруется, вычитается из полной длины датчика и выдается на измеритель.
Уровнемеры состоят из 2-х основных составных частей:
-
- датчиков, устанавливаемых на резервуарах (технологических ёмкостях);
-
- измерителей, устанавливаемых внутри шкафа в операторной.
Датчики и измерители соединяются между собой экранированным кабелем типа РК-50. Конструктивно корпус датчиков выполнен в двух исполнениях:
-
- гибкой конструкции - для рабочего избыточного давления до 0,04 МПа:
-
- жёсткой конструкция для рабочего избыточного давления до 1,6 МПа. Уровнемеры применяется в резервуарных парках нефти нефтепродуктов, технологических ёмкостях объектов сбора, подготовки нефти и воды.
Уровнемеры серии У1500M-DIN выпускается 8 исполнений.
Т а б л и ца 1
Шифр ис-полне-ния уровнемера |
Обозначение конструкторской документации |
Рабочее давление датчи -ка, МПа |
Количество дат чиков |
Макси мальная длина датчика, м |
Количество по-плав-ков на датчи ке |
Количество сиг-нализи-руемых уровней |
Тип уровнемера |
1 |
2 |
3 |
4 |
5 |
6 |
7 |
8 |
У1500М - DIN -00 |
2498.03.00.00.000 3594.02.04.00.000 |
0,04 |
1 |
16 |
1 |
2(4) |
Одноканальный с двумя или четырьмя сигнали-зи-руемыми уровнями |
У1500М- D1N -01 |
-01 3594.02.04.00.000 |
2 |
1 |
2 |
Двухдат-чи-ковый | ||
У1500М- D1N -02 |
-02 3594.02.04.00.000-02 |
1 |
8 |
1 |
2(4) |
Одноканальный с двумя или четырьмя сигнализируем мым и уровнями | |
У1500М-DIN -03 |
-03 3594.02.04.00.000-02 |
2 |
1 |
2 |
Двухдат-чи-ковый | ||
У150014- DIN -04 |
-04 3594.02.04.00.000-03 |
1 |
1 2 |
1 |
2(4) |
Одноканальный с двумя или четырьмя сигнали-зи- руем-мыми уровнями | |
У1500М- DIN -05 |
-05 3594.02.04.00.000-03 |
2 |
1 |
2 |
Двухдат-чи-ковый | ||
У 150014-DIN -06 |
-06 3594.02.04.00.000-01 |
1,6 |
1 |
4 |
1 |
2(4) |
Одноканальный с двумя или четырьмя сигнализируем мы ми уровнями |
У1500М- D1N -07 |
-07 3594.02.04.00.000-01 |
2 |
1 |
2 |
Двухдат-чи-ковый |

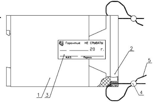
Рисунок 1 - Общий вид уровнемеров yi500M-DIN


Кречпеии* к -aoiiiNUiiy

лзиг
Н1Ш1|®ч4ЕНШ


Рисунок 2 - Схема пломбирования уровнемеров yi500M-DIN
Пломбирование крышки измерителя: 1.
2.
3.
4.
5.
Корпус измерителя.
Крышка измерителя.
Этикетка пломбировочная.
Пломба 1-6х8-АД1М, ГОСТ 18677-73 - 2шт. Проволока 1-ТС-12Х13, ГОСТ 18143-72.
Программное обеспечениеПрограммное обеспечение уровнемеров является встроенным и хранится в энергонезависимой памяти микроконтроллера измерительной платы. Программа работает в режиме непрерывного измерения интервала времени от момента подачи на соответствующий выход микропроцессора сигнала возбуждения излучателя УЗ до возникновения электрического импульса на соответствующем входе микропроцессора. Замеры интервала времени производятся с частотой 50 Гц, накапливаются в буфере и усредняются. Далее среднее значение интервала времени (Tср) подставляется в формулу расчета расстояния L = V * Тср, где V - скорость звука в стержне датчика.
ПО обеспечивает вычисление уровня, ввод параметров и уставок, вывод текущей информации на индикатор передней панели прибора, защиту паролем от несанкционированного доступа к настройкам прибора.
Идентификационные данные программного обеспечения приведены в таблице 2
Т а б л и ц а 2 - Идентификационные данные программного обеспечения
Идентификационные данные (признаки) |
Значение |
Идентификационное наименование ПО |
U 4M 2D 2008 07 03 FINAL |
Номер версии (идентификационный номер) ПО |
3.1 |
Цифровой идентификатор ПО |
— |
Другие идентификационные данные |
— |
Метрологические характеристики уровнемеров нормированы с учетом влияния программного обеспечения.
Уровень защиты ПО уровнемеров от непреднамеренных и преднамеренных изменений «высокий» согласно Р 50.2.077-2014. Программное обеспечение и измерительная информация защищены от преднамеренных изменений с помощью простых программных средств: введение пароля; авторизация пользователя; разделение прав доступа, а также механическим опломбированием.
Метрологические и технические характеристикиМетрологические и технические характеристики уровнемеров У1500М приведены в таблице 3.
Т а бл ица 3
Наименование параметра |
Значение параметра |
1 |
2 |
Диапазон измерений уровня, м |
от 1 до 16 |
Пределы допускаемой основной абсолютной погрешности, мм |
±5 |
Вариация показаний, мм, не более |
5 |
Пределы допускаемой основной относительной погрешности токового выхода, % |
±1 |
Дополнительная температурная погрешность на каждые 10 °С окружающей среды, мм, не более |
5 |
Аналоговые токовые сигналы по ГОСТ 26.011-80: (в зависимости от исполнения), мА |
от 0 до 5 от 0 до 20 от 4 до 20 |
Условия эксплуатации: | |
- диапазон температур окружающего воздуха, °С: -датчика -измерителя |
от - 50 до + 50 от + 5 до +40 |
- относительная влажность окружающего воздуха, % ,не более |
95 |
Параметры измеряемой среды:
|
от - 40 до + 50 1,6 не ограничивается при отсутствии застывания измеряемой жидкости |
Параметры электрического питания:
|
постоянный от 21,6 до 26,4 |
Потребляемая мощность, В^А, не более |
7 |
Степень взрывозащиты составных частей:
|
1Ex ib IIB T6 Gb II Gb c T6 [Ex ib Gb] IIB |
Габаритные размеры, мм, не более:
|
113x129x(105+L) 120x100x75 |
Масса, кг, не более:
|
16 0,6 |
Наработка на отказ, ч, не менее |
67 000 |
Срок службы, лет, не менее |
14 |
наносится на задней панели корпуса измерителя методом штемпелевания, а также в верхний левый угол титульного листа паспорта типографским способом.
Комплектность средства измеренийКомплектность уровнемеров yi500M-DIN согласно таблице 4.
Т а б л и ца 4
Обозначение |
Наименование |
Количество |
Примечание |
2498.03.01.00.000 |
Измеритель |
1 | |
3594.02.04.00.000 |
Датчик уровня |
Исполнение длина и количество в соответствии с заказом | |
Комплект запасных частей: Вставка плавкая ВП2Б-1В 1А |
1 | ||
2498.03.00.00.000 ПС |
Паспорт |
1 | |
2498.03.00.00.000 РЭ |
Руководство по эксплуатации |
1 |
1 на партию |
2498.04.00.00.000 МП |
Инструкция по поверке |
1 |
1 на партию |
Сертификат соответст вия |
1 |
Сведения о методах измерения содержатся в руководстве по эксплуатации «Уровнемер yi500M-DIN. РЭ».
Нормативные и технические документы, устанавливающие к уровнемерам У1500М- DIN-
1 ГОСТ 8.477-82 Государственная система обеспечения единства измерений. Государственная поверочная схема для средств измерений уровня жидкости.
-
2 ГОСТ 28725 - 90 Приборы для измерения уровня жидкостей и сыпучих материалов. Общие технические требования и методы испытаний.
-
3 ТУ 4214-003-04830336-09 Уровнемер yi500M-DIN. Технические условия.