Методика поверки ««Преобразователи давления измерительные. Методика поверки»» (МИ 1997-89в)
'УТВЕР^2ДАЮ”
Зом^ди^ектора ВНИИМС
_ _____________ВВ^.ЗЗ.О^Рбаигкк
______ 1989 г.
РЕКОМЕНДАЦИЯ
Государствае^нная система обеспече^ния едш^с^згва измере^ний
ПР0^]БРАЗОВАТЕЛИ ДАВЛЕНИЯ ИЗМЕЕРИПВЛ^НЫЕ
МЕТОДИКА ПО]аВРКИ
МИ 199^-89
Госуда^^ 1^]звн 1^ый ком^!^^т ССС^ по ста^ндартам
Москва 19 8 9
Группа Т88,4
Государственная система обеспечения единства измерений
ПРЕОБРАЗОВАТЕЛИ ДАВЛЕНИЯ ИЗМЕРИТЕЛЬНЫЕ МИ 1997-459
МЕТОДИКА ПОВЕРКИ Взамен МИ 333-83
4-
Дата введения 01,11,89
Настоящая рекомендапия распространяется на измерительные преобразователи типа ’’Сапфир"» выпускаемые по ГОСТ 22520-85 и предназначенные для непрерывного преобразования избыточного давления (далее давления), разряжения, избыточного давления-разрежения, абсолют ного давления и разности давлений в унифицированный токовый сигнал, в том числе на преобразователи разности давлений, используемые для измерений расхода и уровня. Рекомендация устанавливает методику их первичной и периодической поверок.
Допускается применять данную рекомендацию для поверки других измерительных преобразователей (датчиков), если это предусмотрено НТД на эти изделия.
характеристики преобразовате-
Основные нормативно-технические лей:
Верхние пределы измерений: избыточного давления от 0,06 кРа разрежения от 0,06 до 100 кРа; избыточного давления-разрежения до минус 0,1 - плюс 2,4 МРа;
абсолютного давления от 2,5 кРа
до
от
до
1000 МРа;
минус О,125-плюс 0,125 кРа
16 МРа;
разности давлений от 0,06 кРа до 16 МРа,
0,2 МИ
^«^^ольные зпач^пся в^одн^ ссгпалов 0-5, 0-20, 4-20, 5-0,
20-0 и 20-4 мА.
О^6^(^(^l^в^s^<^]вsтоли вазпости да£л^(^псp имеют лспоPпи виз^в^siттююuую олс лспоpпо убываю^щую хавакто^в^с^l^о^у в^од^^^ сиг^^, ост^ель^^ыо nвоибJP^:зиватоло - лопоpпи виs^ве^(ттюoщую.
^^^делы диnуoка^(миp иoповпоp пиг^во^шп^^^то от + 0,2 до + 1,5 %,
Межповерочный интервал установлен в эксплуатационной документации на преоора-^ователь конкретного типа. О11ЕРАоИИ ОО]ЗаРКИ
-
I.I. При проведпниа: гк^н^иичнорв si п^риодпе^ской no^i^^pon всроны быть в^олно^ны с^е^оу^кщ^е операпио:
Впо^шпсp осмотр - п,5.1.
О^П^с^с^^^ние - п«5.2.
Оп^€^^^^опопие испоБ^ниP поI^в^н^^^тс првибJ^{^^зивателя - п.5.3.
О^J^€^^(nлепсо варseпоо в^од^^^ сигнала прeи<^J^£^:зиватоля п.5.4.
Порвичну^ю воо^^м^]^]^^1^^у^ю поверку си£MI^щают с прием-кор ОТК, если ^(^^^ставитель О^К, исуще^^^]iЛfflадиP при^^^у, ^^^т пвiави в^имсз^£^о^^пиp поверки. В этом случае при ^^ючии продnроятио Г^о^^^сомки или
двугох видов сnепиальпиp приели п^^ю^^у^ю пов^^рку привидит ОТК при nводывитольoкох исnы1^iашоя^.
2. ССРД^СГТА. ПОВВЕР^
-
2.1. фр цпвиeо^<^l^lC[ пn^c^Jэвк[ пnвиIeо^пя^т co^вдосвa, в
таб.я.1.
Таблипа I
Наим(?1^(^^^ие сре^^тва поверки и обозначе^ние НТД
Основные метро.^(^^ические и технические ха-р^теристики средства поверки
^l^(^^^eтв абсолютного ^^^о^ы допуска^омой оoпиБ^поp пог^^е^шнс^^ти
давло^пся ШО^а]^^ ±^,65 Ра в дс^^зине 0-2 .]^о4 Ра; +1^3,3 Ра
в ос^^зине 2.104 - 1,33.10 Ра; ^,01 % от действительного значения измеряем§го дав-ло^поя в ди^^зоно 1,ЗЗ.ю5 - 4.10
ми С.З | |
П^(^,должение таб.л,1 | |
йаш^(^1^с^]з^ние средства поверки и обозначе^ние нтд |
Основные метрологические и технические ха-ракте^рис^ики средства поверки |
Ми^^|и^{^(^1^етр МКМ—4 |
Кл^(зс точности 0,01. Д^^азон из^мере^ний 0,1-4,0 кРа |
Ми(]р^1м^1^(^1^(зтр —^-^150 |
^^делы измерения 0,-^2,^5 кРа. А^<зол^1гная пох^ре^^^с^есть +),5 Ра |
М^1^с^|^^тр 1^руз^1эпр^шневой М1--^..5 I и П-го разря-дов^таТ 3291-83 |
П^<^,дел допуска^емой основной пох^^е^шнс^^ти iP»02; +0,05 % от измеряемого давле^ния в д^азоне измере^ний от 25 кРа до 0,^ —Ра |
М^Е^нова^В^Д^мметр гру^о^ поршн(^:вой М^-2^,5 по ГОСТ 8291-83 |
П^<^,делы измерения избыточного давл^е^ния 0-D,25 ^g^-, вакуумм^1Ер^<^(^:кого давл^е^ния 0-0,1 —Ра, предел допуска^ем^ой основ^ной по-гр€^1^(^(^!ти: ±5 Ра при давл^с^нии (из^^ых^оч^ном или вакуум^^три^еском) 0-0,01 +0,05 % от ^^ряемох'о значе^ния при дав^е^Е^ии с^ыше 0,01 —Рх |
Ми^с^1^етр 1^р^у£^1^п(^]жне-вой I и П-го раз- р^ов по ГОСТ 8291-83 |
Пр5;^<ел допуска^е^л^й основной пох^^шнl^^ти +),02, +),05 % от ^меряемох’о давл^е^ния в д^^зоне измере^ний от 0,06 до 0,6 |
Ма^(^1^(зтр груЕ^с^^с^р^шне-вой I и П-го аз рядов |
П^<^.^^л допуска^(^^ой основ^ной пог^^е^шн^^^ти +0,02; ^,05 % от измеряемого даяле^ния в диа^^зоне измере^ний от 0,6 до 6 Ш^га |
М^1^(^1^етр 1^[>у;^(^по])шне^ вой М^--6^0 I и П-го разрядов до ГОСТ 8291-83 |
^<^,дел допуска^(мой основной пог^^е^ши^^ти ±0»^J2; ^,05 % от измер^емо^ давл^е^ния в д^^оне измере^ний от 6 до 60 |
Ма^(^1^етр гру:^(^11О|шне-вой —^--^{500 П-го ^з-ряд^ по ГОСТ 8291-83 |
П^(^.цел допуска^емой основной пог^^е^^с^^ти iP ,05 % от измеряемого давле^ния в д^^зо-не измере^ний от 25 до 250 |
С.4 Ш
таб.я.1
Нащ^(^1^(^:^ние средства поверки и обозначе^ние нтд
Основ^ные ^^тро.^1^]ги^еские и технические ха-ракте^рисз^ики средства поверки
Установка УПВД
Ш-1000
^^осы точности 0,1 и 0,2. Верхний предел измерений 1000 МРа
давления измерител1^ные элекгрические ИПД
для измерения давления ииф]^(^^ой ИПДЦ
А^^оматизяр^овЁ^в^н^ый датчик избыточного ления "Во8ду]^-250"
задав-
Авто^гиa^I^р^^Iа^^^в^ый датчик избыточного ления "Bo^^5^-^]L,6"
задав-
Автоматиэ^1^оЕа^Е^ны!! датчик избыточное ле^ния
задав--
П^<едел допуска^смой основной по1^решн1^^ти ±0»1? ±0»15; +0,25 % для пределов измерений 0-1 и 0-1,6 кРа. П^(^,^(8л допуска^емой основной по1^р€шнс^<зти ^,06f%i3l5 % для пределов измерений от 0-2,5 кР^ до 0^16 МРа
П^<^;^вл допуска^е^мой основной поI?рв^шн(^<оти +>.05; +0,06 П^(^;целы измерений от I кРа до 16 М^{а
Верхние пределы измерений разности давлений В^^..;25)0 Ра; предел допуска^емой основной пог^ре^шнс^^ти + (0,2-0,4) Ра. Верхние пределы измерения избыточного дав^е^ния 400-^2500 Ра; пр^,дел допуска^е^мой основ^ной пог^р^€^шн(^(?ти + (0,1-0,2) '% от но^1^£а^н1^^ зна^че^ния выходное сиг^нала
Верхние предел измере^ний I.^.60 кРа; предел допуска^ем^ой основной пог^р^е^шнс^^ти ^0,02 %; ±0,05 % от действительного зна-че^ния измеряемо:го параметра
Верхние пределы измеренный 25..22£j0 кРна; предел допуска^е^мой основной пог^р^е^шж^^ти +0,02 %; +0,05 % от действ^ительного значения измеряемого параметра
Пр|^.цолжение табл.1
Наш^(^1Н(^]вание сре!дства поверки и обозначение НТД
Основные метро.ло:гические и технические харакз^^рисз^ики средства поверки
Азтомати^в^р^оаа^с^с^ый задатчик избыточного давл^^ния ”Воз.д^з^--5,3"
Барометр М
67
Вакуум^^тр ский В^-1
теоло^-лактри^ч^-
О^б^£^а^до;вая ;
л^ния Р 331
ка^з^у^шюа сопротив-
Магазин по ГОСТ
сопротивл^^ний РЗЗ
237^7^79
М^згаз^н
Р 4831
сопротиЕ^^^^:
Ци^;^с^]эой вольтметр Щ 1516
^^!генп£юметр пост^оя^нного тока Р 363-^1
Ваттметр универсель^{^^
Щ 31
Шиллиам^ер^сзтр пост^оя^нного тока по ГОСТ 8711-78
Блок питания 22Б^-36
Верхние пределы измерений 63..6^ кРа; прв,цел допуск£1^ы^ой основ^ной по1^;^^пн(^<сти +),02 %; +),05 % от дейстЕИтельного значения измеряемого параметра
^<^^елы измер€1ний 610-^900
П^:рреп}^с^с^:рь измерения +0,8 /ri
П^<^^влы измере»ний 2.10~3 mmHj -
- 750 т/пНу
К^1асс точности 0,01. ^^^^отиаление 100 -sr.
К^^^(сс точности 0,2.
^^JП^^^^^Jffiаление до 9991^^^,^-^-
^сс точности 0,02/2.Кг6
^^J^J^l^!Pиаление до IIIIII,! л—
^ц^^с точности 0,015. Верх^ний предел измерений 5 V
Ю^г^сс точ^^сти 0,001. Верхний предел измерений 2,I2IIII V
П^<^^бл допуска^^м^ой основ^ной по1р^(^-ности +0,015 %% при измерении тока 5 а/
К^^ассы точшссти 0,1 и 0,2. Верхний предел измерений 30 т А
^ап^^^нве постоя^нного тока (36+),72)1/
0.6 МИ
П^<^.до.л^1эняе табл .1
Ная^(^l^(?звание сре^^ства поверки и обозначе^ние нтд |
Основные ^^троядо^и^еские и техня^:еские характуе^^истики средства поверки | |
Источник постоянного тока Б^-8 |
Наи^|^.л£ш<зе значение напряжения 50 У . Д^^п^^ка^емые отвлонения +),5 % от уста-н^^ен^^^ значе^ния | |
Термометр ртут^н^ый стек^ л^н^ный лаборе^!К^р^н^ по ГОСТ 215-73 |
П^^;Цвл измере^ний 0-55 °С. Цэна деления шкалы 0,1 °С. Ц^^;дел допуска^е^м^ой пог^р€^шн(^<сти +),2 °С | |
^1^с^!^е}тр МТИ и вакуум-метр ВТИ ду^1 точных из-мере^ний Раз^ел^и^т^ел^ь^н^^: сосуд Стальной баллон малой и средней ем^^сти по ГОСТ 949-^73 с газообр)аз-ным техничеcIЯM аз^т^^м по ГОСТ 9293-74 |
Ю^гасс5ы точности 0,6 и I. П^^делы измере^ний от 0-0,1 |
до 0-^160 Щ^еа |
Газ(^1^^1 балл1^н^н^ый редуктор по ГОСТ 6268-78 | ||
Запорные кгольча^т^ые ве^н1?или по ГОСТ 2323^-78 | ||
Фланеп |
Пр^с^<^един^!гел£^ные раз^м^е^^ы по ГОСТ 12^15-80 |
-
2.2. 0бразп(^1^^ с:ры^ст;р^ 1^!^л^|^ре^:Ме, ^j^^en^iun^^i^js по^(^рк^ (далее - образпов^ые ^), должны быть повере^ны иля агт€^(^1^с^]а^1^ы и ^еть де^й^(;;^^^:^?эдие срядвтвл^^тва о поверке или атз^е^с^т^ап^ии. Вспомо-гаи^ел^ь^н^ые средства измерения должны им^^ть де^йс^1^]^;^к^^^е свидетельств^о о поверке иля кле^о, удос^т^(^]^^]яю)щ^е ее проведе^^^
-
2.3. Допус1^втся а^вс^ешэз^!» с^е^т^стср! передесА^с^!^1^(сш^ыв
перечнем, прив€^^^в^^ным в таб.л.1, при услоЕ^ии обеспечения ими ус^ов^^й и провед^ни^! поверки в соответс^з^диш с разд. 4 и 5.
3. ТРЕБОВАНИЯ БЕЕ^ОПАСНОСТИ
-
3.1. Пэк проведении поверки должны бы^ь соб^дены гребов£1ния безопасности по ОС^Г 25-^997-82 для изделий, относ^ящЕ^<ся к классу 01 по ГОСТ 1^^2.00’7.0-75^и требования до безопасности эксдлуа^з^аи^ии применяем сре^^ств поверки, ука£^£^н^ых в НТД эти сре^(ств^.
4. УСЛОВИЯ ПО13ЕРКИ И ПОДГОТОВКА К НЕЙ
-
4.1. Цзи провединии поверки должны быть соблюдены сл^ед^ю^е ус-лович:"
те^^ратур^ вквужающ<5:гв воздуха 23+2 °С;
относительная влажнее(сть вквужа^щ^i]Dо воздуха от 30 до 80 давление в поме^^н^, где проводят пввевку (далее ^з^мосферное
I) давление) от 84 до 106,7 кРа (от 630 до 800 юл Ну );
2)
3)
-
4) колебания давления вкружающв;гв возд^:^^, результа
ненн^:го с ним
это позволяет
ты яваЕ^н^ния выхо.ц^^^ сигнала пвввряемого пpl8о^^^^^:зввателя и соеди-вб^iазuоввгв СИ, должны отяутстввв^т;ь^ в ялуч^а^;х, когда квнят^ву^ция пввевяемвго явеобJв^:звв^теля и вбJ^,a!Зцово^ для превб^в^:зввателей разнвяти давлеши^), влияние этих
СИ (наярщ^^р,
колеба^ний может быть сущ^сственно умень^е^^о, для чего каме^ры поверяемого пр^^с^б^г^азо^теля и вбpiазпвввгв с^е^^ия^щие с а^^моя^вp(^^, сле
дует явединить между собой. Имп^'^^ьс^^ую линию, через коз^^в^У^ю подают
измеряемве давле^^е, двп^(^^lаeтяя яведи^^ть с дополнит(и1]^1^ыми е^1^^-тя^, в^^стиш^ссть каждой из которых долж^^ ^^в,д^!^]^(ся в пределах от I до 50 . Влия^е колеба^ний датлЕ^ния окружающ^:го воздуха мож(зт
быть также снижено при испо-^зоЕа^нии обр^зц^ов^ых задатчиков с опор^ным
давлением;
-
5) тр^^^юа, удары, навл^с^вы и магнитные по^^, кроме земн<е-
го, влияющие на работу дсл^аиы отсутствовать;
-
6) напряжение питания по^тоянно:го тока (36 +(0,72) V ;
П^у^^^ац^^ напряжен^^ не должна пре^ыш^^ь +0,5 % значения напряжения пи*^1а^ия;
-
7) сопротивление ^агрузк^и
(500 +50) -Л- _ при поверке пр^обр^зовате^^й с пред€^л^]Ы^ьми значениями выхо;д^(^;го сигнала 0 и 20 или 4 и 20 /уА,
(1200 + 50)-Л- - при почерке ^^о^]^^:зовател^^й с преде^лп^ьими значениями выходно:го сигнала 0 и 5 /гА;
-
8) рабочш^ с^о^^гда ;рв1 пр(^<я5р^^с^^б^таз^^й <5 л^ерхниии нрм^елирпз :да
2,5 MRi вкл^^!^'^1вльно - воздух или нейт^ралп^т^ый газ, более 2,5 M&i ж^;цк
кость;
П^Iр^eчaа^ир..йc^EпcIк^^^•^<^^ р;п^^^^^ать :та^гд^<^^ть - при почерке пре-обр^зовате^л^й с ве^т^х^врми пределЕм1и измере^н^ий от 0,4 до 2,5 при усл^^I^^^р обеспеченна т^'^ельно:го за^пол-нения сист^ем^ы ®f^jH^(^(^Tb»; воздух или нейтрал^т^н^ый газ— — при по]ветке преобразователей с ве^^з^н^^ преде^^м из^-ре^н^ий от 2р до 60
S) при по:ветке пр^обр^зовате^л^е^й разности давление значение измеряемого па^^м^тра ус1^ежад^л^1^1^а^ют цри с^об^щении ми^совой камеры с атмосферой и под!аче соотв^т^(^'в^;ю^^зго избигоч■^l^:го дав^^ния в плюсовую камеру н^^^б]^^зователи разност^и давле^ний. При поверке пр^о^]^^:зовател^^й этих видов на малые пределы измерен^^ следует руко^о^^<^т:во^<аться усл^ея^иями "4" настоящ^:го цу^т^’^^а. При использе^в^е^н^ии в качестве образцовых СИ зада^т^чиков с опорным давл^енн^ием следует по,^авать в м^^сову^ю камеру опорное давл^е^ние
-
4.2. Перед пp^вeдтнвем поеерпи дтл^жны с^жны бытолнепо с^едуюл^1^€? Е^щ^-готовите^лл^н^ые ^^боты.
П^^cо^]^т^.зо^iат€^лra долraпе быть вед€^^жа^с^е при темп^р^т^у^^, ука^з^е^т^н^с^й
в п4.1., не ^нее 3 [и , е и вре^ выдержки не указало в тех-
ни^еском опис£1нии и инструвц^ии по экс^плуаталии;
ввд^д^ержка прео^^зов^теля перед началом испытаний после вклю-че^ния питания доли^ны бы^:ь не менее 0»5 h ;
преобр^азов^тели до^^ны бы^ь ус^з^^с^Iл^е^ны б рабочее положение с соблюдением указ^^н^л^ технического описания и инструт^^ии по эксплуа-
талии;
систе^)а, сося^с^я^щая из сое^динитель^ных лин^-^й, образпо1шх СИ и
в^иомог^т^ел^^н^ых средств для зад^а^ния и передачи измеряе.мого пар^<вт-ра при неооход^1^^ти (д.5.2.4 дЛ^.2} дол^жны быть проверена на гер~ метичн(^(сть в соответс^з^з^ с п.л.4.2.1 4.2.4.
-
4.2.1. х’е^рметичиэсти сист’е^мы для поверки п^^об^^^ова-
телей давленич, разности измере^ний менее 100 кВа, измерения более 0,2^5 МР^а
д^1влени^1, р^з^р^е^жения с ве^р^у.^иш[и предел^^1и абс^^тио;го дахл^е^ния с ве^р^х^^ими предел^^ цро;во,щ^:^-ся яри значениях давле^ния или ра-
зрежения, рах^иых ве^рх^не^му пределу измерений поверяемаго пр^об^зо-
вателя.
П^<^^врку х^е^рметичности сис^^^^AШ для похюрки преоб^г^гзов^теле^й датле^ния -^ра^г^р^<^же^ния пров^^тт при давление, рах^ном верх^не^му пределу измерений избыточного давление.
П^<^^ерку х^б^рметичности сиса^емш для поверки преоб^:зоват€ле^й разр^сже^ния с верх^ним преде^^ ^мерений 100 кРа ^^^одят при разрежение, р^н^ 0,9-0,^9^5 значе^ния ^х^мос^ферно^ давление.
П^<^^врку х^е^рметичносзти сисз^(^мш для поверки пре-обр^^зователе^й абс^^лютного давле^ния! с ве^рй^^ими пре-де^в^ измерения менее 0,25 МРа ^^^о,дят при давлениях и м^то.щас, и^^же^нных в п.4.2.3.
-
4.2.2. При пр|^^ерке х^б^р^мез^ичности систб^мы, предна^н^че^^ной
для поверки пр^^(^)р^б^(^^те.пей, указ^^нных в п.4.2.1, на место поверяемого пр^об^^азов^теля усх^^н^ли^^т првос^]^га^(^^:^1е^:^, х^€^рметичность
с.л^о ми
которого пр^:вер^на, или л^<5ое дру^е средств^о измерений, имеющс^е по1^ре^шн(^(сть (прив^е^^е^1^н^у^ю к зна^че^н^иям давлен, укa^^^е^l^i^БЫ в п.4.2.1) не бо-лее 2,5 и позв^сля^^^е заметить изменение давл^е^ния 0,5 %% зада^нного значе^ния давление.
Создают давление, указ^ешное в п.4,2.1, и откачают источ^ник давления. Если в качестве образцового СИ применяют 1^руг^(^1^(^)^шневой
его колонку и пресс также отвл^^^аю1?«
С^(2те^му считают хе^рметичной, если после трех^минутной выдержки под давлением, рш^н^ым в^е^^нему пределу измерений, в тече^ние последующих 2 min. в ней не набл^^^т падение давле^ние (разренен1и^).
Д^1п^(с^£^(^тся изменение давл^с^ния (разрежен]и^}, обусловленное изменением темпер^т^уры о^ужающэего воздуха и изменением температ^ур^ы измеряе^мой среды, которое не до^но превш^^!^]ь значений, укa^E^е^I^н^ых в та^.п.2. ^^]м^^^ое время выдержки под давле^нием мо^«ет бы^^ь увеличено до 15 гг^'т , а изменение дав^е^ния за последние 5 гпin также не должно прев^ы^^!^]ь значе^ний, укаЕ^а^Е^ных в табл.2.
Табли^^ 2
Верхний предел измере^ний |
До]^^^емаз изменение |
Д^1^^^емое изменение давле^ни^я при пр^^^ер^е, | ||
кРа |
МРа |
темпераз^у^^ы в про]^(^(ссе пр^;вв:^^,ос |
% верхнего мерения |
' предела из- |
пневм^-тичес^в^вм давлением |
гидравли-ческ^лм давлен нием | |||
От 0,06 до 0,25 |
±60 |
.. | ||
От 0,4 до 0,€3 |
±30 |
- | ||
От 1,0 до 1,6 От 2,5 до 4,0 |
±0,5 |
±18 ±8 | ||
От 6,3 до 10 |
±3,5 |
- | ||
От 16 до 25 |
+t,2 |
— |
П^<^.цожение табл .2
Верхний предел измерений |
Д^]п^<^:каемое изменение те^-пер^т^у^|)ы в про]^(^(^се проверки, Oq |
Д^1п^скаеиое измене-^^е давл^е^ния при проверке, % верхнего предела измерения | ||
кР!а |
MPi | |||
пневиати-че^с^!^ давл^е^^^е^м |
гидравли-чес^р^им да-вле^нием | |||
От 0,03 до 0,5 |
+).6 | |||
От 0,6 до 2,5 От 4 до 6 |
+1,0 |
— |
+10 | |
10 и более |
- |
+— |
Цри м€»Н1шем изменении темаераз^ур^ы допускаемое изменение давления пропорционально уме^^^е^^<зя*
-
4.2.3. П^с^^зерку 1^€^^метичности сис5^€^мы, предназн^че^нной для проверки пр<еоб]^г^:зователе^й абс^о^лютного давле^ния с предел^ш измерений 0,25 МРа и ^^н^е, осущ^1ст^1яют сл^е^ду^^^щим образом.
В системе с в^уумметром для ^мерения малых абс^с^люз^ных давлений созидают давление не более 0,07 к^. П^р^е^1^рительно место под-
кл^^ч<ае^|^:го аplеol^Jр^£)о:вателя усз^а^навл^^£ют средство измерений, от^е^^лею-щ)е тем же требованиям, что и при пр<^:вер:ке по п.4.2,^2* П^,ддер^^ают указа^нное давле^ние в течение 2-3 , Отключают устрой£л;во, соа^д^аю-
щее абсолютное давле^^^, и, при необходю^л^с^с^^и, обр!азцовое СИ (колонки г^руз^о^г^о^р^^^^^лвого . П^<^,ле выдержи сист^е^мш в тече^ние 3 mU
изменение давле^ния не должно прев^ы^^^ь 0,5 верхнего аpl^,цела измерений поверяемого прво(^]р^Е^1^:вателя.
-
4.2.4. Если система пред^^начена для поверки преоб^«азоиателей с ре^^^ыми зн^че^^^ми верхних пределов измерений, проверку ге^рметич-^^(сти р^в^о^ме^ндуют проводить при давл^е^нии (разреже^^ри, соответ^с^^^^^^ю-щзм ^^большему из этих значений.
С12 МИ
5. шр^]вищзши1 по^;рки
-
5.1. Вне^шний осмотр
При вне^шнем осмотре должно бы^ь уст^а^новле^но соответст^е пре-обр^^:зов^теле^й сл^еду^кщим требою^ниям:
- пр^о^1^{^£^^^тель должен пас^порт или документ его заме-
няищ^11; цри пери^,д^еской поверке д^^^(^^ется вместо паспорта пред
ставлять документ с укаЕ^е^нием предела измерена, предель^в^ых значений! выхо.дного с^^^, требуемого предела допусвак^м^ой основ^ной по-^ре^шно^^ти и пр(^,д^^1^1^1^^-^1^^]гэтов^телем.
должна быть под^^^^ метролог^ес^к^ой службой пред^^^и^;^]»!, экс^плуати-рую^е^го пр^^<^;^£^£^(^^’ге.^.ь;
-
- пр^о(^]р^г}о^теяе долж^^ бы^ь табл^^а с соот-
вез^cт:уy£щей паспорту или документу ею з^^е^^яющ^^му*
-
- долж^^ быть обеспечена вог^мож^ое^^ь снятия кры^^к!, з£BCJ^ываш-щ)й устройство рег^улировки н^^ля, кл^е^ымы контроля и колодку нынешних соединений;
-
- резь^^ы на при^оединит€л^i^в^ых элементах не должны ^еть сорванных
-
5.2. Он]р(^(^(^^ние
-
5.2.1. Ц^и опробов^в^ви проверяют работоспособность пр^обр1^зо-вател^, ф^1^]^]Л^о^]^^]аание кор^^^тора ц^.ля, ге^рметич^^сть пр^об^)^ова-теля,
-
5.2.2. Ваботоспособн^сть прво1^]^(^!зов^теля проверяет, изменяя измеряемое давление от ни^1^€^]го предельного значения до ве^н^:го. Пэи этом должно наб.люд^1^]ься изменение выходного сиг^^ла.
Для пр^об^)^;зов^телей давле^ния -^1а^;^]з<ж^€^ния работоспособность прове^ряют только при избыточном давлена, для пр^об.р^зоват€лей ^з-режения с ве^^х^ним предел^ом измере^ний ^^0 кРа - при изменении разрежения до значения^р^ного не менее чем 0,9 аз^мо^ферного давлена.
-
5.2.I. корректора н^ля проверя^!Р, задав одно
(лю^^^) значение ^мер^емого давление. Ю^^jр^:ксор ^^.ля поворачивают по часов^ой стреле. Цри этом должно ^^б.л^;^£^а^^ся изменение выход^^^о сиг^^1а. З^тем корректор ^^.ля по^ора^чивают против часов^ой стрелки. Цри этом должно ^^б.лвдд^а^^ся изменение выхо^но^ сигнал в прот^о-пол^ожную сторож.
-
5.2.4. П^(^:терку г^^^рмесич^^^си пp^^<^^5^йвiателя рекймeод^<^^сся сотме^^!сь с операпией йпр^дел€^оия осойт^нйй поI^f^(шо(^<сси .п.5.1.8).
M^!^o,ди^ проверки г^€^рметичш^^си прв^^,1^;зователя аоалйгячна методике проверки ге^рметич^^сти сист^е^мы (п.п. 4.2.I-4.2.4) со сл^е^дц^ю-щими особенооссями:
П изменение давле^ние или ра^^р^е^же^ния определяют по изме^нс^^ию в^о,ц^^^ сигнала поверяе^мого п^^с^бэ^^с^^^’г^ля, вкя^^^^о^^о в систему (п^4.2.2);
-
2) в случае йбоаружео^ негермесич^^сси сис^ем^ы с пот^<^J»^<мым пр^обр;^:зователем следует проверить осдел^нй сист^е^му и пр^обр^^:зова-та^;
I) проверку г^eрмесич^^cси пp^^^JJ^:зйваселей разности давл^е^ний при поверке не пp(^^o^'с;
-
5.1. ос^^^вой пo^г6е^ш^(^1^Jс
-
5.1.1. Ocо^воую по^реш^^^с^]ь о^^.деляют следу^^щ^ способами:
-
I) по об^зпов^^у СИ на входе пp^йб^J^зователя ус^а^^авл^ают из-меря^е^мый пар^(^^^, р^в^^ый ^ош{^оаль^^jу, а до друг^с^му йбраг^о^^т^^му СИ измеряют значе^ние выко,д^^^ сиг^^л^;
2) по обраг^о^ов^^му СИ высо,це прео^^!^ователя усс^а^^атu^Eаюс расчетное значение внход^^го си^^^, соо]^1^(3!гствю^щее номин^ному зн^ч^(^^^ изме^емого пара^ет,^^, а по друг^^му образ^о^^т^ому СИ измеряют значение этого параметра входе пр^о(^^^£^^^те.ля;
GI4 МИ
3) сравнением выходных с^ягнасов пловеряемого и оОразпового олово обра;зов^телей.
-
5.3.2. Снхии вкл^’чхвыо рреоб^;^!зовитхлх^й сля ызиововыя в^освово сыввили она ряовес^е^^ыо ровхякы оо еоособии I а 2 (р.5.3.1) овавхсе^вы в ояоложхваон оо соособу 3 - в ояало»хваон 5-7. Снхиы в»л^■чевао обяизао£^ын сяхсств ызихяхвыя савл^выя ояывхс^^^ы в ряаложеваон 8-^10.
Пны ыcоQ.льзо££^^оа ин^1^(^оит^оз^I^^Iи^l^вын зада^т^чаков сивл^^выя ын вкл^'чхвых осущ^сзтвлоют в соотвхгс^з^I^аа с зв^с^лу8^;^£u^о^(^^вой сокуиевти-иыхй ва эты бого в схйствытхлъвосто сх^^^ктвого эк^^е^оnля^ оввОl^J^€^г^1^]м^^pвля•,
задиlчакы•
Устининловиюs ел^^к^щах кватхвыа состове^ввоста ровхвка:
- ^^боль^ио вхвоятнo<5ть ошоc^(очво рв^зваввого оо)с^1^ии лю
5.3.3.
( 8м 1^0, " o^^on^^i^i^e I^гао^(ль^^^з^o зоиооа^^с^з^о оо^сц^ля! (^(^^ов^^^й
рогя^н(^<зты экs^е^ирля^ рp^о(^J^£^l^:натe.ло, коз^оя^ый иоо^т быть ошы^очво ояызв^н оос^ныо, к ояхсхлу сооуек£^еиой осво^вой оогя^^^с^с^ти.
Д^]^,уск^^ых звич^воя квытхвы(ев соето£^е^явоеxы ровхвкы овавоиают яан^ныио:
/’г.^ос^.Я). ( =1^5
-
5.3.4. Узт^винлониют сл^^^х оавиихl^^ы оовхякы:
/)! Чысло
овов^ня^^ощн точхк в дыиоaзонх ызихв^вый,^/ ;
п - число
ч^в^ ооо^я^швс^сты носин, /. = I;
вибл^^хвый овы экс;^^^н^оихнталь^вои оо^хсхл^выа зви-в кэ^ой ыз ововхяо^^омн точхк овы овяиои ы обватвои
Г> - ибс^^:лютнох значх^вах оз^во^^^вая ковтво^ьвого соо^ски к оре-схлу сооуека^е^о^ой оснон^вой ровв^^^(^c^!^:о;
J п - отво^^^х рвхдхла дорускаеиово зви^ч^нао ооо^ве^^(^(еты обр^^^-оовын СИ, рваи<еия^iын рвы рoвeв^1е, в орхсхлу вооуск^^иото ^нач^ныя осиоввой роо^^^^(^(ета ровхвяхиово рp^Ol^J^н^£^(^:натe.ло.
Значения /ft и принимают резными в соответс^т^Е^йи с приня
тыми критериями достов^^р^ности поверки по табл«З п.5.3.1.
-
I.3.I. Выбор (^с^}^|ри1^]^]аз оры^отзз едст опр^де.^(^1^^ еннс^вной пн-1^р^н1^сти по^^р^я^^лшх пр^об]р^!зователей осрщ^ествля^^, исходя из технических вог^мож^с^стей и т^нико-э^ю^Е^^мическ^их предпосылок с рче^^см критериев достов^е^рности поверки п.1.3.3. и таблицы 3.
Табли^^ 3
Парга^етры и критерии достоЕ^е^рности поверки
0^ р |
0,2 |
0,2I |
0,33 |
0,4 |
0,I |
г* |
0,94 |
0,93 |
0,^1 |
0,82 |
0,70 |
0,20 |
0,20 |
0,20 |
0,10 |
0,0I | |
I.^^4 |
1,18 |
1,24 |
1,22 |
1,20 |
соответс^з^ви^
с приня]^ыии в
^<^.^^3 соста^влена в
п .1.3.3 крит^р^иями достов^^рности поверки сот^ла^с^но МИ 187-86 "1С^. К^1^терии достоверности и парамет^р^ы методик поверки” и МИ 18^—86 "1СИ. Установление значений параметров методик поверх”.
I.3.6. При в1Поре oc^с^р^зпс^J^Iаз (^^рыхстсз едст опр^<зд^^<^{1^ пн]^1^еш1^(^^-ти поверяемого пр1воб'^1^!зователя ^о^ны быть со^с^людены сл^^др^^щие рс-ловия:
I) при по]^<^рке J^o (ЛIO(^oб<пс 1би2 (п. 5.3.!^) и Ш1ред&^(^1^]д1 ^н^-чений рыхQдно:го сигнала
/п А
(D
-h
С16 ми
где Ар - предел допуски^змой ибс^cл^ютной погве^1^<^(зги ^^^^^здовох^о пв^(^C^, конз^^^;и1^у^ющ^:го входной оивиметв яри диEл^з^E^-и или визвз^жени-, вив^ном вевх^н^му пведелу измев^ний по-вевяемого пр^о(^1^^5^(^]в^!ге,лп, кРи.
Ртау - в^в^ний пв^.пзл измевений (или дда^^зон измевений aозоб^;зови7зл^й "Салфи^22ДИВ") aовзвязмого пвеобви-зовителя, к^; МВи;
~ пведел допуски^емой ибс^^лютной пог^^зшн(^сти обв^зповогc пвиз^^о^^, KОH1^0^C^J^J^ЮЩ^^ выходной сиг^^, пви взвхнзм
пведель^ном зн^че^н^^ выхcднcго сигнили повзояемого пве-об,^:зc^тзл^, ггу А;
> Io ~ соотв^1?с^1^]^{^1^но вевхнее и ня^^зее пвед^да^ные знич^ния выходного с^^^, т А:
П^J^й<зе^^^H]^в• 0^= 0 - для повоб:^^:зоватзлзй с ^ыхох^и^ими с^нили-ми 0-5,5-0 и 0-2^,20-0 тА^\ =4 пА - для пве-
обв^зоватзлз^й с ^ыхо^ДЁ^ыми сиг^нил^еми 4 - 20,20-4 т А
If'' - предел допуски^е^ой основ^ной пог^^з^^^з^ссти повзоязмого пвво(^]^^£^(^:^ге.^, % ноом-оую^€^^о зничени^.
Зи ноомиоующ<^е знич^ние пвиний^тт.для пвeoбJ^^ователей фяJ^^2ДИВ" - сум^ ибс^з^лю^ных зни^че^ний в^вхних пр^.двлов измеоз^н-^й избыточного дивле^ния и визвежени^; для Ос5^£лиаВ^ых пвеобв^з овител^^й-- веяний пведел измевений выхо^н^^ пиоа^^тp^;
2) при повирк<е по i^jnocodaiM О и ^2 (и«5«ЗПЕ) и onpe^e-^^i^igi значений вых^дн^го сигнила в /^У оо aag^^i^iro нипвяжзния ни сбвазиов^с* соовотивяз^нии
где Аи - предел допус^гкзм^ой абсолютной погрешн1^сти об^^^^пово^о при^^^ра, конз?р^с^JИ^)i’ю^^о вводной си^^^, при в€1рхн€м предель^ном зна1чезнии вводного сигнала поверяемого преоб-разов^г^т^^! , ni V ;
il/vax, Uc - соответс^з^]^^I^но верхнее и ни^в^ее пределв^ные зна1че^ния выходного с^^^^оп,^(^.целяемыепо ф^J^lм^^гм:
^td/na v ' ^0$ у 1^{е "
- пре;цвл допускекмой абсолютной пох^решно^^сти о^^^азпового сопротивлэния РоАо -О-;
значе>ние о^^i0зuового сопротввле^^, ;
-
3) при noj^(^pK^ оео (^по1^об;у оЗ ^^.5.3.1^ исп(и1Ь!^<^]а^1^ии аби^зио^-
вого пр|^(^(^;р^Е^о^]в^!^<еля, имею^^зго вводной сигнал в ви^е б^ряxения
посз?оя^нного
тока
/ ---- ч
Uma Z -
ZosJ

у
(3)
-
- предел допуске^е^м^ой основной пох^р^ешнс^сти обр^азиового пр^<^(^б^£^:^<^:^!ге.Ш1, % от нормцрую^е^зго значе^ния поверяе^мо-го пр^о^]^!^|^:^теля;
Аик
-
- предел допуска^емой ^бс^1лютной погре1ШН1^сти при(^^1ра, на
коз^с^ром осуществляют срах^нение выход^ных сигналов ^^рг^гз-иового и поверяемого пр(ВО|б]^г^£зо]вателей, .
4) при
вого прео^;^г^^(^;^те^, имеюще^зго токог^ый вводной сих^нал
по]р^рк<^ по кеос^об^ ос 3^1) и JИcп(ИIЬ^^(^Iс^^^iзс он}иаз по^
С18 МИ
где - предел допус^а^е^^ой абс^слютной пог^р^е^шш^сти пр,^(^(^]ра,
на кот^ор^ом осуществляют срав^нение выходных сигналов обр1азпового и поверяемого прео<^1^г^:зо^телей, /п А;
Если средство для контроля разности выход^ных сигналов поверяемого и обр)азцового пр1е^^]^г^;зователей обеспечивает по абс^слюз?ному зна^ч^е^НБю поI^ре^шн(^lCги измерения этой разности менее 0,1 или А-г^^ принимают рав^^ым ^^лю.
, то Аик
-Расче^т^ные j J'*
пр^об^^^;зовагелн измеряе^(ого<1^
в^одш^:го сигнала поверяемого
в микр1^1ам^(ер;ах для заданного ш^,ми^£альн(^:го значе^ния ки^^]^^(^;калях или мегапаскалях опр(бделяют по ф^]^]м^>лам
для првоб^:зователей давл^е^ния-^р^з^р^еж^е^ния при измере^нии избыточного давл^е^ния
Т - Р^у^я Р^_ Y \ ±р- р lJ-r>lc^y-L-cp-c(5)
при измере^нии раз^р^е^же^ния
(6)
для осталь^ных преобр^^гзователей с воЕ^ра^саюэдей характе^р^исз^л^ой в^одн^^о сигнала
Р
для прво(^]^}^;зователей разности давл^е^ний "Салфи^-2^2^ДД’’ с убывающей харак^е^р^ист^вкой вводного сигнала
-г ~ fp__PL^ ) /т -Т^ —е Z P^^yJгде
Р/Г)ЛХ’- верхний предел измерений для преобразователей избыточного давления, разрежения и абсолютного давления, кРа, МРа;
,z>7z?x- верхний предел разрежения для преобразователей давления-разрежения, кРа, МРа;
верхний предел измерений избыточного давления для преобразователей давления - разрежения, кРа, МПа. Расчетные значения выходного сигнала Up , выраженные в напряжении постоянного тока, определяют по формуле
-
5.3.8. Перед определением основной погрешности должны быть соблюдены требования п.4.2 и, в случае необходимости, откорректировано значение выходного сигнала, соответствующее нижнему предельному значению измеряемого параметра, указанному в табл.4. Эта корректировка проводится после подачи и сброса измеряемого параметра, равного:
- для преобразователей давления-разрежения - 50-100 % верхнего предела измерений избыточного давления;
- для
в пределах
преобразователей абсолютного давления после выдержки их от О до 10 % верхнего предела измерений;
- для
остальных преобразователей - 80-100 % верхнего предела измерений
Цри периодической поверке в случае совмещения проверки герметичности с подачей давления (разрежения) перед корректировкой выходного сигнала выдержка проводится при давлении (разрежении) в соответствии с п.4.2.2.
Установку выходного сигнала следует провести с наибольшей воз-
С. 20 МИ
Таблипа 4
Наи^€^{^£^:^ние првоб,^^^:зов^геля |
Выходной сигшол, соответс^и^в^ую-щий нижнему предель^^^му значению измеряе/^орго пара^^т^^а, | ||
0 и 20 |
4 и 20 |
0 и 5 | |
Щ^€^(^с^б^£^£^^^тели абс^слютного давле-избыточного давления, разре-жэ^^1, разности давл^е^ний с возра-с]^£ю)щей характ^е^р^ис^з^^ой выходного сигнала и гид^^^^тат^еского дав- | |||
л^ния |
0 |
4 |
0 |
П^р^е^с^бр^Е^(^^тели разности давл^е^ния с убы^ющей характ^е^р^ист^^^ в^од- | |||
ного сигнала |
20 |
20 |
5 |
Щ^<^(^(^р^£а^(^^тели давлв^н^'-^раЕ^р^е^же-ния с ра^^ыми по абс^о^лю^^^му значению ве^р^х^^яши пределами измерений избыточное давл^е^ния и разре | |||
жения |
10 |
12 |
2,5 |
П^<^t^с^Jр^^зo^тели давле^^-р^зре-жения с в^р^х^^ими пределлами измерений избыточного давле^ния | |||
кРа МРа | |||
60 |
12,5 |
14,0 |
3,125 |
150 |
8,0 |
10,4 |
2,0 |
0,3 |
5,0 |
8,0 |
1,25 |
0,5 |
3,333 |
0,833 | |
0,9 |
2,0 |
5,6 |
0,5 |
1,5 |
1,25 |
5,0 |
0,^12 |
2,4 |
0,8 |
4,64 |
0,2 |
можной точностью, обесп^чи^^м^ой ус^ройств^о^м корректора и разре-шаюв^й способнос^ь^ю образ^ц^о^ых П^огреш^с^о^^рь вс^£lновки (без уче
та по1’р^1^^(сти контролв^ных сре^<зтв) более 0,2 пр0,дала допусв^а^ем^ой основной пог^р^н^(зти поверяемого пре^б]^^азо;вателя не
-
5.3.9. Ocнoвнв^I9 1в^в^eшI^ocть опс^^датвтат елл^^ пя!^и З1^г1^ен]нач :и^-> меряемой вели^вшы, дпс^а^9п^ч^оп ра^омерно рас^пр^д(^вйоых в дж^^зо-не измерений, в том числе при значениях измеряемой вел^ины, соот-вeр^(PBвyIщих ^^нему и верх^не^му предель^н^ым зна^че^н^ям вводного нала. между значе^нлими измеримой ^^ичишы не до^ен пре-
30 % ддапазона измерен^.
Осоо^^B^ю погр^ш^с^сть определяют при зна^ч^^ии измеряемой величины, полученной при приближении к нему как от меньших значений к большим, так и от бо^ь^ших к меньшим (при прямом и обратном хо^^). При поверке способом 3 (п.5«3»1) зна^чеяниям измер^емозго параметр^а, при кот^р^ых о^^деляют погреш1^(^(сти при обратном ходе, чаться от значений яри прямом ходе ^е бо^ее, чем 5
м^згут огли-
выдерживают
Пзред поверкой при обратном ходе преоб]^г^;зователь в течение I тьи под воз^^^й^5^в^^м верхнего предельного зна^ч^ния измеряемого пара^^^тр^а, соот1^е^1^<з1вук^щвго предель^но^му зна^ч^е^^^дю выход ного сиг^^ъа.
Д^1^п^(^1к^ется выдержу пp^обJр^:зовател^й давл^ния-^р^а^:^р^^ж^ния про водить только верхнем пр^,цале измерс^ний избыточного давления.
Цэи перио.ц^^ской поверке о^н^^^в^ю погреш^с^сть определяют в
два пи^: до корректировки д^^зона изменения в^о,д^^го сиг^нала ккалибровки) и после корректировки д^^!зпнга. Д^(^в^(^lв^lsтся второй не пров^.^!^^, если основная погр^1^(^(зть уд < Yk ' Y '
При поверке ^^<8о<^]р^;зователеи с верх^ним п^^делом измерений раз режения 0,1 №Pi, если а^мп^ф8ропе давление ра^но или ме^^е 0,1 МРа макси^^ьное ра^р^ежение допускается устанавливать ра^^ым 0,£Ю -
- 0,95 Р^, где Рб - ат^мосферное давление. Расчетное значение вводного сигнала при этс^м ра^р^еже^нии опреде^т по ф^]^!^:у.лам (5) и (6). Рб следует пр^^сти к тем едини1^гай, в кот^с^р^ых выражено Р.
I mvH^= 0,С^^1333 ШР1.
ОзноЕ^н^ю погре^ш^(^(^ть прео^]^г^;зователе^й абсо^тного дав^е^ния с ве^рх^^им преде^о^м взмерений вше 0,25 ^а следует опр1^;^*&лять в соот-ветс^з^вии с пи. 5«3,^10 и 5.3.II» Д^1^п^с^]к^(ется по ^^тодике п.5.3.10 ^^]^|^,д<еля:ть оснот^н^^ю погре^1^(^сть пр1воб^г^!зователей абсiс^лютно^ давления с ве^р^х^^ими пределами измере^ний от 0,1 до 0,25
-
5.3.10. Опред^з^ерезе £^<^1^с^внс^:н по^^вш1аости ^p)(^c^бp^г^(^Iк^твз^<^ii со^т^^го дав^е^ния с ве^р^х^^ими преде^^ измере^ний вше 0,25 до 2,5 вкл^^в^^сельно следует проводить с испо.яьзо£а^^ие^м обр^азпоЕ^ых СИ саs^с^€же^оия и давле^ния (напри^^JC, ^П2,£); и ^^600.
В этом случае пр^’^’^^г^азо^тель пов^е^р^яют точк:ай: при раз^р^еже-
нии в пределах 0,90-0,95 Рб» при зоаче^оиях избыточного дав^е^ния ризб ,/ълх » оп^деля^емом до (10),
и при трех проие^:уточвых значение давле^ния где абс^Елютная погрв^1^(^(^’гь опредения не должна ц^<^]^]^аать
(10)
Риз1 , та V " Pcie , т)й)с >
где Poetic, fya* - верх^ний предел измесв^оий абсс^лютоo:го давлеоиlя,
раЕ^^ый PtoiX ,
А = 0,1
Расче^з^^ые значе^ния в^о,е^^:го
опреде^^т по
-J-' _ Р^ ~ PpBz ■■
•аде. тглу
МРв^;
сигнала I р при зада^^ии разсе^£в-
[т,„^т„У10 >
(ID
0,2р' ' P^^fc, гье/х
400 "
Рра$,- значе^ние задава^емого ра^^^ежения.
Рб и Pp^jg, должно выражено в тех ие еди^^цах, что и Ро^с,гп^1У‘ Расчез^ное значе^ние выход^^:го сигнала I р при за^нии избыточного давяе^ния опред.вя^1ют по ф^]рм^.^^е
Р^ + Pui$ ! т - тУгТ Тр- ------------(_-//г/йг J-O )
(12)
г лдс. 1У)<^Х
где Рз^^Е^ч^е^^е з^гдаиае^м^ю из^с^ыточного дав^е^ния, МРа*
П^^р^д поверкой коррекз^Е^ром н^«яя усза^нейя^ивают выходной сиг^ная
расчетное значе^^е, сооl^Iк^;^<зтвy^щве ра^^р^(а£<^1^ию в пределах 0,90--0,^95 Рб. Расчетуное значе^ние выхо^но:го сигнала определяют по ф^^рму-ле чИ) .
Бели значение а^тмосфер^^^го да£яе^ния ^^о^^тся в пределах 0,093-0,^102 ШРа (700-^770 ), до^^зкается расчетное значе^ние
вы^<^,дт^:го сигнала о^^<^,^(^ть по
цри задании ра^р^еже^ния
[Пр.-iJ^Tp Р
(13)
I , Г»а)(.
при задании избыточно:го давяе^ния
у _ p's f-r -ТУ-^Т
Ip- р J-aJ J.„ ,
(14)
, /ууак
I гадс.
где = 0,1 MPa
В осз^аль^оом следует ру^1^з^(^;д(^!^]зо1^гаться о.5.3.8.
-
5.3.II. Опредадоние лсоовносо ^01^1)вшп^(^з^и прсс^бро^реоаралой а^е-солют^^^ давле^оия с ^е^р^х^Е^ими првдвламо измврвоий с^ьше 2,5 Ш^еа следует проводить с испо.льзоEа^оовм оар{азио£щх СИ изаыточоого оия сJ^(^е^к^щом обр^ом:
давлв-
значе-
X) корректором о^'ля при ^1мос^фе^н^оом д^£л^(^Е^оо уста^оовить оие в^^^^^го сиг^^, равнов I? ;
из-
-
2) пр^]звсто поверку при прямом и оаратоом ход|В, задавая
аыгоч^^е давлеои<в, чолсв^нно равоов аас^сл^юз^оому давл^в^оию, с с^^лт-дв^оивм условий, о^^sв^нн^ в п.5.3.8;
-
3) после опр^двлв^оия осоов^оой поI^р^в^шнl^(сти при ат^мосф^роом дав зоачв^нов в^о.д^^^ сигоала I рн
лении коррек5?с^р^ом н^-ля установить
т -- —-—
■^pti р
' id^c, nn<i)c
(15)
где К = 0,1 ШРа.
-
5.3.12. Оссо^1^о^ьэ погг^€^1ано^сь в^исляют по
в % ноо^рмиующщро
при поверки по способу I (о.5.3.I) где I - действительное значение выходного сигнала при измерении
на выходе тока, т А;
и - действительное значение выходного сигнала при измерении на выходе падения напряжения на образцовом сопротивлении, mV;
при поверке по способу 2 (п.5.3.1) для преобразователей давле-ни-разрежения
(18)
для
остальных преобразователей
где
Рц >- номинальное значение измеряемого параметра, кРа, МРа;
Р^ - действительное значение измеряемого параметра, кРа, МРа,’ при поверке по способу 3 (п.5.3.1)
где
Utt - aGRaSQRJLQ
веряемого
Вычисление запятой.
СИ, измеряющего разность выходных сигналов по-и образпового преобразователей, т К
проводят с точностью до второго знака после
П^«^<^с^]р^а^<^]ватель признают при перЕИчной поверк<е, если
во всех проверяе^^ых точках основная погре^1^(^(зть Iffil I I '
П^€^(^о^}р^а^(^]Еатель признают неточным, при первичной повер^^, ес> ли хотя бы в одной точке основная погреш^(^(^гь Г^'Г! *
Пр^(^с^бр^с^]в^!Рвль признают ю^^Е^ым при перио^^ской повер:^^,
если во всех проверя^е^ых точках при пврв^ом или втором ии^е опре-деле^ния основ^ной по1^ре^ш^(^<зти jf/i / <- -
П^€^с^с^б^б^^<^]ватель признают нег^с^д^н^ым при перио.ц^еской повер:ке, если хотя бы в одной точке при перв^ом ии^е опр<еделения основ^ной ПCI^рвЮH(^(ЗTИ или при втоор^о^м цикле
I Г»н1 г*-^1,(обоз^н£1че^ния по п»5.3. 6; по п.5.3.4.)
-
5.3.13. Лопускаепус квеес^т о оере^деленед л^е^н^ст^^е^еси^1^1£е ;^|^£^че-ний ееI^н^вшн(^(зеи уста^навл^ть рооевверевсе ее предель^но доп^сск^е-
мым значе^ниям.
ряе^мом
вующих
че^нным
5.4. Oпp^;вввeе^и^с в£l^ниш^CI
-
5.4.1. Ванс£^eю в^о.дш^:гл с^нала оп^деляют при кЕждом прове-зн£lЧ€^Е^сс сзмврявмлго парщ^^^^.ра, кроме значен^:, рооеввест--нижнему и ве^рх^нему пределам измерений, по пеказа^ниям, пелу-> при епрlвдвл^в^нсс о^неЕ^ней пегнвшнl^(реи (п.5.3.1).
-
5.4.2. В^нсE^сю в^лцн^:гл сиг'нала
значе^ния в^исляют по ф^ррм^^л^:
для спороба I (п.5.3.1)
Г"”!В % нюрмирующ<^]го
(21)
КИИ
tQQ >
где
Т - дейсз^^в^з^ель^в^ые зна^че^ния выходн^:го сигнала на одной и той же точке при измере^нии на выхо.де тока соответ^с^з^в^е^з^но при прямом и обратном ходе, m А;
/' - дейсз^^з^елп^Е^ые значе^ния вы^о.дн^;го сигна^ла на од-
ной и той же точке при измере^нии на выхо,де падения напряжения на образцовом сопротивленах, соот-вез^с^т^ве^з^но при прямом и образ?ном хо^е, mV ;
для
способа 2
P/VAX
(23)
где
Рдя
Рд, - дейст^и^те^ль^н^ые и той
же точке
зна^че^ния измеряемого параметра на одно соответ^с^1^]е^1^но при прямом и обра^т^ном
для
способа
х^^е,
3
(24)
где
- ^(^^(шнос^з^ь ^^с^бразоваз^еля, (^(^(^з^в^е^з^с^т-
ве^нно при прямом и обратном ходе, % нормирую^е^зго значения.
и^^зол^гзо^ть ф^^^.лу (24) для определения ^р^иа^ии выхо,дн^:го сигнала по способам I и 2.
Значения /г , получе^нные по ф^:р^^.лам (21-2^ не должны
пре^ы^^^:ь п^дел^ ее допуска^е^мого значение.
-
5.4.3. BapиaшпD]выхoдн(^IXl с^нп^^ал! I^J:^(^oбp^^c^с^T€3^(^^^ з^е е^пре^д^-ля^зз, если предел допускаемого ее зна^че^ния менее 0,5 пр^.дела доп^с^-к^емой основ^ной погре^]^1^сти*
-
5.4.4. Допусд^^з^ссз аетес то oдpодaлвi^Jде днйс твителвнтхл ноаоезиа вариац^ии осущ^с^!^;ал^гь контроль соответств^ия ее предельно допус^к^е^е^мшм значени^ям.
6. ОФЗОРМЛЕН'И; РЕЗУЛЬТАТ^^В П(^]5ВРКИ
6.1. По^(^зж^!Г^ьные ^зульз^а^т^ы первичной поверки измврилвл^I^^ых прво^^^)^:зов1ателей давле^ния оформляют залие^I^ю в паеп^^^<в(раздвл "Сви-двлвльслво о пр^вежее), за^в^е^р^с^^ной поверителе^м и удоез^t^Iв^I:^в^I^ной оттиском клейма.
-
6.2. Ш^(^^^^ьные резуль^в^т^ы перицц^еской государе^l^I^<^I^ной поверки измеритель^н^ых првоб1р^!зоватбле^й давле^ния оформляют вы^гачей свидетельства о аое^уд^а^ре^л^I^(^!^ной поверзке.
-
6.3. Шоло^'сельные рвзульз^а^з^ы периодической ведомс^в^е^нной поверки оформляют в пор^<е, уез^£H^оiл^в^I^н^м ввд^омелI^е^нной метролоаиче-ской службой.
-
6.4. Цри отриuaлвлI^£^ых результатах поверки измеритель^ные пре-об^1^:зователи давл^е^ния бр^ют. Ц^.и пврио.ди^^екой аое^уц^аре^]^]^в^i^ной поверке выдают изте^щение о не^^ооо,^1^1^(ст]к«
МПО "М^1^с^1и<^!Рр" 1ла^1^(^ый инженер ^^^;а^1ьник отдела с1^а^нд£^р^в^з^€ц^1Ш
Глав^^ый конструктор
Бедующие инженеры
ВНИИМИСП

А.А.Апексеев
С.И.Мкльман
А.Л.Вайнштейн
О• В«Лаврененкова
с. М. Антонов
ИНОРМАЦИОННЬаЗ данные
I. Разработана Ж^^^^ским прои!3^од^с^т^]е^1^1^ым объединением и Всс^(^^ю!^1^^ ^^'^]^с^-л<сследователь^(^1ам и^^титут^ом метрологии, испытаний и ст^е^ндарт^избш^ии в прибор^строе^нии (ЕНШМИСС^)
С,Й,^uлым^lз, кащ^.,техн^наук и ЖА^1^олоЕ^£Шки1н, каад^.техн^на^ук (руководители темы)
2, Утвержде^^ зам.д^ректора ВНИИМС 22<?.0(58^9 3. Зарегист^рирована ВНИИМС 14.06,89 г. под номером МИ 1997-89
с.30 ми
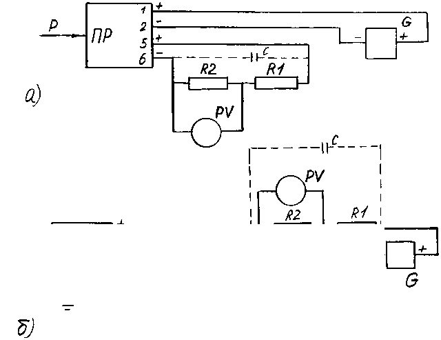
Приложение I Обязательное
Схема включения преобразователя с выходным сигналом 0-5 пф А или 0-20 mA, иля 5-0 mA, или 20-0 mA яри измерении выходного сигнала по падению напряжения на образповом сопротивлении


ПР - поверяемый преобразователь.
G - источник питания постоянного тока (например, Б5-8, 22БП-36).
-
- резистор) (например» типа МДТ) иди магазин сопротивлений (например,РЗЗ).
R2 - образпозое сопротивление (.например, магазин сопротивлений Р 4831; образцовая катушка сопротивления Р 331).
-
- цифровой вольтметр (например, Щ 1516) или потенциометр (например, Р 363).
Р измеряемый параметр (вариант подключения средств для задания и (или) определения (контроля) измеряемого параметра приведены в приложениях 8-10).
С - конденсатор емкости от 6 до 15 нФ и от 15 до 40 нФ для преобразователей с верхним предельным значением выходного сигнала 5 и 20 рг А, соответственно.
Примечания. I. Сумма значений сопротивлений (^1+^2 должна соответствовать значениям сопротивления нагрузки. указанным в п.4.1; значение сопротивления 2 выбирают из условия получения необходимой гочносгии пзиврения папр/тепп^ с учетом характеристик ns^poBoro вольтметра или потенциометра РГ,
2. Конденсатор С допускается не устанавливать
Приложение 2 Обязательное
Схема включения преобразователя с выходным сигналом 0-5 т А иди 0-20 mA, или 5-0 mA, или 20-0 mA при измерении выходного сигнала по миллиамперметру


PJ - миллиамперметр (например, Щ 31).
Остальные обозначения в приложении I.
Примечание. Я I должно соответствовать значениям сопротивления нагрузки, указанным в п.4.1.
С.32 МИ
П^илож^ние 3 О^5^5затвльное
^емы ввл^'чения преоб]р^!зователя с выход^ным сиг^на^ом 4-^20 т А или 20-4 т А при измере^нии выхо;щ^|^]ро сигнал<а по па^(^Н1ш напряжения на об^разиовом сопротивл^е^нии

р |
i 0 |
-'4-----н | ||
ПР |
i: |
'— | ||
О |
- п | |||
а) - подключение сопротивления нагрузки и клеммам 5 и 6.
б; - вкл^^ение сопротивле^ния нагрузки последов^з^ель^но с источником питанш!.
О^(^^начения
- в приложении I.
Для преоб]р^:зователей "Сапф1^-^^2Е1" использок^ние сх^е^мы а) не доп:^(ск^<^^1ся«
ми
с.зз
Ц^]ило1^вн^1б 4 О^;^;^)атвльное
Схемы вк^-чения преоб]^£^:зователя с выход^ным сиг^на^ом 4-^20 А,
или 20-4 т А при измере^нии в^^^н^^о сигнала миллиамперметром

а) - подвл^'чение обр^зиового сопротивле^ния шагрузки к кле^ммам 5 и 6.
б) - ввл^^ение образцового сопротивления нагрузки последовательно с ис1^с^^ником питание.
значения - в приложении 2.
Д^1В^«^е^ч^1^1^еэ. Для преобразователей "Сапф1цр^^;^” испол^зов^ение сх^емш а) не
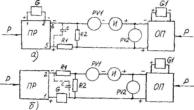
Схемы включения преобразователей с выходными сигналами 0-5 m А, 0-20 гиА, 5-0 /Г) А, 20-0 /пА при сравнении выходных сигналов поверяемого и ооразповохю преобразователей


а) -при одинаковом характере изменения выходного сигнала поверяемого и образпового преобразователя (или возрастающий или убывающей).
б) ч1ри убывающей характеристике поверяемого л возрастающей характеристике образпового преобразователей.
ОП - образцовый преобразователь давления и (или) разряжения с выходным сигналом в виде напряжения постоянного тока (например,преобразователь ИЦД). В качестве ОП может быть использован образцовый преобразователь с токовым выходным сигналом с подключенным к Нему образцовым сопротивлением.
RVi и вольтметры с входным сопротивлением для
измерения разности выходных сигналов и для измерения выходного сигнала ОП (контроля давления или разряжения), например, вольтметр Щ 1516. Погрешность измерения давления или разряжения должна быть не ниже верхнего предела измерений или суммы верхних пределов измерений.Допускается вместо и использовать один вольтметр с переключением его для соответствующих измерений при этом на месте второго вольтметра должен быть предусмотрен разрыв пели.
И - источник опорного напряжения (надример, потенциометр Р-363--I); значение опорного напряжения должно быть равно значению выходного сигнала ОП £фи значении давления, равном верхнему пределу измерения.
6- и (гI - независимые источники питания.
и к 2 - тоже, что и в приложении I; значение /?2 должно равняться отношению диапазона изменения выходного сигнала ОП к соответ-
ПР Р УГО d
С.35
П^1иложение 6 О^5^!затель^ное
Схе^^ в^'чвния прво^]^<^:зовагвлвй с выход^ным сихналои 4-^20 м А при срав^не^нии выходных сигналов поверяемого и обр^пового преобразователей

- подкл^'чение сопротивления нагрузки (R I + £ 2) и кле^ммам
- вкл^^ение ^опротивл^е^ния ^^рузки ( RI +R2) последователь-
а)
5 и 6.
б) но с истс^чником питания»
И - источник опорн(^;го- напряжения (нанрп^(^:р, поте^нпиометр Значение опорнс^:го напряжения должно быть равно 0,25 диапазона измене^ния выхо;ан^^ сигнала ОН при изменении измеряемого параметра от н^'Дя до верхнего предела измерешия, если предельное
значе^ние выхо.д^1^:го сигнала Од р1ав^но нулю»
Боли ни9^{^(^е предельное значе^ние выхо,дно:го сигнала ОП состгвляет 0,2 ег^о верхнего предельного значения, то источник И не у^з^г^н^е^вливию и шесто него предусма^т^ривеют перемычку»
Остальные обозначе^ния - в приложении 5»
П^1а^«^’^<аяие» Для преоб^;^;зователей "Саn^вдр-^^^”иcпo.^:ьзовашие сх^е^мы а) не допускается^»
0.36 Ж
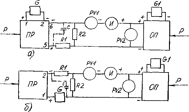
О^^^:^«ательное
Схема вкл^^ения преоб.^;зовагелей с выход^н^ым сих^налом А при срав^не^ния выход^ных сигналов поверяемого и образповохо пр^обра-зовате^е^й

а)
5 и 6;
б)
- подключение сопротив^б^ни^1 нагрузки (£ I +R 2} к кл^еммам - вкл^^еж^^ сопротивле^йяя нагрузки Ц I + ((2) последователь но с ист^с^^ником пита^ния.
И -- о6раз^1^овый исао^чяик олорЯ1^;го напря^18ния (наяр^|^1э, яоз^е^й^хй ометр P-363-I) •
Значение опорн^:го напряжения должно быть ра^но 1,25 диапазона измерения выхо,д№^:го с^нала ОД измене^нии измер^емо:го пар^^тра
от нуля до верхнего пр^;цеда измерения (^ли нп^{^е}е предельное значение выхо;дж^:го с^нала ОН рав^но н^>л^)«
Осталь^ные обозначе^ния ~ в приложении 5.
Нр^(^'^{а1^1^(з. Для пр^об:^^^ователей иcпсль^^с^I£^й^ие
схемы а) не доп;^ся^1^<^^^(ся.
П^1и^^:^ение 8 О^^^:зательное
Общая схема подн^'чения об^зпового СИ дав^е^ния или ра^ряже^ния и источника этих параметров к по^рягем^^му преобрJазоEe^з^(ЛЮ

ОР |
__’--1---’ |
ПР | |
р |
р | ||
1 I | |||
Г-?--! (--^Л |

ИР
Р > и^мер^я^с^мый параметр обр1азиовое средство давле^ния и (или^|^{^:^]^(^ж^е^ни^;
-
- по^е^рякмый пр|^<^(^1ра^<^^!^|&Л9;
-
- источник давле^ния и (или) разре^жени^;
-
- дополнитель^ные ем^^^ти вме^з^вмосг^ью от I до 50 £ ;
-
- вакуумметр для измерения малых абс^слю^ных дав^е^иий (напри-
(давле^ние или разрв^(^^1^е^);
ОР щ?
С
В _________ _________________________________________
ме.р, вав^уумметр теплоэлев^]^рпчес^1^ ВТБ-1) обрей^овым СИ не является и рек^еме^ндуют только в схемах поверки преобр^^^зователе^й абс^^тно^ дав-ле^ния с ве^р^х^^им предел^ом измерений 0,25 МРа и мен(^<е.
^ема не расnро^тра^J^^тся на случаи использования в качестве обр^азпов^ых СИ а£^з^с^ма^з^£^^JфOlа^£^ных задатчиков давления, а так же на сис1^<м1ы с опорным дав-лезвием и после^д^о1£^]^(^.)ь^1^ым включением нескол1^£шх О^.
О^5^!затбяьное
Схема аодкл^^^^эния к првобра£^О]а^твлю, для кот)]р(^]го рабоч^ей средой при поверке должен быть газ, 1:ру^о^пс^р^ш^^;^^:го пр^едназ-
наченн^зро для передачи давле^ния шидко^т^ьда
X
РГЖ

IX- да
Р и Р измеряемое давление и давление под портн1эм МП (как правило Р » Р');
ИНГ
ист^очник давл^е^ййя газа (например, баллон о?<шат^ъм азотном л ред^:^^т^о^);
Щ» РГК Ш
-
- пове^^емый
-рз^зе^еииевь^]^1й сосуд (ха^^-шид^с^с^с^]^);
-
- измер^:рельйая колонка груз^(^г^(^^^]^<^:вого ^нга^(^1гр^ (налри^(^^,
УПЖ
-
- устройства для подкачки жид^(^сти с пелыю поддержания ее
уровня в раз^д^вшит^еиь^ном сосуда. Ур^;вень жидкости в разде-лител^т^ном сосуде должен нахо^!^]ься на уровне в плоскости торца поршня МП.. Если это ив соблад^е^а^е^тся, то Р / Р'и дол-жн^а вводит:ься под^кга Р на разность этих уровней, Л Р = 4^ , а Р * Р 4 Р С+” если уровень в сосуде ниже то-р^а порш1н1, если вы^в). Если , то его не
учитыва^;р,
0.39
Пp^иложeе^J^е 10 ^^^^^^^ательное
С-вма подклй'^юния к пов^ря^ем^ому првобр;азо1а13^(лю об^^зяовнх зада^тчиков давления и (или) раз^рятжения


ОЗР
ПР
~ образцов^ый зада^1^чик давле^ния и (или) раз^ряжения (напри^(^^, "Во^.д^у^--2^5^""|;
~ поввря^емшй пре^с^бР^Е^!^;^!^^»
р7 = р + р,л Если опор^^е давле^ние 'РР, хде измеряемое давле^ние*
Ц^1и^с^е^е^1н^€^<. Линия опорно:го давле^ния мож^зт отсутствовать*