Методика поверки «Контроллеры модульные противоаварийной защиты, регистрации и управления БАЗИС-100» (МП 5ДА2.407.017)
ЗАО «Экоресурс»

УТВЕРЖДАЮ
" "'"’Ч
«—
Заместитель директора по качеству

«ВНИИМС»
1ы
я .'1

Н. В. Иванникова
V.
<< ZT»

2016 г.
Контроллеры модульные противоаварийной защиты, регистрации и управления БАЗИС-100
МЕТОДИКА ПОВЕРКИ
5ДА2.407.017 МП
г. Воронеж
СОДЕРЖАНИЕ
5ДА2.407.017 МП
Настоящая методика составлена на основе РЕКОМЕНДАЦИЙ МИ 2539-99, разработанных и утвержденных ВНИИМС.
Методика распространяется на измерительные каналы (далее — ИК) контроллера модульного противоаварийной защиты, регистрации и управления БАЗИС-100 (далее - контроллер) и устанавливает требования к их поверке или калибровке. Далее в тексте применяется термин «поверка», под которым подразумевается и поверка, и калибровка.
Интервал между поверками — 4 года.
1. ОПЕРАЦИИ ПОВЕРКИ-
1.1. Перечень операций, которые проводят при поверке ИК, приведен в таблице 1.1.
Таблица 1.1 — Перечень операций для поверки ИК
Наименование операции |
Обязательность проведения при поверке |
Номер пункта настоящей методики | |
первичной |
периодической | ||
1. Внешний осмотр |
да |
да |
6.1 |
2. Проверка электрической прочности и сопротивления изоляции |
да |
да1 |
6.2 |
3. Опробование |
да |
да |
6.3 |
4. Проверка погрешности ИК преобразования сигналов силы и напряжения постоянного тока |
да |
да |
6.4 |
5. Проверка погрешности ИК преобразования сигналов термопар |
да |
да |
6.5 |
6. Проверка погрешности ИК преобразования сигналов термопреобразователей сопротивления |
да |
да |
6.6 |
7. Проверка погрешности ИК преобразования сигналов частотноимпульсных датчиков |
да |
да |
6.7 |
Примечания:
-
1. При периодической поверке выполняют только проверку сопротивления изоляции.
-
2. Операции по пп. 5—8 могут выполняться в любой последовательности.
-
3. После ремонта или замены любого измерительного компонента ИК поверку канала выполняют по пунктам первичной поверки.
-
2.1. Для проведения поверки погрешности ИК модуля контроллера требуется использовать PC совместимый компьютер с сервисным программным обеспечением и соответствующий преобразователь интерфейса.
-
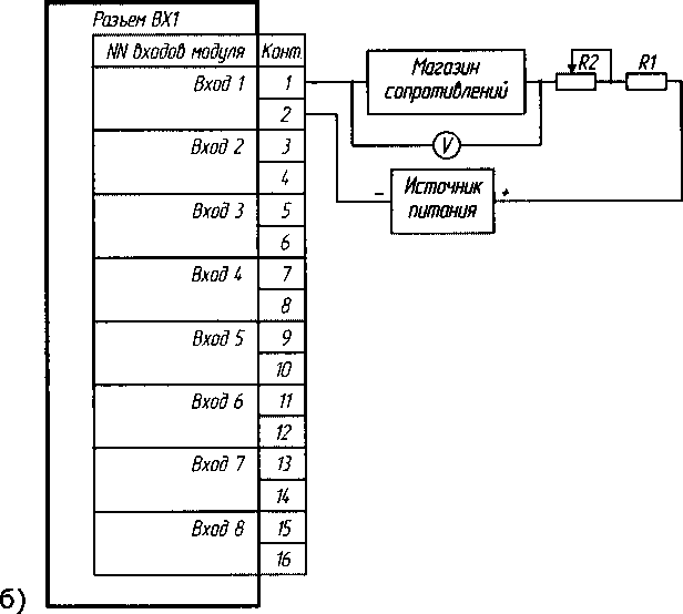
2.2. При проверке погрешности ИК, на вход которых поступают сигналы от датчиков с выходным сигналом силы постоянного тока (рис. 6.1), в качестве эталона для задания входного сигнала используют вольтметр и магазин сопротивлений, имеющие в диапазоне значений 0-20 мА суммарную абсолютную погрешность в условиях поверки не более 1/5 абсолютной погрешности проверяемого ИК, например, В7-34А, Fluke 8845А, МСР-6 ОМ или другие, имеющие соответствующие характеристики. В схеме используются резисторы R1 = 820 Ом и R2 = 22 кОм, рекомендуемое сопротивление на магазине — 100 Ом (можно также использовать меру электрического сопротивления, например, РЗОЗО, с номинальным значением сопротивления 100 Ом). Для активных датчиков силы постоянного тока (рис. 6.16) дополнительно используется любой источник постоянного тока 24 В.
Примечание - При невозможности выполнения соотношения «1/5» допускается использовать эталоны с упомянутым соотношением до «1/3», при этом погрешность ИК не должна выходить за границы, равные 0,8 от предела допускаемой погрешности ИК.
-
2.3. При проверке погрешности ИК контроллера, на вход которых поступают сигналы напряжения постоянного тока (рис. 6.2), в качестве эталона для задания входного сигнала используют калибратор напряжения, имеющий в диапазоне задаваемого входного сигнала абсолютную погрешность не более 1/5 абсолютной погрешности проверяемого ИК, например, РЗООЗ, КМЗООР, Н4-7 или другие, имеющие соответствующие характеристики (см. примечание к п. 2.2).
-
2.4. При проверке погрешности ИК контроллера, на вход которых поступают сигналы от термопар (рис. 6.3), в качестве эталона для задания входного сигнала используют калибратор напряжения, имеющий в
5ДА2.407.017 МП
диапазоне значений задаваемого входного сигнала абсолютную погрешность не более 1/5 абсолютной погрешности проверяемого ИК, например, РЗООЗ, П320, Н4-7 или подобный, имеющий соответствующие
характеристики.
При проверке канала компенсации температуры холодного спая для задания входного сигнала от компенсационного термопреобразователя сопротивления используют магазин сопротивлений, имеющий в диапазоне задаваемого входного сигнала абсолютную погрешность не более 1/5 абсолютной погрешности применяемого термопреобразователя сопротивления, например, Р 327, МСР-60М или другие, имеющие соответствующие характеристики (см. примечание к п. 2.2).
-
2.5. При проверке погрешности ИК контроллера, предназначенных для измерений сигналов от термопреобразователей сопротивления (рис. 6.4), в качестве эталона для задания входного сигнала используют магазин сопротивлений, имеющий в диапазоне задаваемого входного сигнала абсолютную погрешность не более 1/5 абсолютной погрешности проверяемого ИК, например, Р 327, МСР-60М или подобный, имеющий соответствующие характеристики (см. примечание к п. 2.2).
-
2.6. При проверке погрешности ИК контроллера на вход которых поступают сигналы от частотно-импульсных датчиков (рис. 6.5) в качестве эталона для задания входного сигнала используют генератор импульсов, имеющий в диапазоне задаваемого входного сигнала погрешность по частоте не более 0,01%, например, АКИП-3409/1 или другие, имеющие соответствующие характеристики (см. примечание к п. 2.2).
-
2.7. Дискретность регулирования сигналов от эталонов, подаваемых на входы ИК, и разрешающая способность эталонов при измерении аналоговых сигналов на выходах ИК, не должна превышать 0,3 номинальной ступени квантования испытываемого ИК.
-
3.1. К поверке ИК допускают лиц, освоивших работу с контроллером, и используемыми эталонами, изучивших настоящую методику, аттестованных в соответствии с ПР 50.2.012-94 «ГСИ. Порядок аттестации поверителей средств измерений» (данное требование не распространяется на калибровку) и имеющих достаточную квалификацию.
-
4.1. При проведении поверки соблюдают требования безопасности, предусмотренные «Правилами технической эксплуатации электроустановок потребителей», «Правилами техники безопасности при эксплуатации электроустановок потребителей» (изд. 3), ГОСТ 12.2.007.0-75, ГОСТ 12.1.019-79, ГОСТ 12.2.091-94, и требования безопасности, указанные в технической документации на контроллер, применяемые эталоны и вспомогательное оборудование.
Персонал, проводящий поверку, проходит инструктаж по технике безопасности на рабочем месте и имеет группу по технике электробезопасности не ниже II.
-
4.2. Перед началом поверки проверить исправность заземляющих устройств. Все внешние части контроллера, который используется при поверке модуля, находящиеся под напряжением более 36 В, должны быть закрыты крышками.
Отсоединять и подсоединять разъемы питания, производить замену плавких предохранителей или устранять другие неисправности допускается только при выключенном питании.
5. УСЛОВИЯ ПОВЕРКИ И ПОДГОТОВКИ К НЕЙ-
5.1. Изготовитель или потребитель, предъявляющий модули с ИК контроллера на поверку, представляет (по требованию организации, проводящей поверку) следующие документы:
-
• настоящую методику;
-
• эксплуатационную документацию на контроллер;
-
• перечень модулей и ИК, подлежащих поверке;
-
• протокол предшествующей поверки ИК контроллера;
-
• техническую документацию и свидетельства о поверке эталонов (в случае использования при поверке эталонов потребителя).
-
5.2. Поверяемый модуль контроллера и эталоны в процессе поверки находятся в нормальных условиях согласно технической документации на эти средства измерений.
Примечание — При невозможности обеспечения нормальных условий поверку проводят в фактических условиях эксплуатации. Условия поверки ИК модуля контроллера на месте эксплуатации не должны выходить за пределы
5ДА2.407.017 МП
рабочих условий, указанных в технической документации на контроллер и эталоны. В этом случае должны быть рассчитаны пределы допускаемых погрешностей ИК контроллера и эталонов (по РД 50-453—84) для фактических условий поверки и проверено выполнение требований пп. 2.2—2.6 настоящей методики.
-
5.3. Перед началом поверки поверитель изучает документы, указанные в п. 5.1 и правила техники безопасности.
6.1. Внешний осмотр
При внешнем осмотре модуля контроллера проверяют маркировку, комплектность, отсутствие механических повреждений.
Не допускают к дальнейшей поверке модуль контроллера, у которого обнаружено неудовлетворительное крепление разъемов, грубые механические повреждения наружных частей, нарушение изоляции и прочие повреждения.
6.2. Проверка электрической прочности и сопротивления изоляции
Электрическую прочность и сопротивление изоляции проверяют в соответствии с ГОСТ 22261-94 и технической документацией на контроллер.
-
6.3. Опробование
6.3.1. Подтверждение соответствия программного обеспечения
-
1. Модуль контроллера с ИК подключить к компьютеру.
-
2. На компьютере установить и запустить программу просмотра значений аналоговых каналов bl00aw.exe, позволяющую в реальном времени просматривать замеряемые модулем значения.
-
3. Настроить обмен и нажать кнопку [F10].
На экране компьютера отобразится окно с информацией о метрологически значимом ПО модуля (рис. 6.1).
Метрологическое ПО
■

■
CRC32:
к Наименование:
Версия:
measurement
1.00
D2D9A20A
processing
1.00
62О2А767
transmission
1.00
A3D44D25

Рисунок 6.1 — Информация о метрологически значимой части ПО модуля контроллера в программе bl00aw.exe
5ДА2.407.017 МП
-
4. Сверить извлеченные данные метрологически значимого ПО модуля контроллера с данными, приведенными в таблице 6.1.
Таблица 6.1 — Характеристики метрологически значимого ПО модулей контроллера с ИК
Наименование ПО |
Идентификационное наименование ПО |
Номер версии ПО |
Цифровой идентификатор ПО |
Алгоритм вычисления цифрового идентификатора |
Подпрограмма измерения аналоговых сигналов |
measurement |
1.00 |
D2D9A20A |
CRC32 |
Подпрограмма обработки аналоговых сигналов и хранения значений |
processing |
1.00 |
62D2A767 |
CRC32 |
Подпрограмма передачи значений |
transmission |
1.00 |
A3D44D25 |
CRC32 |
-
6.3.2. Модуль контроллера и эталоны после подключения питания (и включения) прогревают в течение времени, указанного в эксплуатационной документации.
-
6.3.3. Модуль контроллера с ИК каналами подсоединяют к компьютеру при помощи интерфейсного преобразователя.
-
6.3.4. На компьютере устанавливают и запускают программу просмотра значений аналоговых каналов blOOaw.
-
6.3.5. Опробование проводят в соответствии с РЭ на контроллер. Допускается совмещать опробование с процедурой проверки погрешности ИК.
6.4. Проверка погрешности ИК аналого-цифрового преобразования сигналов силы и напряжения постоянного тока
Подключение ИК конкретных исполнений модулей контроллера осуществляют в соответствии с эксплуатационной документацией. Примеры схем проверки приведены на рис. 6.2 и 6.3.
-
6.4.1. На компьютере, в программе blOOaw, выбирают ИК для получения измеряемых значений.
-
6.4.2. Проверку погрешности ИК выполняют не менее, чем в 5 точках /, равномерно распределенных в пределах диапазона преобразования.
БАЗИС-100, модули с токовыми каналами (от пассивных датчиков)

БАЗИС-100, модули с токовыми каналами (от активных датчиков)

Рисунок 6.2 - Схемы проверки погрешности ИК контроллера при имитации входного сигнала силы постоянного тока: а) пассивный датчик; 6) активный датчик
БАЗИС-100, модули с канолами напряжения

Рисунок 6.3 - Схемы проверки погрешности ИК контроллера при имитации входного сигнала напряжения постоянного тока
-
6.4.3. Проверку погрешности ИК выполняют определением погрешности ИК и сравнением с нормированными в документации пределами по методике, изложенной в п. 6.4.4, поскольку для контроллера выполняется неравенство
|А| > 56.
где: Q — номинальная ступень квантования (единица наименьшего разряда), выраженная в единицах сигнала, поступающего на вход поверяемого ИК;
А — предел допускаемой абсолютной погрешности поверяемого ИК, выраженный в единицах сигнала, подаваемого на вход ИК.
-
6.4.4. Для каждой проверяемой точки i выполняют следующие операции:
-
• устанавливают значение величины, подаваемой на вход поверяемого ИК, равным Xt;
-
• в программе blOOaw нажимают кнопку «Старт» и наблюдают не менее четырех замеров (см. колонку «Опросов» в программе) Yy, j=1,2,3,4, на выходе поверяемого ИК; нажимают кнопку «Стоп»',
• за оценку абсолютной погрешности ИК в z-ой проверяемой точке принимают значение, вычисляемое по формуле:
Ас/ = max

где: Yy — выражено в единицах подаваемого входного сигнала;
• если хотя бы в одной из проверяемых точек выполняется неравенство AcZ > |AZ|, поверяемый ИК бракуют.
В противном случае ИК признают годным.
6.5. Проверка погрешности ИК преобразования сигналов термопар
Подключение ИК конкретных исполнений модулей контроллера осуществляется в соответствии с эксплуатационной документацией. Примеры схем проверки приведены на рис. 6.4.
БАЗИС-100, модули с термопарными каналами

а)
Рисунок 6.4 - Схемы проверки погрешности ИК контроллера при имитации сигнала от термопары: а) для термопарных каналов; б) для универсальных каналов
БАЗИС-100, модули с униберсальными каналами

б)
-
6.5.1. На компьютере, в программе blOOaw, выбирают ИК для получения измеряемых значений.
-
6.5.2. В контроллере нормирован предел допускаемой погрешности для канала преобразования сигнала термопары с учетом погрешности канала компенсации температуры холодного спая термопары (без учета погрешности компенсационного термопреобразователя сопротивления). Проверку погрешности проводят в изложенной ниже последовательности:
-
• выбирают точки 7] в количестве 5 точек, равномерно распределенные по диапазону измеряемой величины (температуры) и записывают значения в °C;
-
• выбирают 3 точки значений TXCJ температуры холодного спая, равномерно распределенные по диапазону температур канала компенсации;
-
• выбирают проверяемые точки Xt по диапазону измеряемой величины (температуры): для первого значения ?xc\ — точка i=l, для второго значения ?хс2 — точка i=3, для третьего значения Тхс3 — точка i=5 и записывают значения в °C;
-
• находят для соответствующего типа термопар по таблицам ГОСТ Р 8.585-2001 значения термоэдс U, в мВ для температур
-
• для соответствующего термопреобразователя сопротивления, с которым может работать канал компенсации, находят по таблицам ГОСТ 6651-2009 значения сопротивления в Ом для температуры Тхс и подают это значение сопротивления магазином сопротивлений на вход канала компенсации; находят по таблицам ГОСТ Р 8.585-2001 значение термоэдс Uxc в мВ, соответствующей температуре холодного спая Тхс;
-
• для каждой проверяемой точки рассчитывают в мВ значения
Далее выполняют операции по п. 6.4.4.
6.6. Проверка погрешности ИК преобразования сигналов термопреобразователей сопротивления
Подключение ИК конкретных исполнений модулей контроллера осуществляется в соответствии с эксплуатационной документацией. Пример схемы проверки приведены на рис. 6.5.
БАЗИС-100, модули
с канолами от термопреодразоВателей сопротивления
Разъем ВХ1 (ВХ2)

Магазин сопротивлений
Магазин
сопротивлений
Магазин _ сопротивлений
Магазин
сопротивлений
Рисунок 6.5. Схема проверки погрешности ИК контроллера при имитации сигнала от термопреобразователя сопротивления 4-х/З-х проводного
-
6.6.1. На компьютере, в программе blOOaw, выбирают ИК для получения измеряемых значений.
-
6.6.2. Требования раздела распространяют на проверку погрешности ИК, осуществляющих преобразование сопротивления термопреобразователей сопротивления в значение кода, соответствующего температуре.
-
6.6.3. Проверку погрешности проводят в изложенной ниже последовательности:
-
• выбирают проверяемые точки Х{ в количестве не менее 5 точек, равномерно распределенные по диапазону измеряемой величины (температуры) и записывают значения в °C;
-
• находят для соответствующего типа термопреобразователей сопротивления по таблицам ГОСТ 6651-2009 значения сопротивлений в Ом для температур .
Далее выполняют операции по п. 6.4.4.
6.7. Проверка погрешности ИК преобразования частотноимпульсных сигналов
Подключение ИК частотно-импульсных модулей контроллера осуществляется в соответствии с эксплуатационной документацией. Пример схемы проверки приведены на рис. 6.6.
БАЗИС-100, модули с частотно-импульсными каналами

Рисунок 6.6. Схема проверки погрешности ИК модуля контроллера при имитации частотно-импульсного сигнала
-
6.7.1. На компьютере, в программе blOOaw, выбирают ИК для получения измеряемых значений.
-
6.7.2. Проверку погрешности проводят в изложенной ниже последовательности:
-
• выбирают проверяемые точки Xt в количестве не менее 5 точек, равномерно распределенные по диапазону измеряемой величины (частоты) и записывают значения в Гц;
-
• выполняют операции по п. 6.4.4.
-
7.1. При положительных результатах поверки оформляют свидетельства о поверке модулей, входящих в состав контроллера (с указанием поверяемых ИК) по форме Приложения 1 к «Порядку проведения поверки средств измерений, требованиям к знаку поверки и содержанию свидетельства о поверки», утвержденному Приказом Минпромторга России от 02.07.2015 г. № 1815 (далее — Порядок).
Кроме того, в паспорта на поверенные модули контроллера наносят знак поверки в виде оттиска поверительного клейма, а на сами модули наносят знак поверки в виде наклейки со штрих-кодом.
-
7.2. Если результаты поверки модулей, входящих в состав контроллера, отрицательны, на эти модули выписывается извещение о непригодности к применению по форме Приложения 2 к Порядку.
Разработал:

И. Спесивцева
Вед. инженер отдела 201 ФГУП «ВНИИМС»
16