Методика поверки «ДАТЧИКИ ВИБРАЦИИ ИВД-4» (МП ПБКМ.468223.004)
ФЕДЕРАЛЬНОЕ ГОСУДАРСТВЕННОЕ УНИТАРНОЕ ПРЕДПРИЯТИЕ «ВСЕРОССИЙСКИЙ НАУЧНО-ИССЛЕДОВАТЕЛЬСКИЙ ИНСТИТУТ МЕТРОЛОГИЧЕСКОЙ СЛУЖБЫ»
(ФГУП «ВНИИМС»)
УТВЕРЖДАЮ
СОГЛАСОВАНО
Технический директор ДПА

Заместитель директора по
производственной метрологии

МЕТОДИКА ПОВЕРКИ
ПБКМ.468223.002 МП г. Москва
2016 г.
Содержание-
-
7.2 Определение допускаемой основной относительной погрешности измерения
виброскорости по цифровому каналу
-
7.3 Определение допускаемой основной относительной погрешности измерения
виброскорости по токовому каналу
ПРИЛОЖЕНИЕ А (обязательное) Ссылочные нормативные документы
ПРИЛОЖЕНИЕ В (обязательное) Инструкция по работе с программой ConfiglVD
ПРИЛОЖЕНИЕ Г (обязательное) Схема установки трехкомпонентного датчика
Настоящая методика предназначена для первичной и периодической поверки датчика вибрации ИВД-3 (далее датчика), а также поверки после ремонта датчика.
Порядок работы с датчиком при его поверке совместно с настоящей методикой устанавливает нормативная и эксплуатационная документация, указанная в приложении А.
Поверку проводят организации, аккредитованные на право проведения поверки.
Интервал между поверками 3 года.
1 Операция поверкиПри проведении поверки выполняют операции, приведенные в таблице 1. Таблица 1
Наименование операции |
Номер пункта НД по поверке |
Внешний осмотр |
7.1 |
Определение допускаемой основной относительной погрешности измерения СКЗ виброскорости по цифровому каналу |
7.2 |
Определение допускаемой основной относительной погрешности измерения СКЗ виброскорости по токовому каналу* |
7.3 |
Определение погрешности срабатывания предупредительного и аварийного сигнала** |
7.4 |
Примечание: -*- проводится только для варианта исполнения ИВД-ЗТ420; -**- проводится только для варианта исполнения ИВД-ЗВ |
При получении отрицательного результата при выполнении той или иной операции поверку прекращают, датчик бракуют и оформляют результаты поверки согласно 8.
2 Средства поверкиПоверка проводится на аттестованном оборудовании с применением средств поверки, имеющих действующее клеймо поверки. При проведении поверочных работ применяют средства измерений и вспомогательные устройства, указанные в таблице 2.
Таблица 2
Номер пункта НД по поверке |
Наименование и тип средства поверки и основные технические характеристики |
7.2, 7.3, 7.4 |
Генератор сигналов произвольной формы 33120А № 26209-03 диапазон частот выходного сигнала (синусоидальный) от 1 х Ю’4 до 15 МГц; пределы допускаемой основной относительной погрешности частоты выходного сигнала ±20х Ю-6; диапазон напряжения от 50 мВ (Пик-Пик) до 10 В (Пик-Пик); пределы допускаемой абсолютной погрешности установки выходного напряжения, не более ±0,01 х ивых |
7.2, 7.3, 7.4 |
Источник питания MPS № 32050-06 Модель MPS-3003D. Напряжение от 0 до 30 В |
7.3 |
Калибратор электрических сигналов С А 51 № 53468-13 Диапазон измерений от 0 до ± 24 мА; погрешность ± (0,025 % х X + 4 мкА), где X - измеренное или установленное значение /100 % |
7.2, 7.3, 7.4 |
Преобразователь виброизмерительный 4383 № 8516-81 диапазон измерения виброускорения (пик) от 5 х Ю’3 до 50 х ю3 м/с2; диапазон рабочих частот 0,1 до 8400 Гц; пределы допускаемого отклонения коэффициента преобразования от номинального |
| значения ± 2 % | |
7.2, 7.3, 7.4 |
Усилитель мощности TIRA модели ВАА 120 Напряжение от 0 до 20 В |
7.2, 7.3, 7.4 |
Усилитель измерительный Nexus мод. 2692 № 17592-98 Диапазон частот от 0,1 до 100000 Гц; нелинейные искажения и шум не более 0,003 %; неравномерность амлитудо-частотной характеристики - 1 дБ |
7.2, 7.3, 7.4 |
Мультиметр цифровой 34401А № 54848-13 до 100 В погрешность ± (0,0045 х Хизм + 0,0006 х X); до 3 А погрешность ± (0,120 х хизм + 0,020 х X), где Хизм - процент от измеренного значения; X - процент от предела измерений |
7.2, 7.3, 7.4 |
Приспособление для установки датчика на вибростенд ПБКМ.301200.001 |
7.2, 7.3 |
Приспособление для установки датчика, имеющего три оси измерения на вибростенд ПБКМ.301200.002 |
7.2, 7.3, 7.4 |
Вибростенд V406 LDS Частотный диапазон 5 - 9000 Гц; Выталкивающая сила 100 Н |
7.2, 7.3, 7.4 |
Адаптер RS-485/RS-232 ADAM-4520-D2E Преобразование интерфейса RS-485 в RS-232 |
7.2, 7.3, 7.4 |
ПК IBM PC WINDOWS ХР, Vista, 7; Порт - СОМ или переходник USB-COM; Программа ConfiglVD |
Допускается применять средства, не приведенные в таблице 2, при условии обеспечения определения метрологических характеристик с требуемой точностью.
3 Требования к квалификации поверителейПоверитель должен пройти инструктаж по технике безопасности и иметь удостоверение на право работы с электроустановками с напряжением до 1000 В и группой допуска не ниже III.
4 Требования безопасностиПри проведении поверки должны быть соблюдены требования безопасности руководства по эксплуатации ПБКМ.468223.002 РЭ, НТД на средства поверки и инструкций предприятия, производящего поверку.
5 Условия поверкиПри проведении испытаний должны соблюдаться нормальные условия:
-
- температура окружающего воздуха от 15 до 25 °C;
-
- относительная влажность от 50 до 80 %;
-
- атмосферное давление от 84,0 до 106,7 кПа (630 - 800 мм рт. ст.);
-
- напряжение питающей сети (220,0 ± 22,0) В, частотой (50 ± 0,4) Гц;
-
- отсутствие вибрации, внешних электрических и магнитных полей (кроме земного магнитного поля и магнитного поля вибростенда).
Перед проведением поверки датчик необходимо выдержать в нормальных условиях в течение не менее 4 часов.
Подготовка датчика к работе выполняется в соответствии с требованиями эксплуатационных документов.
7 Проведение поверки-
7.1 Внешний осмотр
Комплектность датчика проверяется на соответствие паспорту ПБКМ.468223.002 ПС.
Внешний вид должен соответствовать требованиям руководства по эксплуатации ПБКМ.468223.002 РЭ. При внешнем осмотре должно быть установлено соответствие следующим требованиям:
-
- отсутствие механических повреждений корпуса, соединительных кабелей и соединений;
-
- наличие маркировки и функциональных надписей;
-
- маркировка и функциональные надписи, относящиеся к органам управления и присоединения, должны восприниматься без затруднений и неоднозначности;
-
- наличие и исправность заземляющего зажима.
В случае несоответствия датчика хотя бы одному из вышеперечисленных требований, его признают непригодным к применению, поверку не проводят и оформляют результаты поверки согласно 8.
-
7.2 Определение допускаемой основной относительной погрешности измерения СКЗ виброскорости по цифровому каналу
Испытания для датчиков, имеющих одну ось измерения, проводят с использованием приспособления ПБКМ.301200.001.
Датчик с помощью приспособления ПБКМ.301200.001 установить на столе вибростенда так, чтобы ось чувствительности датчика совпадала с осью колебания стенда. Собрать схему согласно приложению Б. Подать напряжение на датчик и прогреть его в течение одной минуты. Запустить на ПК технологическую программу ConfiglVD, произвести настройку и установку связи с датчиком согласно ПБКМ.468223.002 РЭ.
Задать частоту колебаний стола стенда 160 Гц и последовательно виброскорости 0,5, 1; 3; 15; 30 мм/с на этой частоте. Произвести отсчёты показаний датчика с программы ConfiglVD.
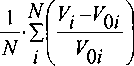
Вычислить основную относительную погрешность 8а., %, по формуле (1).
1/2
S =100-

(1)
где V, - показания датчика, мм/с;
Vo, - показания вибропреобразователя, мм/с;
N- количество измерений.
В случае, если основная относительная погрешность 8а превышает 3 %, провести калибровку датчика согласно инструкции, приведенной в приложении В. Повторить определение основной относительной погрешности 8а.
Задать СКЗ виброскорости 10 мм/с на частотах: 10, 20, 40, 80, 160, 300, 400, 500 Гц и СКЗ виброскорости 4 мм/с на частотах 600, 700, 800, 900, 1000 Гц. Произвести отсчёты показаний датчика с программы ConfiglVD.
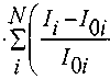
Вычислить основную относительную погрешность 8/, %, по формуле (2)
1/2
8, =100-

(2)
где V, - показания датчика, мм/с;
Voi - показания вибропреобразователя, мм/с;
N- количество измерений.
Вычислить основную относительную погрешность 8, % по формуле (3).

(3) где Зо - погрешность виброустановки, %.
Датчик признают годным при выполнении условия
I r/lmax 7
в противном случае его признают непригодным к применению, дальнейшую поверку не проводят и оформляют результаты поверки согласно 8.
Испытания для датчиков, имеющих три оси измерения, проводят аналогично с использованием приспособления ПБКМ.301200.001 совместно с приспособлением ПБКМ.301200.002. Схема установки датчика, имеющего три оси измерения, представлена в приложении Г.
-
7.3 Определение допускаемой основной относительной погрешности измерения СКЗ виброскорости по токовому каналу
Испытания для датчиков, имеющих одну ось измерения, проводят с использованием приспособления ПБКМ.301200.001.
Датчик с помощью приспособления ПБКМ.301200.001 установить на столе вибростенда так, чтобы ось чувствительности датчика совпадала с осью колебания стенда. Собрать схему согласно приложению Б. Подать напряжение на датчик и прогреть его в течение одной минуты. Запустить на ПК технологическую программу ConfiglVD, произвести настройку и установку связи с датчиком согласно ПБКМ.468223.002 РЭ.
Задать частоту колебаний стола стенда 160 Гц и последовательно виброскорости 0,5, 1; 3; 15; 30 мм/с на этой частоте. Показания датчика считывать с калибратора С А 51 (T1F6011) (в режиме измерения тока).
Диапазон воспроизведения СКЗ виброскорости по токовому каналу соответствует таблице 3.
(4)
Таблица 3
СКЗ виброскорости, мм/с |
Выходной токовый сигнал, мА |
0 |
4 |
30 |
20 |
Вычислить основную относительную погрешность 5а, %, по формуле (4).
ч2
1/2
S =100-
а
1
N

где Ц - показания калибратора, мА;
/б; — расчетное значение тока, мА, рассчитывается по формуле (5);
~vh~vi

(5)
где Д - верхняя граница диапазона воспроизведения токового сигнала, 20 мА;
Ii - нижняя граница диапазона воспроизведения токового сигнала, 4 мА;
Vh- верхняя граница диапазона измерения СКЗ виброскорости, 30 мм/с;
Vi~ нижняя граница диапазона измерения СКЗ виброскорости, 0 мм/с;
Voi - задаваемое значение СКЗ виброскорости, мм/с.
В случае, если основная относительная погрешность 8а превышает 3 %, провести калибровку датчика согласно инструкции, приведенной в приложении В. Повторить определение основной относительной погрешности 8а.
Задать СКЗ виброскорости 10 мм/с на частотах: 10, 20, 40, 80, 160, 300, 400, 500 Гц и СКЗ виброскорости 4 мм/с на частотах 600, 700, 800, 900,1000 Гц. Показания датчика считать с калибратора С А 51 (T1F6011) (в режиме измерения тока).
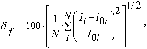
Вычислить основную относительную погрешность 5/, %, по формуле (6).

(6)
где I, - показания калибратора, мА;
Io,- расчетное значение тока, мА, рассчитывается по формуле (5) Вычислить основную относительную погрешность 5, %, по формуле (7).
« = («/+«;+«О1'2. <7>где 5о - погрешность виброустановки, %.
Датчик признают годным при выполнении условия
I и/1тах
в противном случае его признают непригодным к применению, дальнейшую поверку не проводят и оформляют результаты поверки согласно 8.
Испытания для датчиков, имеющих три оси измерения, проводят аналогично с использованием приспособления ПБКМ.301200.001 совместно с приспособлением ПБКМ.301200.002. Схема установки датчика, имеющего три оси измерения, представлена в приложении Г.
-
7.4 Определение погрешности срабатывания предупредительного и аварийного сигнала
Испытания для датчиков, имеющих одну ось измерения, проводят с использованием приспособления ПБКМ.301200.001.
Датчик с помощью приспособления ПБКМ.301200.001 установить на столе вибростенда так, чтобы ось чувствительности датчика совпадала с осью колебания стенда. Собрать схему согласно приложению Б. Подать напряжение на датчик и прогреть его в течение одной минуты. Запустить на ПК технологическую программу ConfiglVD, произвести настройку и установку связи с датчиком согласно ПБКМ.468223.002 РЭ.
При помощи программы ConfiglVD установить величины предупредительной и аварийной уставки от 0,5 до 30 мм/с, причем предупредительная уставка должна быть меньше аварийной.
Момент формирования дискретного сигнала фиксируют в программе ConfiglVD.
Задать частоту колебания стола стенда 160 Гц и плавно увеличивать СКЗ виброскорости до появления дискретных сигналов предупреждение и авария. Произвести отсчёты показаний датчика в момент срабатывания контрольной уставки.
Датчик считается выдержавшим испытания, если показания датчика в момент формирования дискретного сигнала находятся в пределах ± 0,2 мм от величины заданной уставки.
В противном случае его признают непригодным к применению, дальнейшую поверку не проводят и оформляют результаты поверки согласно 8.
8 Оформление результатов поверкиПри положительных результатах поверки оформляется свидетельство о поверке согласно и делается отметка в паспорте в соответствии с «Порядком проведения поверки средств измерений, требований к знаку поверки и содержанию свидетельства о поверке». Знак поверки наносится на свидетельство о поверке.
При несоответствии результатов поверки требованиям любого из пунктов настоящей методики датчик к дальнейшему применению не допускают и выдают извещение о непригодности с указанием причины непригодности в соответствии с «Порядком проведения поверки средств измерений, требований к знаку поверки и содержанию свидетельства о поверке».
Начальник отдела 204

А.Е. Рачковский
Начальник лаборатории 204/3

А.Г. Волченко
Разработчик Инженер 1-кат.

О.А. Ткачук
Таблица А.1
Обозначение |
Наименование |
Номер пункта, в котором дана ссылка |
ПБКМ.468223.002 РЭ |
Руководство по эксплуатации. Датчики вибрации ИВДЗ |
4, 7.1, 7.2, 7.3, 7.4 |
ПБКМ.468223.002 ПС |
Паспорт. Датчики вибрации ИВД 3 |
7.1 |
Порядок проведения поверки средств измерений, требования к знаку поверки и содержание свидетельства о поверке |
8 |

Датчик ИВД 3;
приспособление для установки датчика на вибростенд (ПБКМ.301200.001); Вибропреобразователь «Брюль и Къер» 4383;
адаптер RS-485/RS-232 или RS-485/USB;
персональный компьютер;
линейный источник питания Matrix MPS-3003D;
усилитель измерительный «Брюль и Къер» Nexus 2692;
мультиметр цифровой Agilent 34401А (в режиме измерения напряжения); вибростенд V406 LDS;
усилитель мощности TIRA модели ВАА 120;
генератор Agilent 33120А;
калибратор электрических сигналов YOKOGAWA СА 51 (в режиме измерения тока).
Рисунок Б. 1
ПРИЛОЖЕНИЕ В (обязательное) Инструкция по работе с программой ConfiglVDВ.1 Назначение
Программа ConfiglVD предназначена для проверки и настройки датчиков на предприятии -изготовителе и на объекте заказчика.
Программа поставляется в виде исполняемого ехе - файла.
В.2 Предварительные аппаратные процедуры
Подключить датчик через адаптер RS-485 / RS-232 или RS-458 / USB к порту RS-232 ПК и или USB-порту соответственно подать питающее напряжение.
В.З Установка связи с датчиком
Запустить программу - файл ConfigIVD.exe
После запуска на экране монитора появится окно «Тестирование и настройка датчика вибрации» - рисунок В.1.
tW Тестирование и настройке датчиков внбмцгнИВД -- 4 , | ||||||
.......... | ||||||
Параметры подключения |
Информация с датчика | |||||
Порт. СОМ9 |
Номер: ***** |
Версия ПО: ***** | ||||
Скорость: 38400 |
«*»«« |
Na ***** | ||||
***** | ||||||
Modbus - адрес: 3 |
К» |
0.00 |
0.31 |
***** |
Мин ***** | |
***** |
***** |
Макс | ||||
| Поиск... |
***** |
0.00 |
2.34 | |||
г | ||||||
1 : ™—-----J |
***** |
***** | ||||
| Успехов: 0 |
0 00 |
0.31 |
***** | |||
Ошибок. 13 |
N Г |
Пр s ***** |
np.W ***** |
Авар***** | ||
| Сброс |
Сброс границ | |
I |
I |
I I | ||
| Последняя ошибка обмена с датчиком | ||||||
i нет ответа от датчика | ||||||
Обмен с АЦП | ||||||
модуль Е-140 не найден | ||||||
Выход | ||||||
................ |
Рисунок В.1 - Окно «Тестирование и настройка датчика вибрации»
ВНИМАНИЕ! ВО ИЗБЕЖАНИЕ СБОЙНЫХ СИТУАЦИЙ, И ОШИБОК ПРОГРАММИРОВАНИЯ ДАТЧИКА ЗАПРЕЩАЕТСЯ ПРОИЗВОДИТЬ МАНИПУЛЯЦИИ, НЕ ОПИСАННЫЕ В ДАННОЙ ИНСТРУКЦИИ.
Если номер порта, скорость обмена и адрес датчика соответствуют величинам, установленным по умолчанию, которые выводятся в соответствующих полях на панели «Параметры подключения», то в поле «Успехов» будет увеличивающиеся количество успешных обменов. Обмен с датчиком считается установленным.
Если обмен с датчиком не установлен, то в поле «Ошибок» будет выводиться увеличивающиеся количество ошибок обмена. В этом случае необходимо провести следующие действия.
Нажмите кнопку* «Поиск».
Примечание: -*- Здесь и далее по тексту выражение «Нажать кнопку» означает, что необходимо «щелкнуть» левой кнопкой «мыши» на соответствующей виртуальной кнопке.
При нажатии кнопки «Поиск...» открывается окно «Поиск датчика» - рисунок В.2.
Поиск датчика
Скорости
Адреса
Порты
^COMI SC0M3 £3 COM4 В сомз
01200
0 2400
04800 йэеоо
019200
038400
05Z6OO
Результаты поиска
§ Проверяется |~~
Выбран; |
Поиск | i J Отказ |
Рисунок В.2 - Окно «Поиск датчика»
В окне «Поиск датчика» задать номер порта, через который датчик подключен к ПК, скорости обмена и диапазон адресов обмена. Нажмите кнопку «Поиск».
На панели «Результаты поиска» в поле «Проверяется» будут индицироваться текущие параметры поиска, а в случае успешного окончания поиска в поле «Выбран» будут индицироваться параметры обмена.
Если по окончанию поиска в поле «Выбран» выводится сообщение «Контроллер не найден», то это свидетельствует либо о неисправности датчика, либо о неисправности линии, либо о неправильных действиях оператора.
Нажмите кнопку «Выбор».
При этом закрывается окно «Поиск датчика» и на панели «Параметры подключения» (рисунок В.1) в полях «Порт», «Скорость», «Modbus - адрес» индицируются выбранные параметры обмена, а в поле «Успехов» индицируется увеличивающиеся число успешных обменов - рисунок В.З.
(Ф Тестирование и настройка летчиков /БД ч <, чР |
— | |||||
Параметры подключения Порт: СОМ9 |
Информация с датчика | |||||
Номер. 1 |
Сменить... I Версия ПО. 4 00 | |||||
Скорость. 38400 |
v П 71 |
канал замаскирован |
Yn: |
14.00 |
Na |
20.00 |
Modbus - адрес: 3 |
0 00 0.31 |
Ya. |
17.00 |
Мин |
6 00 | |
Поиск... i |
z 0.02 |
уровень в норме |
Zn |
40.00 |
Макс |
500.00 |
— |
000 2.36 |
Za: |
50.00 | |||
Сменить.. i |
I | |||||
X 0.31 |
канал замаскирован |
Xn: |
14.00 | |||
Успехов: 544 |
Г5 |
000 0.31 |
Xa: |
17.00 | ||
Ошибок 245 |
г тестовый сигнал np.S 0 00 |
np.w |
680 |
Авар |
000 | |
Сброс | |
Сброс границ| |
Калибровка., j |
Уставки. | |
Последняя ошибка обмена с датчиком
Обмен с АЦП
модуль Е-140 не найден
Выход
Рисунок В.З - Окно «Тестирование и настройка датчика вибрации»
В.4 Изменение параметров обмена.
При необходимости пользователь может изменить параметры обмена.
В окне «Тестирование и настройка датчика вибрации» на панели «Параметры подключения» нажать кнопку «Сменить...» при этом открывается окно «Сменить параметры обмена» - рисунок В.4.
Сменит» параметры обмена датчи... IwwSliml
Скорость обмена: ИЗ
Modbus • адрес: |3
| Сменить Отказ
Рисунок В.4 - Окно «Сменить параметры обмена»
В окне «Сменить параметры обмена» в поле «Скорость обмена» выбрать из списка нужную скорость, в поле «Modbus-адрес» ввести требуемый номер и нажать кнопку «Сменить» (или «Отказ» при отказе от изменений).
Окно «Сменить параметры обмена» закрывается, а в окне «Тестирование и настройка датчика вибрации» появляются новые значения параметров обмена.
ВНИМАНИЕ! ПРИ ВВОДЕ НЕКОРРЕКТНЫХ ДАННЫХ ОБМЕН С ДАТЧИКОМ БУДЕТ ПРЕКРАЩЕН.
В этом случае необходимо вернуться к В.З.
В.5 Изменение уставок.
Значения предупредительной и аварийной уставок могут быть изменены пользователем.
В окне «Тестирование и настройка датчика вибрации» на панели «Информация с датчика» нажать кнопку «Уставки», при этом откроется окно «Сменить уставки» - рисунок В.5.
Cveb/rB устзвк*

Предупредительная уставка канала Z: Аварийная уставка канала Z Предупредительная уставка канала X: Аварийная уставка канала X: Предупредительная уставка канала Y. Аварийная уставка канапа Y Кол-во отсчетов для формирования аварии Минимально возможное значение Максимально возможное значение Измеренная величина, соотв. максим току Режим работы ЦАП, канал 1 Режим работы ЦАП, канал 2


рО ______у]__________
Ю.00 мм/с сосчеектвуегДЛО мА т -~™;10ХЮ мм.-с соответствует300 мА |4-2С20ХЮ мм/с соответствует 12.00 мА
|30-00 мм/с соответствует 16.00 мА ___40.00 мм/с соответствует20.00 мА; [4-20 мА ’j ----------J
Сменить Отказ
Рисунок В.5 - Окно «Сменить уставки»
В соответствующие поля введите требуемое значение уставок и нажмите кнопку «Сменить» (или «Отказ» при отказе от изменения).
При этом окно «Сменить уставки» закрывается, а в окне «Тестирование и настройка датчика вибрации» на панели «Информация с датчика» в соответствующих полях индицируются новые значения уставок.
При наведении курсора на область «Измеренная величина, соотв. максим, току», всплывает подсказка.
В.6 Калибровка датчика.
В.6.1. Калибровка осей чувствительности датчика
В окне «Тестирование и настройка датчика вибрации» на панели «Информация с датчика» нажать кнопку «Калибровка», при этом откроется окно «Калибровка трехкомпонентного датчика» - рисунок В.6.
Калиброека трехкомпонеигного датчика * i,B»wOwwlj
Общие параметры |
Канал Y |
Частота, Гц; | ПЗЗ |
>| Изм.знач.: |
иэтсАЦП: |
Эталонное напр-е. В: | ***** Виброскорость, мм/с |
Калибровка ЦАП | |
Тарировочный к-т: | ***** |
у,: | |
Н / I 1 1 ! |
Канал X Изм.знач.: |
Канап Z Изм.знач.: ***** |
Эталонное напр-е. В: | ***** Виброскорость, мм/с ***** |
Эталонное напр-е, В. | ***** Виброскорость, мм/с |
Тарировочный к-т: | ’*”* |
Тарировочный к-т: | ***** |
OK I Cancel [
Рисунок В.6 - Окно «Калибровка трехкомпонентного датчика»
На панели «Общие параметры» в поле «Частота» выставить величину частоты вибростенда, ввести её в память программы клавишей «Enter».
Панель разбита на области, соответствующие трем каналам датчика. В окне «Тарировочный к-т» выводится текущее значение тарировочного коэффициента по каждому каналу.
Калибровку датчика можно выполнить тремя способами: рассчитав тарировочный коэффициент, определив эталонное напряжение или используя внешний АЦП.
В.6.1.1 Калибровка датчика с расчетом тарировочного коэффициента.
Установить датчик на вибростенд, задать необходимый уровень вибрации, Уэт, мм/с. Измеренное значение скорости вибрации, мм/с считать с программы ConfiglVD, в окне «Изм.знач.» на одной из панелей «Канал X», «Канал Y», Канал Z» (в зависимости от того, какой канал датчика ИВД 3 калибруется).
Произвести расчет тарировочного коэффициента, К, по формуле (В.1).
к =^. (В.1)
где К - тарировочный коэффициент;
Уэт - уровень вибрации на вибростенде, мм/с;
Vd - показания датчика, мм/с.
Ввести полученное значение в окно «Тарировочный к-т», записать его в память датчика клавишей «Enter».
В.6.1.2 Калибровка датчика с помощью определенного эталонного значения.
Установить датчик на вибростенд и задать необходимый уровень вибрации на вибростенде. На одной из панелей «Канал X», «Канал У», «Канал Z» (в зависимости от того, какой канал датчика ИВД 3 калибруется) в поле «Эталонное напряжение, В» введите значение напряжения, рассчитанное по формуле (В.2).
(В.2) где Укал - значение виброскорости, мм/с, считанное с индикатора вибростенда,
f- частота вибростенда, Гц.
Нажмите кнопку «Enter».
Численные значения коэффициента перед Укал приведены в таблице В.1.
Таблица В.1
Частота вибростенда, Гц. |
Значение коэффициента 10'4-(2яД |
159,2 |
0,10000 |
79,6 |
0,05000 |
64 |
0,04021 |
45 |
0,02827 |
В поле «Виброскорость, мм/с» должна появиться величина виброскорости на стенде.
Нажмите кнопку «Калибровка», при этом в память датчика записывается новое значение тарировочного коэффициента.
В.6.1.3 Калибровка датчика с использованием внешнего АЦП
К ПК подключить внешний АЦП (L-Card, El4-140-М) и установить на ПК все необходимые драйверы.
На канал 1 АЦП подключить сигнал обратной связи с эталонного датчика (сигнал виброускорения, с заранее настроенной чувствительностью 100 мВ/м/с2).
После подключения АЦП установит датчик на вибростенд и задать необходимый уровень вибрации. Нажать кнопку «иэт с АЦП».
Нажать кнопку «Калибровка», при этом в память датчика записывается новое значение тарировочного коэффициента.
В.6.2. Калибровка ЦАП
Пользователь может произвести калибровку ЦАП.
В окне «Калибровка трехкомпонентного датчика» нажать на кнопку «Калибровка ЦАП», при этом откроется окно «Калибровка ЦАП» (рисунок В.6).
К выходным каналам датчика подключить мультиметр.
В окне «Калибровка ЦАП» нажать на кнопку «Подать на ЦАП минимальное значение». С мультиметра считать значение тока на выходе и внести его в поле «значение на выходе, мА».
В окне «Калибровка ЦАП» нажать на кнопку «Подать на ЦАП максимальное значение». С мультиметра считать значение тока на выходе и внести его в поле «значение на выходе, мА».
Нажать на кнопку «Калибровка», при этом произойдет калибровка ЦАП. Кнопку «Отмена» нажать при отменен калибровки.
Для завершения калибровки ЦАП нажать на кнопку «Выход».
Кал/,бровка ЦАП
Канал 1
Канал 2
Подать на ЦАП минимальное значение |
значение на выходе. мА: R
значение на выходе, мА: О
Подать на ЦАП максимальное значение
значение на выходе, мА: [U
значение на выходе, мА: О
Калибровка |
Отмена
Выход
Рисунок В.6 - Окно «Калибровка ЦАП»
Нажмите кнопку «ОК» в окне «Калибровка трехкомпонентного датчика», для его закрытия.
По завершению работы с программой ConfiglVD нажать на кнопку «Выход» в окне «Тестирование и настройка датчиков вибрации».
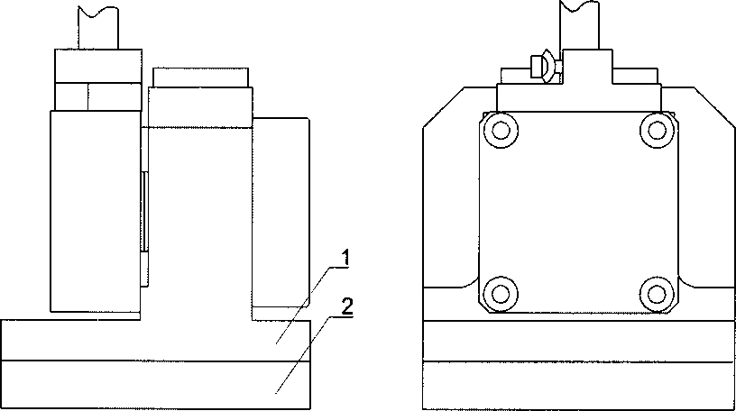
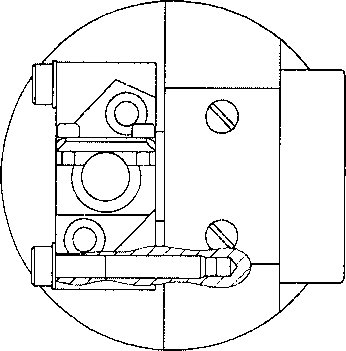
ПРИЛОЖЕНИЕ Г (обязательное) Схема установки трехкомпонентного датчика


-
1 Приспособление ПБКМ.301200.001;
-
2 Приспособление ПБКМ.301200.002.
Рисунок Г. 1 - Установка датчика по оси X


-
1 Приспособление ПБКМ.301200.001;
-
2 Приспособление ПБКМ. 301200.002.
Рисунок Г.2 - Установка датчика по оси Y
18