Методика поверки «Сигнализаторы модификаций "Хоббит-F/HF", "Хоббит-F" и "Хоббит-HF"» (МП-294-98)
УТВЕРЖДАЮ
Заместитель генерального директора

СИГНАЛИЗАТОРЫ МОДИФИКАЦИЙ "ХОББИТ-F/HF", "ХОББИТ-F" и "ХОББИТ-HF"
Методика поверки
МП-254-98
Руководитель лаборатории Государственных эталонов в области аналитических измерений
t Л. А.Конопелько
Санкт-Петербург
1998
СОДЕРЖАНИЕ


Лист
I. |
ОПЕРАЦИИ ПОВЕРКИ |
4 |
2. |
СРЕДСТВА ПОВЕРКИ |
5 |
3. |
ТРЕБОВАНИЯ БЕЗОПАСНОСТИ |
6 |
4. |
УСЛОВИЯ ПОВЕРКИ |
7 |
5. |
ПОДГОТОВКА К ПОВЕРКЕ |
8 |
6. |
ПРОВЕДЕНИЕ ПОВЕРКИ |
9 |
7. |
ОФОРМЛЕНИЕ РЕЗУЛЬТАТОВ ПОВЕРКИ |
12 |
ПРИЛОЖЕНИЕ 1. ПРОТОКОЛ ПОВЕРКИ |
13 | |
ПРИЛОЖЕНИЕ 2. СХЕМА УСТАНОВКИ ДЛЯ ПОВЕРКИ |
14 | |
ПРИЛОЖЕНИЕ 3. СБОРОЧНЫЙ ЧЕРТЕЖ АДАПТЕРА |
15 |
I---+---+-----------+------+-----+ МП-254-98 I
изм| л |
| |
N докум |
| |
подп | дата |
| |
СИГНАЛИЗАТОРЫ |
| лит |
| |
л |
| л - в | |
---L--- |
+- |
---------- |
+- |
-----+---- |
-+ |
МОДИФИКАЦИЙ |
|--T--T- |
-+- |
-- |
+-----+ |
разраб. |
| |
Тележко Г. |
| |
| |
| |
"ХОББИТ-F/HF", |
| | | |
| |
| | | |
+- |
+- |
-----+---- |
-+ |
"ХОББИТ-F" |
| О1| | |
| |
2 |
| 15 | | ||
провер. |
| |
Бабаев А. |
| |
| |
| |
И "ХОББИТ-HF" |
|--L--L- |
-L- |
-- |
L-----+ |
+- |
+- |
-----+---- |
-+ |
Методика поверки |
| |
| | ||||
утверд. |
| |
Тележко В. |
| |
| |
| |
| |
| |
L-------L-----------L------L-----L-------------------L
ш 1.5
Настоящая методика поверки распространяется на сигнализаторы модификаций "Хоббит-F/HF", "Хоббит-F" и "Хоббит-HF" (в дальнейшем - сигнализаторы), предназначенные для сигнализации об увеличении выше допустимого предела содержания фтора и/или фтористого водоро да
или
в воздухе рабочей зоны - местах их производства, хранения использования и т.п.
Сигнализаторы предназначены для обеспечения труда. Сигнализаторы предназначены также для противоаварийных системах
Настоящая методика вичной и периодических производства, его ремонте
вий
безопасных усло-использования в
защиты. устанавливает методы поверок при выпуске и эксплуатации.
Периодичность поверки сигнализаторов
средства пер-сигнализаторов из
не
в год.
реже одного раза
---T---T-----------T------T-----T
T------+
| Лист |
|------+
1. ОПЕРАЦИИ ПОВЕРКИ
1.1. При проведении поверки должны быть выполнены следующие операции:
Внешний осмотр
Опробование (для стационарного исполнения)
- проверка сопротивления изоляции
- проверка прочности изоляции (при первичной поверке и после ремонта)
Определение метрологических характеристик: порогов срабатывания и относительной погрешности срабатывания
1.2. Если при проведении той или иной операции лучен отрицательный результат,
п.6.1.
п.6.2.
п.6.2.1.
п.6.2.2.
п.6.3.
поверки по-дальнейшая поверка прекращается.
---T---T-----------T------T-----T
T------+
I Лист I
I------+
I 4 I
L-------
2. СРЕДСТВА ПОВЕРКИ
2.1.При проведении поверки должны применяться средства поверки, указанные в табл.1.
Таблица 1
Номер пункта НТД по поверке
6.2.1.
6.2.2.
6.3.
Наименование образцового средства измерений или вспомогательного средства поверки, номер документа, требования к СИ, основные технические характеристики
Мегомметр 4100/3 с рабочим напряжением 500 В, кл.2,5
У3.771.001 ТУ.
Установка УПУ-3М,
Генератор смесей HF+воздух ±10%, диапазон 0,3-3 мг/м
, предел допуск. относит. погр.
3
: , аттестов. в установл. порядке Генератор смесей F2+eo3gyx с контролем содержания фтора по Методике выполнения измерений массовой концентрации фтора в поверочных смесях, предел допуск. относит. погрешн. ±10%,
3 диапазон 0,02-0,2 мг/м3, аттестов. в установленном порядке. Секундомер СОПпр-2а-3-221 ГОСТ 5072-79.
Измеритель расхода типа РП-02Б, ТУ 25-0,5(Рп2.833.009)-85 Вольтметр универсальный типа В7-21
Адаптер ЛШЮГ 172.001 СБ (см. Приложение 3)
Тройник ТС-Т-10 ГОСТ 25336-82
Зажим,
2.2. При вспомогательные
9907,
должны применяться
кл.
1.
ротаметр РМ 064, ТУ проведении поверки средства поверки: ТЛ-4 ГОСТ 5.2156-73, цена деления 0,1оС;
барометр- анероид БАММ-1 ТУ 25-11.1513-79, диапазон го атмосферного давления от 84 до 107 кПа;
термометр
диапазон измерения
следующие
(0
50)о С
измеряемо-
психрометр аспирационный М 34 ТУ 25-1607.054-85, диапазон относительной влажности от 10 до 100% при температуре от минус 10 до 30оС.
Примечание: допускается применять иные средства поверки, характеристики которых не хуже указанных в табл.1.
---T---T-----------T------T-----T
T------+
I Лист |
|------+
-
3. ТРЕБОВАНИЯ БЕЗОПАСНОСТИ
-
3.1. Помещение, в котором проводится поверка, должно быть]
-
оборудовано приточно-вытяжной вентиляцией.
-
3.2. При проведении поверки должны соблюдаться требования бе-]
в паспорте сигнализатора ЛШЮГ 413411.011 ПС;
в эксплутационных документах средств поверки, перечисленных в ] разделе 2 настоящей методики.
]---+---+--
--+------+-----+
Лист
МП-254-98
] изм] л ] N докум ] подп ] дата
L---L---L
L------L-----L
-
4. УСЛОВИЯ ПОВЕРКИ
-
4.I. При проведении поверки должны соблюдаться следующие условия:
-
- температура окружающего воздуха (293±5)оК;
-
- относительная влажность воздуха от 30 до 75 %;
-
- атмосферное давление от 84 до 106.7 кПа;
-
- отсутствие вибрации, тряски, ударов;
-
- отсутствие внешних электрических и магнитных полей (кроме магнитного поля Земли), влияющих на работу сигнализатора.
---T---T-----------T------T-----T
T------+
I Лист |
|------+
-
5. ПОДГОТОВКА К ПОВЕРКЕ
-
5.1. Перед проведением поверки должны быть выполнены следующие подготовительные работы:
-
а ) подготовить поверяемый сигнализатор к работе в соответствии с паспортом ЛШЮГ.413411.011 ПС;
б ) подготовить к работе средства поверки, перечисленные в табл.1 в соответствии с их эксплуатационными документами;
в ) собрать установку для поверки в соответствии со схемой, приведенной в Приложении 2.
---T---T-----------T------T-----T
T------+
I Лист |
|------+
-
6. ПРОВЕДЕНИЕ ПОВЕРКИ
При проведении внешнего осмотра должно быть установлено I
соответствие сигнализатора следующим требованиям:
а) на наружных поверхностях датчика и блока индикации не I должно быть повреждений и дефектов, могущих влиять на их работу; I
б) комплектность и маркировка сигнализатора должны соот- I
вествовать паспорту ЛШЮГ 413411.011 ПС.
Проверка сопротивления изоляции между электрическими цепями I
Сигнализатор должен быть отключен от сети.
Мегаомметр подключают к замкнутым между собой контактам се- I тевого предохранителя и корпусу. Переводят тумблер "Сеть" в поло- I жение "ВКЛ". Через 1 мин. после приложения испытательного напря- I жения зафиксировать по шкале мегомметра величину сопротивления I изоляции. Сигнализатор считают выдержавшим испытание, если величи-| на сопротивления изоляции составляет не менее 40 МОм. I
-
6.2.2. Проверка электрической прочности изоляции I
Сигнализатор должен быть отключен от сети. I
Проверка проводится на установке УПУ-3М при температуре (20± I
5)оС и относительной влажности от 30 до 75%. Испытательное нап- I ряжение с частотой 50 Гц прикладывают к замкнутым между собой кон-| тактам сетевого предохранителя и корпусу сигнализатора. Переводят I тумблер "Сеть" в положение "ВКЛ". Испытательное напряжение I
следует повышать плавно, начиная с нуля и до 1400 В со скоростью, I допускающей снятие показаний вольтметра, но не более 100 В/с. I
I---+-- |
-+- |
----------+----- |
-+---- |
-+ |
I Лист I | ||
I---+-- |
-+- |
----------+----- |
-+---- |
-+ |
МП-254-98 |
I------+ | |
I изм |
I л |
I |
N докум I подп |
I дата |
I |
I 9 I | |
L--- |
L-- |
-L- |
----------L----- |
-L---- |
-L----- |
------L------- |
Изоляцию выдерживают под действием испытательного напряжения 1 мин. Затем напряжение снижают до нуля. Сигнализатор считают выдержавшим испытание, если во время проверки отсутствовали пробой или электрический разряд.
6.3. Определение метрологических характеристик.
Определение порогов и погрешности срабатывания сигнализатора проводится при поочередном пропускании поверочных газовых смесей (ПГС) с содержанием газов, указанным в графе 2 табл. 2 и в графе
3 табл.2. 1 ПДК соответствует концентрации фтора в воздухе, равной 0,03 мг/куб.м., фтористого водорода - 0,5 мг/куб.м.
Таблица 2
3I Содержание газов в ПГС, мг/м
Порог срабатывания I-----------------------------------
I Для проверки I Для проверки
I несрабатывания I срабатывания -----------1----------------I--------2--------I--------3--------
1 |
ПДК |
F2 |
I 0,023 |
± |
0,002 I |
0,038 |
± |
0,04 |
5 |
ПДК |
F2 |
I 0,11 |
± |
0,01 I |
0,19 |
± |
0,02 |
1 |
ПДК |
HF |
I 0,38 |
± |
0,04 I |
0,63 |
± |
0,06 |
5 |
ПДК |
HF |
I 1,90 |
± |
0,20 I |
3,10 |
± |
0,31 |
Адаптер закрывают фторопластовой крышкой и подают в него че- I рез трубки и тройник ПГС от генератора ПГС (см. Приложение 2). I
3Расход ПГС через адаптер устанавливают равным 500±100 см /мин. Каждую смесь подают в теч.2 мин. Расход ПГС через адаптер контролируют I по ротаметру и регулируют при помощи двух зажимов, находящихся на I трубках, соединяющих тройник с адаптером и тройник с атмосферой. I
Датчик соединяют с адаптером и фиксируют время от момента I подачи ПГС до загорания красных светодиодов "1 ПДК" и "5 ПДК".| Каждую из ПГС подают в адаптер один раз. I
I---+-- |
-+- |
----------+----- |
-+---- |
-+ |
I Лист I | ||
I---+-- |
-+- |
----------+----- |
-+---- |
-+ |
МП-254-98 |
I------+ | |
I изм |
I л |
I |
N докум I подп |
I дата |
I |
I 10 I | |
L--- |
L-- |
-L- |
----------L----- |
-L---- |
-L----- |
------L------- |
ПГС подают в последовательности нарастания в них концентрации I фтора / фтористого водорода.
Примечание. Цифровая шкала портативного исполнения имеет
вспомогательное назначение, и при поверке ее показания не прини- I маются во внимание.
При проверке многоканального варианта сигнализатор проверя-
ют с каждым из датчиков каналов измерений поочередно.
3
-
- при подаче ПГС с содержанием F2 (HF) 0,023 (0,38) мг/м3 красные I
3
-
- при подаче ПГС с содержанием F2 (HF) 0,038 (0,63) мг/м3 и более I
загорается соответствующий газу красный светодиод "1 ПДК".
3
-
- при подаче ПГС с содержанием F2 (HF) 0,038 (0,63) мг/м3 и 0,11 I
3
гораются оба соответствующих газу красных светодиода;


T
T
T
T------+
I---+-- |
-+- |
----------+----- |
-+---- |
-+ |
I Лист I | ||
I---+-- |
-+- |
----------+----- |
-+---- |
-+ |
МП-254-98 |
I------+ | |
I изм |
I л |
I |
N докум I подп |
I дата |
I |
I 11 I | |
L--- |
L-- |
-L- |
----------L----- |
-L---- |
-L----- |
------L------- |
7.1. При проведении поверки ведется протокол поверки по форме, представленной в приложении I, в котором указывается соответствие прибора предъявляемым к нему требованиям.
Сигнализатор, удовлетворяющий требованиям настоящей признается годным.
Положительные результаты поверки оформляются свиде-о поверке установленной формы.
При отрицательных результатах поверки применение сиг
7.2.
методики,
7.3.
тельством
7.4.
нализатора запрещено, и выдается извещение о непригодности.
---T---T-----------T------T-----T
T------+
I Лист |
|------+
ПРОТОКОЛ ПОВЕРКИ
3ae.N______
Дата выпуска________________
Дата поверки________________
Условия поверки: температура окружающего воздуха атмосферное давление относительная влажность
К кПа
о
%
1.
2.
РЕЗУЛЬТАТЫ ПОВЕРКИ
Результаты внешнего осмотра _____
Результаты опробования (только для стационарного исполн.) сопротивление изоляции Мом пробой при проверке прочности изоляции (только при первичной поверке):
отсутствовал
да
имел место
3.
Результаты определения метрологических характеристик
--T- |
-T- | ||||||
Канал |
N,| |
Содержание |
| |
Состояние красных светодиодов | |||
газ |
| |
газа в ПГС |
| |
"1 ПДК" |
| |
"5 ПДК" | |
--+- |
-+- |
--+- | |||||
| |
0 |
| |
0 |
| |
0 | ||
| |
0 |
| |
0 |
| |
0 | ||
| |
0 |
| |
0 |
| |
0 | ||
| |
0 |
| |
0 |
| |
0 | ||
--+- |
-+- |
--+- |
4. Заключение
Поверитель:
(подпись)
--+---+--
--+------+-----+
T------+
I Лист |
|------+
I 13 I L-------

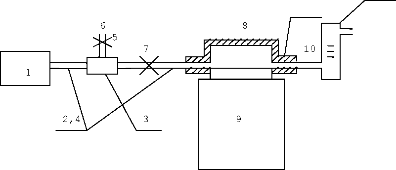
1 - генератор ПГС; 2,4,6,10 - соединительные трубки (желательно из фторопласта); 3 - тройник; 5,7 - зажимы; 8 - адаптер; 9 - датчик сигнализатора; 11 - измеритель расхода


Лист
I---+---+—

T
T
T
--+------+-----+

МП-254-98
|изм| л I N докум I подп I дата
14
L---L---L
L------L-----L
ПРИЛОЖЕНИЕ 3
СБОРОЧНЫЙ ЧЕРТЕЖ АДАПТЕРА

04L
---+-- |
-+- |
----------+----- |
-+---- |
- + |
I Лист | ||
—+— |
-+- |
----------+----- |
-+---- |
- + |
МП-254-98 |
I----- | |
изм |
1 л |
N докум | подп |
1 дата |
I 15 | |||
L--- |
L-- |
-L- |
----------L----- |
-L---- |
-L----- |
------L----- |