Методика поверки «ГСИ.Контроллер БКД-ПК-RF» (РТ-МП-3380-441-2016)
ФЕДЕРАЛЬНОЕ АГЕНТСТВО ПО ТЕХНИЧЕСКОМУ РЕ1УЛИ1*О8АПИЮ И Ml ТРОЛОГНИ

ФЕДЕРАЛЬНОЕ БЮДЖЕТНОЕ УЧРЕЖДЕНИЕ
< IОСУДАРСТ В Е Н Н ЫЙ РЕП 10 Н АЛ Ь Н Ы Й ЦЕНТР СТА 11 ДА РТ И ЗА И И И. МЕТРОЛОГИИ И ИСПЫТАНИЙ В Г. МОСКВЕ.
(ФБУ «РОСТЕСТ — МОСКВА»)
УТВЕРЖДАЮ

генерального директора Москва»
Е.В. Морин
2016 г.
Государственная система обеспечения единства измерений
Контроллер БКД-ПК-RF
Методика поверки
РТ-МП-3380-441-2016 г. Москва
2016
Настоящая методика поверки распространяется на контроллер БКД-ПК-RF (далее -контроллер), изготавливаемые ООО «МНПП Сатурн», г. Москва, и устанавливает порядок и объём его первичной и периодической поверки.
Интервал между поверками - 3 года.
Перед проведением поверки необходимо ознакомиться с указаниями, изложенными в руководстве по эксплуатации на контроллер.
-
1 ОПЕРАЦИИ ПОВЕРКИ
При проведении поверки контроллера должны выполняться операции, указанные в таблице 1.
Таблица 1. Операции, выполняемые при поверке
Наименование операции |
Номер пункта методики |
Проведение операции при поверке | |
первичной |
периодичес кой | ||
1 Внешний осмотр |
6.1 |
да |
да |
2 Опробование |
6.2 |
да |
да |
3 Определение метрологических характеристик |
6.3 |
да |
да |
3.1 Определение абсолютной погрешности привязки метки времени (1PPS) относительно шкалы времени UTC (SU) |
6.3.1 |
да |
да |
3.2 Определение амплитуды выходного сигнала 1 Tn(lPPS) |
6.3.2 |
да |
да |
3.3 Определение абсолютной погрешности хода встроенных часов в автономном режиме за сутки |
6.3.3 |
да |
да |
-
2 СРЕДСТВА ПОВЕРКИ
При проведении поверки контроллера должны применяться средства поверки, указанные в таблице 2.
Таблица 2. Применяемые средства поверки
Наименование и тип основного или вспомогательного средства поверки, требуемые технические и метрологические характеристики средства поверки | ||
Наименование рабочих эталонов и вспомогательных средств измерений |
Основные технические характеристики | |
Параметр |
Класс, разряд, погрешность | |
1 |
2 |
3 |
Приемник временной синхронизации NV08C-CSM-N24MS |
Пределы допускаемой абсолютной погрешности привязки метки времени (1PPS) относительно шкалы времени UTC (SU) |
± 100 нс |
Продолжение таблицы 2
1 |
2 |
3 |
Частотомер универсальный CNT-90XL |
Диапазон измерения частоты от 0,001 Гц до 300 МГц |
Пределы допускаемой относительной погрешности измерения частоты 2 -10’7 |
Осциллограф MSO6104A |
Диапазон установки коэффициента отклонения Коткл от 2 мВ/дел до 5 В/дел (1МОм) |
Пределы допускаемой абсолютной погрешности коэффициента отклонения ± 0,02-8 Коткл |
Персональный компьютер с ОС Windows, веб-браузер Internet Explorer, ПО «RASOS» |
- |
- |
Примечание:
-
- применяемые при поверке средства измерений должны быть поверены и иметь действующие свидетельства о поверке;
-
- допускается применение иных средств измерений, обеспечивающих определение метрологических характеристик поверяемых контроллеров с требуемой точностью.
Требования к квалификации поверителей
К проведению поверки контроллера допускается инженерно-технический персонал со среднетехническим или высшим радиотехническим образованием, имеющим опыт работы с радиотехническими установками, ознакомленный с руководством по эксплуатации и документацией по поверке и имеющие право на поверку.
-
3 ТРЕБОВАНИЯ БЕЗОПАСНОСТИ
При проведении поверки контроллера должны быть соблюдены требования безопасности в соответствии с ГОСТ 12.3.019-80.
К проведению поверки допускаются лица, прошедшие инструктаж по технике безопасности на рабочем месте, освоившие работу с контроллером и применяемыми средствами поверки.
На рабочем месте должны быть приняты меры по обеспечению защиты от воздействия статического электричества.
Для исключения сбоев в работе, измерения необходимо производить при отсутствии резких перепадов напряжения питания сети, вызываемых включением и выключением мощных потребителей электроэнергии и мощных импульсных помех.
-
4 УСЛОВИЯ ПОВЕРКИ
При проведении поверки должны быть соблюдены следующие условия:
|
20 ±5; 65 ± 15; 100 ±4 (750 ±30); 220 ± 4,4; 50 ±0,5. |
-
5 ПОДГОТОВКА К ПОВЕРКЕ
-
5.1 Подготовку контроллера и оборудования, перечисленного в таблице 2, проводят в соответствии с требованиями, изложенными в соответствующих эксплуатационных документах.
-
5.2 Убедиться в выполнении условий проведения поверки.
-
5.3 Выдержать средства поверки во включенном состоянии в течение времени, указанного в их руководствах по эксплуатации.
-
5.4 Общие требования безопасности при подготовке и проведении поверки осуществляют в соответствии с ГОСТ 22261-94 и ГОСТ 12.3.019-80 и требований эксплуатационных документов на испытательное оборудование и контроллер.
-
-
6 ПРОВЕДЕНИЕ ПОВЕРКИ
-
6.1 Внешний осмотр
-
6.1.1 Провести визуальный контроль чистоты и целостности всех соединителей и разъёмов поверяемого контроллера. В случае обнаружения посторонних частиц провести чистку соединителей.
-
6.1.2 Проверить отсутствие механических повреждений контроллера, шумов внутри корпуса, обусловленных наличием незакрепленных деталей, следов коррозии металлических деталей и следов воздействия жидкостей или агрессивных паров, сохранность маркировки и пломб.
-
-
Примечание:
- к механическим повреждениям относятся глубокие царапины, деформации на рабочих поверхностях центрального или внешнего проводников соединителей, вмятины на корпусе контроллера, а также другие повреждения, непосредственно влияющие на технические характеристики контроллера.
Результаты выполнения операции считать положительными, если:
-
- отсутствуют механические повреждения на соединителях и корпусе поверяемого контроллера;
-
- отсутствуют шумы внутри корпуса, обусловленные наличием незакрепленных деталей;
-
- отсутствуют следы коррозии металлических деталей и следы воздействия жидкостей или агрессивных паров;
-
- маркировка, наносимая на поверяемый контроллер, читаема.
-
6.2 Опробование
-
6.2.1 Опробование контроллера осуществить с помощью персонального компьютера, на котором должна быть установлена программа «Internet Explorer (входит в состав ОС «Windows»).
-
6.2.2 Провести опробование работы контроллера для оценки их исправности.
-
С этой целью, поверяемый контроллер следует разместить с учётом обеспечения радиовидимости навигационных спутников.
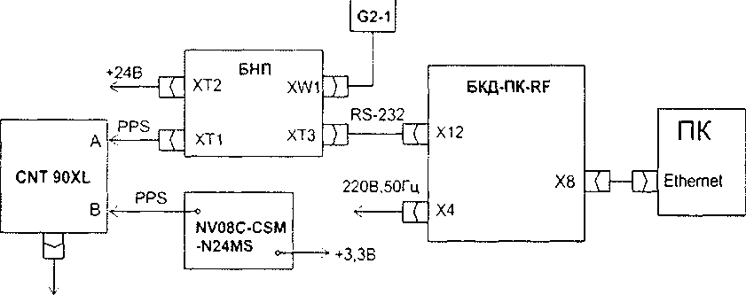
Подключить устройства в соответствии с рисунком 1.
Для проведения процедуры опробования подключить блок БНП к порту Х12 блока БКД-ПК-RF при помощи интерфейсного кабеля, входящего в комплект поставки. Подключить к разъему ХТ2 блока БНП источник постоянного напряжения 24 В при токе до 0,1 А. Подключить внешнюю активную антенну G2-1 к разъему XW1 блока БНП. Блок БКД-ПК-RF (разъем Х8) необходимо подключить к ПК при помощи интерфейсного кабеля Ethernet, входящего в комплект поставки. Подать напряжение питания 220 В, 50Гц на разъем Х4 блока
лист № 5 Всего листов 8 БКД-ПК-RF.
В результате произведённых подключений блок БНП выполняет поиск навигационных спутников, и после того как будет получено навигационное решение -произойдёт вычисление значение разности текущего времени встроенных часов блока БКД-ПК-RF и значения точного времени, полученного от приемника ГЛОНАСС/GPS блока БНП, с целью корректировки меток времени регистрируемых событий.

220В,50Гц
Рисунок 1 - Схема подключения приборов и устройств для поверки контроллера
Включение зелёного светодиодного индикатора «Готов» на блоке БНП свидетельствует об успешном прохождении процедуры опробования БНП.
На ПК запустить программу браузер Internet Explorer (ввести IP-адрес в строку адреса в браузере в соответствии с адресом, указанным на наклейке на корпусе блока БКД-ПК-RF) и убедиться в наличии подключения к блоку БКД-ПК-RF: в списке устройств присутствует NMEA. а в списке тэгов - канал «nmea_1500361_timeDiff» (здесь «1500361» -заводской номер БКД-ПК-RF).
Результаты поверки считаются удовлетворительными, если предусмотренные методикой тесты опробования успешно выполняются.
-
6.2.3 Определение контрольных сумм метрологически значимых частей встроенного программного обеспечения (далее - ПО) контроллера
Подключить устройства в соответствии с рисунком 1. Подать напряжение питания на устройства. Проверить наличие свечения индикатора «Питание» на блоке БКД-ПК-RF.
Загрузить на персональный компьютер программу RASOS. В режиме «БКД-[Т/М/МЕ/ПК]» в меню выбрать «ПриборьЛУстройства с интерфейсом Ethernet) БКД-ПК». В окне «Поиск» выбрать требуемый контроллер и нажать на кнопку «Настройка».
В окне «Настройка БКД-ПК» на вкладке «Параметры» прочитать и записать в протокол поверки контрольную сумму метрологически значимой части встроенного ПО «КС МЗЧ opdd», номер версии «Версия МЗЧ opdd» и сличить их с записями в описании типа СИ контроллера.
Результаты проверки считаются положительными, если номер версии и контрольная сумма метрологически значимой части встроенного ПО контроллера совпадает с записями в описании типа СИ.
-
6.3 Определение метрологических характеристик
-
6.3.1 Определение абсолютной погрешности привязки выходного сигнала 1 Гц (1PPS), выдаваемого контроллером, к шкале времени UTC (SU)
-
лист № 6 Всего листов 8
Для определения абсолютной погрешности привязки сигнала 1PPS относительно шкалы времени UTC (SU) необходимо собрать схему, представленную на рисунке 1.
Произвести настройку CNT-90XL в соответствии с руководством пользователя.
Установить режим измерения интервалов, фронты входа «А» и «В» положительные, сопротивление входа «А» 50 Ом и входа «В» 1 МОм, установить ручной режим порога срабатывания по половинному значению амплитуды импульса.
Соединить кабелем контакты выходного разъёма сигнала метки времени «1PPS» поверяемого контроллера (в соответствии с Руководством по эксплуатации) с входом «В» частотомера CNT-90XL.
На вход «А» частотомера CNT-90 подать сигнал «1Гц» с выхода приемника временной синхронизации NV08C-CSM-N24MS.
В случае если результаты измерений близки к 1 с, то следует поменять входы CNT-90 и знак погрешности.
В процессе измерений на дисплее частотомера индицируются результаты ежесекундных сличений шкалы времени, формируемой поверяемым контроллером и шкалой времени приемника NV08C-CSM-N24MS, синхронизированной со шкалой времени UTC (SU).
Установить на частотомере CNT-90XL количество измерений 7200, что соответствует 120 минутному циклу.
В результате измерений за указанный интервал времени и расчётов формируется среднеарифметическое значение абсолютного отклонения шкалы времени, вырабатываемой поверяемым контроллером от шкалы времени UTC (SU).
(1)
Значение абсолютной погрешности привязки выходного сигнала 1 Гц (1PPS), выдаваемого контроллером к шкале времени UTC (SU). определяется по формуле 2.
(2)
Результаты поверки считать положительными, если значения абсолютной погрешности привязки выходного сигнала 1 Гц (1PPS) к шкале времени UTC (SU) составляет ±10 мкс.
-
6.3.2 Определение амплитуды выходного сигнала 1 Гц (1PPS)
Определение амплитуды выходного сигнала 1 Гц (1PPS) проводится при работе контроллера в штатном режиме - после получения навигационного решения и запуска синхронизации шкалы времени.
Измерение указанных параметров сигнала 1PPS производится осциллографом MSO6104A на контакте 2 «1PPS» выходного разъёма ХТ1 блока БНП относительно общего провода ХТ2 контакт 1.
Результаты поверки считать положительными, если измеренные значение амплитуды не менее 3,0 В.
-
6.3.3 Определение абсолютной погрешности хода встроенных часов в автономном режиме за сутки
Определение абсолютной погрешности хода встроенных часов в автономном режиме за сутки проводится при работе контроллера в штатном режиме - после получения навигационного решения и запуска синхронизации шкалы времени. Автоматическая синхронизация встроенных часов блока БКД-ПК-RF от блока БНП не производится.
Подключить блок БНП к порту XI2 блока БКД-ПК-RF при помощи интерфейсного кабеля, входящего в комплект поставки. Подключить к разъему ХТ2 блока БНП источник постоянного напряжения 24 В при токе до 0,1 А. Подключить к разъему XW1 блока БНП лист № 7 Всего листов 8 внешнюю активную антенну G2-1. Блок БКД-ПК-RF (разъем Х8) необходимо подключить к ПК при помощи интерфейсного кабеля Ethernet, входящего в комплект поставки. Подать напряжение питания 220 В, 50 Гц на разъем Х4 блока БКД-ПК-RF. Проверить наличие свечения индикатора «Питание» на блоках БКД-ПК-RF и БНП. Антенна БНП должна располагаться в зоне приема сигналов спутников ГЛОНАСС/GPS. Дождаться мигания зеленого индикатора на блоке БНП, означающего готовность выходных данных.
Подключить блок БКД-ПК-RF к той же сети Ethernet, что и персональный компьютер. Запустить файловый менеджер FAR. Настроить FAR для доступа к блоку БКД-ПК-RF (создать новое URE соединение, нажав на клавиши Shift+F4), вести IP адрес, ввести имя пользователя (по умолчанию root) и пароль доступа (по умолчанию пустой), указать «Пассивный режим». Сохранить настройки подключения нажав Save (рисунок 2).
tp://user:password@host:

[x] FTP command log indow [ ] Custom LIS command
I/O uffer
[ 1 [ ] [х] t 1
[ ]
sk for password every time ASC I mode Passi e mode Use fi ewall
Decode co mands text
[ Se ect table ] [ S rver type ] [ Extended options ] { ave } [ onnect ] [ Cancel ]
Рисунок 2 - Создание подключения к блоку БКД-ПК-RF
Для подключения к блоку БКД-ПК-RF в программе FAR нажать клавиши alt+Fl, в окне выбрать FTP. Откроется окно с доступными ftp соединениями, выбрать строку с IP адресом блока БКД-ПК-RF.
После подключения к контроллеру выбрать директорию disk и открыть файл glonas.log (рисунок 3).

Name
bin
etc htdocs lib sbin share update usr var after_rasos.bin before^r^^^^^^^ .' _ _

rasos2.bin rasos3.bin /
Рисунок 3 - Выбор файла glonas.log
Файл glonas.log содержит записи параметра «diff from system» - разность в секундах между истинным значением времени (по данным блока БНП) и текущим значением встроенных часов блока БКД-ПК-RF. Пример данных файла glonas.log приведен ниже:
Jul 22 12:34:56 opros[752J: local sat time '22-07-2016 12:34:56.342' (diff from system 0.213 sec)
Jul 22 12:35:56 opros[752]: local sat time '22-07-2016 12:35:57.364' (diff from system 0.223 sec)
Jul 22 12:36:56 opros[752]: local sat time '22-07-2016 12:36:56.323' (diff from system 0.265 sec)
лист № 8
Всего листов 8
При расхождении часов «diff from system» на более чем ±60 с произвести вручную их корректировку при помощи программы RASOS в соответствии с руководством по эксплуатации.
Считать значение параметра «diff from system» и зафиксировать отсчет t|. Через сутки аналогичным способом сделать еще один отсчет ь - максимальное значение этого параметра за 24 ч. Абсолютную погрешность встроенных часов контроллера определить по формуле
Д=/> - fi
(3)
где Д - абсолютной погрешности хода встроенных часов в автономном режиме за сутки, с;
// - начальное значение параметра «diff from system» при первом отсчете, с; ь- максимальное значение параметра «diff from system» за время наблюдения 24 ч. с.
Результат поверки считать положительными, если абсолютная погрешность хода встроенных часов блока БКД-ПК-RF в автономном режиме за сутки не превышает ±3 с.
-
7 ОФОРМЛЕНИЕ РЕЗУЛЬТАТОВ ПОВЕРКИ
-
6.1 Результаты измерений, полученные в процессе поверки, заносят в протокол производигой форм ы.
-
6.2 При положительных результатах поверки выдается свидетельство о поверке в соответствии с приказом Министерства промышленности и торговли Российской Федерации №1815 от 02.07.2015.
Знак поверки наносится на свидетельство в соответствии с приказом Министерства промышленности и торговли Российской Федерации № 1815 от 02.07.2015.
-
6.3 При отрицательных результатах поверки, выявленных при внешнем осмотре, опробовании или выполнении операций поверки, выдается извещение о непригодности в соответствии с приказом Министерства промышленности и торговли Российской Федерации №1815 от 02.07.2015.
Баринов
11ачальник лаборатории № 441
ФБУ «Ростест-Москва»