Методика поверки «Газоанализаторы INNOVA 1412i» (МП-242-1994-2016)
УТВЕРЖДАЮ

Менделеева»
Гоголинский
Газоанализаторы INNOVA 1412i
Методика поверкиМП-242-1994-2016
Руководитель научно-исследовательского отдела государственных эталонов в области физико-химических измерений ФГУП «ВНИИМ им. Д.И. Менделеева»
р~ Л.А. Конопелько
Ведущий инженер
ФГУП «ВНИИМ им. Д.И. Менделеева»

О.В. Фатина
Санкт-Петербург 2016
Настоящая методика поверки распространяется на газоанализаторы INNOVA 1412i, фирмы «LumaSense Technologies А/S», Дания, предназначенные для измерений массовой концентрации загрязняющих веществ и влаги в атмосферном воздухе населенных мест, воздухе рабочей зоны и промышленных выбросах, и устанавливает методику их первичной поверки (до ввода в эксплуатацию и после ремонта) и периодической поверки в процессе эксплуатации.
Интервал между поверками - 1 год.
1 ОПЕРАЦИИ ПОВЕРКИ1.1 При проведении поверки выполняют операции, указанные в таблице 1. Таблица 1- Операции поверки
Наименование операции |
Номер пункта методики поверки |
1 Внешний осмотр |
6.1 |
2 Опробование |
6.2 |
- проверка общего функционирования |
6.2.1 |
-подтверждение соответствия программного обеспече- |
6.2.2 |
НИЯ | |
3 Определение метрологических характеристик |
6.3 |
-
1.2 Если при проведении той или иной операции поверки получен отрицательный результат, дальнейшую поверку прекращают.
-
1.3 Допускается проводить поверку газоанализаторов по конкретным компонентам и диапазонам измерений в соответствии с заявлением владельца средства измерений, с обязательным указанием в свидетельстве о поверке информации об объеме проведенной поверки.
2.1 При проведении поверки применяют средства, указанные в таблице 2. Таблица 2 - Средства поверки
Номер пункта методики поверки |
Наименование и тип основного или вспомогательного средства поверки; обозначение нормативного документа, регламентирующего технические требования и (или) метрологические (MX) и основные технические характеристики средства поверки |
6 |
Средства измерений температуры, относительной влажности воздуха и абсолютного давления, например, прибор комбинированный Testo 622, обеспечивающий MX:
|
Продолжение таблицы 2 - Средства поверки
Номер пункта методики поверки |
Наименование и тип основного или вспомогательного средства поверки; обозначение нормативного документа, регламентирующего технические требования и (или) метрологические (MX) и основные технические характеристики средства поверки |
6.3 |
Азот* газообразный особой чистоты по ГОСТ 9293-74 в баллоне под давлением. |
Рабочий эталон 1 разряда по ГОСТ 8.578-2014 - генератор газовых смесей ГГС модификаций ГГС-Т или ГГС-К, регистрационный номер в Федеральном информационном фонде по обеспечению единства измерений 62151-15, в комплекте с источниками микропотоков газов и паров. Пределы допускаемой относительной погрешности не более ±7 %. | |
Рабочие эталоны 1 разряда по ГОСТ 8.578-2014 - источники микропотоков газов и паров ИМ формальдегида, метанола, углерода четыреххлористого, ксилола, толуола, бутанола, стирола, изопропанола, тетрахлорэтилена, диметилформамида, ацетонитрила, бензола, ацетальдегида, регистрационный номер в Федеральном информационном фонде по обеспечению единства измерений 15075-09 (таблица Б.1 приложения Б). Пределы допускаемой относительной погрешности не более ±7 %. | |
Стандартные образцы состава газовых смесей в баллонах под давлением** оксид углерода - азот ГСО 10532-2014, пропан -азот ГСО 10544-2014, гексан - азот ГСО 10544-2014, метан - азот ГСО 10532-2014, сернистый ангидрид - азот ГСО 10547-2014, аммиак - азот ГСО 10547-2014, диоксид углерода - азот ГСО 10532-2014, этилацетат - азот ГСО 10535-2014, этанол - азот ГСО 10535-2014, ацетон - азот ГСО 10385-2013 (таблица Б.1 приложения Б). Пределы допускаемой относительной погрешности не более ±8 %. | |
Рабочий эталон 2 разряда по ГОСТ 8.547-2009 - генератор влажного газа ГВГ модификации ГВГ-902, регистрационный номер в Федеральном информационном фонде по обеспечению единства измерений 60571-15. Пределы допускаемой абсолютной погрешности воспроизведения заданных значений температуры точки росы +1,0 °C. | |
Вентиль точной регулировки* ВТР-1 или ВТР-1-М160. Диапазон рабочего давления от 0 до 150 кгс/см2, диаметр условного прохода 3 мм. | |
Ротаметр* РМ-А-0,16 ГУЗ по ГОСТ 13045. Верхний предел измерений объемного расхода 0,16 м3/ч, пределы допускаемой относительной погрешности ± 2,5 % от верхнего предела измерения. |
Продолжение таблицы 2 - Средства поверки
Номер пункта методики поверки |
Наименование и тип основного или вспомогательного средства поверки; обозначение нормативного документа, регламентирующего технические требования и (или) метрологические (MX) и основные технические характеристики средства поверки |
6.3 |
Редуктор* баллонный кислородный одноступенчатый БКО-50-4 по ТУ 3645-026-00220531-95. |
Склянка* стеклянная типа СН по ГОСТ 25336-82. Номинальная вместимость 500 см3. | |
Трубка* фторопластовая из комплекта принадлежностей газоанализатора. | |
Трубка* поливинилхлоридная (ПВХ) 6x1,5 мм по ТУ 64-2-286-79. |
-
2.2 Все средства измерений, указанные в таблице 2, кроме отмеченных знаком «*», должны иметь действующие свидетельства о поверке, стандартные образцы состава газовых смесей в баллонах под давлением - действующие паспорта.
-
2.3 Допускается использование других средств поверки, обеспечивающих определение метрологических характеристик газоанализаторов с требуемой точностью.
Отношение погрешности, с которой устанавливается содержание компонента в газовой смеси (таблица Б.1 приложения Б), к пределу допускаемой погрешности поверяемого газоанализатора (таблица А.1 приложения А) должно быть не более 1:2,5.
3 ТРЕБОВАНИЯ БЕЗОПАСНОСТИ И ТРЕБОВАНИЯ К КВАЛИФИКАЦИИ ПОВЕРИТЕЛЕЙ-
3.1 Помещение, в котором проводят поверку, должно быть оборудовано приточно-вытяжной вентиляцией. Не допускается сбрасывать газовые смеси (далее -ГС) в атмосферу рабочих помещений.
-
3.2 Концентрации вредных компонентов в воздухе рабочей зоны должны соответствовать требованиям ГОСТ 12.1.005-88.
-
3.3 Должны выполняться требования техники безопасности для защиты персонала от поражения электрическим током согласно классу I ГОСТ 12.2.007.0-75.
-
3.4 Требования техники безопасности при эксплуатации ГС в баллонах под давлением должны соответствовать федеральным нормам и правилам в области промышленной безопасности «Правила промышленной безопасности опасных производственных объектов, на которых используется оборудование, работающее под избыточным давлением» (утверждены приказом Ростехнадзора № 116 от 25.03.2014 г.).
-
3.5 При работе с источниками микропотоков должны соблюдаться требования, указанные в их эксплуатационной документации.
-
3.6 К проведению поверки газоанализаторов допускают лиц, ознакомленных с ГОСТ 8.578-2014, ГОСТ 13320-81 и руководством по эксплуатации (далее - РЭ)
5 газоанализаторов, имеющих квалификацию поверителя и прошедших инструктаж по технике безопасности в установленном порядке.
4 УСЛОВИЯ ПОВЕРКИ-
4.1 При проведении поверки соблюдают следующие условия:
-
- температура окружающего воздуха, °C: от 15 до 25;
-
- относительная влажность окружающего воздуха, %: от 30 до 80;
-
- атмосферное давление, кПа: от 84,0 до 106,7.
-
5.1 Проверяют наличие паспортов и сроков годности ГС в баллонах под давлением.
-
5.2 Баллоны с ГС выдерживают в помещении, в котором проводят поверку, не менее 24 ч, поверяемый газоанализатор - не менее 2 ч.
-
5.3 Подготавливают газоанализатор к работе в соответствии с требованиями РЭ.
-
5.4 Подготавливают к работе средства поверки в соответствии с требованиями их эксплуатационной документации.
-
6.1 Внешний осмотр
При внешнем осмотре устанавливают соответствие газоанализаторов следующим требованиям:
-
- отсутствуют внешние повреждения, влияющие на работоспособность и безопасность;
-
- органы управления и разъемы исправны;
-
- надписи и маркировка на корпусе газоанализатора четкие, соответствующие РЭ.
Результаты внешнего осмотра считают положительными, если газоанализатор соответствует перечисленным требованиям.
-
6.2 Опробование
-
6.2.1 Проверка общего функционирования
Проверку общего функционирования газоанализатора проводят путем включения согласно РЭ, при этом газоанализатор выполняет автоматическую диагностику работоспособности.
Результаты проверки общего функционирования газоанализатора считают положительными, если все тесты автоматической диагностики работоспособности газоанализатора завершены успешно согласно РЭ.
-
6.2.2 Подтверждение соответствия программного обеспечения
Для проверки соответствия программного обеспечения (далее - ПО) выполняют следующие операции:
-
- подключают газоанализатор к персональному компьютеру с помощью интерфейсного кабеля (через интерфейс связи USB), входящего в комплект поставки газоанализатора;
-
- включают газоанализатор;
-
- запускают на персональном компьютере ПО «BZ7004», входящее в комплект поставки газоанализатора;
-
- в меню ПО «BZ7004» выбирают раздел Configuration, далее Communication Interface и USB, затем нажимают Connect;
-
- после установления соединения между газоанализатором и персональным компьютером в ПО «BZ7004» выбирают раздел Module Test и далее Extended Test;
-
- версия ПО, установленного в газоанализатор, отражается в строке ZD0810C CPU & Comm. Interface.
Результаты проверки соответствия программного обеспечения считают положительными, если номер версии встроенного программного обеспечения газоанализаторов не ниже VP9514.
6.3 Определение метрологических характеристик
-
6.3.1 Определение погрешности проводят для каждого определяемого компонента по каждому диапазону измерений путем подачи на газоанализаторы газовых смесей в последовательности №№ 1-2-3-4-1 или №№ 1-2-3-1 (таблица Б.1 приложения Б) и регистрации показаний газоанализаторов.
Метрологические характеристики газоанализаторов приведены в таблице А.1 приложения А.
Конкретный перечень определяемых компонентов и диапазонов измерений выбирается владельцем газоанализатора из таблицы А. 1 приложения А исходя из измерительной задачи и наличия соответствующих оптических фильтров в комплекте газоанализатора и указывается владельцем средства измерений в заявлении на поверку.
-
6.3.2 При выполнении измерений в газоанализаторе устанавливаются следующие параметры измерительной задачи:
-
- время продува измерительной камеры, с 5,
-
- время усреднения сигнала, с 5,
-
- режим компенсации влияния паров воды включен.
Результаты измерений массовой концентрации определяемых компонентов приводят к условиям: температуре 293 К (20 °C) и давлению 101,3 кПа (760 мм рт. ст.).
-
6.3.3 Измерения выполняют в следующей последовательности:
а) при подаче на газоанализаторы ГС из баллонов под давлением:
-
- собирают газовую систему, схема которой изображена на рисунке В.1 приложения В;
-
- открывают баллон с ГС и с помощью вентиля точной регулировки, контролируя по ротаметру, устанавливают расход ГС 2,5 дм3/мин;
-
- запускают газоанализатор на измерение и выполняют от 8 до 10 циклов измерений - при подаче азота, от 5 до 8 циклов измерений - при подаче стандартных образцов состава газовых смесей в баллонах под давлением;
-
- регистрируют показания по трем последним циклам измерений С(, мг/м3, и останавливают работу газоанализатора;
-
- закрывают вентиль точной регулировки, закрывают баллон с ГС.
б) при подаче на газоанализаторы ГС от генератора газовых смесей ГГС модификаций ГГС-Т или ГГС-К в комплекте с источниками микропотоков газов и паров (указаны в таблице Б.1 приложения Б):
-
- собирают газовую систему, схема которой изображена на рисунке В.2 приложения В;
-
- в соответствии с эксплуатационной документацией генератора ГГС приготавливают ГС с номинальным значением массовой концентрации определяемого компонента, указанным в таблице Б.1 приложения Б;
-
- запускают газоанализатор на измерение и выполняют от 15 до 20 циклов измерений;
-
- регистрируют показания по трем последним циклам измерений С(, мг/м3, и останавливают работу газоанализатора.
Примечание - Расход ГС на выходе генератора ГГС устанавливают в диапазоне от 0,1 до 5 дм3/мин, при расходе от 0,1 до 1,5 дм3/мин в параметрах измерительной задачи газоанализатора устанавливают период времени между циклами измерений от 8 до 2 минут соответственно.
в) при подаче на газоанализаторы ГС от генератора влажного газа ГВГ модификации ГВГ-902:
-
- в соответствии с эксплуатационной документацией генератора приготавливают ГС с номинальным значением температуры точки росы (Стр), указанным в таблице Б.1 приложения Б;
-
- фторопластовую трубку с входного штуцера газоанализатора подсоединяют через тройник к выходной трубке генератора;
-
- запускают газоанализатор на измерение и выполняют от 5 до 8 циклов измерений;
-
- регистрируют показания по трем последним циклам измерений С,, мг/м3 (млн’1), и останавливают работу газоанализатора.
-
6.3.4 По результатам измерений, полученным по 6.3.3, в каждой точке поверки по каждому циклу измерений определяют абсолютную или относительную погрешность газоанализаторов, в зависимости от того, какая погрешность нормирована для данной точки поверки (таблица А. 1 приложения А).
Значение абсолютной погрешности газоанализатора А;, мг/м3 (млн'1), при подаче i-ой ГС рассчитывают по формуле
(1) где С( - измеренное значение массовой концентрации (объемной доли) компонента в ГС, мг/м3 (млн'1);
Сд - действительное значение массовой концентрации (объемной доли) компонента в ГС, мг/м3 (млн'1).
Примечание - При подаче ГС от генератора влажного газа действительное значение массовой концентрации влаги (мг/м3), объемной доли влаги (млн’1) на выходе генератора рассчитывают в соответствии с ГОСТ 8.547-2009 «ГСП. Государственная поверочная схема для средств измерений влажности газов».
Значение относительной погрешности газоанализатора 8j, %, при подаче i-ой ГС рассчитывают по формуле
С -Сд
5; = ! * -100 (2)
1 С/
-
6.3.5 Результаты определения погрешности газоанализатора считают положительными, если полученные значения погрешности газоанализатора по всем точкам поверки по всем циклам измерений не превышают пределов допускаемой погрешности, установленных при утверждении типа и указанных в таблице А.1 приложения А.
-
7.1 При положительных результатах поверки газоанализатор признают годным к применению и выписывают на него свидетельство о поверке установленной формы согласно Приказу Министерства промышленности и торговли РФ от 02 июля 2015 г. № 1815.
Знак поверки наносится на свидетельство о поверке.
-
7.2 При отрицательных результатах поверки газоанализатор признают непригодным к применению, свидетельство о поверке аннулируют, выдают извещение о непригодности установленной формы согласно Приказу Министерства промышленности и торговли РФ от 02 июля 2015 г. № 1815 с указанием причин непригодности.
ПРИЛОЖЕНИЕ А (обязательное) Диапазоны измерений и пределы допускаемой погрешности газоанализаторов INNOVA 1412i
Таблица А. 1 - Диапазоны измерений и пределы допускаемой погрешности
Определяемый компонент |
Тип оптического фильтра |
Диапазон измерений массовой концентрации, мг/м3 |
Пределы допускаемой погрешности |
Назначение | |
абсолютной, мг/м3 |
относительной, % | ||||
Оксид углерода СО |
UA 0984 |
от 0 до 5 включ. св. 5 до 200 |
±1 |
±20 |
Контроль ПДКдв и ПДКрз |
от 200 до 10000 |
- |
±20 | |||
от 0 до 10 включ. св. 10 до 2000 |
±2 |
±20 | |||
Диоксид углерода со2 |
UA 0982 UA 0983 |
от 0 до 20 включ. св. 20 до 3000 |
±4 |
±20 |
Контроль ПДКрз |
от 3000 до 30000 |
- |
±20 | |||
UA0981 UA 0982 UA 0983 |
от 0 до 500 включ. св. 500 до 30000 |
±100 |
±20 | ||
Метан СНд |
UA 0969 U А 0970 |
от 0 до 20 включ. св. 20 до 1000 |
±4 |
±20 |
Контроль ОБУ- Вдв и ПДКрз |
от 1000 до 3000 |
- |
±20 | |||
от 3000 до 6000 |
- |
±20 | |||
от 6000 до 10000 |
- |
±20 | |||
от 1000 до 10000 |
- |
±20 | |||
Пропан с3н8 |
UA 0987 |
от 0 до 5 включ. св. 5 до 300 |
±1 |
±20 |
Измерение содержания в воздухе |
от 300 до 3000 |
- |
±20 | |||
от 300 до 10000 |
- |
±20 | |||
от 0 до 20 включ. св. 20 до 3000 |
±4 |
±20 | |||
Гексан СбН14 |
UA 0987 |
от 0 до 5 включ. св. 5 до 300 |
±1 |
±20 |
Контроль ПДКдв и ПДКрз |
от 300 до 3000 |
- |
±20 | |||
от 300 до 10000 |
- |
±20 | |||
от 0 до 20 включ. св. 20 до 3000 |
±4 |
±20 | |||
Сернистый ангидрид SO2 |
U А 0971 UA 0972 |
от 0 до 10 включ. св. 10 до 100 |
±2 |
±20 |
Контроль ПДКрз |
от 100 до 1000 |
- |
±20 | |||
от 1000 до 5000 |
- |
±20 | |||
Формальдегид СН2О |
UA 0986 |
от 0 до 0,5 включ. св. 0,5 до 5 |
±0,1 |
±20 |
Контроль ПДКрз |
от 5 до 20 |
- |
±20 |
Продолжение таблицы А.1 - Диапазоны измерений и пределы допускаемой погрешности
Определяемый компонент |
Тип оптического фильтра |
Диапазон измерений массовой концентрации, мг/м3 |
Пределы допускаемой погрешности |
Назначение | |
абсолютной, мг/м3 |
относительной, % | ||||
Углерод четы- |
UA 0980 |
от 0 до 10 включ. |
±2 |
- |
Контроль ПДКрз |
рёххлористый |
св. 10 до 200 |
— |
±20 | ||
СС14 | |||||
Метанол |
UA 0936 |
от 0 до 1,0 включ. |
±0,2 |
- |
Контроль ПДКдв |
СНдО |
UA 0974 |
св. 1,0 до 50 |
— |
±20 |
и ПДКрз |
UA 0936 |
от 0 до 5 включ. |
±1 |
- |
Контроль ПДКрз | |
UA 0974 |
св. 5 до 50 |
- |
±20 | ||
UA 0987 |
от 50 до 500 |
- |
±20 | ||
Аммиак |
UA 0973 |
от 0 до 10 включ. |
±2 |
- |
Контроль ПДКрз |
NH3 |
UA 0975 |
св. 10 до 200 |
- |
±20 | |
UA 0976 UA 0979 |
от 200 до 2000 |
— |
±20 | ||
Ацетон |
UA 0970 |
от 0 до 20 включ. |
±4 |
— |
Контроль ПДКрз |
С3Н6О |
UA 0971 UA 0972 |
св. 20 до 2000 |
— |
±20 | |
Этилацетат |
UA 0969 |
от 0 до 20 включ. |
±4 |
- |
Контроль ПДКрз |
С4Н8О2 |
UA 0970 |
св. 20 до 2000 |
— |
±20 | |
Ксилол |
UA 0980 |
от 0 до 50 включ. |
±10 |
- |
Контроль ПДКрз |
С8Ню |
св. 50 до 500 |
— |
±20 | ||
Толуол |
UA 0974 |
от 0 до 50 включ. |
±10 |
- |
Контроль ПДКрз |
с7н8 |
UA 0936 |
св. 50 до 500 |
- |
±20 | |
Бутанол |
UA 0974 |
от 0 до 10 включ. |
±2 |
- |
Контроль ПДКрз |
с4н10о |
св. 10 до 100 |
- |
±20 | ||
Стирол |
UA 0976 |
от 0 до 10 включ. |
±2 |
- |
Контроль ПДКрз |
с8н8 |
UA 0977 |
св. 10 до 100 |
- |
±20 | |
Изопропанол |
UA 0972 |
от 0 до 10 включ. |
±2 |
- |
Контроль ПДКрз |
С3Н8О |
св. 10 до 100 |
- |
±20 | ||
Т етрахлорэтилен |
UA 0976 |
от 0 до 10 включ. |
±2 |
- |
Контроль ПДКрз |
С2С14 |
UA 0977 |
св. 10 до 100 |
— |
±20 | |
Диметил- |
UA 0973 |
от 0 до 10 включ. |
±2 |
- |
Контроль ПДКрз |
формамид C3H7NO |
UA 0974 |
св. 10 до 100 |
— |
±20 | |
Этанол |
UA 0973 |
от 0 до 20 включ. |
±4 |
- |
Контроль ПДКрз |
С2Н6О |
UA 0974 UA 0986 |
св. 20 до 5000 |
±20 | ||
Ацетонитрил |
UA 0974 |
от 0 до 50 включ. |
±10 |
- |
Измерение со- |
c2h3n |
св. 50 до 150 |
— |
±20 |
держания в воздухе | |
Ацетальдегид |
UA 0986 |
от 0 до 5 включ. |
±1 |
- |
Контроль ПДКрз |
С2Н4О |
UA 0989 |
св. 5 до 50 |
- |
±20 |
Продолжение таблицы А.1 - Диапазоны измерений и пределы допускаемой погрешности
Определяемый компонент |
Тип оптического фильтра |
Диапазон измерений массовой концентрации, мг/м3 |
Пределы допускаемой погрешности |
Назначение | |
абсолютной, мг/м3 |
относительной, % | ||||
Бензол с6н6 |
UA 0974 |
от 0 до 15 включ. св. 15 до 150 |
±3 |
±20 |
Контроль ПДКрз* |
Влага Н2О |
SB 0527 |
от 0 до 2000 включ. св. 2000 до 16500 |
±400 |
±20 |
Измерение содержания в воздухе |
от 0 до 2600 млн’1 включ. св. 2600 до 22000 млн’1 |
±520 млн’1 |
±20 | |||
Сумма предельных углеводородов С2+Сю |
Контроль Щ |
Крз в соответствии с аттестованной методикой измерений. | |||
Сумма предельных углеводородов С14-С10 |
Измерение содержания в промышленных выбросах в соответствии с аттестованной методикой измерений. | ||||
Примечания:
При контроле ПДКдв результаты измерений массовой концентрации определяемых компонентов приводят к условиям: температуре 273 К (0 °C) и давлению 101,3 кПа (760 мм рт. ст.) согласно РД 52.04.186-89. При контроле ПДКрз результаты измерений массовой концентрации определяемых компонентов приводят к условиям: температуре 293 К (20 °C) и давлению 101,3 кПа (760 мм рт. ст.) согласно ГОСТ 12.1.005-88.
а) одного определяемого компонента, приведенного в таблице (кроме того, допускается наличие диоксида углерода, оксида углерода и влаги), б) нескольких определяемых компонентов при условии выполнения измерений в соответствии с аттестованной методикой измерений.
|
ПРИЛОЖЕНИЕ Б
(обязательное) Перечень и метрологические характеристики газовых смесей, используемых при поверке газоанализаторов INNOVA 1412i
Таблица Б.1 - Перечень и метрологические характеристики газовых смесей, используемых при поверке газоанализаторов модели 14121
Определяемый компонент |
Диапазон измерений, мг/м3 |
Номинальное значение массовой концентрации компонента и пределы допускаемого отклонения, мг/м3 (объемной доли, млн'1) |
Газовая смесь | |||
ПГС №1 |
ПГС №2 |
ПГС№3 |
ПГС №4 | |||
Оксид углерода СО |
от 0 до 5 включ. св. 5 до 200 |
0 |
- |
— |
Азот | |
- |
10,0±2,0 |
100±10 |
180±18 |
ГСО 10532-2014 | ||
от 200 до 10000 |
250±25 |
5000±500 |
9000±900 |
— |
ГСО 10532-2014 | |
от 0 до 10 включ. св. 10 до 2000 |
0 |
- |
- |
- |
Азот | |
- |
20±4 |
1000±100 |
1800±180 |
ГСО 10532-2014 | ||
Диоксид углерода СО2 |
от 0 до 20 включ. св. 20 до 3000 |
0 |
- |
- |
- |
Азот |
- |
25±5 |
1500±150 |
2700±270 |
ГСО 10532-2014 | ||
от 3000 до 30000 |
3400±340 |
15000±1500 |
27000±2700 |
- |
ГСО 10532-2014 | |
от 0 до 500 включ. св. 500 до 30000 |
0 |
- |
- |
- |
Азот | |
- |
500±50 |
15000±1500 |
27000±2700 |
ГСО 10532-2014 | ||
Метан СНд |
от 0 до 20 включ. св. 20 до 1000 |
0 |
- |
- |
- |
Азот |
- |
25±5 |
500±50 |
900±90 |
ГСО 10532-2014 | ||
от 1000 до 3000 |
1100±55 |
2000±100 |
2800±140 |
- |
ГСО 10532-2014 | |
от 3000 до 6000 |
3200±160 |
4500±230 |
5700±290 |
- |
ГСО 10532-2014 | |
от 6000 до 10000 |
6400±320 |
8000±400 |
9500±480 |
- |
ГСО 10532-2014 | |
от 1000 до 10000 |
1200±120 |
5500±550 |
9000±900 |
— |
ГСО 10532-2014 | |
Пропан с3н8 |
от 0 до 5 включ. св. 5 до 300 |
0 |
- |
- |
- |
Азот |
10,0±2,0 |
150±15 |
270±27 |
ГСО 10544-2014 | |||
от 300 до 3000 |
340±34 |
1500±150 |
2700±270 |
- |
ГСО 10544-2014 | |
от 300 до 10000 |
340±34 |
5000±500 |
9000±900 |
- |
ГСО 10544-2014 | |
от 0 до 20 включ. св. 20 до 3000 |
0 |
- |
- |
- |
Азот | |
— |
25±5 |
1500±150 |
2700±270 |
ГСО 10544-2014 | ||
Гексан С6Н14 |
от 0 до 5 включ. св. 5 до 300 |
0 |
— |
— |
- |
Азот |
— |
10,0±2,0 |
150±15 |
270±27 |
ГСО 10544-2014 | ||
от 300 до 3000 |
340±34 |
1500±150 |
2700±270 |
- |
ГСО 10544-2014 | |
от 300 до 10000 |
340±34 |
5000±500 |
9000±900 |
- |
ГСО 10544-2014 | |
от 0 до 20 включ. св. 20 до 3000 |
0 |
— |
- |
- |
Азот | |
25±5 |
1500±150 |
2700±270 |
ГСО 10544-2014 | |||
Сернистый ангидрид SO2 |
от 0 до 10 включ. св. 10 до 100 |
0 |
— |
— |
- |
Азот |
— |
12,0±2,4 |
50±5 |
90±9 |
ГСО 10547-2014 | ||
от 100 до 1000 |
120±12 |
500±50 |
900±90 |
- |
ГСО 10547-2014 | |
от 1000 до 5000 |
1200±120 |
3000±300 |
4500±450 |
- |
ГСО 10547-2014 | |
Формальдегид СН2О |
от 0 до 0,5 включ. св. 0,5 до 5 |
0 |
- |
- |
- |
Азот |
— |
0,55±0,05 |
2,5±0,3 |
4,5±0,5 |
Генератор* с ИМ формальдегида | ||
от 5 до 20 |
5,5±0,5 |
10,0±1,0 |
18±2 |
Генератор* с ИМ формальдегида |
Продолжение таблицы Б. 1
Определяемый компонент |
Диапазон измерений, мг/м3 |
Номинальное значение массовой концентрации компонента и пределы допускаемого отклонения, мг/м3 (объемной доли, млн1) |
Газовая смесь | |||
ПГС №1 |
ПГС №2 |
ПГС №3 |
ПГС №4 | |||
Углерод четырёххлористый ССЦ |
от 0 до 10 включ. св. 10 до 200 |
0 |
- |
- |
- |
Азот |
12,0±1,2 |
100±10 |
180±18 |
Генератор* с ИМ углерода четыреххлористого | |||
Метанол СНдО |
от 0 до 1,0 включ. св. 1,0 до 50 |
0 |
- |
- |
- |
Азот |
— |
1,2±0,2 |
20±2 |
45±5 |
Генератор* с ИМ метанола | ||
от 0 до 5 включ. св. 5 до 50 |
0 |
- |
- |
- |
Азот | |
— |
5,5±0,5 |
20±2 |
45±5 |
Генератор* с ИМ метанола | ||
от 50 до 500 |
55±5 |
200±20 |
450±50 |
Генератор* с ИМ метанола | ||
Аммиак NH3 |
от 0 до 10 включ. св. 10 до 200 |
0 |
- |
- |
- |
Азот |
12,0±2,4 |
100±10 |
180±18 |
ГСО 10547-2014 | |||
от 200 до 2000 |
250±25 |
1000±100 |
1800±180 |
ГСО 10547-2014 | ||
Ацетон С3НбО |
от 0 до 20 включ. св. 20 до 2000 |
0 |
— |
— |
- |
Азот |
— |
25±5 |
1000±100 |
1800±180 |
ГСО 10385-2013 | ||
Этилацетат С4Н8О2 |
от 0 до 20 включ. св. 20 до 2000 |
0 |
— |
— |
- |
Азот |
— |
25±5 |
1000±100 |
1800±180 |
ГСО 10535-2014 | ||
Ксилол с8н10 |
от 0 до 50 включ. св. 50 до 500 |
0 |
— |
— |
- |
Азот |
— |
55±5 |
250±25 |
450±45 |
Генератор* с ИМ ксилола | ||
Толуол с7н8 |
от 0 до 50 включ. св. 50 до 500 |
0 |
— |
- |
- |
Азот |
— |
55±5 |
250±25 |
450±45 |
Генератор* с ИМ толуола | ||
Бутанол с4н10о |
от 0 до 10 включ. св. 10 до 100 |
0 |
— |
- |
- |
Азот |
— |
12,0±1,2 |
50±5 |
90±9 |
Генератор* с ИМ бутанола | ||
Стирол с8н8 |
от 0 до 10 включ. св. 10 до 100 |
0 |
- |
- |
- |
Азот |
— |
12,0±1,2 |
50±5 |
90±9 |
Генератор* с ИМ стирола | ||
Изопропанол С3Н8О |
от 0 до 10 включ. св. 10 до 100 |
0 |
— |
- |
- |
Азот |
— |
12,0±1,2 |
50±5 |
90±9 |
Генератор* с ИМ изопропанола | ||
Тетрахлорэтилен С2С14 |
от 0 до 10 включ. св. 10 до 100 |
0 |
— |
— |
- |
Азот |
— |
12,0±1,2 |
50±5 |
90±9 |
Генератор* с ИМ тетрахлорэтилена | ||
Диметил-формамид C3H7NO |
от 0 до 10 включ. св. 10 до 100 |
0 |
— |
— |
- |
Азот |
12,0±1,2 |
50±5 |
90±9 |
Генератор* с ИМ диметилформами-да | |||
Этанол С2НбО |
от 0 до 20 включ. св. 20 до 5000 |
0 |
— |
- |
- |
Азот |
- |
25±5 |
2000±200 |
4500±450 |
ГСО 10535-2014 |
Продолжение таблицы Б. 1
Определяемый компонент |
Диапазон измерений, мг/м3 |
Номинальное значение массовой концентрации компонента и пределы допускаемого отклонения, мг/м3 (объемной доли, млн'1) |
Г азовая смесь | |||
ПГС№1 |
ПГС №2 |
ПГС №3 |
ПГС №4 | |||
Ацетонитрил C2H3N |
от 0 до 50 включ. св. 50 до 150 |
0 |
— |
— |
— |
Азот |
— |
55±5 |
90±9 |
130±13 |
Генератор* с ИМ ацетонитрила | ||
Ацетальдегид С2Н4О |
от 0 до 5 включ. св. 5 до 50 |
0 |
— |
— |
— |
Азот |
— |
5,5±0,5 |
20±2 |
45±5 |
Генератор* с ИМ ацетальдегида | ||
Бензол С6Нб |
от 0 до 15 включ. св. 15 до 150 |
0 |
- |
- |
- |
Азот |
— |
17,0±1,7 |
70±7 |
130±13 |
Генератор* с ИМ бензола | ||
Влага Н2О |
от 0 до 2000 включ. (0 до 2600 млн'1 включ.) св.2000 до 16500 (св. 2600 до 22000 млн'1) |
0 |
- |
- |
- |
Азот |
2000±200 (2700±270) |
Генератор влажного газа** СТР= минус 9,5 °C | |||||
8000±800 (10700±110) |
Генератор влажного газа** СТр= плюс 8 °C | |||||
15000±1500 (20000±2000) |
Генератор влажного газа** Стр= плюс 17 °C | |||||
Обозначения в таблице: Азот - азот газообразный особой чистоты по ГОСТ 9293-74 в баллоне под давлением; ГСО - стандартные образцы состава газовых смесей утвержденного типа в баллонах под давлением; * - рабочий эталон 1 разряда по ГОСТ 8.578-2014 - генератор газовых смесей ГГС модификаций ГГС-Т или ГГС-К, регистрационный номер в Федеральном информационном фонде по обеспечению единства измерений 62151-15, в комплекте с источниками микропотоков газов и паров; ИМ - рабочие эталоны 1 разряда по ГОСТ 8.578-2014 - источники микропотоков газов и паров ИМ, регистрационный номер в Федеральном информационном фонде по обеспечению единства измерений 15075-09; ** - рабочий эталон 2 разряда по ГОСТ 8.547-2009 - генератор влажного газа ГВГ модификации ГВГ-902, регистрационный номер в Федеральном информационном фонде по обеспечению единства измерений 60571-15. |
ПРИЛОЖЕНИЕ В
(рекомендуемое)
Схемы подачи газовых смесей на газоанализаторы INNOVA 1412i

1 - баллон с ГС; 2 - вентиль точной регулировки; 3 - трубка ПВХ; 4 - тройник;
5 - трубка фторопластовая; 6 - ротаметр; 7 - газоанализатор; ВУ - вытяжное устройство
Рисунок В.1 - Схема подачи на газоанализатор ГС из баллона под давлением

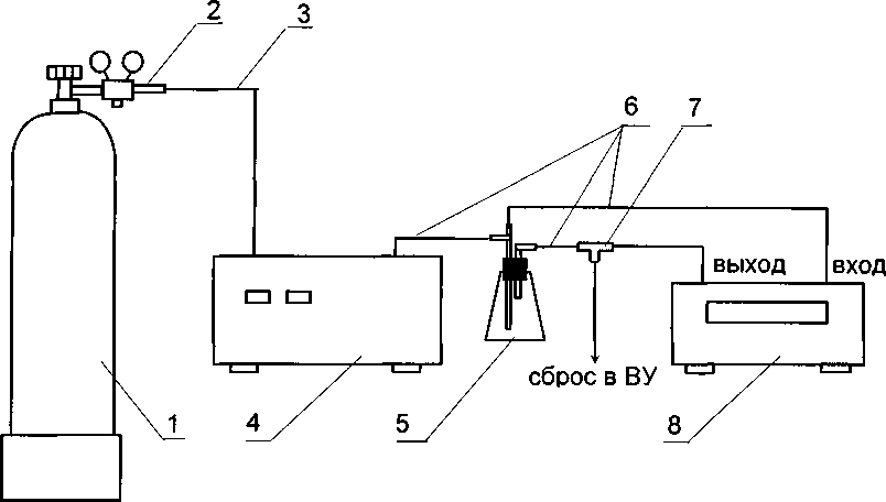
1 - баллон с азотом; 2 - редуктор баллонный; 3 - трубка ПВХ; 4 - генератор ГГС;
5 - склянка стеклянная типа СН; 6 - трубка фторопластовая; 7 - тройник;
8 - газоанализатор; ВУ - вытяжное устройство
Рисунок В.2 - Схема подачи на газоанализатор ГС от генератора газовых смесей ГГС модификаций ГГС-Т или ГГС-К в комплекте с источниками микропотоков газов и паров.