Методика поверки «ЭЛЕКТРОДЫ СТЕКЛЯННЫЕ ЛАБОРАТОРНЫЕ ЭСЛ-51-07 (ЭСЛ-51-07СР), ЭЛЕКТРОДЫ МЕМБРАННЫЕ ЭМ-J-Ol (ЭМ-J-OICP), ЭМ-CN-Ol (ЭМ-CN-OICP), ЭМ-С1-01 (ЭМ-С1-01СР), 3M-NO3-07 (3M-NO3-07CP)» (МП ГМ 139-02)
СОГЛАСОВАНО
..... Tcncpaj i ьн ый директор
.Р.УП-"Гомельский завод

/А г; g А А /
B'S. ;ГГ ':у-: /.'' -Г rjl1 ‘ 1 Г. Н. Ш ал ае в а \ Аг/А .
X^Av. А’Л
Система обеспечения единства измерений Республики Беларусь
ЭЛЕКТРОДЫ СТЕКЛЯННЫЕ ЛАБОРАТОРНЫЕ ЭСЛ-51-07 (ЭСЛ-51-07СР), ЭЛЕКТРОДЫ МЕМБРАННЫЕ ЭМ-J-Ol (ЭМ-J-OICP), ЭМ-CN-Ol (ЭМ-CN-OlСР), ЭМ-С1-01 (ЭМ-С1-01СР), 3M-NO3-07 (3M-NO3-07CP)
Методика поверки
МП ГМ 1 39-02
Главный конструктор РУП "Гомельский завод измерительных приборов"
ч

А.Г. Уваров
Настоящая методика поверки распространяется на электроды стеклянные лабораторные ЭСЛ-51-07 (ЭСЛ-51-07СР). выпускаемые по ТУ 25- 05Л 744-77, электроды мембранные ЭМ-J-Ol (ЭМ-.1-01СР), ЭМ-CN-Ol (ЭМ-CN-OICP), выпускаемые по ТУ 25- 05.1688-79, электроды мембранные ЭМ-С1-01 (ЭМ-С1-01СР), выпускаемые по ТУ 25- 05.1910-80. электроды мембранные 3M-NCh-07 (3M-NO3-07CP), выпускаемые по ТУ РБ 05796587.008-97 (в дальнейшем - электроды), и устанавливает методику их поверки.
Межповерочный интервал электродов не более 12 месяцев.
1 Операции и средства поверки
1111ри проведении поверки должны быть выполнены следующие операции и применены средства поверки с характеристиками, указанными в таблице 1.
Гаолица 1
Наименование операции |
Номер пункта НД но поверке |
Наименование средств поверки, номер НД, метрологические характеристики |
Обязательность проведения операции при | |
первичной поверке |
эксплуатации и хранении | |||
1 |
О |
-> |
4 |
5 |
1 ЕЗнешний осмотр |
4.1.1 |
— |
да |
да |
2 Определение потенциала электродов |
4.2.1 |
Иономер типа И-160 ТУ РБ 14694395.003-97, входное сопротивление не менее 1 • Ю120м, диапазон измерения от минус 3000 до плюс 2000 мВ, дискретность 0,1 мВ. Электрод сравнения хлорсеребряный насыщенный образцовый 2-го разряда ЭСО-01 ГОСТ 1 7792-72. Термометры ртутные стеклянные лабораторные ТЛ-4 ТУ 25-2021.003-88, предел измерения от 0 до 55 °C. цена деления 0,1 °C. Ультра-Термостат типа U10, диапазон регулирования температуры от 0 до 100 °C, точность поддержания + 0,2 °C. Измерительная ячейка для контрольного раствора - стеклянный или полиэтиленовый сосуд вместимостью 500 - 1000 мл (нестандартное оборудование). Магнитная мешалка ММ5 ТУ 25-11.834-80, максимальное количество перемешиваемой жидкости 1,5 л. |
да |
да |
1 |
2 |
4 |
S | |
1 |
1 |
Ячейка для насыщенного раствора хлористого калия - полиэтиленовый или полистироловый сосуд вместимостью 100 - 200 мл (нестандартное оборудование). Электролитический ключ с истечением насыщенного раствора хлористого калия от 0,3 до 3,5 мл в сутки (нестандартное оборудование). Электролитический мостик - U - образная стеклянная или полиэтиленовая трубка с внутренним диаметром 4 - 8 мм (нестандартное оборудование) - для электродов ЭМ-С1-01 (ЭМ-С1-01 СР). Стеклянный стакан вместимостью 100 - 200 мл -для электродов ЭМ-С1-01 (ЭМ-С1-01 СР). Весы лабораторные ГОСТ 24104-88. класс точности не ниже 2. Колбы 2-1000-2 ГОСТ 1770-74. Пипетки 2-1-2-10 ГОСТ 29227-91. Вода дистиллированная ГОСТ 6709-72. Калий хлористый "х.ч." или "ч.д.а." ГОСТ 4234-77. Калий азотнокислый'"х.ч." или "ч.д.а." ГОСТ 4217-77 - для электродов 3M-NO-,-07 (3M-NO3-'07CP), ЭМ-С1-01 (ЭМ-С1-01СР). Калий йодистый "х.ч." или "ч.д.а." ГОСТ 4232-74 -для электродов 3M-J-01 (3M-J-01CP), ЭМ-CN-Ol (3M-CN-01CP). Вода дистиллированная, освобожденная от углекислоты кипячением, ГОСТ 4517-87 для электродов ЭСЛ-51-07 (ЭСЛ-51-07СР). Натрий хлористый "х.ч." или "ч.д.а." ГОСТ 4233-77 - для электродов ЭСЛ-51-07 (ЭСЛ-51-07СР). Аммиак водный "х.ч." или "ч.д.а." ГОСТ 3760-79 - для электродов ЭСЛ-51-07 (ЭСЛ-5 1-07СР). | ||
3 Определение крутизны ионной характеристики электродов |
4.2.2 |
Иономер типа И-160 ТУ РБ 14694395.003-97, входное сопротивление не менее 1 • 1012 Ом, диапазон измерения от минус 3000 до плюс 2000 мВ, дискретность 0,1 мВ. Электрод сравнения хлорсеребряный насыщенный образцовый 2-го разряда ЭСО-01 ГОСТ 17792-72. Термометры ртутные с теклянные лабораторные ТЛ-4 ТУ 25-2021.003-88, предел измерения от 0 до 55 °C, цена деления 0.1 °C. |
нет |
да ! 1 |
1 1 |
о 2, |
Э |
4 |
5 |
1 j i 1 |
Ультра-Термостат типа 1Л0, диапазон регулирования температуры от 0 до 100 °C, точность поддержания ± 0.2 °C. Измерительная ячейка для контрольного раствора - стеклянный или полиэтиленовый сосуд вместимостью 500 - 1000 мл (нестандартное оборудование). Магнитная мешалка ММ5 ТУ 25-11.834-80. максимальное количество перемешиваемой жидкости 1,5 л. Ячейка для насыщенного раствора хлористого калия - полиэтиленовый или полистироловый сосуд вместимостью 100 - 200 мл (нестандартное оборудование). Электролитический ключ с истечением насыщенного раствора хлористого калия от 0,3 до 3,5 мл в сутки (нестандартное оборудование). Электролитический мостик - U - образная стеклянная или полиэтиленовая трубка с внутренним диаметром 4 - 8 мм (нестандартное оборудование) -для электродов ЭМ-С1-01 (ЭМ-С1-01 СР), ЭСЛ-51-07 (ЭСЛ-51-07СР) с "серебряной" функцией. Стеклянный стакан вместимостью 100 - 200 мл -для электродов ЭМ-С1-01 (ЭМ-С1-01 СР), ЭСЛ-51-07 (ЭСЛ-51-07СР) с "серебряной" функцией. Весы лабораторные ГОСТ 24104-88. класс точности не ниже 2. Колбы 2-1000-2 ГОСТ 1770-74. Пипетки 2-1-2-10 ГОСТ 29227-91. Вода дистиллированная ГОСТ 6709-72 Калий хлористый "х.ч." или "ч.д.а." ГОСТ 4234-77. Калий азотнокислый "х.ч." или "ч.д.а." ГОСТ 4217-77 - для электродов ЭМ-Г1Оз-07 (3M-NO3-07CP), ЭМ-С1-01 (ЭМ-С1-01 СР), ЭСЛ-51-07 (ЭСЛ-51-07СР) с "серебряной" функцией. Калий йодистый "х.ч." или "ч.д.а." ГОСТ 4232-74 - для электродов ЭМ-J-01 (ЭМ-J-Ol СР). ЭМ-CN-Ol (3M-CN-01CP). Серебро азотнокислое "х.ч." или "ч.д.а." ГОСТ 1277-75 - для электродов ЭСЛ-51-07 (ЭСЛ-5 1-07СР) с "серебряной" функцией. |
1 1 1 1 |
1 I 1 i 1 1 i i 1 i 1 |
; 1 j 2 |
3 |
4 |
1 | |
1 1 1 |
i 1 j i |
Вода дистиллированная, освобожденная от углекислоты кипячением, ГОСТ 4517-87 - для Электродов ЭСЛ-51-07 (ЭСЛ-51-07СР) с натриевой функцией. Натрий хлористый "х.ч." или "ч.д.а." ГОСТ 4233-77 - для электродов ЭСЛ-51-07 (ЭСЛ-51-07СР) с натриевой функцией. Аммиак водный "х.ч." или "ч.д.а." ГОСТ 3760-79 - для электродов ЭСЛ-51-07 (ЭСЛ-51-07СР) с натриевой функцией. |
! | |
4 Определение электрического сопротивления электродов |
4.2.3 |
Тераомметр Е6-13А ЯЫ2.722.014 ТУ, диапазон измерений от 10 до 10й Ом, основная погрешность ± 1 0,0 % - для электродов ЭСЛ-51 -07 (ЭСЛ-5 1-07СР), ЭМ-С1-01 (ЭМ-С1-01СР). ЭМ-J-Ol (ЭМ-J-Ol СР), ЭМ-CN-Ol (ЭМ-CN-Ol СР). Термометр ртутный стеклянный лабораторный ТЛ-4 ТУ 25-2021.003-88, предел измерения от 0 до 55 °C, цена деления 0,1 °C. Ультра-Термостат типа U10, диапазон регулирования температуры от 0 до 100 °C, точность поддержания ± 0,2 °C. Измерительная ячейка для контрольного раствора - стеклянный или полиэтиленовый сосуд вместимостью 500 - 1000 мл (нестандартное оборудование). Контактный электрод - стальная пластинка с площадью поверхности от 5 до 10 см2 - для электродов ЭСЛ-51-07 (ЭСЛ-51-07СР), ЭМ-С1-01 (ЭМ-С1-01СР), ЭМ-J-Ol (ЭМ-J-OICP), ЭМ-CN-Ol (ЭМ-CN-Ol СР). Иономер типа И-160 ТУ РБ 14694395.003-97, входное сопротивление не менее 1 ■ 1012 Ом, диапазон измерения от минус 3000 до плюс 2000 мВ, дискретность 0,1 мВ - для электродов 3M-NO3-07 (3M-NO3-07CP). Электрод сравнения хлорсеребряный насыщенный образцовый 2-го разряда ЭСО-01 ГОСТ 17792-72 - для электродов 3M-NO3-07 (3M-NO3-07CP). Магнитная мешалка ММ5 ТУ 25-11.834-80, максимальное количество перемешиваемой жидкости 1,5 л - для электродов 3M-NO3-07 OM-NO3-07CP). |
да |
да ! 1 i |
] |
2 |
-> э |
4 |
5 |
Ячейка для насыщенного раствора хлористого калия - полиэтиленовый или полистироловый сосуд вместимостью 100 - 200 мл (нестандартное оборудование) - для электродов 3M-NO3-07 (3M-NO3-07CP). Электролитический ключ с истечением насыщенного раствора хлористого калия от 0,3 до 3,5 мл в сутки (нестандартное оборудование) --для электродов 3M-NO3-07 (3M-NO3-07CP). Калиброванное сопротивление Г<щ = 2,0 МОм (резистор С2-29 В-0,25-2 МОм ± 1 % ОЖО.467.130 ТУ) - для электродов 3M-NO3-07 (3M-NO3-07CP). Весы лабораторные. ГОСТ 24104-88, класс точности не ниже 2. Колбы 2-1000-2 ГОСТ 1770-74. Пипетки 2-1-2-10 ГОСТ 29227-91. Калий хлористый "х.ч." или "ч.д.а." ГОСТ 4234-77. Вода дистиллированная ГОСТ 6709-72. Калий азотнокислый "х.ч." или "ч.д.а." ГОСТ 4217-77 - для электродов 3M-NO3-07 (3M-NO3-07CP). Калий йодистый "х.ч." или "ч.д.а." ГОСТ 4232-74 - для электродов 3M-J-01 (3M-J-01CP), 3M-CN-01 (3M-CN-01CP). Вода дистиллированная, освобожденная от углекислоты кипячением, ГОСТ 4517-87 - для электродов ЭСЛ-51 -07 (ЭСЛ-51-07СР). ' Натрий хлористый "х.ч." или "ч.д.а." ГОСТ 4233-77 - для электродов ЭСЛ-51-07 (ЭСЛ-51-07СР). Аммиак водный "х.ч." или "ч.д.а." ГОСТ 3760-79 -для электродов ЭСЛ-51-07 (ЭСЛ-51-07СР). |
i 1 ! ! 1 ! 1 1 1 i |
Продолжен и е таблицы 1
1 I 1 .г ... |
2 |
3 |
4 |
5 |
1 5 Определе- , ниеэлектри- I ческого со- 1 противления изоляции электродов ЭСЛ-51-07 (ЭСЛ-51-07СР) |
4.2.4 |
Тераомметр Е6-1 ЗА ЯЫ2.722.014 ТУ, диапазон измерений от 10 до 10 14 Ом, основная погрешность ± 10,0%. |
да |
да |
Примечания |
1 Допускается применять другие средства поверки, не приведенные в таблице 1. '
обеспечивающие определение метрологических характеристик электродов с требуемой точностью.
-
2 Для электродов ЭСЛ-51-07 (ЭСЛ-51-07СР) с "серебряной" функцией поверку при эксплуатации и хранении по пункту 4.2.1 не проводить.
2 Требования безопасности
-
2.1 При проведении поверки должны быть соблюдены требования, установленные ГОСТ 12.2.007.0-75.
3 Условия поверки и подготовка к ней
-
3.1 При проведении поверки должны соблюдаться следующие условия:
-
- температура окружающего воздуха (20 ± 5) °C;
-
- относительная влажность воздуха от 30 до 80 %;
-
- атмосферное давление от 86 до 106,7 кПа.
-
3.2 Электроды на поверку должны представляться в упаковке незагрязненными и с эксплуатационными документами, содержащими основные технические данные, необходимые для поверки электродов.
-
3.3 Электроды должны быть подготовлены к измерениям в соответствии с указаниями. приведенными в эксплуатационных документах.
-
3.4 Необходимая для измерения температура в ячейке е электродами должна быть установлена за 3 мин до снятия показания.
-
3.5 Колебание температуры, при которой находится образцовый электрод сравнения при определении каждой из метрологических характеристик, не должно превышать ± 1 "С При больших колебаниях температуры в результат измерения необходимо вносить поправку с учетом температурного коэффициента потенциала образцового электрода сравнения.
......... ........—. nv (/anvt. мем через б ч после измерения электрического сопротивления или электрического сопротивления изоляции электродов.
3.7 Для поверки электродов применяют растворы, перечень и методика приготовления которых приведены в приложении А.
-
4 Проведение поверки
-
4.1 Внешний осмотр
-
4.1.1 При проведении внешнего осмотра должно быть установлено соответствие электродов следующим требованиям:
-
-
-
- на электродах должна быть нанесена четкая маркировка;
-
- электроды не должны иметь трещин на корпусе и других повреждений;
-
- мембрана (пленка) электродов ЭМ-ТЮз-07 (ЭМ-ПО3-07СР) не должна иметь повреждений.
-
4.2 Определение.метрологических характеристик
4.2.) Определение потенциала электродов
-
4.2.1.1 Перед измерением потенциала электроды ЭМ-.1-01 (ЭМ-.1-01 СР). ЭМ-CN-Ol (ЭМ-CN-O1 СР). ЭМ-С1-01 (ЭМ-С1-01СР). ЭМ-ГЮ3-О7 (3M-NO3-07CP) вначале тщательно (при перемешивании) отмывают в ячейке с дистиллированной водой (2-3 раза по 5-10 мин.), затем
2 раза в измеряемом растворе. Электроды ЭСЛ-51-07 (ЭСЛ-51-07СР) промывают только в измеряемом растворе.
-
4.2.1.2 Потенциал электродов Е113м, мВ, измеряют в растворах, приведенных в таблице 2. относительно образцового электрода сравнения 2-го разряда ЭСО-01 по ГОСТ 1 7792-72. Схема измерения потенциала - в соответствии с таблицей 2.
Температура раствора - (25.0 ± 0,5) °C.
Таблица 2 | |
Электроды 1 |
Растворы для измерения Схема измерения потенциала потенциала | ! 1 |
ЭСЛ-51-07 (ЭСЛ-5 1-07СР) |
Раствор 1 по таблице А.1 Приложение Б j ! |
j ЭМ-.1-01 (ЭМ-.1-01СР). ЭМ-CN-Ol (ЭМ-CN-OlСР) |
Раствор 3 по таблице А.З ■ Приложение Б 1 I ; |
ЭМ-С1-01 (ЭМ-С1-01СР) |
Раствор 1 по таблице А.4 1 Приложение В ! |
ЭМ-ПО;-07 OM-N03-07CP) |
Раствор 1 по таблице А.5 i Приложение Б , |
Электролитический ключ (электролитический мостик) погружают в измерительную ячейку только на время измерений. Время нахождения электролитического ключа (электролитического мостика) в измеряемом растворе не должно превышать 10 мин.
Значение потенциала при измерениях следует отсчитывать до десятых долей милливольта.
-
4.2.1.3 Измеренное значение потенциала электродов ЭСЛ-51-07 (ЭСЛ-51-07СР)
Е1|ЗМ, мВ, не должно отличаться от расчетного значения Ер, мВ, определяемого по формуле 1, более чем на:
± 12 мВ при первичной поверке,
± 30 мВ при эксплуатации и хранении.
Расчетное значение потенциала электродов ЭСЛ-51-07 (ЭСЛ-51-07СР) Ер, мВ, определяют по формуле
Ер = Е„ + St-(pNat- pNa„) + А‘ - А”, (1)
где Е(|, pNaH - номинальные значения координат изопотенциальной точки электродной системы, состоящей из стеклянного электрода и электрода сравнения, соответственно, мВ, pNa;
St - крутизна натриевой характеристики в мВ/pNa при температуре раствора t °C, расчитанная по формуле
St = -(54,197 + 0,1984-t), (2)
где t - температура раствора, °C;
pNat - значение pNa раствора при температуре раствора t °C;
Дь - поправка к разности между номинальным значением потенциала электрода сравнения и действительным значением потенциала образцового электрода сравнения, мВ. Номинальное значение потенциала электрода сравнения относительно нормального водородного электрода при температуре 20 °C равно 201,0 мВ;
А“ - поправка к потенциалу образцового электрода сравнения на отклонение его температуры от 20 °C, мВ, рассчитанная по формуле
Д“ = Kt-(t-20), (3)
где К, - температурный коэффициент потенциала образцового электрода сравнения, мВ/°С;
t - температура образцового электрода сравнения, °C.
Пример расчета отклонения потенциала приведен в приложении Г.
-
4.2.1.4 Потенциал электродов ЭМ-J-Ol (ЭМ-J-OICP), 3M-CN-01(3M-CN-01CP),
ЭМ-С1-01 (ЭМ-С1-01СР), 3M-NO3-07 (3M-NOs-07CP) относительно насыщенного
хлорсеребряного электрода Е, мВ, определяют по формуле
Е = Еизч + А‘ - А“, (4)
где Еизм - измеренное значение потенциала электрода относительно образцового электрода
сравнения, мВ;
А‘ - поправка к разности между номинальным значением потенциала электрода срав нения и действительным значением потенциала образцового электрода сравнения. мВ. Номинальное значение потенциала электрода сравнения относительно нормального водородного электрода при температуре 20 °C равно 201,0 мВ.
Д“ - поправка к потенциалу образцового электрода сравнения на отклонение его тем пературы от 20 °C, мВ, рассчитанная по формуле 3.
Потенциал электродов относительно насыщенного хлорсеребряного электрода Е, мВ, рассчитанный по формуле 4, дожен быть:
(минус 165 + 12) мВ - для электродов 3M-J-01 (3M-J-01CP), 3M-CN-01 (3M-CN-01CP),
(198 ± 12) мВ - для электродов ЭМ-С1-01 (ЭМ-С1-01 СР),
(198 ± 15) мВ - для электродов ЭМ-ЬЮз-07 (3M-NO3-07CP).
-
4.2.2 Определение крутизны ионной характеристики электродов.
-
4.2.2.1 Крутизну ионной характеристики электродов определяют по данным измерения потенциалов при температуре (25,0 ± 0,5) °C в растворах, приведенных в таблице 3. Схема измерения потенциалов - в соответствии с таблицей 3.
Таблица 3
Электроды |
Растворы для измерения потенциалов |
Схема измерения потенциалов |
ЭСЛ-51-07 (ЭСЛ-51-07СР) с натриевой функцией |
Растворы 1 и 2 по таблице А.1 |
Приложение Б |
ЭСЛ-51-07 (ЭСЛ-51-07СР) с "серебряной" функцией |
Растворы 1 и 2 по таблице А.2 |
Приложение В |
ЭМ-.1-01 (3M-J-01CP), 3M-CN-01(3M-CN-01CP) |
Растворы 1 и 2 по таблице А.З |
Приложение Б |
ЭМ-С1-01 (ЭМ-С1-01СР) |
Растворы 1 и 2 по таблице А.4 |
Приложение В |
ЭМ-МОз-07 (3M-NO3-07CP) |
Растворы 1 и 2 по таблице А.5 |
Приложение Б |
Вначале измеряют потенциал в соответствующем растворе 1 по методике пункта 4.2.1, затем - в соответствующем растворе 2. Перед измерением потенциала в растворе 2 отмывка в дистиллированной воде не требуется, а только лишь в измеряемом растворе.
Для электродов ЭСЛ-51-07 (ЭСЛ-51-07СР) с "серебрянной" функцией измерительная ячейка должна быть выполнена из полиэтилена и защищена от попадания прямых лучей света.
-
4.2.2.2 Крутизну ионной характеристики электродов St, мВ/рХ, рассчитывают по формуле
Е1 -Ь
S, =---------------- ,
(5)
рХ, -рХ,
где Е) , Ег - потенциалы электрода в соответствующих растворах 1 и 2 при температуре
25 °C, мВ;
рХ! рХ2 - значения рХ растворов 1 и 2 при температуре 25 °C.
-
4.2.2.3 Крутизна ионной характеристики электродов при температуре 25 °C должна быть по абсолютной величине не менее 53,3 мВ/рХ.
-
4.2.3 Определение электрического сопротивления электродов
-
4.2.3.1 Электрическое сопротивление электродов ЭСЛ-51-07 (ЭСЛ-51-О7СР), ЭМ-J-Ol (ЭМ-J-OICP), ЭМ-CN-Ol (ЭМ-CN-Ol СР), ЭМ-С1-01 (ЭМ-С1-01СР) определяют тераомметром в растворах, приведенных в таблице 4.
Температура растворов:
(20,0 ± 0,5) °C - для электродов ЭСЛ-51-07 (ЭСЛ-51-07СР),
(20 ± Г) °C - для остальных электродов.
Таблица 4
Электроды |
Растворы для измерения сопротивления |
ЭСЛ-51-07 (ЭСЛ-51-07СР) |
Раствор 1 по таблице А. 1 |
ЭМ-J-Ol (ЭМ-J-OlСР), ЭМ-CN-Ol (ЭМ-CN-Ol СР) |
Раствор 3 по таблице А.З |
ЭМ-С1-01 (ЭМ-С1-01СР) |
Раствор 2 по таблице А.4 |
Поверяемый и контактный электроды устанавливают в ячейку с соответствующим раствором. Один вывод герраомметра присоединяют к выводному проводу электрода (центральной жиле кабеля электродов ЭСЛ-51-07 (ЭСЛ-51-07СР), а другой - к контактному электроду.
Электрическое сопротивление должно быть в пределах:
от 20 до 200 МОм для электродов ЭСЛ-51-07 (ЭСЛ-51-07СР);
от 0,03 до 1,5 МОм для электродов ЭМ-J-Ol (ЭМ-J-OICP), ЭМ-CN-Ol (ЭМ-CN-01СР);
от 0,01 до 0,5 МОм для электродов ЭМ-С1-01 (ЭМ-С1-01СР).
-
4.2.3.2 Электрическое сопротивление электродов 3M-NO3-07 (ЭМ-ЫОз-07СР) определяют следующим образом.
Вначале измеряют потенциал Еi, мВ, в растворе 1 по таблице А.5 при температуре (25 ± Г) °C по методике пункта 4.2.1, затем, включив параллельно цепи мембранного и образцового электрода сравнения калиброванное сопротивление Иш, равное 2,0 МОм, производят повторное измерение потенциала Е3. мВ.
Сопротивление электрода R, МОм, рассчи тывают по формуле
Е,
R = (---------- 1 ) • , (6)
Ез
где R-щ - калиброванное сопротивление, равное 2,0 МОм.
Электрическое сопротивление электродов 3M-NO3-07 (ЭМ-ГЮз-07СР) должно быть в пределах от 0,05 до 1,0 МОм.
-
4.2.4 Электрическое сопротивление изоляции электродов ЭСЛ-51-07 (ЭСЛ-51-07СР) определяю т тераом метром на воздухе.
Перед измерением электрического сопротивления изоляции электрод промывают дистиллированной водой и высушивают фильтровальной бумагой.
Центральную жилу кабеля электрода подключают к экранированному зажиму прибора, а экран - ко второму зажиму прибора.
Электрическое сопротивление изоляции электрода должно быть не менее 1011 Ом.
5 Оформление результатов поверки
5.1 Электроды, соответствующие требованиям настоящей методики поверки, допускают к применению в эксплуатации. Результаты поверки заносят в протокол приложения Д.
При положительных результатах поверки выдается Свидетельство о поверке по форме приложения Г ТКП 8.003-2011 (или в соответствии с Приказом Минпромторга от 02.07.2015 г. № 1815 при поверке в России) или ставится отметка в паспорте при первичной поверке.
-
5.2 Электроды, не соответствующие требованиям настоящей методики поверки, к применению в эксплуатации не допускают.
Свидетельство о поверке аннулируется. Выдается Заключение о непригодности с указанием причин несоогвегствия по форме приложения Д ТКП 8.003-2011 (или в соответствии с Приказом Минпромторга от 02.07.2015 г. № 1815 при поверке в России).
Приложение А
(обязательное)
Перечень и методика приготовления поверочных растворов
А.1 Перечень и методика приготовления поверочных растворов для электродов ЭСЛ-51-07 (ЭСЛ-51-07СР)
А. 1.1 Перечень поверочных растворов для электродов ЭСЛ-51 -07 (ЭСЛ-51-07СР) с натриевой функцией приведен в таблице А.1.
Таблица А. 1
Номер раствора |
Концентрация раствора NaCl. моль/кг Н2О |
Значение pNa при 25 °C |
1 |
г |
1,10 |
2 |
1 ■ 10'J |
3,01 |
А. 1.2 Методика приготовления растворов, приведенных в таблице А. 1
Для приготовления растворов необходимо использовать дистиллированную воду, освобожденную от углекислоты кипячением, с величиной pH 9-10 (достигается путем добавления МНдОН).
Раствор 1 - NaCl концентрацией 1 • 10'1 моль/кг Н2О, готовят растворением в
1000 мл дистиллированной воды 5,85 г натрия хлористого NaCl. высушенного до постоянной массы.
Для приготовления раствора 2 - NaCl концентрацией 1 ■ 10'J моль/кг Н2О, отмеряют пипеткой 10 мл раствора 1 и переносят в мерную колбу вместимостью 1000 мл, которую заполняют до метки дистиллированной водой.
Хранить растворы следует в плотно закрытой посуде из полиэтилена.
Срок хранения раствора 1 - не более месяца, раствора 2 - не более недели.
А. 1.3 Перечень поверочных растворов для электродов ЭСЛ-51-07 (ЭСЛ-51-07СР) с "серебряной" функцией приведен в таблице А. 2.
Таблица А.2
Номер раствора |
Концентрация раствора AgNOj, моль/кг Н2О |
Значение pAg при 25 °C |
1 |
[ . 10 -1 |
1.14 |
2 |
3,01 ____ |
А. 1.4 Методика приготовления растворов, приведенных в таблице А.2
Раствор 1 - AgNCh концентрацией 1 • 10’1 моль/кг Н2О. готовят растворением в 1000 мл дистиллированной воды 16,99 г азотнокислого серебра AgNOy высушенного до постоянной массы.
Для приготовления раствора 2 - AgNCp концентрацией 1 - 10'3 моль /кг Н2О, отмеряют пипеткой 10 мл раствора 1 и переносят в мерную колбу вместимостью 1000 мл, которую заполняют до метки дистиллированной водой.
Растворы азотнокислого серебра хранить в темном месте в полиэтиленовых бутылях с завинчивающимися крышками. Срок хранения растворов не более 5 дней.
А,2 Перечень и методика приготовления поверочных растворов для электродов ЭМ-.1-01 (ЭМ-.Н01СР). ЭМ-CN-OI (ЭМ-CN-OI СР)
А.2.1 Перечень поверочных растворов для электродов ЭМ-.1-01 (ЭМ-.1-01СР). ЭМ-CN-OI /ЭМ-CN-01 СР) приведен в таблице А.З.
Iдолина А.З
Номер рас- Концентрация раствора KJ, моль/кг Н2О твора |
Значение рЗ при 25 °C | |
1 |
: 1 10" 1______________________ _________________________________________________________________________________________________________________________________________________________________________________________ |
4.00 |
2 |
1 ■ 10 ■' |
1,10 |
д |
110" ______________________________________________________________________________________________________________________________________________________________________________________________________________________________________________________________________________________________________________________________ 1 |
3,02 |
А.2.2 Методика приготовления растворов, приведенных в таблице А.З
Раствор 2 - KJ концентрацией 110’’ моль/кг НгО. готовят растворением в 1000 мл дистиллированной воды 16,60 г йодистого калия KJ. высушенного до постоянной массы.
Для приготовления раствора 3 - KJ концентрацией 1 ■ 10" моль/кг Н2О. отмеряют пипеткой I 0 мл раствора 2 и переносят в мерную колбу вместимостью 1000 мл, которую заполняют до метки дистиллированной водой.
Для приготовления раствора 1 - KJ концентрацией 1 ■ 10'4 моль/кг Н2О, отмеряют пипеткой 100 мл раствора 3 и переносят в мерную колбу вместимостью 1000 мл, которую заполняют до метки дистиллированной водой.
Растворы йодистого калия хранить не более недели в закрытой посуде.
А З Перечень и методика приготовления поверочных растворов для электродов ЭМ-С1-0 1 (ЭМ-С1-01СР)
А.З. 1 Перечень поверочных растворов для электродов ЭМ-С1-01 (ЭМ-С1-01СР) приведен в таблице А.4.
Таблица А.4
Номер раствора |
Концентрация раствора КО, моль/кг Н2О |
Значение рС1 при 25 °C |
1 |
1 ■ 10 " ’ |
3,02 |
2 |
1.11 |
А.3.2 Методика приготовления растворов, приведенных в таблице А.4
Раствор 2 - КО концентрацией 1 ■ 10'1 моль/кг Н2О. готовят растворением в 1000 мл дистиллированной воды 7,46 г хлористого калия КО, высушенного до постоянной массы.
Для приготовления раствора 1 - КО концентрацией 1-10" моль/кг Н2О. отмеряют пипеткой 10 мл раствора 2 и переносят в мерную колбу вместимостью 1000 мл. которую заполняют до метки дистиллированной водой.
Растворы хлористого койя хранить в закрытой посуде.
Срок хранения раствора 2 - не более месяца, раствора 1 - не более недели.
А.4 Перечень и методика приготовления поверочных растворов для электродов ЭМ-ИОз-07 (ЭМ-ПЮз-О7СР)
А.4.1. Перечень поверочных растворов для электродов ЭМ-NO?,-07 (3M-NO?,-07CP) приведен в таблице А,5.
Таблица А.5
Номер раствора |
Концентрация раствора KNO3, моль/кг Н2О |
Значение pNOj при 25 °C |
1 |
1 ■ 10’3 |
3,02 |
2 |
1 • 10’1 |
U3 |
А.4.2 Методика приготовления растворов, приведенных в таблице A.S
Раствор 2 - KNO3 концентрацией 1 • 10'1 моль/кг Н2О, готовят растворением в 1000 мл дистиллированной воды 10,11 г азотнокислого калия KNO?,, высушенного до постоянной массы.
Для приготовления раствора 1 - KNO3 концентрацией 1 ■ 10‘J моль/кг Н2О, отмеряют пипеткой 10 мл раствора 2 и переносят в мерную колбу вместимостью 1000 мл, которую заполняют до метки дистиллированной водой.
Растворы азотнокислого калия хранить в закрытой посуде.
Срок хранения раствора 2 - не более месяца, раствора 1 - не более недели.
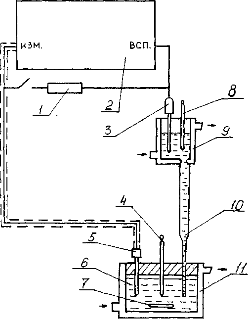
11риложение Б
(обязательное)
Схема измерения потенциала
электродов ЭСЛ-51-07 (ЭСЛ-51-07СР) с натриевой функцией, электродов 3M-J-01(3M-J-01CP), 3M-CN-01 (3M-CN-01CP), 3M-NO3-07 (9M-NO3-07CP)

-
1 - калиброванное сопротивление R,u = 2,0 МОм - для поверки электрического
сопротивления электродов 9M-NO3-07 (3M-NO3-07CP)
-
2 - иономер
-
3 - образцовый электрод сравнения 2 - го разряда по ГОСТ 17792-72
4,8 термометры
-
5 - поверяемый электрод
-
6 ■■ контрольный раствор
-
7 - перемешивающий стержень магнитной мешалки
9,1 I - термостатированные ячейки (термостатирование ячейки 9 необязательно)
-
10 - электролитический ключ с насыщенным раствором хлористого калия
Приложение В
(обязательное)
Схема измерения потенциала электродов ЭСЛ-51-07 (ЭСЛ-51-07СР) с "серебряной" функцией, электродов ЭМ-С1-01 (ЭМ-С1-01СР)

-
I - иономер
,9 - термометры
- поверяемый электрод
-
4 - контрольный раствор
-
5 - перемешивающий стержень магнитной мешалки
-
6 ■ образцовый электрод сравнения 2-го разряда по ГОСТ 17792-72
-
7 - электролитический мостик, заполненный насыщенным раствором азотнокислого калия
8,10 - термостатированные ячейки (термостатирование ячейки 10 необязательно)
-
II - электролитический ключ с насыщенным раствором хлористого калия
-
12 - насыщенный раствор хлористого калия КС1 для электродов ЭСЛ-51 -07 (ЭСЛ-51-07СР)
е "серебряной" функцией, контрольный раствор для электродов ЭМ-С1-01 (ЭМ-С1-01СР)
Приложение Г
(обязательное)
Пример расчета отклонения потенциала от расчетного значения
Номинальные значения координат изопотенциальной точки pNa,^ 2.9 pNa. Еи - -20 мВ (в паре с насыщенным хлорееребряным электродом сравнения).
Крутизна натриевой характеристики при температуре 25 иС. рассчитанная по формуле (2). Si - - 59,157 мВ/pNa.
Потенциал электрода, измеренный при температуре 25 °C в растворе хлористого натрия концентрацией I ■ 10 '' моль /кг Н?О (величина pNa =1,10 pNa), EII3M = 88,0 мВ.
Потенциал образцового электрода сравнения 2-го разряда при температуре 20 °C равен 202.2 мВ (относительно нормального водородного электрода).
Разность между номинальным значением потенциала электрода сравнения (201.0 мВ при 20 ”С) и действительным значением потенциала образцового электрода сравнения (202,2 мВ при 20 1’С)
Д- - 201.0 - 202,2 = -1,2 мВ.
Температура в ячейке образцового электрода сравнения 23 °C.
Поправка Д" - 0.2 (23 - 20) = - 0,6 мВ.
Расчетное значение потенциала электрода
Ер = -20 + (-59.157) (1,1 - 2,9) + (-1,2) -(-0.6) = 86,5 мВ.
Отклонение потенциала электрода от расчетного значения равно
88.0 - 86,5 - 1,2 г 0.6 - 0.9 мВ.
Приложение Д
(рекомендуемое)
Лист____
Листов
Наименование организации, проводившей поверку ~________
Протокол №__от___200 г.
поверки_____заводской №___
изготовленного 200 г.
Условия поверки:
Средства измерения, применяемые при поверке:
Таблица Д. 1
Наименование метрологических характеристик |
Значение по нтд |
Фактическое |
Соответствие параметру |
■........'П | |||
1 | |||
1 |
i | |||
1 ! ............ ............. .....................1 | ||||
1 1 | ||||
1 | ||||
f--- | ||||
\ | ||||
I-------------------- ‘ ’ | ||||
I— | ||||
i L .... —и |
Лист
Листов__
Продолжение таблицы Д.1
Наименование метрологических характеристик |
Значение по нтд |
Фактическое |
Соответствие параметру |
i__ | |||
> |
i | ||
1 |
i | ||
! | |||
i i | |||
i | |||
i | |||
_ |
1 |
Рез ул ьтаты п о в ер ки_______________
Поверку проводил____________
у» '