Методика поверки «ГСИ. БЛОКИ КОРРЕКЦИИ ОБЪЕМА ГАЗА «Флоугаз-Т»» (МП САМИ. 408843-670)
УТВЕРЖДАЮ
ректора по развитию
__ФГУП «ВНИИР»
_ А.С. Тайбинский «27» января 2017 г.
ИНСТРУКЦИЯ
ГОСУДАРСТВЕННАЯ СИСТЕМА ОБЕСПЕЧЕНИЯ ЕДИНСТВА ИЗМЕРЕНИЙ
БЛОКИ КОРРЕКЦИИ ОБЪЕМА ГАЗА «Флоугаз-Т»
МЕТОДИКА ПОВЕРКИ с изменением! №1
СЯМИ. 408843 - 670 МП
11ачашь^к<отдела НИО-13
А.И. Горчев
Тел. +7 (843)272-11-24
Казань
2017
|
РАЗРАБОТАНА |
ФГУП «ВНИИР» ООО ЭПО «Сигнал» |
|
УТВЕРЖДЕНА |
ГЦИ СИ ФГУП «ВНИИР» 25.08.2014 |
Изменение №1 утверждено ФГУП «ВНИИР» «27» января 2017 года
Настоящая методика поверки распространяется на блоки коррекции объема газа «Флоугаз-Т» (далее - блоки) и устанавливает методы и средства первичной и периодической поверок.
Интервал между поверками - 6 лет.
-
1 ОПЕРАЦИИ ПОВЕРКИ
При поверке выполняют следующие операции, перечисленные в таблице 1.
Таблица 1
|
Наименование операции |
Номер пункта настоящей методики |
Проведение операции при поверке |
|
1 Внешний осмотр |
6.1 |
Да |
|
2 Опробование |
6.2 |
Да |
|
3 Определение погрешности канала измерения температуры газа |
6.3 |
Да |
|
4 Определение погрешности канала измерения давления |
6.4 |
Да |
|
5 Определение погрешности приведения объема газа к стандартным условиям |
6.5 |
Да |
-
2 СРЕДСТВА ПОВЕРКИ
2.1 Средства поверки приведены в таблице 2. Таблица 2
|
Номер пункта настоящей методики |
Наименование и тип основного или вспомогательного средства поверки; обозначение нормативного документа, регламентирующего технические требования и (или) метрологические и основные технические характеристики средства поверки |
|
6.2, 6.3, 6.4, 6.5 |
|
-
2.2 Допускается применение аналогичных средств поверки, обеспечивающих определение метрологических характеристик поверяемых СИ с требуем ой точностью.
-
2.3 Все используемые средства поверки должны быть поверены, а испытательное оборудование аттестовано в установленном порядке.
-
3 ТРЕБОВАНИЯ БЕЗОПАСНОСТИ
-
3.1 При проведении поверки должны быть соблюдены требования безопасности для изделий, относящихся к классу III по ГОСТ 12.2.007.0-75 и требований по безопасности эксплуатации применяемых средств поверки, указанных в НД на эти изделия.
-
3.2 К поверке блоков допускаются лица, аттестованные на проведение поверочных работ, имеющие опыт поверки средств измерений, работы с персональным компьютером и прошедшие инструктаж по технике безопасности в установленном порядке.
-
4 УСЛОВИЯ ПОВЕРКИ
При проведении поверки должны быть соблюдены следующие условия:
-
- температура окружающего воздуха - (25 ± 10) °C;
-
- относительная влажность окружающего воздуха - от 30 % до 80 %;
-
- атмосферное давление - от 84 до 106,7 кПа;
-
- вибрация, тряска, удары, наклоны и магнитные поля, кроме земного, влияющие на работу блока, должны отсутствовать;
-
- блок должен быть установлен в рабочее положение;
-
- блок должен быть выдержан при температуре окружающего воздуха (25 ± 10) °C не менее 3 часов.
-
5 ПОДГОТОВКА К ПОВЕРКЕ
Подготовка к работе средств поверки и блока проводится согласно прилагаемой к ним эксплуатационной документации.
-
6 ПРОВЕДЕНИЕ ПОВЕРКИ
-
6.1 Внешний осмотр
При внешнем осмотре должно быть установлено соответствие блока следующим требованиям:
-
- комплектность должна соответствовать, указанной в паспорте;
-
- маркировка должна быть четко обозначена и соответствовать данным, указанным в технической документации;
-
- блок не должен иметь механических повреждений, препятствующих его применению;
-
- не должна быть нарушена целостность пломбировки после предыдущей поверки.
-
6.2 Опробование
-
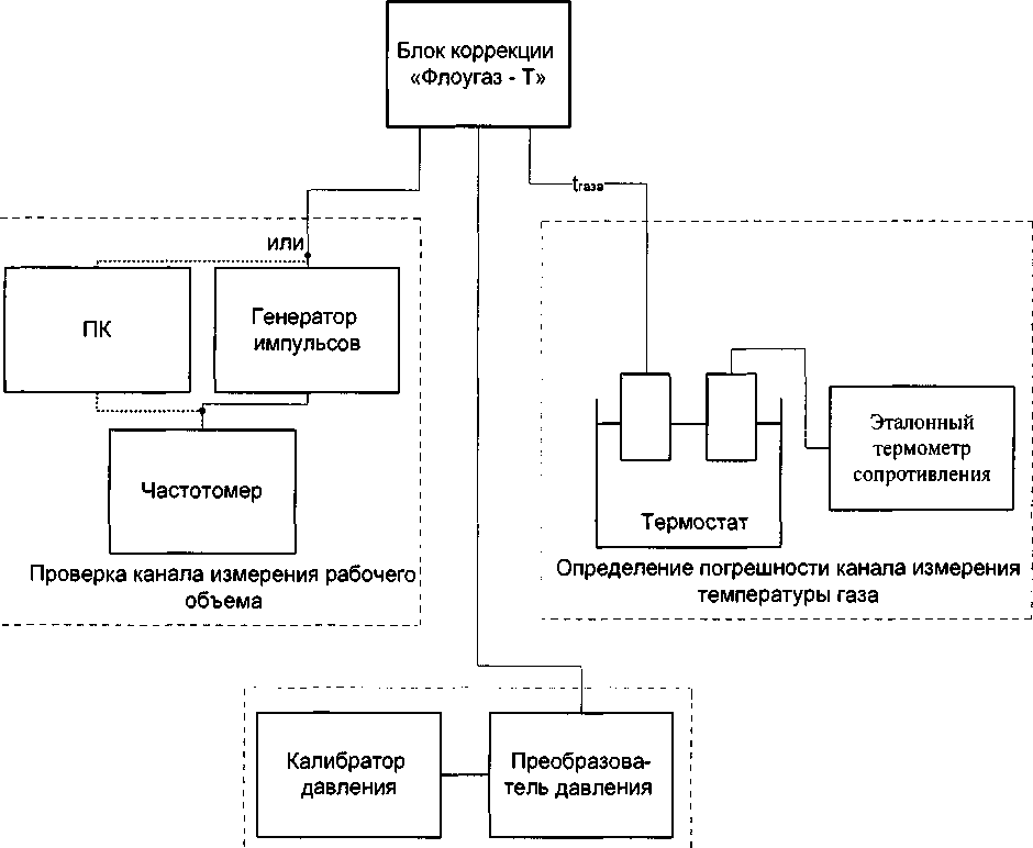
6.2.1 Собрать схему поверки согласно рисунку 1 и проверить общее функционирование и работоспособность блока в соответствии с эксплуатационной документацией. Во время опробования не должно происходить сбоев и потери информации в работе блока.

Определение погрешности канала измерения давления
Рисунок 1 - Схема поверки блока коррекции
-
6.2.2 Подтверждение идентификации программного обеспечения.
При проверке должно быть установлено соответствие идентификационных данных ПО «Флоугаз-Т», указанных в разделе «Программное обеспечение» описания типа блоков коррекции объема газа «Флоугаз-Т».
Операцию подтверждения проводят с использованием ПК и сервисной программы «Сервис_Флоугаз-Т ».
а) Подготовка к проведению подтверждения соответствия.
Для проведения данного пункта поверки необходимо:
-
- установить на ПК программное обеспечение «Сервис_Флоугаз-Т», используя для этого штатный диск с записью данной программы;
-
- запустить программное обеспечение «Сервис_Флоугаз-Т».
б) Определение идентификационных данных программного обеспечения.
Выбрать в основном меню программы «Сервис_Флоугаз-Т» пункт «Идентификационные данные».
Активизировать данный пункт меню.
На мониторе ПК должны отобразиться идентификационные данные программного обеспечения:
Результат подтверждения соответствия программного обеспечения считается положительным, если полученные идентификационные данные программного обеспечения «Флоугаз -Т» (идентификационное наименование программного обеспечения, номер версии, идентификационный номер программного обеспечения) соответствуют идентификационным данным, указанным в разделе «Программное обеспечение» описания типа блоков коррекции объема газа «Флоугаз-Т».
6.2.2 (Измененная редакция, Изм. №1)-
6.2.3 Проверка канала измерения рабочего объема.
Расчётное значение объёма газа (V) при измерении без коррекции определяется по формуле:
п
где N - число импульсов, приходящих на блок коррекции от счетчика газа (генератора импульсов);
п - коэффициент преобразования счетчика газа, имп /м3.
В качестве генератора импульсов можно использовать специальный генератор или компьютер, с установленной на нем программой генерации импульсов.
-
6.2.3.1 Проверка блока с использованием генератора Гб -28.
Последовательность проверки:
-
- настроить частотомер 43-64/1, согласно ДЛИ 2.721.006-02 ТО, на измерение разности (А-Б) количества колебаний, уровень срабатывания 1,275 В;
-
- настроить генератор Г6-28, согласно ЕХ2.211.026 ТО, на выдачу сигналов прямоугольной формы, положительной полярности, амплитудой 3±0,1 В, частотой 1 Гц;
-
- переключить генератор на режим ручной подачи серии импульсов и убедиться по частотомеру в нормальном их прохождении;
-
- обнулить показания на частотомере клавишей ВНМ (сброс).
ВНИМАНИЕ! Операции по настройке генератора и частотомера производить при отключённом блоке коррекции, так как случайная подача на блок коррекции импульсов с большой амплитудой может привести к выходу его из строя.
-
- подать на блок коррекции в режиме ручной подачи серию импульсов (30 и более), контролируя их количество частотомером 43-64/1.
-
6.2.3.2 Проверка с использованием компьютера в качестве генератора импульсов.
Проверку проводят с использованием портов LPT1 или СОМ1 (COM2) персонального компьютера, используя программу генерации импульсов, входящую в состав штатной сервисной программы. При использовании порта LPT1 персональный компьютер подаёт на блок коррекции сигналы частотой 1 Гц, прямоугольной формы, положительной полярности, амплитудой 5 В. При использовании порта СОМ1 или COM2 на блок подаются сигналы частотой 1 Гц, прямоугольной формы, двойной полярности, амплитудой 12 В.
Последовательность проверки:
-
- подключить блок коррекции к компьютеру и частотомеру с помощью жгута для порта LPT1 или СОМ 1 (СОМ 2). Электрические схемы жгутов даны в приложении А;
-
- произвести настройку частотомера в соответствии с вышеуказанными характеристиками сигналов для порта LPT1 или СОМ 1 ( СОМ 2), запустить программу генерации импульсов и убедиться в нормальном их прохождении;
-
- подать на блок коррекции серию импульсов (30 и более), контролируя их количество частотомером 43-64/1.
При проверке по пунктам 6.2.3.1. или 6.2.3.2 значение объема газа (К^) на дисплее блока коррекции (или ПК), должно точно соответствовать расчетному с учетом коэффициента преобразования:
N
(2) п
-
6.3 Определение погрешности канала измерения температуры газа
-
6.3.1 Задать с помощью термостата регламентированные значения величины температуры (минус 20 °C, плюс 20 °C и плюс 60 °C ), снять показания с дисплея блока коррекции (или ПК) и рассчитать относительную 8Т погрешность канала измерения температуры газа в процентах по формуле:
(3)
273,15 + ^
где “ измеренное, повторяющееся не менее 2-х раз, значение температуры, °C;
t3ad ~ значение температуры, заданное с помощью эталонного СИ, °C.
Блок коррекции считают годным, если относительная погрешность канала измерения температуры газа не превышает ±0,1 %.
-
6.4 Определение погрешности канала измерения давления.
-
6.4.1 Задать значения величины давления, соответствующие пяти значениям измеряемой величины, достаточно равномерно распределенным в рабочем диапазоне измерения, в том числе значения измеряемой величины, соответствующие нижнему и верхнему пределу рабочего диапазона измерения, снять показания с дисплея блока коррекции (или ПК) и рассчитать относительную погрешность канала измерения давления 8Р в процентах по формуле:
= ,100, (4)
^зад
где Ризм - измеренное, повторяющееся не менее 2-х раз, значение давления, кПа;
Рзад - значение давления, заданное с помощью эталонного СИ, кПа.
Значения давления, соответствующие нижнему и верхнему пределу рабочего диапазона измерения - паспортные данные блока коррекции.
Блок коррекции считают годным, если относительная погрешность канала измерения давления не превышает ± 0,4 %.
-
6.4.2 Допускается при проверке канала измерения давления использовать калибраторы избыточного давления, задавая избыточное давление вместо абсолютного с учетом измеренного барометрического давления по барометру-анероиду.
Примечание: Поверка канала измерения давления производится при наличии в составе блока коррекции преобразователя давления.
-
6.5 Определение относительной погрешности приведения объема газа к стандартным условиям.
-
6.5.1 Определение относительной погрешности производится на трех точках при следующих сочетаниях измеренного (или подстановочного) значения давления и измеренного значения температуры:
-
1 Рminj tmax ~ ПЛЮС 60 С
-
2 (Pmin + Ртах) / 2; t = ПЛЮС 20 °C
-
3 Ртах; t min = МИНУС 20 °C
6.5.2 Задать значение давления (или ввести подстановочное значение давления), задать значение температуры, произвести в каждой точке по одному измерению и вычислить погрешность 8 в процентах по формуле:
|
С-С 8 = э100, С '-'Э |
(5) | |
|
где |
С - коэффициент коррекции, вычисленный блоком; Сэ— эталонный коэффициент коррекции, рассчитываемый по формуле: Т-Р 1 _ 1 С гзад 1 Vz Q ~~ ч J Р Т If *С*зад &Э | |
|
(6) | ||
|
где |
Тс - температура при стандартных условиях, равная 293,15 К; Рзад - заданное давление газа, МПа. Рс - давление при стандартных условиях, равное 0,1013 МПа; Тзад - заданная температура газа, К, равная: | |
|
Тзад = 273,15-Н |
(7) | |
|
где |
t - температура, заданная магазином сопротивлений или термостатом, °C; Кэ - коэффициент сжимаемости газа, определяемый по ГОСТ 30319.2-2015. | |
В расчете используются следующие данные: р - плотность газа при нормальных условиях (0,68 кг/м3);
СО2 - содержание в газе двуокиси углерода (0,3 %);
N2 - содержание в газе азота (0,5 %).
Содержание р, СО2, N2 могут быть приняты и другие, но не превышающие, указанных в ГОСТ 30319.2- 2015.
Блок коррекции считают годным, если относительная погрешность приведения объема газа к стандартным условиям не превышает ± 0,5 %.
6.5.2 (Измененная редакция, Изм. №1)-
7 ОФОРМЛЕНИЕ РЕЗУЛЬТАТОВ ПОВЕРКИ
-
7.1 Результаты поверки оформляются протоколом, рекомендуемая форма которого приведена в приложении В.
-
7.2 При положительных результатах поверки блоки пломбируют в соответствии с «Порядком проведения поверки средств измерений, требованиями к знаку поверки и содержанию свидетельства о поверке» утвержденному приказом Минпромторга России №1815 от 02 июля 2015 (далее - Порядок проведения поверки). Наносят знак поверки в свидетельство о поверке и (или) паспорт.
-
7.3 При отрицательных результатах поверки блок к применению не допускают, в протоколе делается запись о его непригодности к эксплуатации, и выдают извещение о непригодности, в соответствии с Порядком проведения поверки.
7.2, 7.3 (Измененная редакция, Изм. №1)
ПК“СОМ1” “COM2”
ХР1
г
I
I
|
Наименов. |
кон. |
|
CTS |
4 |
|
GND |
5 |
^Х1
Х2
КВА
Флоугаз-Т ХР2
|
кон. |
Наименов. |
|
1 |
К 1.1 |
|
2 |
К 1.2 |
|
5 |
К 1.5 |
R1 - резистор С2-ЗЗН-0, 125 - 1,5кОМ ±5% ОЖО. 467. 180 ТУ
AV 1 - оптрон АОТ 101С
ХР 1 - розетка DB 9М
XI, Х2 - разъем для подключения частотомера
ХР 2 - разъем РС7
Электрическая схема жгута для проведения поверки канала измерения рабочего объёма с использованием порта СОМ1 ( COM2) персонального компьютера
ПК“1_ТР1”
ХРЗ
|
Наименов. |
кон. |
|
D2 |
4 I |
|
GND |
22 I I |
КР4
^Х1
^Х2
Флоугаз-Т
ХР2
-г
I
Наименов.
КП
К 1.2
К 1.5
R1 - резистор С2-ЗЗН-0, 125 - 1,5кОМ ±5% ОЖО. 467. 180 ТУ
AV 1 - оптрон АОТ 101С
ХРЗ - вилка DB 25F
XI, Х2 - разъем для подключения частотомера
ХР 2 - разъем РС7
Электрическая схема жгута для проведения поверки канала измерения рабочего объёма с использованием порта LPT1 персонального компьютера.
Приложение Б(рекомендуемое)
Автоматизированная поверка блока коррекции объема газа «Флоугаз -Т»
Автоматизированная поверка блоков коррекции «Флоугаз-Т» проводится в полном соответствии с требованиями методики поверки СЯМИ. 408843 - 670 МП выполняется с использованием программы «Поверка блока коррекции «Флоугаз-Т», поставляемой по заказу аккредитованных органов, осуществляющих поверку.
Программа «Поверка блока коррекции «Флоугаз-Т» позволяет осуществлять автоматический съём информации, расчет, подготовку и распечатку протоколов поверки. В качестве генератора импульсов используется персональный компьютер.
Программа защищена от несанкционированного вмешательства в алгоритм расчетов.
Последовательность проведения поверки.
-
1 Собрать схему поверки согласно рисунка1.
-
2 Включить штатную сервисную программу и, используя функцию «Поверка блока коррекции «Флоугаз-Т», последовательно выполнить операции, указанные в окнах данной программы с учётом пояснений, приведённых ниже.
Окно №1.
Пункты панели:
-
• номер прибора;
-
• предупредительные надписи;
-
• выбор порта ПК для проверки канала измерения рабочего объёма;
-
• коэффициент преобразования счётчика (считывается с прибора, при необходимости его можно изменить).
Окно № 2.
Пункты панели:
-
• плотность газа (любое реальное значение);
-
• процентное содержание азота (любое реальное значение);
-
• процентное содержание углекислого газа (любое реальное значение).
Окно № 3.
Пункты панели:
-
• выбор преобразователя температуры (выбирается тип преобразователя, входящий в комплект поставки блока коррекции).
Окно № 4.
Пункты панели:
-
• регламентные точки измеренных или подстановочных значений давления (любое реальное значение);
-
• регламентные точки для формирования протокола поверки канала измерения температуры газа (точки изменению не подлежат);
-
• настройка частотомера (проводится проверка соответствия числа импульсов, поданных генератором ПК, с числом импульсов, зарегистрированных частотомером. Число подаваемых импульсов вводится пользователем).
Окно № 5
При открытии данного окна появляется диалоговая вставка о начале поверки и запуске генератора импульсов. Нажмите кнопку «Да», если вы готовы к проведению поверки (все жгуты соединены, частотомер настроен, исходные данные введены правильно). Нажмите кнопку «Нет», если вы не готовы к проведению поверки. В этом случае в нижнем углу окна появится пункт «Запустить генератор». После проведения подготовки нажмите кнопку «Запустить генератор», а затем кнопку «ДА» на диалоговой вставке. Окно «Подготовка блока коррекции» сигнализирует об обнулении рабочего объёма и буфера импульсов, затем происходит возвращение в окно № 5.
Пункты панели
-
• регистр нештатных ситуаций (отражает состояние прибора во время проведения поверки);
-
• рабочий объём (выводится величина накопленного рабочего объёма);
-
• значения коэффициента коррекции, температуры, измеренного (или подстановочного) давления, считанные с прибора;
-
• заданные значения температуры, измеренного (или подстановочного) давления (порядок задания поверочных точек следующий: с помощью термостата устанавливают значения температуры и вводят измеренные (или подстановочные) значения давления, указанные в левом нижнем углу окна, фиксируют обновление, а затем устойчивые, повторяющиеся значения коэффициента коррекции, температуры, давления и нажимают кнопку «ОК». Появляется диалоговая вставка с просьбой задать следующие точки по температуре, измеренному (или подстановочному) давлению. Операции повторяют до прохождения всех требуемых точек и появления диалоговой вставки об окончании поверки.
После окончания поверки появляется диалоговое окно, сигнализирующее об обработке данных и подготовке протокола поверки.
Окно № 6.
Протокол поверки
Для распечатки протокола поверки нажмите значок принтера в левом верхнем углу окна.
Приложение В(рекомендуемое) Форма протокола поверки ПРОТОКОЛ №___
поверки блока коррекции объема газа «Флоугаз -Т» №__________
Условия поверки Температура окружающей среды_____0 С
Барометрическое давление________Па
Относительная влажность воздуха_______%
-
1 Внешний осмотр
Внешний вид, маркировка, комплектность соответствует (не соответствует) ТУ
-
2 Опробование
-
2.1 Общее функционирование и работоспособность блока соответствует (не соответствует) указанной в эксплуатационной документации
-
2.2 Идентификационных данные ПО соответствуют ( не соответствуют) указанным описании типа.
-
2.3 Проверка канала измерения рабочего объема. __________________
У .изм.
N
N
-
V изм. - измеренное значение объема, м3;
N - число импульсов, поступивших на блок коррекции; п - коэффициент преобразования счетчика, имп./м3.
Уизм = N/n
3 Поверка канала измерения температуры газа, °C
|
1тах> | |||
|
1расч, |
-20 |
+20 |
+60 |
|
tmin> | |||
|
1изм> | |||
|
Погрешность, % |
4 Поверка канала абсолютного (избыточного) давления, кПа
|
?мах | |||||
|
Р 1 расч | |||||
|
р . 1 min | |||||
|
р 1 изм | |||||
|
Погрешность, % |
5 Определение погрешности приведения объема газа к стандартным условиям
|
Р, кПа |
t, °C |
Расчетное значение коэффициента коррекции |
Измеренное значение коэффициента коррекции |
Погрешность, % |
|
+60 | ||||
|
+20 | ||||
|
-20 |
Блок коррекции годен (не годен)
Поверитель_____________________
(подпись) «____» «__________» 20___г.
