Методика поверки «ГСИ. Анализаторы кислорода МАХ02+» (МП-242-2029-2016)
УТВЕРЖДАЮ

Государственная система обеспечения единства измерений Анализаторы кислорода МАХ02+ МЕТОДИКА ПОВЕРКИ МП-242-2029-2016
Руководитель научно-исследовательского отдела государствен! I ых эта; 1011 о в в области физико-химических измерений ФГУП "ВНИИМ им. Д.И. Менделеева"
___. А. Ко н о и ел I > ко __2016 1.
__Разработал
Руководитель набора горн 11

Соколов
Санкт-Петербург 2016 г.
Настоящая методика поверки распространяется на анализаторы кислорода МАХ02+, выпускаемые фирмой «Maxtec, Inc», США, и устанавливает методы их первичной поверки до ввода в эксплуатацию и периодической поверки в процессе эксплуатации.
Интервал между поверками - один год.
1 Операции поверки1.1 При проведении поверки должны быть выполнены операции, указанные в таблице 1. Таблица 1 - Операции поверки
|
Наименование операции |
Номер пункта методики поверки |
Проведение операции при | |
|
первичной поверке |
периодической поверке | ||
|
1 Внешний осмотр |
6.1 |
да |
да |
|
2 Опробование |
6.2 |
да |
да |
|
3 Подтверждение соответствия программного обеспечения |
6.3 |
да |
да |
|
4 Определение метрологических характеристик |
6.4 |
i | |
|
4.1 Определение основной погрешности |
6.4.1 |
да |
да |
|
4.2 Определение вариации показаний |
6.4.2 |
да |
нет |
|
4.3 Определение времени установления показаний |
6.4.3 |
да |
да |
-
1.2 Если при проведении одной из операций получен отрицательный результат, дальнейшая поверка прекращается.
-
2.1 При проведении поверки применяют средства, указанные в таблице 2.
Таблица 2 - Средства поверки
Номер пункта методики поверки
6
6.4
Наименование эталонного средства измерений или вспомогательного средства поверки, номер документа, регламентирующего технические требования к средству, основные метрологические и технические характеристики
Термометр ртутный стеклянный лабораторный ТЛ-4, ТУ 25-2021.003-88, ГОСТ 28498-90, диапазон измерений от 0 до 55 °C, цена деления 0,1 °C, пределы допускаемой аб-солютной погрешности ± 0,2 °C______
Секундомер механический СОПпр, ТУ 25-1894.003-90, класс точности 2____________
Барометр-анероид контрольный М-67 ТУ 2504-1797-75, диапазон измерений давления от 610 до 790 мм рт.ст., пределы допускаемой абсолютной погрешности ±0,8 мм рт.ст.____
Психрометр аспирационный М-34-М, ТУ 52.07-(ГРПИ.405 132.001)-92, диапазон от-носительной влажности от 10 до 100 % при температуре от 5 до 40°С____________
Ротаметр РМ-А-0,063Г УЗ, ГОСТ 13045-81, верхняя граница диапазона измерений объемного расхода 0,063 м3/ч, класс точности 4____________________________________
Вентиль точной регулировки ВТР-1 (или ВТР-1-М160), диапазон рабочего давления (0-150) кгс/см2, диаметр условного прохода 3 мм__
Трубка медицинская поливинилхлоридная (ПВХ) по ТУ6-01-2-120-73, 6x1,5 мм___
Азот особой чистоты сорт 2-й по ГОСТ 9293-74 в баллоне под давлением
Номер пункта методики поверки
Наименование эталонного средства измерений или вспомогательного средства поверки, номер документа, регламентирующего технические требования к средству, основные метрологические и технические характеристики
Стандартные образцы газовых смесей в баллонах под давлением по ТУ 6-16-2956-92 и ТУ 2114-014-20810646-2014 (характеристики приведены в Приложении А)1

-
1 Все эталонные средства измерений, входящие в состав средств поверки, должны иметь действующие свидетельства о поверке, газовые смеси в баллонах под давлением - действующие паспорта.
-
2 Допускается использование других средств поверки, обеспечивающих определение мет-рологических характеристик с требуемой точностью.
-
3.1 Помещение, в котором проводят поверку, должно быть оборудовано приточновытяжной вентиляцией.
-
3.2 Содержание вредных компонентов в воздухе рабочей зоны должны соответствовать требованиям ГОСТ 12.1.005-88.
-
3.3 Должны выполняться требования техники безопасности для защиты персонала от поражения электрическим током согласно классу I ГОСТ 12.2.007.0-75.
-
3.4 Требования техники безопасности при эксплуатации ГС в баллонах под давлением должны соответствовать Федеральным нормам и правилам в области промышленной безопасности "Правила промышленной безопасности опасных производственных объектов, на которых используется оборудование, работающее под избыточным давлением", утвержденным приказом Федеральной службы по экологическому, технологическому и атомному надзору от 25.03.2014 г. № 116.
-
3.5 Не допускается сбрасывать ГС в атмосферу рабочих помещений.
-
3.6 К поверке допускаются лица, изучившие эксплуатационную документацию на газоанализаторы и прошедшие необходимый инструктаж.
20 + 5
от 30 до 80 от 90,6 до 104,8
температура окружающей среды, °C относительная влажность окружающей среды, % атмосферное давление, кПа
5 Подготовка к поверке-
5.1 Выполнить мероприятия по обеспечению условий безопасности.
-
5.2 Проверить наличие паспортов и сроки годности ГС в баллонах под давлением.
-
5.3 Баллоны с ГС выдержать при температуре поверки не менее 24 ч.
-
5.4 Выдержать поверяемые анализаторы и средства поверки при температуре поверки в течение не менее 2 ч.
-
5.5 Подготовить поверяемые анализаторы и средства поверки к работе в соответствии с эксплуатационной документацией.
-
6.1 Внешний осмотр
-
6.1.1 При внешнем осмотре устанавливают соответствие анализатора следующим требованиям:
-
-
- соответствие комплектности (при первичной поверке) требованиям эксплуатационной документации;
-
- соответствие маркировки требованиям эксплуатационной документации;
-
- анализатор не должен иметь повреждений, влияющих на работоспособность.
-
6.1.2 Анализатор считают выдержавшим внешний осмотр, если он соответствует указанным выше требованиям.
-
6.2 Опробование
-
6.2.1 При опробовании проверяют общее функционирование анализатора. Анализатор включается, при этом запускается процедура тестирования.
-
По окончанию процедуры тестирования анализатор переходит в режим измерений - на дисплее отображается измерительная информация.
-
6.2.2 Результат опробования считают положительным, если:
-
- во время тестирования отсутствуют сообщения об отказах,
-
- после окончания времени прогрева анализатор переходит в режим измерений.
-
6.3 Подтверждение соответствия программного обеспечения
Для проверки соответствия ПО выполняют следующие операции:
-
- проводят визуализацию идентификационных данных ПО анализатора (номер версии встроенного ПО идентифицируется при включении анализатора (после удаления аккумуляторной батареи));
-
- сравнивают полученные данные с идентификационными данными, установленными при проведении испытаний для целей утверждения типа и указанными в Описании типа анализаторов (приложение к Свидетельству об утверждении типа).
Результат подтверждения соответствия ПО считают положительным, если идентификационные данные соответствуют указанным в Описании типа анализаторов (приложение к Свидетельству об утверждении типа).
-
6.4 Определение метрологических характеристик
-
6.4.1 Определение основной погрешности
-
Определение основной погрешности проводят по схеме рисунка Б.1 Приложения Б в следующем порядке:
-
1) Собирают схему, приведенную на рисунке Б.1.
-
2) На вход датчика анализатора подают ГС (таблица А.1 Приложения А) в последовательности:
-
- №№ 1-2-3-4-3 - 2-1-4 - при первичной поверке;
-
- №№ 1—2 — 3-4 — при периодической поверке;
Время подачи каждой ГС - не менее утроенного предела допускаемого времени установления показаний по уровню 90 %.
-
3) Фиксируют установившиеся значения показаний анализатора.
-
4) Значение основной абсолютной погрешности анализатора Дь %, рассчитывают по фор
муле

(1)
где

-
- результат измерений содержания кислорода на входе анализатора, объемная до ля, %;
-
- действительное значение содержания кислорода в i-ой ГС, объемная доля, %.
Результат определения основной погрешности анализатора считают положительным, если основная абсолютная погрешность анализатора не превышает ± 1 % об.д. в диапазоне от 0 до 25 % об.д., и ± (1 + 0,02 (Свх-25)) в диапазоне св. 25 до 100 % об.д.
-
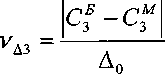
6.4.2 Определение вариации показаний
Определение вариации показаний допускается проводить одновременно с определением основной погрешности по п. 6.4.1 при подаче ГС № 3.
Вариацию показаний, , в долях от пределов допускаемой основной абсолютной погрешности рассчитывают по формуле

(2)
где С3Я, С3М - результат измерений объемной доли кислорода при подходе к точке поверки 3 со стороны больших и меньших значений, %;
Ai - пределы допускаемой основной абсолютной погрешности поверяемого анализатора, % об.д.
Результат считают положительным, если вариация показаний анализатора не превышает 0,5.
-
6.4.3 Определение времени установления показаний
Определение времени установления показаний проводить в следующем порядке:
-
1) выдержать анализатор на атмосферном воздухе в течение не менее 5 мин, зафиксировать установившееся значение показаний анализатора;
-
2) подать на датчик анализатора ГС № 4, зафиксировать установившееся значение показаний анализатора;
-
3) по формуле (3) рассчитать значения показаний по уровню 90 %
Си=С„й+0,9.(С4-С„й), (3)
где Свозд - результат измерений объемной доли кислорода в атмосферном воздухе %;
С4 - результат измерений объемной доли кислорода при подаче ГС № 4 %.
-
4) снять с датчика анализатора насадку и включить секундомер. Зафиксировать время достижения показаниями анализатора значений, рассчитанных на предыдущем шаге.
Результаты определения времени установления показаний считают удовлетворительными, если полученное при поверки значение времени установления показаний не превышает 15 с.
7 Оформление результатов поверки-
7.1 При проведении поверки оформляют протокол результатов поверки (рекомендуемая форма протокола поверки приведена в Приложении В).
' 7.2 Анализаторы, удовлетворяющие требованиям настоящей методики поверки, признают годными к эксплуатации.
-
7.3 Положительные результаты поверки оформляют свидетельством о поверке согласно Приказу Минпромторга 1815 от 02.07.2015 «Об утверждении Порядка проведения поверки средств измерений, требований к знаку поверки и содержанию свидетельства о поверке».
-
7.4 Знак поверки наносится на лицевую сторону свидетельства о поверке.
-
7.5 На оборотной стороне свидетельства о поверке должны быть указаны следующие данные:
-
- наименование нормативного документа, в соответствии с которым проведена поверка;
-
- результаты внешнего осмотра;
-
- результаты опробования;
-
- результаты определения метрологических характеристик с указанием максимальных значений погрешности, полученных в ходе поверки, с указанием заводских номеров измерительных преобразователей;
-
- основные средства поверки;
-
- условия, при которых проведена поверка;
-
- подпись поверителя.
-
7.6 При отрицательных результатах поверки эксплуатацию анализаторов запрещают и выдают извещение о непригодности установленной формы согласно действующему законодательству Российской Федерации с указанием причин непригодности.
Приложение А
(обязательное)
Технические характеристики ГС, используемых при поверке анализаторов кислорода МАХОг+
Таблица А.1 - Технические характеристики ГС для поверки анализаторов
|
Диапазон измерений объемной до-ли кислорода |
Номинальное значение объемной доли определяемого компонента в ГС и пределы допускаемого отклонения |
Пределы допускаемой погрешности |
Номер ГС по реестру ГСО или источник ГС | |||
|
ГС№ 1 |
ГС №2 |
ГС№3 |
ГС №4 | |||
|
От 0 до 100 % |
Азот |
- |
о.ч., сорт 2-й по ГОСТ 9293-74 | |||
|
• |
23,8 % ± 5 % отн. |
50 % ±5 % отн. |
±(-0,008Х+0,76) % отн. |
ГСО 10253-2013 | ||
|
95 % ± 0,5 % отн. |
±0,10 % отн. |
ГСО 10253-2013 | ||||
|
Примечания:
| ||||||
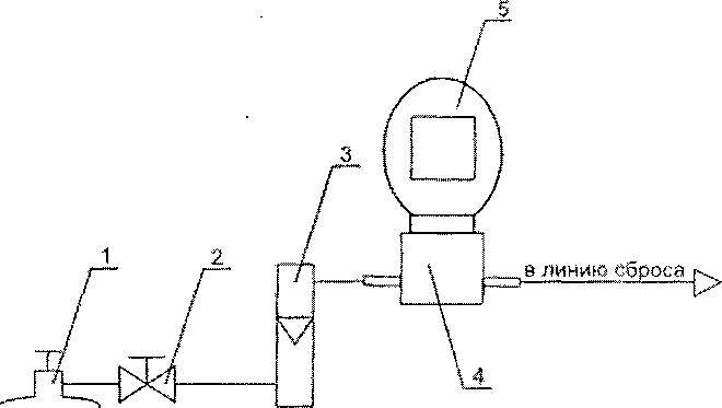
Приложение Б
(обязательное)
Схема подачи ГС на анализаторы кислорода МАХО2+

-
1 - баллон с ГС; 4 - насадка для подачи ГС;
-
2 - вентиль точной регулировки; 5 — поверяемый анализатор.
-
3 - индикатор расхода (ротаметр);
Рисунок Б.1 - Рекомендуемая схема подачи ГС из баллонов под давлением на вход анализатора
Приложение В
(рекомендуемое)
Форма протокола поверки ПРОТОКОЛ ПОВЕРКИ №_________________от_____________
(тип СИ)
-
1) Заводской номер СИ___
-
2) Принадлежит_____________________
-
3) Наименование изготовителя__
-
4) Дата выпуска_________________________________________________________________________
-
5) Наименование нормативного документа по поверке______________________________________
-
6) Наименование, обозначение, заводские номера применяемых средств поверки/ номера паспортов ГС___
-
7) Вид поверки (первичная, периодическая)
(нужное подчеркнуть)
-
8) Условия поверки:
-
- температура окружающей среды___________________________________________________
-
- относительная влажность окружающей среды __________________________________________
-
- атмосферное давление_____________
-
9) Результаты проведения поверки
Внешний осмотр________
Опробование______________________________________________________________________
Подтверждение соответствия программного обеспечения______________________
Определение метрологических характеристик
Определение основной погрешности датчиков
|
Номер ГС (точка поверки) |
Состав ГС |
Действительное значение объемной доли определяемого компонента в Гой ГС, % |
Измеренное значение объемной доли определяемого компонента при подаче Гой ГС, % |
Значение приведенной погрешности, полученное при поверке, % |
Определение времени установления показаний ________________________________
Определение вариации показаний_____________________________________________________
Вывод: ___________________________________________________________________________
Заключение_______________________________, зав. №____
(тип СИ)
соответствует предъявляемым требованиям и признано годным (не годным) для эксплуатации.
ФИО и подпись поверителя_______________________________________________:___________
Выдано свидетельство о поверке_____________________от _
(Выдано извещение о непригодности______;_______________от__)
9
Допускается использование стандартных образцов состава газовых смесей (ГС), не указанных в Приложении А, при выполнении следующих условий:
-
- номинальное значение и пределы допускаемого отклонения содержания определяемого компонента в ГС должны соответствовать указанному для соответствующей ГС из Приложения А;
-
- отношение погрешности, с которой устанавливается содержание компонента в 1 С к пределу допускаемой основной погрешности поверяемого датчика, должно быть не более 1/3.
