Методика поверки «ГСИ. Уровнемеры микроволновые Micropilot FMR10, Micropilot FMR20» (МП 208-002-2017)
ВСЕРОССИЙСКИЙ НАУЧНО-ИССЛЕДОВАТЕЛЬСКИЙ ИНСТИТУТ МЕТРОЛОГИЧЕСКОЙ СЛУЖБЫ
(ФГУП ’’ВНИИМС”)
УТВЕРЖДАЮ

" о/ 2017 г.
Заместитель директора изводственной метрологии "ВНИИМС" Н.В. Иванникова
Государственная система обеспечения единства измерений
Уровнемеры микроволновые Micropilot FMR10, Micropilot FMR20Методика поверки
МП 208-002-2017
Москва
2017
1. ВВЕДЕНИЕ-
1.1 Настоящий документ распространяется на уровнемеры микроволновые Micropilot FMRI0, Micropilot FMR20 фирмы Endress+Hauser GmbH+Co.KG, Германия, при использовании их в сферах распространения государственного метрологического контроля и надзора, и устанавливает требования к методам и средствам их первичной и периодической поверки.
-
1.2 Межповерочный интервал - не более 5 лег.
-
2.1 При проведении первичной поверки выполняют следующие операции:
-
- внешний осмотр, п.7.1,
-
- проверка идентификационных данных ПО, п. 7.2,
-
- опробование, п.7.3,
-
- определение метрологических характеристик, п.7.4:
-
2.2 При проведении периодической поверки выполняют следующие операции:
-
- внешний осмотр, п.7.1,
-
- проверка идентификационных данных ПО, п. 7.2,
-
- опробование, п.7.3,
-
- определение метрологических характеристик:
-
- с демонтажем, п.п.7.4.1,
-
- без демонтажа, на месте эксплуатации уровнемера п.7.4.2.
-
3.1 При проведении поверки применяют следующие средства измерений и вспомогательное оборудование:
-
- установка уровнемерная поверочная 1-го разряда по ГОСТ 8.321-2013 (для поверки с демонтажем согласно п. 7.4.1.1);
-
- рулетка измерительная металлическая 2-го класса точности по ГОСТ 7502-98, компарированная по МИ 1780-87;
-
- источник постоянного тока напряжением 24 В;
-
- термометр лабораторный с ценой деления 0,1 °C по ГОСТ 28498-90;
-
- психрометр типа М-34 по ГОСТ 17142-78;
-
- угломер с нониусом по ГОСТ 53788-88;
-
- подставка для уровнемера, металлический экран (для поверки с демонтажем согласно п. 7.4.1.2);
-
- подставка (для поверки с демонтажем согласно п. 7.4.1.3);
-
- устройство для измерений уровня (для поверки с демонтажем согласно п. 7.4.1);
-
- персональный или планшетный компьютер (смартфон) с беспроводным радио-итерфейсом Bluetooth* и установленным ПО SmartBlue.
-
3.2 Допускается использовать другие средства измерений, если они по своим характеристикам не хуже, указанных в п.3.1.
-
3.3 Все средства измерений должны быть поверены органами Государственной метрологической службы и иметь действующие свидетельства о поверке.
-
4.1 При проведении поверки соблюдают требования безопасности, определяемые: правилами безопасности труда и пожарной безопасности, действующими на
предприятии, поверочной установке;
-
- правилами безопасности при эксплуатации используемых эталонных средств измерений, испытательного оборудования и поверяемого уровнемера, приведенными в эксплуатационной документации;
-
4.2 Монтаж электрических соединений проводят в соответствии с ГОСТ 12.3.032 и "Правилами устройства электроустановок" (раздел VII).
-
4.3 К поверке допускаются лица, имеющие квалификационную группу по технике безопасности не ниже II в соответствии с "Правилами техники безопасности при эксплуатации электроустановок потребителей" и изучившие эксплуатационную документацию и настоящий документ.
-
5.1 При проведении первичной поверки соблюдают следующие условия:
-
- температура окружающего воздуха 20 ±5 °C;
-
- относительная влажность воздуха 30...80 %;
-
- атмосферное давление 86... 107 кПа.
-
5.2 При проведении периодической поверки по п.7.4 соблюдают рабочие условия эксплуатации.
Перед проведением поверки уровнемер подготавливают к работе согласно руководству по эксплуатации (раздел "Пусконаладка").
Методы задания значения параметров прибора путем ввода их на персональный или планшетный компьютер (смартфон) с беспроводным радиоитерфейсом Bluetooth® и установленным ПО SmartBlue в рабочее меню прибора указаны в разделе "Эксплуатация" руководства по эксплуатации.
Зная используемый диапазон измерений для данного уровнемера (т.е. при известном месте установки и параметрах резервуара, на который будет установлен уровнемер), вводят в рабочее меню уровнемера значение расстояния Le, соответствующее нулевому уровню продукта и значение Lf, соответствующее уровню полностью заполненного резервуара. Расстояния измеряются от нижней точки корпуса преобразователя со стороны монтажного патрубка (резьбы или фланца).
6.2 Проверка токового выхода.Для уровнемеров, имеющих цифровой выход (Bluetooth®, HART®), а также имеющих токовый выход, но работающих в одно- или многоадресном режиме HART®, проверка токового выхода не требуется.
Для проверки токовых выходов, для каждого токового выхода, имеющегося у прибора, последовательно задают в рабочем меню "моделирование" ("simulation") не менее трёх токовых значений (например, 4, 12 и 20 мА) в произвольном порядке.
Уровнемер считают проверенным по токовому выходу, если отклонение измеренного значения от заданного не превышает ±0,25 % от диапазона измерений.
-
7. ПРОВЕДЕНИЕ ПОВЕРКИ
При внешнем осмотре проверяют:
-
- отсутствие механических повреждений на уровнемере, препятствующих его применению;
-
- соответствие паспортной таблички уровнемера требованиям эксплуатационной документации;
-
- соответствие комплектности уровнемера указанной в документации.
Уровнемер не прошедший внешний осмотр к поверке не допускают.
7.2 Проверка идентификационных данных программного обеспечения (ПО).Выбирают русский или английский язык меню уровнемера.
В зависимости от того на каком языке программное обеспечение прибора номер версии ПО испытуемых уровнемеров должен выводиться на экран преобразователя или смартфона или планшетного компьютера с установленным ПО SmartBlue путем следующих команд в меню прибора:
на английском языке: MENU—^DIAGNOSTICS—^DEVICE INFORMATION—FIRMWARE VERSION
на русском языке: МЕНЮ—»ДИАГНОСТИКА-^ИНФОРМАЦИЯ О ПРИБОРЕ—^ВЕРСИЯ ПРИБОРА
Также наименование программного обеспечения нанесено фабричным способом на заводскую табличку (шильдик) прибора.
Результаты проверки считаются положительными, если номер версии программного обеспечения уровнемера, отображенный на дисплее электронного преобразователя, совпадает с номером версии на маркировочной таблице электронного преобразователя, а идентификационные данные программного обеспечения соответствуют заявленным (таблица 1).
Идентификационные данные программного обеспечения уровнемера:
Таблица 1
Идентификационные данные (признаки) |
Значение |
Идентификационное наименование ПО |
FMR10, FMR20 |
Номер версии (идентификационный номер) ПО |
не ниже 01 .yy.zz |
Цифровой идентификатор ПО |
не отображается |
Опробуют уровнемер:
-
- при первичной поверке в органах Государственной метрологической службы России, а так же при периодической поверке с демонтажем, перед поверхностью передвижного экрана;
-
- при периодической поверке без демонтажа, на месте эксплуатации, при имеющейся возможности увеличения/уменьшения уровня продукта в резервуаре.
Результат опробования считают положительным, если при увеличении/уменьшении уровня/расстояния соответствующим образом изменялись показания на дисплее прибора, на мониторе компьютера, контроллера, устройстве индикации или миллиамперметре.
-
7.4 Определение метрологических характеристик.
Уровнемеры в исполнении без фланца или с фланцем наружным диаметром менее 300 мм монтируют на металлической пластине диаметром не менее 300 мм.
-
7.4.1.1 При поверке с демонтажем уровнемера используют поверочную установку по ГОСТ 8.321.
-
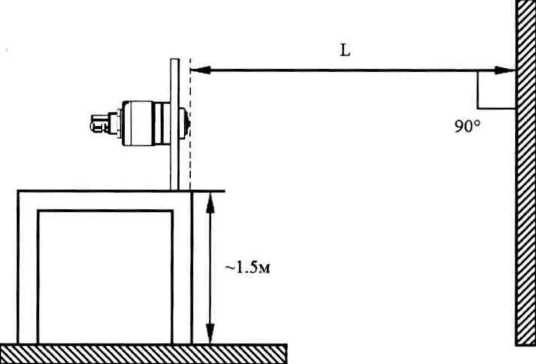
7.4.1.2 При поверке с демонтажем уровнемера в качестве имитатора уровня продукта используют ровную поверхность стены (экрана), в которую направляют антенну уровнемера (см. рис. 1). Плоскость стены (экрана) должна быть строго перпендикулярна оси антенны (допуск не более ±1 °). Угол между плоскостью стены (экрана) и осью антенны контролируется при помощи угломера с нониусом. Минимальное расстояние между осью антенны уровнемера и краем стены (экрана) должно быть не менее 0,5 м. Расстояние между осью антенны уровнемера и различными препятствиями (металлическими предметами, железобетонными конструкциями и т.п.) должно составлять не менее 2 м.
Рис. 1
Передвижной экран устанавливают в позицию, соответствующую уровню пустого резервуара Le, заданному в п.6.1. Измерение осуществляется с помощью рулетки.
Переустанавливают передвижной экран в последующую позицию с помощью рулетки на расстояние Le, заданное в п.6.1, соответствующее уровню заполненного резервуара, и выполняют те же действия, как и для начальной позиции.

Рис. 2
-
7.4.1.3 При поверке с демонтажем уровнемера используют установку, имитирующую резервуар с жидкостью (рис. 2). Уровнемер закрепляют на кронштейне (или подставке), который можно перемещать вверх и вниз вдоль вертикальной стойки, выше резервуара. Уровень жидкости в резервуаре может задаваться и измеряться с помощью градуированной шкалы на стенке (цена деления 1 мм) или с помощью рулетки. При проведении измерений поверхность жидкости в резервуаре должна быть ровной/спокойной, перемешивающее устройство в резервуаре (при его наличии) отключено. Заполнение/опорожнение резервуара не допускают.
Выбирают не менее одной точки в каждом из диапазонов измерений (по п.п. 7.4.1.2.. .7.4.1.3.), проводят по два измерения в каждой точке и записывают в протокол показание значения "уровня" по рулетке и выносному блоку индикации и управления (при его наличии) или по показанию значения "уровня", отображенному в ПО SmartBlue, установленном на персональном или планшетном компьютере (смартфоне) с беспроводным радиоитерфейсом Bluetooth4. Допускается проводить поверку только в рабочем диапазоне измерений.
Для измерений, проведенных в п. 7.4.1.1 ...7.4.1.3 определяют значение абсолютной погрешности уровнемера 8уабс по формуле
Sy абс. ~ Ln — Ly, (1)
где
Ln - значения расстояний, измеренные рулеткой в позиции 1 и 2, в мм;
Ly- значения расстояний, измеренные уровнемером в позиции 1 и 2, в мм.
Уровнемер считают выдержавшим поверку, если полученное при поверке наибольшее из значений абсолютной/относительной погрешности уровнемера не превышает предела допускаемой погрешности, указанной в основных технических характеристиках для данной модели уровнемера.
7.4.2 Без демонтажа на месте эксплуатации.При проведении поверки без демонтажа поверхность жидкости в резервуаре должна быть ровной/спокойной, перемешивающее устройство в резервуаре (при его наличии) отключено. Заполнение/опорожнение резервуара в процессе измерений не допускается.
Проводят измерение при исходном уровне жидкости в резервуаре. Измерение уровня осуществляется с помощью рулетки.
Если имеется возможность заполнения/опорожнения резервуара до определённых уровней, значения которых однозначно определены, например, конструкцией резервуара, подходящих трубопроводов или технологическим процессом (например, по известным значениям "В", т.е. верхнего и "Н", т.е. нижнего уровней, известных из протокола измерений параметров резервуара от соответствующих служб резервуарного парка предприятия, полученных при составлении калибровочных таблиц резервуара), то поверка может проводиться по данным уровням.
Проводят измерения с помощью рулетки или заполняют/опорожняют резервуар до однозначно определенных уровней два раза и записывают в протокол показание значения "уровня" в данной позиции и данные измерения уровнемера.
-
7.4.5 Уровнемер, выдержавший поверку в указанных условиях, считают пригодным для работы с другими продуктами, соответствующими требованиям по эксплуатации.
-
7.4.6 В соответствии с п.16 и п.18 приказа Минпромторга России от 2 июля 2015 г. №1815 на основании письменного заявления владельца периодическую поверку уровнемеров, введенных в эксплуатацию, допускается проводить только для используемых участков диапазонов измерений применяемых величин и для соответствующих измерительных каналов.
-
8.1 Результаты поверки рекомендуется оформлять протоколом по форме, приведенной в Приложении А.
-
8.2 При положительных результатах первичной поверки знак поверки наносится в раздел паспорта "Сведения о первичной поверке" в соответствии с требованиями, изложенными в Приказе Минпромторга от 02.07.2015 г. № 1815.
-
8.3 При положительных результатах периодической поверки, в соответствии с требованиями, изложенными в Приказе Минпромторга от 02.07.2015 г. № 1815, наносят знак поверки в раздел паспорта "Заметки по эксплуатации и хранению" или выдают свидетельство о поверке.
-
8.4 При отрицательных результатах поверки уровнемер к применению не допускают, свидетельство о поверке аннулируют и выдают извещение о непригодности с указанием причин в соответствии с Приказом Минпромторга от 02.07.2JH5 г. № 1815.
Б. А. Иполитов
В. И. Никитин
А.С. Гончаренко
Начальник отдела 208 ФГУП "ВНИИМС
Начальник сектора ФГУП "ВНИИМС
Представитель фирмы ООО "Эндресс+Хаузер
ПРИЛОЖЕНИЕ А рекомендуемое
ПРОТОКОЛповерки уровнемера Micropilot FMR_________
Код заказа ______________________
Серийный номер ___________________
Применяемый диапазон измерений уровня, мм _____________________
Настройка уровнемера:
Le, мм ______________________
Lp, мм ______________________
Средства поверки _______________
Результаты поверки:
Поверка осуществлялась согласно пункту методики ___________
6. Заключение по подготовке к поверке ________________________
-
7.1 Заключение по внешнему осмотру ________________________
-
7.2 Проверка идентификационных данных ПО ______________________
-
7.3 Заключение по опробованию _______________________
-
7.4 Определение метрологических характеристик
№ изм.
Измеренное значение по рулетке/эталону однозначно определенный уровень Ln, мм
Измеренное значение уровнемером Ц, мм
Абсолютная погрешность уровнемера, мм бу абс. —
Заключение о пригодности уровнемера:________________________
Поверитель: ________________________( )
” " 20 г.