Руководство по эксплуатации «Расходомер-счётчик электромагнитный Взлёт ЭР модификация Лайт М» (ШКСД.407212.006 РЭ)


РАСХОДОМЕР-СЧЕТЧИК ЭЛЕКТРОМАГНИТНЫЙ
ВЗЛЕТ ЭР
МОДИФИКАЦИЯ
ЛАЙТ М
РУКОВОДСТВО ПО ЭКСПЛУАТАЦИИ Часть I
ШКСД.407212.006 РЭ

Россия, Санкт-Петербург
Система менеджмента качества ЗАО «ВЗЛЕТ» соответствует требованиям ГОСТ Р ИСО 9001-2008 (сертификат соответствия № РОСС RU^C09.K00816) и международному стандарту ISO 9001:2008 (сертификат соответствия № RU-00816)

ЗАО «ВЗЛЕТ» ул. Мастерская, 9, г. Санкт-Петербург, РОССИЯ, 190121 факс (812) 714-71-38 E-mail: mail@vzljot.ru www.vzljot.ru
Call-центр я 8-800-333-888-7
бесплатный звонок оператору
для соединения со специалистом по интересующему вопросу
СОДЕРЖАНИЕПРИЛОЖЕНИЕ А. Значения измеряемого расхода
ПРИЛОЖЕНИЕ В. Схема оконечного каскада универсальных
ПРИЛОЖЕНИЕ Г. Источник вторичного питания
ПРИЛОЖЕНИЕ Д. Рекомендации по применению расходомера с тепловычислителями «ВЗЛЕТ ТСРВ»
ПРИЛОЖЕНИЕ Е. Приложения к методике поверки
ПРИЛОЖЕНИЕ Ж. Полная кодификация расходомеров
Настоящий документ распространяется на расходомеры-счетчики электромагнитные «ВЗЛЕТ ЭР» модификации «Лайт М» (далее - расходомеры) и предназначен для ознакомления с устройством и порядком их эксплуатации, а также методикой поверки.
В связи с постоянной работой над усовершенствованием прибора, в расходомерах возможны отличия от настоящего руководства, не влияющие на метрологические характеристики и функциональные возможности прибора.
ПЕРЕЧЕНЬ ПРИНЯТЫХ СОКРАЩЕНИЙ
Dy - диаметр условного прохода;
ЖКИ - жидкокристаллический индикатор;
ИБ - измерительный блок;
ИВП - источник вторичного питания;
ППР - первичный преобразователь расхода;
ЭДС - электродвижущая сила;
ЭМР - электромагнитный расходомер.
* * *
• Расходомер-счетчик электромагнитный «ВЗЛЕТ ЭР» модификации «Лайт М» зарегистрирован в Государственном реестре средств измерений РФ под №52856-13 (свидетельство об утверждении типа средств измерений RU.C.29.006.A № 50016).
-
• Расходомер-счетчик электромагнитный «ВЗЛЕТ ЭР» модификации «Лайт М» соответствует требованиям нормативных документов по электромагнитной совместимости и безопасности.
-
• Расходомер-счетчик электромагнитный «ВЗЛЕТ ЭР» модификации «Лайт М» разрешен к применению для учета теплоносителя в водяных системах теплоснабжения.
-
• Расходомер-счетчик электромагнитный «ВЗЛЕТ ЭР» модификации «Лайт М» разрешен к применению на производственных объектах в соответствии правилами промышленной безопасности.
-
• Присоединительная арматура «ВЗЛЕТ КПА» соответствует требованиям нормативных документов.
Удостоверяющие документы размещены на сайте www.vzljot.ru
-
♦ Изготовитель гарантирует соответствие техническим условиям расходомеров «ВЗЛЕТ ЭР» модификации «Лайт М» исполнений ЭРСВ-440ЛВ, -540ЛВ, -440ФВ, -540ФВ в пределах гарантийного срока 72 месяца с даты первичной поверки при соблюдении следующих условий:
-
1. Хранение, транспортирование, монтаж и эксплуатация изделия осуществляются в соответствии с эксплуатационной документацией на изделие.
-
2. Монтаж и пусконаладочные работы выполнены в течение 15 месяцев с даты первичной поверки с отметкой в паспорте изделия.
-
3. В течение месяца с момента ввода изделия в эксплуатацию заключен договор обслуживания с любым сервисным центром ЗАО «Взлет» с отметкой в паспорте изделия.
ПРИМЕЧАНИЕ. Дата ввода изделия в эксплуатацию и дата постановки на сервисное обслуживание указываются в паспорте на изделие в разделе «Отметки о проведении работ», заверяются подписью ответственного лица и печатью сервисного центра.
При несоблюдении условия пункта 3 гарантийный срок эксплуатации составляет 12 месяцев с даты первичной поверки изделия.
При несоблюдении условий пункта 2 гарантийный срок эксплуатации составляет 15 месяцев с даты первичной поверки изделия.
-
♦ Изготовитель гарантирует соответствие расходомеров «ВЗЛЕТ ЭР» прочих исполнений техническим условиям в пределах гарантийного срока 28 месяцев с даты первичной поверки при соблюдении следующих условий:
-
1. Хранение, транспортирование, монтаж и эксплуатация изделия осуществляются в соответствии с эксплуатационной документацией на изделие.
-
2. Монтаж и пусконаладочные работы выполнены в течение 15 месяцев с даты первичной поверки с отметкой в паспорте изделия.
При несоблюдении условия пункта 2 гарантийный срок эксплуатации составляет 15 месяцев с даты первичной поверки изделия.
-
♦ Гарантийный срок продлевается на время выполнения гарантийного ремонта (без учета времени его транспортировки), если срок проведения гарантийного ремонта превысил один календарный месяц.
-
♦ Исполнения расходомеров с ППР, футерованным фторопластом, поставляются с защитными кольцами, гарантийный срок на которые - не более 1 года.
♦ Изготовитель не несет гарантийных обязательств в случае выхода изделия из строя, если:
-
1. Отсутствует паспорт на изделие с заполненным разделом «Свидетельство о приемке».
-
2. Изделие имеет механические повреждения.
-
3. Изделие хранилось, транспортировалось, монтировалось или эксплуатировалось с нарушением требований эксплуатационной документации на изделие.
-
4. Отсутствует или повреждена пломба с поверительным клеймом.
-
5. Изделие или его составная часть подвергалось разборке или доработке.
Неисправное изделие для выполнения гарантийного ремонта направляется в региональный или головной сервисный центр.
Информация по сервисному обслуживанию представлена на сайте http: www.vzljot.ru в разделе Поддержка / Сервис.
-
-
1.1. Назначение
-
1.1.1. Расходомер-счетчик электромагнитный «ВЗЛЕТ ЭР» модификации «Лайт М» предназначен для измерения среднего объемного расхода и объема горячей и холодной воды, бытовых стоков, а также других неагрессивных электропроводящих жидкостей в широких диапазонах температур и проводимостей.
-
1.1.2. Основная сфера применения расходомеров «ВЗЛЕТ ЭР» модификации «Лайт М» - в составе теплосчетчиков, измерительных систем, автоматизированных систем управления технологическими процессами в энергетике, коммунальном хозяйстве и т.д.
-
1.1.3. Расходомеры могут устанавливаться как в металлические, так и в пластиковые (металлопластиковые) трубопроводы.
-
1.1.4. По заказу расходомеры могут быть настроены для измерения параметров реверсивного потока с выдачей сигнала направления потока.
-
-
1.2. Технические характеристики
-
1.2.1. Технические характеристики расходомера приведены в табл.1.
-
-
Таблица 1
Наименование параметра |
Значение параметра | ||||||||||||
1. Диаметр условного прохода (типоразмер), Dy, мм |
10 |
15 |
20 |
25 |
32 |
40 |
50 |
65 |
80 |
100 |
150 |
200 |
300 |
2. Наибольший измеряемый средний объемный расход, QHau6, м3/ч |
2,83 |
6,37 |
11,32 |
17,69 |
28,98 |
45,28 |
70,75 |
119,6 |
181,1 |
283 |
636,8 |
1132 |
2547 |
Наибольший измеряемый средний объемный расход (исполнение с прямоугольными вставками), QHau6, м3/ч |
8,9 |
14,5 |
35,4 | ||||||||||
3. Чувствительность расходомера по скорости потока, м/с |
0,01 | ||||||||||||
4. Давление в трубопроводе, МПа |
не более 2,5 | ||||||||||||
5. Удельная проводимость рабочей жидкости, См/м |
-4 не менее 5^10 | ||||||||||||
6. Температура рабочей жидкости, °С |
от минус 10 до 150 | ||||||||||||
7. Напряжение питания постоянного тока, В |
24 (см. п.1.2.4) | ||||||||||||
8. Потребляемая мощность, Вт |
не более 5 | ||||||||||||
9. Средняя наработка на отказ, ч |
75 000 | ||||||||||||
10. Средний срок службы, лет |
12 |
ПРИМЕЧАНИЕ. Указанные наибольшие объемные расходы действительны для стандартных исполнений расходомеров. Наибольшие объемные расходы для расходомеров исполнений, предназначенных для низких расходов, указаны в табл.2.
-
1.2.2. Для систем с малым значением измеряемого расхода (скорость потока не более 5 м/с) возможна поставка расходомеров «ВЗЛЕТ ЭР» с сужающими вставками, устанавливаемыми непосредственно в проточную часть прибора. При этом для монтажа расходомеров в трубопровод не требуется использовать конфузоры и диффузоры.
Значения наибольшего объемного расхода для данных расходомеров приведены в табл.2.
Таблица 2
Наименование параметра |
Значение параметра | ||
1. Диаметр условного прохода (типоразмер, Dy, мм |
25 |
32 |
50 |
2. Наибольший измеряемый средний объемный расход, Qнаиб, м3/ч |
8,9 |
14,5 |
35,4 |
-
1.2.3. Кодификация типовых исполнений расходомеров «ВЗЛЕТ ЭР» приведена на рис.1.
ЭРСВ- Х Х 0 Х Х Х
по наличию индикатора
без индикатора - 4
с индикатором - 5
по Динамическому Диапазону —
1:100
1:250
1:300
1:500
1
-
4
-
5
7
по области применения — |
общепромышленное - 0 | ||
по способу монтажа в трубопровод |
“сэндвич’ фланцевое |
- Л -Ф |
по нормируемым преДелам Допускаемой погрешности
по направлению Движения измеряемой жиДкости
±1%- ±2%- ±5%- |
А С | ||
реверсивное исполнение - Р |
Например, исполнение ЭРСВ-540Ф ВР соответствует расходомеру с фланцевым присоединением, снабженного индикатором, обеспечивающего измерения в динамическом диапазоне 1:250 реверсивного потока жидкости.
Полная кодификация, пределы допускаемых погрешностей и динамические диапазоны всех исполнений расходомеров «ВЗЛЕТ ЭР» модификации «Лайт М» приведены в Приложении Ж.
-
1.2.4. Пределы допускаемых относительных погрешностей типовых исполнений расходомеров «ВЗЛЕТ ЭР» при измерении среднего объемного расхода (объема) не превышают ± 2% в диапазонах расходов, приведенных в табл. 3.
Таблица 3
Исполнение расходомера |
Диапазон измеряемого среднего объемного расхода жидкости | |
при прямом направлении потока |
при обратном направлении потока | |
ЭРСВ-Х40Х В |
от 0,004^наиб до Qнаиб (1:250) |
от 0,01^наиб до Qнаиб (1:100) |
ЭРСВ-Х40Х ВР |
от 0,004^наиб до Qнаиб (1:250) |
от 0,004^наиб до Qнаиб (1:250) |
ЭРСВ-Х70Х В |
от 0,002^наиб до Qнаиб (1:500) |
от 0,01^наиб до Qнаиб (1:100) |
ЭРСВ-Х70Х ВР |
от 0,002^наиб до Qнаиб (1:500) |
от 0,002^наиб до Qнаиб (1:500) |
Значения измеряемого расхода для типовых исполнений расходомеров приведены в табл.А.1 Приложения А.
Пределы допускаемой относительной погрешности регистрации времени наработки - не более ± 0,1 %.
-
1.2.5. Питание расходомера осуществляется стабилизированным напряжением постоянного тока значением из диапазона (20-25) В с уровнем пульсаций не более ±1,0 %. Питание от сети переменного тока 220 В частотой 50 Гц может обеспечиваться с помощью источника вторичного питания (ИВП), поставляемого по заказу (Приложение Г).
-
1.2.6. Расходомер соответствует требованиям ГОСТ Р 52931 по устойчивости:
-
- к климатическим воздействиям - группе В4 (диапазон температуры окружающего воздуха от 5 до 50 °С, относительная влажность не более 80 % при температуре до 35 °С, без конденсации влаги);
-
- к механическим воздействиям - группе N2;
-
- к атмосферному давлению - группе Р2.
Степень защиты расходомера соответствует коду IP65 по ГОСТ 14254.
-
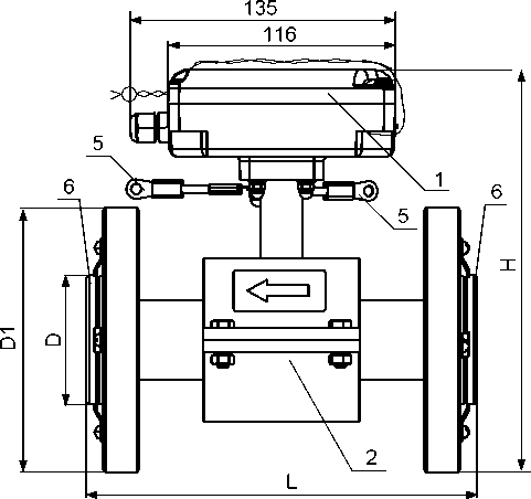
1.2.7. Вид и массогабаритные характеристики расходомеров приведены в Приложении Б.
Комплект поставки расходомера приведен в табл.4.
Таблица 4
Наименование |
Кол. |
Прим. |
Расходомер |
1 |
Прим. 1,2 |
Источник вторичного питания =24 В |
1 |
По заказу |
Преобразователь RS-232 с кабелями |
1 |
По заказу |
Адаптер сигналов USB-ЭР |
1 |
По заказу |
Комплект монтажный |
1 |
Прим. 3, 4 |
Паспорт |
1 | |
Комплект эксплуатационной документации в составе:
|
1 |
ПРИМЕЧАНИЯ.
-
1. Исполнение и типоразмер расходомера - в соответствии с заказом.
-
2. При выпуске из производства выполняется типовая настройка расходомера. Параметры типовой настройки приведены в Приложении А части II настоящего руководства. По заказу могут быть заданы другие значения параметров настройки.
-
3. В комплект входят уплотнительные прокладки и крепежные изделия. По заказу могут поставляться источник вторичного питания и кабель питания.
-
4. Для расходомеров всех исполнений набор элементов присоединительной арматуры в согласованной комплектации, либо комплект арматуры «ВЗЛЕТ КПА» в сборе поставляется по заказу.
Допустимое давление поставляемой арматуры:
-
- для исполнений ЭРСВ-ХХ0Л,Ф Dy10-Dy65 - 1,6 МПа или 2,5 МПа (по заказу);
-
- для исполнений ЭРСВ-ХХ0Л,Ф Dy80-Dy300 - 2,5 МПа.
Эксплуатационная документация и карты заказа на данное изделие и другую продукцию, выпускаемую фирмой «Взлет», размещены на сайте по адресу www.vzljot.ru.
Там же размещены программы:
-
- «Универсальный просмотрщик», включающий в свой состав инструментальную программу «Монитор Лайт М» для работы с прибором по последовательным интерфейсам RS-232, RS-485, USB;
-
- «Чтение журналов прибора» - для просмотра журнала расходомера.
Расходомер состоит из электромагнитного первичного преобразователя расхода (ППР) и вторичного преобразователя - микропроцессорного измерительного блока (ИБ).
Принцип работы электромагнитного расходомера (ЭМР) основан на измерении электродвижущей силы (ЭДС) индукции, возникающей в объеме электропроводящей жидкости, движущейся в магнитном поле, создаваемом электромагнитной системой во внутренней полости проточной части первичного преобразователя расхода (рис.2).

Рис.2. Структурная схема расходомера.
Первичный преобразователь расхода (ППР) представляет собой полый магнитопроницаемый цилиндр, внутри которого протекает контролируемая жидкость. Снаружи цилиндра располагаются обмотки электромагнита. Изнутри цилиндр покрыт электроизоляционным материалом или выполнен целиком из него. Для съема измерительного сигнала в стенках цилиндра диаметрально расположены два электрода, контактирующие с контролируемой жидкостью. Материал электродов - нержавеющая сталь 12Х18Н10Т.
ЭДС индукции E пропорциональна средней скорости потока жидкости v, расстоянию между электродами d (внутреннему диаметру первичного преобразователя) и магнитной индукции B:
E = k • В • d • v,
где k - коэффициент пропорциональности.
Для данного типоразмера ЭМР В и d - величины постоянные. Значение ЭДС не зависит от температуры, вязкости и проводимости жидкости при условии, что проводимость превышает значение, указанное в технических характеристиках.
Измерительный блок содержит модуль обработки и модуль интерфейсов (по заказу).
Модуль обработки обеспечивает:
- питание обмоток электромагнита;
- прием и обработку измерительного сигнала (ЭДС индукции), определение значения среднего объемного расхода;
- преобразование измеренного среднего объемного расхода в последовательность выходных импульсно-частотных сигналов;
- определение направления потока и выдачу сигнала направления потока в виде уровня логического сигнала;
- управление индикатором (при наличии);
- накопление объема и времени наработки нарастающим итогом;
- диагностику работы прибора;
- хранение установочных данных, журналов сервисных и настроечных параметров, а также параметров накопления; время хранения данных при отсутствии питания - не менее года;
- защиту параметров накопления и установочных данных от несанкционированного доступа.
По заказу измерительный блок выполняется с индикатором (исполнения ЭРСВ-5Х0Л/Ф) или без индикатора (исполнения ЭРСВ-4Х0Л/Ф).
Модуль интерфейсов (по заказу) оснащается выходом интерфейса RS-485 и обеспечивает работу индикатора (исполнения ЭРСВ-5Х0Л/Ф). Также, по заказу, на модуле может быть установлен радио транспондер ближнего радиуса действия (RFID), поддерживающий технологию NFC в соответствии с ISO 15693.
Расходомер может функционировать в трех режимах работы. Подробное описание режимов работы, порядок их изменения и функциональные возможности приведены в части II настоящего руководства.
1.4.3.1. Индикация
Измерительная информация в расходомерах исполнений ЭРСВ-5Х0Х выводится на графический жидкокристаллический индикатор (см. рис.3), имеющий встроенную подсветку. ЖКИ обеспечивает вывод двух строк алфавитно-цифровой информации при 16 символах в строке. На ЖКИ расходомера могут выводиться измеряемые параметры и сообщения об ошибках.
Единицы измерения и разрядность индикации измеряемых параметров приведены в табл.5.
Таблица 5
Обозначение |
Наименование параметра |
Ед. изм. |
Кол-во знаков индикации | |
целая часть |
дроб.часть | |||
Q |
Средний объемный расход |
м3/ч, л/мин |
до 10 |
3 |
V |
Суммарный объем (нарастающим итогом) |
м3,л |
до 9 |
3 |
V+ |
Объем прямого потока (нарастающим итогом) |
м3,л |
до 9 |
3 |
V- |
Объем обратного потока (нарастающим итогом) |
м3,л |
до 9 |
3 |
T |
Время наработки (нарастающим итогом) |
час, мин |
до 10 |
2 |
Кр |
Коэффициенты универсальных выходов |
- |
до 5 |
4 |
К, Р |
Метрологические коэффициенты |
- |
до 3 |
6 |
КСБ, КСП |
Контрольные суммы базы и программы |
- |
6 |
- |
ПРИМЕЧАНИЯ:
-
1. Значение расхода при обратном направлении потока, а также отрицательные значения суммарного объема и объема обратного потока индицируются со знаком минус.
-
2. Суммарный объем определяется как сумма объемов, накопленных при прямом (положительном) и обратном (отрицательном) направлениях потока, с учетом знака направления потока.
-
3. После переполнения счетчика накопления соответствующего объема индикация продолжается с нулевого значения.
Коды нештатных Единица
ситуаций измерения

V+ = 578423
—I_____________________ь.

Обозначение Измеренное
параметра значение
Рис.3. Вид индикатора расходомера
Набор индицируемых параметров, единицы измерения, период индикации, а также отсечка по индикации могут устанавливаться по заказу при выпуске из производства или на объекте при вводе в эксплуатацию.
Параметр Период индикации (время отображения одного параметра при автоматическом переключении индикации) задается программно в пределах от 1 до 100 с, типовое значение при поставке - 3 с.
При наличии нештатной ситуации в работе трубопровода или неисправности прибора в первой строке индикатора отображаются соответствующие символы (рис.3). Назначения символов указаны в части II настоящего руководства.
-
1.4.3.2. Универсальные выходы
Расходомер имеет два универсальных гальванически развязанных выхода. Выходы универсальны как по возможному режиму работы (частотный, импульсный или логический), так и по назначению.
Режим работы, назначение, а также параметры работы выходов задаются программно при выпуске из производства. При необходимости они могут быть изменены на объекте при вводе в эксплуатацию. Подробное описание назначений, режимов работы и настраиваемых параметров универсальных выходов приведены в части II настоящего руководства.
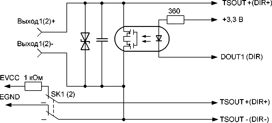
Для обеспечения сопряжения с различными типами приемников питание оконечного каскада универсального выхода может осуществляться как от внутреннего источника питания - активный режим работы оконечного каскада, так и от внешнего источника -пассивный режим. По умолчанию оконечные каскады универсальных выходов работают в пассивном режиме. При необходимости использования универсальных выходов в активном режиме необходимо перевести переключатели SK1 и SK2 на модуле обработки в положение «ACTIVE». Схема оконечного каскада и описание его режимов работы приведены в Приложении В.
Рекомендации по выбору режимов работы универсальных выходов при работе с тепловычислителями «ВЗЛЕТ ТСРВ» приведены в Приложении Д.
Длина линии связи по универсальным выходам в импульсном и частотном режимах - до 300 м.
Значения установочных параметров при выпуске из производства приведены в Приложении А части II настоящего руководства. При необходимости в карте заказа могут быть указаны другие значения параметров.
Для модификации значений установочных параметров расходомера на объекте необходимы:
-
- преобразователь RS-232 или адаптер сигналов USB-ЭР (поставляются по заказу), или интерфейс RS-485 (по заказу);
-
- программное обеспечение «Монитор Лайт М».
Подключение преобразователя RS-232 производится в соответствии с Приложением Б инструкции по монтажу.
-
1.4.3.3. Транспондер ближнего радиуса действия (RFID).
По заказу расходомер может оснащаться RFID меткой, устанавливаемой на модуле интерфейсов (исполнения ЭРСВ-5Х0Л/Ф), что позволяет производить считывание текущих измеренных значений расхода и настроечной информации. Для этого необходим смартфон на базе Android, поддерживающий технологию коммуникации ближнего поля (NFC).
Для исполнения ЭРСВ-4Х0Л/Ф по заказу может поставляться модуль RFID, который устанавливается в разъем XP2 платы модуля обработки (рис.Б.8), и обеспечивает возможность беспроводного считывания информации из расходомеров без модуля интерфейсов.
Программное обеспечение доступно на сайте vzljot.ru. Подробное описание использования технологии NFC для работы с расходомером приведено в части III настоящего руководства по эксплуатации.
В расходомере имеется возможность установки отсечек снизу по измерению расхода в процентах от значения QMakC: По нарастанию, По убыванию, а также Отсечки по индикатору, а также реализована функция обработки измерительного сигнала с помощью фильтра и адаптивного алгоритма автомата установки расхода. Константа фильтра сигнала расхода и параметры автомата установки расхода определяют время реакции прибора на изменение расхода.
В расходомере диагностируется нештатная ситуация по критерию «пустая труба» при превышении уровня зондирующего сигнала, подаваемого на электроды, над пороговым значением, записанным в расходомер по результатам калибровки на пустом трубопроводе. Пороговое значение сигнала рассчитывается как сотая часть от эталонного (калибровочного) и отображается в процентах в программе «Монитор Лайт М».
Подробное описание настроек сервисных функций приведено в части II настоящего руководства.
Проточная часть расходомера, в зависимости от вида присоединения к трубопроводу, выполняется в разных конструктивах:
-
- под присоединение типа «сэндвич» (Dy10-Dy150), когда ППР с помощью шпилек зажимается между двумя фланцами, приваренными к концам трубопровода в месте врезки расходомера;
-
- фланцованной (Dy20-Dy300), когда фланцы ППР крепятся болтами к ответным фланцам трубопровода.
Конструктив проточной части указывается в конце обозначения исполнения расходомера буквой: Л - под присоединение типа «сэндвич», Ф - фланцованный.
Внутренняя поверхность ППР футеруется фторопластом либо ППР полностью выполняется из высокопрочного термостойкого полимера.
Исполнения ЭРСВ-470Л и ЭРСВ-570Л изготавливаются только с футеровкой фторопластом.
На торцевые поверхности ППР с футеровкой фторопластом для предохранения ее в процессе монтажа и эксплуатации устанавливаются защитные кольца из нержавеющей стали. Диаметры защитных колец при использовании фланцев по ГОСТ 12820-80 исполнения 3 обеспечивают соосность внутреннего канала ППР и ответных фланцев. Кроме этого, наличие у защитных колец фланцованных расходомеров заземляющего лепестка обеспечивает электрический контакт расходомера с измеряемой жидкостью при установке их в пластиковые (металлопластиковые) трубопроводы.
Измерительный блок содержит одну или две печатные платы. Плата модуля обработки размещается в корпусе измерительного блока, а плата модуля индикации с индикатором (при наличии) - в прозрачной крышке корпуса (лицевой панели). Между собой они соединяются сигнальным шлейфом. На плату модуля обработки устанавливается внутренняя защитная крышка, которая крепится к плате двумя винтами и при этом контактные пары разрешения модификации калибровочных и сервисных параметров остаются открытыми.
Ввод кабеля питания и сигнальных кабелей осуществляется через два кабельных гермоввода типоразмера Pg7, предназначенных для кабелей круглого сечения наружным диаметром от 3,0 до 6,5 мм.
Кожух ППР со стойкой исполнений ЭРСВ-ХХ0Л типоразмеров Dy10...Dy80 выполняется из полимера и состоит из двух половин, соединяемых 4-мя винтами. Кожух корпуса со стойкой для Dy100, Dy150 выполняется из металла и неразъемным. У фланцованных исполнений ЭРСВ-ХХ0Ф кожух ППР со стойкой для всех Dy металлический.
Клеммой защитного заземления расходомера служит винт на ИБ, к которому крепятся электрические проводники для соединения с ответными фланцами трубопровода.
Расходомеры перечисленных выше исполнений и типоразмеров устанавливаются в металлические трубопроводы. Также возможна установка расходомеров под присоединение типа «сэндвич» (Dy10-Dy80) в пластиковые (металлопластиковые) трубопроводы при использовании комплекта присоединительной арматуры «ВЗЛЕТ КПА» №4 (для пластиковых трубопроводов).
- наименование и обозначение прибора;
- товарный знак и логотип фирмы-изготовителя;
- знак утверждения типа средства измерения;
- напряжение питания расходомера;
- температура измеряемой жидкости;
- максимальная скорость потока.
Вид исполнения и типоразмер с наибольшим измеряемым средним объемным расходом ЭМР указываются на отдельных шильдиках, размещенных на корпусе ИБ.
На торце корпуса ИБ маркирован гермоввод кабеля питания =24 В. На противоположном торце корпуса закреплен шильдик с заводским номером расходомера.
-
1.5.2. После поверки расходомера пломбируется колпачок контактной пары J3 разрешения модификации калибровочных параметров (рис.Б.7).
Для обеспечения электрического контакта перемычки с контактной парой в течение межповерочного интервала перед установкой перемычки необходимо нанести на нее токопроводящую смазку (рекомендуется ЭПС-98).
Также пломбируются винты крепления защитной крышки модуля обработки пломбой завода-изготовителя.
-
1.5.3. Колпачок контактной пары разрешения модификации сервисных параметров J4 может быть опломбирован после проведения пусконаладочных работ.
На данную контактную пару также рекомендуется нанести токопроводящую смазку.
Кроме того, для защиты от несанкционированного доступа при транспортировке, хранении или эксплуатации может быть опломбирована крышка измерительного блока (рис.Б.6).
-
2. ИСПОЛЬЗОВАНИЕ ПО НАЗНАЧЕНИЮ
-
2.1. Эксплуатационные ограничения
-
2.1.1. Эксплуатация расходомера должна производиться в условиях внешних воздействующих факторов, не превышающих допустимых значений, оговоренных в п.1.2.6.
-
2.1.2. Расходомер может устанавливаться в вертикальном, горизонтальном или наклонном трубопроводе. Установка грязевиков или специальных фильтров не требуется.
-
2.1.3. Точная и надежная работа расходомера обеспечивается при выполнении в месте установки ППР следующих условий:
-
-
- отсутствует скопление воздуха;
- давление жидкости исключает газообразование в трубопроводе;
- на входе и выходе ППР имеются прямолинейные участки трубопровода соответствующей длины с Dy, равным Dy ППР. На этих участках не должно быть никаких устройств или элементов, вызывающих изменение структуры потока жидкости;
-
- весь внутренний объем канала ППР в процессе работы расходомера заполнен жидкостью;
-
- напряженность внешнего магнитного поля промышленной частоты не превышает 400 А/м.
ВНИМАНИЕ! Запрещается на всех этапах работы с ЭМР касаться руками электродов, находящихся во внутреннем канале ППР.
Рекомендации по выбору места установки и правила монтажа (демонтажа) расходомера, описание набора элементов арматуры, а также комплекта присоединительной арматуры «ВЗЛЕТ КПА» изложены в документе «Расходомер-счетчик электромагнитный «ВЗЛЕТ ЭР». Модификация Лайт М. Инструкция по монтажу» ШКСД.407212.006 ИМ.
-
2.1.4. Тип и состав контролируемой жидкости (наличие и концентрация взвесей, посторонних жидкостей и т.п.), а также состояние трубопровода не должны приводить к появлению отложений, влияющих на работоспособность и метрологические характеристики расходомера.
Для обеспечения работоспособности расходомера в системе, использующей угольный фильтр, необходимо следить за его исправностью.
-
2.1.5. Необходимость защитного заземления прибора определяется в соответствии с требованиями главы 1.7 «Правил устройства электроустановок» в зависимости от напряжения питания и условий размещения прибора.
-
2.1.6. Молниезащита объекта размещения прибора, выполненная в соответствии с «Инструкцией по устройству молниезащиты зданий, сооружений и промышленных коммуникаций» СО153-34.21.122-2003 (утвержденной Приказом Минэнерго России №280 от 30.06.2003), предохраняет прибор от выхода из строя при наличии молниевых разрядов.
-
2.1.7. Требования к условиям эксплуатации и выбору места монтажа, приведенные в настоящей эксплуатационной документации, учитывают наиболее типичные внешние факторы, влияющие на работу расходомера.
На объекте эксплуатации могут существовать или возникнуть в процессе его эксплуатации внешние факторы, не поддающиеся предварительному прогнозу, оценке или проверке и которые производитель не мог учесть при разработке.
В случае проявления подобных факторов следует найти иное место эксплуатации, где данные факторы отсутствуют или не оказывают влияния на работу изделия.
-
2.2. Выбор типоразмера расходомера
-
2.2.1. Выбор типоразмера расходомера определяется диапазоном расходов в трубопроводе, где будет устанавливаться ППР. Если диапазон расходов для данного трубопровода укладывается в диапазон расходов нескольких типоразмеров ЭМР, то определять нужный типоразмер рекомендуется исходя из заданного предельного значения потерь напора.
-
2.2.2. Если значение Dy выбранного типоразмера ЭМР меньше значения Dy трубопровода, куда предполагается устанавливать ППР, то для монтажа в трубопровод используются переходные конуса (конфузор и диффузор).
-
2.2.3. Определить гидравлические потери напора в системе <конфузор -ППР - диффузор>, приведенной на рис.4, можно по нижеприведенной методике.
-
2.2.3.1. Исходные данные для определения потерь напора:
-
-
-
- объемный расход жидкости в данном трубопроводе
Q
[м3/ч];
D1
[мм];
D2
[мм];
D3
[мм];
а1
[град];
аз
[град];
l
[мм].
-
- Dу подводящего трубопровода
-
- Dу ППР
-
- Dу отводящего трубопровода
-
- угол конусности конфузора
-
- угол конусности диффузора
-
- длина прямолинейного участка
1
2
3
2
4
la
1 - конфузор; 2 - полнопроходная шаровая заДвижка; 3 - ППР; 4 - Диффузор.
Рис.4. Схема трубопровода в месте установки ППР.-
2.2.3.2.Согласно известному принципу суперпозиции суммарные потери напора hH в системе <конфузор - ППР - диффузор> складываются из местных потерь напора в конфузоре hHl, прямолинейном участке (длиной Г) hH2 и диффузоре hH3:
Потери напора в конфузоре определяются по графику рис.5а, где v2 - скорость потока жидкости в прямолинейном участке. График зависимости потерь напора от скорости потока рассчитан для угла конусности конфузора а1 = 20 °. Для определения скорости потока жидкости по значению объемного расхода Q можно воспользоваться графиком рис.6 или формулой:
v^/с) =
О(м3/ч)
0,9 я DN2 (мм)
х103.
Потери напора в прямолинейном участке определяются по графику рис.5б. График зависимости потерь напора от скорости потока рассчитан для отношений длины прямолинейного участка к диаметру 15; 20; 25 и 30.
Потери напора в диффузоре определяются по графику рис.5в. График зависимости потерь напора от скорости потока рассчитан для угла конусности диффузора а3 = 20° и отношений наибольшего диаметра диффузора к наименьшему 2,0; 2,5; 3,5 и 4,0.
ПРИМЕЧАНИЕ. Программное обеспечение для проведения уточненного расчета потерь напора в системе <конфузор - ППР -диффузор> поставляется по заказу.
а)
б)
в)
hHl, м вод.ст.
0,4
0,35
0,3
0,25
0,2
0,15
0,1
0,05
0

2 3 4 5 6 7 8 9 10 11 12 V , м/с


Рис.5. Графики зависимостей потерь напора в конфузоре (а), прямолинейном участке (б) и диффузоре (в).

Рис.6. График зависимости расхода жидкости от скорости потока для различных значений Dy.

Рис.7. График зависимости падения давления от скорости потока при использовании расходомеров с прямоугольными вставками.
-
-
2.3.1. Меры безопасности
-
2.3.1.1. К работе с расходомером допускается обслуживающий персонал, изучивший эксплуатационную документацию на изделие.
-
2.3.1.2. При подготовке изделия к использованию и в процессе эксплуатации должны соблюдаться «Правила технической эксплуатации электроустановок потребителей» и «Межотраслевые правила по охране труда (Правила безопасности) при эксплуатации электроустановок».
-
2.3.1.3. При проведении работ с расходомером опасными факторами для человека являются:
-
-
- напряжение переменного тока (с действующим значением до 264 В частотой 50 Гц);
- давление в трубопроводе (до 2,5 МПа);
- температура рабочей жидкости (до 150 °С);
- другие факторы, связанные с профилем и спецификой объекта, где производится монтаж.
-
2.3.1.4. Запрещается использовать расходомеры при давлении в трубопроводе более 2,5 МПа.
-
2.3.1.5. В процессе работ по монтажу, пусконаладке или ремонту расходомера запрещается:
- производить подключения к расходомеру или замену электрорадиоэлементов при включенном питании;
- демонтаж расходомера из трубопровода до полного снятия давления на участке трубопровода, где производятся работы;
- использовать неисправные электрорадиоприборы, электроинструменты либо без подключения их корпусов к магистрали защитного заземления.
-
2.3.2. При вводе в эксплуатацию ЭМР должно быть проверено:
- соответствие напряжения питания заданным техническим характеристикам;
- соответствие направления стрелки на корпусе расходомера направлению потока жидкости в трубопроводе;
- соответствие длин прямолинейных участков на входе и выходе ЭМР;
- правильность подключения расходомера и взаимодействующего оборудования в соответствии с выбранной схемой;
- правильность и соответствие заданных режимов работы и значений настроечных параметров выходов расходомера и входов взаимодействующего оборудования.
При активном режиме работы оконечного каскада универсальных выходов расходомера, заданном установкой переключателей на плате модуля обработки расходомера, вход приемника сигнала должен находиться в пассивном режиме (комбинация режимов «активный выход - пассивный вход»).
При пассивном режиме работы оконечного каскада универсальных выходов расходомера вход приемника должен находиться в активном режиме (комбинация режимов «пассивный выход - активный вход»).
-
2.3.3. Расходомер при первом включении или после длительного перерыва в работе готов к эксплуатации после:
-
- 30-минутной промывки ППР потоком жидкости;
-
- 30-минутного прогрева расходомера.
-
2.3.4. Перед вводом в эксплуатацию необходимо опломбировать расходомер и задвижки байпаса (при его наличии).
-
-
2.4.1. Сданный в эксплуатацию расходомер работает непрерывно в автоматическом режиме. Значения измеряемых параметров могут считываться с индикатора (при наличии).
-
Во время работы прибор сообщает о своем статусе при помощи прерывистого свечения светодиодного индикатора установленного на модуле обработки.
При нормальной работе без ошибок частота пульсаций светодиода составляет 0,5 Гц. При наличии нештатной ситуации «Пустая труба» прерывистое свечение светодиода идет с периодичностью в 3 секунды, при наличии других ошибок - высокая частота прерывистого свечения, равная 5 Гц.
ВНИМАНИЕ! Нахождение расходомера в режимах НАСТРОЙКА и СЕРВИС индицируются постоянным свечением светодиода на модуле обработки с кратковременным (раз в 10 сек) прерыванием свечения независимо от каких-либо неисправностей. Индикация нормальной работы и диагностика неисправностей возможна только после перевода расходомера в режим РАБОТА.
-
2.4.2. Перечень возможных неисправностей, диагностируемых расходомером и выводимых на индикатор (при его наличии) и на дисплей ПК, а также методы их устранения приведены в части II настоящего руководства.
-
2.4.3. При необходимости значения измеряемых и установочных параметров можно считать по интерфейсам RS-232, USB при помощи преобразователей, поставляемых по заказу, или по интерфейсу RS-485 при его наличии.
-
3.1. Введенный в эксплуатацию расходомер рекомендуется подвергать периодическому осмотру не реже одного раза в две недели с целью контроля:
- работоспособности расходомера;
- соблюдения условий эксплуатации;
- наличия напряжения питания;
- отсутствия внешних повреждений составных частей расходомера;
- надежности электрических и механических соединений.
Осмотр расходомера может проводиться и чаще, если того требуют условия эксплуатации.
-
3.2. Не реже одного раза в год необходимо проводить профилактический осмотр внутреннего канала ППР на наличие загрязнений и/или отложений. Допускается наличие легкого рыжеватого налета, который должен удаляться с помощью чистой мягкой ветоши, смоченной в воде.
При наличии загрязнений и/или отложений другого вида либо их существенной толщины необходимо произвести очистку внутренней поверхности ППР с помощью воды, чистой ветоши и неабразивных моющих средств сразу же после извлечения расходомера из трубопровода.
Запрещается при очистке отложений промывать ППР под струей жидкости либо погружать ППР в жидкость, даже частично!
Наличие существенных загрязнений на поверхности ППР, контактирующей с жидкостью, свидетельствует о неудовлетворительном состоянии трубопровода.
-
3.3. Несоблюдение условий эксплуатации изделия в соответствии с п.1.2.6, внешние повреждения или повреждения внутренней поверхности ППР могут привести к отказу расходомера или превышению допустимого уровня погрешности измерений.
При выявлении повреждений изделия, кабелей питания, связи необходимо обратиться в сервисный центр или региональное представительство для определения возможности его дальнейшей эксплуатации.
Внеочередная поверка расходомера производится после соответствующего заключения надзорных органов о неудовлетворительной работе прибора.
-
3.4. При отправке расходомера на поверку или в ремонт необходимо после демонтажа очистить внутренний канал ППР от отложений, образовавшихся в процессе эксплуатации, а также от остатков рабочей жидкости.
При монтаже и демонтаже расходомеров необходимо руководствоваться инструкцией по монтажу для данного исполнения расходомера.
Отправка расходомера для проведения поверки либо ремонта должна производиться с паспортом расходомера.
В сопроводительных документах необходимо указывать почтовые реквизиты, телефон и факс отправителя, а также способ и адрес обратной доставки.
-
4. УПАКОВКА, ХРАНЕНИЕ И ТРАНСПОРТИРОВАНИЕ
-
4.1. Расходомер «ВЗЛЕТ ЭР» упаковывается в индивидуальную тару категории КУ-2 по ГОСТ 23170 (коробку из гофрированного картона либо деревянный ящик).
-
Присоединительная арматура поставляется в отдельной таре россыпью или в сборе на один или несколько комплектов.
-
4.2. Хранение расходомера должно осуществляться в упаковке изготовителя в сухом отапливаемом помещении в соответствии с требованиями группы 1 по ГОСТ 15150. В помещении для хранения не должно быть токопроводящей пыли, паров кислот и щелочей, а также газов, вызывающих коррозию и разрушающих изоляцию.
Расходомер не требует специального технического обслуживания при хранении.
-
4.3. Расходомеры могут транспортироваться автомобильным, речным, железнодорожным и авиационным транспортом (кроме негермети-зированных отсеков) при соблюдении следующих условий:
- транспортировка осуществляется в заводской таре;
- отсутствует прямое воздействие влаги;
-
- температура не выходит за пределы от минус 25 до 55 °С;
-
- влажность не превышает 98 % при температуре до 35 °С;
-
- вибрация в диапазоне от 10 до 500 Гц с амплитудой до 0,35 мм или ускорением до 49 м/с2;
-
- удары со значением пикового ускорения до 98 м/с2;
-
- уложенные в транспорте изделия закреплены во избежание падения и соударений.
Методика поверки расходомера «ВЗЛЕТ ЭР» утверждена ГЦИ СИ ФГУП ВНИИР.
Расходомер-счетчик электромагнитный «ВЗЛЕТ ЭР» проходит первичную поверку при выпуске из производства и после ремонта, периодические - в процессе эксплуатации.
Межповерочный интервал - 4 года.
5.2. Операции поверки-
5.2.1. При проведении поверки должны быть выполнены операции, указанные в табл.6.
Таблица 6
Наименование операций |
Пункт документа по поверке |
Операции, проводимые при данном виде поверки | |
первичная |
периодическая | ||
1. Внешний осмотр |
5.8.1 |
+ |
+ |
2. Опробование |
5.8.2 |
+ |
+ |
3. Подтверждение соответствия программного обеспечения |
5.8.3 |
+ |
+ |
4. Определение погрешности расходомера при измерении объема и среднего объемного расхода |
5.8.4 |
+ |
+ |
-
5.2.2. По согласованию с органами Росстандарта поверка может проводиться по сокращенной программе. При этом погрешность измерения отдельных параметров может не определяться.
-
5.2.3. Допускается выполнять поверку не в полном диапазоне паспортных значений параметров, а только в эксплуатационном диапазоне и только параметров, используемых при эксплуатации.
-
5.3.1. При проведении поверки применяется поверочное оборудование:
-
1) средства измерения и контроля:
-
- установка поверочная для поверки методом измерения объема (среднего расхода, массы) с пределами допускаемой относительной погрешности не более 1/3 пределов допускаемой относительной погрешности измерения расходомеров;
-
- частотомер Ч3-64 ДЛИ 2.721.066 ТУ, диапазон 0-150 МГц, относительная погрешность не более ± 0,01 %;
-
2) вспомогательные устройства:
-
- манометр, ГОСТ 2405, диапазон 0-2,5 МПа, кл. 0,6;
-
- IBM совместимый персональный компьютер.
-
5.3.2. Допускается применение другого оборудования, приборов и устройств, характеристики которых не уступают характеристикам оборудования и приборов, приведенных в п.5.3.1. При отсутствии оборудования и приборов с характеристиками, не уступающими указанным, по согласованию с представителем органа Росстандарта, выполняющего поверку, допускается применение оборудования и приборов с характеристиками, достаточными для получения достоверного результата поверки.
-
5.3.3. Все средства измерений и контроля должны быть поверены и иметь действующие свидетельства или отметки о поверке.
К проведению измерений при поверке и обработке результатов измерений допускаются лица, аттестованные в качестве поверителя, изучившие эксплуатационную документацию на расходомеры и средства поверки, имеющие опыт поверки средств измерений расхода и объема жидкости, а также прошедшие инструктаж по технике безопасности в установленном порядке.
5.5. Требования безопасностиПри проведении поверки должны быть соблюдены требования безопасности в соответствии с «Правилами технической эксплуатации электроустановок потребителями» и «Межотраслевыми правилами по охране труда (Правила безопасности) при эксплуатации электроустановок».
5.6. Условия проведения поверкиПри проведении поверки должны быть соблюдены следующие условия:
- температура окружающего воздуха от 15 до 25 °С;
- температура поверочной жидкости от 5 до 40 °С;
- относительная влажность воздуха от 30 до 80 %;
- атмосферное давление от 86,0 до 106,7 кПа;
-
- напряжение питания постоянного тока 24 В ± 3%;
-
- внешние электрические и магнитные поля напряженностью не более 400 А/м.
ПРИМЕЧАНИЯ.
-
1. Монтаж расходомера должен производиться в соответствии с инструкцией по монтажу.
-
2. При определении метрологических характеристик расходомера на поверочных установках необходимо:
-
- проверить состояние заземления поверочной установки;
-
- заземлить установленные испытуемые приборы. Заземление должно быть выполнено соединением корпуса прибора штатными заземляющими проводниками с трубопроводом измерительного участка с помощью винтового соединения, предусмотренного на боковой поверхности фланцев.
-
5.7.1. Перед проведением поверки должны быть выполнены следующие подготовительные работы:
- проверка наличия поверочного оборудования в соответствии с разделом 5.3 настоящей методики;
- проверка наличия действующих свидетельств или отметок о поверке средств измерений и контроля;
- проверка наличия паспорта с отметкой отдела технического контроля на поверяемый расходомер;
- проверка соблюдения условий раздела 5.6. настоящей методики.
-
5.7.2. Перед проведением поверки должна быть проведена подготовка к работе каждого прибора, входящего в состав поверочного оборудования, в соответствии с его инструкцией по эксплуатации.
-
5.7.3. Перед проведением поверки должна быть собрана поверочная схема в соответствии с Приложением Е.
-
5.7.4. Подключение поверочного и вспомогательного оборудования к расходомеру выполняется в соответствии с настоящей методикой.
-
5.8.1. Внешний осмотр
При проведении внешнего осмотра должно быть установлено соответствие внешнего вида расходомера следующим требованиям:
- на расходомер должен быть нанесен заводской номер;
- комплектность и заводской номер расходомера должны соответствовать указанным в паспорте;
- на расходомере не должно быть механических повреждений и дефектов покрытий, препятствующих чтению надписей и ухудшающих технические характеристики и влияющих на работоспособность.
ПРИМЕЧАНИЕ. При наличии загрязнения проточной части расходомера необходимо произвести ее чистку.
По результатам осмотра делается отметка о соответствии в протоколе (Приложение Е).
-
5.8.2. Опробование
Опробование расходомера осуществляется на поверочной установке.
Опробование допускается проводить в отсутствии представителя органа Росстандарта.
После включения питания и прогрева прибора, изменяя расход на поверочной установке, необходимо убедиться в соответствующих изменениях показаний расходомера.
-
5.8.3. Подтверждение соответствия программного обеспечения
Операция «Подтверждение соответствия программного обеспечения» включает:
- определение идентификационного наименования программного обеспечения;
- определение номера версии (идентификационного номера) программного обеспечения;
- определение цифрового идентификатора (контрольной суммы исполняемого кода) программного обеспечения.
Производится включение расходомера. После подачи питания встроенное программное обеспечение (ПО) расходомера выполняет ряд самодиагностических проверок, в том числе проверку целостности конфигурационных данных и неизменности исполняемого кода, путем расчета и публикации контрольной суммы.
При этом на индикаторе расходомера (или на подключенном к интерфейсному выходу расходомера компьютере) будут отражаться следующие данные:
- идентификационное наименование ПО;
- номер версии (идентификационный номер) ПО;
- цифровой идентификатор (контрольная сумма) ПО.
Результат подтверждения соответствия программного обеспечения считается положительным, если полученные идентификационные данные ПО СИ (идентификационное наименование, номер версии (идентификационный номер) и цифровой идентификатор) соответствуют идентификационным данным, указанным в описании типа средства измерений.
По результатам подтверждения соответствия программного обеспечения делается отметка о соответствии в протоколе (Приложение Е).
-
5.8.4. Определение погрешности расходомера
Определение погрешности расходомера рекомендуется выполнять на поверочных установках, позволяющих выполнять измерения без остановки потока.
Определение погрешности расходомеров выполняется при трех значениях расхода в зависимости от исполнения, в соответствии с табл.7.
Таблица 7
Исполнения расходомеров |
1-я поверочная точка |
2-я поверочная точка |
3-я поверочная точка |
ЭРСВ-Х10Х А ЭРСВ-Х10Х АР |
0,01 ’Онаиб |
0,025’Онаиб | |
ЭРСВ-Х40Х А ЭРСВ-Х40Х АР |
0,004-Онаиб | ||
ЭРСВ-Х40Х В ЭРСВ-Х40Х ВР |
0,004-Онаиб | ||
ЭРСВ-Х40Х АВ ЭРСВ-Х40Х АВР |
0,004-Онаиб | ||
ЭРСВ-Х50Х А ЭРСВ-Х50Х АР |
0,0033’Онаиб |
0,01 ’Онаиб |
0,25’Онаиб |
ЭРСВ-Х50Х В ЭРСВ-Х50Х ВР |
0,0033’Онаиб | ||
ЭРСВ-Х50Х АВ ЭРСВ-Х50Х АВР |
0,0033’Онаиб | ||
ЭРСВ-Х70Х В ЭРСВ-Х70Х ВР |
0,002-Онаиб | ||
ЭРСВ-Х70Х ВС ЭРСВ-Х70Х ВСР |
0,002-Онаиб |
0,004"Онаиб |
ПРИМЕЧАНИЯ:
-
1. В первой поверочной точке расход устанавливается с допуском + 10%, во второй и третьей поверочных точках расход устанавливается с допуском ± 10%.
-
2. Допускается в 3-й поверочной точке выполнять измерения при расходе 0ДОнаиб.
-
3. Значения расходов в поверочных точках могут выбираться иными - в соответствии с паспортным диапазоном работы расходомера.
-
4. Для расходомеров исполнений ЭРСВ-ХХ0Х Х Р необходимо производить определение погрешности в указанный поверочных точках, как при прямом, так и при обратном направлении потока измеряемой жидкости.
Выполняется по одному измерению при каждом значении расхода. Погрешность расходомера определяется сравнением значения объема Vо (среднего объемного расхода Qvo), измеренного поверочной установкой, и значения объема Vu (среднего объемного расхода Qvu), измеренного расходомером.
При поверке методом измерения объема в качестве действительного значения Vo используется значение объема жидкости, набранного в меру вместимости поверочной установки (или значение, измеренное эталонным расходомером-счетчиком). При поверке методом измерения массы, значение объема V0 определяется по формуле:
Vo = mo / р, м3 [5.1]
где р - плотность жидкости, кг/м3;
m0 - масса жидкости, кг.
Для определения значения массы жидкости m0, прошедшей через расходомер, используется поверочная установка с весовым устройством.
Перед началом испытаний на поверочной установке с весовым устройством необходимо определить по контрольному манометру давление жидкости, а по термометру - температуру в трубопроводе испытательного стенда поверочной установки. На основании измеренных значений температуры и давления по таблицам ГСССД 98-2000 «Вода. Удельный объем и энтальпия при температурах 0...1000 °С и давлениях 0,001...1000 МПа» определяется плотность жидкости р.
Значение среднего расхода Qw определяется по формуле:
Qvo = Vo / Ти, м /ч, [5.2]
где Qw - значение среднего расхода, м3 /ч;
Vo - значение объема, измеренное поверочной установкой, м3;
Ти - время измерения, ч.
Поверка расходомера выполняется по универсальному выходу, работающему в импульсном режиме, с помощью частотомера. Для этого частотомер подключается к универсальному выходу расходомера, устанавливается в режим счета импульсов и обнуляется. По стартовому синхроимпульсу импульсы с выхода расходомера начинают поступать на вход частотомера. Объем жидкости Vu, прошедшей через расходомер, определяется по формуле:
Vu = N • Kpi, м3 [5.3]
где N - количество импульсов, подсчитанное частотомером;
Kp1 - константа преобразования по универсальному выходу расходомера (определяется в соответствии с руководством по эксплуатации расходомера), м3/имп.
Измеренный средний объемный расход жидкости Qvu (м3/ч), прошедшей через расходомер, определяется по формуле:
Qvu = Vu / Ти, м3/ч, [5.4]
Определение погрешности расходомера при измерении объема жидкости выполняется по формуле:
V - V
5V = Vu Vo • 100 , % [5.5]
vV
o
Определение погрешности расходомера при измерении среднего объемного расхода жидкости выполняется по формуле:
Q - Q
5qv = Qvu Qvo • 100 , % [5.6]
Qvo
Минимально необходимый объем жидкости, пропускаемой через расходомер при одном измерении, при регистрации показаний с импульсного выхода расходомера должен быть таким, чтобы набрать не менее 500 импульсов.
При отсутствии поверочной установки, позволяющей выполнять измерения без остановки потока в трубопроводе, допускается выполнять определение относительных погрешностей расходомера на поверочной установке с остановкой потока и считывание результатов измерений по индикатору, RS- или импульсному выходу расходомера.
Поверка расходомера по индикатору, RS- выходу выполняется в следующей последовательности.
На индикаторе расходомера и подключенном к RS- выходу персональном компьютере (ПК) устанавливается режим вывода на экран поверяемого параметра. Перед каждым измерением в поверочной точке производится регистрация начального значения объема VH (м3), зарегистрированного расходомером. После пропуска жидкости через расходомер в данной поверочной точке, регистрируется конечное значение объема Vk (м3). По разности показаний рассчитывается измеренное значение объема Vu жидкости:
V и = Vk - Vh, м3 [5.7]
Далее расчеты выполняются в соответствии с формулами 5.4-5.6.
При регистрации показаний с RS- выхода и дисплея необходимо при одном измерении пропускать через расходомер такое количество жидкости, чтобы набирать не менее 500 единиц младшего разряда устройства индикации.
Результаты поверки считаются положительными, если погрешность расходомера при измерении объема, среднего объемного расхода жидкости не превышает значения, приведенного в Приложении И настоящего руководства для конкретного исполнения расходомера.
При положительных результатах поверки делается отметка о соответствии в протоколе (Приложение Е).
5.9. Оформление результатов поверки5.9.1. Положительные результаты поверки оформляются записью в паспорте расходомера, заверенной подписью поверителя с нанесением поверительного клейма, и расходомер допускается к эксплуатации с нормированной погрешностью.
5.9.2. В случае отрицательных результатов первичной поверки после юстировки расходомер возвращается на производство для устранения причин отрицательных результатов, после чего расходомер подлежит повторной поверке.
-
5.9.3. При отрицательных результатах периодической поверки расходомер к применению не допускается, в паспорте производится запись о непригодности расходомера к эксплуатации, а клеймо гасится.
3 Значение расхода, м3/ч | ||||||
Исполнение |
Все |
440/470(Л/Ф) В 540/570(Л/Ф) В |
440(Л/Ф) В 540(Л/Ф) В |
470(Л/Ф) В 570(Л/Ф) В |
440(Л/Ф) ВР 540(Л/Ф) ВР |
470(Л/Ф) ВР 570(Л/Ф) ВР |
Обозначение |
Онаиб |
Онаим |
Онаим | |||
Направление потока |
прямое |
обратное |
прямое |
любое | ||
б, % |
±2,0 |
±2,0 |
±2,0 |
±2,0 | ||
1:1 |
1:100 |
1:250 |
1:500 |
1:250 |
1:500 | |
10 |
2,83 |
0,028 |
0,011 |
0,006 |
0,011 |
0,006 |
15 |
6,37 |
0,064 |
0,025 |
0,013 |
0,025 |
0,013 |
20 |
11,32 |
0,113 |
0,045 |
0,023 |
0,045 |
0,023 |
25 |
17,69 |
0,177 |
0,071 |
0,035 |
0,071 |
0,035 |
32 |
28,98 |
0,29 |
0,116 |
0,058 |
0,116 |
0,058 |
40 |
45,28 |
0,453 |
0,181 |
0,091 |
0,181 |
0,091 |
50 |
70,75 |
0,708 |
0,283 |
0,141 |
0,283 |
0,141 |
65 |
119,6 |
1,196 |
0,478 |
0,239 |
0,478 |
0,239 |
80 |
181,1 |
1,811 |
0,724 |
0,362 |
0,724 |
0,362 |
100 |
283 |
2,83 |
1,132 |
0,566 |
1,132 |
0,566 |
150 |
636,8 |
6,368 |
2,547 |
1,274 |
2,547 |
1,274 |
200 |
1132 |
11,32 |
4,528 |
2,264 |
4,528 |
2,264 |
300 |
2547 |
25,47 |
10,188 |
- |
10,188 |
- |
Онаиб - наибольший расход нормируемого диапазона; Онаим - наименьший расход нормируемого диапазона; б - допускаемые пределы относительной погрешности; Кд - коэффициент перекрытия диапазона расходов; Dy - типоразмер.
ПРИМЕЧАНИЕ. Приведенные значения расходов округлены до третьего знака после запятой. Эти значения являются рекомендуемыми при проектировании.
Таблица А.2. Значения измеряемого расхода для расходомеров на малые расходы
3 Значение расхода, м /ч | ||||
Исполнение |
Все |
440(Л/Ф) В 540(Л/Ф) В |
440(Л/Ф) В 540(Л/Ф) В |
440(Л/Ф) ВР 540(Л/Ф) ВР |
Обозначение |
Онаиб |
Онаим |
Онаим | |
Направление потока |
прямое |
обратное |
прямое |
любое |
б, % |
±2,0 |
±2,0 |
±2,0 |
±2,0 |
Кд Dy, мм |
1:1 |
1:100 |
1:250 |
1:250 |
25 |
8,9 |
0,089 |
0,036 |
0,036 |
32 |
14,5 |
0,145 |
0,058 |
0,058 |
50 |
35,4 |
0,354 |
0,142 |
0,142 |
Онаиб - наибольший расход нормируемого диапазона; Онаим - наименьший расход нормируемого диапазона; б - допускаемые пределы относительной погрешности; Кд - коэффициент перекрытия диапазона расходов; Dy - типоразмер.
ПРИМЕЧАНИЕ. Приведенные значения расходов округлены до третьего знака после запятой. Эти значения являются рекомендуемыми при проектировании.
ПРИЛОЖЕНИЕ Б. Вид расходомера135
90

* - справочный размер
1 - измерительный блок; 2 - первичный преобразователь расхода; 3 - гермоввоД кабеля связи; 4 - гермоввоД кабеля питания; 5 - электрические перемычки для соединения корпуса ЭМР с трубопроводом.
Dy, мм |
d*, мм |
D*, мм |
D1*, мм |
L*, мм |
H*, мм |
Масса, не более, кг |
20 |
19 |
50 |
73 |
113 |
160 |
0,9 |
25 |
24,5 |
57,5 |
73 |
113 |
160 |
1,0 |
32 |
29 |
65 |
82 |
123 |
168 |
1,2 |
40 |
38 |
75 |
90 |
133 |
176 |
1,3 |
50 |
47 |
87 |
102 |
153 |
188 |
1,8 |
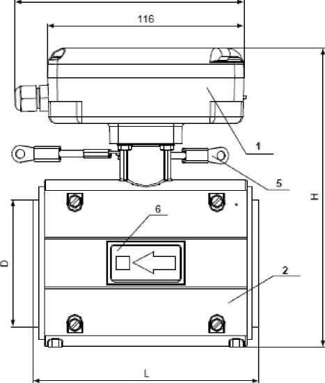
Рис.Б.1. Вид расходомера исполнений ЭРСВ-ХХ0Л типоразмеров
Dy20_Dy50 с пластиковой проточной частью.
135


* - справочный размер
1 - измерительный блок; 2 - первичный преобразователь расхода; 3 - гермоввоД кабеля связи; 4 - гермоввоД кабеля питания; 5 - электрические перемычки для соединения корпуса ЭМР с трубопроводом; 6 - защитные кольца.
Dy, мм |
d*, мм |
D*, мм |
D1*, мм |
L*, мм |
H*, мм |
Масса, не более, кг |
10 |
9,5 |
34 |
60 |
93 |
147 |
0,8 |
15 |
14 |
39 |
60 |
93 |
147 |
0,8 |
65 |
61 |
109 |
122 |
174 |
208 |
3,7 |
80 |
74 |
120 |
141 |
174 |
228 |
4,9 |
Рис.Б.2. Вид расходомера исполнений ЭРСВ-ХХ0Л с проточной частью, футерованной фторопластом и пластиковым кожухом.

* - справочный размер
1 - измерительный блок; 2 - первичный преобразователь расхода; 3 - гермоввоД кабеля связи; 4 - гермоввоД кабеля питания; 5 - электрические перемычки для соединения корпуса ЭМР с трубопроводом; 6 - защитные кольца.
Dy, мм |
d*, мм |
D*, мм |
D1*, мм |
L*, мм |
H*, мм |
Масса, не более, кг |
100 |
90 |
149 |
159 |
216 |
256 |
9,4 |
150 |
139 |
202 |
219 |
236 |
316 |
15,6 |
Рис.Б.3. Вид расходомера исполнений ЭРСВ-ХХ0Л с проточной частью, футерованной фторопластом и стальным кожухом.

* - справочный размер
90

1 - измерительный блок; 2 - первичный преобразователь расхода; 3 - гермоввоД кабеля связи; 4 - гермоввоД кабеля питания; 5 - электрические перемычки для соединения корпуса ЭМР с трубопроводом; 6 - защитные кольца; 7 - дополнительный заземляющий элемент.
Dy, мм |
d*, мм |
D*, мм |
D1*, мм |
L*, мм |
H*, мм |
d1*, мм |
N |
Масса, не более, кг |
20 |
19 |
50 |
105 |
158 |
186 |
14 |
4 |
3,6 |
25 |
24 |
57 |
115 |
158 |
191 |
14 |
4 |
3,8 |
32 |
29 |
65 |
135 |
202 |
207 |
18 |
4 |
5,6 |
40 |
39 |
75 |
145 |
202 |
215 |
18 |
4 |
6,8 |
50 |
48 |
87 |
160 |
203 |
229 |
18 |
4 |
8,7 |
65 |
61 |
109 |
180 |
220 |
249 |
18 |
8 |
11,2 |
80 |
74 |
120 |
195 |
230 |
266 |
18 |
8 |
13,9 |
100 |
90 |
149 |
230 |
251 |
293 |
22 |
8 |
19,8 |
150 |
139 |
202 |
300 |
324 |
358 |
26 |
8 |
36,2 |
200 |
194 |
258 |
358 |
362 |
414 |
26 |
12 |
58,8 |
300 |
295 |
362 |
485 |
514 |
531 |
30 |
16 |
120,2 |
Рис.Б.4. Вид расходомера исполнений ЭРСВ-ХХ0Ф типоразмеров
Dy20...Dy300 с проточной частью, футерованной фторопластом.


50
3 4

* - справочный размер
1 - измерительный блок; 2 - первичный преобразователь расхода; 3 - гермоввоД кабеля связи; 4 - гермоввоД кабеля питания; 5 -электрические перемычки для соединения корпуса ЭМР с трубопроводом; 6 - наклейка для исполнений на малые расходы; 7 - сужающие вставки.
Dy, мм |
d*, мм |
D*, мм |
D1*, мм |
L*, мм |
H*, мм |
Масса, не более, кг |
25 |
21 |
57,5 |
73 |
113 |
160 |
1,0 |
32 |
25 |
65 |
82 |
123 |
168 |
1,2 |
50 |
42 |
87 |
102 |
153 |
188 |
1,8 |
Рис.Б.5. Вид расходомера исполнений ЭРСВ-Х40Л для работы на малых расходах.

(
в
(
РАСХОДОМЕР-СЧЕТЧИК ЭЛЕКТРОМАГНИТНЫЙ
модификация Лайт М
Напряжение питания.................
Т емпература жидкости..............
Максимальная скорость потока.
RFID


]ЭРСВ-440Ф В [
DN 40 45,3м3/ч
П - транспортная (эксплуатационная) пломба;
RFID - наклейка, свидетельствующая об установленном транспондере RFID.
Рис.Б.6. Вид сверху измерительного блока расходомера фланцованного исполнения, изготовленного из полимера.
Пломба поверителя
Эксплуатационная пломба

ХР2 - разъем подключения шлейфа модуля интерфейсов или преобразователя RS-232;
XP3 - разъем подключения кабеля питания =24В;
XT1 - контактная колодка универсального выхода №2;
XT2 - контактная колодка универсального выхода №1;
SK1 - переключатель установки режима работы универсального выхода №1;
SK2 - переключатель установки режима работы универсального выхода №2;
J1, J2 - контактные пары установки коэффициента преобразования универсального выхода №1;
J3 - контактная пара разрешения модификации настроечных параметров;
J4 - контактная пара разрешения модификации сервисных параметров;
HL1 - светодиод индикации статуса работы расходомера;
В - винты крепления защитной крышки.
Рис.Б.7. Вид измерительного блока без лицевой панели (вид модуля обработки).
J1J2/"

ВЫХОДИ
ВЫХОД-2
РЕЖИМ |
J3 |
J4 |
РАБ. | ||
НАСТР. |
= |
+ |
СЕРВ. |
+ |
= |
HL1
□ □ |
1 |
□ □ |
1 |
ш |
s г (/) |
ш |
см * (/) |
12 11 | |
- 24 В+ 00 |
Рис.Б.8. Вид модуля RFID, установленного в измерительный блок.
Оконечные каскады универсальных выходов расходомера выполнены по одинаковой схеме, приведенной на рис.В.1. В скобках на схеме указаны обозначения контактных пар, контактов разъема и наименования сигналов для универсального выхода №2.

Для установленного значения Активный уровень - Высокий наличию импульса на выходе в частотном и импульсном режимах, а также наличию события в логическом режиме соответствует разомкнутое состояние электронного ключа. При отсутствии импульса и отсутствии события электронный ключ замкнут.
Для установленного значения Активный уровень - Низкий состояния электронного ключа обратные.
В активном режиме напряжение на выходе при отсутствии импульса, а также соответствующее уровню Высокий в логическом режиме может быть от 2,4 до 5,0 В. При наличии импульса и при уровне Низкий в логическом режиме - напряжение на выходе не более 0,5 В. Работа выхода в активном режиме допускается на нагрузку с сопротивлением не менее 1 кОм.
Перевод универсальных выходов в активный режим осуществляется переключателями SK1 и SK2 на модуле обработки расходомера.
В пассивном режиме допускается питание от внешнего источника напряжением постоянного тока от 3 до 30 В. Допустимое значение коммутируемого тока нагрузки не более 150 мА.
Длина линии связи - до 300 м.
ПРИЛОЖЕНИЕ Г. Источник вторичного питания90*


* - справочный размер
1 - источник питания; 2 - защелка Для крепления на DIN-рейку 35/7,5; 3 - контактная колоДка выходного напряжения; 4 - индикатор работы источника вторичного питания; 5 - отверстие Для регулировки выхоДного напряжения; 6 - контактная колоДка поДключения сетевого кабеля ~ 220 В 50 Гц.
Рис.Г.1. Источник вторичного питания ADN15-24.
ПРИЛОЖЕНИЕ Д. Рекомендации по применению расходомера с тепловычислителями «ВЗЛЕТ ТСРВ»-
1. Универсальные выходы расходомера «ВЗЛЕТ ЭР» исполнений ЭРСВ-4Х0(5Х0)Л/Ф для связи с тепловычислителями «ВЗЛЕТ ТСРВ» исполнений ТСРВ-024, -024М, -025, -026, -026М, -027 могут использоваться как с активным, так и с пассивным режимом работы оконечных каскадов при соответствующем режиме входа теп-ловычислителя (комбинация режимов «активный выход - пассивный вход» или «пассивный выход - активный вход»).
Комбинацию режимов «активный выход - пассивный вход» рекомендуется использовать при необходимости контроля наличия питания расходомера.
-
2. При работе с тепловычислителем «ВЗЛЕТ ТСРВ» исполнения ТСРВ-033 рекомендуется использовать комбинацию режимов «активный выход - пассивный вход» для экономии ресурса встроенной батареи питания тепловычислителя.
-
3. При использовании в работе с тепловычислителем «ВЗЛЕТ ТСРВ» исполнения ТСРВ-034 комбинации режимов «пассивных выход -активный вход» максимальная частота следования импульсов на входе тепловычислителя 10 Гц, комбинации режимов «активный выход - пассивный вход» - 100 Гц.
(обязательное)

1 - трубопровод поверочной установки; 2 - расхоДомер; 3 - счетчик импульсов (частотомер); 4 - персональный компьютер.
Рис.Е.1. Схема соединений при поверке расходомера «ВЗЛЕТ ЭР» модификации «Лайт М».
Протокол поверки расходомера «ВЗЛЕТ ЭР» модификации «Лайт М»
Заводской номер __________________ Год выпуска _________
Вид поверки _________________
Наименование операций |
Пункт документа по поверке |
Отметка о соответствии |
Примечание |
1. Внешний осмотр. |
5.8.1. | ||
2. Опробование |
5.8.2. | ||
3. Подтверждение соответствия программного обеспечения расходомера |
5.8.3. | ||
4. Определение погрешности расходомера при измерении объема и среднего объемного расхода. |
5.8.4. |
Расходомер признан _____________________ к эксплуатации
(годен, не годен)
Дата поверки « ___ » __________ 20___ г.
Поверитель ______________________/___________________/
(подпись) (Ф.И.О.)
ПРИЛОЖЕНИЕ Ж. Полная кодификация расходомеровИсполнение ЭРСВ-ХХ0Х ХХХ.
а б в г д е
а. Код по конструктивному исполнению измерительного блока расходомера:
-
4 - исполнение без индикатора;
-
5 - исполнение с индикатором.
б. Код по динамическому диапазону (отношение наибольшего расхода к наименьшему) при прямом направлении потока измеряемой жидкости:
1 - 1:100;
-
4 - 1:250;
-
5 - 1:300;
7 - 1:500.
в. Код по области применения:
0 - общепромышленное.
г. Код по способу монтажа ППР в трубопровод:
Л - под присоединение типа «сэндвич»;
Ф - фланцованное исполнение.
д. Код по нормируемым пределам допускаемых относительных погрешностей при измерении среднего объемного расхода (объема) при прямом направлении потока измеряемой жидкости. Возможны одна или две позиции (см. табл.Ж.1.):
А - ± 1%;
В - ± 2%;
С - ± 5%.
е. Код по нормируемым пределам допускаемых относительных погрешностей при измерении среднего объемного расхода (объема) и динамическому диапазону при обратном направлении потока измеряемой жидкости:
Р - пределы допускаемых относительных погрешностей при измерении среднего объемного расхода (объема) и динамические диапазоны при прямом и обратном направлении потока измеряемой жидкости эквивалентны. Возможны одна или две позиции (см. табл.Ж.2.);
Индекс Р отсутствует - пределы допускаемых относительных погрешностей при измерении среднего объемного расхода (объема) в обратном направлении - ± 2% в динамическом диапазоне 1:100.
Пределы допускаемых относительных погрешностей расходомеров исполнений ЭРСВ-ХХ0Х при измерении среднего объемного расхода (объема) приведены в таблице Ж.1.
Таблица Ж.1.
Исполнения расходомеров |
Пределы допускаемых относительных погрешностей при измерении среднего объемного расхода (объема) |
Диапазон измеряемого среднего объемного расхода |
Пределы допускаемых относительных погрешностей при измерении среднего объемного расхода (объема) |
Диапазон измеряемого среднего объемного расхода |
при прямом направлении потока измеряемой жидкости |
при обратном направлении потока измеряемой жидкости | |||
ЭРСВ-Х10Х А |
± 1,0 % |
от 0,01 ^наиб до Qнаиб (1:100) |
± 2,0 % |
от 0,01^наиб до Qнаиб (1:100) |
ЭРСВ-Х40Х А |
± 1,0 % |
от 0,004^наиб до Qнаиб (1:250) | ||
ЭРСВ-Х40Х В |
± 2,0 % |
от 0,004^наиб до Qнаиб (1:250) | ||
ЭРСВ-Х40Х АВ |
± 1,0 % |
от 0,01 ^наиб до Qнаиб (1:100) | ||
± 2,0 % |
от 0,004^наиб до 0,01 ^наиб (от 1:250 до 1:100) | |||
ЭРСВ-Х50Х А |
± 1,0 % |
от 0,0033^наиб до Qнаиб (1:300) | ||
ЭРСВ-Х50Х В |
± 2,0 % |
от 0,0033^наиб до Qнаиб (1:300) | ||
ЭРСВ-Х50Х АВ |
± 1,0 % |
от 0,01 ^наиб до Qнаиб (1:100) | ||
± 2,0 % |
от 0,003^наиб до 0,01 ^наиб (от 1:300 до 1:100) | |||
ЭРСВ-Х70Х В |
± 2,0 % |
от 0,002^наиб до Qнаиб (1:500) | ||
ЭРСВ-Х70Х ВС |
± 2,0 % |
от 0,004^наиб до Qнаиб (1:250) | ||
± 5,0 % |
от 0,002^наиб до 0,004^наиб (от 1:500 до 1:250) |
Пределы допускаемых относительных погрешностей расходомеров исполнений ЭРСВ-ХХ0ХР при измерении среднего объемного расхода (объема) приведены в таблице Ж.2.
Таблица Ж.2.
Исполнения расходомеров |
Пределы допускаемых относительных погрешностей при измерении среднего объемного расхода (объема) |
Диапазон измеряемого среднего объемного расхода |
при прямом и обратном направлении потока измеряемой жидкости | ||
ЭРСВ-Х10Х АР |
± 1,0 % |
от 0,01 ^наиб до Qнаиб (1:100) |
ЭРСВ-Х40Х АР |
± 1,0 % |
от 0,004^наиб до Qнаиб (1:250) |
ЭРСВ-Х40Х ВР |
± 2,0 % |
от 0,004^наиб до Qнаиб (1:250) |
ЭРСВ-Х40Х АВР |
± 1,0 % |
от 0,01 ^наиб до Qнаиб (1:100) |
± 2,0 % |
от 0,004^наиб до 0,01 ^наиб (от 1:250 до 1:100) | |
ЭРСВ-Х50Х АР |
± 1,0 % |
от 0,0033^наиб до Qнаиб (1:300) |
ЭРСВ-Х50Х ВР |
± 2,0 % |
от 0,0033^наиб до Qнаиб (1:300) |
ЭРСВ-Х50Х АВР |
± 1,0 % |
от 0,01 ^наиб до Qнаиб (1:100) |
± 2,0 % |
от 0,003^наиб до 0,01 ^наиб (от 1:300 до 1:100) | |
ЭРСВ-Х70Х ВР |
± 2,0 % |
от 0,002^наиб до Qнаиб (1:500) |
ЭРСВ-Х70Х ВСР |
± 2,0 % |
от 0,004^наиб до Qнаиб (1:250) |
± 5,0 % |
от 0,002^наиб до 0,004^наиб (от 1:500 до 1:250) |
re1 er.xxxLFM doc1.11
53