Методика поверки «Сигнализаторы СТМ-2» (АПИ2.840.039 Д5)


СИГНАЛИЗАТОРЫ
СТМ-2
Методические указания по поверке
АПИ2.840.039 Д5
ЗАРЕГИСТРИРОВАНО
М-СК-04, 20 #~
' А 6 ' f/ 20 ■
г.
(да^<)//
i Подпись

I.I. При проведении поверки должны выполняться операции, указанные в табл. I.I.
Таблица I.I
Наименование операций |
Номер пункта методических указаний |
Обязательность проведеь.л! операций при: | ||
выпуске ил производства |
ремонте |
эксплуатации и хранении | ||
Внешний осмотр |
4.1 |
Да |
Да |
Да |
Проверка электрической прочности изоляции |
4.2 |
Да- |
Нет |
Нет |
Проверка электрического | ||||
сопротивления изоляции |
4.3 |
Да |
Да |
Да |
Проверка герметичности газовой системы блока | ||||
датчика сигнализатора СТМ-2П |
4.4 |
Да- |
Да |
Да |
Проверка устройства для контроля исправности сигнализаторов |
4.5 |
Дм |
Да |
Да |
Проверка диапазона сигнальных концентраций, основной погрешности и выдачи сигнала сиг-нализатооями |
4.6 |
Да |
Дд |
Да |
Лримечани я:
£•^Периодичноепроведения государственной поверки по •пл. I, о-t табл. 1.1 два раза в год. Зигнализатоо пси выпуск" чз производства и в эксплуатации подлежит обязательной rorv" даоствекной. псзеоке.
2. дрема проведения государственной г.овезки - Z't
ПРЛЛСЕНИЕ
ПРОТОКОЛ ПОВЕРКИ
сигнализатора СТМ-2___
Заводской > ____
Предприятие-изгс еовитель _______________________________
Дата выпуска ___________________________________________
Результат поверки
-
1. Результат проведения внешнего осмотра __
-
2. Результат проверки электрической прочности, изоляции
-
3. Результат проверки электрического сопротивления изоляции ____________________________________________________________
-
4. Результат проверки герметичности газовой системы блока
оя-гпикя______________________________________________________________
-
5. Результат проверки устройства для контроля исправности
с и г налм э ато ра_____________' _____________________________
-
6. Результат проверки диапазона сигнальных концентраций, основной погрешности и времени срабатывания сигнализатора
За ключ ени е ____________________________________________
По ве рит ел ь _______________________
5. ОФОРМЛЕНИЕ РЕЗУЛЬТАТОВ ПОВЕРКИ
■ 6 7» .
-
5.1. При проверке сигнализаторов ведут протокол (приложение I). В конце протокола делают вывод о соответствии сигнализаторов предъявляемым к нему требованиям.
-
5.2. На сигнализатор, удовлетворяющий всем требованиям настоящих методических указаний,
наносят оттиск поверительного клейма.
-
5.3. Сигнализаторы, не удовлетворяющие требованиям настоящих методических указаний, к эксплуатации не допускаются, клеймо предыдущей поверки гасят.
-
6.1. Лица, производите поверку сигнализаторов, должны пройти инструктаж по технике безопасности и пожарной безопасности.
-
6.2. Требования безопасности при эксплуатации баллонов со сжатыми газовоздушными смесями должны выполняться согласно "Правилам устройства и безопасной эксплуатации сосудов, работающих под давлением".
-
6.3. Помещение, в котором производят поверку сигнализаторов, должно быть оборудовано вытяжной вентиляцией.
-
6.4. Метановоздушные смеси не допускается сбрасывать в атмосферу рабочих помещений.
-
6.5. В помещении, где производят поверку сигнализаторов должны быть:
огнетушитель;
ящик с песком;
асбестовое одеяло.
2. СРЕДСТВА ПОВЕРКИ-
2.1. При проведении поверки должны применяться следящие средства г.оверки: поверочные гаэовоздушные смеси согласно табл. 2.1, приборы и оборудование согласно табл. £.2.
Таблица 2.1 % НКПВ (объемная доля, %)
I
2
*
смеси
Наименование компонента |
Содержание компонента в смеси |
Метан |
7,0 (0,37) |
Воздух |
Остальное |
Метан |
16,0 (0,85) |
Воздух |
Остальное |
Продолжение табл. 2.1
% НКПВ (объемная доля, %)
~«п сме си |
- Погрешность приготовления |
Погрешность аттестации |
Суммарная погрешность |
Количество смеси на одну поверку, 1 | |
С1М-2Д |
стм-гг: | ||||
I |
+1,1 (+0,06) |
+0,7 (+0,04) |
+ 1,8 (+0,10) |
135 |
10 |
2 |
+1,1 (+0,06) |
+0,7 (+0,04) |
+1,8 (+0,10) |
135 |
10 |
Таблица 2.2
Наименование |
Тип, характеристики |
Стандарт или ТУ |
Кол. |
Универсальная пробойноиспытательная установка |
У ПУ-ЮМ |
АЭ2.771.001 ТУ |
I |
Мегаомметр |
M4I0I/3 500 V |
ГОСТ 23706-79 |
I |
Мегаомметр |
M4I0I/I 100 V |
ГОСТ 23706-79 |
I |
Манометр образцовый |
M0-I60-0.I МРа-0,4 |
ГОСТ 6521-72 |
I |
Стакан |
5Л6.2Ю.004 |
I | |
Вентиль точной регулировки |
ВТР |
ТУ25-05.2693-80 |
I |
Ротаметр |
РМ- А-0,16 ГУЗ |
ГОСТ 13045-81 |
I |
Баллон для воздуха |
8 - 150У |
ГОСТ 949-73 |
2 |
Секундомер |
СДЛпр-2б-2 |
ГОСТ 5072-79 |
т 1 |
Прибор комбинированный |
Ц4341 |
ТУ 25-04-3300-77 |
I |
Трубка поливинилхлоридная |
6 х 1,5 |
ТУ6-71-2-120-73 |
5 и |
Вольтметр |
37-22 |
XB2.7I0.99I ТУ |
I |
Примечания:
-
1. Проверочные газо воздушные смеси поставляются по ТУ6-21-28-79 Балашихинским кислородным заводом.
-
2. Допускается использовать поверочные газовоздушные смеси, изготовленные Смоленским ПО "Аналитприбор".
. 3. Допускается применение приборов и оборудования других типов, класс точности и характеристики’ которых не хуже указанных.
-
3. УСЛОВИЯ ПОВЕРКИ И ПОДГОТОВКА К НЕЙ
-
3.1. При проведении поверки должны соблюдаться следующие условия:
-
-
1) температура окружающей среды плюс (25 + 10) °C;
-
2) относительная влажность окружающей среды от 30 до 80
-
3) атмосферное давление от 84 до 106,7 кга (от 630 дс-ЭОО я* Д<);
-
4) напряжение питания <220 + ID V;
Сигнализатор в течение I min не должен срабатывать. Верхний светодиод КОНЦЕНТРАЦИЯ не должен загореться. На разъеме Х7 СИГНАЛИЗАЦИЯ контакты I и 2, 4 и 5 не должны замыкаться, что проверяют прибором Ц4341.
Трехходовой кран переводят в положение АНАЛИЗ.
-
4.6.6. Производят проверку времени выдачи сигналов сигнализатором СТМ-2П, для чего:
-
1) подсоединяют к установке баллон с поверочной смесью * 2;
-
2) переводят трехходовой кран в положение КОНТРОЛЬ и устанавливают по ротаметру расход смеси, равный
(16,7 + 1,38) • Ю_с> а?/в ; (60 + 5 1/h); сигнализатор должен сработать;
-
3) переводят трехходовой кран в положение АНАЛИЗ и продувают линию воздухом;
-
4) переводят трехходовой кран в положение КОНТРОЛЬ и одновременно включают секундомер.
Сигнализатор должен сработать, должны загореться светодиоды КОНЦЕНТРАЦИЯ. Время выдачи сигналов должно быть не более 30 ■. На разъеме Х7 СИГНАЛИЗАЦИЯ должны замкнуться контакты I и 2, 4 и 5, что проверяют прибором Ц4341.
-
4.6.7. Результаты проверки считают положительными, если при подаче смеси Jt1 I сигнализаторы не срабатывают, а при подаче смеси № 2 сигнализаторы срабатывают, причем сигнализатор С1М-2Д не позднее, чем через 60 ■, а сигнализатор СТМ-2П - не позднее, чем через 50 ■-
Схема установки для проверки сигнализатора
СТИ-2П

I» 5, II, 13 - итуцор;
-
2 - фильтр;
-
3 - редуктор давления;
-
4 - юаектор;
-
6 - ротаметр;
-
7 - датчик;
-
8 - блок сигнализации и питания;
-
9 - баллон с роверочнов смесью; 10 - вентиль точной регулировки;
12 - кран трехходовой
Рис. 4.3
-
5) частота питания переменного тока ‘(50 + 1) Hr;
-
6) механические воздействия и внешние электрические и магнитные поля должны находиться d пределах, не влияющих на работу сигнализаторов;
-
7) допустимое содержание пыли, масел, влаги и агрессивных смесей в воздухе питания для сигнализатора СП4-2П пс РОСТ 17433-80.
Давление линии сжатого воздуха от 245 до 588 кРа
(от 2,5 до 6 kgf/свг2 ) при допустимом изменении давления + 10 %.
‘ 3.2. Перед проведением поверки сигнализаторы должны
быть установлены в рабочем положении согласно требованиям технического описания и инструкция по вксплуатации АПИ2.840.039 ТО, прогреты в течение 30 eln.
4. ПРОВЕДЕНИЕ ПОВЕРНИ-
4.1. Внешний осмотр
4;1.1. При внешнем осмотре должно быть установлено соответствие сигнализаторов следующим требованиям:
-
1) сигнализаторы должны иметь неповрежденные пломбы;
-
2) маркировка сигнализаторов должна соответствовать требованиям АПИ2.840.039 ТО;
-
3) комплектность сигнализаторов должна соответствовать требованиям паспорта АПИ2.840.039 ПС или АПИ2.840.039-01 ПС;
-
4) сигнализаторы не должны иметь внешних дефектов (неисправность разъемов, гнезд и т.д.).
’ 4.2. Проверка электрической прочности изоляции
-
4.2.1. Проверку производят на пробойной установке мощностью не менее 0,5 kV * А отдельно для блока сигнализации и питания и датчика.
-
4.2.2. Датчик должен быть отсоединен от блока сигнализации и питания. Анализируемые смеси не должны подаваться на сигнализаторы.
Электрическое питание должно быть отключено, й тумблер ВКЛ-ВЫКЛ на блоке сигнализации и питания - включен.
-
4.2.3. Проверку производят путем приложения испытательного, практически синусоидального напряжения между корпусом И контактами разъемов блока сигнализации и питания согласно табл. 4.1 и корпусом и контактами разъема кабеля датчика согласно табл. 4.2.
Таблица 4.1
— Разъем |
Контакты разъема |
Напряжение, V | |
пробойной установки |
мегаомметра | ||
XI |
(1,2)-.. ■(I, 2, 4, 5, 7, 8, 10, II) |
500 . 750 |
100 500 |
Т а б л и ц а 4.2 | |||
Контакты разъема кабеля |
Напряжение. V | ||
пробойной установки |
мегаомметра | ||
• (I, 2, 3, 4, 5, 8, 9, 10) |
'•? 500 |
■ 100 |
Примечание. Контакты, заключенные в скобки, соединяют между собой.
Производят следующие операции:
-
1) подсоединяют к установке баллон (I) с поверочной смесью № I (см. табл. 2.1);
-
2) плавно открывают расход смеси по ротаметру, равный 60-120^/5 и пропускают через стакан (5) смесь в течение 1,5 -т'П . Затем закрывают вентиль на баллоне.
Сигнализатор не должен срабатывать. Верхний светодиод КОНЦЕНТРАЦИЯ не должен загореться. На разъеме Х7 СИГНАЛИЗАЦИЯ контакты I и 2, 4 и 5 не должны замыкаться, что проверяют прибором Ц 4341.
-
4.6.4. Производят проверку времени выдачи сигналов сигнализаторами СТН-2Д, для чего:
-
1) подсоединяют к установке баллон с поверочной смесью № 2:,
-
2) производят операции согласно п. 4.6.3 (2).
Сигнализатор должен сработать, должны загореться светодиоды КОНЦЕНТРАЦИЯ. Время выдачи сигналов должно быть не более 60s .На разъеме Х7 СИГНАЛИЗАЦИЯ должны замкнуться контакты I и 2, 4 и 5, что проверяют прибором Ц 4341.
-
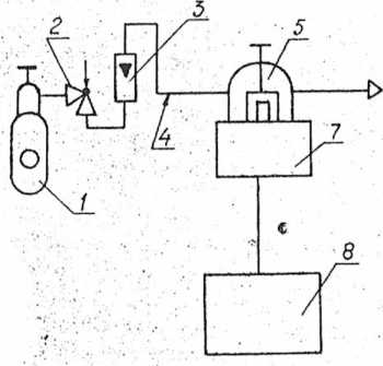
4.6.5. Проверку сигнализаторов СТМ-2П производят на установке, собранной по схеме рис. 4.3, для чего:
-
1) подсоединяют к установке баллон (9) с поверочной смесью Н;
-
2) трехходовый кран (12) устанавливают в положение АНАЛИЗ и вентилем ротаметра (6) устанавливают расход воздуха,
равный (16,7 + 1,38).10-^шл/г (60 + 5 ^) - поплавок ротаметра устанавливают на уровне риски.
-
3) трехходовый кран устанавливают в положение КОНТРОЛЬ, открывают вентиль на баллоне и вентилем точной регулировки (10) устанавливают по ротаметру блока датчика расход смеси, равный (16,7 + 1,38) -10'6 т (60 + 5 ^/fi ) - поплавок ротаметра устанавливают на уровне риски.
Схема установки для проверки сигнализатора
ста-ад
Сброс
6 вытяжной сии а ср
(г
г
-
I - баллон с. проверочной смесью;
2- вентиль точной регулировки;
-
3 - ротаметр;
-
4 - трубка поливинилхлоридная;
-
5 - стакан;
' 7 - датчик;
блок сигнализации и питания
Рис. 4.2
-
4.2.. 4. Подачу испытательного напряжения начинают от нуля или с величины рабочего напряжения. Поднимают напряжение плавно или ступенями, не превышающими 10 % испытательного напряжения, за время от 5 до 20 в.
Испытуемые цепи выдерживают под испытательным напряжением в течение I min, после чего напряжение плавно или сту*-пенями снижают до нуля или близкого к рабочему за время от 5 до 20 в.
-
4.2.5. Результаты, проверки считают положительными, если jb процессе испытаний не было пробоя или поверхностного разоряла.
-
4.3. Проверка электрического сопротивления изоляции.
-
4.3.1. Проверку производят мегаомметром, напряжение которого прикладывают между корпусом и контактами разъемов согласно табл. 4.1 и табл. 4.2.
-
4.3.2. Отсчитывание показаний производят через 10 в или, если показания не устанавливаются, через I min после приложения испытательного напряжения.
-
4.3.3. Результаты проверки считают положительными, если сопротивление изоляции не менее 20 МЛ .
-
4.4. Проверка герметичности газовой системы блока датчика.
-
4.4.1. Проверку производят воздухом класса 5 по ГОСТ 17433-80 по схеме, представленной на рис. 4.1..
-
4.4.2. Перед проверкой необходимо произвести следующие операции:
-
1) блок датчика отсоединить от блока сигнализации и питания. На штуцер (II) установить заглушку;
-
2) к штуцеру (9) крана трехходового (10) через тройник (12) подсоединить манометр образцовый (б) с пределом измерения 0-98 кРа (0-1 kgf/cm2), кл. 0,4;
-
3) кран трехходовой перевести в положение "Контроль";
-
4) вентиль ротаметра (7) закрыть.
-
4.4.3. Для проверки герметичности газовой системы на штуцер (9) через тройник подают воздух и по манометру уста-
■ 7
Схема проверки герметичности

I, 5, 9, II - штуцер;
-
2 - фильтр;
-
3 - редуктор давления;
-
4 - эжектор;
-
6 - манометр образцовый;
-
7 - ротаметр;
-
8 - датчик;
Ю - кран трехходовой; 12 - тройник.
Рис. 4.1
навливают давление 29,4 кРа (0,3 kgf/on^). Поело этого перекрыть сжатый воздух до манометра. Манометром образцовым замеряют спад давления.
-
4.4.4. Результаты проверки считают положительными, если спад давления в системе за 2 min не превышает 2,94 кРа (0,03 Ktflc'Ti2}.
-
4.5. Проверка ус\ .йства для контроля исправности сигнализаторов.
-
4.5.1. Проверку производят путем имитации обрыва цепей питания датчика, пёрегорания чувствительного элемента. Включают сигнализатор тумблером СЕТЬ. Затем отсоединяют кабель латника от блока сигнализации и питания, имитируя обрыв цепей питания датчика, или при подсоединенном кабеле отсоединяют провода кабеля с контактов 8,11 разъема (соединив провода между собой), имитируя перегорание чувствительного (измерительного) элемента.
-
-
На блоке сигнализации и питания должен загореться светодиод НЕИСПРАВНОСТЬ (мигающая сигнализация), а на разъеме Х7 СИГНАЛИЗАЦИЯ должны замкнуться контакты 7 и 8, 10 и II, что проверяют прибором Ц4341.
-
4.5.2. Результаты проверки считают положительными, если при отсоединении кабеля датчика и отсоединении проводов кабеля срабатывает устройство для контроля исправности сигнализаторов.
-
4.6. Проверка диапазона сигнальных концентраций, основной погрешности и времени выдачи сигнала сигнализаторами.
-
4.6.1. Включают сигнализаторы и прогревают в течение
-
30 тт ,
-
4.6.2. Проверяют нуль сигнализаторов, в случае необходимости выставляют нуль потенциометром " 0-*"с точностно + Imv.
-
4.6.3. Проверку сигнализаторов СТМ-2Д производят на установке, собранной по схеме рис. 4.2, сняв предварительно защитный•кожух датчика.
•лНв1<г««» ■•««г.-
ОКП 42 1511 4137 IO

СИГНА1ИЗАТ0Р
СИ-2ДУ1
Паспорт
АПИ2.04О.О39 ПС
ВНИКАНИЕ IВалл предлояенйя и замечания по качестзу продукции, а также копил претензий, (в целях оперативного рассмотрения), просим направлять по адресу:
214020, Г.Смоленск, ул.Бабушкина, 3, Госприемха
I. ОБЩИЕ СВЕДЕНИЯ-
1.1. Сигнализатор СТМ-2Д У1 АПИ2.840.039 (далее - сигнализатор предназначен для контроля довзрывоопасных концентраций в воздухе помещений и открытых пространств горючих газов, паров и их смесей и выдачи сигнализации в диапазоне сигнальных концентраций.
Принцип работы сигнализатора - термохимический.
Способ подачи контролируемой смеси - конвекционно -диффузионный.
-
1.2. Сигнализатор является автоматическим стационарным прибором непрерывного действия, состоящим из блока сигнализации и питания и выносного датчика.
-
1.3. Сигнализатор имеет сигнализацию красного цвета о достижении сигнальной концентрации, желтого цвета о наиболее вероятной неисправности сигнализатора и контакты для коммутации внешней сигнализации.
Допустимый ток через контакты не более 2,5 А при напряженки на разомкнутых контактах 60-220 Т частотой 50 Нж при нагрузке Сое у :р 0,9.
2. ОСНОВНЫЕ ТОНИЧЕСКИЕ ДАННЫЕ
Я ХАРАКТЕРИСТЯЯ
-
2.1. Днапазои сигнальных концентраций, заданный в процентах от концентраций, соответствующих нижнему ^оицеитре-деэонясму пределу воспламеняемости (НКПВ) смеси, ограничен:
гостей границей 10-5;
верхней границей 45 + 5;
-
2.2. Предел допускаемой основной вогреюностж срабя.тыва-кяд сигнализатора ( (? ) + 5 % НКПВ.
-
2.3. Время выдачи сягаала при сжгкаяыюй концентрации w более 60 а .
-
7.1. Изготовитель гарантирует соответствие сигнализатора требованиям технических условий при соблюдении потребителем условий эксплуатации, хранения, транспортирования, монтака.
-
7.2. Гарантийный срок эксплуатации сигнализатора - 18 мосл-цев со дин ввода его в эксгг-атацию.
Гарантийный срок хранения сигнализатора - 6 месяцев со дня изготовления.
-
7.3. После окончания гарантийных обязательств предприятие-изготовитель будет осуществлять ремонт но отдельным договорам.
-
8. СВЕДЕНИЯ 0 РЕКЛАМАВИЯК
-
8.1. Регистрируются все предъявляемые рекламации и их краткое содержание.
-
8.2. При отказе в работе иля неисправности сигнализатора в период гарантийных обязательств потребителем должен быть составлен акт о необходимости ремонта и отправки сигнализатора предприятию-изготовителю или вызова его представителя.
-
-
4.1. Сигнализатор СТМ-2Д У1 АПИ2.В40.039 заводской номер
,<ЛЗ _________ __ соответствует конструкторской докумен
тации и признан годным для эксплуатации.
Д4Г» выпуска
М.П. Работник Государственной

I ачальяяк О Т К
5. СВИДЕТЕЛЬСТВО О КО

-
5.1. Сигнализатор С1М-2Я Л АЛИЙ
J.039 заводской ro*wd^
_________ консервации согласно требованиям, предусмс4реякнм технике оклад описрцтем и инструкцией по. эксплуатации.
/подаиоь/
/подпись/

Сигнализатор поело консервации принял__
6. сшдашьство об упш)же
иоадар
вЛ. Смгяалиэатор С1В-2Д Л АЛИЙ,840.039 заводской
ZJ о/ упакован на . ______
______ ос гласно требоволан^, предусмотренным конструкторской документацией
упаяоикж принял
уважожи
Упаковку произвел
СнгЕалйватор после

/гоургяаг/
/поуптаз»/
-
2.4. Время прогрева сигняпмяатора. не более 50 r.in.
-
2.5. Мощность, потребляемая сигнализатором, ив более 18 V • А,
-
2.6. Налрянение питающей сети 220 V при отклонении от минус 33 до паюс 22 V.
-
2.7. Частота питающей сети (50 + I) или (60 + 1,2) Hz.
-
2.8. Габаритинв рвзмврн составных частей сигнализатора, яе более:
датчика - 105 х 60 х 145;
блока еиттадлиаацми и питания - 160 х 320 х JOO.
-
2.9. Масса составных частей сигиалиэатора, kg, ня бодав: датчика - 0,85;
блока сигивливацкк и питания - 3,15.
-
2.10. Средняя наработка и» отнеа еигттяжялтора не ивдео 30000 ь.
-
2. II. Ктоттегческов яспочттоято по ГОСТ IS 150-69:
датчика - У1»
блока епгийляаяцйп я питания -- УП4.2.
-
2.12. Ттккперятуря окружад^ей w коитрплир^гятой пред?! дяг датчюта от еетнус 30 до итос 50 °C,
-
2.13. Температура oirpyww.eR средн лея блока сягклчяввции и питания от 0 дп пятое 50 °C.
-
2.14. (Ияосйтельиая важность окружвтощей и коптрояируе-мой средн до 98 % при токпоратуре плюс 25 °C.

-
2.15. Содержание драгоценных материалов с учетом ЗИП золота - 0,22416 g ,
серебра - 5,54404 g ,
платины - 0,0065 g ,
платины хлорной - 0,01 g ,
палладия двухлористого - 0,01 g .
-
2.16. Содержание цветных металлов с учетом ЗИП: медь КФ-1 - 29 g ,
бронза Зр 0-12 - 14,6 g ,
латунь Л63 - 1,77 g ,
алюминий и алюминиевые сплавы - 1,373 kg.




5