Методика поверки «СЧЕТЧИКИ РАСХОДОМЕРЫ МАССОВЫЕ TURBO FLOW CFM» (208 029 2021)
ФЕДЕРАЛЬНОЕ АГЕНТСТВО ПО ТЕХНИЧЕСКОМУ РЕГУЛИРОВАНИЮ И МЕТРОЛОГИИ
Федеральное государственное унитарное предприятие «Всероссийский научно-исследовательский институт метрологической службы» (ФГУП «ВНИИМС»)
СОГЛАСОВАНО
директора

й метрологии
А.Е. Коломин
2J» 2021 г.
Государственная система обеспечения единства измерений СЧЁТЧИКИ-РАСХОДОМЕРЫ МАССОВЫЕ TURBO FLOW CFM Методика поверки
МП 208-029-2021 г. Москва
2021 г.
СОДЕРЖАНИЕ
-
4 Метрологические и технические требования к средствам поверки
-
5 Требования (условия) по обеспечению безопасности проведения поверки
-
1.1. Настоящая методика распространяется на счётчики-расходомеры массовые Turbo Flow CFM (далее - расходомеры), изготавливаемые ООО НПО «Турбулентность-ДОН», г. Ростов-на-Дону, и устанавливает объём и методы их первичной и периодической поверок.
-
1.2. При проведении поверки должна быть обеспечена прослеживаемость поверяемых СИ к ГПСЭ единиц массы и объёма жидкости в потоке, массового и объёмного расходов жидкости ГЭТ63-2019, ГПЭ единиц объёмного и массового расходов газа ГЭТ118-2017, ГПЭ единицы температуры-кельвина в диапазоне от 0,3 К до 273,16 К ГЭТ35-2021, ГПЭ единицы температуры в диапазоне от 0 до 3200 °C ГЭТ34-2020, ГПЭ единицы плотности ГЭТ18-2014, ГПЭ единицы давления-паскаля ГЭТ23-2010, ГПЭ единицы давления для области абсолютного давления в диапазоне 1х10-1 7х105 Па ГЭТ101-201, в зависимости от исполнения. Метрологические характеристики расходомеров указаны в таблице 1.
-
1.3. Передача расходомерам единиц массы и объёма жидкости в потоке, массового и объёмного расходов жидкости, температуры, давления, плотности осуществляется методом непосредственных сличений с расходомерными установками, эталонным термометром, калибратором давления, плотномером (ареометром) соответственно.
Таблица 1
Наименование характеристики |
Значение |
Диаметр условный Ду, мм |
от 10 до 300 |
Верхняя граница диапазона измерений массового расхода жидкости QM , в зависимости от Ду и Mmax(F) исполнения ПП, кг/ч |
от 28 до 3200000 |
Верхняя граница диапазона измерений объёмного расхода жидкости (по воде при стандартных условиях) QVmax(F) в зависимости от Ду и исполнения ПП, м3/ч |
от 0,028 до 2000 |
Верхняя граница диапазона измерений массового расхода газа QM , кг/ч M max(G) |
QM m^F) ' PG / KG , где pG - плотность газа при рабочих условиях, кг/м3; kG - коэффициент, зависящий от Ду, кг/м3 |
Стабильность нуля при измерении массового расхода (в зависимости от Ду) Z, кг/ч |
от 0,12 до 215 |
Класс точности (КТ)1 |
0,1; 0,15; 0,2; 0,25; 0,5 |
Пределы допускаемой основной относительной погрешности при измерении массового расхода 0QM и массы жидкости, ^м, %: при Qm > 100^0 при Qm < l0(?Z/30 |
±^0 ±(Z/QM)-100, где Qm - измеряемый массовый расход, кг/ч; 30 - значение, численно равное КТ, %; Z - стабильность нуля, кг/ч |
Продолжение таблицы 1
Пределы допускаемой основной относительной погрешности при измерении массового расхода и массы газа, %: при Qm > (100 • Z / dG) при Qm < (100 • Z / Sg) |
±5g ±(Z/Qm)-100 где SG равен: 0,35 - для КТ 0,1; 0,15 и Ду от 10 до 32 мм; 0,5 - для КТ 0,1; 0,15 и Ду от 50 до 200 мм; и для КТ 0,2 и Ду от 10 до 200 мм 0,75 - для КТ 0,5 и Ду от 10 до 300 мм | |
Диапазон измерений плотности рабочей среды, кг/м3 |
от 650 до 2000 | |
Пределы допускаемой основной абсолютной погрешности при измерении плотности рабочей среды Др, кг/м3 |
±0,32; ±0,52; ±1; ±2; ±5 | |
Пределы допускаемой дополнительной абсолютной погрешности при измерении плотности рабочей среды Др, кг/м3:
|
±0,3 ±2 | |
Пределы допускаемой основной относительной погрешности при измерении объёмного расхода bQv и объёма 6V, %:
|
±0,15 | |
Q = ±^ dV =± где р - изм |
(Q )2 + 100^ , | |
(дм)2 + ^р-100^ , еряемая плотность, кг/м3 | ||
Диапазон измерений температуры рабочей среды, °С |
от -200 до +400 | |
Пределы допускаемой абсолютной погрешности при измерении температуры рабочей среды при использовании:
|
±(0,3 + 0,005-ltl) , ±(0,15 + 0,002^ itl) где t - измеряемое значение температуры, °C | |
Верхний предел измерений избыточного давления (ВПИ), МПа |
от 0,0025 до 100 | |
Верхний предел измерений абсолютного давления (ВПИ), МПа |
от 0,1 до 100 |
Продолжение таблицы 1
Пределы допускаемой относительной погрешности измерений давления, при использовании внешнего преобразователя (датчика) давления, % |
±(0,1+0,01Pmax/P), где Pmax - верхний предел измерений преобразователя давления, P - измеряемое значение давления |
Рабочий диапазон измерений давления, % ВПИ |
от 10 до 100 |
Пределы допускаемой дополнительной относительной погрешности при измерении массового расхода и массы жидкости и газа, в зависимости исполнения ПП, вызываемой изменением:
|
от ±0,001 до ±0,5 от ±(0,0001-2мпот/0М) до ±(0,015-2мпот/2м) |
Пределы допускаемой дополнительной абсолютной погрешности при измерении плотности жидкости, в зависимости от исполнения ПП, вызываемой изменением:
|
от ±0,03 до ±0,45 от ±0,3 до ±2,0 |
Потери давления на Ш1 расходомера при номинальном расходе воды QMnom, МПа, не более |
0,1 |
П р и м е ч а н и я
|
При проведении поверки должны выполняться операции, указанные в таблице 2.
Таблица 2
Наименование операции |
Номер раздела (пункта) методики Поверки |
Проведение операции при: | |
первичной поверке |
периодической поверке | ||
1. Внешний осмотр |
6 |
да |
да |
2. Проверка программного обеспечения |
8 |
да |
да |
3. Определение метрологических характеристик |
9 |
да |
да |
4. Оформление результатов |
11 |
да |
да |
-
3.1. При проведении поверки должны быть соблюдены следующие условия: - температура окружающего воздуха от 15 до 30 °С;
- изменение температуры окружающей среды за время за время одного измерения не более 1 °С.
- изменение температуры используемой при поверке среды за время одного измерения не более 0,5 °С.
- содержание свободного газа в жидкости не допускается.
-
3.2. При поверке расходомера на месте эксплуатации значение температуры измеряемой среды, температуры окружающего воздуха, влажности окружающего воздуха должны соответствовать условиям эксплуатации, указанным в паспорте на расходомер. При этом пределы допускаемой погрешности определяются с учётом допускаемой дополнительной погрешности (по данным паспорта на поверяемый расходомер).
-
4.1. При проведении поверки применяют следующие эталоны, средства измерений и вспомогательное оборудование:
- установка поверочная или ТПУ 1-го или 2-го разряда, или вторичный эталон согласно части 1 и 2 приказа Росстандарта от 07 февраля 2018 г. № 256 «Об утверждении Государственной поверочной схемы для средств измерений массы и объёма жидкости в потоке, объёма жидкости и вместимости при статических измерениях массового и объёмного расходов жидкости»;
- рабочий эталон единицы плотности согласно приказу Росстандарта от 01 ноября 2019 г. № 2603 «Об утверждении Государственной поверочной схемы для средств измерений плотности» с диапазоном измерений, соответствующим контрольным точкам при поверке расходомера;
- рабочий эталон единицы температуры 3- го разряда в соответствии с Государственной поверочной схемой для средств измерений температуры по ГОСТ 8.558-2009 с ПГ ± 0,05 °C;
-
- калибратор давления портативный Метран-517, регистрационный номер в Федеральном информационном фонде 39151-08, диапазон измерения давления от минус 100 кПа до 100 МПа, ПГ от ±0,02 до ±0,1 %;
-
- частотомер электронно-счетный Ч3-88, регистрационный номер в Федеральном информационном фонде 41190-09, диапазон измерений частоты от 0,01 Гц до 1,00 МГц, 3f = Ж1+Жач;
-
- калибратор тока, диапазон измерений от 4 до 20 мА, ПГ ±0,02 %;
-
- термогигрометр ИВА-6А-Д, диапазон измерений относительной влажности от 0 до 98 %, ПГ ±3 %, диапазон измерений температуры от 0 до 60 °C, ПГ ±0,3 °C, диапазон измерений атмосферного давления от 700 до 1100 гПа, ПГ ±2,5 гПа.
-
4.2. Указанные средства поверки допускается заменять другими с метрологическими и техническими характеристиками, обеспечивающими требуемую точность передачи единиц величин поверяемому средству измерений.
-
4.3. Применяемые при поверке СИ и эталоны могут входить в состав СИКН, СИКНП или АСН.
При проведении поверки должны выполняться следующие требования безопасности:
-
- к проведению поверки допускаются лица, прошедшие инструктаж по технике безопасности рабочем месте и имеет группу по технике электробезопасности не ниже второй;
-
- вся аппаратура, питающаяся от сети переменного тока, должна быть заземлена;
-
- все разъёмные соединения линий электропитания и линий связи должны быть исправны;
- соблюдать требования безопасности, указанные в технической документации на имитатор, применяемые средства поверки и вспомогательное оборудование.
6. Внешний осмотрРезультаты внешнего осмотра считаются положительными, если выполняются следующие требования:
- соответствие комплектности эксплуатационной документации;
- отсутствие механических повреждений, препятствующих проведению поверки;
- наличие заводских номеров и маркировки.
7. Подготовка к поверке и опробование-
7.1. Подготовить СИ и эталоны к проведению измерений в соответствии с руководством по эксплуатации.
-
7.2. Опробование совместить с определением метрологических характеристик.
-
7.3. Установить расходомер на проливную жидкостную установку и выдержать в течение 5 минут расход поверочной среды, равный примерно (0,3 - 0,9)Gmax (где Gmax -наибольшее значение массового расхода для данного типа расходомера, т/ч, см. РЭ или ПС) для удаления воздуха из контура измерений.
-
7.4. Провести настройку нулевой точки расходомера в соответствии с эксплуатационными документами.
Вывести на дисплей расходомера данные о программного обеспечения (ПО) в соответствии с руководством по эксплуатации. На дисплее расходомера должны отражаться следующие данные:
-
- идентификационное наименование ПО;
-
- номер версии (идентификационный номер) ПО;
-
- цифровой идентификатор (контрольная сумма) ПО.
Результат подтверждения соответствия ПО считается положительным, если полученные идентификационные данные ПО расходомера соответствуют указанным в таблице 2 для соответствующих исполнений.
Таблица 2 - Идентификационные данные программного обеспечения
Идентификационные данные (признаки) |
Значение |
Идентификационное наименование ПО |
CFM |
Номер версии (идентификационный номер) ПО |
не ниже 1.0 |
Цифровой идентификатор ПО |
0x66808DB2 |
9. Определение метрологических характеристик
-
9.1.1 Определение относительной погрешности измерений массового расхода (массы) при соотношении погрешностей эталона и СИ 1:3
Определение относительной погрешности измерений массового расхода (массы) проводят при помощи жидкостной поверочной установки. Схема подключения контрольноизмерительной аппаратуры приведена в руководстве по эксплуатации.
Определение относительной погрешности проводят на значениях расхода, соответствующих: (0,1 - 0,15)Gnom, (0,3 - 0,45)Gnom, (0,5 - 0,9)Gnom-
Время проведения каждого измерения должно быть не менее 120 секунд или 10000 импульсов.
Расходомеры с первичными преобразователями, у которых DN >100 мм допускается поверять на расходах 0,1-Gnom, 0,25-Gnom и 0,35^ Gnom.
Значения расходов (0,3 - 0,9)Gnom устанавливают с допуском ±10 %, а расходы (0,1 -0,15)-Gnom с допуском ±5 %.
На каждом расходе проводят не менее двух измерений.
Относительную погрешность измерений массового расхода 6Gi, % и массы dMi, Ус, при i-ом измерении определяют по формулам

• 100 ,
(1)



(2)
где Gi - расход по расходомеру, кг/ч;
G31: - расход по поверочной установке, кг/ч;
Mi - масса по расходомеру, кг;
Мэт - масса по поверочной установке, кг.
За результат принимают среднее арифметическое из полученных значений в каждой точке.
В случае, если поверочная установка оснащена мерами вместимости, то определение относительной погрешности расходомеров при измерении массы осуществляется сравнением значений массы, измеренной расходомером, и массы, пересчитанной исходя из измеренных значений объёма и плотности на поверочной установке. Массу М, кг, по поверочной установке вычисляют по формуле
M = V • р , (3)
где V - объём жидкости, измеренный установкой, м3;
р - плотность жидкости, измеренная установкой (плотномером), кг/м3.
Значение относительной погрешности измерений массы SMi, Ус, при i-ом измерении определяется по формуле (2).
В случае, если при поверке используется аналоговый выход расходомера, то измеренный расход Gi, кг/ч, вычисляется по формуле
г = A Anin (r -r .
(4)
ui j _ j Wmax umin7 ' umin ,
'max 'min
где Ii - ток, измеренный контроллером установки (калибратором тока) за время проведения
i-го измерения, мА;
Imin - минимальное значение установленного диапазона токового выхода, мА;
Imax - максимальное значение установленного диапазона токового выхода, мА;
Gmax - значение расхода, установленное для максимального значения токового выхода, кг/ч;
Gmin - значение расхода, установленное для минимального значения токового выхода, кг/ч.
В случае, если при поверке используется частотный выход расходомера, то измеренный расход Gi, кг/ч, или масса Mi, кг, вычисляются по формулам
Gt=^- 3600 ,
(5)
(6)
G = Ni
1 1000 •К ’
где Fi - частота на выходе расходомера за время проведения i-ro измерения, Гц;
К - весовой коэффициент, установленный в расходомере, имп/кг;
Ni - количество импульсов, накопленное поверочной установкой за время проведения i-го измерения, имп.
В случае, если расходомер не имеет частотных и аналоговых выходов, прибор может быть подключён к поверочной установке по протоколам HART или Modbus.
Результаты поверки по данному пункту считают положительными, если значение относительной погрешности измерений массового расхода (массы) не превышает пределов, приведённых в паспорте расходомера.
При положительном результате поверки относительной погрешности измерений массового расхода (массы), расходомеры считаются прошедшими поверку относительной погрешности измерений массы (массового расхода).
-
9.1.2 Определение относительной погрешности измерений массового расхода (массы), объёмного расхода (объёма) при соотношении погрешностей эталона и СИ более 1:3, но не менее 1:2 включительно
Определение относительной погрешности измерений массового расхода (массы) проводят при помощи жидкостной поверочной установки. Схема подключения контрольноизмерительной аппаратуры приведена в руководстве по эксплуатации.
Определение относительной погрешности проводят на значениях расхода,
соответствующих: (0,1 - 0,15)-Gnom, (0,3 - 0,45)Gnom, (0,5 - 0,9) Gnom.
Время проведения каждого измерения должно быть не менее 120 секунд или 10000 импульсов.
Расходомеры с первичными преобразователями, у которых DN >100 мм допускается поверять на расходах 0,1-Gnom, 0,25-Gnom и 0,35^ Gnom.
Значения расходов (0,3 - 0,9)Gnom устанавливают с допуском ±10 %, а расходы (0,1 -0,15)Gnom с допуском ±5 %.
На каждом расходе проводят не менее пяти измерений.
При каждом измерении регистрируют:
-
- массу или объём жидкости по показаниям эталона расхода;
-
- массу или объём жидкости по показаниям расходомера;
-
- температуру и давление измеряемой среды.
Определение относительной погрешности расходомера при определении массы или объёма проводят по формулам (2), (3), (7), подставляя М или V соответственно. Для каждого измерения вычисляют значения:
-
- коэффициента коррекции MF: по массе MFM или по объёму MFV по формуле
М(!)эл
(7)
МРм^л = ~м(!ТЛ~ ’
где M(V)3j - масса (объём) измеряемой среды по поверочной установке, кг (дм3);
3
M(V)ji - масса (объём) измеряемой среды по расходомеру, кг (дм ).
Для каждой точки расхода вычисляют:
- среднеарифметическое значение коэффициента коррекции расходомера MF по формуле
(8)
где
n - количество измерений в точке j.
- среднеквадратическое отклонение результатов измерений, %, по формуле
S 1 (s$%&*MFM(nji - MFM(y)j+2 100
S MFM(y)j у "— 1
(9)
- среднеквадратическое отклонение среднего арифметического, S0, по формуле
'
j./0 '- = Т=~ ,
(10)
где вычисленных по формуле (9), %.
Sjmax - наибольшее значение среднеквадратического отклонения результатов измерений,
- неисключённую систематическую составляющую погрешности расходомера, %, по формуле
M7M(V)j
MFM(v)
MFM(v)
.
= < # MFm(v)
.%&
• 100
./0
(11)
где m - количество точек расхода i.
Вычисляют относительную погрешность, %, по формулам
5 ^m(v) = к • S=
5 >+0=
k = t+StS- S?
(12)

где 0э - неисключённая систематическая составляющая погрешности эталона расхода при
воспроизведении массы (объёма) измеряемой среды;
£ - случайная составляющая погрешности расходомера;
t0,95 - коэффициент Стьюдента при доверительной вероятности Р = 0,95 (определяется в соответствии с ГОСТ Р 8.736-2011 «ГСИ. Измерения прямые многократные. Методы обработки результатов измерений. Основные положения»). Значение градуировочного коэффициента расходомера определяется по формуле (7).
Исключение грубых погрешностей проводится в соответствии с разделом 6 «Исключение грубых погрешностей» ГОСТ Р 8.736-2011.
Результаты поверки по данному пункту считают положительными, если значение относительной погрешности измерений массы (объёма) не превышает пределов, приведённых в паспорте расходомера.
-
9.2 Определение относительной погрешности вычислений объёмного расхода (объёма)
Проводится аналогично п. 9.1 настоящей методики, при этом в формулы (1), (2), (4) - (6) вместо массового расхода и массы подставляются объёмный расход и объём.
Допускается проводить одновременно с п.9.1.
Результаты поверки по данному пункту считаются положительными, если значение относительной погрешности измерений объёмного расхода (объёма) не превышает пределов, приведённых в паспорте расходомера.
-
9.3 Определение абсолютной погрешности измерений температуры
-
9.3.1 Определение абсолютной погрешности измерений температуры интегрированного в ПП преобразователя температуры допускается проводить одним из следующих способов:
-
1) сравниваются показания температуры, измеренной расходомером, установленным в измерительном канале поверочной установки с показаниями поверочной установки или эталонного термометра. Проводят не менее трёх измерений.
-
2) измерительный канал расходомера закрывают с одной стороны заглушкой и поворачивают так, чтобы измерительный канал находился в вертикальном положении. Затем заполняют измерительный канал жидкостью и погружают в неё термометр. Проводят не менее трёх измерений.
Абсолютную погрешность измерений температуры At, °C, рассчитывают по формуле
At = tj, — 1эт , (13)
где ti - температура, измеренная расходомером, °C;
t9m - температура, измеренная термометром, °C.
Результаты поверки по данному пункту считаются положительными, если значение абсолютной погрешности измерений температуры не превышает пределов, приведённых в паспорте расходомера.
-
9.3.2 Определение абсолютной погрешности измерений температуры при наличии в комплектации внешнего преобразователя (датчика) температуры.
Внешний первичный преобразователь температуры расходомера помещают в колодец термостата так, чтобы рабочая часть преобразователя была полностью погружена. Выбирают режим «Поверка канала Т» в ПО «АРМ «CFM View».
Устанавливают на термостате температуру 0 °C и контролируют выход на режим термостата в соответствии с его эксплуатационной документацией. После установления стабильных значений температуры по индикации готовности термостата зафиксировать
показания температуры с цифрового табло расходомера (или монитора ПК) и эталонного термометра сопротивления (не менее 10 значений).
Определить среднее значение температуры за время измерения, а также среднее значение показаний температуры с поверяемого расходомера по формуле
En t i=1 i
N ,
0
t
ср
(14)
где tcp - среднее значение температуры за время измерения, С;
N - количество измерений.
Значение абсолютной погрешности расходомера при измерении температуры определить по формуле (13)
Повторить для минимальной и максимальной температуры измеряемой среды.
Результаты поверки по данному пункту считаются положительными, если значение абсолютной погрешности измерений температуры не превышает пределов, приведённых в паспорте расходомера.
-
9.4 Определение абсолютной погрешности измерений плотности
9.4.1 Определение абсолютной погрешности измерений плотности для расходомеров с пределами абсолютной погрешности измерений плотности Др > ±1,0 кг/м3 допускается проводить следующими способами:
-
1) сравниваются показания плотности, измеренной расходомером, установленным в измерительном канале установки поверочной с табличными значениями плотности для воды в соответствии с ГСССД 2-77 «Таблицы стандартных справочных данных. Вода. Плотность при атмосферном давлении и температурах от 0 до 100 градусов Цельсия», либо с показаниями плотномера, измерительный датчик которого помещён в бак установки поверочной (в максимальной близости от сливной трубы);
-
2) сравнивают значения плотности жидкости, измеренной расходомером со значением плотности этой жидкости, измеренной эталонным плотномером или преобразователем плотности. Проводят не менее трёх измерений;
-
3) измерительный канал расходомера закрывают с одной стороны заглушкой и поворачивают так, чтобы измерительный канал находился в вертикальном положении. Затем заполняют измерительный канал расходомера жидкостью (водой или продуктом). Фиксируют значения температуры и плотности по индикатору расходомера. После этого жидкость выливают во вспомогательную ёмкость и погружают в неё датчик плотномера. Фиксируют показания. Проводят не менее трёх измерений.
Абсолютную погрешность измерений плотности Др, кг/м3, рассчитывают по формуле
Др _ ризм рэт , (15)
где рэт - плотность, измеренная плотномером (ареометром), кг/м3;
ризм - плотность, измеренная расходомером, кг/м3.
-
9.4.2 Определение абсолютной погрешности измерений плотности для расходомеров с пределами абсолютной погрешности измерений плотности Др < ±1,0 кг/м3, настроенных на месте эксплуатации, допускается проводить без демонтажа расходомера из измерительной линии следующими способами:
1) по МИ 2816-2012 «ГСИ. Преобразователи плотности поточные. Методика поверки на месте эксплуатации») сравнивая показания плотности, измеренной расходомером, с результатом измерений плотности рабочим эталоном ГПС для СИ плотности.
Абсолютную погрешность измерений плотности Др, кг/м3, рассчитывают по формуле (15).
2) сравнивая показания плотности, измеренной расходомером, с результатом измерений плотности отобранной пробы измеряемой среды ареометром по ГОСТ 18481-81 (рабочим эталоном ГПС для СИ плотности).
Абсолютную погрешность измерений плотности Др, кг/м3, рассчитывают по формуле (15).
-
9.4.3 Результаты поверки по данному пункту считают положительными, если значения абсолютной погрешности измерений плотности не превышает пределов, приведённых в паспорте расходомера.
-
9.5 Определение относительной погрешности при измерении давления (при наличии в комплектации внешнего преобразователя (датчика))
Определение относительной погрешности при измерении давления (для исполнения с внешним преобразователем (датчиком) давления проводят с помощью калибратора давления, обеспечивающего создание абсолютного (избыточного) давления в рабочем диапазоне измерения давления расходомером, и программного обеспечения ПО «АРМ «CFM View» в режиме «Поверка канала Р». Для расходомеров автономного исполнения период обновления значения давления может достигать 5 минут.
Подключить первичный преобразователь давления к калибратору давления. Определить
погрешность измерения давления в пяти контрольных точках:
P1 = 0,1 P
max;
Р2 = (P1 + P3) / 2;
P3 = (P1 + P5) / 2;
P4 = (P3 + P5) / 2;
Р5 — Pmax, где Pmax — ВПП.
Для согласования характеристик эталонных средств измерений с расчётными значениями контрольных точек допускается отклонение значений давления, поданного на вход первичного преобразователя давления, от расчётного значения не более чем на ± 0,05•Pmax (5 % ВПИ).
В каждой точке выполняют по одному измерению при прямом и обратном ходе и рассчитывают значение погрешности SPi, %, по формуле

• 100 ,
(16)
где Ризм - показание расходомера, кПа (МПа);
Рэт - давление, заданное калибратором, кПа (МПа).
В случае применения задатчика избыточного давления значение эталонного давления определить по формуле
(17)
Рэт — Рэт.изб + Рбар ,
где Рбар - значение атмосферного давления в месте испытаний, кПа (МПа);
Рэт.изб - значение избыточного давления, заданное эталонным средством, кПа (МПа).
Результаты испытаний по данному пункту считаются положительными, если значения относительной погрешности при измерении давления не превышают пределов, указанных в паспорте расходомера.
10. Подтверждение соответствия метрологическим требованиям-
10.1. При подтверждении соответствия расходомера метрологическим требованиям руководствуются процедурами, описанными в разделе 9.
-
10.2. Расходомер допускают к применению в качестве СИ в соответствии с приказами Росстандарта от 07 февраля 2018 г. № 256 «Об утверждении Государственной поверочной схемы для средств измерений массы и объёма жидкости в потоке, объёма жидкости и вместимости при статических измерениях массового и объёмного расходов жидкости» или от 29 декабря 2018 г. № 2825 «Об утверждении Государственной поверочной схемы для средств измерений объёмного и массового расходов газа» в зависимости от исполнения при положительных результатах выполнения всех процедур, описанных в разделах 6, 8 и 9.
11.1. Результаты поверки оформляют протоколом произвольной формы.
-
11.2. Сведения о результатах поверки передаются в Федеральный информационный фонд по обеспечению единства измерений.
-
11.3. Положительные результаты поверки удостоверяются отметкой в паспорте и (или) свидетельством о поверке, оформленным в соответствии с действующими нормативными документами. Знак поверки на СИ наносится в соответствии с рисунком А.1 Приложения А.
-
11.4. При отрицательных результатах поверки СИ к эксплуатации не допускают и выдают извещение о непригодности, оформленное в соответствии с действующими нормативными документами.
Схемы пломбировки

Рисунок 1 - Электронный блок

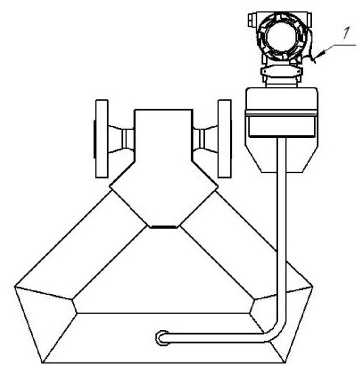
Рисунок 2 - Пломбировка ПП и ЭБ (расположение ЭБ на ПП)

б) вид сверху

а) вид сбоку
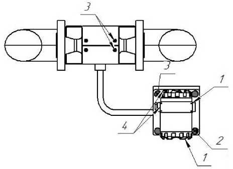
Рисунок 3 - Пломбировка ПП и ЭБ (ЭБ вынесен от ПП)

б) вид сверху

Рисунок 4 - Выносной терминал (ВТ)

Рисунок 5 - Выносной терминал в металлическом корпусе (ВТМ)
Рисунок 5 - Выносной терминал в металлическом корпусе (ВТМ): 1 - пломба свинцовая предприятия-изготовителя; 2 - места для нанесения знака поверки способом давления на специальную мастику; 3 - пломбы предприятия-изготовителя способом давления на специальную мастику; 4 - отверстия для пломбирования поставщиком.