Руководство по эксплуатации «НАБОР МЕР ЭЛЕКТРИЧЕСКОГО СОПРОТИВЛЕНИЯ МСЗ004 Техническое описание и инструкция по эксплуатации» (ЗПВ. 670. ДІ47-56 ТО)

НАБОР МЕР ЭЛЕКТРИЧЕСКОГО
СОПРОТИВЛЕНИЯ МС3004
техническое описание и инструкция
ЗПВ.670.Д147-56 ТО

НАБОР 1ЛЕР ЭЛЕКТРИЧЕСКОГО
СОПРОТИВЛЕНИЯ MC3004
Техническое описание и инструкция по эксплуатации
ЗПВ.670.Д147-56 ТО
СОДЕРЕ'ИИЕ

-
1. Назначение
-
2. Технические данные

-
3.Устройство и работа изделия 4 .Указания мер безопасности
-
5. Подготовка к ппхо-
ч.
-
6 «Указания по позерке
-
7 • .Те т оддка п □ ее рки
-
6. ВозгоднЕе неисправности и способы их устранения
9.Правила хранения
IC. Т ран сп орти ров анис
3
3
6
10
10
II
13
16
-
17
-
18
Приложения: I.Определение действительного
значения сопротивления на компараторе P30I5.
-
2.Схема электрическая принципиальная блока сопротивления .
-
3.Схема электрическая прин
ципиальная блока питания.
19
22,
23
|
| Лист |
Hi дзхум |
Подл. [Дата |
с с
,*б. С_бООВ£.
I- : n-rrrttj
меР электрического ^^сопротивления * опЛ/1
'dI Те yн и ч е с ко н л гт;
йтр._____j
I ' Гееусов ,Г
Листов

MGdW4 ^Техническое описание и ” инструкция по эксплуатации
ц±ет-
'Копировал:
Набор мер электрического сопротивления (далее - Н1.'ЭС) типа *23304 предназначен для работы в качестве рабочих и образцовых в цепях постоянного
измерения электрического сопротивления
ка.

30°С;
80£;
Нормальные и рабочие условия применения: температура окружающего воздуха от 15 до относительная влажность воздуха от 25 до атмосферное давление 54-106,7 кПа (630-800 мм рт.ст); напряжение питающей сети (220+22)В;
частота питающей сети (50+1)Гц*
2.ТЕХН24ЕСКИЕ ДАННЫЕ
-
2.1. HL3C состоит из семи однозначных термостатированных мер -блоков сопротивления (БС) и двух однотипных блоков питания (БП).
-
2.2. Номинальные значения сопротивления мер, входящих в НМЭС: 0,1; I; 10; IO2; IO3; Ю4 и I05 См.
По желанию Заказчик может изменить состав мер, входящих в набор, или расширить его до восьми одновременно включен.чну мер.
2.3.Класс точности по ГОСТ 23737-79 - 0,0005.
-
2.4. Предел допускаемого отклонения действительного значения сопротивления мер от номинального значения при первичной и периодической поверках составляет +С,0К.
-
2.5. Предел допускаемой основной погрешности (нестабильность в течение года со дня поверки) равен +0,0004/2
-
2.6. Номинальная мощность рассеивания - 0,05 Вт; симальная мощность рассеивания - 0,1 Вт.
-
2.7. Предел допускаемой дополнительной погрешности в процентах

номинального значения сопротивления мер, входящих в

1
1 1
1
1
Я? докум.
Поди.
Дата 1

изменении мощности рассеивания от номинальной до любого значе-не превышающего максимальную мощность, в установившемся состоя-теплового равновесия численно равен значению класса точности.
-
2.8. Изменение действительного значения сопротивления мер, вхо-tx е Еь'ЗС, при изменении температуры окружающего воздуха от 15
до 30°С не превышает значения 1/3 класса точности.
-
2.9. Изменение действительного значения сопротивления мер при изменении напряжения питающей сети от 198 до 242 Б в установившемся состоянии теплового равновесия не превышает значения 1/5 класса точности.
-
2.10.Сопротивление токовых и потенциальных выводов мер, вхо-вящих е Н^’ЭС, не превышает 10*10~и0м.
2.II.Значение термоконтактной з.д.с. на потенциальных зажимах «ер не превышает I мкВ.
2.12.Электрическое сопротивление изоляции НМЭС соответствует значениям, указанным в табл.1.
-
2.13. Изоляция ЕБЭС выдерживает в течение минуты действие испытательного синусоидального напряжения переменного тока частотой (50+1)Гц, действующее значение которого указано в табл.1.
-
2.14. Бремя установления рабочего режима (время прсгреьа термо-стата) не превышает I ч.
-
2.15. Продолжительность непрерывной работы после установления рабочего режима - не менее 8 ч.
-
2.16. Мощность, потребляемая из сети, при включении полного
не превышает - 40 В’А.

комплекта НБ:ЭС в установившемся режиме
2.17.Габаритные размеры и масса: одного ВС
65 х 85 х 150 мм ;
ОДНО! О БП
390 х 160 х 115 мм;
средней наработки на
2.19.Средний срок службы - не менее 10 лет.
2.18.Значение
|
t | ||
|
р |
! | |
|
i Лист |
Мт дскум. |
п°АП- (Дата |
Колировал;
не более 0,6 кг;
не более 2,6 кг.
отказ - не менее 10000 ч.
ЗПВ.670.Д147-56 ТО

Копировал; Формат А4
1.5
1,5
1.5
■ Моин.,................ I I mt
Точки приложения непитательного !Сопротивление !Испытательное
напряжения !изоляции. !напряжение,
! кВ
Цепи, подлежащие проверке
|
.......... "" ‘ ...... г первая |
I вторая j |
не |
Ом, ! менее 1 | |
|
БС |
1 | |||
|
I.Электрическая измерительная |
Элект ри чес ки с о <щи - |
Неокрашенная де- | ||
|
цепь и корпус. |
пенные накоротко |
таль корпуса | ||
|
Номинальное значение сопро- |
зажимы (токовые или | |||
|
тивления: |
потенциальные) | |||
|
0,1 - НО3 Огл |
ю10 | |||
|
I04 Ом |
ТО11 | |||
|
I05 Ом |
1012 | |||
|
2•Элект ри че ская и змери тельная | ||||
|
цепь и экран. Номинальное значение сопро- |
То же |
Контакт Б5 разъема | ||
|
тивления: | ||||
|
0,1-1- Ю3 Ом |
1010 | |||
|
I04 Ом |
ю11 | |||
|
I05 Ом |
то12 | |||
|
БП | ||||
|
I.Электрическая цепь питания |
Электрически ооеди- |
Винт для заземление |
I |
— |
|
и корпус (сетевой выключи- |
неннне накоротко | |||
|
тель - включен) |
контакты разъема | |||
|
сетевого питания | ||||
|
2.Электрическая цепь питания |
То же |
Контакт Б2 на любом |
- | |
|
и цепи термостатировлния |
из четырех разъег.о |
ь | ||
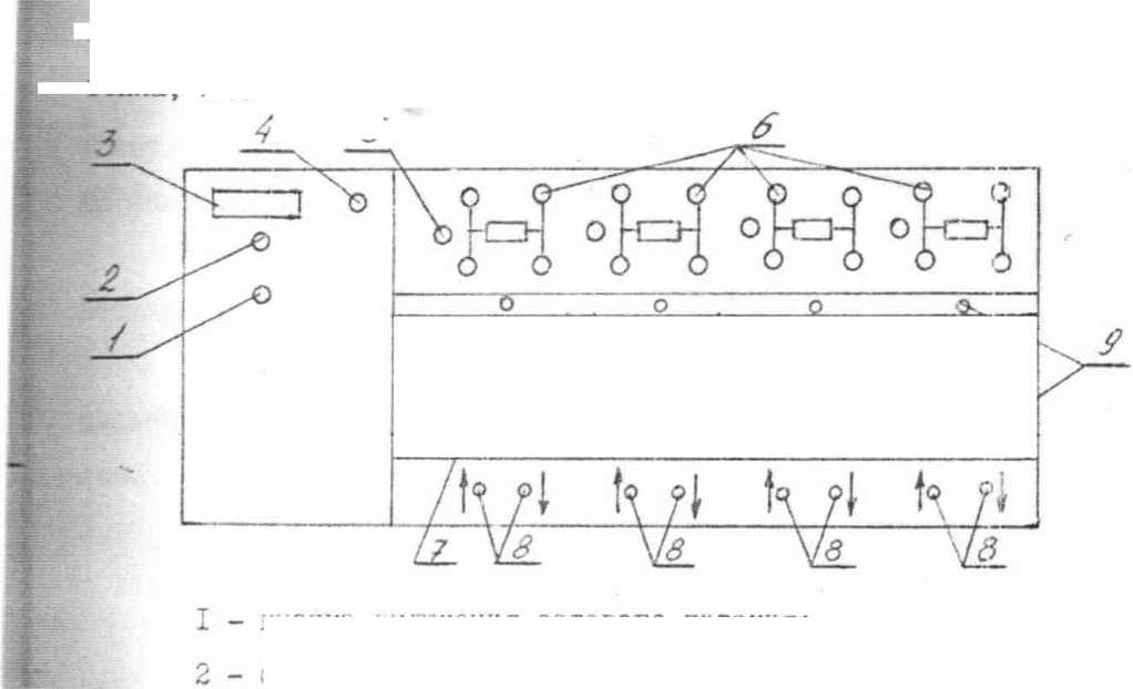
И РАБОТА ИЗДЕЛИЯ семи сменных блоков сопротивления (БС)
сопротивления по п.2.2, и двух однотип-
номинальными значениями
нх блоков питания (БП). К каждому БП может быть подключено одновременно не более четырех БС.
Функциональная схема Н.Т.БС приведена на рис.1.
220В
БС
.PQWl
Рис.1.
Размещение
знанениями
номинальными
|
------— |
50 Гц |
1 ■ | ||
|
БП |
Г“ |
БП |
сопротив-
ления
быть произвольным.
Принципиальные электрические схемы БС и
в БП может
БП даны в приложении
к ТС.
-
3.2.Устройство БС
3.^.1.Каждой БС включает в себя измерительный резистор 51 соответствующего номинального значения сопротивления с токовыми и потенциальными зажимами на верхней панели БС, систему термостати ровалия и термометр сопротивления для контроля температуры в тер/ ос тате.
Соединение БС с БП осуществляется с помощью разъема HIIO-II.
-
3.2.2.Измерительный резистор БС изготовлен из ленты никельхромового сплава, закрепленной на подложке из стеклоцемента.
Резистор помещен в алюминиевую герметичную капсулу, заполненную теплопроводной пастой КПТ-8 ГОСТ 19783-74.
|
Лист |
Нт доиум. |
Подл. |
Лата |
ЗПВ.670.Д147-56 ТО
Лист
6

г.сула является такге экраном для защиты от токов yi-ti^z. верительным резисторов? и схемой терморегулирования. Экран имеет
3.2.3.Система термостатирования БС состоит из термочувствительного моста (платы EI.I, E2.I), операционного усилителя J)I, схваченного отрицательной обратной связью (к5, Кб, R7) и нагревателя (платы L1.2, Е2.2). Настройка температуры в термостате произво ^■Бяспоиощью переменного резистора КЗ. Доступ к оси этого резистора осуществляется вс время настройки при изготовлении и ре-^онт>; БС через отверстие в боковой стенке корпуса. 1 рабочем состоянии отверстие перекрыто заслонкой.

Платы БЫ, Б2.1, EI.2 и Е2.2 выполнены печатным способом

”з фольгового материала на алюминиевом основании и находятся в епловой связи с капсулой измерительного резистора.

Регулирующие транзисторы и источники питания располагаются
3.2.4.Термометр сопротивления (плата Е2.3) выполнен печатни;
способом из никелевой фольги и находится в тепловой связи о термо чувствительным мостом.
Выводы от термометра сопротивления подключены к разъему.
3.2.5.Эле; енты и узлы термостата по п.3.2.2; 3.2.3; 3.2.4
I помещены в теплойзолирующил кожух из пенопласта, который вставлен в металлический корпус БС.
3.2.Б.крепление БС на БЛ производится после сочленения разъема с помощью двух невнпадающих винтов. Через эти не винты осуществляется электрическая связь корпуса БС с корпусом БП, имею-! щим винт для заземления.
3.2.7. Term ера тура в термостате настраивается при изготовле
■ нии на уровне (40+1)JC и поддерживается с погрешностью не х}ле
+0,1 °C в рабочих условиях применения.

Лист
Мч докум 11ОДП. дата
ЗПВ.67О.Д147-56 ТО
Лист
строенному термометру сопротивления, имеющему температурный
оэффшиент сопротивления +О,54^/°С.
Значение сопротивления термометра при первичной аттестации
каждого БС указано в формуляре.
З.З.Устройство и работа БП
-
3.3.1.БП включает в себя:
силовой трансфер.’.* лор TI, стабилизированный источник питания ’ +15 В на микросхеме DI, выпряг . ' 1 ДЛЯ питания нагревателей
термостатов БС на диодах VDI... VI>4, четыре блока сопряжения А2...А5 для подключения БС.
-
3.3.2.В каждый блок сопряжения входят:
розетка XI типа РПЮ-П, регулирующий транзистор VTI, включенный по схеме эмиттерного повторителя, сигнальные индикаторы УВз, V34, зажимы Х2...Х5 для подключения омметра с целью : контроля температуры в термостате БС по его встроенному термометру сопротивления.
-
3.3.3.Регулирующий транзистор ИТ1 управляется сигналом
с выхода операционного усилителя DI БС. В режиме прогрева термо
стата разбаланс тер ©чувствительною моста велик и транзистор пол-: ностью открыт, светится только индикатор VJ)4, имеющий маркиров-I ку " ft °C".
В уст- повившемся режиме транзистор переходит в активный
режим, напряжение на нс:.’ возрастает, начинает светиться и второй '' индикатор VD3 с маркировкой "|''1°С”.
Свечение обоих индикаторов (возможно с разной интенсив-
Н£ тгью) спиде ■■ уст о нормальней работе системы термостатиро-вамж«я.
Свечение только одного индикатора у1?3 илг. тельное |более 15 мин.) св? : ;■ с одного индикатора VJDI свидетель-
|
1 1 |
-----------—-------—-—------ ------- | ||||
|
1 |
ЗШ. 570. Д14 7-56 ТО |
лист 6 | |||
|
Лист |
N9 докум. |
1 Лодп. 1 дата | |||
|
Колировал; |
Формат А4 | ||||

ует об отсутствии нагрева е первом случае или о значительном
Иерегреве термостата во втором случае, т.е. о нарушении нормаль-й работы системы термостатирования.

Питание на регулируюсь^ транзистор и индикаторы подается _ только при вставленном в разве:

-
3.3.4.Расположение органов управления на лицевой панели БИ
Бинт дли заземления расположен на боковой поверхности корпу-
. - тепла, выделяемого на регулирующих транзисторах
S
кнопка включения сетевого питания;
сигнальный индик? тор СЕТЬ;
■са БП. Металлический корпус БП имеет перфорацию для рассеивания
|
% |
% |
ч |
к. | |||||
|
/о 0 0 & | ||||||||
3 -
гнездо
4 -
п ■ "О
3 ПлИМЫ
термометру
- розетка для подключения
- резьбовые отверстия для
Рио. 2
ft. f
БС; 4t°c;
крепления БС.
зажп :ы
гель;
"а" экрана БС (4 шт);
- сигнальные индикаторы ”
"R £ " для подключения к сопротивлении БС;

|
№ докум. |
Подл. |
Дата |
4.УКАЗАНИЯ МЕР БЕЗОПАСНОСТИ
-
4.1.НКЭС должен быть установлен в сухом, отапливаемом помеще-


1- БП может быть от одного до четырех.
Отключение от БП или подключение к БП в процессе работы
И отдельных БС не вызывает влияния на режим работы остальных БС.
-
5.2.Если КЛЭС был внесен из помещения с температурой, значи-I тельно отличающейся от рабочей, то его необходимо выдержать в рабочих условиях не менее 12 ч.
5.3.Заземлите корпус БП, для чего винт " 4г " соедините
с заземленным контуром.
Включите БП в сеть 220 Б, 50 Гц. Должен светиться индикатор СЕТЬ и индикаторы нагрева термостата t °C" около включенных БС.
-
5.4.По истечении 5-15 мин. должны светиться оба индикатора " t t°ci” , что соответствует установлению температурного режима термодатчиков термостата.
Для установления температурного режима измерительного ре-отора необходима дополнительная выдержка 40-50 мин., после чего Е’йЭС готов к работе.

ЗПВ.670.Д147-56 ТО
Лист
6.УКАЗАНИЯ ПО ПСВцРКЕ
-
6.1. В настоящем разделе установлены методы и средства первич-ной и периодической поверок НМЭС.
Межповерочный интервал периодической поверки - I год,
6.2.Операции поверки
-
6.2.1. При проведении поверки должны быть выполнены операции, указанные в табл.2.
Таблица 2
1“ tобязательность проведения
Наименование операции !Номер jопещцги пси:___
!пункта ТО‘выпуске из про-f эксплуатации
!изводства и jx хранении
|
’после ремонта |
_ | ||
|
I.Внешний осмотр |
7.1 |
Да |
Да |
|
2.Определение электрического сопротивления ИЗОЛЯЦИИ |
7.2 |
Да |
Нет |
|
3•Проверка электричеикий прочности изоляции |
7.2 |
Да |
Нет |
|
4.Проверка работы системы те рм о ре гули ров ани я |
7.3 |
Да |
Да |
|
5.Определение действительного значения сопротивления мер, входящих в НЫЭС |
7.4 |
Да |
Да |
|
6.Определение основной погрешности (нестабильности) в течение года со дня поверки |
7.4 ; |
Да | |
I
-
6.3.Средства поверки
-
6.3.1.При проведении поверки должны быть применены следующие средства поверки:
компаратор сопротивлений P30I5 илх уст ног.ка
жидкостный термостат с рабочей температурой 2С°С и погреш-
313.670.Д147-56 ТО
4 Лкст
Mi докум.
Подп.
Дата
Лист
II
костью поддержания +О,1°С;
меры электрического сопротивления однозначные 1-го и 3-го разрядов с номинальными значениями сопротивления 0,1-1С°0м (СМЭС 3-го разряда используются в качестве тарных мер при измерении методом замещения);
7 14
тераомметр EK6-II с диапазоном измерений от 5’10 до 1-Юх**0м; установка для испытания электрической прочности изоляции, мощность не менее 0,25 кВ«А на стороне высокого напряжения;
омметр цифровой ui306-I.
Примечания: I.Допускается применение других средств поверки, прошедших метрологическую аттестацию в установленном порядке, с техническими характеристиками, обеспечивающими необходимую точность поверки.
2.В качестве тарных мер монет быть использован один из НИЭС, если на поверку поступило более одного НЕЗС.
6.4.1словия поверки и подготовка к ней
-
6.4.1.Поверка ЖЭС проводится в рабочих условиях применения, указанных в разделе I. <
6.4.2..... мый Нг4ЭС in ред определением действительного з: I ротивлени я находиться во включенном в сеть
с о с т оянии в течение не менее I ч,
6.4.3.Образцовые 01’ЗС 1-го разряда и тарные 01.130 3-го разряда должны быть помещены в жидкостный термостат с температурой (20+0,1)°C и выдержаны не менее I ч.
-
6.4.4.Средства поверки должны быть подготовлены к работе согласно своим эксплуатационным документам.
1
ЗПЕ.670.Д147-56 ТО
Лист
1
12
Лист
X» докум.
Подп. Дата

7. МЕТОдПлА ПОВЕРКИ
7.I.Внешний осмотр
7»1,1.При проведении внешнего осмотра должно быть установлено соответствие Н:ЛЭС следующим требованиям:
rL.BC, выпущенный из производства и ремонта, должен быть представлен на поверку с Формуляром, а Н1ЛЭС, находящийся в эксплуатации - с результатами предыдущей пэЕерки;
сО должен иметь неповрежденные клейма предприятия-изготовителя или поверяющей организации;
корпуса БС и ЬП, их панели и зажимы не должны иметь механических повреждений;
в комплекте с НгЛЭС должны находиться сетевые кабели в исправ-
I ном состоянии.
7.2.Определение электрического сопротивления изоляции и проверка электрической прочности изоляции
-
7.2. Т.Сопротгплгни< изоляции ШЛЭС определять с помощью тераом-! метра при напряжении (500+100)3.
Цепи, подлежащие проверке и точки подключения - в соответствии с табл.1.
Отсчет показаний тераомметра производить после прекращения движения указателя выходного прибора.
-
7.2.2. Проверку электрической прочности изолинии производить по ГОСТ 22261-52.
цепи, подлежащие проверке, точки приложения и значение испытательного напряжения указаны в табл.1.
-
7.3.Проверка работы системы терморегулирования
-
7.3.1.Включить Н’ДЭС в сеть и наблюдать за свечением индикаторов на лицевой панели.
В период прогрева кроме индикатора зеленого свечения (сеть)
: должен светиться индикатор красного свечения " ] t °C" - режим

По истечении 5-15 мин должны светиться оба индикатора

Лист
13
красного свечения " i t J I
-
7.3.2. Через I ч после включения НМЭС в сеть подключить Цйфро-зой эгшетр типа дЗОб-I по четырехзажимной схеме к зажимал " R п ^Втветствухдего БС и измерить сопротивление его те^морезистора. Вр ь результаты изм i с данными, приваде! i в рормуляре ^Кя данного БС. Результаты должны совпадать с погрешностью не бо-g лее г -, Т •
-
7.4. Определение действительного значения сопротивления мер, ДВходядих в НМЭС
-
7.4.1. Действительное значение электрического сопротивления hep, входящих в НмЭС, следует определять путем сличения с образцовы-I ми мерами I-го разряда методами замещения или перестановки при по-
МЬщи компараторов.
С целью снижения влияния погрешности образцовых мэр I-го раз-|ряда их поверка должна выполняться не раньше, чем за один-два месяца I до проведения поверки ШЭС, или должны использоваться изученные [ меры I-го разряда, у которых годовая нестабильность за последние
2-3 года не превысила 0,0001 %.
-
7.4.2. Предел допускаемой погрешности определения действитель-| него значения сопротивления мер, входящих в НЮС, с учетом погреш-
1 ностей образцовых случайных погрешностей сличения, а также | неисключенных остатков систематических погрешностей ко!лпараторов I согласно ГОСТ 6.237-77 не должен превышать 0,5 значения класса точности EJ3C.
-
7.4.3. Определение действительного значения сопротивления на I рюмпараторе P30I5 должно выполняться в соответствии с методикой,
изложенной в приложении I.
-
7.4.4. Определение действительного значения сопротивления на
j установке УЫИС-2М должно выполняться в соответствии с ГОСТ 6.237-7? f и технической документацией на установку.
|
1 |
Г--—--- | |||
|
ам. 1 Лист |
К» докум. |
Подл, j Дата |
ЗПВ.67С.Д147-56 ТО |
/1 |
7.4.5. Отклонение 3 действительного значения сопротивления
от номинального Я ном з процента:-: определяется
| формуле:
Pug - дном . I0G
Зной
(I)
ОНаЧвлИ.3
не должно превышать +0,01 %.
7.4.6. Основная погрешность (\н рассчитывается по формуле:
Iff
(2)
- действительное значение при данной поверке, Ом;
сопротивления, определенное
- действительное значение
при предыдущей поверке,
сопротивления, определенное
Ом;
•*ном - номинальное значение сопротивления, Ом;
t-
межповерочный интервал, выраженный в годах.
Результаты поверки считаются положительными, если значение не превышает +0,0004 %.
7.5. Оформление результатов поверки
-
7.5.1. Положительные результаты поверки ШЭС офор-лляютоя за-д^сью в формуляре с нанесением оттиска поверительного клейма на Вкаждый Б5 и БП, входящие в ШЭС.

ЗПВ.670.Д147-56 ТО
Лист
Ms дохум.
Подл.
Дата
7.5.2.3 случае отрицательных результатов поверки одного или нескольких БС данные БС признаются непригодными к выпуску в обра-щение и к применению не допускаются.
Ь этом случае поверяемый Н..1ЭС гложет быть дополнен до полного комплекта из числа других БС, прошедших испытание с положительными результатами, о чем вносится запись в формуляр.
-
8.В03:ЮНЕ£ НЕИСПРАВНОСТИ И СПОСОБЫ
ИХ УСТРАНЕНИЯ
0.1.Б процессе эксплуатации HL3C может подвергаться текущему ремонту силами эксплуатационного персонала.
Возможные неисправности и способы их устранения приведены
в табл.З.
Таблица 3
|
Наи:’ ено вание неисдравное ти, внешнее проявление и дополнительные признаки |
Вероятная причина |
1 Способ устранения |
|
I.Hct свечения индика- |
Лерего; ... предохрани- |
Проверить установку |
|
торов |
гель или нарушилась |
предохранителя или |
|
его установка. |
заменить его. | |
|
Обрыв сетевого кабеля |
Проверить омметром | |
|
питания. |
целостность сетевого кабеля. | |
|
2.Постоянно светится |
Выход из строя системы |
Определить неисправ- |
|
один из индикаторов, |
терморегулирования; |
ный элемент системы |
|
соотвстствуЮЩИА |
вышел из строя ре гули- |
и заменить его. |
|
подъему (f ) или |
су • щи л т ран з и ст о р | |
|
снижению(ф ) тем- |
КТ627А- если неисправ- | |
|
пературы. |
ность повторяется с любым БС, установленным в данном месте; вышла из строя микросхема К140УД17Б -если неисправность повторяется при установке данного БС на любом |
|
1 |
Лист 16 | ||||
|
1 |
ЗПБ. 670. Д14 7-56 ТО | ||||
|
1 Лист |
Л докум. |
1 Подл. |
Дата | ||
Продолжение табл.З
Йаименование нейсправ-! Вероятная причина j Способ устранения Кости, внешнее про/яв- ! Кение и дополнительные!
Ири знаки
3.Значение сопротивления термометра не соответствует данным
- формуляра(отклонение более ^0,1$)
Действительное значение сопротивления меры соответствует указанному в формуляре.
месте.
Нестабильность сопро-- тизления терлометра во времени.
Температура в термостате фактически ос-• тапась без изменения.
Зафиксировать в формуляре новое значение сопротивления термометра.
4.Значение сопротивления термометра отклоняется от указанного в йэрмуляре более, чем на +0,1/». Действительное значение сопротивления меры также не соответствует указанному в формуляре.
Нестабильность сопротивления термодатчика системы терморегулирования.
Температура в термостате изменилась.
Пользуясь подстроеч-ным резистором R3 данного БС, отрегулировать температуру до пре же го показания термометра сопротивления.
-
9.ПРАВИЛА
ХРАНЕНИЯ

-
9.1.ЖЭС до введения в эксплуатацию хранить на складах в упаковке предприятия-изготовителя при температуре от 5 до 40°С и относительной влажности 80$ при температуре 25°С.
-
9.2. Хранить Н/ЭС без упаковки следует при температуре окружающего воздуха от 10 до 35°0 и относительной влажности 80$ при тс пературе 25е С.
-
9.3. Ь помещениях для хранения не должно быть пыли, паров кислот и щелочей, агрессивных газов и других вредных примесей,
вызывающих коррозию.
|
1 1 | ||||
|
1 | ||||
|
*-• |
Лист ЛМСТ |
№ докум. |
1 Подп. |
Дата |
IO. ТРАНСПОРТИРОВАН/®
ЮЛ. Транспортирование НМЭС производить в упаковке любым ви-;ом закрытого транспорта. При транспортировании самолетом Я1аЭС рлжен быть размещен в отапливаемом герметизированном отсеке, вред упаковкой каждый БД додан быть обернут бумагой и помещен в Ьартонную коробку.
Каждый БС должен быть обернут бумагой, уложен в полиэтиленовый чехол, который запаивается, и помещен в эту же коробку (допускается Использование общего чехла для всех БД).
Сетевые шнуры должны быть обернуты бумагой и вместе с технической документацией уложены в эту же коробку. Свободное место в коробке заполняется бутлагой.
Коробка укладывается в транспортный ящик. Пространство между стенками ящика коробкой должно быть заполнено древесной стружкой. Внутри ящик должен быть выстлан водонепроницаемым материалом.
-
10.2. Условия транспортирования:
температура окружающего воздуха от 0 до 50 °C, относительная влажность 95 % при температуре 25 °C. Допускается воздействие ударов с максимальным ускорением 30 м/с4.
-
10.3. Дата консервации совпадает с датой упаковывания. Срок защиты без переконсервации - I год.
1 Лист
ЗП3.670.Д147-56 ТО
Диет
«2 докум.
Подл.
Дата
НА КОМПАРАТОРЕ P30I5
Z. На компараторе РЗСТ5 определить действительное значение Противления Rg. мер методом замещения или методом перестановки.
-
2. Схему измерений необходимо собрать в соответствии с ТО
i P30I5.
-
3. Соблюдать режимы измерений R^ на компараторе P30I5 з соот-тствии с таблицей:
Жиинальное значение сопротивления,
Рекомендуемое значение
Ом
напряжения, 3
? ..., I
0,095
I
0,3
10
0,52
100
1,6
1000
5,2
10000
9,5
IOOCOO
9,5
-
4. Введем условные обозначения:
Rfr* - образцовая ОМЭС 1-го разряда;
R_ - тарная ОЫЭС 3-го разряда;
R. - поверяемая мера.
о. Сущность метода замещения заключается в том, что к кабелю R /✓ компаратора подключают тарную ОМЭС R„, а к кабелю R( поочередно подключают образцовую ОМЭС R v и поверяемую меру йх.
С целью повышения производительности труда рекомендуется иметь на рабочем месте два кабеля R , один из которые подключен к ОМЭС R л/ (в термостате), а другой подключен к поверяемой мере.
Смена подключения объектов ко входу 5L компаратора в этом случае происходит путем смены подключения разъема соответствующего
|
Лист |
Кч докум. |
Подл. |
Дата |
ЗПЭ.670.Д147-56 ТО
Лист
19
Копировал:
Формат А4
