Методика поверки «ГСИ. Анализаторы паров этанола в выдыхаемом воздухе Alcotest 5510, Alcotest 6820» (МП 242-1711-2017)
Федеральное государственное унитарное предприятие «Всероссийский научно-исследовательский институт метрологии имени Д.И. Менделеева»
ФГУП «ВНИИМ им. Д.И. Менделеева»
УТВЕРЖДАЮ
Директор им. Д.И.
« 30 »

ТОРА
Государственная система обеспечения единства измерений
Анализаторы паров этанола в выдыхаемом воздухе Alcotest 5510, Alcotest 6820
МЕТОДИКА ПОВЕРКИ
МП-242-1711-2017
Руководитель научно-исследовательского отдела государственных эталонов в области физико-химических измерений
ФГУП «ВНИИМ им Д.И. Менделеева»

Ведущий инженер
ФГУП «ВНИИМ Д.И. Менделеева»

О.В. Фатина
Санкт-Петербург
2017
Настоящая методика поверки распространяется на анализаторы паров этанола в выдыхаемом воздухе Alcotest 5510, Alcotest 6820 (далее - анализаторы), предназначенные для экспрессного измерения массовой концентрации паров этанола в отобранной пробе выдыхаемого воздуха, и устанавливает методику их первичной поверки (до ввода в эксплуатацию и после ремонта) и периодической поверки в процессе эксплуатации.
Интервал между поверками - 1 год.
При пользовании настоящей методикой поверки целесообразно проверить действие ссылочных документов по соответствующему указателю стандартов, составленному по состоянию на 1 января текущего года и по соответствующим информационным указателям, опубликованным в текущем году.
Если ссылочный документ заменен (изменен), то при пользовании настоящей методикой следует руководствоваться заменяющим (измененным) документом. Если ссылочный документ отменен без замены, то положение, в котором дана ссылка на него, применяется в части, не затрагивающей эту ссылку.
1 ОПЕРАЦИИ ПОВЕРКИ-
1.1 При проведении поверки выполняют операции, указанные в таблице 1.
Таблица 1 - Операции поверки
Наименование операции |
Номер пункта методики поверки |
Проведение операции при | |
первичной поверке до ввода в эксплуатацию |
первичной поверке после ремонта1) и периодической поверке | ||
1 Внешний осмотр |
6.1 |
да |
да |
2 Опробование |
6.2 | ||
- проверка общего функционирования |
6.2.1 |
да |
да |
- проверка функционирования автоматиче- |
6.2.2 |
да |
да |
ского режима отбора пробы - корректировка показаний2) |
6.2.3 |
да |
да |
- подтверждение соответствия программного обеспечения |
6.2.4 |
да |
да |
3 Определение метрологических характери- |
6.3 | ||
стик | |||
- определение погрешности при температуре окружающего воздуха (20 ± 5) °C |
6.3.1 |
нет |
да |
- определение погрешности при температуре окружающего воздуха, соответствующей условиям эксплуатации |
6.3.2 |
да |
нет |
11 В случае, если выполнялась замена датчика температуры, установленного на плате с электрохимическим датчиком, или проводилась регулировка коэффициентов термокомпенсации, при первичной поверке после ремонта выполняют операции поверки, указанные в столбце | |||
«Проведение операции при первичной поверке до ввода в эксплуатацию». | |||
1 Указанные операции поверки выполняются в сервисном меню, для входа в которое требуется ввести PIN-код анализатора. Информация о PIN-коде анализатора предоставляется офи- | |||
циальным представителем изготовителя анализаторов |
в России ООО «СИМС-2» (адрес: | ||
125363, г. Москва, ул. Новопоселковая, д. 6, корп. 7, офис 706, тел./факс: (495) 790-70-23) по | |||
отдельному запросу организациям, аккредитованным на проведение поверки |
-
1.2 Если при проведении той или иной операции поверки получен отрицательный результат, дальнейшую поверку прекращают.
-
2.1 При проведении поверки применяют средства, указанные в таблице 2.
Таблица 2 - Средства поверки
Номер пункта методики поверки |
Наименование и тип основного или вспомогательного средства поверки; обозначение нормативного документа, регламентирующего технические требования и (или) метрологические (MX) и основные технические характеристики средства поверки |
6 |
Средства измерений температуры, относительной влажности воздуха и абсолютного давления, например, прибор комбинированный Testo 622, обеспечивающий MX:
|
а) Рабочие эталоны1) 1 или 2 разряда по ГОСТ 8.578-2014 - генераторы газовых смесей паров этанола в воздухе в комплекте со стандартными образцами состава водных растворов этанола ВРЭ-2 ГСО 8789-2006 (MX приведены в таблице Б.1 приложения Б). Например, генератор газовых смесей паров этанола в воздухе ALCOSIM, регистрационный номер 54037-13. Пределы допускаемой относительной погрешности ±5 %. или б) Рабочие эталоны1) 1 разряда по ГОСТ 8.578-2014 - стандартные образцы состава газовых смесей этанол/азот в баллонах под давлением ГСО 10338-2013 (далее - ГС в баллонах под давлением). Границы относительной погрешности при Р=0,95 ±(2-4) %. | |
Вода дистиллированная по ГОСТ 6709-72. | |
Поверочный нулевой газ воздух2) марки Б по ТУ 6-21-5-82 или азот газообразный особой чистоты 1 или 2 сорта по ГОСТ 9293-74 в баллоне под давлением. | |
Ротаметр РМ-0,63 ГУЗ (или РМ-1 ГУЗ) по ГОСТ 13045-81. Верхний предел измерений объемного расхода 0,63 м3/ч (1,0 м3/ч); пределы допускаемой относительной погрешности ±2,5 % от верхнего предела измерений. | |
Вентиль точной регулировки ВТР-1 или ВТР-1-М160. Диапазон рабочего давления от 0 до 150 кгс/см2, диаметр условного прохода 3 мм. | |
Трубка из поливинилхлорида, 6x1,5 мм. | |
6.3.2 |
Камера климатическая3) любого типа, например ТХВ-150. Точность поддержания температуры ±2 °C. Диапазон поддержания температуры в камере должен обеспечивать воспроизведение значений температур от минус 5 °C до плюс 50 °C, а габаритные объемы внутреннего объема камеры - размещение поверяемого анализатора. |
1J Отношение погрешности рабочего эталона к пределу допускаемой погрешности поверяемого анализатора должно быть не более 1:2.
|
-
2.2 Допускается применение средств поверки, не приведенных в перечне (таблица 2), но обеспечивающих определение (контроль) метрологических характеристик поверяемых средств измерений с требуемой точностью.
-
2.3 Все средства поверки должны иметь действующие свидетельства о поверке, ГС в баллонах под давлением и стандартные образцы состава водных растворов этанола - действующие паспорта, камера климатическая - действующее свидетельство об аттестации.
-
3.1 Помещение, в котором проводят поверку, должно быть оборудовано приточновытяжной вентиляцией, обеспечивающей кратность воздухообмена не менее 4 в 1 час.
-
3.2 Концентрации вредных компонентов в воздухе рабочей зоны (помимо этанола) должны соответствовать требованиям ГОСТ 12.1.005-88.
-
3.3 Если при проведении поверки применяют ГС в баллонах под давлением, должны быть соблюдены федеральные нормы и правила в области промышленной безопасности «Правила промышленной безопасности опасных производственных объектов, на которых используется оборудование, работающее под избыточным давлением» (утверждены приказом Ростехнадзора № 116 от 25.03.2014 г.).
-
3.4 К проведению поверки анализаторов допускают лиц, ознакомленных с ГОСТ 8.578-2014 и руководством по эксплуатации (далее - РЭ) анализаторов, имеющих квалификацию поверителя и прошедших инструктаж по технике безопасности в установленном порядке.
-
4.1 При проведении поверки соблюдают следующие условия:
от 15 до 25; от 30 до 80;
от 84 до 106; не более 0,010.
-
- температура окружающего воздуха, °C
-
- относительная влажность окружающего воздуха, %
-
- атмосферное давление, кПа
-
- массовая концентрация этанола в окружающем воздухе мг/л
Примечание - Если в РЭ генераторов газовых смесей паров этанола в воздухе, применяемых при поверке, условия эксплуатации установлены в более узком диапазоне, при поверке должны выполняться требования к условиям эксплуатации, приведенным в РЭ генераторов.
-
4.2 При проведении поверки с помощью генераторов газовых смесей паров этанола в воздухе (далее - генераторов) соблюдают следующие условия применения стандартных образцов состава водных растворов этанола:
-
- бутыль с раствором вскрывают непосредственно перед использованием;
-
- раствор используют для однократной заливки в генератор;
-
- раствор подлежит замене при превышении максимального количества генерируемых проб газовой смеси (далее - ГС) без замены водного раствора этанола, указанного в РЭ генератора, или при превышении максимального времени нахождения раствора в генераторе, указанного в паспорте стандартного образца;
-
- после использования раствор хранению и повторному использованию не подлежит.
-
4.3 При выполнении операций поверки по 6.2.3 и 6.3 настоящей методики не допускается поочередно подавать на поверяемый анализатор ГС от генераторов газовых смесей паров этанола в воздухе и ГС из баллонов под давлением (таблица 2).
-
5.1 Подготавливают анализатор к работе в соответствии с требованиями РЭ (раздел «Подготовка к работе»).
Данное условие поверки считается выполненным при проведении поверки в помещении с приточновытяжной вентиляцией согласно 3.1 настоящей методики.
Для анализаторов Alcotest модели 6820 проверяют и при необходимости корректируют текущую дату и время, установленные в анализаторе, согласно РЭ.
-
5.2 Подготавливают к работе средства поверки в соответствии с требованиями их эксплуатационной документации.
-
5.3 Проверяют наличие паспортов и сроков годности ГС в баллонах под давлением и стандартных образцов состава водных растворов этанола. Проверяют наличие и целостность защитных этикеток на бутылях со стандартными образцами состава водных растворов этанола.
-
5.4 Баллоны с ГС выдерживают в помещении, в котором проводят поверку, не менее 24 ч, поверяемый анализатор - не менее 2 ч. Перед проведением поверки не допускается подавать на поверяемый анализатор пробы выдыхаемого воздуха или другие газовые смеси в течение не менее 1 ч.
-
6 ПРОВЕДЕНИЕ ПОВЕРКИ
При внешнем осмотре устанавливают соответствие анализатора следующим требованиям:
-
- анализатор представлен на поверку с РЭ, паспортом и свидетельством о предыдущей поверке;
-
- отсутствуют внешние повреждения, влияющие на работоспособность и безопасность;
-
- органы управления, разъемы, штуцера, соединительные провода и кабели исправны;
-
- надписи и маркировка на корпусе анализатора четкие, соответствующие РЭ;
-
- в анализаторе установлены точные дата и время (для анализаторов Alcotest модели 6820).
Примечание - Если при предыдущей поверке анализатора вместо оформления свидетельства о поверке был нанесен знак поверки (поверительное клеймо) в паспорт, то вместо наличия свидетельства о поверке проверяют наличие знака поверки в паспорте анализатора.
Результаты внешнего осмотра считают положительными, если анализатор соответствует перечисленным требованиям.
-
6.2 Опробование
-
6.2.1.1 Проверку общего функционирования анализатора проводят путем включения согласно РЭ, при этом анализатор выполняет автоматическую диагностику работоспособности.
-
6.2.1.2 Если в комплект анализатора входит принтер (для анализаторов Alcotest модели 6820), то при первичной поверке до ввода в эксплуатацию проверяют функционирование принтера согласно РЭ и выполняют распечатку протокола измерения на бумажном носителе с целью оценки качества печати и проверки отображаемой информации.
Примечание — Распечатку протокола измерения с целью оценки качества печати и проверки отображаемой информации допускается выполнять после проведения измерений согласно 6.2.2.2 перечисление г).
-
6.2.1.3 Результаты проверки общего функционирования анализатора считают положительными, если все тесты автоматической диагностики работоспособности анализатора завершены успешно согласно РЭ и, если выполнялась операция по 6.2.1.2, установлено следующее:
-
- принтер анализатора работоспособен, отпечатки знаков в протоколе измерения на бумажном носителе четкие, легкочитаемые;
-
- информация, отображаемая в протоколе измерения на бумажном носителе, соответствует РЭ анализаторов; заводской номер анализатора, дата и время измерения указаны правильно.
-
6.2.2.1 Проверку проводят путем последовательной подачи на анализатор воздуха (азота) из баллона под давлением с разным расходом и контроля срабатывания автоматического режима отбора пробы ГС. Подачу воздуха (азота) на вход анализаторов осуществляют через мундштук, входящий в комплект анализаторов.
Примечание - При выполнении операции поверки по 6.2.2 измерения на анализаторе выполняют в измерительном режиме с автоматическим режимом отбора пробы ГС.
-
6.2.2.2 Проверку выполняют в следующей последовательности:
а) Открывают баллон с воздухом (азотом) и с помощью вентиля точной регулировки, контролируя по ротаметру, устанавливают значение расхода 6 л/мин; отсоединяют ротаметр.
б) Включают анализатор согласно РЭ и после выхода анализатора в режим измерения подают на него воздух (азот) из баллона под давлением, при этом анализатор не должен выполнить автоматический отбор пробы ГС.
в) Открывают баллон с воздухом (азотом) и с помощью вентиля точной регулировки, контролируя по ротаметру, устанавливают расход воздуха 10 л/мин; отсоединяют ротаметр;
г) Включают анализатор согласно РЭ и после выхода анализатора в режим измерения подают на него воздух (азот) из баллона под давлением, при этом анализатор должен выполнить автоматический отбор пробы ГС.
-
6.2.2.3 Результаты проверки функционирования автоматического режима отбора пробы ГС считают положительными, если анализатор соответствует требованиям, указанным в 6.2.2.2 настоящей методики.
-
6.2.3.1 Перед выполнением корректировки показаний проводят три цикла измерений путем подачи на вход анализатора ГС № 3 (таблица Б.1 приложения Б) и регистрации показаний анализатора.
Измерения выполняют по 6.2.3.2 или 6.2.3.3 настоящей методики в зависимости от выбранного средства поверки.
-
6.2.3.2 Выполнение измерений с помощью генераторов газовых смесей паров этанола в воздухе:
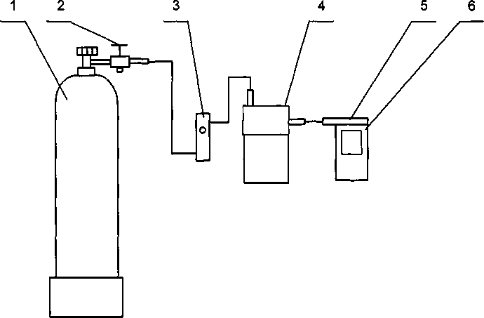
а) Собирают газовую систему согласно рисунку 1. Генератор располагают так, чтобы на него не падали прямые солнечные лучи и вблизи отсутствовали источники охлаждения или нагрева. Длина трубки выхода газовой смеси генератора: не более 5 см. Перед заливкой раствора в генератор проверяют отсутствие влаги и конденсата на внутренних поверхностях генератора, соединительных трубок и мундштуков, при наличии влаги или конденсата необходимо просушить все элементы генератора, соединительные трубки и мундштуки. Подачу ГС на вход анализаторов осуществляют через мундштук, входящий в комплект анализаторов.
б) В соответствии с РЭ генератора приготавливают ГС, используя соответствующий водный раствор этанола согласно таблице Б. 1 приложения Б.
в) Рассчитывают действительное значение массовой концентрации этанола в ГС на выходе генератора С?, мг/л, по формуле
Cjfl =0,38866-Ср, (1)
где Ср - аттестованное значение массовой концентрации этанола в используемом стандартном образце состава водного раствора этанола, указанное в паспорте, мг/см3.

1 - баллон с воздухом; 2 - вентиль; 3 - ротаметр; 4 - генератор;
5 - мундштук из комплекта анализатора; 6 - анализатор
Рисунок 1 - Схема газовой системы для подачи на анализатор ГС от генератора газовых смесей паров этанола в воздухе ALCOSIM.
г) Измерение проводят по схеме (для каждой i-ой ГС проводят по три цикла измерений);
-
- включают анализатор согласно РЭ в измерительном режиме;
-
- при отсоединенном анализаторе открывают баллон с воздухом и с помощью вентиля точной регулировки, контролируя по ротаметру РМ-0,63 ГУЗ (или РМ-1 ГУЗ), устанавливают расход ГС на выходе генератора 10 л/мин;
-
- после появления на дисплее анализатора сообщения «ГОТОВ» подсоединяют анализатор к выходному штуцеру генератора и подают ГС с выхода генератора на анализатор;
-
- после отбора пробы отсоединяют анализатор и закрывают вентиль на баллоне;
-
- регистрируют показание анализатора С,, мг/л;
-
- соблюдают интервал между циклами измерений: не менее 10 с.
д) При выполнении измерений с помощью генератора регистрируют количество генерируемых проб ГС без замены водного раствора этанола. При превышении максимального количества генерируемых проб ГС, указанного в РЭ генератора, выполняют замену стандартного образца состава водного раствора этанола.
-
6.2.3.3 Выполнение измерений с помощью газовых смесей в баллонах под давлением:
а) Собирают газовую систему согласно рисунку 2. Длина соединительной трубки - не более 10 см. Подачу ГС на вход анализаторов осуществляют через мундштук, входящий в комплект анализаторов.

1 - баллон с ГС; 2 - вентиль; 3 - мундштук из комплекта анализатора;
4 - анализатор; 5 - ротаметр
Рисунок 2 - Газовая система для подачи на анализатор ГС из баллона под давлением
б) Измерение проводят по схеме (для каждой i-ой ГС проводят по три цикла измерений):
-
- включают анализатор согласно РЭ в измерительном режиме;
-
- при отсоединенном анализаторе открывают баллон с ГС и с помощью вентиля точной регулировки, контролируя по ротаметру РМ-0,63 ГУЗ (или РМ-1 ГУЗ), устанавливают расход ГС 10 л/мин;
-
- отсоединяют ротаметр;
-
- после появления на дисплее анализатора сообщения «ГОТОВ» подсоединяют анализатор и подают ГС из баллона под давлением на анализатор;
-
- после отбора пробы отсоединяют анализатор и закрывают вентиль на баллоне;
-
- регистрируют показание анализатора П,, мг/л;
-
- рассчитывают измеренное значение массовой концентрации этанола в i-ой ГС С;, мг/л, (для всех ГС, кроме ГС № 1) по формуле
с,=п, А ,кгс. (2)
где Ро - значение атмосферного давления, равное 101,3 кПа;
Р - измеренное значение атмосферного давления, кПа.
Кгс - коэффициент пересчета показаний, Кгс = 1,05.
-
6.2.3.4 По результатам измерений, полученным при подаче ГС № 3 по каждому циклу измерений согласно 6.2.3.2 или 6.2.3.3 настоящей методики, проверяют выполнение условия |С,-С«|<0,07, (3)
где С, - измеренное значение массовой концентрации этанола при подаче i-ой ГС, мг/л;
С? - действительное значение массовой концентрации этанола в i-ой ГС (при поверке с помощью генераторов рассчитывается по формуле (1), при поверке с помощью ГС в баллоне под давлением указано в паспорте), мг/л.
Если условие (3) выполнено, анализатор допускают к выполнению корректировки показаний согласно 6.2.3.5-6.2.3.7 настоящей методики и дальнейшей поверки.
Если условие (3) не выполнено, анализатор не допускают к выполнению корректировки показаний согласно 6.2.3.5 настоящей методики, дальнейшую поверку прекращают. В извещении о непригодности анализатора указывают причину непригодности: «Анализатор не соответствует требованиям 6.2 «Опробование» МП-242-1711-2017 «Анализаторы паров этанола в выдыхаемом воздухе Alcotest 5510, Alcotest 6820. Методика поверки». Анализатор не допущен к выполнению корректировки показаний».
Операцию по корректировке показаний анализатора допускается не выполнять, если по результатам измерений, полученным при подаче ГС № 3 по каждому циклу измерений согласно
-
6.2.3.2 или 6.2.3.3 настоящей методики, выполнено условие
|с,-Сд| <0,03 (4)
-
6.2.3.5 Корректировку показаний анализатора проводят по 6.2.3.6 или 6.2.3.7 в зависимости от выбранного средства поверки путем подачи на вход анализатора ГС № 3 (таблица Б. 1 приложения Б).
Примечание - При поверке анализаторов в рамках метрологической экспертизы, производимой по поручению органов суда, прокуратуры, арбитражного суда и федеральных органов исполнительной власти, операцию по корректировке показаний анализаторов выполнять запрещается.
-
6.2.3.6 Корректировка показаний анализатора с помощью генераторов газовых смесей паров этанола в воздухе:
а) Выполняют операции согласно 6.2.3.2 перечисление а) - в).
б) Включают анализатор согласно РЭ и заходят в сервисное меню путем нажатия и удержания в течение 5 секунд левой синей кнопки управления; вводят PIN-код (см. таблицу 1). Затем заходят в раздел «Калибровка» и далее в подраздел «Опции» и «Концентрация», в котором вводят значение массовой концентрации этанола в ГС на выходе генератора С?, рассчитанное по формуле (1);
в) Измерение проводят по схеме:
-
- в разделе «Калибровка» выбирают подраздел «Калибровка» и нажимают кнопку «ОК»;
-
- при отсоединенном анализаторе открывают баллон с воздухом и с помощью вентиля точной регулировки, контролируя по ротаметру РМ-0,63 ГУЗ (или РМ-1 ГУЗ), устанавливают расход ГС на выходе генератора 7 л/мин;
-
- после появления на дисплее анализатора сообщения «Подайте газ!» подсоединяют анализатор к выходному штуцеру генератора и подают ГС с выхода генератора на анализатор;
-
- после появления на дисплее анализатора сообщения «Прекратите подачу! Идет анализ.. .» отсоединяют анализатор и закрывают вентиль на баллоне.
-
6.2.3.7 Корректировка показаний анализатора с помощью газовых смесей в баллонах под давлением:
а) Собирают газовую систему согласно рисунку 2. Длина соединительной трубки - не более 10 см. Подачу ГС на вход анализаторов осуществляют через мундштук, входящий в комплект анализаторов.
б) Включают анализатор согласно РЭ и заходят в сервисное меню путем нажатия и удержания в течение 5 секунд левой синей кнопки управления; вводят PIN-код (см. таблицу 1). Затем заходят в раздел «Калибровка» и далее в подраздел «Опции» и «Концентрация» и вводят значение массовой концентрации этанола в ГС, рассчитанное по формуле
СР=СД- — —, ' ' Ро Кгс’
(5)
где Сд - аттестованное значение массовой концентрации этанола в используемой ГС в баллоне по давлением, указанное в паспорте, мг/л.
в) Измерение проводят по схеме:
-
- в разделе «Калибровка» выбирают подраздел «Калибровка» и нажимают кнопку «ОК»;
-
- при отсоединенном анализаторе открывают баллон с ГС и с помощью вентиля точной регулировки, контролируя по ротаметру РМ-0,63 ГУЗ (или РМ-1 ГУЗ), устанавливают расход ГС 7 л/мин;
-
- после появления на дисплее анализатора сообщения «Подайте газ!» подсоединяют анализатор и подают ГС из баллона под давлением на анализатор;
-
- после появления на дисплее анализатора сообщения «Прекратите подачу! Идет анализ.. .» отсоединяют анализатор и закрывают вентиль на баллоне.
Подтверждение соответствия программного обеспечения проводят визуально путем идентификации номера встроенного программного обеспечения:
-
- включают анализатор согласно РЭ и заходят в сервисное меню путем нажатия и удержания в течение 5 секунд левой синей кнопки управления, вводят PIN-код (см. таблицу 1);
-
- заходят в раздел «Информация», в подраздел «Версия ПО» и регистрируют установленную в анализаторе версию программного обеспечения.
Результаты проверки соответствия программного обеспечения считают положительными, если на экран анализатора выводится номер версии программного обеспечения, соответствующий указанному в описании типа и РЭ анализаторов.
-
6.3 Определение метрологических характеристик
-
6.3.1.1 Определение погрешности проводят в пяти точках диапазона измерений (далее -точки поверки) путем поочередной подачи на вход анализаторов ГС и регистрации показаний анализаторов.
Основные метрологические характеристики анализаторов приведены в приложении А.
-
6.3.1.2 ГС подают на вход анализатора в последовательности №№ 1-2-3-4-5-1 (таблица Б.1 приложения Б).
-
6.3.1.3 В каждой точке поверки проводят по три цикла измерений путем подачи на вход анализатора i-ой ГС и регистрации показаний анализатора согласно 6.2.3.2 или 6.2.3.3 в зависимости от выбранного средства поверки.
Если при подаче на вход анализатора ГС № 1 в первом цикле измерений зарегистрированы нулевые показания, допускается для ГС № 1 второй и третий цикл измерений не выполнять.
Примечание - Если при выполнении 6.2.3 настоящей методики корректировка показаний анализатора не проводилась, то допускается ГС № 3 повторно не подавать. В этом случае при обработке результатов измерений согласно разделу 7 настоящей методики используют результаты измерений, полученные по каждому циклу измерений при подаче ГС № 3 по 6.2.3 настоящей методики.
6.3.2 Определение погрешности при температуре окружающего воздуха, соответствующей условиям эксплуатации-
6.3.2.1 Определение погрешности выполняют в два этапа:
-
- на первом этапе определяют погрешность при температуре окружающего воздуха (20±5) °C;
-
- на втором этапе определяют погрешность при температуре окружающего воздуха, соответствующей нижнему и верхнему значению условий эксплуатации анализатора.
-
6.3.2.2 Определение погрешности при температуре окружающего воздуха (20±5) °C проводят согласно 6.3.1 настоящей методики.
-
6.3.2.3 Определение погрешности при температуре окружающего воздуха, соответствующей нижнему и верхнему значению условий эксплуатации анализатора, проводят путем выдерживания анализатора в климатической камере и подачи на вход анализатора ГС № 3 (таблица Б. 1 приложения Б).
Измерения выполняют в следующей последовательности:
а) помещают анализатор в климатическую камеру и устанавливают в камере температуру 48 °C; выдерживают анализатор в камере при заданной температуре не менее 2 ч;
б) проводят три цикла измерений путем подачи на вход анализатора ГС № 3 и регистрации показаний анализатора согласно 6.2.3.2 или 6.2.3.3 (в зависимости от выбранного средства поверки); анализатор достают из климатической камеры только на время подачи ГС - не более 15 с, между циклами измерений анализатор выдерживают в климатической камере не менее 5 минут;
в) помещают анализатор в климатическую камеру и устанавливают в камере температуру минус 3 °C; выдерживают анализатор в камере при заданной температуре не менее 2 ч;
г) Проводят три цикла измерений путем подачи на вход анализатора ГС № 3 и регистрации показаний анализатора согласно 6.2.3.2 или 6.2.3.3 (в зависимости от выбранного средства поверки); анализатор достают из климатической камеры только на время подачи ГС - не более 15 с, между циклами измерений анализатор выдерживают в климатической камере не менее 5 минут.
Примечание - При выходе климатической камеры на режим скорость изменения температуры воздуха в рабочем объеме камеры должна быть не более 1 °/мин.
7 ОБРАБОТКА РЕЗУЛЬТАТОВ ИЗМЕРЕНИЙ-
7.1 По результатам измерений, полученным по 6.3.1 и 6.3.2 настоящей методики в каждой точке поверки по каждому циклу измерений, рассчитывают значение абсолютной или относительной погрешности анализаторов, в зависимости от того, какая погрешность нормирована для данной точки поверки.
Значение абсолютной погрешности анализатора Д|, мг/л, при подаче i-ой ГС рассчитывают по формуле
Аг=С,-С«, (6)
где С, - измеренное значение массовой концентрации этанола при подаче i-ой ГС, мг/л;
С" - действительное значение массовой концентрации этанола в i-ой ГС (при поверке с помощью генераторов рассчитывается по формуле (1), при поверке с помощью ГС в баллоне под давлением указано в паспорте), мг/л.
Значение относительной погрешности анализатора б,, %, при подаче i-ой ГС рассчитывают по формуле
г _гд
5,= 1 п 1 100 (7)
' С"
-
7.2 Результаты определения погрешности анализатора считают положительными, если полученные значения погрешности анализатора в каждой точке поверки по каждому циклу измерений не превышают пределов допускаемой погрешности, указанных в описании типа и РЭ анализаторов (см. приложение А).
-
8.1 При проведении поверки составляют протокол поверки анализатора по форме, приведенной в приложении В.
-
8.2 При положительных результатах поверки анализатор признают пригодным к применению и выписывают на него свидетельство о поверке установленной формы согласно Приказу Министерства промышленности и торговли РФ от 02 июля 2015 г. № 1815 «Об утверждении порядка проведения поверки средств измерений, требования к знаку поверки и содержанию свидетельства о поверке». Форма оборотной стороны свидетельства о поверке анализаторов приведена в приложении Г.
Знак поверки наносится на свидетельство о поверке или в паспорт (при первичной поверке до ввода в эксплуатацию).
-
8.3 При отрицательных результатах поверки анализатор признают непригодным к применению, свидетельство о поверке аннулируют, выдают извещение о непригодности установленной формы согласно Приказу Министерства промышленности и торговли РФ от 02 июля 2015 г. № 1815 «Об утверждении порядка проведения поверки средств измерений, требования к знаку поверки и содержанию свидетельства о поверке» с указанием причин непригодности.
ПРИЛОЖЕНИЕ А (обязательное)
Основные метрологические характеристики анализаторов
Таблица АЛ - Метрологические характеристики
Диапазон измерений массовой концентрации этанола, мг/л |
Пределы допускаемой погрешности при температуре (20±5) °C | |
абсолютной |
относительной | |
от 0 до 0,20 включ. |
±0,02 мг/л |
— |
св. 0,20 до 2,00 |
— |
±10% |
Примечания:
|
Таблица А. 2 - Метрологические характеристики
Температура окружающего воздуха |
Диапазон измерений массовой концентрации этанола, мг/л |
Пределы допускаемой погрешности1) | |
абсолютной |
относительной | ||
от минус 5,0 °C до 15,0 °C включ. |
от 0 до 0,33 включ. |
±0,05 мг/л |
— |
св. 0,33 до 2,00 |
— |
±15% | |
св. 15,0 °C до 25,0 °C включ. |
от 0 до 0,20 включ. |
±0,02 мг/л2) |
— |
св. 0,20 до 2,00 |
— |
±10 %2) | |
св. 25,0 °C до 50,0 °C |
от 0 до 0,33 включ. |
±0,05 мг/л |
— |
св. 0,33 до 2,00 |
— |
±15 % | |
’) В таблице указаны пределы допускаемой погрешности анализаторов в условиях эксплуатации. 2) Согласно таблице А. 1. |
ПРИЛОЖЕНИЕ Б (обязательное)
Метрологические характеристики газовых смесей, используемых при поверке анализаторовТаблица Б.1 - Метрологические характеристики газовых смесей, используемых при по-
верке анализаторов
Номер ГС |
Номинальное значение массовой концентрации этанола в ГС, подаваемых на анализатор, пределы допускаемого отклонения, мг/л |
Номинальное значение массовой концентрации этанола в водных растворах этанола1), пределы допускаемого отклонения, мг/см3 |
Номинальное значение массовой концентрации этанола в ГС в баллонах под давлением2), пределы допускаемого отклонения, мг/л |
ГС№ 1 |
0 |
дистиллированная вода |
воздух |
ГС №2 |
0,150=1=0,015 |
0,386±0,039 |
0,150=1=0,015 |
ГС№3 |
0,475±0,048 |
1,22±0,12 |
0,475±0,048 |
ГС №4 |
0,850±0,085 |
2,19±0,22 |
0,850±0,085 |
ГС №5 |
1,50±0,15 |
3,86±0,39 |
1,50±0,15 |
') При проведении поверки анализаторов с помощью генераторов газовых смесей паров этано-
ла в воздухе используют стандартные образцы состава водных растворов этанола ВРЭ-2 ГСО 8789-2006. Границы относительной погрешности при Р=0,95: ± 1 %.
-
2) При проведении поверки анализаторов с помощью стандартных образцов состава газовых смесей этанол/азот в баллонах под давлением ГСО 10338-2013. Границы относительной по-грешности при Р=0,95 ±(2-4) %.
ПРИЛОЖЕНИЕ В
(рекомендуемое)
Форма протокола поверки анализаторов
ПРОТОКОЛ ПОВЕРКИ
№____________от________________
-
1) Наименование анализатора, тип______________________________________________________
-
2) Регистрационный номер в Федеральном информационном фонде
по обеспечению единства измерений___________________________________________________
-
3) Заводской номер____________________________________________________________________
-
4) Заказчик______________________________________________________________________________
-
5) Наименование изготовителя_______________________________________
-
6) Дата выпуска________________________________________________________________________
-
7) Наименование нормативного документа по поверке____________________________________
-
8) Средства поверки^
-
- генератор газовых смесей паров этанола в воздухе
(указывают тип, заводской номер генератора, номер и дату действия свидетельства о поверке)
-
- стандартные образцы состава водных растворов этанола
(указывают регистрационный номер1 2 и номера используемых экземпляров стандартных образцов)
-
- камера климатическая
(указывают тип, заводской номер, номер и дату действия свидетельства об аттестации)
-
9) Вид поверки: первичная/периодическая (нужное подчеркнуть)
-
10) Условия поверки:
-
- температура окружающего воздуха_________________________________________________
-
- относительная влажность окружающего воздуха______________________________________
-
- атмосферное давление____________________________________________________________
-
11) Результаты, полученные при проведении поверки
Внешний осмотр______________________________________________________________
Опробование____________________________________________________________________
Проверка общего функционирования________________________________________________
Проверка функционирования автоматического режима отбора пробы_______________________
Подтверждение соответствия программного обеспечения_________________________________
Определение метрологических характеристик
Температура окружающего воздуха, °C |
Диапазон из-мерений, мг/л |
Пределы допускаемой погрешности |
Действительное значение массовой концентрации этанола в ГС, мг/л |
Измеренное значение массовой кон-центрации этанола в ГС, мг/л |
Значение погрешности, полученное при поверке | ||
абсолютной |
относительной |
абсолютной, мг/л |
относительной, % | ||||
Заключение: на основании результатов первичной (периодической) поверки СИ признано со ответствующим (не соответствующим) установленным в описании типа метрологическим тре бованиям (нужное подчеркнуть)
Выдано:свидетельство о поверке №_____________________от____________
извещение о непригодности №_____________________от____________
Причины непригодности___________________________________________________________
Поверитель
(Подпись)
(Инициалы, фамилия)
ПРИЛОЖЕНИЕ Г
(обязательное)
Форма оборотной стороны свидетельства о поверке-
1 Результаты внешнего осмотра___________________________________________________
-
2 Результаты опробования_____________________________________________________
-
3 Результаты определения метрологических характеристик
-
3.1 Результаты определения погрешности
Поверитель
(Подпись)
(Инициалы, фамилия)
Диапазон измерений, мг/л
Пределы допускаемой погрешности при температуре окружающего воздуха (20±5) °C
Максимальное значение погрешности, полученное при поверке
абсолютной
относительной
абсолютной
относительной
от 0 до 0,20 включ.
±0,02 мг/л
-
-
св. 0,20 до 2,00
-
±10%
-
-
Примечание - Пределы допускаемой погрешности анализатора в условиях эксплуатации в зависимости от температуры окружающего воздуха приведены в паспорте и руководстве по эксплуатации анализатора;
4.2 Результаты определения погрешности при температуре, соответствующей нижнему и
верхнему значению условий эксплуатации^
Температура окружающего воздуха |
Пределы допускаемой абсолютной/относительной погрешности |
Максимальное значение абсолютной/относительной погрешности, полученное при поверке |
минус 3 °C | ||
плюс 48 °C |
Данный пункт приводят в свидетельстве о поверке, если при определении метрологических характеристик анализатора выполняется операция по 6.3.2 настоящей методики.
Указывают средства поверки, применяемые при поверке анализатора.
Указывают регистрационный номер в Федеральном информационном фонде по обеспечению единства измерений.