№1804 от 27.08.2025
Приказ Федерального агентства по техническому регулированию и метрологии (Росстандарт)
# 707545
ПРИКАЗ_О внесении изменений в приказ Федерального агентства по техническому регулированию и метрологии от 1 сентября 2021 г. № 1920 «О внесении изменений в сведения об утвержденных типах средств измерений»
Приказы по основной деятельности по агентству Вн. Приказ № 1804 от 27.08.2025

ЛШШ1СТЕРСТВО ПРОМЫШЛЕННОСТИ и ТОРГОВЛИ РОССИЙСКОЙ ФЕДЕРАЦИИ
ФЕДЕРАЛЬНОЕ АГЕНТСТВО
ПО ТЕХНИЧЕСКОМУ РЕГУЛИРОВАНИЮ И МЕТРОЛОГИИ (Росстандарт)
ПРИКАЗ
T1 августа 2025 г.
1804
Москва
О внесении изменений в приказ Федерального агентства по техническому регулированию и метрологии от 1 сентября 2021 г. № 1920 «О внесении изменений в сведения об утвержденных типах средств измерений»
В связи с технической ошибкой п р и к а з ы в а ю:
от об об
-
1. Внести изменения в пункт 3 приложения к приказу 1 сентября 2021 г. № 1920 «О внесении изменений в сведения
утвержденных типах средств измерений», заменив сведения утвержденном типе средства измерений и описание типа, прилагаются к настоящему приказу.
-
2. ФБУ «НИЦ ПМ - Ростест» внести сведения об утвержденном типе средства измерений согласно приложению к настоящему приказу в Федеральный информационный фонд по обеспечению единства измерений в соответствии с порядком создания и ведения Федерального информационного фонда по обеспечению единства измерений, передачи сведений в него и внесения изменений в данные сведения, предоставления содержащихся в нем документов и сведений, утвержденным приказом Министерства промышленности и торговли Российской Федерации от 28 августа 2020 г. № 2906.
-
3. Контроль за исполнением настоящего приказа оставляю за собой.
Л \
Подлинник электронного документа, подписанного ЭП, хранится в системе электронного документооборота Федерального агентства по техническому
Заместитель руководителя
регулированию и метрологии
Е.Р. Лазаренко
Сертификат: 7B1801563EA497F787EAF40A918A8D6F
Кому выдан: Лазаренко Евгений Русланович
Действителен: с 19.05.2025 до 12.08.2026
ч
ПРИЛОЖЕНИЕ
к приказу Федерального агентства по техническому регулированию
и метрологии
ZZ 27 августа лг 1804
от « » _ 2025 г. №
Сведения
об утвержденном типе средства измерений, подлежащие изменению в части сведений о месте осуществления деятельности изготовителя
№ п/п |
Наименование типа |
Обозначе ние типа |
Регистрационный номер в ФИФ |
Изготовитель |
Место осуществления деятельности Изготовителя |
Заявитель | |
Прежний адрес |
Новый адрес | ||||||
1 |
2 |
3 |
4 |
5 |
6 |
7 |
8 |
1. |
Счетчики электрической энергии трехфазные |
PRO |
81676-21 |
Общество с ограниченной ответственностью «Производственнологистический центр автоматизированных систем» (ООО «ПЛЦ АС»), г. Москва |
160010, г. Вологда, ул. Залинейная, д. 22 |
160022, г. Вологда, ул. Сергея Преминина, д. 10, пом. 3-9 |
Общество с ограниченной ответственностью «Производственнологистический центр автоматизированных систем» (ООО «ПЛЦ АС»), г. Москва |
УТВЕРЖДЕНО приказом Федерального агентства по техническому регулированию и метрологии от « __ » a^iyc^a 2025 г. № _^04
Лист № 1
Всего листов 15
Регистрационный № 81676-21
ОПИСАНИЕ ТИПА СРЕДСТВА ИЗМЕРЕНИЙ
Счетчики электрической энергии трехфазные PRO Назначение средства измеренийСчетчики электрической энергии трехфазные PRO (далее - счетчики) предназначены для измерений и учета активной и реактивной электрической энергии прямого и обратного направлений, а также полной электрической энергии в трехфазных трех- и четырехпроводных сетях переменного тока с номинальным фазным/линейным напряжением 3x57,7/100 В или 3x230/400 В и номинальной частотой 50 Гц в соответствии с требованиями ГОСТ 31818.11-2012, ГОСТ 31819.22-2012, измерений параметров качества электрической энергии (среднеквадратических значений фазного (линейного) напряжения переменного тока, среднеквадратических значений силы переменного тока, частоты переменного тока, суммарного коэффициента гармонических составляющих напряжения), активной, реактивной и полной электрической мощности, коэффициента мощности, текущего времени, а также измерений аналоговых сигналов силы постоянного тока.
Описание средства измеренийПринцип действия счетчиков основан на преобразовании входных аналоговых сигналов силы и напряжения переменного тока в цифровой код. Аналоговые сигналы силы и напряжения переменного тока, измеренные с помощью первичных измерительных преобразователей, поступают в микроконтроллер, выполняющий аналогово-цифровое преобразование сигналов и дальнейшие преобразования с помощью алгоритмов цифровой обработки сигналов.
Конструктивно счетчики состоят из первичных измерительных преобразователей, печатной платы с расположенными на ней микроконтроллером и радиокомпонентами, жидкокристаллического дисплея (далее - ЖК-дисплей), клеммных колодок подключений и интерфейсных разъемов, размещенных в едином пластиковом корпусе.
В качестве первичных измерительных преобразователей для измерений силы переменного тока используются трансформаторы тока, включенные последовательно в токовые цепи каждой из фаз. В качестве первичных измерительных преобразователей для измерений напряжения переменного тока используются резистивные делители напряжения, включенные в параллельные цепи напряжения.
Микроконтроллер измеряет среднеквадратические значения силы и напряжения переменного тока по каждой из фаз при помощи цифрового интегрирования на полупериоде сигнала, используя выборку из 64 мгновенных значений. Измеренные значения силы и напряжения переменного тока обновляются через интервалы времени, равные половине периода сигнала. Данный алгоритм позволяет реагировать, в соответствии с запрограммированной логикой, на измеренные значения напряжения и силы переменного тока за установленные пределы времени без значимых задержек.
По измеренным значениям силы и напряжения переменного тока вычисляются значения однофазной и трехфазной активной, реактивной и полной электрической мощности, а также однофазного и трехфазного коэффициента мощности (cosф).
При расчете мощностей и коэффициента мощности используется выборка из 128 мгновенных значений на период.
Для реализации описанных алгоритмов осуществляется измерение периода сигнала переменного тока и синхронизация частоты выборки с частотой сети. В качестве сигнала опорной частоты принимается сигнал напряжения переменного тока одной из фаз. Метод измерений частоты - метод пересечения нуля.
Для выполнения гармонического анализа по 7 входам измерительных цепей силы и напряжения переменного тока (3 входа напряжения переменного тока и 4 входа силы переменного тока) выполняется выборка мгновенных значений с дискретизацией 256 значений на период. Полученные отсчеты подвергаются разложению в ряды Фурье.
При помощи дополнительных модулей и PLC-подобной логики обработки событий счетчики осуществляют информационную связь с другими средствами измерений и автоматизации, в том числе контролируют состояние внешних устройств, выполняют функции реле, считают количество импульсов и переводят их в именованные физические величины, измеряют физические величины по аналоговым сигналам силы постоянного тока.
Связь со счетчиками может устанавливаться независимо и одновременно через любой коммутационный порт с использованием программного обеспечения (далее - ПО) PAS или другого совместимого со счетчиками ПО пользователя.
Счетчики имеют 4 стандартных последовательных порта связи COM1-COM4 для обмена данными с программно-техническими комплексами, измерительно-вычислительными комплексами, устройствами сбора и передачи данных на базе ПО PAS или другого совместимого со счетчиками ПО, программируемыми логическими контроллерами, выносным дисплеем (опционально).
Все последовательные порты могут работать в двухпроводном режиме RS-485.
Порт COM1 является встроенным универсальным портом RS-485 и поддерживает передачу данных по протоколам Modbus RTU, DNP3, SATEC ASCII, МЭК 60870-5-101.
Порт COM2 на физическом уровне идентифицируется как последовательный порт присоединяемого дополнительного модуля.
Порт COM3 на физическом уровне имеет специальные терминалы для подключения выносного дисплея.
Порт COM4 является инфракрасным портом, поддерживающим передачу данных по протоколу Modbus RTU, порт может работать с оптической считывающей головкой по ГОСТ IEC 61107-2011.
Порт COM5 (опционально) идентифицируется в счетчиках как дополнительный модуль сотовой связи 3G/4G (GSM-модем) для коммуникации с сотовыми сетями общего пользования с поддержкой протоколов Modbus/TCP, DNP3.0/TCP, МЭК 60870-5-104.
Счетчики имеют USB-порт, предназначенный для связи с персональным компьютером с установленным ПО PAS.
Счетчики имеют два порта Ethernet стандарта 10/100BASE-T, обеспечивающих прямое соединение счетчиков с локальной сетью по протоколам TCP/IP. Счетчики имеют три встроенных TCP-сервера, которые могут быть сконфигурированы для работы по протоколам Modbus/TCP, DNP3.0/TCP или МЭК 60870-5-104 (протокол TCP). Серверы могут поддерживать до 10 одновременных соединений с клиентами. Порты Ethernet поддерживают передачу данных по стандарту IEC (МЭК) 61850 (опционально).
Счетчики могут иметь встроенный модуль с 2 входами дискретных сигналов, аналоговым входом силы постоянного тока, осуществляющим измерение аналоговых выходных сигналов от других средств измерений и средств автоматизации, электромеханическим реле.
Счетчики могут иметь до 4 присоединяемых модулей, соединяемых в необходимом пользователю числе и последовательности:
-
- 8-канальный модуль дискретных сигналов;
-
- 4-канальный модуль релейных выходов (электромеханические или твердотельные реле);
-
- модуль сотовой связи-модем;
-
- модуль дополнительного питания.
Счетчики автоматически ведут журнал событий, сохраняемый в энергонезависимой памяти и фиксирующий дату и время наступления следующих событий:
-
- факт связи со счетчиком, приведший к каким-либо изменениям данных или конфигурации;
-
- факт коррекции времени с фиксацией величины коррекции времени;
-
- формирование события по результатам автоматической самодиагностики;
-
- отсутствие напряжения по каждой фазе с фиксацией времени пропадания и восстановления напряжения;
-
- прерывание питания счетчика с фиксацией времени пропадания и восстановления;
-
- срабатывание триггеров и состояние дискретных входов и релейных выходов.
Счетчики выпускают в следующих модификациях: PRO PM035, PRO PM335, PRO EM235, отличающихся конструктивным исполнением корпуса, наличием или отсутствием ЖК-дисплея, способом монтажа, номинальным током, максимальным током.
Метрологические характеристики отображаемых на ЖК-дисплее значений силы и напряжения переменного тока, активной, реактивной и полной электрической мощности не нормируются. Отображение значений приведенных величин с нормируемыми метрологическими характеристиками осуществляется с помощью ПО PAS, установленного на персональном компьютере, или другого совместимого со счетчиками ПО пользователя.
Структура условного обозначения счетчиков:
10
11
-
1 - Модификация счетчика (PRO PM035, PRO PM335, PRO EM235):
-
- PRO PM035 - без жидкокристаллического дисплея, для монтажа на стандартный профиль направляющих ТН35 (DIN-рейка) по ГОСТ IEC 60715-2013;
-
- PRO PM335 - с цветным TFT ЖК-дисплеем 3,5 дюйма, для щитового монтажа;
-
- PRO EM235 - с цветным TFT ЖК-дисплеем 1,77 дюйма, для монтажа на стандартный профиль направляющих ТН35 (DIN-рейка) по ГОСТ IEC 60715-2013.
-
2 - Наличие дополнительного модуля дискретных и аналоговых сигналов:
-
- IOS - наличие встроенного модуля дискретных и аналоговых сигналов (диапазон от 4 до 20 мА).
-
3 - Номинальный ток:
-
- 1 - 1 A;
-
- 5 - 5 A.
-
4 - Номинальная частота:
-
- 50HZ - 50 Гц.
-
5 - Класс точности:
-
- 02 - 0,2S при измерении активной и полной электрической энергии, 0,5S при измерении реактивной электрической энергии;
-
- 05 - 0,5S при измерении активной и полной электрической энергии, 1S при измерении реактивной электрической энергии.
-
6 - обозначение питания счетчика от универсального встроенного блока питания:
ACDC.
-
7 - Наличие передачи данных по стандарту IEC (МЭК) 61850:
-
- 850 - имеется;
-
- «пробел» - отсутствует.
8, 9, 10, 11 - Дополнительные модули:
-
- MDM - модуль сотовой связи (GSM-модем) 3G/4G;
-
- DI8-DRC - модуль входных дискретных сигналов типа «сухой контакт» на 8 каналов;
-
- DI8-V24 - модуль дискретных сигналов на 8 каналов типа «мокрый контакт», напряжение 24 В постоянного тока;
-
- DI8-V48 - модуль дискретных сигналов на 8 каналов типа «мокрый контакт», напряжение 48 В постоянного тока;
-
- DI8-V125 - модуль дискретных сигналов на 8 каналов типа «мокрый контакт», напряжение 125 В постоянного тока;
-
- DI8-V250 - модуль дискретных сигналов на 8 каналов типа «мокрый контакт», напряжение 250 В постоянного тока;
-
- EMR4 - модуль выходных дискретных сигналов на 4 канала, электромеханические реле, 250 В, 5 А переменного тока;
-
- SSR4 - модуль выходных дискретных сигналов на 4 канала, твердотельные реле, 250 В, 0,1 А переменного тока;
-
- AUX-ACDC - модуль резервного питания на номинальное напряжение сети питания 230 В переменного тока и 220 В постоянного тока.
Заводской номер наносится на маркировочную табличку, наклеенную на боковую панель корпуса типографским способом в виде цифрового кода.
Общий вид счетчиков представлен на рисунках 1 - 3.
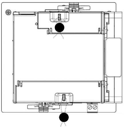
Схемы пломбировки с указанием мест ограничения доступа к местам настройки (регулировки) представлены на рисунках 4 - 7. Места нанесения знака поверки, приведены на рисунках 4 - 5. Способ ограничения доступа к местам настройки (регулировки) наклейки.
- пломба в виде

Рисунок 1
- Общий вид счетчиков модификации PRO PM035

Рисунок 2 - Общий вид счетчиков модификации PRO PM335

Рисунок 3 - Общий вид счетчиков модификации PRO EM235

Рисунок 4 - Схема пломбирования счетчиков модификаций PRO PM035 и PRO PM335 с указанием мест ограничения доступа к местам настройки (регулировки) и места нанесения знака поверки

Рисунок 5 - Схема пломбирования счетчиков модификации PRO ЕМ235 с указанием мест ограничения доступа к местам настройки (регулировки) и места нанесения знака поверки

Рисунок 6 - Схема пломбирования счетчиков модификации PRO ЕМ235 энергоснабжающей (сетевой, обслуживающей) организацией

Рисунок 7 - Схема пломбирования счетчиков модификаций PRO PM035 и PRO PM335 энергоснабжающей (сетевой, обслуживающей) организацией
Примечание к рисунку 4 - Пломбирование счетчиков модификации PRO PM335 выполняется при снятом дисплее, модификации PRO PM035 - при снятой крышке для монтажа на DIN-рейку.
Программное обеспечениеПО счетчиков состоит из внешнего ПО PAS и встроенного. Встроенное ПО производит обработку информации, поступающей от аппаратной части счетчиков, формирует массивы данных и сохраняет их в энергонезависимой памяти, отображает измеренные значения ЖК-дисплее или посредством передачи во внешнее ПО PAS, а также формирует ответы запросы, поступающие по интерфейсам связи.
на на
за
Встроенное ПО состоит из двух взаимодействующих частей: одна часть отвечает измерительные функции счетчиков (метрологически значимая часть), вторая часть управляет интерфейсами счетчиков.
Пользователь счетчиков не имеет доступа к изменению метрологически значимой части ПО, а также градуировочных коэффициентов, записанных в память счетчиков.
Метрологические характеристики счетчиков нормированы с учетом влияния ПО.
Уровень защиты программного обеспечения от непреднамеренных и преднамеренных изменений «высокий» в соответствии с Р 50.2.077-2014.
Идентификационные данные ПО счетчиков приведены в таблице 1.
Таблица 1 -
данные ПО
Идентификационные данные |
Значение |
Для модификаций PRO PM035, PRO PM335 | |
Идентификационное наименование ПО |
ПО для PRO PM |
Номер версии (идентификационный номер) ПО, не ниже |
V44.01.XX.XX |
Цифровой идентификатор ПО |
- |
Для модификации PRO EM235 | |
Идентификационное наименование ПО |
ПО для PRO EM |
Номер версии (идентификационный номер) ПО, не ниже |
V40.01.XX.XX |
Цифровой идентификатор ПО |
- |
Примечание - Значения «ХХ» - цифры от «01» до «99», при значениях от «01» до «09» первый символ опускается. |
Метрологические и технические характеристики
Таблица 2 - Метрологические характеристики
Наименование характеристики |
Значение |
Тип включения цепей тока |
трансформаторное |
Тип включения цепей напряжения |
трансформаторное непосредственное |
Номинальное фазное/линейное напряжение ^ф.ном/^л.ном, В |
3x57,7/100; 3x230/400 |
Номинальный ток /ном (максимальный ток /макс), А |
1 (1,5); 5 (7,5) |
Номинальная частота сети /ном, Гц |
50 |
Стартовый ток при измерениях активной, реактивной и полной электрической энергии /ст, % от /ном |
0,1 |
Постоянная счетчика в нормальном режиме работы (измерение электроэнергии), имп./(кВт^ч) |
1000 |
Постоянная счетчика в режиме поверки активной и реактивной электрической энергии, Вт^ч/имп., вар^ч/имп. |
от 0,01 до 0,4 |
Постоянная счетчика в режиме поверки полной электрической энергии, В^А^ч/имп. |
от 0,2 до 1,0 |
Расширенный рабочий диапазон напряжения, В |
от 0,8^^ном до 1,15^^ном |
Классы точности при измерении активной электрической энергии по ГОСТ 31819.22-2012 |
0,2S; 0,5S |
Классы точности при измерении реактивной электрической энергии 1) |
0,5S; 1S |
Классы точности при измерении полной электрической энергии 2) |
0,2S; 0,5S |
Диапазон измерений силы постоянного тока 3), мА |
от 4 до 20 |
Пределы допускаемой приведенной к диапазону измерений погрешности измерений силы постоянного тока, % |
±0,5 |
Пределы допускаемой основной абсолютной погрешности измерений текущего времени по отношению к временной шкале UTC (SU) при (23±2) °С при отсутствии синхронизации, с/сут |
±0,3 |
Наименование характеристики |
Значение |
Пределы допускаемой дополнительной абсолютной погрешности измерений текущего времени по отношению к временной шкале UTC (SU) при отклонении температуры окружающей среды от (23±2) °С в рабочих условиях измерений, на каждый 1 °С, (с/сут)/ °С |
±0,004 |
Диапазон измерений частоты переменного тока f, Гц |
от 42,5 до 57,7 |
Пределы допускаемой абсолютной погрешности измерений частоты переменного тока f, Гц |
±0,005 |
Диапазоны измерений среднеквадратических значений фазного (линейного) напряжения переменного тока, В:
|
от 0,1 • ином до 1,5 • ином от 0,05 •ином до 1,5^ином |
Пределы допускаемой основной приведенной к номинальному значению ином погрешности измерений среднеквадратических значений напряжения переменного тока, %:
|
±0,15 ±0,5 |
Диапазон измерений суммарного коэффициента гармонических составляющих напряжения Ku 4), % |
от 0,5 до 30 |
Пределы допускаемой абсолютной (Л) / относительной (5) погрешностей измерений суммарного коэффициента гармонических составляющих напряжения:
|
±0,05^ ином/и(1) ±5 |
Диапазон измерений среднеквадратических значений силы переменного тока Та, 1в, 1с, силы переменного тока по дополнительному каналу I, А |
от 0,01^1ном до 1,5^1ном |
Пределы допускаемой основной приведенной к номинальному значению Тном погрешности измерений среднеквадратических значений силы переменного тока, % |
±0,15 |
Диапазон измерений активной электрической мощности, Вт |
от 0,01^1ном до 1,5^1ном от 0,8-ином до 1,15-ином 0,25 < со.зф < 1 |
Диапазон измерений реактивной электрической мощности, вар |
от 0,01^1ном до 1,5^1ном от 0,8-ином до 1,15-ином 0,25 < .з1'Пф < 1 |
Диапазон измерений полной электрической мощности, В • А |
от 0,01^1ном до 1,5^1ном от 0,8-ином до 1,15-ином |
Пределы допускаемых относительных погрешностей измерений активной электрической мощности, % |
приведены в таблицах 3, 4, 12-13, 16, 17 |
Пределы допускаемых относительных погрешностей измерений реактивной электрической мощности, % |
приведены в таблицах 5, 6, 12, 14 |
Пределы допускаемых относительных погрешностей измерений полной электрической мощности, % |
приведены в таблицах 7, 8, 12, 15 |
Диапазоны измерений коэффициента мощности, cosф |
от -0,999 до -0,25; от 0,25 до 1 |
Пределы допускаемой абсолютной погрешности измерений коэффициента мощности cosф в диапазоне силы переменного тока от 2 до 150 % от Тном |
±0,004 |
Наименование характеристики |
Значение |
Пределы допускаемой дополнительной приведенной к номинальному значению погрешности измерений среднеквадратических значений силы и напряжения переменного тока при отклонении температуры окружающей среды от (23±2) °С в рабочих условиях измерений на каждый 1 °С, % |
±0,005 |
Средние температурные коэффициенты при измерении активной, реактивной и полной электрической энергии и мощности, %/°С |
приведены в таблицах 9-11 |
Нормальные условия измерений:
|
от +21 до +25 75 |
полной электрической энергии для счетчиков классов точности 0,2S, 0,5S по АЦСБ.411100.004 ТУ приведены в таблицах 7, 8, 12, 15.
|
Таблица 3 - Пределы допускаемой основной относительной погрешности измерений активной электрической мощности при симметричной нагрузке и номинальном напряжении для счетчиков классов точности 0,2S и 0,5 S
Сила переменного тока, А |
Коэффициент мощности COSф |
Пределы допускаемой основной относительной погрешности счетчиков для классов точности, % | |
0,2S |
0,5S | ||
0,01 •1ном < I < 0,05\1ном |
1 |
±0,4 |
±1,0 |
0,05 •1ном < I < 1макс |
1 |
±0,2 |
±0,5 |
0,02 •1ном < I < 0,1 •1ном |
0,5 (при индуктивной нагрузке) |
±0,5 |
±1,0 |
0,02 •1ном < I < 0,1 •1ном |
0,8 (при емкостной нагрузке) |
±0,5 |
±1,0 |
0,1 •Iном < I < Iмакс |
0,5 (при индуктивной нагрузке) |
±0,3 |
±0,6 |
0,1 •Iном < I < Iмакс |
0,8 (при емкостной нагрузке) |
±0,3 |
±0,6 |
Таблица 4 - Пределы допускаемой основной относительной погрешности измерений активной электрической мощности при однофазной нагрузке и номинальном напряжении для счетчиков классов точности 0,2S и 0,5S
Сила переменного тока, А |
Коэффициент мощности COSф |
Пределы допускаемой основной относительной погрешности счетчиков для классов точности, % | |
0,2S |
0,5S | ||
0,05 •Iном < I < Iмакс |
1 |
±0,3 |
±0,6 |
0,1 •Iном < I < Iмакс |
0,5 (при индуктивной нагрузке) |
±0,4 |
±1,0 |
Таблица 5 - Пределы допускаемой основной относительной погрешности измерений реактивной электрической энергии прямого и обратного направлений и электрической мощности при симметричной нагрузке и номинальном напряжении для счетчиков классов точности 0,5 S, 1S
Сила переменного тока, А |
Коэффициент sinф (при индуктивной или емкостной нагрузке) |
Пределы допускаемой основной относительной погрешности счетчиков для классов точности, % | |
0,5S |
1S | ||
0,01 •1ном < I < 0,05 •1ном |
1 |
±1,0 |
±1,5 |
0,05 •1ном < I < 1макс |
1 |
±0,5 |
±1,0 |
0,05 •1ном < I < 0,1 •1ном |
0,5 |
±1,0 |
±1,5 |
0,1 •1ном < I < 1макс |
0,5 |
±0,5 |
±1,0 |
0,1 •Iном < I < Iмакс |
0,25 |
±1,0 |
±2,0 |
Таблица 6 - Пределы допускаемой основной относительной погрешности измерений реактивной электрической энергии прямого и обратного направлений и электрической мощности при однофазной нагрузке и номинальном напряжении для счетчиков классов точности 0,5 S, 1S
Сила переменного тока, А |
Коэффициент sinф (при индуктивной или емкостной нагрузке) |
Пределы допускаемой основной относительной погрешности счетчиков для классов точности, % | |
0,5S |
1S | ||
0,05 •Iном < I < Iмакс |
1 |
±0,7 |
±1,5 |
0,1 •Iном < I < Iмакс |
0,5 |
±1,0 |
±2,0 |
0,1 •Iном < I < Iмакс |
0,25 |
±1,5 |
±3,0 |
Таблица 7 - Пределы допускаемой основной относительной погрешности измерений полной электрической энергии и мощности при симметричной нагрузке и номинальном напряжении для счетчиков классов точности 0,2S, 0,5S
Сила переменного тока, А |
Коэффициент мощности COSф |
Пределы допускаемой основной относительной погрешности счетчиков для классов точности, % | |
0,2S |
0,5S | ||
0,01•Iном < I < 0,05 •/ном |
1 |
±0,4 |
±1,0 |
0,05 •Iном < I < Iмакс |
1 |
±0,2 |
±0,5 |
0,05 •Iном < I < 0,1 •Iном |
0,5 (при индуктивной или емкостной нагрузке) |
±0,5 |
±1,0 |
0,1 •Iном < I < Iмакс |
0,5 (при индуктивной или емкостной нагрузке) |
±0,3 |
±0,6 |
0,1 •Iном < I < Iмакс |
0,25 (при индуктивной или емкостной нагрузке) |
±0,5 |
±1,0 |
Таблица 8 - Пределы допускаемой основной относительной погрешности измерений полной электрической энергии и мощности при однофазной нагрузке и номинальном напряжении для счетчиков классов точности 0,2S, 0,5S
Сила переменного тока, А |
Коэффициент мощности COSф |
Пределы допускаемой основной относительной погрешности счетчиков для классов точности, % | |
0,2S |
0,5S | ||
0,05 •Iном < I < Iмакс |
1,0 |
±0,3 |
±0,6 |
Сила переменного тока, А |
Коэффициент мощности COSф |
Пределы допускаемой основной относительной погрешности счетчиков для классов точности, % | |
0,2S |
0,5S | ||
0,1 •1ном < I < 1макс |
0,5 (при индуктивной или емкостной нагрузке) |
±0,4 |
±1,0 |
Таблица 9 - Средний температурный коэффициент при измерении активной электрической мощности для счетчиков классов точности 0,2S, 0,5S при симметричной нагрузке и номинальном напряжении
Сила переменного тока, А |
Коэффициент мощности COSф |
Средний температурный коэффициент счетчиков для классов точности, %/°С | |
0,2S |
0,5S | ||
0,05 •1ном < I < 1макс |
1 |
0,01 |
0,03 |
0,1 •1ном < I < 1макс |
0,5 (при индуктивной нагрузке) |
0,02 |
0,05 |
Таблица 10 - Средний температурный коэффициент при измерении реактивной электрической энергии прямого и обратного направлений и реактивной электрической мощности при симметричной нагрузке и номинальном напряжении для счетчиков классов точности 0,5 S, 1S
Сила переменного тока, А |
Коэффициент sinф (при индуктивной или емкостной нагрузке) |
Средний температурный коэффициент счетчиков для классов точности, %/°С | |
0,5S |
1S | ||
0,05 •1ном < I < 1макс |
1 |
0,03 |
0,05 |
0,1 •1ном < I < 1макс |
0,5 (при индуктивной или емкостной нагрузке) |
0,05 |
0,10 |
Таблица 11 - Средний температурный коэффициент при измерении полной электрической энергии и мощности при симметричной нагрузке и номинальном напряжении для счетчиков классов точности 0,2S, 0,5S
Сила переменного тока, А |
Коэффициент мощности COSф |
Средний температурный коэффициент счетчиков для классов точности, %/°С | |
0,2S |
0,5S | ||
0,05 •1ном < I < 1макс |
1 |
0,01 |
0,03 |
0,1 •Iном < I < Iмакс |
0,5 (при индуктивной или емкостной нагрузке) |
0,02 |
0,05 |
Таблица 12 - Пределы допускаемой дополнительной относительной погрешности измерений активной электрической мощности для счетчиков классов точности 0,2S и 0,5S, реактивной электрической энергии прямого и обратного направлений и реактивной электрической мощности для счетчиков классов точности 0,5S, 1S, полной электрической энергии и электрической мощности для счетчиков классов точности 0,2S, 0,5S при отклонении частоты сети от номинального значения в пределах +2 % при номинальном напряжении
Класс точности |
Пределы допускаемой дополнительной относительной погрешности, % |
Сила переменного тока, А |
Коэффициент мощности |
При измерении активной электрической мощности | |||
0,2S |
±0,1 |
0,05 •Iном < I < Iмакс |
cos^ = 1 |
±0,1 |
0,1 •Iном < I < Iмакс |
cos^ = 0,5 (при |
Класс точности |
Пределы допускаемой дополнительной относительной погрешности, % |
Сила переменного тока, А |
Коэффициент мощности |
индуктивной нагрузке) | |||
0,5S |
±0,2 |
0,05 •/ном < I < 1макс |
cos^ = 1 |
±0,2 |
0,1 •/ном < I < /макс |
cos^ = 0,5 (при индуктивной нагрузке) | |
При измерении реактивной электрической энергии прямого и обратного направлений и реактивной электрической мощности | |||
0,5S |
±0,5 |
0,02 •/ном < I < /макс |
sin^=1 (при индуктивной или емкостной нагрузке) |
±0,5 |
0,05 •/ном < / < /макс |
sin (р=0,5 (при индуктивной или емкостной нагрузке) | |
1S |
±1,0 |
0,02 •/ном < / < /макс |
sin^=1 (при индуктивной или емкостной нагрузке) |
±1,0 |
0,05 •/ном < / < /макс |
sin (р=0,5 (при индуктивной или емкостной нагрузке) | |
П |
ри измерении полной электрической энергии и мощности | ||
0,2S |
±0,1 |
0,05 •/ном < / < /макс |
cos^ = 1 |
±0,1 |
0,1 •/ном < / < /макс |
cos^ = 0,5 (при индуктивной или емкостной нагрузке) | |
0,5S |
±0,2 |
0,05 •/ном < / < /макс |
cos^ =1 |
±0,2 |
0,1 •/ном < / < /макс |
cos^ = 0,5 (при индуктивной или емкостной нагрузке) |
Таблица 13 - Пределы допускаемой дополнительной относительной погрешности измерений активной электрической мощности для счетчиков классов точности 0,2S и 0,5S, вызванной гармониками в цепях напряжения и тока, при номинальном напряжении
Класс точности |
Пределы допускаемой дополнительной относительной погрешности, % |
Сила переменного тока, А |
Коэффициент мощности |
0,2S |
±0,4 |
0,5 •/макс |
cos^ = 1 |
0,5S |
±0,5 |
0,5 •/макс |
cos^ = 1 |
Таблица 14 - Пределы допускаемой дополнительной относительной погрешности измерений реактивной электрической энергии прямого и обратного направлений, и электрической мощности для счетчиков классов точности 0,5S и 1S, вызванной гармониками в цепях напряжения и тока, при номинальном напряжении
Класс точности |
Пределы допускаемой дополнительной относительной погрешности, % |
Сила переменного тока, А |
Коэффициент |
0,5S |
±2,5 |
0,5•/макс |
sin^ = 1 (при индуктивной или емкостной нагрузке) |
1S |
±2,5 |
0,5•/макс |
sin^ = 1 (при индуктивной или емкостной нагрузке) |
Таблица 15 - Пределы допускаемой дополнительной относительной погрешности измерений полной электрической энергии и мощности для счетчиков классов точности 0,2S, 0,5S, вызванной гармониками в цепях напряжения и тока, при номинальном напряжении
Класс точности |
Пределы допускаемой дополнительной относительной погрешности, % |
Сила переменного тока, А |
0,2S |
±0,4 |
0,5 •/макс |
0,5S |
±0,5 |
0,5 •/макс |
Таблица 16 - Пределы допускаемой дополнительной относительной погрешности измерений активной электрической мощности для счетчиков классов точности 0,2S и 0,5S, вызванной обратным порядком следования фаз, при номинальном напряжении
Класс точности |
Пределы допускаемой дополнительной относительной погрешности, % |
Сила переменного тока, А |
Коэффициент мощности |
0,2S |
±0,05 |
0,1 •/ном |
cos^ = 1 |
0,5S |
±0,10 |
0,1 •/ном |
cos^ = 1 |
Таблица 17 - Пределы допускаемой дополнительной относительной погрешности измерений активной электрической мощности для счетчиков классов точности 0,2S и 0,5S, вызванной несимметрией напряжения, при номинальном напряжении
Класс точности |
Пределы допускаемой дополнительной относительной погрешности, % |
Сила переменного тока, А |
Коэффициент мощности |
0,2S |
±0,5 |
/ном |
cos^ = 1 |
0,5S |
±1,0 |
/ном |
cos^ = 1 |
Таблица 18 - Основные технические
Наименование характеристики |
Значение |
Рабочие условия измерений: - температура окружающего воздуха, °С |
от -40 до +70* |
- относительная влажность окружающего воздуха при +23 °С (без конденсации влаги), % |
от 5 до 95 |
Номинальные значения напряжения питания от внешнего источника: | |
- при питании от источника напряжения переменного тока частотой 50 Гц, В |
230 |
- при питании от источника напряжения постоянного тока, В |
220 |
Параметры питания от внешнего источника: - напряжение переменного тока частотой 50 Гц, В |
от 90 до 318 |
- напряжение постоянного тока, В |
от 40 до 290 |
Потребляемая мощность, не более: - при питании от внешнего источника, В •А (Вт) |
6,00 |
- по измерительным цепям силы переменного тока (при /ном = 5 А), В • А |
0,20 |
- по измерительным цепям силы переменного тока (при /ном = 1 А), В • А |
0,02 |
- по измерительным цепям напряжения (при прямом включении), В^А |
0,10 |
- по измерительным цепям напряжения (при включении через измерительные трансформаторы), В^А |
0,01 |
Срок службы батареи питания внутренних часов |
10 |
(при температуре +23 °С), лет, не менее |
Наименование характеристики |
Значение |
Глубина хранения данных профиля нагрузки активной и реактивной энергии в «прямом» и «обратном» направлениях при времени интегрирования 30 мин, лет, не менее |
3 |
Срок хранения данных в памяти при отсутствии питания, сут. |
не ограничен |
Степень защиты, обеспечиваемая оболочкой (Код IP), по ГОСТ 14254-2015: | |
- со стороны лицевой панели |
IP51 |
- со стороны клеммных колодок |
IP20 |
Габаритные размеры (длина х ширина х высота) без учета дополнительных модулей, мм, не более: - модификация PRO PM035 |
90 х 92 х 60 |
- модификация PRO PM335 |
113 х 109 х 75 |
- модификация PRO EM235 |
90 х 90 х 72 |
Масса, без учета дополнительных модулей, кг, не более |
0,5 |
Масса внешних дополнительных модулей, кг, не более |
0,05 |
Многотарифный учет |
имеется |
Самодиагностика |
имеется |
Средний срок службы, лет |
30 |
Средняя наработка на отказ, ч |
327000 |
* При температуре окружающего воздуха от минус 20 до |
минус 40 °С для |
модификаций с ЖК-дисплеем оценка отображаемых характеристик возможна только по | |
интерфейсам связи. |
наносится на лицевую панель счетчиков методом трафаретной печати, а также на титульные листы руководства по эксплуатации и паспорта типографским способом.
Комплектность средства измерений
Таблица 19 - Комплектность счетчиков
Наименование |
Обозначение |
Количество |
Счетчик электрической энергии трехфазный PRO |
- |
1 шт. |
Руководство по эксплуатации* |
АЦСБ.411100.004 РЭ |
1 экз. |
Паспорт |
АЦСБ.411100.004 ПС |
1 экз. |
Упаковка |
- |
1 шт. |
Программное обеспечение PAS на электронном носителе** |
- |
1 шт. |
Методика поверки* |
ИЦРМ-МП-275-20 |
1 экз. |
* Допускается по согласованию с потребителем поставка руководства по эксплуатации и методики поверки в электронном виде с помощью размещения их в сети Интернет на сайте www.satec-global.ru. ** Допускается по согласованию с потребителем поставка программного обеспечения PAS с помощью размещения их в сети Интернет на сайте www.satec-global.ru. |
приведены в пункте 1.3.1 «Методы измерений» руководства по эксплуатации.
Нормативные и технические документы, устанавливающие требования к счетчикам электрической энергии трехфазным PROГОСТ 31818.11-2012 «Аппаратура для измерения электрической энергии переменного тока. Общие требования. Испытания и условия испытаний. Часть 11. Счетчики электрической энергии»
ГОСТ 31819.22-2012 «Аппаратура для измерения электрической энергии переменного тока. Частные требования. Часть 22. Статические счетчики активной энергии классов точности 0,2S и 0,5S»
ГОСТ 8.551-2013 «ГСИ. Государственная поверочная схема для средств измерений электрической мощности и электрической энергии в диапазоне частот от 1 до 2500 Гц»
Приказ Федерального агентства по техническому регулированию и метрологии от 1 октября 2018 года № 2091 «Об утверждении государственной поверочной схемы для средств измерений силы постоянного электрического тока в диапазоне от 1^10-16 до 100 А»
Приказ Федерального агентства по техническому регулированию и метрологии от 14 мая 2015 года № 575 «Об утверждении Государственной поверочной схемы для средств измерений силы переменного электрического тока от 1^10-8 до 100 А в диапазоне частот от 1-10"1 до 1^106 Гц»
Приказ Федерального агентства по техническому регулированию и метрологии от 29 мая 2018 года № 1053 «Об утверждении государственной поверочной схемы для средств измерений переменного электрического напряжения до 1000 В в диапазоне частот от I’lG"1 до 2^109 Гц»
Приказ Федерального агентства по техническому регулированию и метрологии от 31 июля 2018 года № 1621 «Об утверждении государственной поверочной схемы для средств измерений времени и частоты»
АЦСБ.411100.004 ТУ «Счетчики электрической энергии трехфазные PRO. Технические условия»
ПравообладательОбщество с ограниченной ответственностью «Производственно-логистический центр автоматизированных систем» (ООО «ПЛЦ АС»)
ИНН 7723837259
Юридический адрес: 117246, г. Москва, Научный проезд, д. 17, этаж 9, пом. 9-31
ИзготовительОбщество с ограниченной ответственностью «Производственно-логистический центр автоматизированных систем» (ООО «ПЛЦ АС»)
ИНН 7723837259
Юридический адрес: 117246, г. Москва, Научный проезд, д. 17, этаж 9, пом. 9-31
Адрес места осуществления деятельности: 160022, г. Вологда, ул. Сергея Преминина, д. 10, пом. 3-9
Испытательный центрОбщество с ограниченной ответственностью «Испытательный центр разработок в области метрологии» (ООО «ИЦРМ»)
Юридический адрес: 117546, г. Москва, Харьковский проезд, д.2, этаж 2, пом. I, ком. 35,36
Адрес: 117546, г. Москва, Харьковский проезд, д.2, этаж 2, пом. I, ком. 35,36
Аттестат аккредитации ООО «ИЦРМ» по проведению испытаний средств измерений в целях утверждения типа № RA.RU.311390 от 18.11.2015 г.