№2382 от 01.11.2025
Приказ Федерального агентства по техническому регулированию и метрологии (Росстандарт)
# 726379
ПРИКАЗ_Об утверждении типов средств измерений (16)
Приказы по основной деятельности по агентству Вн. Приказ № 2382 от 01.11.2025

МИНИСТЕРСТВО ПРОМЫШЛЕННОСТИ И ТОРГОВЛИ РОССИЙСКОЙ ФЕДЕРАЦИИ
ФЕДЕРАЛЬНОЕ АГЕНТСТВО
ПО ТЕХНИЧЕСКОМУ РЕГУЛИРОВАНИЮ И МЕТРОЛОГИИ
(Росстандарт)
01 ноября 2025 г.
2382
Москва
Об утверждении типов средств измерений
В соответствии с Административным регламентом по предоставлению Федеральным агентством по техническому регулированию и метрологии государственной услуги по утверждению типа стандартных образцов или типа средств измерений, утвержденным приказом Федерального агентства по техническому регулированию и метрологии от 12 ноября 2018 г. № 2346, п р и к а з ы в а ю:
-
1. Утвердить:
типы средств измерений, сведения о которых прилагаются к настоящему приказу;
описания типов средств измерений, прилагаемые к настоящему приказу.
-
2. ФБУ «НИЦ ПМ - Ростест» внести сведения об утвержденных типах средств измерений согласно приложению к настоящему приказу в Федеральный информационный фонд по обеспечению единства измерений в соответствии с Порядком создания и ведения Федерального информационного фонда по обеспечению единства измерений, передачи сведений в него и внесения изменений в данные сведения, предоставления содержащихся в нем документов и сведений, утвержденным приказом Министерства промышленности и торговли Российской Федерации от 28 августа 2020 г. № 2906.
-
3. Контроль за исполнением настоящего приказа оставляю за собой.
f \
Заместитель руководителя
Подлинник электронного документа, подписанного ЭП, хранится в системе электронного документооборота Федерального агентства по техническому регулированию и метрологии
Е.Р. Лазаренко
СВЕДЕНИЯ О СЕРТИФИКАТЕ ЭП
Сертификат: 7B1801563EA497F787EAF40A918A8D6F
Кому выдан: Лазаренко Евгений Русланович
Действителен: с 19.05.2025 до 12.08.2026
\__________________-__________________/
ПРИЛОЖЕНИЕ
к приказу Федерального агентства по техническому регулированию
от « __ »
и метрологии
______ 2025 г. № 2382
Сведения
об утвержденных типах средств измерений
|
№ п/ п |
Наименование типа |
Обозначение типа |
Код характера произ-вод-ства |
Рег. Номер |
Зав. номер(а) * |
Изготовители |
Правообладатель |
Код иден-тифи-кации производства |
Методика поверки |
Интервал между поверками |
Заявитель |
Юридическое лицо, проводившее испытания |
Дата утверждения акта |
|
1 |
2 |
3 |
4 |
5 |
6 |
7 |
8 |
9 |
10 |
11 |
12 |
13 |
14 |
|
1. |
Осциллографы-мультиметры цифровые |
VA-OS |
С |
96784-25 |
VA-OS2010S зав. № 423004125, VA- OS2050S зав. № 423004130 |
Общество с ограниченной ответственностью «Ви энд Эй Инструмент Рус» (ООО «Ви энд Эй Инструмент Рус»), г. Красноярск (производственная пло-щад-ka:GUANGZH OU VA TRADING COMPANY LIMITED, Китай) |
Общество с ограниченной ответственностью «Ви энд Эй Инструмент Рус» (ООО «Ви энд Эй Инструмент Рус»), г. Красноярск ИНН 2465285786 |
ОС |
РВНЕ.0007 -2025 МП «ГСИ. Ос-циллогра-фы-мультиметры цифровые VA-OS. Методика поверки» |
2 года |
Общество с ограниченной ответственностью «Ви энд Эй Инструмент Рус» (ООО «Ви энд Эй Инструмент Рус»), г. Красноярск ИНН 2465285786 |
ООО «РАВНОВЕСИЕ», г. Москва |
18.06.2025 |
|
2. |
Измерители внутренних размеров |
РФ609 |
С |
96785-25 |
РФ609-9/21-5-110 зав. № 35673, РФ609-16/46-15- |
Общество с ограниченной ответственно- |
Общество с ограниченной ответственно- |
ОС |
МП-9262025 «ГСИ. Измерите- |
1 год |
Общество с ограниченной ответственно- |
ООО «ПРОММАШ ТЕСТ Метро- |
11.03.2025 |
|
лазерные |
100 зав. № 35678, РФ609-100/200-50- 1000 зав. № 36851 |
стью «РИФТЭК» (ООО «РИФТЭК»), Республика Беларусь |
стью «РИФТЭК» (ООО «РИФТЭК»), Республика Беларусь |
ли внутренних размеров лазерные РФ609. Методика поверки» |
стью «РИФТЭК» (ООО «РИФТЭК»), Республика Беларусь |
логия», Московская обл., г. Чехов | |||||||
|
3. |
Резервуары (танки) стальные горизонтальные ци-линдриче-ские нефтеналивных барж |
Обозначение отсутствует |
Е |
96786-25 |
зав. №№ 1, 2, 3, 4, 5, 6 - на барже НБ-10 и зав. №№ 1, 2, 3, 4, 5, 6 - на барже НБ-11 |
АООТ «Тюменский судостроительный завод», г. Тюмень (изготовлены в 1993 г.) |
Акционерное общество «Северное речное пароходство» (АО «Северное речное пароходство», АО СРП), г. Москва ИНН 2901015750 |
ОС |
МИ 30202006 «ГСИ. Резервуары (танки) стальные горизонтальные цилиндрические речных наливных судов (барж). Методика поверки геометрическим методом» |
5 лет |
Акционерное общество «Северное речное пароходство» (АО «Северное речное пароходство», АО СРП), г. Москва ИНН 2901015750 |
ФБУ «Тюменский ЦСМ», г. Тюмень |
02.07.2025 |
|
4. |
Системы лазерные координат-но-измерительные сканирующие |
NAVMO PO P1 |
С |
96787-25 |
FJP123900004ZC, FJP124300161ZC |
Shaoxing Her-mopo Technology Co., ltd., Китай (производственная площадка: FJ Dynamics Technology Academy (Chang Zhou) Co., Ltd., Китай) |
Shaoxing Her-mopo Technology Co., ltd., Китай |
ОС |
МП-5942024 «ГСИ. Системы лазерные координат-но-измерительные сканирующие NAVMOP O P1. Методика поверки» |
1 год |
Общество с ограниченной ответственностью «Гермополис Технология» (ООО «Гермополис Технология»), г. Москва ИНН 7707486042 |
ООО «ПРОММАШ ТЕСТ Метрология», Московская обл., г. Чехов |
01.07.2025 |
|
5. |
Комплексы программно- |
«TORN ADO-N» |
С |
96788-25 |
№ 2025391 |
Общество с ограниченной |
Общество с ограниченной |
РФ |
РТ-МП- 824-201/2- |
3 года |
Общество с ограниченной |
ФБУ «НИЦ ПМ - Ростест», |
05.07.2025 |
|
технические (программно-аппаратные) |
(«ТОР НАДО- N») |
ответственностью «Модульные Системы Торнадо» (ООО «Модульные Системы Торнадо»), г. Новосибирск ИНН 5408005710 |
ответственностью «Модульные Системы Торнадо» (ООО «Модульные Системы Торнадо»), г. Новосибирск ИНН 5408005710 |
2025 «ГСИ. Комплексы программно-технические (программно-аппаратные) «TORNAD O-N» («ТОРНА-ДО-N»). Методика поверки» |
ответственностью «Модульные Системы Торнадо» (ООО «Модульные Системы Торнадо»), г. Новосибирск ИНН 5408005710 |
г. Москва | |||||||
|
6. |
Измерители частоты вращения роликов стенда |
C-RTS-F |
Е |
96789-25 |
Модификация C-RTS-F-1212-8, зав. № RTS-190300; Модификация C-RTS-F-0212-6, зав. № RTS-190400 |
Hofmann TeSys Pruftechnik GmbH, Германия |
Hofmann TeSys Pruftechnik GmbH, Германия |
ОС |
МП АПМ 39-23 «ГСИ. Измерители частоты вращения роликов стенда C-RTS-F. Методика поверки» |
1 год |
Публичное акционерное общество «КАМАЗ» (ПАО «КАМАЗ»), г. Набережные Челны, Республика Татарстан ИНН 1650032058 |
ООО «Авто-прогресс-М», г. Москва |
27.02.2025 |
|
7. |
Трансформаторы тока |
LKZB- 0120 |
С |
96790-25 |
665797, 665798, 665799 |
JIANGSU COSINE ELECTRIC CO., LTD., Китай |
JIANGSU COSINE ELECTRIC CO., LTD., Китай |
ОС |
РТ-МП-907-201/32025 «ГСИ. Трансформаторы тока LKZB-0120. Методика поверки» |
8 лет |
«Mambo Technical Service Co., Ltd.», Китай |
ФБУ «НИЦ ПМ - Ростест», г. Москва |
25.04.2025 |
|
8. |
Твердомеры Виккерса |
VickyMa croMet |
С |
96791-25 |
VickyMacroMet- 10ECO сер. № V24102725, Vicky-MacroMet-30 сер. № V24022118, |
Компания «Anhui Mikrosize Precision Instrument Co. Ltd», |
Компания «Anhui Mikrosize Precision Instrument Co. Ltd», |
ОС |
МП 360020-2025 «ГСИ. Твердомеры Виккер- |
1 год |
Акционерное общество «С- Инструментс» (АО «С- Инстру- |
ФГУП «ВНИИФТРИ », Московская обл., г. Солнечногорск, |
16.06.2025 |
|
VickyMacroMet-100 сер. № V25022620 |
Китай |
Китай |
са VickyMacr oMet. Методика поверки» |
ментс»), г. Москва ИНН 7703001402 |
рп. Менделее-во | ||||||||
|
9. |
Системы измерений перемещений и деформаций |
PrinCe H3 |
С |
96792-25 |
3839537,3839538 |
Shanghai Huace Navigation Technology Ltd, Китай |
Shanghai Huace Navigation Technology Ltd, Китай |
ОС |
МП-5842024 «ГСИ. Системы измерений перемещений и деформаций PrinCe H3. Методика поверки» |
1 год |
Акционерное общество «ПРИН» (АО «ПРИН»), г. Москва ИНН 7712032661 |
ООО «ПРОММАШ ТЕСТ Метрология», Московская обл., г. Чехов |
07.08.2025 |
|
10. |
Система ав-томатизиро-ванная ин-формацион-но-измерительная коммерческого учета электроэнергии (АИИС КУЭ) ПС 220 кВ Рузаевка |
Обозначение отсутствует |
Е |
96794-25 |
130 |
Публичное акционерное общество «Федеральная сетевая компания - Россети» (ПАО «Россети»), г. Москва ИНН 4716016979 |
Публичное акционерное общество «Федеральная сетевая компания - Россети» (ПАО «Россети»), г. Москва ИНН 4716016979 |
ОС |
МИ 30002022 «Ре-коменда-ция. ГСИ. Системы автоматизирован-ные ин-формаци-онно-измерительные коммерческого учета электрической энергии. Методика поверки» |
4 года |
Общество с ограниченной ответственностью «ЭнерВи-та» (ООО «ЭнерВита»), г. Москва, ИНН 7718892751 |
ООО «Спец-энергопроект», г. Москва |
02.09.2025 |
|
11. |
Приборы многофункциональные для измерений параметров жидких металлов |
Magport mini |
С |
96795-25 |
№310006 (Magportmini), №310007 (Magport-mini-wifi), №310008 (Magportmini-wifi) |
Общество с ограниченной ответственностью «СИ-ДЕРМАГ» (ООО «СИ-ДЕРМАГ»), |
Общество с ограниченной ответственностью «СИ- ДЕРМАГ» (ООО «СИ- ДЕРМАГ»), |
ОС |
РТ-МП- 1205-2072025 «ГСИ. Приборы мно-гофункци-ональные |
2 года |
Общество с ограниченной ответственностью «ТЕХ-МЕТ» (ООО «ТЕХМЕТ»), г. Екатерин- |
ФБУ «НИЦ ПМ - Ростест», г. Москва |
22.08.2025 |
|
портативные |
г. Екатерин бург ИНН 6658324220 |
г. Екатерин бург ИНН 6658324220 |
для измерений параметров жидких металлов портативные Magportmini. Методика поверки» |
бург ИНН 6686024412 | |||||||||
|
12. |
Расходомеры - счетчики газа ультразвуковые широкодиапазонные |
Turbo Flow UFG- WR |
С |
96796-25 |
Turbo Flow UFG- WR исполнение C1TP с зав. №№ 193053, 193054, Turbo Flow UFG- WR исполнение С5ТР с зав. № 193055 |
Общество с ограниченной ответственностью НПО «Турбулентность-ДОН» (ООО НПО «Турбулентность-ДОН»), г. Москва ИНН 6141021685 |
Общество с ограниченной ответственностью «Газпром трансгаз Саратов» (ООО «Газпром трансгаз Саратов»), г. Саратов ИНН 6453010110 |
ОС |
МП 208111-2024 «ГСИ. Расходомеры -счетчики газа уль-тразвуко-вые широ-кодиапа-зонные Turbo Flow UFG-WR. Методика поверки» |
4 года
C1TP и С2ТР; 3 года
C4; 1 год -для ис- пол- нения C5TP |
Общество с ограниченной ответственностью НПО «Турбулентность-ДОН» (ООО НПО «Турбулентность-ДОН»), г. Москва ИНН 6141021685 |
ФБУ «НИЦ ПМ - Ростест», г. Москва |
16.07.2025 |
|
13. |
Преобразователи вихретоковые |
CWY- DO |
С |
96797-25 |
датчик CWY-DO-08-01-A00-B5-C60-D10-E02 зав. № 5325S030901 с проксиметром CWY-DO-08-21- 50-00-00 зав. № 5325S030902, датчик CWY-DO-011- 01-A00-B5-C60- |
«Jiangsu Jiangling Measurement & Control Tech nology Stock Co., Ltd.», Ки тай |
«Jiangsu Jiangling Measurement & Control Technology Stock Co., Ltd.», Китай |
ОС |
РТ-МП-1002-2042025 «ГСИ. Преобразователи вихретоковые CWY-DO. Методика поверки» |
2 года |
«Mambo Technical Service Co., Ltd.», Китай |
ФБУ «НИЦ ПМ - Ростест», г. Москва |
16.07.2025 |
|
D10-E02 зав. № 5325S030903 с проксиметром CWY-DO-011-21-50-00-00 зав. № 5325S030904, датчик CWY-DO-025-01-A00-B5-C60-D10-E02 зав. № 5325S030905 с проксиметром CWY-DO-025-21-50-00-00 зав. № 5325S030906 | |||||||||||||
|
14. |
Анализатор спектра и сигналов |
4052E |
Е |
96798-25 |
QZNI000191 |
Ceyear Technologies Co., Ltd, Китай |
Ceyear Technologies Co., Ltd, Китай |
ОС |
РТ-МП-984-4412025 «ГСИ. Анализатор спектра и сигналов 4052E. Методика поверки» |
1 год |
Общество с ограниченной ответственностью «Аррива-Тек» (ООО «АрриваТек»), г. Санкт-Петербург ИНН 7810906420 |
ФБУ «НИЦ ПМ - Ростест», г. Москва |
12.08.2025 |
|
15. |
Плиты поверочные и разметочные Micron |
Обозна чение отсутствует |
С |
96802-25 |
250x250, мод. КЛ.00, исп. 3, зав. № G 231278; 300x300, мод. КЛ.1, исп. 1, зав. № C 224510; 1000x630, мод. КЛ.1, исп. 1, зав. № G 231516; 2000x1000, мод. КЛ.1, исп. 2, зав. № C 2300128; 2500x1600, мод. КЛ.00, исп. 3, зав. № G 236004 |
SHANGHAI UNI-STAR TOOLS COMPANY, Китай |
SHANGHAI UNI-STAR TOOLS COMPANY, Китай |
ОС |
МП-3932024 «ГСИ. Плиты поверочные и разметочные Micron. Методика поверки» |
2 года |
Общество с ограниченной ответственностью «Микрон» (ООО «Микрон»), г. Москва ИНН 7719471570 |
ООО «ПРОММАШ ТЕСТ Метрология», г. Москва |
13.09.2024 |
|
16. |
Сканеры лазерные мобильные |
GOSLA M |
С |
96803-25 |
GOSLAM T300Pro (GSI) зав. № 7263345 |
Beijing Tian-qing Zhizao Aviation Tech- |
Beijing Tian-qing Zhizao Aviation Tech- |
ОС |
МП-3442024 «ГСИ. Сканеры |
1 год |
Общество с ограниченной ответственно- |
ООО «ПРОММАШ ТЕСТ Метро- |
03.03.2025 |
|
nology Co., Ltd, Китай |
nology Co., Ltd, Китай |
лазерные мобильные GOSLAM. Методика поверки» |
стью «Нью-каст-Ист» (ООО «Нью-каст-Ист»), г. Москва ИНН 7743630887 |
логия», Московская обл., г. Чехов |
УТВЕРЖДЕНО приказом Федерального агентства по техническому регулированию и метрологии от «_____» ноября 2025 г. № 2382
Лист № 1 Регистрационный № 96784-25 Всего листов 10
ОПИСАНИЕ ТИПА СРЕДСТВА ИЗМЕРЕНИЙ» Осциллографы-мультиметры цифровые VA-OS Назначение средства измерений
Осциллографы-мультиметры цифровые VA-OS (далее - осциллографы-мультиметры) предназначены для измерений амплитудных и частотно-временных параметров, силы и напряжения постоянного и переменного тока, электрического сопротивления постоянному току, электрической емкости, а также температуры различных сред.
Описание средства измерений
Принцип действия осциллографов-мультиметров основан на высокоскоростном аналого-цифровом преобразовании входного сигнала, регистрации цифровых данных в запоминающем устройстве для последующей цифровой обработки и отображения на жидкокристаллическом дисплее.
Осциллографы позволяют проводить автоматические и курсорные измерения амплитудно-временных параметров сигнала с выводом результатов измерений на дисплей, а также осуществлять их сохранение (запоминание).
Конструктивно осциллографы-мультиметры выполнены в виде моноблока портативного исполнения. На лицевой панели осциллографов-мультиметров расположены жидкокристаллический дисплей, функциональные клавиши, входные разъемы для измерений в режиме мультиметра. На верхней панели расположены входные разъемы для измерений в режиме осциллографа. На правой боковой панели расположены порт заземления и разъем интерфейса USB для зарядки и связи с персональным компьютером.
Осциллографы-мультиметры выпускаются в модификациях VA-OS2010S и VA-OS2050S, отличающихся метрологическими и техническими характеристиками.
Осциллографы-мультиметры модификации VA-OS2010S выполняет измерения температуры различных сред при помощи подключаемого выносного датчика температуры.
Заводской номер наносится на маркировочную наклейку типографским методом в виде цифрового или буквенно-цифрового кода.
Общий вид осциллографов-мультиметров с указанием места нанесения заводского номера представлен на рисунке 1. Общий вид выносного датчика температуры для модификации VA-OS2010S представлен на рисунке 2. Место нанесения заводского номера может отличаться от указанных и ограничиваются корпусом осциллографов-мультиметров. Нанесение знака поверки на осциллографы-мультиметры не предусмотрено. Пломбирование мест настройки (регулировки) осциллографов-мультиметров не предусмотрено.
Цветовая гамма корпуса осциллографов-мультиметров может быть изменена по решению изготовителя в одностороннем порядке.
V&A’ VA- OS2010S DIGrrAh OSCILLOSCOPE
VQHHb
K99COUNTS Т-ft MS

а) вид спереди модификации VA-OS2010S
б) вид спереди модификации VA-OS2050S


в) вид сзади модификаций VA-OS2010S и VA-OS2050S
Рисунок 1 - Общий вид осциллографов-мультиметров с указанием места нанесения заводского номера
Рисунок 2 - Общий вид выносного датчика температуры для модификации VA-OS2010S
Программное обеспечение
Программное обеспечение (далее - ПО) осциллографов-мультиметров состоит из встроенного ПО. Встроенное ПО, установленное на внутренний контроллер, служит для управления режимами работы осциллографов-мультиметров, выполнения функций обработки, представления, записи и хранения измерительной информации.
ПО является метрологически значимым.
Метрологические характеристики осциллографов-мультиметров нормированы с учетом влияния ПО.
Уровень защиты ПО от непреднамеренных и преднамеренных изменений - «высокий» в соответствии с Р 50.2.077-2014.
Идентификационные данные метрологически значимого ПО
осциллографов-мультиметров приведены в таблице 1.
Таблица 1 - Идентификационные данные ПО
|
Идентификационные данные |
Значение |
|
Идентификационное наименование ПО |
- |
|
Номер версии (идентификационный номер ПО), не ниже - VA-OS2010S |
V1.00.00 |
|
- VA-OS2050S |
V1.0.0 |
|
Цифровой идентификатор ПО |
- |
Метрологические и технические характеристики
Таблица 2 - Метрологические характеристики в режиме осциллографа для модификаций
VA-OS2010S и VA-OS2050S
|
Наименование характеристики |
Значение |
|
Входное сопротивление RBx, МОм |
1,00+0,02 |
|
Диапазон значений коэффициента отклонения (с шагом 1-2-5) |
от 20 мВ/дел до 10 В/дел |
|
Пределы допускаемой относительной погрешности коэффициента отклонения, % |
±3 |
|
Верхняя частота полосы пропускания для модификации, МГц 1) | |
|
- VA-OS2010S |
10 |
|
- VA-OS2050S |
50 |
|
Наименование характеристики |
Значение |
|
Диапазон значений коэффициента развертки (с шагом 1-2-5):
|
от 100 нс/дел до 20 с/дел от 10 нс/дел до 20 с/дел |
|
Пределы допускаемой относительной погрешности измерений временных интервалов и коэффициента развертки, % |
±0,002 |
|
1)1 По уровню напряжения 0,707 (-3 дБ). | |
Таблица 3 - Метрологические характеристики в режиме измерения напряжения постоянного тока для модификации VA-OS2010S.
|
Верхний предел поддиапазона измерений |
Значение единицы младшего разряда k |
Пределы допускаемой абсолютной погрешности измерений |
|
9,999 мВ |
0,001 мВ |
±(0,005-0™ +3-k) |
|
99,99 мВ |
0,01 мВ | |
|
999,9 мВ |
0,1 мВ | |
|
9,999 В |
0,001 В | |
|
99,99 В |
0,01 В | |
|
750 В |
0,1 В | |
|
Примечание: иизм - измеренное значение напряжения постоянного тока, мВ, В. | ||
Таблица 4 - Метрологические характеристики в режиме измерения среднеквадратического значения напряжения переменного тока (в диапазоне частот от 40 до 1000 Гц) для модификации
VA-OS2010S
|
Верхний предел поддиапазона измерений |
Значение единицы младшего разряда k |
Пределы допускаемой абсолютной погрешности измерений |
|
9,999 мВ |
0,001 мВ |
±(0,01 иизм +3 k) |
|
99,99 мВ |
0,01 мВ | |
|
999,9 мВ |
0,1 мВ | |
|
9,999 В |
0,001 В | |
|
99,99 В |
0,01 В | |
|
750,0 В |
0,1 В | |
|
Примечание: иизм - измеренное значение среднеквадратического значения напряжения переменного тока (в диапазоне частот от 40 до 1000 Гц), мВ, В. | ||
Таблица 5 - Метрологические характеристики в режиме измерения силы постоянного тока
для модификации VA-OS2010S
|
Верхний предел поддиапазона измерений |
Значение единицы младшего разряда k |
Пределы допускаемой абсолютной погрешности измерений |
|
9999 мкА |
1 мкА |
±(0,008 1изм +3 k) |
|
99,99 мА |
0,01 мА | |
|
999,9 мА |
0,1 мА |
±(0,01 1изм +3 k) |
|
9,999 А |
0,001 А | |
|
Примечание: 1изм - измеренное значение силы постоянного тока, мкА, мА, А. | ||
VA-OS2010S
|
Верхний предел поддиапазона измерений |
Значение единицы младшего разряда k |
Пределы допускаемой абсолютной погрешности измерений |
|
9999 мкА |
1 мкА |
±(0,01 1изм +3 k) |
|
99,99 мА |
0,01 мА | |
|
999,9 мА |
0,1 мА |
±(0,012 1изм +3 k) |
|
9,999 А |
0,001 А | |
|
Примечание: 1изм - измеренное значение среднеквадратического значения силы переменного тока (в диапазоне частот от 40 до 1000 Гц), мкА, мА, А. | ||
Таблица 7 - Метрологические характеристики в режиме измерения электрического сопротивления постоянному току для модификации VA-OS2010S
|
Верхний предел поддиапазона измерений |
Значение единицы младшего разряда k |
Пределы допускаемой абсолютной погрешности измерений |
|
99,99 Ом |
0,01 Ом |
±(0,01<Иизм +3<k) |
|
999,9 Ом |
0,1 Ом |
±(0,005<Иизм +3-k) |
|
9,999 кОм |
0,001 кОм | |
|
99,99 кОм |
0,01 кОм | |
|
999,9 кОм |
0,1 кОм | |
|
9,999 МОм |
0,001 МОм |
±(0,015<Иизм +3-k) |
|
99,99 МОм |
0,01 МОм |
±(0,03<Иизм +5-k) |
|
Примечание: Rизм - измеренное значение электрического сопротивления постоянному току, Ом, кОм, МОм. | ||
Таблица 8 - Метрологические характеристики в режиме измерения электрической емкости для модификации VA-OS2010S
|
Верхний предел поддиапазона измерений |
Значение единицы младшего разряда k |
Пределы допускаемой абсолютной погрешности измерений |
|
9,999 нФ |
0,001 нФ |
±(0,05^Сизм +20<k) |
|
99,99 нФ |
0,01 нФ | |
|
999,9 нФ |
0,1 нФ | |
|
9,999 мкФ |
0,001 мкФ |
±(0,02^Сизм +5<k) |
|
99,99 мкФ |
0,01 мкФ | |
|
999,9 мкФ |
0,1 мкФ | |
|
9,999 мФ |
0,001 мФ |
±(0,05 Сизм +5 k) |
|
99,99 мФ |
0,01 мФ | |
|
Примечание: Сизм - измеренное значение электрической емкости, нФ, мкФ, мФ. | ||
для модификации VA-OS2010S
|
Верхний предел поддиапазона измерений |
Значение единицы младшего разряда k |
Пределы допускаемой абсолютной погрешности измерений |
|
99,99 Гц |
0,01 Гц |
±(0,001 Fизм +2 k) |
|
999,9 Гц |
0,1 Гц | |
|
9,999 кГц |
0,01 кГц | |
|
99,99 кГц |
0,01 кГц | |
|
Примечание: Fизм - измеренное значение частоты переменного тока, Гц, кГц. | ||
Таблица 10 - Метрологические характеристики в режиме измерения напряжения постоянного тока для модификации VA-OS2050S
|
Верхний предел поддиапазона измерений |
Значение единицы младшего разряда k |
Пределы допускаемой абсолютной погрешности измерений |
|
25,000 мВ |
0,001 мВ | |
|
250,00 мВ |
0,01 мВ | |
|
2,5000 В |
0,0001 В |
±(0,0005’0™ +3-k) |
|
25,000 В |
0,001 В | |
|
250,00 В |
0,01 В | |
|
1000,0 В |
0,1 В | |
|
Примечание: иизм - измеренное значение напряжения постоянного тока, мВ, В. | ||
Таблица 11 - Метрологические характеристики в режиме измерения среднеквадратического значения напряжения переменного тока (в диапазоне частот от 40 до 1000 Гц) для модификации
VA-OS2050S
|
Верхний предел поддиапазона измерений |
Значение единицы младшего разряда k |
Пределы допускаемой абсолютной погрешности измерений |
|
25,000 мВ |
0,001 мВ |
±(0,005’0™ +3’k) |
|
250,00 мВ |
0,01 мВ | |
|
2,5000 В |
0,0001 В | |
|
25,000 В |
0,001 В | |
|
250,00 В |
0,01 В | |
|
750,0 В |
0,1 В | |
|
Примечание: иизм - измеренное значение среднеквадратического значения напряжения переменного тока (в диапазоне частот от 40 до 1000 Гц), мВ, В. | ||
Таблица 12 - Метрологические характеристики в режиме измерения силы постоянного тока
для модификации VA-OS2050S
|
Верхний предел поддиапазона измерений |
Значение единицы младшего разряда k |
Пределы допускаемой абсолютной погрешности измерений |
|
25,000 мА |
0,001 мА |
±(0,005-!ИЗм +3’k) |
|
250,00 мА |
0,01 мА | |
|
2,5000 А |
0,0001 А | |
|
10,000 А |
0,001 А | |
|
Примечание: 1изм - измеренное значение силы постоянного тока, мА, А. | ||
VA-OS2050S
|
Верхний предел поддиапазона измерений |
Значение единицы младшего разряда k |
Пределы допускаемой абсолютной погрешности измерений |
|
25,000 мА |
0,001 мА |
±(0,008-!ИЗм +3-k) |
|
250,00 мА |
0,01 мА | |
|
2,5000 А |
0,0001 А | |
|
10,000 А |
0,001 А | |
|
Примечание: 1изм - измеренное значение среднеквадратического значения силы переменного тока (в диапазоне частот от 40 до 1000 Гц), мА, А. | ||
Таблица 14 - Метрологические характеристики в режиме измерения электрического сопротивления постоянному току для модификации VA-OS2050S
|
Верхний предел поддиапазона измерений |
Значение единицы младшего разряда k |
Пределы допускаемой абсолютной погрешности измерений |
|
250,00 Ом |
0,01 Ом |
±(0,005^Иизм +3-k) |
|
2,5000 кОм |
0,0001 кОм |
±(0,002^Иизм +3-k) |
|
25,000 кОм |
0,001 кОм | |
|
250,00 кОм |
0,01 кОм | |
|
2,5000 МОм |
0,0001 МОм |
±(0,01<Иизм +3±) |
|
25,00 МОм |
0,01 МОм | |
|
250,0 МОм |
0,1 МОм |
±(0,05^Иизм +5-k) |
|
Примечание: Rизм - измеренное значение электрического сопротивления постоянному току, Ом, кОм, МОм. | ||
Таблица 15 - Метрологические характеристики в режиме измерения электрической емкости для модификации VA-OS2050S.
|
Верхний предел поддиапазона измерений |
Значение единицы младшего разряда k |
Пределы допускаемой абсолютной погрешности измерений |
|
9,999 нФ |
0,001 нФ |
±(0,05^Сизм +20’k) |
|
99,99 нФ |
0,01 нФ | |
|
999,9 нФ |
0,1 нФ | |
|
9,999 мкФ |
0,001 мкФ |
±(0,02^Сизм +5’k) |
|
99,99 мкФ |
0,01 мкФ | |
|
999,9 мкФ |
0,1 мкФ | |
|
9,999 мФ |
0,001 мФ |
±(0,05 Сизм +5 k) |
|
99,99 мФ |
0,01 мФ | |
|
Примечание: Сизм - измеренное значение электрической емкости, нФ, мкФ, мФ. | ||
для модификации VA-OS2050S
|
Верхний предел поддиапазона измерений |
Значение единицы младшего разряда k |
Пределы допускаемой абсолютной погрешности измерений |
|
9,999 Гц |
0,001 Гц |
±(0,02Тизм +2’k) |
|
99,99 Гц |
0,01 Гц |
±(0,001 Fизм +2 k) |
|
999,9 Гц |
0,1 Гц | |
|
9,999 кГц |
0,001 кГц | |
|
99,99 кГц |
0,01 кГц |
Таблица 17 - Метрологические характеристики в режиме измерений температуры
с использованием выносного датчика температуры для модификации VA-OS2010S
|
Наименование характеристики |
Диапазон измерений |
Пределы допускаемой абсолютной погрешности измерений |
|
Измерение температуры с использованием выносного датчика температуры, °С |
от -20 до +200 |
±5 |
Таблица 18 - Основные технические характеристики для модификаций VA-OS2010S и VA-OS2050S
|
Наименование характеристики |
Значение |
|
Количество каналов в режиме осциллографа - VA-OS2010S |
1 |
|
- VA-OS2050S |
2 |
|
Максимальная частота дискретизации, ГГ ц |
0,25 |
|
Время установления рабочего режима, минут |
30 |
|
Габаритные размеры (ширинахвысотахглубина), мм, не более |
177х89х40 |
|
Масса, кг, не более |
0,4 |
|
Рабочие условия измерений: - температура окружающей среды, °С |
от 0 до +40 |
|
- относительная влажность при температуре окружающего воздуха +25 °С, %, не более |
до 75 |
Таблица 19 - Показатели надежности
|
Наименование характеристики |
Значение |
|
Средняя наработка на отказ, ч |
8000 |
|
Средний срок службы, лет |
8 |
Знак утверждения типа
наносится на титульный лист паспорта типографским способом. Нанесение знака утверждения типа на осциллографы-мультиметры не предусмотрено.
Комплектность средства измерений
Таблица 20 - Комплектность средства измерений
|
Наименование |
Обозначение |
Количество |
|
Осциллограф-мультиметр цифровой VA-OS |
- |
1 шт. |
|
Выносной датчик температуры^ |
- |
1 шт. |
|
Паспорт |
- |
1 экз. |
|
Руководство по эксплуатации |
- |
1 экз. |
|
1) для модификации VA-OS2010S | ||
Сведения о методиках (методах) измерений
приведены в разделе 23 «Порядок выполнения измерений» для модификации VA-OS2010S, в разделе 10 «Порядок выполнения измерений» для модификации VA-OS2050S руководства по эксплуатации.
Нормативные документы, устанавливающие требования к средству измерений
Приказ Федерального агентства по техническому регулированию и метрологии от 30 декабря 2019 года № 3463 «Об утверждении государственной поверочной схемы для средств измерений импульсного электрического напряжения»
Приказ Федерального агентства по техническому регулированию и метрологии от 26 сентября 2022 года № 2360 «Об утверждении государственной поверочной схемы для средств измерений времени и частоты»
Приказ Федерального агентства по техническому регулированию и метрологии от 28 июля 2023 года № 1520 «Об утверждении государственной поверочной схемы для средств измерений постоянного электрического напряжения и электродвижущей силы»
Приказ Федерального агентства по техническому регулированию и метрологии от 18 августа 2023 года № 1706 «Об утверждении государственной поверочной схемы для средств измерений переменного электрического напряжения до 1000 В в диапазоне частот от 1-10-1 до 2409 Гц»
Приказ Федерального агентства по техническому регулированию и метрологии от 01 октября 2018 года № 2091 «Об утверждении государственной поверочной схемы для средств измерений силы постоянного электрического тока в диапазоне от 140-16 до 100 А»
Приказ Федерального агентства по техническому регулированию и метрологии от 17 марта 2022 года № 668 «Об утверждении государственной поверочной схемы для средств измерений силы переменного электрического тока от Т10-8 до 100 А в диапазоне частот от 1-10"1 до Т106 Гц»
Приказ Федерального агентства по техническому регулированию и метрологии от 30 декабря 2019 г. № 3456 «Об утверждении государственной поверочной схемы для средств измерений электрического сопротивления постоянного и переменного тока»
Приказ Федерального агентства по техническому регулированию и метрологии от 19 ноября 2024 года № 2712 «Об утверждении государственной поверочной схемы для средств измерений температуры»
ГОСТ 8.371-80 «Государственная система обеспечения единства измерений (ГСИ). Государственный первичный эталон и общесоюзная поверочная схема для средств измерений электрической емкости»
ТУ 26.51.43-012-21839994-2024 «Осциллографы-мультиметры цифровые VA-OS. Технические условия»
Правообладатель
Общество с ограниченной ответственностью «Ви энд Эй Инструмент Рус» (ООО «Ви энд Эй Инструмент Рус»)
ИНН 2465285786
Адрес юридического лица: 660005, г. Красноярск, ул. Краснодарская, д. 17, 212
Изготовитель
Общество с ограниченной ответственностью «Ви энд Эй Инструмент Рус» (ООО «Ви энд Эй Инструмент Рус»)
ИНН 2465285786
Адрес юридического лица: 660005, г. Красноярск, ул. Краснодарская, д. 17, 212
Адрес места осуществления деятельности: 143440, Московская обл., г. Красногорск, д. Путилково, МКАД 69 км, БП «Гринвуд», с. 31, этаж 1, офис 21
Производственная площадка: GUANGZHOU VA TRADING COMPANY LIMITED, Китай
Адрес: Room 818, No.181 Haibin road, Nansha district, Guangzhou, Guangdong, China
Испытательный центр
Общество с ограниченной ответственностью «РАВНОВЕСИЕ»
(ООО «РАВНОВЕСИЕ»)
Адрес юридического лица: 117105, г. Москва, ш. Варшавское, д. 1, стр. 1_2, э 1, помещ. 1, оф в005, к 21
Адрес места осуществления деятельности: 117630, г. Москва, ш. Старокалужское, д. 62, эт. 1, помещ. I, ком. 55, 72, 73, 74, 75
Уникальный номер записи об аккредитации в реестре аккредитованных лиц № RA.RU.314471
УТВЕРЖДЕНО приказом Федерального агентства по техническому регулированию
и метрологии
от «__ » _____ 2025 г. № 2382Лист № 1
Всего листов 6
Регистрационный № 96785-25
ОПИСАНИЕ ТИПА СРЕДСТВА ИЗМЕРЕНИЙ
Измерители внутренних размеров лазерные РФ609Назначение средства измерений
Измерители внутренних размеров лазерные РФ609 (далее - измерители) предназначены для измерений внутренних размеров бесконтактным методом.
Описание средства измерений
Принцип действия измерителей основан на оптической триангуляции.
Конструктивно измеритель состоит из оптической части, контроллера и кабеля. Корпус измерителя выполнен из анодированного алюминия.
Основным элементом измерителя является лазерный датчик. Датчик содержит полупроводниковый лазер (1) с формирующей оптикой (2), приёмный объектив (3), CMOS -линейку (4) и контроллер (5).
Конструкция измерителей предусматривает использование полупроводникового лазера с длиной волны 405 нм, 450 нм или 660 нм мощностью до 1 мВт
Излучение лазера фокусируется объективом на объекте (6). Рассеянное на объекте излучение приемным объективом собирается на CMOS - линейке. Перемещение объекта (6) -(6°) вызывает соответствующее перемещение изображения. Процессор сигналов рассчитывает расстояние до объекта по положению изображения светового пятна на CMOS-линейке.
Лазерный датчик характеризуется базовым расстоянием (расстояние от корпуса измерителя до начала рабочего диапазона) и рабочим диапазоном (диапазон измерения расстояния).
Рисунок 1 - Принцип оптической триангуляции
Обмен данными с датчиков осуществляется по Wi-fi в двоичном формате по протоколам RIFTEK.
Наименование модификаций измерителей имеет следующую структуру:
РФ609(COLOR)-X/D-P-L,
где (COLOR) - цвет лазера, указывается при отличии от красного цвета;
X - нижний предел диапазона измерений, мм;
D - верхний предел диапазона измерений, мм;
P - значение абсолютной погрешности измерений внутренних размеров, мкм;
L - максимальная глубина измеряемого отверстия, мм (не более 1000 мм);
Пример условного обозначения измерителя, с красным лазером, диапазон контролируемых размеров - от 9 до 21 мм, значение абсолютной погрешности измерений внутренних диаметров - 2 мкм, максимальная глубина измеряемого отверстия - 100 мм.
РФ609-9/21-5-100
Заводской номер в виде цифрового обозначения, состоящего из арабских цифр, наносится методом печати на наклейке, располагаемой на корпусе измерителей.
Нанесение знака поверки на средство измерений не предусмотрено.
Пломбирование измерителей от несанкционированного доступа не производится, ограничение доступа к узлам обеспечено конструкцией крепёжных винтов, которые могут быть сняты только при наличии специальных ключей.
Общий вид измерителей представлен на рисунке 2.


Рисунок 2 - Общий вид измерителей внутренних размеров лазерных РФ609

Место
нанесения
заводского
номера
Рисунок 4 - Место нанесения маркировочной таблички с характеристиками лазера
Рисунок 3 - Место нанесения заводского номера
Программное обеспечение
Измерители работают под управлением метрологически значимого программного обеспечения (далее - ПО) «RF609_SP», устанавливаемого на внешний персональный компьютер и предназначенного для обеспечения взаимодействия узлов измерителей, выполнения измерений, сохранения и экспорта измеренных величин, а также обработки полученных результатов.
Аппаратная и программная части, работая совместно, обеспечивают заявленные точности конечных результатов измерений.
Защита ПО и измеренных данных от непреднамеренных и преднамеренных изменений соответствует уровню «средний» в соответствии с Р 50.2.077-2014.
Идентификационные данные ПО приведены в таблице 1.
Таблица 1 - Идентификационные данные программного обеспечения
|
Идентификационные данные (признаки) |
Значение |
|
Идентификационное наименование ПО |
RF609 SP |
|
Номер версии (идентификационный номер) ПО |
не ниже 1.0.ХХ |
|
Цифровой идентификатор ПО |
- |
|
* где переменные «X» - цифровое значение из арабских цифр от «0» до «9», не является идентификатором метрологически значимой части ПО. | |
Метрологические и технические характеристики
Таблица 2 - Метрологические характеристики
|
Наименование характеристики |
Значение |
|
Диапазон измерений внутренних размеров1^ мм |
от 5 до 200 |
|
Пределы допускаемой абсолютной погрешности измерений внутренних размеров, мкм - при значении Д2) от 5 мм до 9 мм |
±2; ±5 |
|
- при значении Д2) от 10 мм до 14 мм |
±5; ±10 |
|
- при значении Д2) от15 мм до 19 мм |
±7,5; ±15 |
|
- при значении Д2) от 20 мм до 24 мм |
±10; ±20 |
|
- при значении Д2) от 25 мм до 29 мм |
±12,5; ±25 |
|
- при значении Д2) от 30 мм до 34 мм |
±15; ±30 |
|
- при значении Д2) от 35 мм до 39 мм |
±17,5; ±35 |
|
- при значении Д2) от 40 мм до 44 мм |
±20; ±40 |
|
- при значении Д2) от 45 мм до 49 мм |
±22,5; ±45 |
|
- при значении Д2) от 50 мм до 54 мм |
±25; ±50 |
|
- при значении Д2) от 55 мм до 59 мм |
±27,5; ±55 |
|
- при значении Д2) от 60 мм до 64 мм |
±30; ±60 |
|
- при значении Д2) от 65 мм до 69 мм |
±32,5; ±65 |
|
- при значении Д2) от 70 мм до 74 мм |
±35; ±70 |
|
- при значении Д2) от 75 мм до 79 мм |
±37,5; ±75 |
|
- при значении Д2) от 80 мм до 84 мм |
±40; ±80 |
|
- при значении Д2) от 85 мм до 89 мм |
±42,5; ±85 |
|
- при значении Д2) от 90 мм до 94 мм |
±45; ±90 |
|
- при значении Д2) от 95 мм до 99 мм |
±47,5; ±95 |
|
- при значении Д2) от 100 мм до 109 мм |
±50; ±100 |
|
- при значении Д2) от 110 мм до 119 мм |
±55; ±110 |
|
- при значении Д2) от 120 мм до 129 мм |
±60; ±120 |
|
- при значении Д2) от 130 мм до 139 мм |
±65; ±130 |
Продолжение таблицы 2
|
Наименование характеристики |
Значение |
|
- при значении Д2) от 140 мм до 149 мм |
±70; ±140 |
|
- при значении Д2) от 150 мм до 159 мм |
±75; ±150 |
|
- при значении Д2) от 160 мм до 169 мм |
±80; ±160 |
|
- при значении Д2) от 170 мм до 179 мм |
±85; ±170 |
|
- при значении Д2) от 180 мм до 189 мм |
±90; ±180 |
|
- при значении Д2) от 190 мм до 199 мм |
±95; ±190 |
|
- при значении Д2) 200 мм |
±100; ±200 |
|
Дискретность измерений внутренних размеров, мм |
0,001 |
| |
|
Д = D - X, | |
|
Где X - нижний предел измерений измерителя, мм | |
|
D - верхний предел измерений измерителя, мм | |
Таблица 3 - Основные технические характеристики
|
Наименование характеристики |
Значение |
|
Габаритные размеры (ДиаметрхВысота), мм, не более |
50x1170 |
|
Максимальная глубина измеряемого отверстия*, мм, не более |
1000 |
|
Масса, г, не более |
1000 |
|
Параметры электрического питания |
Li-ion аккумулятор, 3,7 В, форм-фактор 18650 |
|
Потребляемая мощность, Вт |
от 1 до 1.5 |
|
Степень защиты по ГОСТ 14254-2015 |
IP54 |
|
Условия эксплуатации:
|
от 0 до +50 от 5 до 80 |
|
* - фактическое значение максимальной глубины указывается в структуре обозначения модификации измерителя | |
Таблица 4 - Показатели надежности
|
Наименование характеристики |
Значение |
|
Срок службы, лет |
3 |
|
Средняя наработка на отказ, ч |
10000 |
Знак утверждения типа
наносится типографским способом на титульный лист руководства по эксплуатации.
Комплектность средства измерений
Таблица 5 - Комплектность средства измерений
|
Наименование |
Обозначение |
Количество |
|
Измеритель внутренних размеров лазерный* |
РФ609 |
1 шт. |
|
Аккумуляторная батарея |
- |
1 шт |
|
Зарядное устройство |
- |
1 шт. |
|
Комплект переходных втулок |
- |
По заказу |
|
Комплект кабелей |
- |
По заказу |
Продолжение таблицы 5
|
Наименование |
Обозначение |
Количество |
|
Устройство контрольное для калибровки измерителей внутренних размеров лазерных |
Рифтек-1 |
По заказу |
|
Устройство контрольное для калибровки измерителей внутренних размеров лазерных |
Рифтек-2 |
По заказу |
|
Мастер-шаблон для инициализации измерителя |
1 шт. | |
|
Руководство по эксплуатации |
- |
1 экз. |
|
* - модификация определяется договором поставки | ||
Сведения о методиках (методах) измерений
приведены в разделе 6 «Устройство и принцип работы» документа «Измерители внутренних размеров лазерные РФ609. Руководство по эксплуатации».
Нормативные документы, устанавливающие требования к средству измерений
«Измерители внутренних размеров лазерные РФ609. Технические условия.
ТУ BY 100051163.009-2024»
Правообладатель
Общество с ограниченной ответственностью «РИФТЭК»
(ООО «РИФТЭК»)
Адрес: 220090, Республика Беларусь, г. Минск, Логойский тракт, 22-311
E-mail: info@riftek.com
Web-сайт: www.ruftek.com
Тел.: +375 17 357 36 57
Изготовитель
Общество с ограниченной ответственностью «РИФТЭК»
(ООО «РИФТЭК»)
Адрес: 220090, Республика Беларусь, г. Минск, Логойский тракт, 22-311
E-mail: info@riftek.com
Web-сайт: www.ruftek.com
Тел.: +375 17 357 36 57
Испытательный центр
Общество с ограниченной ответственностью «ПРОММАШ ТЕСТ Метрология»
(ООО «ПРОММАШ ТЕСТ Метрология»)
Адреса мест осуществления деятельности:
142300, РОССИЯ, Московская обл., р-н Чеховский, г. Чехов, Симферопольское ш., д.2;
308023, РОССИЯ, Белгородская обл., г. Белгород, ул. Садовая, д. 45а;
РОССИЯ, Ивановская обл., р-н Лежневский, СПК имени Мичурина
Адрес юридического лица: 119415, г. Москва, вн. тер. г. муниципальный округ Проспект Вернадского, пр-кт Вернадского, д. 41, стр. 1, помещ. 263
Уникальный номер записи об аккредитации в реестре аккредитованных лиц RA.RU.314164
УТВЕРЖДЕНО приказом Федерального агентства по техническому регулированию
и метрологии
от «__ » ноя_₽я 2025 г. № 23_2
Лист № 1 Регистрационный № 96786-25 Всего листов 5
ОПИСАНИЕ ТИПА СРЕДСТВА ИЗМЕРЕНИЙ
Резервуары (танки) стальные горизонтальные цилиндрические нефтеналивных баржНазначение средства измерений
Резервуары (танки) стальные горизонтальные цилиндрические нефтеналивных барж (далее - танки) предназначены объёма нефти и нефтепродуктов, а также для их приёма, отпуска и транспортировки.
Описание средства измерений
Принцип действия основан на зависимости объёма жидкости, находящейся в танке от уровня его наполнения.
Танки представляют собой закрытые горизонтальные цилиндрические сосуды, оснащённые люками, патрубками и непроницаемыми поперечными переборками, установленные на нефтеналивных баржах НБ-10 и НБ-11 проекта 16802.
Пломбирование и нанесение знака поверки на танки не предусмотрено. Заводские номера танков (1, 2, 3, 4, 5, 6 - на НБ-10 и 1, 2, 3, 4, 5, 6 - на НБ-11) нанесены на измерительные люки танков в виде цифрового обозначения методом аэрографии.
Общий вид танков представлен на рисунках 1 и 2. Схематичное расположение танков на барже приведено на рисунке 3. Место нанесения заводского номера приведено на рисунке 4.
Рисунок 1 - Общий вид нефтеналивной баржи НБ-10
Рисунок 2 - Общий вид нефтеналивной баржи НБ-11

Рисунок 4 - Место нанесения заводского номера
Метрологические и технические характеристики
Таблица 1 - Метрологические характеристики
|
Наименование характеристики |
Значение | ||
|
Заводской номер |
1, 2 |
3, 4 |
5, 6 |
|
Номинальная вместимость, м3 |
511 |
601 |
516 |
|
Пределы допускаемой относительной погрешности определения вместимости, % (геометрический метод) |
± 0,35 | ||
|
Примечание — Уровень наполнения, при котором обеспечивается погрешность определения вместимости в указанных пределах определяется при поверке и указывается в градуировочной таблице. | |||
Таблица 2 - Технические характеристики
|
Наименование характеристики |
Значение |
|
Условия эксплуатации:
|
от + 5 до + 35 от 84,0 до 106,7 |
Таблица 3 - Показатели надёжности
|
Наименование характеристики |
Значение |
|
Срок службы, лет, не менее |
10 |
Знак утверждения типа
наносится на титульный лист паспорта типографским способом.
Комплектность средства измерений
Таблица 4 - Комплектность средства измерений
|
Наименование |
Обозначение |
Количество, шт./экз. |
|
Резервуары (танки) стальные горизонтальные цилиндрические нефтеналивных барж |
- |
1 |
|
Паспорт |
- |
1 |
Сведения о методиках (методах) измерений
приведены в разделе «Измерение объёма жидкости в резервуаре» паспорта.
Нормативные документы, устанавливающие требования к средству измерений
Приказ Росстандарта от 26.09.2022 г. № 2356 «Об утверждении Государственной поверочной схемы для средств измерений массы и объема жидкости в потоке, объема жидкости и вместимости при статических измерениях, массового и объемного расходов жидкости»
Правообладатель
Акционерное общество «Северное речное пароходство»
(АО «Северное речное пароходство», АО СРП)
ИНН 2901015750
Юридический адрес: 123112, г. Москва, вн.тер.г. муниципальный округ Пресненский, наб. Пресненская, д. 6 стр. 2, помещ. 3/1/12
Изготовитель
АООТ «Тюменский судостроительный завод» (изготовлены в 1993 г.)
Адрес: 625048, Тюменская обл., г. Тюмень, ул. Новгородская, д. 10
Испытательный центр
Федеральное бюджетное учреждение «Государственный региональный центр стандартизации, метрологии и испытаний в Тюменской и Курганской областях, Ханты-Мансийском автономном округе - Югре, Ямало-Ненецком автономном округе»
(ФБУ «Тюменский ЦСМ»)
Адрес: 625027, Тюменская обл., г.о. город Тюмень, г. Тюмень, ул. Минская, д. 88
Телефон: (3452) 500-532
Web-сайт: Ь«р8://тцсм.рф
E-mail: info@csm72.ru
Уникальный номер записи в реестре аккредитованных лиц RA.RU.311495
УТВЕРЖДЕНО приказом Федерального агентства по техническому регулированию
и метрологии
от «__ » _____ 2025 г. № 2382
Лист № 1 Регистрационный № 96787-25 Всего листов 5
ОПИСАНИЕ ТИПА СРЕДСТВА ИЗМЕРЕНИЙ
Системы лазерные координатно-измерительные сканирующие NAVMOPO P1Назначение средства измерений
Системы лазерные координатно-измерительные сканирующие, NAVMOPO P1 (далее -системы) предназначены для измерений приращений координат с целью контроля геометрических размеров объектов и сооружений по массиву точек, полученных в процессе трёхмерного сканирования.
Описание средства измерений
Принцип работы систем заключается в автоматическом определении пространственного положения точек окружающих объектов и дальнейшем построении трехмерной модели сканируемых окружающих объектов в виде массива точек.
Принцип действия импульсного лазерного дальномера основан на измерении времени прохождения импульса лазерного излучения до объекта и обратно. Импульс лазерного излучения с помощью оптико-зеркальной поворотно-отклоняющей системы направляется на диффузную цель. Отраженное целью излучение принимается той же системой, усиливается и направляется на блок, где происходит измерение времени задержки излучаемого и принимаемого сигналов, на основании которого вычисляется расстояние до цели.
Основными компонентами систем являются камера, ручка с платформой для геопривязки и сканер, вмещающий импульсный лазерный дальномер, электрические приводы и датчики углов поворота, электронный управляющий блок. Для связи камеры и сканера используется соединительный провод.
Управление системами осуществляется при помощи кнопок, находящихся на корпусе сканера, с помощью внешних устройств по радиоканалу сети Wi-Fi.
Заводской номер систем в виде буквенно-цифрового обозначения, состоящего из букв латинского алфавита и арабских цифр, указывается типографским способом на маркировочной наклейке, расположенной на задней панели корпуса сканера. Общий вид маркировочных табличек представлен на рисунке 2.
Нанесение знака поверки на средство измерений не предусмотрено.
Пломбирование средств измерений от несанкционированного доступа не производится. В процессе эксплуатации систем не предусматривают внешних механических регулировок.
Общий вид систем представлен на рисунке 1.

Рисунок 1 - Общий вид систем лазерных координатно-измерительных сканирующих NAVMOPO P1
Address: Китай, г. Чэ»мжоу,р-н
Синьбзй.ул. Дунхаи,д-202
NAVMOPO
Product Name: NAVMOPO Pl LiDAR Scanner Product Model: Pl
Input: 10.8/14.4 V — 5 A MAX Manufacturer: FJ Dynamics Technology Academy (Chang Zhou) Co., ltd ——
Место нанесения заводского номера
Рисунок 2 - Общий вид маркировочной таблички
Программное обеспечение
Системы имеют встроенное метрологически значимое микропрограммное обеспечение (далее - ВПО). Указанное программное обеспечение предназначено для взаимодействия электронных блоков, осуществления измерений, хранения и передачи результатов измерений.
Для обработки результатов измерений используется программное обеспечение (далее -ПО) «NAVMOPO Model».
Защита программного обеспечения и измеренных данных от непреднамеренных и преднамеренных изменений соответствует уровню «средний» в соответствии с Р 50.2.077-2014.
Идентификационные данные программного обеспечения приведены в таблице 1.
Таблица 1 - Идентификационные данные программного обеспечения
|
Идентификационные данные (признаки) |
Значение | |
|
Идентификационное наименование ПО |
ВПО |
NAVMOPO Model |
|
Номер версии (идентификационный номер ПО) |
1.3.х* |
1.000.N.0xxx** |
|
Алгоритм вычисления цифрового идентификатора |
- |
- |
|
* «х» принимает значения от 0 до 9 ** «ххх» принимает значения от 000 до 999 | ||
Метрологические и технические характеристики
Таблица 2 - Метрологические характеристики
|
Наименование характеристики |
Значение |
|
Диапазон сканирования, м |
от 1,5 до 100 |
|
Пределы допускаемой абсолютной погрешности измерений | |
|
приращений в условной системе координат, по каждой из осей | |
|
координат, мм: | |
|
- в диапазоне от 1,5 до 30 м включ. |
±10 |
|
- в диапазоне св. 30 до 70 м включ. |
±20 |
|
- в диапазоне св. 70 до 100 м включ. |
±30 |
Таблица 3 - Технические характеристики
|
Наименование характеристики |
Значение |
|
Угловое поле сканирования:
|
360° 59° |
|
Габаритные размеры (ДлинахШиринахВысота), мм, не более |
115х114х95 |
|
Масса, кг, не более |
0,8 |
|
Напряжение питания от источника постоянного тока, В |
10,8 |
|
Средняя наработка на отказ, часы |
5000 |
|
Срок службы, лет |
5 |
|
Условия эксплуатации:
|
от -30 до +60 до 80 |
Знак утверждения типа
наносится типографским способом на титульный лист руководства по эксплуатации.
Комплектность средства измерений
Таблица 4 - Комплектность средства измерений_______________________________
|
Наименование |
Обозначение |
Количество |
|
Система лазерная координатно-измерительная сканирующая |
NAVMOPO P1 |
1 шт. |
|
Камера |
- |
1 шт. |
|
Ручка (с аккумулятором) |
1 шт. | |
|
Платформа для геоприявязки |
1 шт. | |
|
Зарядное устройство |
1 шт. | |
|
Руководство по эксплуатации |
- |
1 экз. |
Сведения о методиках (методах) измерений
приведены в разделе 4 «Приложение» документа «Руководство по эксплуатации. Системы лазерные координатно-измерительные сканирующие NAVMOPO P1».
Нормативные документы, устанавливающие требования к средству измерений
Государственная поверочная схема для координатно-временных средств измерений, утвержденная приказом Росстандарта от 07 июня 2024 г. № 1374
Стандарт предприятия Shaoxing Hermopo Technology Co., ltd. «Системы лазерные координатно-измерительные сканирующие NAVMOPO P1»
Правообладатель
Shaoxing Hermopo Technology Co.,ltd., Китай
Адрес: Номер 301. 3-й этаж, зд. 19. № 11, ул. Фаньронг, пр-кт Лихай, р-н Юэчэн, г. Шаосин, провинция Чжэцзян, Китай
Изготовитель
Shaoxing Hermopo Technology Co.,ltd., Китай
Адрес: Номер 301. 3-й этаж, зд. 19. № 11, ул. Фаньронг, пр-кт Лихай, р-н Юэчэн, г. Шаосин, провинция Чжэцзян, Китай
Тел.: +8618157540046
E-mail: sales@navmopo.com
Производственная площадка:
FJ Dynamics Technology Academy (Chang Zhou) Co., Ltd.
Адрес: Китай, г. Чанчжоу, р-н Синьбэй, ул. Дунхай, д. 202
Тел.: +8618157540046
E-mail: sales@navmopo.com
Испытательный центр
Общество с ограниченной ответственностью «ПРОММАШ ТЕСТ Метрология»
(ООО «ПРОММАШ ТЕСТ Метрология»)
Адреса мест осуществления деятельности:
142300, РОССИЯ, Московская обл., р-н Чеховский, г. Чехов, Симферопольское ш., д.2;
308023, РОССИЯ, Белгородская обл., г. Белгород, ул. Садовая, д. 45а;
РОССИЯ, Ивановская обл., р-н Лежневский, СПК имени Мичурина
Адрес юридического лица: 119415, г. Москва, вн. тер. г. муниципальный округ Проспект Вернадского, пр-кт Вернадского, д. 41, стр. 1, помещ. 263
Уникальный номер записи об аккредитации в реестре аккредитованных лиц RA.RU.314164
УТВЕРЖДЕНО приказом Федерального агентства по техническому регулированию
и метрологии
01 ноября ппп с лг 2382
от « » _ 2025 Г. №
Лист № 1 Регистрационный № 96788-25 Всего листов 17
ОПИСАНИЕ ТИПА СРЕДСТВА ИЗМЕРЕНИЙ
Комплексы программно-технические (программно-аппаратные) «TORNADO-N» («ТОРНАДО-N»)Назначение средства измерений
Комплексы программно-технические (программно-аппаратные) «TORNADO-N» («ТОРНАДО-N») (далее - ПТК) предназначены для измерений аналоговых выходных сигналов датчиков в виде напряжения и силы постоянного тока, сопротивлений, выходных сигналов термопар и термопреобразователей сопротивления, периода импульсных сигналов, а также приёма и обработки дискретных сигналов, регулирования на основе измерений параметров технологического процесса, выработки управляющих воздействий на исполнительные механизмы в виде аналоговых и дискретных сигналов.
Описание средства измерений
ПТК предназначены для создания автоматизированных систем управления технологическими процессами (АСУТП) в различных отраслях промышленности.
В ПТК реализованы типовые решения по вводу/выводу сигналов. В качестве устройств связи с объектом (УСО) используются функциональные устройства ввода/вывода серии MIRage-N.
ПТК обеспечивают восприятие измерительной информации, представленной сигналами силы и напряжения постоянного тока в диапазонах от минус 20 до плюс 20 мА, от минус 10 до плюс 10 В; сигналами термопар (ТП) и термопреобразователей сопротивления (ТС) различных градуировок; измерение временных характеристик периодического импульсного сигнала; преобразование двоичных кодов в аналоговые сигналы силы и напряжения постоянного тока ±20 мА, ±10 В; восприятие и обработку кодированных дискретных электрических сигналов; обработку измерительной информации; выработку управляющих воздействий на исполнительные механизмы в виде аналоговых и дискретных сигналов; генерацию импульсной последовательности с изменяемой частотой следования импульсов.
Основу нижнего уровня ПТК составляют устройства ввода/вывода серии MIRage-N и процессорные устройства обработки (процессорные блоки - ПБ), располагаемые в шкафах контроллеров (на крупных объектах автоматизации выделяются шкафы ПБ и шкафы УСО).
ПТК в качестве ПБ могут выступать устройства управления IPC GRIDEX II и (или) промышленные компьютеры сторонних производителей, оснащенные двумя и более интерфейсами Ethernet с поддержкой протокола ModBus через TCP/UDP.
В качестве устройств связи применяются сетевые коммутаторы уровня L2, имеющие необходимое количество портов и конструктивное исполнение.
Измерительные каналы (ИК) ПТК построены на основе устройств ввода/вывода серии MIRage-N, представленных в таблице 1:
Таблица 1 - Устройства ввода/вывода серии MIRage-N (измерительные)
|
Наименование устройства |
Обозначение устройства |
Обозначение модификации устройства |
|
Устройство аналогового ввода |
MIRage-NAIi |
MIRage-NAIi-А MIRage-NAIi-S MIRage-NAIi-V MIRage-NAIi-P |
|
Устройство аналогового ввода |
MIRage-NAI |
MIRage-NAI-A MIRage-NAI-S MIRage-NAI-V |
|
Устройство аналогового ввода |
MIRage-NAI-R |
MIRage-NAI-R-A MIRage-NAI-R-S MIRage-NAI-R-V |
|
Устройство ввода сигналов термопреобразователей сопротивления |
MIRage-NPT |
— |
|
Устройство ввода сигналов термопреобразователей сопротивления |
MIRage-NPT-R |
— |
|
Устройство преобразования сигналов термопар |
MIRage-NTHERM |
— |
|
Устройство аналогового и дискретного ввода/вывода |
MIRage-NFM |
— |
|
Устройство аналогового вывода |
MIRage-NAOi |
— |
|
Устройство таймерной обработки |
MIRage-NTMU |
MIRage-NTMU-U MIRage-NTMU-U-L MIRage-NTMU-J MIRage-NTMU-J-L |
Таблица 2 -
ИК ПТК
|
Наименование ИК |
Обозначение ИК |
Обозначение устройства |
Диапазон измерения/ генерации |
Состав |
Примечание | |
|
Блок базовый |
Модуль согласования | |||||
|
1 |
2 |
3 |
4 |
5 |
6 |
7 |
|
ИК ввода на базе устройств аналогового ввода MIRage-NAIi | ||||||
|
ИК силы постоянного тока |
N-AIi-A |
MIRage-NAIi-А |
от 0 до 2404 мкА |
MIRage-NAIi-M |
NAIi-A или NAIi-A/27 |
От датчиков с активным токовым выходом |
|
ИК силы постоянного тока |
N-AIi-S |
MIRage-NAIi-S |
от 0 до 2404 мкА |
MIRage-NAIi-M |
NAIi-A/27 |
От датчиков с пассивным токовым выходом (с питанием от устройства) |
|
ИК напряжения постоянного тока |
N-AIi-V |
MIRage-NAIi-V |
от 0 до 2,5403 мВ |
MIRage-NAIi-M |
NAIi-V/27 |
От датчиков с выходом по напряжению |
|
ИК сигналов термопреобразователей сопротивления, 4-х проводная схема подключения датчика |
NPTi-Х |
MIRage-NAIi-P |
от 0 до 320 Ом |
MIRage-NAIi-M |
NPTi |
X - тип НСХ в соответствии с таблицей 7 |
|
ИК сигналов термопреобразователей сопротивления, 3-х проводная схема подключения датчика |
NPTi-X-3 | |||||
|
ИК сигналов термопреобразователей сопротивления, 3-х проводная схема подключения датчика, с поправками |
NPTi-X-3A | |||||
таблицы 2
|
1 |
2 |
3 |
4 |
5 |
6 |
7 |
|
ИК ввода на базе устройств аналогового ввода MIRage-NAI | ||||||
|
ИК силы постоянного тока |
N-AI-A |
MIRage-NAI-А |
от -2^104 до +2^104 мкА |
MIRage-NAI-M |
FAI-A или FAI-A/27 |
От датчиков с активным токовым выходом |
|
ИК силы постоянного тока |
N-AI-S |
MIRage-NAI-S |
от 0 до 2^104 мкА |
MIRage-NAI-M |
FAI-A/27 |
От датчиков с пассивным токовым выходом (с питанием от устройства) |
|
ИК напряжения постоянного тока |
N-AI-V |
MIRage-NAI-V |
от-104 до +104 мВ |
MIRage-NAI-M |
FAI-V/27 |
От датчиков с выходом по напряжению |
|
ИК ввода на базе устройств аналогового ввода MIRage-NAI-R | ||||||
|
ИК силы постоянного тока |
N-AI-A |
MIRage-NAI-R-А |
от -2^104 до +2^104 мкА |
MIRage-NAI-R-M |
NAI-8A или NAI-8A/27 |
От датчиков с активным токовым выходом |
|
ИК силы постоянного тока |
N-AI-S |
MIRage-NAI-R-S |
от 0 до 2^104 мкА |
MIRage-NAI-R-M |
NAI-8A/27 |
От датчиков с пассивным токовым выходом (с питанием от устройства) |
|
ИК напряжения постоянного тока |
N-AI-V |
MIRage-NAI-R-V |
от-104 до 104 мВ |
MIRage-NAI-R-M |
NAI-8V/27 |
От датчиков с выходом по напряжению |
таблицы 2
|
1 |
2 |
3 |
4 |
5 |
6 |
7 |
|
ИК ввода на базе устройств ввода сигналов термопреобразователей сопротивления MIRage-NPT, MIRage-NPT-R | ||||||
|
ИК сигналов термопреобразователей сопротивления, 4-х проводная схема подключения датчика |
NPT-Х |
MIRage-NPT, MIRage-NPT-R |
от 0 до 320 Ом |
— |
— |
X - тип НСХ в соответствии с таблицей 7 |
|
ИК сигналов термопреобразователей сопротивления, 3-х проводная схема подключения датчика |
NPT-X-3 | |||||
|
ИК сигналов термопреобразователей сопротивления, 3-х проводная схема подключения датчика, с поправками |
NPT-X-3A | |||||
|
ИК ввода на базе устройств преобразования сигналов термопар MIRage-NTHERM | ||||||
|
ИК преобразования сигналов термопар |
NTHERM-X |
MIRage-NTHERM |
от -100 до +100 мВ |
— |
— |
X - тип НСХ в соответствии с таблицей 8 |
|
И |
К ввода на базе устройств аналогового и дискретного ввода/вывода MIRage-NFM | |||||
|
ИК напряжения постоянного тока |
NFM-AI-V |
MIRage-NFM |
от -104 до +104 мВ |
— |
— |
— |
|
ИК вывода на базе устройств аналогового и дискретного ввода/вывода MIRage-NFM | ||||||
|
ИК генерации постоянного тока положительной полярности |
N-AO-A |
MIRage-NFM |
от 0 до 2И04 мкА |
— |
— |
Перемычка JS в положении «I», включен активный режим |
|
ИК генерации напряжения постоянного тока |
N-AO-V |
MIRage-NFM |
от -104 до +104 мВ |
— |
— |
Перемычка JS в положении «U» |
таблицы 2
|
1 |
2 |
3 |
4 |
5 |
6 |
7 |
|
ИК вывода на базе устройств аналогового вывода M |
IRage-NAOi | |||||
|
ИК генерации постоянного тока положительной полярности |
N-AOi-A |
MIRage-NAOi |
от 0 до 2^104 мкА |
— |
— |
Перемычка JS в положении «I», |
|
ИК генерации напряжения постоянного тока |
N-AOi-V |
MIRage-NAOi |
от -104 до +104 мВ |
— |
— |
Перемычка JS в положении «U» |
|
ИК ввода на базе устройств таймерной обработки M |
IRage-NTMU | |||||
|
ИК текущих значений периода импульсных сигналов амплитудой 12 В |
NTMU-TI-12 |
MIRage-NTMU-U MIRage-NTMU-U-L |
от 40 до 106 мкс |
MIRage-NTMU-M |
TFTPU- FREQ |
— |
|
ИК текущих значений периода импульсных сигналов амплитудой 24 В |
NTMU-TI-24 |
MIRage-NTMU-J MIRage-NTMU-J-L |
от 40 до 106 мкс |
MIRage-NTMU-M |
TFTPU- FREQ-Jaquet |
— |
|
ИК вывода на базе устройств таймерной обработки M |
[IRage-NTMU | |||||
|
ИК генерации импульсной последовательности |
NTMU-TO |
MIRage-NTMU-U MIRage-NTMU-J |
от 50 до 62500 Гц |
MIRage-NTMU-M |
NTMU-GEN |
— |
|
Примечание - НСХ - номинальная статическая характеристика | ||||||
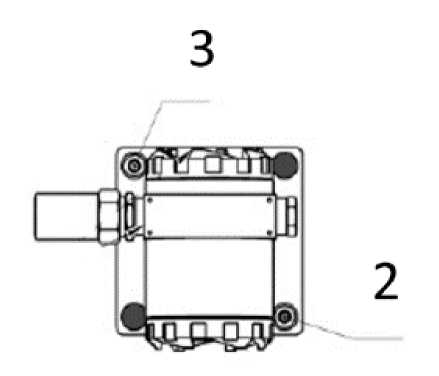
Заводской номер ПТК в виде цифрового кода наносится на шильдик, расположенный на дверце шкафа в соответствии с рисунком 1, и в формуляр ПТК.
Нанесение знака поверки на средство измерений не предусмотрено.
Общий вид ПТК приведен на рисунке 1.
Место нанесения заводского номера ПТК и знака утверждения типа средства измерений
Рисунок 1 - Общий вид ПТК
Пломбирование не предусмотрено.
Программное обеспечение
Программное обеспечение (ПО) ПТК состоит из компонентов, различающихся по размещению и по типу.
По размещению ПО делится на два уровня:
- ПО нижнего уровня. Уровень устройств ввода/вывода и процессорных блоков контроллеров (уровень Control);
- ПО верхнего уровня. Уровень человеко-машинного интерфейса, сбора и хранения данных, отображения информации, оперативного управления и др. (уровень SCADA).
По типу ПО разделяется на системное и прикладное.
Системное ПО является универсальным, т.е. не зависит от характера технологического процесса и функциональных задач системы управления, и состоит из ПО операционной системы, системообразающего ПО организации человеко-машинного интерфейса ПТК,
системообразующего ПО серверов ПТК.
Прикладное ПО решает конкретные задачи АСУТП в соответствии с функциональными задачами объекта автоматизации:
-
- получение информации о технологическом процессе;
-
- обработка информации;
-
- выполнение технологических алгоритмов;
-
- реализация информационной связи между уровнями и устройствами ПТК;
-
- реализация человеко-машинного интерфейса;
-
- инструментарий программирования контроллеров по стандарту МЭК 61131-3;
-
- создание исторических архивов, их обработки и обращение к архивным данным.
ПО верхнего уровня включает в себя:
-
- программный пакет Tornado-eSCADA устанавливается на АРМ оператора;
-
- программный пакет Tornado-AppServ устанавливается на Серверы приложений;
-
- программный пакет Tornado-DBServ устанавливается на Серверы баз данных;
-
- программный пакет Tornado-ES устанавливается на АРМ инженера.
Программные средства нижнего уровня (уровень Control) включают в себя:
-
- программный пакет Tornado-Control. Устанавливается на процессорных блоках контроллеров;
-
- встроенное ПО (микрокод) устройств ввода/вывода серии MIRage-N. Загружается в устройства ввода/вывода при производстве.
Все метрологически значимые вычисления выполняются встроенным ПО устройств ввода/вывода, метрологические характеристики которых нормированы с учетом влияния на них встроенного ПО. Конструкция устройств ввода/вывода исключает возможность несанкционированного влияния на встроенное ПО и измерительную информацию.
Доступ к ПО контроля за технологическими процессами и управления технологическим оборудованием осуществляется с выделенной инженерной станции верхнего уровня ПТК, доступ к которой защищен как административными мерами (установка в отдельном помещении), так и многоуровневой защитой по паролю.
Для защиты накопленной и текущей информации, конфигурированных параметров ИК от несанкционированного доступа в ПТК предусмотрен многоступенчатый физический контроль доступа (запираемые шкафы) и программный контроль доступа (специализированное ПО системы информационной безопасности, система ограничения доступа к настройкам BIOS на АРМ; программное средство защиты логических дисков от записи на компьютерах АРМ; системы безопасности операционной системы, операторского интерфейса, ПО сервера баз данных и ПО сервера приложений).
Уровень защиты ПО от непреднамеренных и преднамеренных изменений - «высокий» в соответствии с рекомендацией по метрологии Р 50.2.077-2014.
Идентификационные данные встроенного ПО устройств ввода/вывода ПТК приведены в таблице 3.
Таблица 3 - Идентификационные данные ПО устройств ввода/вывода ПТК
|
Идентификационные данные (признаки) |
Значение | ||||||||
|
Устройства ввода/вывода |
MIRage- NAIi |
MIRage- NAI |
MIRage- NAI-R |
MIRage- NPT |
MIRage- NPT-R |
MIRage- NTHERM |
MIRage- NFM |
MIRage- NAOi |
MIRage- NTMU |
|
Идентификационное наименование ПО |
NAI8I |
NFAI |
NPT |
NTHERM |
NFM |
NAO4I |
NTMU | ||
|
Номер версии (идентификационный номер ПО) |
IXXXXXV |
IXXXXXV |
IXXXXXV |
rxx-xxxv |
rxx-xxxv |
EXXXXXV |
rxx-xxxv | ||
|
Цифровой идентификатор ПО |
Не используется | ||||||||
Примечание:
В представлении версии, например AXXX-X.X.3, символом «X» обозначена метрологически незначимая часть ПО
Метрологические и технические характеристики
Основные метрологические характеристики ИК ПТК без учета погрешностей первичных преобразователей приведены в таблицах 4-8. Технические характеристики ПТК приведены в таблице 9.
Таблица 4 - Метрологические характеристики ИК ввода/вывода сигналов силы постоянного тока
и напряжения
|
Обозначение ИК |
Диапазон измерений/ генерации |
Номинальная цена единицы наименьшего разряда |
Пределы допускаемой основной абсолютной погрешности измерений/генерации, Ло |
Пределы допускаемой дополнительной абсолютной погрешности измерений/гене-рации от изменения окружающей температуры |
|
1 |
2 |
3 |
4 |
5 |
|
ИК ввода аналоговых сигналов | ||||
|
N-AIi-A |
от 0 до 2Ч04 мкА |
1 мкА |
± (10 3^|X|+5 мкА) |
±0,01-Ло-|Аг| |
|
N-AIi-S |
от 0 до 2Ч04 мкА |
1 мкА |
± (10-3^|X|+5 мкА) | |
|
N-AIi-V |
от 0 до 2,5403 мВ |
1 мВ |
± (5^10-4^|X|+5 мВ) | |
|
N-AI-A |
от -2^104 до 2^104 мкА |
1 мкА |
± (10-3^|X|+5 мкА) |
±0,02-Ло-|Аг| |
|
N-AI-S |
от 0 до 2^104 мкА |
1 мкА |
± (10-3^|X|+5 мкА) | |
|
N-AI-V |
от -104 до 104 мВ |
1 мВ |
± (5^10-4^|X|+5 мВ) |
±(0,02-Ло-|Аг|+ 5 мВ) |
|
NFM-AI-V |
от -104 до 104 мВ |
1 мВ |
±(10-2^|X|+50 мВ) |
±0,02-Ло-|Аг| |
|
ИК вывода аналоговых сигналов | ||||
|
N-AO-A |
от 0 до 2^104 мкА |
1 мкА |
± (2^10-3^|X|+10 мкА) |
±(0,04-Ло-|Аг|+ 20 мкА) |
|
N-AO-V |
от -104 до 104 мВ |
1 мВ |
± (5^10-3^|X|+5 мВ) |
±0,04-Ло-|Аг| |
|
N-AOi-A |
от 0 до 2^104 мкА |
1 мкА |
± (2^10-3^|X|+5 мкА) |
±(0,04-Ло-|Аг|+ 20 мкА) |
|
N-AOi-V |
от -104 до 104 мВ |
1 мВ |
± (5^10-3^|X|+5 мВ) |
±0,04-Ло-|Аг| |
|
Примечание: Х - измеренное значение напряжения или силы постоянного тока в «мВ» и «мкА» соответственно; |At| = |t - 20| - отклонение температуры окружающей среды от + 20 oC по модулю, oC; t - текущая температура окружающей среды, oC. | ||||
Таблица 5 - Метрологические характеристики ИК ввода импульсных сигналов на основе устройств таймерной обработки MIRage-NTMU
|
Обозначение ИК |
Диапазон измерений |
Номинальная цена единицы наименьшего разряда |
Пределы допускаемой абсолютной погрешности измерений в рабочих условиях, мкс |
|
NTMU-TI-12, NTMU-TI-24 |
от 40 до 106 мкс |
0,0625 мкс |
±(10-4^+0,0625 мкс) |
|
Т - измеренное значение периода, мкс. | |||
Таблица 6 - Метрологические характеристики ИК вывода импульсных сигналов на основе устройств таймерной обработки MIRage-NTMU
|
Обозначение ИК |
Диапазон генерации |
Пределы допускаемой абсолютной погрешности генерации в рабочих условиях, Гц |
|
NTMU-TO |
от 50 до 62500 Гц |
+FH0-4 |
|
где: F - установленное значение частоты, Гц. | ||
Таблица 7 - Метрологические характеристики ИК ввода сигналов термопреобразователей сопротивления (ТС) на основе устройств ввода MIRage-NAIi-P, MIRage-NPT, MIRage-NPT-R
|
Тип НСХ ТС1) |
а2), °С-1 |
Ом |
Диапазон измерений температуры, °С |
Диапазон выходного сигнала ТС, Ом |
Дискретность представления выходного сигнала, °С3) |
Пределы допускаемой основной абсолютной погрешности измерений (До), °С |
Пределы допускаемой дополнительной абсолютной погрешности измерений от изменения температуры окружающей среды 6), °С | ||
|
NPTi-X, NPT-Х |
NPTi-X-3, NPT-X-34) |
NPTi-X-3A, NPT-X-3A5) | |||||||
|
1 |
2 |
3 |
4 |
5 |
6 |
7 |
8 |
9 |
10 |
|
50П |
0,00391 |
50 |
от -200 до +100 включ. |
от 8,62 до 69,56 включ. |
0,1 |
±0,5 |
±1,7 |
±1,0 |
±0,02-До-|Д1| |
|
св. +100 до +350 включ. |
св. 69,56 до 115,88 включ. |
±0,7 |
±2,0 |
±1,3 | |||||
|
св. +350 до +550 включ. |
св. 115,88 до 150,31 включ. |
±1,0 |
±2,5 |
±1,6 | |||||
|
св. +550 до +850 |
св. 150,31 до 197,58 |
±1,5 |
±3,1 |
±2,2 | |||||
|
100П |
100 |
от -200 до +100 включ. |
от 17,24 до 139,11 включ. |
±0,5 |
±1,1 |
±0,8 | |||
|
св. +100 до +300 включ. |
св. 139,11 до 213,81 включ. |
±0,7 |
±1,4 |
±1,0 | |||||
|
св. +300 до +600 |
св. 213,81 до 317,11 |
±1,0 |
±1,7 |
±1,3 | |||||
таблицы 7
|
1 |
2 |
3 |
4 |
5 |
6 |
7 |
8 |
9 |
10 |
|
Pt50 |
0,00385 |
50 |
от -200 до 0 включ. |
от 9,26 до 50,0 включ. |
0,1 |
±0,5 |
±1,7 |
±1,0 |
±0,02-до-|дг| |
|
св. 0 до +250 включ. |
св. 50,0 до 97,05 включ. |
±0,7 |
±2,0 |
±1,3 | |||||
|
св. +250 до +500 включ. |
св. 97,05 до 140,49 включ. |
±1,0 |
±2,4 |
±1,6 | |||||
|
св. +500 до +850 |
св. 140,49 до 195,24 |
±1,5 |
±3,1 |
±2,2 | |||||
|
Pt100 |
100 |
от -200 до +100 включ. |
от 18,52 до 138,51 включ. |
±0,5 |
±1,1 |
±0,8 | |||
|
св. +100 до +300 включ. |
св.138,51 до 212,05 включ. |
±0,7 |
±1,4 |
±1,0 | |||||
|
св. +300 до +600 |
св. 212,05 до 313,71 |
±1,0 |
±1,7 |
±1,3 | |||||
|
50М |
0,00428 |
50 |
от -180 до 0 включ. |
от 10,26 до 50,00 включ. |
0,1 |
±0,4 |
±1,5 |
±0,9 |
±0,02-до-|дг| |
|
св. 0 до +200 |
св. 50,00 до 92,80 |
±0,6 |
±1,7 |
±1,1 | |||||
|
100М |
100 |
от -180 до +50 включ. |
от 20,53 до 121,40 включ. |
±0,4 |
±1,0 |
±0,6 | |||
|
св. +50 до +200 |
св. 121,40 до 185,60 |
±0,6 |
±1,2 |
±0,8 | |||||
|
Cu50 |
0,00426 |
50 |
от -50 до +100 включ. |
от 39,35 до 71,30 включ. |
0,1 |
±0,5 |
±1,6 |
±1,0 |
±0,02-до-|дг| |
|
св.+100 до +200 |
от 71,30 до 92,60 |
±0,6 |
±1,7 |
±1,1 |
Продолжение таблицы . 7
|
1 |
2 |
3 |
4 |
5 |
6 |
7 |
8 |
9 |
10 |
|
Cu100 |
0,00426 |
100 |
от -50 до +150 включ. |
от 78,70 до 163,90 включ. |
±0,5 |
±1,1 |
±0,7 | ||
|
св. +150 до +200 |
от 163,90 до 185,20 |
±0,6 |
±1,2 |
±0,8 | |||||
|
100Н |
0,00617 |
100 |
от -60 до +100 включ. |
от 69,45 до 161,72 включ. |
0,1 |
±0,5 |
±1,0 |
±0,7 |
±0,02-AG-|At| |
|
св. +100 до 180 |
от 161,72 до 223,21 |
±0,6 |
±0,9 |
±0,7 | |||||
|
Примечания:
t - текущая температура окружающей среды, °С. | |||||||||
Таблица 8 - Метрологические характеристики ИК преобразования сигналов термопар (ТП) на основе устройств преобразования MIRage-NTHERM
|
Тип НСХ ТП1) |
Диапазон измерений температуры, °С |
Диапазон выходного сигнала ТП2), мВ |
Дискретность представления выходного сигнала3), °С |
Пределы допускаемой основной абсолютной погрешности измерений 4), °С |
Пределы допускаемой дополнительной абсолютной погрешности измерений от изменения температуры окружающей среды 5) |
|
K |
от -200 до -50 включ. |
от -5,891 до -1,889 включ. |
0,1 |
±0,8 |
±0,05-|At| |
|
св. -50 до +100 включ. |
св. -1,889 до +4,096 включ. |
±0,3 | |||
|
св. +100 до +650 включ. |
св. +4,096 до +27,025 включ. |
±0,8 | |||
|
св.+650 до +1050 включ. |
св. +27,025 до +43,211 включ. |
±1,3 | |||
|
св. +1050 до +1372 |
св. +43,211 до +54,886 |
±1,8 | |||
|
L |
от -200 до -100 включ. |
от -9,488 до -5,641 включ. |
0,1 |
±0,8 |
±0,05-|At| |
|
св. -100 до +150 включ. |
св. -5,641 до +10,624 включ. |
±0,3 | |||
|
св. +150 до +800 |
св. +10,624 до +66,466 |
±0,8 | |||
|
Примечания:
При использовании внешнего ИК компенсации температуры холодного спая, пределы его абсолютной погрешности измерений вычисляются следующим образом: пределы абсолютной погрешности измерений используемого ИК для измерения температуры холодного спая + 1,5°С.
| |||||
Таблица 9 - Технические характеристики ПТК
|
Наименование характеристики |
Значение |
|
Нормальные условия: -температура окружающей среды, °С
|
(20 ± 5)°С от 5 до 95 от 84,0 до 106,7 |
|
Рабочие условия:
GRIDEX II
|
от -25 до +70 от -25 до +55 от -20 до +55 от +1 до +40 от 5 до 95 от 84,0 до 106,7 |
|
Температура транспортирования и хранения, °С
|
от -50 до +85 от -40 до +60 |
|
Параметры электрического питания Напряжение постоянного тока, В Напряжение переменного тока, В |
+10% 220-20 +10% 220-15/ |
|
Среднее время наработки на отказ ПТК, часов, не менее (для систем без резервирования) |
50000 |
|
Средний срок службы, лет, не менее |
15 |
|
Примечание: Устройства дискретного ввода/вывода, источники питания, процессорные и запоминающие устройства, входящие в состав ПТК, не являются измерительными компонентами и не требуют утверждения типа. | |
Знак утверждения типа
наносится на паспортные таблички шкафов ПТК методом лазерной гравировки и на титульные листы эксплуатационной документации ПТК типографским способом.
Комплектность средства измерений
аблица 10 - Комплектность ПТК
|
Наименование |
Обозначение |
Количество .1) |
|
Комплекс программно-технический (программно-аппаратный) |
«TORNADO-N» («ТОРНАДО-N») |
1 шт |
|
Методика поверки |
- |
1 экз. |
|
Программное обеспечение |
- | |
|
Руководство по эксплуатации |
АБНС.421457.002РЭ |
1 экз. |
|
Формуляр |
АБНС.421457.002ФО |
1 экз. |
|
1) Комплект поставки ПТК определяется спецификацией заказа и в общем случае включает оборудование (шкафы контроллеров технологических, шкафы питания, серверы, АРМ, коммуникационные средства), программное обеспечение и эксплуатационную документацию. | ||
Сведения о методиках (методах) измерений
приведены в разделе 4 «Описание изделия и принципов его работы» документа «Комплексы программно-технические (программно-аппаратные) «TORNADO-N» («ТОРНАДО-N»). Руководство по эксплуатации. АБНС.421457.002РЭ».
Нормативные документы, устанавливающие требования к средству измерений
ГОСТ Р 52931-2008 Приборы контроля и регулирования технологических процессов. Общие технические условия
ГОСТ 22261-94 Средства измерений электрических и магнитных величин. Общие технические условия
ГОСТ 6651-2009 ГСИ. Термопреобразователи сопротивления из платины, меди и никеля. Общие технические требования и методы испытаний
ГОСТ Р 8.585-2001 ГСИ. Термопары. Номинальные статические характеристики преобразования
АБНС.421457.002ТУ Комплексы программно-технические (программно-аппаратные) «TORNADO-N» («ТОРНАДО-N»). Технические условия
Правообладатель
Общество с ограниченной ответственностью «Модульные Системы Торнадо»
(ООО «Модульные Системы Торнадо»)
ИНН 5408005710
Адрес юридического лица: 630090, Новосибирская обл., г. Новосибирск, ул. Инженерная, д.4а, офис 303
Телефон: +7 (8383) 3-633-800
Факс: +7 (8383) 3-360-933
E-mail: info@tornado.nsk.ru
Web-сайт: www.tornado.nsk.ru
Изготовитель
Общество с ограниченной ответственностью «Модульные Системы Торнадо» (ООО «Модульные Системы Торнадо»)
ИНН 5408005710
Адрес: 630090, Новосибирская обл., г. Новосибирск, ул. Инженерная, д.4а, офис 303
Телефон: +7 (8383) 3-633-800
Факс: +7 (8383) 3-360-933
E-mail: info@tornado.nsk.ru
Web-сайт: www.tornado.nsk.ru
Испытательный центр
Федеральное бюджетное учреждение «Научно-исследовательский центр прикладной метрологии - Ростест»
(ФБУ «НИЦ ПМ - Ростест»)
Юридический адрес: 117418, г. Москва, Нахимовский пр-кт, д. 31
Адрес: 119361, г. Москва, ул. Озерная, д. 46
Телефон: +7 (495) 544-00-00
Web-сайт: www.rostest.ru
E-mail: info@rostest.ru
Уникальный номер записи в реестре аккредитованных лиц № 30004-13
УТВЕРЖДЕНО приказом Федерального агентства по техническому регулированию
и метрологии
от « 01 » ноябРя 2025 г. № 2382
Лист № 1 Регистрационный № 96789-25 Всего листов 6
ОПИСАНИЕ ТИПА СРЕДСТВА ИЗМЕРЕНИЙ
Измерители частоты вращения роликов стенда C-RTS-FНазначение средства измерений
Измерители частоты вращения роликов стенда C-RTS-F (далее - измерители) предназначены для динамических измерений грузовых транспортных средств.
Описание средства измерений
Принцип действия измерителей основан на обратимости движения. Испытуемое автотранспортное средство устанавливается неподвижно, а «дорога» движется с заданной скоростью. Роль дороги выполняют пары опорных роликов, на которые устанавливаются колеса автотранспортного средства. Каждая пара опорных роликов приводится во вращение от асинхронного двигателя или колес автотранспортного средства и имитирует его движение с заданной оператором скоростью.
Оборудование представляет собой комплекс механизмов и электронных систем для контроля работоспособности узлов, агрегатов и систем автомобиля в движении.
В состав стенда входят приводные ролики (спаренные и одинарные), шкаф управления с ПЛК, ПК и RTM, а также силовые шкафы, с частотными преобразователями и рекуператорами.
Управление и визуализация процесса тестирования осуществляется через кнопки на шкафу управления и автоматизированное рабочее место оператора (АРМ). АРМ состоит из промышленного компьютера с установленным программным обеспечением, монитора, клавиатуры, сканера штрих-кодов и принтера чеков. Дополнительно в состав АРМ входит два монитора для отображения процесса тестирования для водителя.
Дополнительно в АРМ включен ресивер сигнала для приема команд с пульта дистанционного управления (пульт ДУ). Пульт ДУ предназначен для ввода команд водителем в ходе проведения тестирования.
Оборудование размещено в закрытом шумоизолированном боксе, с системой рециркуляции воздуха.
На стенах шумоизолированного бокса установлены светофоры для индикации процесса тестирования.
-
• Зеленая сигнализация сообщает оператору о том, что оборудование находится в «Базовом состоянии» и готовности принять автомобиль для проведения теста.
-
• Красная сигнализация сообщает о тестировании автомобиля и о том, что оборудование находится в состоянии «Готовность к тестированию».
-
• Мигающая красная сигнализация сообщает об аварии или ошибке на оборудовании.
К средствам измерений данного типа относятся измерители частоты вращения роликов стенда C-RTS-F модификации C-RTS-F-1212-8, зав. № RTS-190300, модификации
C-RTS-F-0212-6, зав. № RTS-190400, которые отличаются количеством роликов.
Пломбирование крепёжных винтов корпуса измерителей не предусмотрено, ограничение доступа к местам настройки (регулировки) обеспечено конструкцией корпуса.
Заводской номер измерителей в буквенно-цифровом формате указан методом печати на маркировочной наклейке, расположенной на шкафу управления.
Нанесение знака поверки на средство измерений не предусмотрено.
Общий вид измерителя частоты вращения роликов стенда C-RTS-F модификации C-RTS-F-1212-8, зав. № RTS-190300 представлен на рисунке 1.
Общий вид измерителя частоты вращения роликов стенда C-RTS-F модификации C-RTS-F-0212-6, зав. № RTS-190400 представлен на рисунке 2.
Общий вид автоматизированного рабочего места оператора представлен на рисунке 3.
Общий вид шкафа управления представлен на рисунке 4.
Общий вид маркировочной таблички измерителя частоты вращения роликов стенда C-RTS-F модификации C-RTS-F-0212-6, зав. № RTS-190400 представлен на рисунке 5.
Общий вид маркировочной таблички измерителя частоты вращения роликов стенда C-RTS-F модификации C-RTS-F-1212-8, зав. № RTS-190300 представлен на рисунке 6.
Рисунок 2 - Общий вид измерителя частоты вращения роликов стенда C-RTS-F модификации C-RTS-F-0212-6, зав. № RTS-190400
Рисунок 1 - Общий вид измерителя частоты вращения роликов стенда C-RTS-F модификации C-RTS-F-1212-8, зав. № RTS-190300
Рисунок 3 - Общий вид автоматизированного рабочего места оператора
Рисунок 4 - Общий вид шкафа управления
|—| C"J IF Pl/I A N T* J TESYS hol-iiarni TeSys PiOILeiJinik CjinLiH
.1 I I l!|-Ilf if Ll.TI .'111 .I.IIl lMl'.Tr r. lU
Hcthwanncnwcg □□
HOFMANN TESVS нЫптдпп ТйЕуч Frijftpchnik GmbH ■. ЯПИГЛ SI "АКТЫ К nj№vvJ «.4 ALi
Heliswan renwejr 50
D-31008 CI-ZG
О&ззнеченне стенда: Мне liaiH j>i
Иямеритепп частали ярйлркия рплингвспрыдл C-RT5-F
Обоениченне стенд в МгсМпе dtssnadcn:
Tsfl гспдд
Mechme ■type
С RT5 F 0212 б
Inn стенда:
MicNnc- type
hi заказа
Crderino.:
rts-им м
Чз стенда:
Machine no
Гпд h-it/: м Сопят, monr'v'vear
04/1013
ZU'TtrrrpPt
Сжсяг. montfiityew:
Нвпрпкр-ме: VoiURe:
400/130 VK
Чктотв
Frequency:
50 HI
Нл1фгзмннр Vahait:
П|Ж/^Ч»ННН'ЛЬ
Susptyfuse:
115 A
1Л0А
Пдадовраннгвйь
Supply 1ия:
П-310ПЯ Flr₽-

Место указания
заводского номера
r/-3dcln Gennaity

Mji: irt GCfffllrV/

Рисунок 5 - Общий вид маркировочной таблички измерителя частоты вращения роликов стенда C-RTS-F модификации C-RTS-F-0212-6, зав. № RTS-190400
Рисунок 6 - Общий вид маркировочной таблички измерителя частоты вращения роликов стенда C-RTS-F модификации C-RTS-F-1212-8, зав. № RTS-190300
Программное обеспечение
Для работы с измерителями используется метрологически значимое программное обеспечение (далее - ПО) «RTS_3A» и «RTS_4A», устанавливаемое на локальном персональном компьютере для управления измерителем, обработки и хранения результатов измерений.
Аппаратная и программная части, работая совместно, обеспечивают заявленные точности конечных результатов измерений.
Уровень защиты ПО - «средний» в соответствии с Р 50.2.077-2014. Идентификационные данные программного обеспечения приведены в таблице 1.
Таблица 1 - Идентификационные данные программного обеспечения
|
Идентификационные данные (признаки) |
Значение | |
|
Модификация |
C-RTS-F-1212-8 |
C-RTS-F-0212-6 |
|
Идентификационное наименование ПО |
RTS 3A |
RTS 4A |
|
Номер версии (идентификационный номер ПО) |
1.0.X.X* | |
|
Цифровой идентификатор ПО |
- | |
|
* - X - изменяемая часть номера версии ПО | ||
Метрологические и технические характеристики
Таблица 2 - Метрологические характеристики
|
Наименование характеристики |
Значение |
|
Диапазон измерений частоты вращения роликов, об/мин:
|
от 20 до 1300 от 20 до 1100 |
|
Пределы допускаемой относительной погрешности измерений частоты вращения роликов, % |
±0,5 |
Таблица 3 - Основные технические характеристики
|
Наименование характеристики |
Значение |
|
Длина колесной базы, мм, не более |
5200 |
|
Габаритные размеры (ДлинахШиринахВысота), мм, не более |
11500x7000x3000 |
|
Условия эксплуатации: - температура окружающего воздуха, °С |
от +15 до +35 |
|
Параметры электрического питания: - напряжение переменного тока, В |
3x400 |
|
- частота переменного тока, Гц |
50 |
Знак утверждения типа
наносится типографским способом на титульный лист руководства по эксплуатации.
Лист № 5 Всего листов 6 Комплектность средства измерений
Таблица 4 - Комплектность средства измерений
|
Наименование |
Обозначение |
Количество |
|
Измеритель частоты вращения роликов стенда |
C-RTS-F |
1 шт. |
|
Комплект принадлежностей и приспособлений |
- |
1 комплект |
|
Шкаф управления |
- |
1 шт. |
|
Автоматизированное рабочее место оператора |
- |
1 шт. |
|
Руководство по эксплуатации |
RTS-190300 РЭ RTS-190400 РЭ |
1 экз. 1 экз. |
|
Паспорт |
RTS-190300 ПС RTS-190400 ПС |
1 экз. 1 экз. |
|
Методика поверки |
- |
По заказу |
Сведения о методиках (методах) измерений
приведены в разделах:
-
- 2.5 «Начало работы со стендом», 2.6 «Запуск программы», 2.7 «Работа с MES», 2.8 «Работа без MES», 2.9 «Подготовка к тестам» «Измеритель частоты вращения роликов стенда С-RTS-F-1212-8. Руководство по эксплуатации RTS-190300 РЭ»;
-
- 2.5 «Начало работы со стендом», 2.6 «Запуск программы», 2.7 «Работа с MES», 2.8 «Работа без MES», 2.9 «Подготовка к тестам» «Измеритель частоты вращения роликов стенда С-RTS-F-0212-6. Руководство по эксплуатации RTS-190400 РЭ».
Нормативные документы, устанавливающие требования к средству измерений
Государственная поверочная схема для средств измерений времени и частоты, утвержденной Приказом Федерального агентства по техническому регулированию и метрологии от 26 сентября 2022 г. № 2360
Правообладатель
Hofmann TeSys Pruftechnik GmbH, Германия
Адрес: Heilswannenweg 50, D-31008 Elze, Германия
Тел.: +49 (0) 5068 462-0
E-mail: de@hofmanntesys.com
Изготовитель
Hofmann TeSys Pruftechnik GmbH, Германия
Адрес: Heilswannenweg 50, D-31008 Elze, Германия
Тел.: +49 (0) 5068 462-0
E-mail: de@hofmanntesys.com
Испытательный центр
Общество с ограниченной ответственностью «Автопрогресс-М» (ООО «Автопрогресс-М»)
Адрес: 125167, г. Москва, ул. Викторенко, д. 16, стр. 1, помещ. 10, этаж 1
Тел.: +7 (495) 120-03-50
E-mail: info@autoprogress-m.ru
Уникальный номер записи об аккредитации в Реестре аккредитованных лиц № RA.RU.314889
УТВЕРЖДЕНО приказом Федерального агентства по техническому регулированию
и метрологии
от « 01 » ноябРя 2025 г. № 2382Лист № 1
Всего листов 3
Регистрационный № 96790-25
ОПИСАНИЕ ТИПА СРЕДСТВА ИЗМЕРЕНИЙ
Трансформаторы тока LKZB-0120Назначение средства измерений
Трансформаторы тока LKZB-0120 (далее по тексту - трансформаторы) предназначен для питания схем релейной защиты от замыкания на землю отдельных жил трехфазного кабеля путем трансформации возникших при этом токов нулевой последовательности, а также для передачи сигнала измерительной информации приборам защиты, автоматики, сигнализации и управления.
Описание средства измерений
Принцип действия трансформаторов основан на явлении электромагнитной индукции.
Конструкция трансформаторов представляет собой кольцевой магнитопровод с вторичной обмоткой. Корпус трансформатора выполнен из эпоксидной смолы, который обеспечивает защиту обмотки от механических и климатических воздействий. В качестве первичной обмотки трансформаторов используется шина или кабель. Выводы вторичной обмотки расположены на корпусе трансформатора.
Трансформаторы предназначены для установки в распределительные устройства (РУ).
Заводской номер в виде цифрового обозначения, идентифицирующий каждый экземпляр средства измерений, нанесен арабскими цифрами на корпус трансформатора методом лазерной гравировки.
Нанесение знака поверки на трансформаторы не предусмотрено. Пломбирование трансформаторов не предусмотрено.
Общий вид трансформаторов, место нанесения заводского номера приведены на рисунке 1.
Место нанесения заводского номера

Рисунок 1 - Общий вид трансформаторов, место нанесения заводского номера
Лист № 2 Всего листов 3 Метрологические и технические характеристики
Таблица 1 - Метрологические характеристики
|
Наименование характеристики |
Значение |
|
Номинальное напряжение, кВ |
от 6 до 35 |
|
Номинальный первичный ток 11ном, А |
50 |
|
Номинальный вторичный ток Ъном, А |
1 |
|
Номинальная частота, Гц |
50 |
|
Номинальная вторичная нагрузка S2ном с коэффициентом мощности COSф2=1,0, В-А |
2,5 |
|
Класс точности по ГОСТ Р МЭК 61869-2-2015 |
10P |
|
Номинальная предельная кратность |
10 |
Таблица 2 - Технические характеристики
|
Наименование характеристики |
Значение |
|
Масса, кг, не более |
12 |
|
Габаритные размеры (Внешний диаметрхвнутренний диаметрхвысота), мм, не более |
225x125x310 |
|
Условия эксплуатации:
|
от -25 до +40 95 |
|
Средняя наработка до отказа, ч, не менее |
100000 |
|
Средний срок службы, лет, не менее |
15 |
Знак утверждения типа
наносится на титульный лист паспорта типографским способом.
Комплектность средства измерения
Комплект поставки трансформаторов приведен в таблице 3.
Таблица 3 - Комплект поставки
|
Наименование |
Обозначение |
Количество, шт. |
|
Трансформатор тока |
LKZB-0120 |
1 |
|
Паспорт |
- |
1 |
Сведения о методиках (методах) измерений
приведены в разделе 1 «Общие сведения» паспорта.
Нормативные документы, устанавливающие требования к средству измерений
ГОСТ Р МЭК 61869-2-2015 «Трансформаторы измерительные. Часть 2. Дополнительные требования к трансформаторам тока»
Приказ Федерального агентства по техническому регулированию и метрологии от 21 июля 2023 года №1491 «Об утверждении Государственной поверочной схемы для средств измерений коэффициентов преобразования силы электрического тока»
Трансформаторы тока LKZB-0120. Стандарт предприятия
Правообладатель
JIANGSU COSINE ELECTRIC CO., LTD., Китай
Адрес: Wenchang East Rd.131.Taixing City, Jiangsu Province, China
Телефон: 0523-87877777
Web-сайт: www.cosine.cn
E-mail: kexing@cosine.cn
Изготовитель
JIANGSU COSINE ELECTRIC CO., LTD., Китай
Адрес: Wenchang East Rd.131.Taixing City, Jiangsu Province, China
Телефон: 0523-87877777
Web-сайт: www.cosine.cn
E-mail: kexing@cosine.cn
Испытательный центр
Федеральное бюджетное учреждение «Научно-исследовательский центр прикладной метрологии - Ростест»
(ФБУ «НИЦ ПМ - Ростест»)
Адрес: 119631, г. Москва, ул. Озерная, д.46
Телефон: +7 (495) 437-37-29
Факс: +7 (495) 437-56-66
Web-сайт: www.rostest.ru
E-mail: info@rostest.ru
Уникальный номер записи об аккредитации в реестре аккредитованных лиц Росаккредитации 30004-13
УТВЕРЖДЕНО приказом Федерального агентства по техническому регулированию
и метрологии
от «__ » ноябРя 2025 г. № 23_2
Лист № 1 Регистрационный № 96791-25 Всего листов 6
ОПИСАНИЕ ТИПА СРЕДСТВА ИЗМЕРЕНИЙ
Твердомеры Виккерса VickyMacroMetНазначение средства измерений
Твердомеры Виккерса VickyMacroMet (далее - твердомеры) предназначены для измерений твердости металлов и сплавов по шкалам Виккерса.
Описание средства измерений
Принцип действия твердомеров основан на статическом вдавливании наконечника -алмазной пирамиды Виккерса, с последующим измерением длин диагоналей восстановленного отпечатка.
Конструктивно твердомеры имеют металлический корпус и состоят из устройства приложения нагрузки и измерительного устройства.
Твердомеры выпускаются в девяти модификациях: VickyMacroMet-10AI, VickyMacroMet-50AI, VickyMacroMet-10ECO, VickyMacroMet-10, VickyMacroMet-30ECO, VickyMacroMet-30, VickyMacroMet-50ECO, VickyMacroMet-50, VickyMacroMet-100. Модификации твердомеров отличаются диапазоном прикладываемых нагрузок, конструкцией, степенью автоматизации процесса измерений.
Серийный номер в виде буквенно-цифрового обозначения, состоящего из арабских цифр и букв латинского алфавита, наносятся любым удобным технологическим способом на маркировочную табличку, закрепленную в месте, указанном на рисунках 1-3.
Пломбирование твердомеров не предусмотрено.
Нанесение знака поверки на корпус твердомеров не предусмотрено.
Общий вид твердомеров с указанием места нанесения маркировочной таблички приведён на рисунках 1-3.
Рисунок 2 - Общий вид твердомеров Виккерса
VickyMacroMet-10ECO, VickyMacroMet-30ECO, VickyMacroMet-50ECO; VickyMacroMet-100
Рисунок 1 - Общий вид твердомеров
Виккерса VickyMacroMet-10, VickyMacroMet-30, VickyMacroMet-50
Место нанесения маркировочной таблички


Рисунок 3 - Общий вид твердомеров Виккерса VickyMacroMet-10AI, VickyMacroMet-50AI
Программное обеспечение
Программное обеспечение (далее - ПО) твердомеров является метрологически значимым и используется для управления их работой, а также для визуального отображения, хранения и статистической обработки результатов измерений.
ПО является неизменным, возможность несанкционированного влияния на программное обеспечение и измерительную информацию отсутствует.
Влияние ПО твердомеров учтено при нормировании метрологических характеристик.
Внешнее ПО, устанавливаемое на персональный компьютер, не влияет на метрологические характеристики твердомеров.
Уровень защиты ПО «средний» в соответствии с Р 50.2.077-2014.
Таблица 1 - Идентификационные данные ПО
|
Идентификационные данные (признаки) |
Значение * | ||
|
Идентификационное наименование ПО |
uVision-F |
uVision-V |
Thixomet MHT |
|
Номер версии (идентификационный номер) ПО |
не ниже v 1.0 |
не ниже v. 1.0 |
не ниже v. 3.0.0.0 |
|
Цифровой идентификатор ПО (контрольная сумма исполняемого кода) |
- |
- |
- |
|
* В соответствии с заказом | |||
Метрологические и технические характеристики
Таблица 2 - Метрологические характеристики испытательных нагрузок по шкалам Виккерса
|
Модификация твердомеров |
Испытательные нагрузки, Н |
Пределы допускаемого относительного отклонения испытательных нагрузок, % |
|
VickyMacroMet-10AI, VickyMacroMet-10ECO, VickyMacroMet-10 |
2,942; 4,903; 9,807; 19,61; 29,42; 49,03; 98,07 |
±1,0 |
|
VickyMacroMet-30ECO, VickyMacroMet-30 |
2,942; 4,903; 9,807; 19,61; 29,42; 49,03; 98,07; 196,1; 294,2 | |
|
VickyMacroMet-50AI; VickyMacroMet- 50ECO, VickyMacroMet-50 |
4,903; 9,807; 19,61; 29,42; 49,03; 98,07; 196,1; 294,2; 490,3 | |
|
VickyMacroMet-100 |
19,61; 29,42; 49,03; 98,07; 196,1; 294,2; 490,3; 980,7 |
Таблица 3 - Метрологические характеристики твердомеров по шкалам Виккерса
|
Диапазон измерений твёрдости HV |
Шкалы |
Пределы допускаемых абсолютных погрешностей HV (±) |
Размах чисел твёрдости HV, не более |
|
От 50 до 75 включ. |
HV20; HV30; HV50; HV100 |
3,0 |
2,4 |
|
HV3; HV5; HV10 |
3,0 |
3,0 | |
|
HV1; HV2 |
3,0 |
3,0 | |
|
HV0,3; HV0,5 |
3,1 |
2,9 | |
|
Св. 75 до 125 включ. |
HV20; HV30; HV50; HV100 |
3,0 |
3,0 |
|
HV3; HV5; HV10 |
3,0 |
3,0 | |
|
HV1; HV2 |
4,0 |
4,0 | |
|
HV0,5 |
3,0 |
3,5 | |
|
HV0,3 |
4,0 |
4,0 | |
|
Св. 125 до 250 включ. |
HV20; HV30; HV50; HV100 |
6,0 |
7,0 |
|
HV3; HV5; HV10 |
8,0 |
10,0 | |
|
HV1; HV2 |
10,0 |
10,0 | |
|
HV0,5 |
13,0 |
10,0 | |
|
HV0,3 |
14,0 |
10,0 | |
|
Св. 250 до 350 включ. |
HV30; HV50; HV100 |
7,0 |
7,0 |
|
HV20 |
10,0 |
10,0 | |
|
HV3; HV5; HV10 |
11,0 |
11,0 | |
|
HV1; HV2 |
13,0 |
13,0 | |
|
HV0,3; HV0,5 |
17,0 |
15,0 | |
|
Св. 350 до 525 включ. |
HV30; HV50; HV100 |
10,0 |
10,0 |
|
HV5; HV10; HV20 |
15,5 |
15,5 | |
|
HV2; HV3 |
20,0 |
20,0 | |
|
HV1 |
25,0 |
25,0 | |
|
HV0,3; HV0,5 |
25,0 |
22,0 |
Продолжение таблицы 3
|
Диапазон измерений чисел твёрдости HV |
Шкалы |
Пределы допускаемых абсолютных погрешностей HV (±) |
Размах чисел твёрдости HV, не более |
|
Св. 525 до 650 включ. |
HV30; HV50; HV100 |
13,0 |
13,0 |
|
HV5; HV10; HV20 |
19,0 |
19,0 | |
|
HV2; HV3 |
26,0 |
26,0 | |
|
HV1 |
31,0 |
31,0 | |
|
HV0,3; HV0,5 |
30,0 |
26,0 | |
|
Св. 650 до 750 включ. |
HV30; HV50; HV100 |
15,0 |
15,0 |
|
HV5; HV10; HV20 |
22,0 |
22,0 | |
|
HV2; HV3 |
30,0 |
29,6 | |
|
HV1 |
42,0 |
38,5 | |
|
HV0,3; HV0,5 |
35,0 |
30,0 | |
|
Св. 750 до 850 включ. |
HV30; HV50; HV100 |
17,0 |
19,0 |
|
HV5; HV10; HV20 |
25,0 |
25,0 | |
|
HV2; HV3 |
36,0 |
36,0 | |
|
HV1 |
51,0 |
51,0 | |
|
HV0,3; HV0,5 |
50,0 |
40,0 | |
|
Св. 850 до 1000 включ. |
HV30; HV50; HV100 |
20,0 |
20,0 |
|
HV10; HV20 |
30,0 |
30,0 | |
|
HV3; HV5 |
40,0 |
38,0 | |
|
HV2 |
50,0 |
50,0 | |
|
HV1 |
60,0 |
57,0 | |
|
HV0,3; HV0,5 |
60,0 |
42,0 | |
|
Св. 1000 до 1250 включ. |
HV30; HV50; HV100 |
24,0 |
24,0 |
|
HV20; HV10 |
35,0 |
35,0 | |
|
HV3; HV5 |
45,0 |
52,0 | |
|
HV2 |
50,0 |
50,0 | |
|
HV1 |
68,0 |
68,0 | |
|
HV0,5 |
70,0 |
66,0 | |
|
Св. 1250 до 1500 включ. |
HV30; HV50; HV100 |
26,0 |
26,0 |
|
HV10; HV20 |
39,0 |
39,0 | |
|
HV3; HV5; |
65,0 |
65,0 | |
|
HV1; HV2 |
77,0 |
77,0 | |
|
HV0,5 |
78,0 |
72,0 |
П р и м е ч а н и е - метрологические характеристики действительны для 5 измерений
Таблица 4 - Основные технические характеристики
|
Наименование характеристики |
Значение |
|
Условия эксплуатации температура окружающего воздуха, °С относительная влажность окружающего воздуха, %, не более |
от +15 до +35 80 |
|
Параметры электрического питания напряжение переменного тока, В частота переменного тока, Гц |
от 207 до 253 от 49,5 до 50,5 |
Продолжение таблицы 4
|
Наименование характеристики |
Значение |
|
Габаритные размеры, мм, не более VickyMacroMet-10AI, VickyMacroMet-50AI | |
|
длина |
560 |
|
ширина |
290 |
|
высота |
700 |
|
VickyMacroMet-10ECO, VickyMacroMet-10, VickyMacroMet-30ECO, VickyMacroMet-30, VickyMacroMet-50ECO, VickyMacroMet-50, VickyMacroMet-100 | |
|
длина |
600 |
|
ширина |
300 |
|
высота |
750 |
|
Масса, кг, не более VickyMacroMet-10AI, VickyMacroMet-50AI |
60 |
|
VickyMacroMet-10ECO, VickyMacroMet-10, VickyMacroMet-30ECO, VickyMacroMet-30, VickyMacroMet-50ECO, VickyMacroMet-50, VickyMacroMet-100 |
65 |
Знак утверждения типа
наносится на титульный лист руководства по эксплуатации типографским способом.
Комплектность средства измерений
Таблица 5 - Комплектность твердомера
|
Наименование |
Обозначение |
Количество |
|
Твердомер Виккерса |
VickyMacroMet |
1 шт. |
|
Персональный компьютер * |
- |
1 шт. |
|
Внешнее программное обеспечение * |
- |
1 шт. |
|
Цифровая камера* |
- |
1 шт. |
|
Принадлежности |
- |
1 комплект |
|
Руководство по эксплуатации |
VickyMacroMet - 01 РЭ |
1 экз. |
|
* В соответствии с заказом | ||
Сведения о методиках (методах) измерений
приведены в главах: 9 «Работа с твердомером VickyMacroMet-10, -30, -50», 17. «Работа с твердомером VickyMacroMet-ЮЕСО, -30ЕСО, -50ЕСО, -100», 29 «Как проводить измерение твердости» документа «VickyMacroMet - 01РЭ. Руководство по эксплуатации».
Нормативные документы, устанавливающие требования к средству измерений
ГОСТ Р ИСО 6507-1-2007 Металлы и сплавы. Измерение твёрдости по Виккерсу. Часть 1. Метод измерения
Приказ Росстандарта от 14.08.2024 № 1898 «Об утверждении Государственной поверочной схемы для средств измерений твёрдости по шкалам Виккерса и шкалам Кнупа»
Стандарт предприятия «Твердомеры Виккерса VickyMacroMet. СП»
Правообладатель
Компания «Anhui Mikrosize Precision Instrument Co., Ltd», Китай
Адрес: A-4035 RuiFeng Business Expo, Wuhu City, China, 241000
Изготовитель
Компания «Anhui Mikrosize Precision Instrument Co., Ltd», Китай
Адрес: A-4035 RuiFeng Business Expo, Wuhu City, China, 241000
Испытательный центр
Федеральное государственное унитарное предприятия «Всероссийский научно-исследовательский институт физико-технических и радиотехнических измерений»
(ФГУП «ВНИИФТРИ»)
Адрес: 141570, Московская обл., г. Солнечногорск, пгт. Менделеево, промзона ФГУП ВНИИФТРИ
Уникальный номер записи об аккредитации в Реестре аккредитованных лиц 30002-13
УТВЕРЖДЕНО приказом Федерального агентства по техническому регулированию
и метрологии
от « __ » ноября 2025 г. № 2382
Лист № 1
Регистрационный № 96792-25 Всего листов 5
ОПИСАНИЕ ТИПА СРЕДСТВА ИЗМЕРЕНИЙ
Системы измерений перемещений и деформаций PrinCe H3Назначение средства применений
Системы измерений перемещений и деформаций PrinCe H3 (далее - системы) предназначены для измерений линейных перемещений объектов контроля, и проведения на основе полученных данных анализа и мониторинга критически важной инфраструктуры с целью выявления и прогнозирование деформаций данных объектов.
Описание средства измерений
Конструктивно система состоит из референсной и подвижной станций, представляющих собой приёмники глобальных навигационных спутниковых систем, необходимых крепёжных элементов, а также элементов питания и передачи данных. Для проведения измерений необходимо не менее двух приёмников.
Схема мониторинга базируется на классическом типе геодинамической сети для выявления деформаций - методе определения перемещений контрольных пунктов относительно базовых.
Принцип действия систем заключается в непрерывном определении перемещений приёмника, установленного на контролируемом пункте относительно базовой (референсной) станции- - приёмника, расположенного вне зоны деформаций. Перемещения определяются как разность положения приёмника в определённый промежуток времени.
Приёмники устанавливаются с использованием входящих в комплект или специально изготовленных кронштейнов. Подключение и передача данных осуществляется по радиоканалу GSM.
Система работает под управлением персонального компьютера пользователя с установленным специализированным программным обеспечением, входящим в комплект поставки. Проводится накапливание записанных данных в течении заданного интервала времени с дальнейшей постобработкой, и вычисление величины и вектора перемещения по трём осям в пространстве.
Электропитание осуществляется от внешнего источника питания.
Общий вид системы приведён на рисунке 1.
Место нанесения маркировочной наклейки с заводским номером средства измерений
б)
Рисунок 1 - Системы измерений перемещений и деформаций PrinCe H3: а) общий вид; б) место нанесения заводского номера средства измерений
Заводской номер в виде цифрового обозначения, состоящий из арабских цифр, указывается на маркировочной наклейке, расположенной на нижней части корпуса.
Нанесение знака поверки на средство измерений не предусмотрено.
В процессе эксплуатации системы не предусматривают внешних механических регулировок. Пломбирование системы не производится.
Программное обеспечение
Системы имеют встроенное метрологически значимое микропрограммное обеспечение (далее - МПО). С помощью указанного МПО осуществляется настройка и управление рабочим процессом, хранение и передача результатов измерений.
С помощью программного обеспечения (далее - ПО) HCMonitor, устанавливаемого на персональный компьютер, осуществляется сбор полевых данных, их хранение и передача результатов.
ПО MAS предназначено для анализа деформационных процессов на основе расчетных данных (смещений, скоростей и ускорений), автоматического детектирования превышения заданных пороговых значений деформаций и для генерации уведомлений при выходе параметров за установленные критические границы.
Защита программного обеспечения и измеренных данных от непреднамеренных и преднамеренных изменений соответствует уровню «средний» в соответствии с Р 50.2.077-2014.
Идентификационные данные ПО приведены в таблице 1.
Таблица 1 - Идентификационные данные программного обеспечения
|
Идентификационные данные (признаки) |
Значение | ||
|
Идентификационное наименование ПО |
МПО |
HCMonitor |
MAS |
|
Номер версии (идентификационный номер ПО), не ниже |
1.2.7 |
2.4.0.1 |
3.3.0.1 |
|
Цифровой идентификатор ПО |
- |
- |
- |
Метрологические и технические характеристики
Таблица 2 - Метрологические характеристики
|
Наименование характеристики |
Значение |
|
Диапазон измерений линейных перемещений (деформаций), мм |
от -500 до +500 |
|
Пределы допускаемой абсолютной погрешности измерений линейных перемещений (деформаций)*, мм:
|
3,0+0,5-10-6-L 5,0+0,5-10-6-L |
|
* При удалении от референсной станции не более 30000 м L - расстояние до референсной станции, мм | |
Таблица 3 - Основные технические характеристики
|
Наименование характеристики |
Значение |
|
Диапазон рабочих температур, °С |
от -40 до +65 |
|
Напряжение источника питания постоянного тока, В |
от 9 до 21 |
|
Габаритные размеры (ДлинахШиринахВысота), мм, не более |
212x212x130 |
|
Масса, г, не более |
1500 |
Таблица 4 - Показатели надёжности
|
Наименование характеристики |
Значение |
|
Средняя наработка на отказ, ч, не менее |
50000 |
|
Средний полный срок службы, лет, не менее |
5 |
Знак утверждения типа
наносится типографским способом на титульный лист руководства по эксплуатации.
Лист № 4 Всего листов 5 Комплектность средства измерений
Таблица 5 - Комплектность средства измерений
|
Наименование |
Обозначение |
Количество |
|
Система измерений перемещений и деформаций |
PrinCe H3 |
1 шт. |
|
Кабель питания и передачи данных |
4103 010 015 |
1 шт. |
|
Силовой кабель |
0105 000 010 |
1 шт. |
|
Секция (кронштейн) |
2290 010 082 |
1 шт. |
|
Комплект термоусадок |
4107 060 005 |
1 шт. |
|
Референсная станция |
- |
По заказу |
|
Руководство по эксплуатации |
- |
1 экз. |
|
Транспортировочная коробка |
4106 040 358 |
1 шт. |
Сведения о методиках (методах) измерений
приведены в разделе 2 «Монтаж и настройка» документа «Системы измерений перемещений и деформаций PrinCe H3. Руководство по эксплуатации».
Нормативные документы, устанавливающие требования к средству измерений
Локальная поверочная схема для средств измерений перемещений и деформаций
№ ЛПС 004-2025, утвержденная ООО «ПРОММАШ ТЕСТ Метрология» от 25 апреля 2025 г.
Стандарт предприятия Shanghai Huace Navigation Technology Ltd, Китай
Правообладатель
Shanghai Huace Navigation Technology Ltd, Китай
Адрес: 599 Gaojing Road, Building C, Qingpu District, Shanghai 201701, China
Тел./факс: +86 21 5426 0273
E-mail: sales@chcnav.com
Изготовитель
Shanghai Huace Navigation Technology Ltd, Китай
Адрес: 599 Gaojing Road, Building C, Qingpu District, Shanghai 201701, China
Испытательный центр
Общество с ограниченной ответственностью «ПРОММАШ ТЕСТ Метрология»
(ООО «ПРОММАШ ТЕСТ Метрология»)
Адрес юридического лица: 119415, г. Москва, пр-кт Вернадского, д. 41, стр. 1, помещ. 263
Адрес места осуществления деятельности: 142300, Московская обл., г. Чехов, ш. Симферопольское, д. 2
Телефон: +7 (495) 108-69-50
E-mail: info@metrologiya.prommashtest.ru
Уникальный номер записи в Реестре аккредитованных лиц RA.RU. 314164
УТВЕРЖДЕНО приказом Федерального агентства по техническому регулированию
Лист № 1 Регистрационный № 96794-25 Всего листов 8
ОПИСАНИЕ ТИПА СРЕДСТВА ИЗМЕРЕНИЙ
Система автоматизированная информационно-измерительная коммерческого учета электроэнергии (АИИС КУЭ) ПС 220 кВ РузаевкаНазначение средства измерений
Система автоматизированная информационно-измерительная коммерческого учета электроэнергии (АИИС КУЭ) ПС 220 кВ Рузаевка (далее - АИИС КУЭ) предназначена для измерений активной и реактивной электроэнергии, сбора, обработки, хранения и передачи полученной информации.
Описание средства измерений
АИИС КУЭ представляет собой многофункциональную многоуровневую автоматизированную систему с централизованным управлением и распределенной функцией измерения.
АИИС КУЭ включают в себя следующие уровни.
Первый уровень - измерительно-информационные комплексы (далее - ИИК), включающие измерительные трансформаторы тока (далее - ТТ), измерительные трансформаторы напряжения (далее - ТН), счетчики активной и реактивной электроэнергии (далее - счетчики), вторичные измерительные цепи и технические средства приема-передачи данных.
Второй уровень - информационно-вычислительный комплекс электроустановки (далее - ИВКЭ), включающий устройство сбора и передачи данных (далее - УСПД), технические средства приема-передачи данных, каналы связи для обеспечения информационного взаимодействия между уровнями системы, коммутационное оборудование.
Третий уровень - информационно-вычислительный комплекс (далее - ИВК), включающий сервер сбора и сервер баз данных (ЦСОД) Исполнительного аппарата (ИА), устройство синхронизации системного времени (УССВ ИВК), автоматизированные рабочие места (АРМ), расположенные в ЦСОД ИА и в филиалах ПАО «Россети» - МЭС, ПМЭС, каналообразующую аппаратуру, средства связи и приема-передачи данных.
АИИС КУЭ обеспечивает выполнение следующих функций:
-
- сбор информации о результатах измерений активной и реактивной электрической энергии;
-
- синхронизация времени компонентов АИИС КУЭ с помощью системы обеспечения единого времени (СОЕВ), соподчиненной национальной шкале координированного времени UTC(SU);
-
- хранение информации по заданным критериям;
-
- доступ к информации и ее передача в организации-участники оптового рынка электроэнергии и мощности (ОРЭМ).
Первичные токи и напряжения преобразуются измерительными трансформаторами в аналоговые унифицированные сигналы, которые по кабельным линиям связи поступают
Лист № 2 Всего листов 8 на входы счетчика электроэнергии, где производится измерение мгновенных и средних значений активной и реактивной мощности. На основании средних значений мощности измеряются приращения электроэнергии за интервал времени 30 мин.
УСПД автоматически проводит сбор результатов измерений и состояния средств измерений со счетчиков электрической энергии (один раз в 30 минут) по линиям связи.
Сервер сбора ИВК АИИС КУЭ единой национальной (общероссийской) электрической сети (далее— ЕНЭС) автоматически опрашивает УСПД. Опрос УСПД выполняется с помощью выделенного канала (основной канал связи), присоединенного к единой цифровой сети связи электроэнергетики (ЕЦССЭ). При отказе основного канала связи опрос УСПД выполняется по резервному каналу связи.
По окончании опроса сервер сбора автоматически производит обработку измерительной информации (умножение на коэффициенты трансформации) и передает полученные данные в сервер баз данных ИВК. В сервере баз данных ИВК информация о результатах измерений приращений потребленной электрической энергии автоматически формируется в архивы и сохраняется на глубину не менее 3,5 лет по каждому параметру.
Один раз в сутки оператор ИВК АИИС КУЭ ЕНЭС формирует файл отчета с результатами измерений, в формате XML и передает его в ПАК АО «АТС» и в АО «СО ЕЭС» и смежным субъектам ОРЭМ посредством электронной почты с использованием электронно-цифровой подписи.
Каналы связи не вносят дополнительных погрешностей в измеренные значения энергии и мощности, которые передаются от счетчиков в ИВК, поскольку используется цифровой метод передачи данных.
СОЕВ функционирует на всех уровнях АИИС КУЭ. УССВ ИВК, принимающее сигналы спутниковых навигационных систем, обеспечивает автоматическую непрерывную синхронизацию времени в ИВК с национальной шкалой координированного времени UTC(SU).
ИВК выполняет функцию источника точного времени для ИВКЭ. Коррекция часов УСПД проводится при расхождении времени в УСПД и времени национальной шкалы координированного времени UTC(SU) более чем на 2 с. Интервал проверки текущего времени в УСПД выполняется с периодичностью не менее одного раза в 60 мин.
В процессе сбора информации со счетчиков с периодичностью один раз в 30 минут УСПД автоматически выполняет проверку текущего времени в счетчиках электрической энергии, и, в случае расхождения более чем на 2 с, автоматически выполняет синхронизацию текущего времени в счетчиках электрической энергии.
Факт корректировки времени отражается в журналах событий счётчиков, УСПД и сервера ИВК с указанием времени (включая секунды) корректируемого и корректирующего компонентов в момент, предшествующий коррекции и величины коррекции.
Нанесение заводского номера на конструкцию средства измерений не предусмотрено. Заводской номер указывается в паспорте-формуляре на АИИС КУЭ типографским способом. Место, способ и форма нанесения заводских номеров измерительных компонентов, входящих в состав измерительных каналов (далее - ИК) АИИС КУЭ, приведены в паспорте-формуляре на АИИС КУЭ.
Заводской номер АИИС КУЭ 130. Нанесение знака поверки на АИИС КУЭ не предусмотрено.
Программное обеспечение
В АИИС КУЭ используется специализированное программное обеспечение автоматизированной информационно-измерительной системы коммерческого учета электроэнергии ЕНЭС (Метроскоп) (далее-- СПО АИИС КУЭ ЕНЭС (Метроскоп)).
СПО АИИС КУЭ ЕНЭС (Метроскоп) используется при учете электрической энергии и обеспечивает обработку, организацию учета и хранения результатов измерений, а также их отображение, распечатку с помощью принтера и передачу в форматах, предусмотренных регламентом оптового рынка электроэнергии.
Идентификационные данные СПО АИИС КУЭ ЕНЭС (Метроскоп), установленного в ИВК, указаны в таблице 1.
Таблица 1 - Идентификационные данные СПО
|
Идентификационные данные (признаки) |
Значение |
|
Идентификационное наименование СПО |
СПО АИИС КУЭ ЕНЭС (Метроскоп) |
|
Номер версии (идентификационный номер) СПО |
не ниже 1.0.0.4 |
|
Цифровой идентификатор СПО |
26B5C91CC43C05945AF7A39C9EBFD218 |
|
Другие идентификационные данные (если имеются) |
DataServer.exe, DataServer_USPD.exe |
|
Примечание - алгоритм вычисления цифрового идентификатора СПО - MD5 | |
СПО АИИС КУЭ ЕНЭС (Метроскоп) не влияет на метрологические характеристики измерительных каналов (далее - ИК) АИИС КУЭ, указанные в таблице 3.
Уровень защиты СПО АИИС КУЭ ЕНЭС (Метроскоп) - «высокий» в соответствии с Р 50.2.077-2014.
Метрологические и технические характеристики
Состав ИК АИИС КУЭ, метрологические и основные технические характеристики приведены в таблицах 2, 3, 4.
Таблица 2 - Состав ИК АИИС КУЭ
|
№ ИК |
Наименование ИК |
Состав ИК | |||
|
Трансформатор тока |
Трансформатор напряжения |
Счетчик электрической энергии |
УСПД/ УССВ | ||
|
1 |
ЗРУ-10 кВ, яч. 213, КВЛ - 10 кВ Мясокомбинат-2/ КВЛ - 10 кВ ООО «Добрый хозяин-Рузаевка» |
ТОЛ-СЭЩ кл.т. 0,5S Ктт = 400/5 рег. № 51623-12 |
НОЛ-СЭЩ-10-2 У2 кл.т. 0,5 Ктн = (10000/V3)/(100/V3) рег. № 95471-25 |
Dialog ZMD кл.т. 0,2S/0,5 рег. № 22422-07 |
TK16L рег.№ 36643-07/ СТВ-01 рег.№ 49933-12 |
|
2 |
ЗРУ-10 кВ, яч. 313, КВЛ - 10 кВ Мясокомбинат-3 (КВЛ - 10 кВ ООО «Добрый хозяин-Рузаевка») |
ТОЛ-СЭЩ кл.т. 0,5S Ктт = 400/5 рег. № 51623-12 |
НОЛ-СЭЩ-10-2 У2 кл.т. 0,5 Ктн = (10000/^3)/(100/^3) рег. № 95471-25 |
Dialog ZMD кл.т. 0,2S/0,5 рег. № 22422-07 | |
|
Примечания
| |||||
Таблица 3 - Метрологические характеристики
|
Номер ИК |
cosф |
Границы интервала допускаемой относительной погрешности ИК при измерении активной электрической энергии в нормальных условиях (±6), %, при доверительной вероятности, равной 0,95 | |||
|
51(2)%, |
55 %, |
520 %, |
5100 %, | ||
|
11(2)% < I изм< I 5 % |
I5 %<I изм^ 20 % |
I20 %<Iизм<I100% |
I100 | ||
|
1, 2 (Счетчик 0,2S; ТТ 0,5S; ТН 0,5) |
1,0 |
1,8 |
1,1 |
0,9 |
0,9 |
|
0,8 |
2,5 |
1,6 |
1,2 |
1,2 | |
|
0,5 |
4,8 |
3,0 |
2,2 |
2,2 | |
|
Номер ИК |
cosф |
Границы интервала допускаемой относительной погрешности ИК при измерении реактивной электрической энергии в нормальных условиях (±6), %, при доверительной вероятности, равной 0,95 | |||
|
52%, |
55 %, |
520 %, |
5100 %, | ||
|
12% < I изм< I 5 % |
I5 %<I изм^ 20 % |
I20 %<Iизм<I100% |
I100 | ||
|
1, 2 (Счетчик 0,5; ТТ 0,5S; ТН 0,5) |
0,8 |
4,1 |
2,8 |
2,1 |
2,1 |
|
0,5 |
2,5 |
1,9 |
1,5 |
1,5 | |
|
Номер ИК |
cosф |
Границы интервала допускаемой относительной погрешности ИК при измерении активной электрической энергии в рабочих условиях (±6), %, при доверительной вероятности, равной 0,95 | |||
|
51(2)%, |
55 %, |
520 %, |
5100 %, | ||
|
I1(2)% < I изм< I 5 % |
I5 %<I изм^ 20 % |
I20 %<Iизм<I100% |
I100 Я^изм^ПС^о | ||
|
1, 2 (Счетчик 0,2S; ТТ 0,5S; ТН 0,5) |
1,0 |
1,9 |
1,2 |
1,0 |
1,0 |
|
0,8 |
2,6 |
1,7 |
1,4 |
1,4 | |
|
0,5 |
4,8 |
3,0 |
2,3 |
2,3 | |
|
Номер ИК |
cosф |
Границы интервала допускаемой относительной погрешности ИК при измерении реактивной электрической энергии в рабочих условиях (±6), %, при доверительной вероятности, равной 0,95 | |||
|
52%, |
55 %, |
520 %, |
5100 %, | ||
|
I2% < I изм< I 5 % |
I5 %<I изм^ 20 % |
I20 %<Iизм<I100% |
I100 Я^изм^ПС^о | ||
|
1, 2 (Счетчик 0,5; ТТ 0,5S; ТН 0,5) |
0,8 |
5,1 |
4,2 |
3,7 |
3,7 |
|
0,5 |
3,9 |
3,5 |
3,4 |
3,4 | |
Пределы допускаемой абсолютной погрешности смещения шкалы времени компонентов
АИИС КУЭ, входящих в состав СОЕВ, относительно шкалы времени UTC (SU), (±А), с
Пр имечания
-
1 Границы интервала допускаемой относительной погрешности 51(2)%р для cos9=1,0 нормируются от Ii%, границы интервала допускаемой относительной погрешности 51(2)%р и 52%q для cos9<1,0 нормируются от Е%.
-
2 Метрологические характеристики ИК даны для измерений электроэнергии и средней мощности (получасовой).
Основные технические характеристики ИК приведены в таблице 4.
аблица 4 - Основные технические характеристики ИК
|
Наименование характеристики |
Значение |
|
Количество ИК |
2 |
|
Нормальные условия: параметры сети: - напряжение, % от ином |
от 99 до 101 |
|
- ток, % от 1ном |
от 1 до 120 |
|
- коэффициент мощности |
0,8 |
|
- частота, Гц |
от 49,85 до 50,15 |
|
температура окружающей среды, °C: - для счетчиков электроэнергии |
от +21 до +25 |
|
Условия эксплуатации: параметры сети: - напряжение, % от ином |
от 90 до 110 |
|
- ток, % от 1ном |
от 1 до 120 |
|
- коэффициент мощности, не менее |
0,5 |
|
- частота, Гц |
от 49,6 до 50,4 |
|
диапазон рабочих температур окружающей среды, °C: - для ТТ и ТН |
от -45 до +40 |
|
- для счетчиков |
от +10 до +30 |
|
- для УСПД |
от +10 до +30 |
|
- для сервера, УССВ |
от +18 до +24 |
|
Надежность применяемых в АИИС КУЭ компонентов: Счетчик Dialog ZMD: - средняя наработка на отказ, ч, не менее: |
35000 |
|
- среднее время восстановления работоспособности, ч |
72 |
|
УСПД: - средняя наработка на отказ, ч, не менее |
55000 |
|
УССВ ИВК: - среднее время наработки на отказ, ч, не менее |
10000 |
|
Глубина хранения информации счетчики электроэнергии: - тридцатиминутный профиль нагрузки в двух направлениях, сут, не менее |
45 |
|
УСПД: - суточные данные о тридцатиминутных приращениях электроэнергии по каждому каналу и электроэнергии, потребленной за месяц, сут, не менее |
45 |
|
при отключенном питании, лет, не менее |
3 |
|
ИВК: - результаты измерений, состояние объектов и средств измерений, лет, не менее |
3,5 |
Надежность системных решений:
-
- резервирование питания УСПД с помощью источника бесперебойного питания и устройства АВР;
-
- резервирование каналов связи: информация о результатах измерений может передаваться с помощью электронной почты и сотовой связи.
В журнале событий счетчика фиксируются факты:
-
- параметрирование;
-
- пропадания напряжения;
-
- коррекции времени.
В журнале событий УСПД фиксируются факты:
-
- параметрирование;
-
- пропадания напряжения;
-
- коррекции времени в счетчике и УСПД;
-
- пропадание и восстановление связи со счетчиком;
-
- выключение и включение УСПД.
Защищённость применяемых компонентов:
-
- механическая защита от несанкционированного доступа и пломбирование:
-
- выводы измерительных трансформаторов тока;
-
- счётчика;
-
- испытательной коробки;
-
- УСПД;
защита на программном уровне информации при хранении, передаче, параметрирование:
-
- пароль на счетчиках;
-
- пароль на УСПД;
-
- пароли на сервере, предусматривающие разграничение прав доступа к измерительным данным для различных групп пользователей.
Возможность коррекции времени в:
-
- счетчиках (функция автоматизирована);
-
- УСПД (функция автоматизирована);
-
- ИВК (функция автоматизирована).
Возможность сбора информации:
-
- о состоянии средств измерений (функция автоматизирована);
-
- о результатах измерений (функция автоматизирована). Цикличность:
-
- измерений 30 мин (функция автоматизирована);
-
- сбора 30 мин (функция автоматизирована).
Знак утверждения типа
наносится на титульный лист паспорта-формуляра на АИИС КУЭ типографским способом. Нанесение знака утверждения типа на средство измерений не предусмотрено.
Комплектность средства измерений Комплектность АИИС КУЭ представлена в таблице 5.
Таблица 5 - Комплектность АИИС КУЭ
|
Наименование |
Обозначение |
Количество, шт./экз. |
|
Трансформатор тока |
ТОЛ-СЭЩ |
6 |
|
Трансформатор напряжения |
НОЛ-СЭЩ-10-2 У2 |
6 |
|
Счётчик электрической энергии многофункциональный |
Dialog ZMD |
2 |
|
Устройство сбора и передачи данных |
ТК161. |
1 |
|
Устройство синхронизации системного времени |
СТВ-01 |
1 |
|
Специализированное программное обеспечение |
СПО АИИС КУЭ ЕНЭС (Метроскоп) |
1 |
|
Методика поверки |
- |
1 |
|
Паспорт-Формуляр |
АУВП.411711.ФСК.019. 175.ПС-ФО |
1 |
Сведения о методиках (методах) измерений
приведены в документе «Методика измерений электрической энергии и мощности с использованием системы автоматизированной информационно-измерительной коммерческого учета электроэнергии (АИИС КУЭ) ПС 220 кВ Рузаевка», аттестованном ООО «Спецэнергопроект», уникальный номер записи об аккредитации в реестре аккредитованных лиц RA.RU.312236.
Нормативные документы, устанавливающие требования к средству измерений
ГОСТ 22261-94 «Средства измерений электрических и магнитных величин. Общие технические условия»
ГОСТ Р 59793-2021 «Информационные технологии. Комплекс стандартов на автоматизированные системы. Стадии создания»
ГОСТ Р 8.596-2002 «ГСИ. Метрологическое обеспечение измерительных систем. Основные положения»
Правообладатель
Публичное акционерное общество «Федеральная сетевая компания - Россети»
(ПАО «Россети»)
ИНН 4716016979
Юридический адрес: 121353, г. Москва, вн.тер.г. муниципальный округ Можайский, ул. Беловежская, д. 4
Телефон: +7 (800) 200-18-81
Факс: +7 (495) 664-81-33
E-mail: info@rosseti.ru
Web-сайт: www.rosseti.ru
Изготовитель
Публичное акционерное общество «Федеральная сетевая компания - Россети» (ПАО «Россети»)
ИНН 4716016979
Адрес: 121353, г. Москва, вн.тер.г. муниципальный округ Можайский, ул. Беловежская, д. 4
Телефон: +7 (800) 200-18-81
Факс: +7 (495) 664-81-33
E-mail: info@rosseti.ru
Web-сайт: www.rosseti.ru
Испытательный центр
Общество с ограниченной ответственностью «Спецэнергопроект» (ООО «Спецэнергопроект»)
ИНН 7722844084
Адрес: 115419, г. Москва, ул. Орджоникидзе, д. 11, стр. 3, этаж 4, помещ. I, ком. 6, 7 Телефон: +7 (495) 410-28-81
E-mail: info@sepenergo.ru
Уникальный номер записи об аккредитации в реестре аккредитованных лиц RA.RU.312429
УТВЕРЖДЕНО приказом Федерального агентства по техническому регулированию
и метрологии
от « 01 » ноября 2025 Г. №___0082
Лист № 1 Регистрационный № 96795-25 Всего листов 5
ОПИСАНИЕ ТИПА СРЕДСТВА ИЗМЕРЕНИЙ
Приборы многофункциональные для измерений параметров жидких металлов портативные Magport-miniНазначение средства измерения
Приборы многофункциональные для измерений параметров жидких металлов портативные Maprort-mini (далее по тексту - приборы) предназначены для измерений и регистрации сигналов электродвижущей силы (ЭДС), поступающих от подключаемых датчиков активности кислорода и термоэлектродвижущей силы (ТЭДС), поступающих от подключаемых термоэлектрических преобразователей.
Описание средства измерений
Приборы относятся к вторичным преобразователям температуры. Принцип действия приборов состоит в следующем: подаваемые на измерительный вход прибора первичные сигналы ТЭДС от термоэлектрических преобразователей (ТП) и ЭДС кислородных зондов преобразовываются в цифровую форму и при помощи микропроцессора пересчитываются в температуру и прочие рассчитываемые параметры и выводятся на дисплей прибора. По измеренным значениям ТЭДС ТП и ЭДС, генерируемой различными зондами, приборы расчетным путем определяют активность (содержание) кислорода и содержание углерода, а также расчет добавления алюминия в расплавах металлов.
Приборы выпускаются в двух модификациях: Magport-mini и Magport-mini-wifi. Модификация Magport-mini-wifi отличается от Magport-mini наличием встроенного модуля беспроводного Wi-Fi-интерфейса связи и антенной. Приборы относятся к портативным устройствам и конструктивно выполнены в прочном металлическом корпусе с рукояткой. На лицевой панели корпуса расположен дисплей на базе 8-сегментных цифровых индикаторов для отображения результата измерений, миниатюрный динамик и три сигнальных светодиода для отображения состояний прибора. На боковой панели корпуса расположен разъем для зарядки аккумулятора. На верхней панели расположены клеммы для подключения измерительных зондов. На задней панели корпуса прибора модификации Magport-mini-wifi расположена антенна в защитном кожухе, предназначенная для связи с табло-индикатором, на которое могут быть выведены результаты измерений.
Внутри корпуса прибора находятся аккумуляторная батарея, платы микропроцессора, дисплея, интерфейса связи для передачи измеренных данных и приема измеряемых данных от внешних зондов.
Внешний вид приборов с указанием места нанесения заводского номера и пломбировки представлен на рисунке 1. Внешний вид антенны в защитном кожухе и без кожуха представлен на рисунке 2.
Заводской номер в виде цифрового кода, состоящего из арабских цифр, наносится на лицевую панель корпуса прибора методом гравировки на металлической информационной табличке. Нанесение знака поверки на прибор не предусмотрено. Пломбирование прибора от несанкционированного доступа осуществляется при помощи наклейки, разрывающейся при попытке вскрытия прибора.
Место нанесения заводского номера
Рисунок 1 - Внешний вид приборов многофункциональных
для измерений параметров жидких металлов портативных Magport-mini
антенна без защитного кожуха
антенна в защитном кожухе

Рисунок 2 - Внешний вид антенны прибора модификации Magport-mini -wifi в защитном кожухе и без кожуха
Программное обеспечение
Программное обеспечение (ПО) приборов состоит из встроенного метрологически значимого ПО. Данное ПО устанавливается в энергонезависимую память приборов в процессе производства и недоступно для несанкционированной внешней модификации. ПО предназначено для отображения измеренных значений и для настройки прибора.
Метрологические характеристики прибора нормированы с учетом ПО.
В соответствии с п. 4.3 рекомендации по метрологии Р 50.2.077-2014 конструкция прибора исключает возможность несанкционированного влияния на ПО и измерительную информацию. ПО недоступно пользователю и не подлежит изменению на протяжении всего времени функционирования изделия.
В соответствии с п. 4.5 рекомендации по метрологии Р 50.2.077-2014 уровень защиты встроенного ПО от непреднамеренных и преднамеренных изменений -«высокий». Идентификационные данные встроенного ПО - недоступны.
Метрологические и технические характеристики
Таблица 1 - Метрологические характеристики_____________________________________________
|
Наименование характеристики |
Значение |
|
Диапазон измерений ТЭДС ТП в температурном эквиваленте в зависимости от типа НСХ по ГОСТ Р 8.585-2001/МЭК 60584-1, °C:
|
от +800 до +1820 от +600 до +1765 от +600 до +1765 |
|
Пределы допускаемой основной абсолютной погрешности измерений температуры в диапазоне температуры окружающей среды от +18 °С до +28 °C включ., °C |
±1,0 (*) |
|
Пределы допускаемой дополнительной абсолютной погрешности измерений температуры в диапазоне температуры окружающей среды от 0 °C до +18 °C не включ. и св. +28 °C до +50 °C, °C |
±1,0 |
|
Диапазон измерений ЭДС, мВ |
от -500 до +500 |
|
Пределы допускаемой абсолютной погрешности измерений ЭД^ мВ |
±1,0 |
|
Единица младшего разряда индикации измерений, °C (мВ) |
0,1 |
|
Примечание: (*) - с учетом влияния схемы компенсации температуры свободных концов ТП | |
Таблица 2 -Технические характеристики
|
Наименование характеристики |
Значение |
|
Напряжение питания постоянного тока, В |
5 |
|
Габаритные размеры корпуса прибора (без учета рукоятки и измерительного жезла), мм, не более |
170x80x60 |
|
Габаритные размеры рукоятки, мм, не более |
220x170x60 |
|
Масса прибора, кг, не более |
1,2 |
|
Рабочие условия эксплуатации:
|
от 0 до +50 80 |
Таблица 3 - Показатели надежности
|
Наименование характеристики |
Значение |
|
Cредняя наработка на отказ, ч, не менее |
20 000 |
|
Cрок службы, лет, не менее |
10 |
Знак утверждения типа наносится на титульный лист Руководства по эксплуатации типографским способом.
Комплектность средства измерений
Таблица 4 - Комплектность приборов______________________________________
|
Наименование |
Обозначение |
Кол-во |
|
Прибор многофункциональный для измерений параметров жидких металлов портативный |
Magport-mini |
1 шт. |
|
Руководство по эксплуатации |
26.51.53-052-88172074 РЭ |
1 экз. |
|
Табло-индикатор 1) |
- |
1 шт. |
|
Примечание: 1) Для модификации Magport-mini-wifi (по дополнительному заказу) | ||
Сведения о методиках (методах) измерений
приведены в разделе 3 Руководства по эксплуатации 26.51.53-052-88172074 РЭ.
Нормативные документы, устанавливающие требования к средству измерений
ГОСТ Р 8.585-2001 ГСИ. Термопары. Номинальные статические характеристики преобразования
МЭК 60584-1:2013 Термопары. Часть 1. Спецификация и допуски для электродвижущей силы (EMF)
Приказ Росстандарта от 28.07.2023 г. № 1520 «Об утверждении Государственной поверочной схемы для средств измерений постоянного электрического напряжения и электродвижущей силы»
ТУ 26.51.53-052-88172074-2025 «Приборы многофункциональные для измерений параметров жидких металлов портативные Magport-mini. Технические условия»
Правообладатель
Общество с ограниченной ответственностью «СИДЕРМАГ»
(ООО «СИДЕРМАГ»)
ИНН 6658324220
Юридический адрес: 620135, Свердловская обл., г. Екатеринбург, Совхозная ул, стр. 20а, оф 14
Телефон: +7 343 300 93 26
E-mail: info@sidermag.ru https://www.sidermag.ru
Изготовитель
Общество с ограниченной ответственностью «СИДЕРМАГ»
(ООО «СИДЕРМАГ»)
ИНН 6658324220
Адрес: 620135, Свердловская обл., г. Екатеринбург, Совхозная ул, стр. 20а, оф 14
Телефон: +7 343 300 93 26
E-mail: info@sidermag.ru https://www.sidermag.ru
Испытательный центр
Федеральное бюджетное учреждение «Научно-исследовательский центр прикладной метрологии - Ростест»
(ФБУ «НИЦ ПМ - Ростест»)
Юридический адрес: 117418, г. Москва, Нахимовский пр-кт, д. 31
Адрес места осуществления деятельности: 119361, г. Москва, ул. Озерная, д. 46
Телефон: +7 (495) 544-00-00
Web-сайт: www.rostest.ru
E-mail: info@rostest.ru
Уникальный номер записи в реестре аккредитованных лиц № 30004-13
УТВЕРЖДЕНО приказом Федерального агентства по техническому регулированию
и метрологии
от « 01 » ноябРя 2025 г. № 2382
Лист № 1 Регистрационный № 96796-25 Всего листов 13
ОПИСАНИЕ ТИПА СРЕДСТВА ИЗМЕРЕНИЙ
Расходомеры - счетчики газа ультразвуковые широкодиапазонные Turbo Flow UFG-WRНазначение средства измерений
Расходомеры - счетчики газа ультразвуковые широкодиапазонные Turbo Flow UFG-WR (далее - расходомеры) предназначены для измерений объемного расхода и объема газа при рабочих условиях и вычислений объемного расхода и объема газа, приведенного к стандартным условиям, а также для вычислений массового расхода и массы газов.
Описание средства измерений
Принцип работы расходомеров основан на методе измерений разности между временем прохождения ультразвуковых импульсов по потоку и против потока газа. Измеренная разность времени пропорциональна скорости потока и объемному расходу газа. По измеренным значениям объемного расхода и объема при рабочих условиях, давления, температуры и плотности газа по стандартизованным алгоритмам, в том числе в соответствии с ГОСТ 8.611-2024, вычисляют объемный расход и объем газа, приведенный к стандартным условиям, а также массовый расход и массу газа. Информация о плотности при стандартных условиях и составе измеряемой среды может быть задана в виде условно-постоянных параметров.
В зависимости от исполнения в состав расходомеров могут входить:
-
- преобразователь расхода ультразвуковой (далее - УПР) в корпусном исполнении опционально с защитными крышками или кожухом;
-
- выносной преобразователь температуры;
-
- выносной преобразователь давления;
-
- преобразователь плотности газа Turbo Flow UDM (регистрационный номер 86699-22);
-
- электронный блок (далее - ЭБ), который осуществляет прием - передачу сигналов от ультразвуковых приемо-передатчиков, преобразователей давления, температуры, плотности, их преобразование, обработку и вычисление объемного и массового расхода газа, расчетного значения плотности, с последующим формированием цифровых выходных сигналов. ЭБ устанавливается на УПР или удаленно;
-
- вычислитель расхода (далее - ВР), который обрабатывает входные сигналы и вычисляет объемный расход и объем газа при рабочих и стандартных условиях, а также массовый расход и массу газа, или корректор объема газа Суперфлоу 23 (регистрационный номер 89873-23). ВР может быть встроен в ЭБ или вынесен в расходомерный шкаф (далее - РШ).
Расходомеры изготавливаются по заказу в любой цветовой гамме.
В расходомерах возможно частичное или полное дублирование ультразвуковых приемо-передатчиков, ЭБ с ВР, преобразователей давления, преобразователей температуры.
Для возможности дистанционного считывания информации расходомер может быть укомплектован выносным терминалом (далее - ВТ или ВТ(М), либо РШ с промышленным компьютером (далее -РШ с ПК).
Расходомеры выпускаются в исполнениях С1ТР, С2ТР, С4, С5ТР, которые отличаются составом и выполняемыми функциями, указанными в таблице 1.
Расходомеры имеют исполнения А, Б, В, Г, Д, которые отличаются значениями допускаемой относительной погрешности, количеством пар приемопередатчиков и требованиями к прямолинейным участкам. При необходимости сокращения длин прямолинейных участков до и после расходомера для исполнений В, Г, Д в комплект поставки могут входить прямолинейные участки 2DN до расходомера и 1DN после расходомера с устройством формирования потока УФП С1, изготовленные ООО НПО «Турбулентность-ДОН».
В зависимости от диапазонов температуры окружающей и измеряемой среды расходомеры имеют исполнения М и Х.
Знак утверждения типа наносится на маркировочную табличку, закрепленную на корпусе ЭБ и РШ (при наличии) методом аппликации или лазерной гравировки. Заводской номер, состоящий из шести арабских цифр, наносится на маркировочную табличку, закрепленную на корпусе ЭБ. Формат и место нанесения заводского номера (1) и знака утверждения типа (2) представлены на рисунке 17.
Ограничение доступа к местам настройки (регулировки), расположенным в ЭБ, осуществляется путем нанесения свинцовых или мастичных пломб с изображением знака поверки на винтах крепления ЭБ к УПР. Схема пломбировки от несанкционированного доступа, обозначение мест нанесения знаков поверки представлены на рисунках 10 - 16.
Таблица 1 -
Исполнения
в зависимости от состава и выполняемых
|
Исполнение |
УПР, ЭБ |
Преобразователи |
ВР встроен в ЭБ |
ВР вынесен в РШ |
ВТ/ВТ(М) или РШ с ПК |
Корректор объема газа Суперфлоу 23 |
Преобразователь плотности UDM | |
|
Тем пе- ратуры |
Давления | |||||||
|
C1TP |
+ |
+ |
+ |
+ |
- |
+/- |
- |
- |
|
C2TP |
+ |
+ |
+ |
- |
+ |
+/- |
- |
- |
|
C4 |
+ |
- |
- |
- |
- |
+/- |
+ |
- |
|
C5TP |
+ |
+ |
+ |
+ |
- |
+/- |
- |
+ |
Примечание: «+» - входит в состав расходомера, «-» - не входит в состав расходомера «+/-» - может входить опционально (по заказу)
В расходомерах предусмотрены:
-
- возможность замены попарно согласованных ультразвуковых приемопередатчиков, под рабочим давлением без остановки потока газа;
-
- автоматическая самодиагностика и проверка нулевых и контрольных значений измеряемых величин;
-
- возможность измерений расхода газа в прямом и в обратном направлении (реверсивный режим);
-
- для исполнений С1 TP, C2TP возможность подключения преобразователей плотности;
-
- для исполнений C1TP, C2TP по заказу доступна функция индикации рассчитанной плотности измеряемой среды в рабочих и стандартных условиях;
-
- выбор метода приведения объема (объемного расхода) газа к стандартным условиям:
«PTZ - пересчет» по измеренным значениям объема (объемного расхода) при рабочих условиях, температуры и давления газа и условно-постоянным данным по составу газа;
«р - пересчет» для исполнений C1TP, C2TP, С5ТР по измеренным значениям объема (объемного расхода) при рабочих условиях, плотности при рабочих и стандартных условиях.
Расходомеры обеспечивают выполнение следующих функций:
- архивирование в энергонезависимой памяти и вывод на показывающее устройство результатов измерений и вычислений объема, расхода, температуры, давления, плотности, архивов событий и параметров функционирования;
- введение и регистрацию значений условно-постоянных величин;
- защиту от несанкционированного доступа к параметризации и архивам;
- передачу измеренных данных, параметров настройки и архивной информации;
- разделение и ограничение напряжения и тока в искробезопасных цепях;
- диагностическую функцию расчета плотности.
Расходомеры обеспечивают индикацию следующих параметров:
- отношение коэффициентов сжимаемости при рабочих и стандартных условиях*;
- текущего значения объема и объемного расхода газа при рабочих условиях;
- текущего значения объемного расхода газа, приведенного к стандартным условиям;
- текущего значения температуры измеряемой среды;
- текущего значения давления измеряемой среды;
- текущего значения скорости потока измеряемой среды;
- текущего значения скорости звука;
- текущего значения накопленного объема газа, приведенного к стандартным условиям;
- текущего значения массового расхода газа*;
- текущего значения плотности газа*;
- текущего значения плотности газа при стандартных условиях*;
- текущих параметров даты и времени;
- суммарного накопленного рабочего объема, массы и объема газа, приведенного к стандартным условиям;
- параметров функционирования расходомера.
Общий вид расходомеров представлен на рисунках 1 - 9.
Рисунок 1 - УПР в корпусе круглого сечения с Рисунок 2 - УПР в корпусе прямоугольного раздельными защитными крышками с сечения с совмещенными защитными
преобразователем температуры и давления крышками с преобразователем температуры и давления

для всех исполнений кроме C4.
Рисунок 3 - УПР в корпусе круглого сечения с защитным кожухом с преобразователем температуры и давления
Рисунок 4 - Расходомеры - счетчики газа ультразвуковые широкодиапазонные Turbo Flow UFG-WR модификация С5ТР с преобразователем плотности газа Turbo Flow UDM модификации UDM-I
Рисунок 5 - Расходомеры - счетчики газа ультразвуковые широкодиапазонные Turbo Flow UFG-WR модификация С5ТР с преобразователем плотности газа Turbo Flow UDM модификации UDM-B
Рисунок 6 - Расходомерный
шкаф
Рисунок 7 -Расходомерный шкаф с промышленным компьютером
Рисунок 8 - Выносной терминал (ВТ)
Вид сверху
Рисунок 9 - Выносной терминал в металлическом корпусе (ВТМ)

Рисунок 10 - Корпус круглого сечения с раздельными защитными крышками
Вид сверху

Рисунок 11 - Корпус прямоугольного сечения с совмещенными защитными крышками
Вид сверху Вид сбоку
Рисунок 12 - Корпус круглого сечения с защитным кожухом
Рисунок 13 - Расходомерный шкаф
Рисунок 14 - Выносной терминал (ВТ)
Рисунок 15 - Выносной терминал в металлическом корпусе (ВТМ)
|
- | ||
|
тъмао *vow | ||
|
® ® ж ® ® ® ® ® |

3
Рисунок 16 - Электронный блок
-
1 - пломба свинцовая предприятия-изготовителя;
-
2 - места для нанесения знака поверки способом давления на специальную мастику;
-
3 - пломбы предприятия-изготовителя способом давления на специальную мастику;
-
4 - отверстия для пломбирования газоснабжающими организациями.
Место
нанесения
заводского
номера
Место
нанесения
утверждения
Рисунок 17 - Маркировочная табличка расходомеров - счетчиков газа ультразвуковых широкодиапазонных Turbo Flow UFG-WR
знака
Программное обеспечение
Программное обеспечение (далее - ПО) расходомеров по аппаратному обеспечению является встроенным. Преобразование измеряемых величин и обработка измерительных данных выполняется с использованием внутренних аппаратных и программных средств. ПО хранится в энергонезависимой памяти. Программная среда постоянна, отсутствуют средства и пользовательская оболочка для программирования или изменения ПО.
Метрологические характеристики расходомеров нормированы с учетом влияния программного обеспечения.
Программное обеспечение разделено на:
- метрологически значимую часть;
- метрологически незначимую часть.
Разделение программного обеспечения выполнено внутри кода ПО на уровне языка программирования. К метрологически значимой части ПО относятся:
- программные модули, принимающие участие в обработке (расчетах) результатов измерений или влияющие на них;
- программные модули, осуществляющие отображение измерительной информации, ее хранение, передачу, идентификацию, защиту ПО и данных;
- параметры, участвующие в вычислениях и влияющие на результат измерений;
- компоненты защищенного интерфейса для обмена данными с внешними устройствами.
Примененные специальные средства защиты в достаточной мере исключают возможность несанкционированной модификации, обновления (загрузки), удаления и иных преднамеренных изменений метрологически значимой части ПО и измеренных (вычисленных) данных. Уровень защиты программного обеспечения расходомеров от преднамеренных и непреднамеренных изменений - «средний» в соответствии с Р 50.2.077-2014.
Таблица 2 - Идентификационные данные программного обеспечения
|
Идентификационные данные (признаки) |
Значение |
|
Идентификационное наименование ПО |
UFG.WR |
|
Номер версии (идентификационный номер) ПО |
2.00 |
|
Цифровой идентификатор ПО |
0xB7B9EBBE |
|
Алгоритм вычисления цифрового идентификатора программного обеспечения |
CRC-32 |
Метрологические и технические характеристики
Таблица 3 - Метрологические характеристики
|
Наименование характеристики |
Значение | |
|
Диаметр номинальный DN, мм |
от 50 до 500 |
от 600 до 1400 |
|
Диапазон измерений объемного расхода газа в рабочих условиях, м3/ч |
от 0,7 до 32000 |
от 150 до 150000 |
|
Скорость потока газа в обоих направлениях, м/с, не более |
45 |
35 |
|
Наименование характеристики |
Значение | ||
|
Пределы допускаемой относительной погрешности измерений объемного расхода и объема газа при рабочих условиях, в диапазоне расходов^ |
Qmin<Q<0,01Qmax |
0,01Qmax<Q<Qmax |
Qmin<Q<Qmax |
|
исполнение Д, % |
±3,0/3,22) (3,5)3) |
±1,5/1,72) (2,0)3) |
- |
|
исполнение Г, % |
±2,0/2,22) (2,5)3) |
±1,0/1,22) (1,5)3) |
- |
|
исполнение В, % |
±1,0/1,22) (1,5)3) |
±0,5/0,72) (1,0)3) |
- |
|
исполнение Б, % |
±0,5/0,72) (1,0)3) | ||
|
исполнение А, % |
±0,5/0,72) (0,7)3) - | ||
|
Верхний предел измерений избыточного давления (ВПИ)4), МПа |
от 0,0025 до 45 | ||
|
Верхний предел измерений абсолютного давления (ВПИ)4), МПа |
от 0,1 до 45 | ||
|
Пределы допускаемой относительной погрешности измерений давления4-*, % |
±(0,1+0,01-ВПИ/Р), где P - измеряемое давление | ||
|
Рабочий диапазон измерений давления4*, % ВПИ |
от 10 до 100 | ||
|
Диапазон измерений плотности газа в рабочих условиях преобразователя плотности газа для исполнения C5TP, кг/м3 |
от 0,14 до 3505) | ||
|
Пределы допускаемой относительной погрешности измерений плотности газа для исполнения C5TP6), % при рабочих условиях при стандартных условиях |
±0,14; ±0,3; ±0,5; ±1,5 ±(|Х|+ 0,1 %), где Х - пределы допускаемой относительной погрешности измерений плотности газа в рабочих условиях | ||
|
Пределы допускаемой приведенной к диапазону измерений погрешности расходомера при преобразовании значения расхода газа в токовый выходной сигнал от 4 до 20 мА, % |
±0,1 | ||
|
Пределы допускаемой относительной погрешности расходомера при преобразовании значения расхода газа в частотный выходной сигнал, % |
±0,1 | ||
|
Диапазон измерений температуры газа4), °С для исполнения М для исполнения Х |
от -30 до +70 от -60 до +70 | ||
|
Пределы допускаемой абсолютной погрешности измерений температуры газа4), °С |
±(0,15 + 0,002-|t|), где t - измеряемая температура | ||
|
Наименование характеристики |
Значение |
|
Пределы допускаемой относительной погрешности вычислителя ВР, вычислений массового расхода и массы газа, объемного расхода и объема газа, приведенного к стандартным условиям4), % |
±0,01 |
| |
Таблица 4 - Технические характеристики
|
Наименование характеристики |
Значение |
|
Цифровые проводные интерфейсы |
протокол HART, протокол MODBUS RTU по интерфейсам RS-232, RS-232 TTL и RS-485, Namur |
|
Цифровые беспроводные интерфейсы |
GSM, GPRS, Bluetooth, IrDA (ИК-порт), Zig Bee, M2M 433/868 МГц, NB-IOT, NB-Fi, LoRa |
|
Маркировка взрывозащиты |
1Ex db ib [ia Ga] IIC T4 Gb 1Ex db [ia Ga] IIC T4 Gb 1Ex db ma ib [ia Ga] IIC T4 Gb 1Ex db ma [ia Ga] IIC T4 Gb |
|
Степень защиты по ГОСТ 14254-2015 |
IP67 |
|
Параметры электрического питания, В: -от встроенной батареи -от внешнего блока питания |
3,6 от 12 до 24 |
|
Потребляемая мощность, Вт, не более |
10 |
|
Условия эксплуатации:
для исполнения Х
|
от -30 до +70 от -60 до +70 до 95 от 84,0 до 106,7 |
|
Наименование характеристики |
Значение |
|
Избыточное давление измеряемой среды, МПа, не более |
24 |
|
Диапазон температуры измеряемой среды1), °С | |
|
для исполнения М |
от -30 до +70 |
|
для исполнения Х |
от -60 до +70 |
|
Масса, кг |
от 18 до 50000 |
|
Габаритные размеры, мм, не более | |
|
- высота |
2400 |
|
- ширина |
2200 |
|
- длина |
8400 |
|
1) конкретные значения указываются в эксплуатационной документации изготовителя. | |
Таблица 5 - Показания надежности
|
Наименование характеристики |
Значение |
|
Средний срок службы, не менее, лет |
16 |
|
Средняя наработка на отказ, не менее, ч |
70000 |
Знак утверждения типа
наносится на маркировочную табличку, закрепленную на корпусе ЭБ и РШ (при наличии) методом аппликации или лазерной гравировки и на титульные листы руководства по эксплуатации и паспорта печатным способом.
Комплектность средства измерений
Таблица 6 - Комплектность средства измерений
|
Наименование |
Обозначение |
Количество |
|
Расходомер-счетчик газа ультразвуковой широкодиапазонный |
Turbo Flow UFG-WR |
1 шт. |
|
Расходомеры - счетчики газа ультразвуковые широкодиапазонные Turbo Flow UFG-WR. Руководство по эксплуатации |
ТУАС.407252.003 РЭ |
1 экз. Допускается поставлять один экземпляр в один адрес отгрузки |
|
Расходомеры - счетчики газа ультразвуковые широкодиапазонные Turbo Flow UFG-WR. Паспорт |
ТУАС.407252.003 ПС |
1 экз. |
|
Эксплуатационная документация на корректор объема газа Суперфлоу 23 |
1 комплект (для исполнения С4) | |
|
Эксплуатационная документация на преобразователь плотности газа Turbo Flow UDM |
1 комплект (для исполнения С5ТР) | |
|
Комплект монтажных частей |
1 комплект (по заказу) | |
|
Прямолинейные участки с устройством формирования потока УФП С1 |
1 комплект (по заказу) |
Сведения о методиках (методах) измерений
приведены в разделе 2 «Использование по назначению» Руководства по эксплуатации ТУАС.407252.003 РЭ.
Нормативные и технические документы, устанавливающие требования к средству измерений
Приказ Росстандарта от 11 мая 2022 г. № 1133 «Об утверждении государственной поверочной схемы для средств измерений объемного и массового расходов газа»
ГОСТ 8.611-2024 «ГСИ. Расход и объем газа. Методика (метод) измерений с применением ультразвуковых преобразователей расхода», регистрационный номер методики измерений в Федеральном информационном фонде по обеспечению единства измерений ФР.1.29.2024.49397
ГОСТ 30319.2-2015 Газ природный. Методы расчета физических свойств. Вычисление физических свойств на основе данных о плотности при стандартных условиях и содержании азота и диоксида углерода
ГОСТ 30319.3-2015 Газ природный. Методы расчета физических свойств. Вычисление физических свойств на основе данных о компонентном составе
ГОСТ Р 70927-2023 Газ природный. Методы расчета физических свойств. Вычисление коэффициента сжимаемости в области низких температур
ГСССД МР 273-2018 Методика расчетного определения плотности, фактора сжимаемости, скорости звука, показателя адиабаты, коэффициента динамической вязкости влажных газовых смесей в диапазоне температур от 263 К до 500 К при давлениях до 30 МПа
ГСССД МР 118-2005 Расчет плотности, фактора сжимаемости, показателя адиабаты и коэффициента динамической вязкости умеренно сжатых газовых смесей
ГСССД МР 229-2014 Методика расчетного определения термодинамических свойств и коэффициента динамической вязкости природного газа при температурах 250...350 К и давлениях до 30 МПа на основе ГОСТ Р 8.662-2009 и ГОСТ Р 8.770-2011
ГСССД МР 134-2007 Расчет плотности, фактора сжимаемости, показателя адиабаты и коэффициента динамической вязкости азота, ацетилена, кислорода, диоксида углерода, аммиака, аргона и водорода в диапазоне температур 200 . 425 K и давлений до 10 МПа
ГСССД МР 277-2019 «Методика расчётного определения плотности гелиевого концентрата в диапазонах температур от -5 °С до 45 °С и абсолютных давлений от 0,1 МПа до 17 МПа»
ГСССД МР 147-2008 Расчет плотности, энтальпии, показателя адиабаты и коэффициента динамической вязкости воды и водяного пара при температурах 0.1000 С и давлениях 0,0005.100 МПа на основании таблиц стандартных справочных данных ГСССД 187-99 и ГСССД 6-89
ТУ 26.51.52.110-036-70670506-2023 Расходомеры - счетчики газа ультразвуковые широкодиапазонные Turbo Flow UFG-WR. Технические условия
Правообладатель
Общество с ограниченной ответственностью «Газпром трансгаз Саратов»
(ООО «Газпром трансгаз Саратов»)
Юридический адрес: 410052, Саратовская обл., г. Саратов, пр-кт им. 50 лет Октября, д. 118А, стр. 1
Изготовитель
Общество с ограниченной ответственностью НПО «Турбулентность-ДОН»
(ООО НПО «Турбулентность-ДОН»)
ИНН 6141021685
Юридический адрес: 129110, г. Москва, вн. тер. г. муниципальный округ Мещанский, ул. Щепкина, д. 47, стр. 1, офис V, ком. 11
Адрес места осуществления деятельности: 346815, Ростовская обл., Мясниковский м.р-н, Краснокрымское с.п., автодорога Ростов-на-Дону - Новошахтинск тер., 1-й км, зд. 6/8
Испытательный центр
Федеральное бюджетное учреждение «Научно-исследовательский центр прикладной метрологии - Ростест»
(ФБУ «НИЦ ПМ - Ростест»)
Юридический адрес: 117418, г. Москва, Нахимовский пр-кт, д. 31
Адрес места осуществления деятельности: 119361, г. Москва, ул. Озерная, д. 46
Телефон: +7 (495) 544-00-00
Web-сайт: www.rostest.ru
E-mail: info@rostest.ru
Уникальный номер записи в реестре аккредитованных лиц № 30004-13
УТВЕРЖДЕНО приказом Федерального агентства по техническому регулированию
и метрологии
от «_х » __H,|_' 2025 г. № 23_2
Лист № 1 Регистрационный № 96797-25 Всего листов 5
ОПИСАНИЕ ТИПА СРЕДСТВА ИЗМЕРЕНИЙ
Преобразователи вихретоковые CWY-DOНазначение средства измерений
Преобразователи вихретоковые CWY-DO (далее - преобразователи) предназначены для измерений виброперемещения, относительного перемещения (осевого смещения) и частоты вращения.
Описание средства измерений
Принцип действия преобразователей основан на взаимодействии электромагнитного поля, создаваемого датчиком, с электромагнитным полем вихревых токов, наводимых в электропроводящем объекте измерения. Изменение расстояния между чувствительным элементом датчика и объектом измерений в процессе перемещения контролируемого объекта приводит к пропорциональному изменению выходного сигнала.
Конструктивно преобразователи состоят из датчика, генератора гармонических колебаний (далее - проксиметра) и соединительного кабеля. Датчик питается высокочастотным напряжением от проксиметра. Измерения происходят без механического контакта преобразователя с контролируемым объектом. Датчик выполнен в виде неразборного цилиндрического корпуса с внешней резьбой для проходного монтажа.
Преобразователи вихретоковые CWY-DO выпускаются в следующих исполнениях: CWY-DO- 08, CWY-DO-011, CWY-DO-018 и CWY-DO-025.
Датчики в составе преобразователей выпускаются в следующих модификациях:
CWY-DO-0X-XX-Axx-Bx-Cxx-Dxx-Exx
где:
Х - диаметр измерительной головки (8, 11, 18, 25 мм)
ХХ - тип корпуса датчика (01, 02)
А - тип резьбы (00, 01, 02, 03, 04, 05, 06, 07, 08);
В - длина датчика без резьбы (от 0 мм до 230 мм с интервалом 5 мм, например, В20 -20мм);
С - длина датчика (от 30 мм до 250 мм с интервалом 10 мм, например, С50 - 50мм);
D - длина датчика с кабелем (05 - 0,5 м, 10 - 1 м, 50 - 5 м, 90 - 9 м);
Е - тип разъема (00, 01, 02, 03).
Кабели в составе преобразователей выпускаются в следующих модификациях:
CWY-DO- 0Х-11-Ахх-Вхх
где:
Х - диаметр измерительной головки (8, 11, 18, 25 мм)
А - длина кабеля (40 - 4м, 45 - 4,5 м, 80 - 8м, 85 - 8,5м);
В - тип коннектора (00, 01, 02, 03).
Проксиметры в составе преобразователей выпускаются в следующих модификациях:
CWY-DO- 0Х-21-А-В-С
где:
Х - диаметр измерительной головки (8, 11, 18, 25 мм)
А - общая длина кабеля (50 - 5м, 90 - 9м);
В - тип монтажа (00, 01);
С - специальное исполнение (00, 01).
Общий вид преобразователей вихретоковых CWY-DO представлен на рисунке 1. Пломбирование преобразователей не предусмотрено.
Заводские номера в цифро-буквенном формате наносятся на корпус проксиметра методом наклейки и типографским способом на вкладыш, закрепленный при помощи прозрачной термоусадочной трубки на кабеле датчика. Нанесение знака поверки на средство измерений не предусмотрено.
Рисунок 1 - Общий вид преобразователей вихретоковых CWY-DO
Место нанесения заводского номера
заводского номера

Лист № 3 Всего листов 5 Метрологические и технические характеристики
Таблица 1 - Метрологические характеристики
|
Наименование характеристики |
Значения характеристики | |||
|
CWY-DO-08 |
CWY-DO-011 |
CWY-DO-018 |
CWY-DO-025 | |
|
Номинальное значение коэффициента преобразования, В/мм |
8 |
4 |
1,5 |
0,8 |
|
Пределы отклонения коэффициента преобразования от номинального значения, % |
±5 | |||
|
Диапазоны измерений осевого перемещения, мм |
от 0,25 до 2,25 |
от 1 до 5 |
от 0,5 до 8,5 |
от 1 до 11 |
|
Пределы допускаемой основной приведенной к диапазону измерений погрешности измерений осевого перемещения, % |
±3 | |||
|
Диапазон измерений размаха виброперемещения (пик.), мкм |
от 1 до 1000 |
от 1 до 2000 |
от 1 до 4000 |
- |
|
Диапазон рабочих частот, Гц |
от 10 до 1000 |
- | ||
|
Нелинейность амплитудной характеристики, % |
±3 |
- | ||
|
Неравномерность частотной характеристики, % |
±5 |
- | ||
|
Диапазон измерений частоты вращения, об/мин |
от 1 до 60000 |
- | ||
|
Пределы допускаемой абсолютной погрешности измерений частоты вращения, об/мин |
±(1+N-0,001), N - значение частоты вращения |
- | ||
|
Пределы допускаемой дополнительной приведенной к диапазону измерений погрешности измерений при изменении температуры окружающей среды, % |
±2 | |||
Таблица 2 - Основные технические характеристики
|
Наименование характеристики |
Значение |
|
Нормальные условия измерений: - температура окружающей среды, °С |
от +15 до +25 |
|
Напряжение питания, В |
от 18 до 30 |
|
Условия эксплуатации, °С: - датчика |
от -60 до +120 |
|
- проксиметра |
от -60 до +85 |
|
Габаритные размеры, мм, не более: - датчика (без кабеля), (диаметрвысота) |
030х250 |
|
- проксиметра, (длинахвысотахширина) |
88х70х35 |
|
Масса, кг, не более: - датчика (c кабелем) |
1 |
|
- проксиметра |
0,25 |
|
Маркировка взрывозащиты |
0Ex ia IIC T6 Gа |
Знак утверждения типа
наносится на титульный лист руководства по эксплуатации методом печати или наклейки.
Комплектность средства измерений
Таблица 3 - Комплектность средства измерений
|
Наименование |
Обозначение |
Количество |
|
Преобразователь вихретоковый |
CWY-DO |
1 шт. |
|
Руководство по эксплуатации |
- |
1 экз. |
Сведения о методиках (методах) измерений
приведены в разделе 5 Руководства по эксплуатации «Устройство и принцип работы».
Нормативные документы, устанавливающие требования к средству измерений
Приказ Росстандарта № 2772 от 27.12.2018 г. «Об утверждении Государственной поверочной схемы для средств измерений виброперемещения, виброскорости, виброускорения и углового ускорения»
Приказ Росстандарта № 2183 от 01.09.2022 г. «Об утверждении Государственной поверочной схемой для средств измерений угловой скорости и частоты вращения»
Правообладатель
«Jiangsu Jiangling Measurement & Control Technology Stock Co., Ltd.», Китай
Адрес: № 272, Changshan Road, Jiangyin City, Wuxi City, Jiangsu Province, Китай
Web-сайт: www.jyjl-tech.com
Е-mail: jl80283688@163.com
Изготовитель
«Jiangsu Jiangling Measurement & Control Technology Stock Co., Ltd.», Китай
Адрес: № 272, Changshan Road, Jiangyin City, Wuxi City, Jiangsu Province, Китай
Web-сайт: www.jyjl-tech.com
Е-mail: jl80283688@163.com
Испытательный центр
Федеральное бюджетное учреждение «Научно-исследовательский центр прикладной метрологии - Ростест»
(ФБУ «НИЦ ПМ - Ростест»)
Адрес: 119361, г. Москва, ул. Озерная, д. 46
Тел./факс: (495)437-55-77 / 437-56-66
E-mail: info@rostest.ru
Web-сайт: www.rostest.ru
Уникальный номер записи об аккредитации в реестре аккредитованных лиц 30004-13
УТВЕРЖДЕНО приказом Федерального агентства по техническому регулированию
и метрологии
от «__ » _____ 2025 г. №____ 2
Лист № 1 Регистрационный № 96798-25 Всего листов 7
ОПИСАНИЕ ТИПА СРЕДСТВА ИЗМЕРЕНИЙ
Анализатор спектра и сигналов 4052EНазначение средства измерений
Анализатор спектра и сигналов 4052Е (далее - анализатор) предназначен для измерений частоты, уровня мощности и параметров модуляции спектральных составляющих радиотехнических сигналов.
Описание средства измерений
Конструктивно анализатор выполнен в виде моноблока, на передней панели которого расположены органы управления, жидкокристаллический цветной дисплей, измерительные разъёмы, разъёмы USB. На задней панели расположены разъёмы BNC выхода промежуточной частоты, входа/выхода опорной частоты 10 МГц, входа внешней синхронизации, интерфейсы LAN, USB и GPIB и разъём питания.
Управление операциями меню, а также задание рабочих параметров анализатора производятся с помощью клавиатуры передней панели. Результаты измерений выводятся на экран дисплея в графической и цифровой формах. Для работы в составе автоматизированных систем анализатор обеспечивает подключение по интерфейсу GPIB и LAN.
К данному типу средства измерений относится анализатор спектра и сигналов 4052Е с серийным номером QZNI000191 со следующими опциями:
-
- 4052-H17-E - улучшенный процессор (CPU). Обновление до процессора серии i7 для повышения производительности;
-
- 4052-H19-4T - расширение локального хранилища (4 ТБ). Поддерживает максимальный объём хранения 4 ТБ (электронный жёсткий диск);
-
- 4052-H34-26 - малошумящий предусилитель до 26,5 ГГц;
-
- 4052-H36 - тракт обхода преселектора. Обходной путь для отслеживающего предварительного селектора в приёмном канале;
-
- 4052-H38-200 - полоса анализа 200 МГц. Поддерживает диапазон полосы анализа от 10 Гц до 200 МГц;
-
- 4052-H41-200 - спектральный анализ в реальном времени (200 МГц). Обеспечивает цифровой флуоресцентный спектр и цельную диаграмму «водопад» с максимальной полосой пропускания 200 МГц, включая частотную шаблонную синхронизацию и широкополосный реальный спектральный анализ;
-
- 4052-H98 - англоязычная панель управления (клавиатура), расположенная на лицевой части анализатора, англоязычный графический интерфейс и операционная система;
-
- 4052-S04 - функция тестирования фазового шума. Обеспечивает построение однополосной кривой фазового шума и тестирование одноточечного фазового шума;
-
- 4052-S10 - функция нестационарного анализа. Тестирование и анализ мгновенных параметров спектра, частотных характеристик и временных изменений сигнала, а также поддержка воспроизведения записанных данных;
- 4052-S13 - анализ импульсных сигналов. Автоматическое измерение временных характеристик, уровней и параметров модуляции импульсных форм, а также статистический анализ импульсных последовательностей.
Принцип действия анализатора спектра и сигналов 4052E основан на гетеродинном переносе исследуемого сигнала на промежуточную частоту (ПЧ) и последующей его обработке с помощью аналогово-цифрового преобразователя (АЦП) с блоком цифровой обработки.
Нанесение знака поверки на средство измерений не предусмотрено.
Серийный номер нанесен методом наклейки на заднюю панель анализатора и имеет формат десятизначного буквенно-цифрового номера, состоящего из букв латинского алфавита и арабских цифр.
Для предотвращения несанкционированного доступа анализатор имеет защитную наклейку завода-изготовителя, закрывающую головку винта крепления корпуса и расположенную на задней панели анализатора.
Общий вид анализатора приведен на рисунках 1-2.
Тип и модификация
Диапазон частот
Место нанесения знака утверждения топа
Рисунок 1 - Общий вид средств измерений
Рисунок 2 - Вид задней панели средства измерений
Программное обеспечение
Программное обеспечение предназначено для управления режимами работы анализатора, обработки измерительных сигналов, управления работой анализатора в процессе проведения измерений, отображения хода измерений. Программное обеспечение предназначено только для работы с анализатором спектра и сигналов 4052Е и не может быть использовано отдельно от измерительно-вычислительной платформы анализатора.
Программное обеспечение реализовано без выделения метрологически значимой части. Влияние программного обеспечения не приводит к выходу метрологических характеристик анализатора за пределы допускаемых значений.
Уровень защиты программного обеспечения «низкий» в соответствии с Р 50.2.077-2014.
Таблица 1 - Идентификационные данные программного обеспечения
|
Идентификационные данные (признаки) |
Значение |
|
Идентификационное наименование ПО |
4052 Signal & Spectrum Analyzer |
|
Номер версии (идентификационный номер) ПО, не ниже |
1.2.17 |
|
Цифровой идентификатор ПО (контрольная сумма исполняемого кода) |
- |
Метрологические и технические характеристики
Таблица 2 - Метрологические характеристики
|
Наименование характеристики |
Значение |
|
1 |
2 |
|
Диапазон рабочих частот, Гц |
от 2 до 2,654010 |
|
Номинальное значение частоты выхода опорного генератора, МГц |
10 |
|
Пределы допускаемой относительной погрешности установки частоты опорного генератора 5оп |
±5М0-8 |
Продолжение таблицы 2
|
1 |
2 | |
|
Диапазон полос обзора, SPAN, Гц |
0 (нулевая полоса обзора); | |
|
от 10 до полного | ||
|
диапазона частот | ||
|
Полосы пропускания фильтров ПЧ по уровню минус 3 дБ с шагом 1-2-3-5, BW, Гц |
от 0,1 до 2Ч07 | |
|
Пределы допускаемой абсолютной погрешности измерений частоты с помощью маркеров, Fизм, Гц |
5оП • Fизм + 0,1 | |
|
Полосы пропускания видеофильтра, с шагом 1-2-3-5, Гц |
от 1 до 2Ч07 | |
|
Полоса анализа сигналов, Гц |
2Ч08 | |
|
Уровень фазовых шумов на |
100 Гц |
-95 |
|
частоте 1 ГГ ц в полосе |
1 кГц |
-112 |
|
пропускания 1 Гц |
10 кГц |
-122 |
|
относительно уровня |
100 кГц |
-122 |
|
несущей, при отстройке от несущей, дБ, не более |
1 МГц |
-135 |
|
Средний уровень собственных шумов, приведенный к полосе пропускания 1 Гц, при выключенном предусилителе или отсутствии предусилителя, при ослаблении входного СВЧ аттенюатора 0 дБ, в диапазоне частот, дБ (1 мВт), не | ||
|
более от 10 МГц до 1 ГГц включ. |
-149 | |
|
св. 1 до 2 ГГц включ. |
-147 | |
|
св. 2 до 3 ГГц включ. |
-146 | |
|
св. 3 до 4 ГГц включ. |
-141 | |
|
св. 4 до 6 ГГц включ. |
-142 | |
|
св. 6 до 8 ГГц включ. |
-139 | |
|
св. 8 до 18 ГГц включ. |
-145 | |
|
св. 18 до 26,5 |
-141 | |
|
Средний уровень собственных шумов, приведенный к полосе пропускания 1 Гц, при включенном предусилителе, при ослаблении входного СВЧ аттенюатора 0 дБ, в диапазоне частот, дБ (1 мВт), не более | ||
|
от 10 до 50 МГц включ. |
-156 | |
|
св. 50 МГц до 4 ГГц включ. |
-161 | |
|
св. 4 до 6 ГГц включ. |
-161 | |
|
св. 6 до 8 ГГц включ. |
-157 | |
|
св. 8 до 18 ГГц включ. |
-157 | |
|
св. 18 до 26,5 ГГц |
-154 | |
|
Неравномерность амплитудно-частотной характеристики (A) относительно уровня на опорной частоте 100 МГц, при ослаблении входного СВЧ аттенюатора 10 дБ, выключенном | ||
|
предусилителе или отсутствии предусилителя, в диапазоне | ||
|
частот, дБ, не более от 10 МГц до 4 ГГц включ. |
±0,4 | |
|
св. 4 до 8 ГГц включ. |
±0,7 | |
|
св. 8 до 18 ГГц включ. |
±2,0 | |
|
св. 18 до 26,5 ГГц |
±2,5 | |
Окончание таблицы 2
|
1 |
2 |
|
Неравномерность амплитудно-частотной характеристики (A) относительно уровня на опорной частоте 100 МГц, при ослаблении входного СВЧ аттенюатора 30 дБ, включенном предусилителе, в диапазоне частот, дБ, не более от 10 МГц до 4 ГГц включ. |
±1,0 |
|
св. 4 до 8 ГГц включ. |
±1,5 |
|
св. 8 до 18 ГГц включ. |
±2,5 |
|
св. 18 до 26,5 ГГц |
±3,0 |
|
Пределы допускаемой абсолютной погрешности измерений уровня мощности входного сигнала при значении внутреннего аттенюатора 10 дБ, полосе пропускания от 1 Гц до 1 МГц, входном сигнале от -10 до -50 дБ (1 мВт) и выключенном предусилителе, дБ - на частоте 500 МГц |
±0,24 |
|
- во всем диапазоне частот |
±(0,24 + A) |
|
Относительный уровень интермодуляционных искажений 3го порядка Lимз, выраженный в виде точки пересечения 3-го порядка (TOI)*, в диапазоне частот, дБ (1 мВт), не менее: от 10 до 200 МГц включ. |
12 |
|
св. 200 МГц до 4 ГГц включ. |
17 |
|
св. 4 до 26,5 ГГц |
16 |
|
Уровень остаточных сигналов комбинационных частот, в диапазоне частот от 200 кГц до 8 ГГц, при ослаблении входного СВЧ аттенюатора 0 дБ, дБ (1 мВт), не более |
-90 |
|
'’Примечание: TOI = (2Ъсмес.- Lимз)/2, где Lсмес. - |
уровень входного сигнала |
|
смесителя, дБ (1 мВт) |
Таблица 3 - Технические характеристики
|
Наименование характеристики |
Значение |
|
Параметры электрического питания:
|
от 220 до 240 от 50 до 60 |
|
Потребляемая мощность, Вт, не более |
450 |
|
Габаритные размеры (ширинахвысотахглубина), мм |
475x193x560 |
|
Масса, кг, не более |
25 |
|
Условия эксплуатации:
|
от +20 до +30 от 40 до 90 |
Знак утверждения типа
наносится на переднюю панель анализаторов в виде наклейки в месте, указанном на рисунке 1, и на титульный лист руководства по эксплуатации типографским способом.
Лист № 6 Всего листов 7 Комплектность средства измерений
Таблица 4 - Комплектность средства измерений
|
Наименование |
Обозначение |
Количество |
|
Анализатор спектра и сигналов в составе со следующими опциями: 4052-H17-E; 4052-H19-4T; 4052-H34-26; 4052-H36; 4052-H38-200; 4052-H41-200; 4052-H98; 4052-S04; 4052-S10; 4052-S13 |
4052Е |
1 шт. |
|
Кабель питания |
- |
1 шт. |
|
Руководство по эксплуатации |
- |
1 экз. |
Сведения о методиках (методах) измерений
приведены в разделе 4 «Проведение измерений» руководства по эксплуатации.
Нормативные документы, устанавливающие требования к средству измерений
Приказ Росстандарта от 26 сентября 2022 г. № 2360 «Об утверждении государственной поверочной схемы для средств измерений времени и частоты»
Приказ Росстандарта от 30 декабря 2019 г. № 3461 «Об утверждении государственной поверочной схемы для средств измерений мощности электромагнитных колебаний в диапазоне частот от 9 кГц до 37,5 ГГц»
Правообладатель
Ceyear Technologies Co., Ltd, Китай
Адрес: Ng.98, Xiangjiang Rd, Huangdao district, Qingdao, China
Телефон: +86-532-86896691
Web-сайт: http://www.en.ceyear.com
E-mail: sales@ceyear.com
Изготовитель
Ceyear Technologies Co., Ltd, Китай
Адрес: Nc.98, Xiangjiang Rd, Huangdao district, Qingdao, China
Телефон: +86-532-86896691
Web-сайт: http://www.en.ceyear.com
E-mail: sales@ceyear.com
Испытательный центр
Федеральное бюджетное учреждение «Научно-исследовательский центр прикладной метрологии - Ростест»
(ФБУ «НИЦ ПМ - Ростест»)
Адрес: 117418, г. Москва, Нахимовский пр-кт, д.31
Телефон: +7 (495) 544-00-00
Факс: +7 (499) 124-99-96
Web-сайт: www.rostest.ru
E-mail: info@rostest.ru
Уникальный номер записи об аккредитации в реестре аккредитованных лиц RA.RU.310639
УТВЕРЖДЕНО приказом Федерального агентства по техническому регулированию
и метрологии
от « 01 » ноябРя 2025 г. № 2382Лист № 1
Всего листов 7
Регистрационный № 96802-25
ОПИСАНИЕ ТИПА СРЕДСТВА ИЗМЕРЕНИЙ
Плиты поверочные и разметочные MicronНазначение средства измерений
Плиты поверочные и разметочные Micron (далее - плиты) предназначены для проверки отклонения от плоскостности, а также используются в качестве установочной поверхности при сборке и для работы по методу «пятен на краску», измерениях и поверке средств измерений в качестве вспомогательного оборудования в условиях цехов и лабораторий машиностроительного комплекса.
Описание средства измерений
Принцип измерений отклонений от прямолинейности и плоскостности с помощью плит основан на методе линейных отклонений, где плита является опорной поверхностью.
Плиты изготавливаются следующих исполнений: чугунные:
-
1 - с ручной шабровкой рабочих поверхностей;
-
2 - с механически обработанными рабочими поверхностями; гранитные:
-
3 - плиты из твердокаменных пород.
По заказу потребителя рабочие поверхности чугунных плит могут быть разделены на квадраты или прямоугольники продольными и поперечными пазами.
Плиты исполнения 3 изготавливаются из диабаза, габбро и различного типа гранитов. Допускается неоднородность структуры и цвета плит, не влияющие на эксплуатационные качества.
Плиты изготавливаются 5-ти модификаций: КЛ.00, КЛ.0, КЛ.1, КЛ.2 и КЛ.3 и отличаются друг от друга допусками плоскостности рабочих поверхностей.
По периметру рабочей поверхности плит имеются фаски.
Боковые нерабочие поверхности чугунных плит покрывают краской.
Основные размеры, исполнения и модификации плит перечислены в таблице 1.
Таблица 1 - Основные размеры и модификации плит
|
Размеры плит, мм |
Исполнения |
Модификации |
|
250x250 |
3 |
КЛ.00, КЛ.0, КЛ.1 |
|
1, 2 |
КЛ.1, КЛ.2, КЛ.3 | |
|
300x300 |
3 |
КЛ.00, КЛ.0, КЛ.1 |
|
1, 2 |
КЛ.1, КЛ.2, КЛ.3 | |
|
400x400 |
3 |
КЛ.00, КЛ.0, КЛ.1 |
|
1, 2 |
КЛ.1, КЛ.2, КЛ.3 |
Продолжение таблицы 1
|
Размеры плит, мм |
Исполнения |
Модификации |
|
630x400 |
3 |
КЛ.00, КЛ.0, КЛ.1 |
|
1, 2 |
КЛ.1, КЛ.2, КЛ.3 | |
|
1000x630 |
3 |
КЛ.00, КЛ.0, КЛ.1 |
|
1, 2 |
КЛ.1, КЛ.2, КЛ.3 | |
|
1000x750 |
3 |
КЛ.00, КЛ.0, КЛ.1 |
|
1000x1000 |
3 |
КЛ.00, КЛ.0, КЛ.1 |
|
1600x1000 |
3 |
КЛ.00, КЛ.0, КЛ.1 |
|
1, 2 |
КЛ.1, КЛ.2, КЛ.3 | |
|
2000x1000 |
3 |
КЛ.00, КЛ.0, КЛ.1 |
|
1, 2 |
КЛ.1, КЛ.2, КЛ.3 | |
|
2500x1600 |
3 |
КЛ.00, КЛ.0, КЛ.1 |
|
1, 2 |
КЛ.1, КЛ.2, КЛ.3 |
Плиты модификаций КЛ.00, КЛ.0, КЛ.1 и КЛ.2 относятся к поверочным, а модификаций КЛ.3 - к разметочным.
У плит размерами 630x400 мм и менее должно быть три опорные точки, а у плит размерами свыше 630x400 мм не менее четырех опорных точек.
Опоры плит размером 630x400 мм и более должны быть регулируемыми, а у плит размером менее 630x400 мм могут быть регулируемыми (по заказу).
У плит с размерами свыше 630x400 мм расположение опор дает возможность установки плит в свободном (разгруженном) состоянии на три опорные точки.
Общий вид плит представлен на рисунках 1-4.
Благодаря конструкции чугунных плит, они могут быть оснащены внешними ребрами жесткости, предохраняющие ее от возможного прогиба.
Плиты выпускаются под товарным знаком , который наносится
на маркировочную табличку.
Заводской номер в виде цифро-буквенного или цифрового обозначения наносится на маркировочную табличку краской или методом лазерной гравировки и в паспорт типографским способом. Цвет букв, цифр и фон маркировочной таблички могут отличаться. Маркировочная табличка крепится на боковую поверхность плиты. Места нанесения маркировочной таблички представлены на рисунке 4. Место нанесения заводского номера представлено на рисунке 5.
Пломбирование плит и нанесение знака поверки на средство измерений не предусмотрено.
Рисунок 1 - Общий вид плит исполнения 1

Рисунок 2 - Общий вид плит исполнения 2
Рисунок 3 - Общий вид плит исполнения 3
Рисунок 4 - Места нанесения маркировочной таблички
Рисунок 5 - Место нанесения заводского номера
Метрологические и технические характеристики
Таблица 2 - Допуск плоскостности рабочих поверхностей плит
|
Размеры, мм |
Исполнение |
Допуск плоскостности, мкм | ||||
|
КЛ.00 |
КЛ.0 |
КЛ.1 |
КЛ.2 |
КЛ.3 | ||
|
250x250 |
3 |
2 |
4 |
8 |
- |
- |
|
1, 2 |
- |
- |
10 |
16 |
30 | |
|
300x300 |
3 |
3 |
5 |
8 |
- |
- |
|
1, 2 |
- |
- |
10 |
16 |
30 | |
|
400x400 |
3 |
3 |
6 |
12 |
- |
- |
|
1, 2 |
- |
- |
12 |
25 |
50 | |
|
630x400 |
3 |
4 |
8 |
16 |
- |
- |
|
1, 2 |
- |
- |
16 |
30 |
60 | |
|
1000x630 |
3 |
5 |
10 |
20 |
- |
- |
|
1, 2 |
- |
- |
20 |
40 |
80 | |
|
1000x750 |
3 |
5 |
10 |
20 |
- |
- |
|
1000x1000 |
3 |
6 |
12 |
25 |
- |
- |
|
1600x1000 |
3 |
6 |
12 |
25 |
- |
- |
|
1, 2 |
- |
- |
25 |
50 |
100 | |
|
2000x1000 |
3 |
8 |
16 |
30 |
- |
- |
|
1, 2 |
- |
- |
30 |
60 |
120 | |
|
2500x1600 |
3 |
8 |
16 |
30 |
- |
- |
|
1, 2 |
- |
- |
35 |
70 |
120 | |
Таблица 3 - Технические характеристики и условия эксплуатации
|
Наименование характеристики |
Значение |
|
Разность количества пятен в любых двух квадратах со стороной 25 мм, не более |
5 |
|
Число пятен в квадрате со стороной 25 мм у шаброванных плит модификации КЛ.1, не менее!) |
20 |
|
Параметр шероховатости Ra по ГОСТ 2789-73 рабочих поверхностей плит, мкм, не более: | |
|
- модификация КЛ.0, КЛ.00 исполнение 3 |
0,4 |
|
- модификация КЛ.1, КЛ.2 исполнение 1 |
1,6 |
|
- модификация КЛ.1, КЛ.2 исполнение 2 |
3,2 |
|
- модификация КЛ.3 исполнение 1 |
3,2 |
|
- модификация КЛ.3 исполнение 2 |
6,3 |
Продолжение таблицы 3
|
Наименование характеристики |
Значение |
|
Твердость рабочей поверхности чугунных плит, HB |
от 170 до 229 |
|
Разность в твердости на любых участках поверхности одной плиты, HB, не более: - для плит размером от 250x250 до 630x400 мм включ. |
10 |
|
- для плит размером св. 630x400 мм |
15 |
|
Условия эксплуатации: температура окружающей среды, °С - модификация КЛ.00, КЛ.0, КЛ.1 |
от +16 до +24 |
|
- модификация КЛ.2, КЛ.3 |
от +14 до +26 |
|
относительная влажность воздуха, %, не более |
80 |
|
допускаемое изменение температуры в течение 1 часа, °С |
0,5 |
|
|( Число пятен не устанавливается у чугунных плит на расстоянии до 5 мм от краев плит | |
|
размерами 630x400 мм и не менее 10 мм от краев плит размерами свыше 630x400 мм. | |
Наибольший прогиб плит под действием сосредоточенной нагрузки на площади приложения нагрузки, равной 1/5Lx'1/5B (где L - длина, B - ширина плиты) в любом месте рабочей поверхности плиты, не должен превышать значений, указанных в таблице 4.
Таблица 4 - Наибольший прогиб плит под действием сосредоточенной нагрузки
|
Размеры, мм |
Сосредоточенная нагрузка, Н |
Наибольший прогиб, мкм | |
|
исполнение 1 и 2 |
исполнение 3 | ||
|
250x250 |
78 |
0,5 |
0,4 |
|
300x300 |
80 |
0,6 |
0,5 |
|
400x400 |
196 |
1,0 |
0,8 |
|
630x400 |
490 |
2,0 |
1,8 |
|
1000x630 |
980 |
4,0 |
3,5 |
|
1000x750 |
1000 |
- |
4,5 |
|
1000x1000 |
1000 |
- |
4,5 |
|
1600x1000 |
2450 |
10,0 |
8,0 |
|
2000x1000 |
2450 |
10,0 |
8,0 |
|
2500x1600 |
4900 |
20,0 |
16,0 |
Таблица 5 - Габаритные размеры и масса
|
Размеры, мм |
Исполнение |
Габаритные размеры, мм, не менее |
Масса, кг, не более | ||
|
Длина |
Ширина |
Высота | |||
|
1 |
2 |
3 |
4 |
5 |
6 |
|
250x250 |
3 |
250 |
250 |
50 |
10 |
|
1, 2 |
250 |
250 |
55 |
14 | |
|
300x300 |
3 |
300 |
300 |
65 |
20 |
|
1, 2 |
300 |
300 |
55 |
20 | |
|
400x400 |
3 |
400 |
400 |
65 |
36 |
|
1, 2 |
400 |
400 |
55 |
38 | |
|
630x400 |
3 |
630 |
400 |
80 |
80 |
|
1, 2 |
630 |
400 |
60 |
65 | |
|
1000x630 |
3 |
1000 |
630 |
100 |
300 |
|
1, 2 |
1000 |
630 |
90 |
350 | |
|
1000x750 |
3 |
1000 |
750 |
100 |
360 |
Продолжение таблицы 5
|
1 |
2 |
3 |
4 |
5 |
6 |
|
1000x1000 |
3 |
1000 |
1000 |
100 |
480 |
|
1600x1000 |
3 |
1600 |
1000 |
130 |
1050 |
|
1, 2 |
1600 |
1000 |
150 |
870 | |
|
2000x1000 |
3 |
2000 |
1000 |
200 |
600 |
|
1, 2 |
2000 |
1000 |
190 |
1100 | |
|
2500x1600 |
3 |
2500 |
1600 |
250 |
2800 |
|
1, 2 |
2500 |
1600 |
210 |
4200 |
Таблица 6 - Показатели надежности
|
Наименование характеристики |
Значение |
|
Средний срок службы, лет |
10 |
|
Средняя наработка на отказ, ч |
150000 |
Знак утверждения типа
наносится типографским способом на титульный лист паспорта.
Комплектность средства измерений
Таблица 7 - Комплектность средства измерений
|
Наименование |
Обозначение |
Количество |
|
Плита поверочная или разметочная Micron |
_1) |
1 шт. |
|
Опоры регулируемые |
- |
_1) |
|
Крышка или транспортная упаковка |
_ |
1 шт. |
|
Паспорт |
_ |
1 экз. |
|
|( В зависимости от заказа. | ||
Сведения о методиках (методах) измерений
приведены в разделе 4 «Устройство и принцип работы» документа «Плита поверочная и разметочная Micron. Паспорт».
Нормативные документы, устанавливающие требования к средству измерений
Приказ Федерального агентства по техническому регулированию и метрологии от 15 марта 2021 г. № 314 «Об утверждении Государственной поверочной схемы для средств измерений отклонений от прямолинейности и плоскостности»
«Плиты поверочные и разметочные Micron. Стандарт предприятия»
Правообладатель
SHANGHAI UNI-STAR TOOLS COMPANY, Китай
Адрес: No. 15-2, Hangqi Road, Damaiwan Industrial Park, Pudong, Shanghai, 201316, China
Изготовитель
SHANGHAI UNI-STAR TOOLS COMPANY, Китай
Адрес: No. 15-2, Hangqi Road, Damaiwan Industrial Park, Pudong, Shanghai, 201316, China
Испытательный центр
Общество с ограниченной ответственностью «ПРОММАШ ТЕСТ Метрология»
(ООО «ПРОММАШ ТЕСТ Метрология»)
Юридический адрес: 119415, г. Москва, пр-кт Вернадского, д. 41, стр. 1, помещ.263
Адреса мест осуществления деятельности: 142300, Россия, Московская обл., р-н Чеховский, г. Чехов, Симферопольское ш., д. 2;
308023, Россия, Белгородская обл., г. Белгород, ул. Садовая, д. 45а;
Россия, Ивановская обл., р-н Лежневский, СПК имени Мичурина
Уникальный номер записи об аккредитации в реестре аккредитованных лиц RA.RU.314164
УТВЕРЖДЕНО приказом Федерального агентства по техническому регулированию
и метрологии
от «__ » _____ 2025 г. № 23_ 2
Лист № 1 Регистрационный № 96803-25 Всего листов 4
ОПИСАНИЕ ТИПА СРЕДСТВА ИЗМЕРЕНИЙ
Сканеры лазерные мобильные GOSLAMНазначение средства измерений
Сканеры лазерные мобильные GOSLAM (далее - сканер) предназначены для измерений приращений координат с целью контроля геометрических размеров объектов и сооружений по массиву точек, полученных в процессе трёхмерного сканирования.
Описание средства измерений
Принцип действия систем заключается в определении пространственного положения точек окружающих объектов по данным лазерного сканирования полярным методом измерения координат и построении цифровой модели местности и окружающих объектов в виде облака точек, имеющих трёхмерные координаты в заданной системе. Между любыми из определённых точек, или построенных на их основании поверхностей, можно провести геометрические измерения.
Конструктивно сканер представляет собой моноблок, в котором объединены сканирующий и электронный блоки. Сканирующий блок представляет собой высокочастотный лазерный импульсный дальномер, с оптико-механическим приводом отклонения лазерного излучения. В состав электронного блока входят инерциальная система, плата контроля и управления, регистратор измерительной информации. Для раскрашивания данных сканирования в естественные цвета и получения фотографий объектов, сканер оснащается фотокамерой. Измерительная информация (местоположение сканера, угол сканирования и расстояния до сканируемых точек) записывается во встроенную карту памяти и в дальнейшем передается для обработки на персональный компьютер.
Измерения допускается производить, установив систему на ручку для переноски в руке, носимый оператором рюкзак, воздушные, наземные или водные носители различных типов, в том числе беспилотные.
Электропитание сканера осуществляется от сменного аккумулятора или внешнего источника питания.
Управление системой осуществляется вручную с помощью программного обеспечения, устанавливаемого на мобильное устройство, или с помощью сенсорного экрана на сканере.
К средствам измерений данного типа относятся сканеры лазерные мобильные GOSLAM модификаций GOSLAM T50 (GSI), GOSLAM T100 (GSI), GOSLAM T100Pro (GSI), GOSLAM T300Pro (GSI), отличающиеся диапазоном измерений.
Заводской номер в виде цифрового обозначения, состоящего из арабских цифр, наносится на маркировочную наклейку, расположенную на задней части корпуса.
Нанесение знака поверки на средство измерений не предусмотрено.
Пломбирование средств измерений от несанкционированного доступа не производится. В процессе эксплуатации сканер не предусматривает внешних механических регулировок.
Общий вид сканеров представлен на рисунке 1.
■Sv

Место нанесения маркировочной наклейки с заводским номером средства измерений
б)
а)
Рисунок 1 - Сканеры лазерные мобильные GOSLAM: а) общий вид; б) место нанесения заводского номера
Программное обеспечение
Сканеры имеют встроенное программное обеспечение (далее- МПО), предназначенное для проверки работоспособности внутренних компонентов, настройки параметров сканирования, задания программы работы и контроля процесса измерений.
Для работы со сканерами используется метрологически значимое программное обеспечение (далее - ПО) «GoSLAM Manager», устанавливаемое на мобильное устройство и предназначенное для настройки режима и запуска измерений, а также обработки полученного облака точек.
Защита программного обеспечения и измеренных данных от непреднамеренных и преднамеренных изменений соответствует уровню «средний» в соответствии с Р 50.2.077-2014.
ПО «GoSLAM Lidar Works», устанавливаемое на персональный компьютер, предназначено для работы с облаком точек, полученном при сканировании и создании цифровой модели местности, проведении проектных и расчётных работ на её основе, данное ПО не является метрологически значимыми.
Идентификационные данные программного обеспечения приведены в таблице 1.
Таблица 1 - Идентификационные данные программного обеспечения
|
Наименование характеристики |
Значение | ||
|
Идентификационное наименование ПО |
МПО |
GoSLAM Manager |
GoSLAM Lidar Works |
|
Номер версии (идентификационный номер ПО) |
20240202 |
не ниже 3.0 |
не ниже 1.5 |
|
Цифровой идентификатор ПО |
- |
- |
- |
Метрологические и технические характеристики
Таблица 2 - Метрологические характеристики
|
Наименование характеристики |
Значение | |||
|
Модификация |
GOS] |
LAM | ||
|
T50 (GSI) |
T100 (GSI) |
T100Pr o (GSI) |
T300Pro (GSI) | |
|
Диапазон сканирования*, м |
от 1,5 до 75,0 |
от 1,5 до 120,0 |
от 1,5 до 120,0 |
от 1,5 до 3ОО,О |
|
Пределы допускаемой абсолютной погрешности измерений приращений координат в условной системе координат по каждой из осей координат, мм |
±20 | |||
измерения на поверхность с отражательной способностью не менее 20 %
Таблица 3 - Технические характеристики
|
Наименование характеристики |
Значение |
|
Модификация |
GOSLAM |
|
Т50 Т100 T100Pro ТЗООРго (GSI) (GSI) (GSI) (GSI) | |
|
Габаритные размеры (ДлинахШиринахВысота), мм, не более |
292x302x140 |
|
Масса сканера (без аккумуляторной батареи), кг, не более |
2,0 |
|
Напряжение источника питания постоянного тока, В |
14,8 |
|
Диапазон рабочих температур, °С |
от -40 до +60 |
Таблица 4 - Показатели надёжности
|
Наименование характеристики |
Значение |
|
Среднее время наработки на отказ, ч, не менее |
10000 |
|
Средний полный срок службы, лет, не менее |
5 |
Знак утверждения типа
наносится типографским способом на титульный лист руководства по эксплуатации.
Комплектность средства измерений
Таблица 5 - Комплектность средства измерений
|
Наименование |
Обозначение |
Количество |
|
Сканер лазерный мобильный |
GOSLAM |
1 шт. |
|
Ручка для переноски |
- |
1 шт. |
|
Адаптер питания от сети переменного тока |
- |
1 шт. |
|
Аккумулятор |
- |
2 шт. |
|
Зарядное устройство |
- |
1 шт. |
|
USB-накопитель |
- |
1 шт. |
|
Транспортировочный контейнер |
- |
1 шт. |
|
Программное обеспечение |
GoSLAM Manager |
1 шт. |
|
Программное обеспечение |
GoSLAM Lidar Works |
По заказу |
|
Руководство по эксплуатации |
- |
1 экз. |
Сведения о методиках (методах) измерений
приведены в разделе: 4 «Рабочий процесс» документа «Сканеры лазерные мобильные GOSLAM. Руководство по эксплуатации».
Нормативные документы, устанавливающие требования к средству измерений
Приказ Росстандарта от 07 июня 2024 г. № 1374 Об утверждении Государственной поверочной схемы для координатно-временных средств измерений
Стандарт предприятия Beijing Tianqing Zhizao Aviation Technology Co., Ltd, Китай
Правообладатель
Beijing Tianqing Zhizao Aviation Technology Co., Ltd, Китай
Адрес: Room 209, Building 2, Zhubang 2000 Business Center, Chaoyang Road, Chaoyang District, Beijing, China, 100123
Изготовитель
Beijing Tianqing Zhizao Aviation Technology Co., Ltd, Китай
Адрес: Room 209, Building 2, Zhubang 2000 Business Center, Chaoyang Road, Chaoyang District, Beijing, China, 100123
Испытательный центр
Общество с ограниченной ответственностью «ПРОММАШ ТЕСТ Метрология»
(ООО «ПРОММАШ ТЕСТ Метрология»)
Адрес юридического лица: 119415, г. Москва, пр-кт Вернадского, д. 41, стр.1, помещ.263
Адрес осуществления деятельности: 142300, Московская обл., г. Чехов, ш. Симферопольское, д. 2
Телефон: +7 (495) 108-69-50
E-mail: info@metrologiya.prommashtest.ru
Уникальный номер записи в Реестре аккредитованных лиц RA.RU. 314164

