Методика поверки «ПРИБОР УНИВЕРСАЛЬНЫЙ ИЗМЕРИТЕЛЬНЫЙ Р 4833» (МП 2.736.036)
ПРИБОР УНИВЕРСАЛЬНЫЙ ИЗМЕРИТЕЛЬНЫЙ Р4833
Методика поверки
2.736.036
8. УКАЗАНИЯ ПО ПОВЕРКЕ-
8.1. Поверку прибора проводить по Ми 1695-87, ГОСТ 8.449-81, ГОСТ 8.478-82 с дополнениями, изложенными в настоящем разделе.
Поверка - по ДСТУ 2708-99.
-
8.2. Подготовках поверке
Выдержать прибор перед поверкой в рабочих условиях применения не менее 8 h и дополнительно в нормальных условиях применения не менее 4 h.
-
8.3. Проведение поверки
-
8.3.1. Вовремя опробования при изменении нормального положения прибора в любом направлении на 5° отклонение указателя, встроенного гальванометра от нулевой отметки шкалы не должно превышать четырех делений.
-
8.3.2. Электрическую прочность изоляции проверить при нажатой кнопке СЕТЬ на пробойной установке мощностью (на стороне высокого напряжения) не менее 0,25 kV • А.
-
При этом к корпусу прибора должен быть приложен металлический электрод, плотно прилегающий ко всей поверхности корпуса, кроме зажимов.
Сопротивление изоляции измерить с помощью тераомметра при напряжении (500± 100) V.
-
8.3.3. Определение метрологических характеристик.
8.3.3.1. Действительное значение сопротивления при использовании прибора в качестве магазина сопротивления определить поэлементной поверкой действительных значений сопротивлений резисторов декад плеча сравнения путем измерения их двойным мостом класса 0,05 методом замещения соответствующими образцовыми мерами (катушками) сопротивления класса 0,01 с учетом поправок или согласно способам комплектной поверки.
При поэлементной поверке:
снять ручку и щетку с подлежащей поверке декады:
установить на основании с контактами поверяемой декады поверочную щетку и закрепить ее;
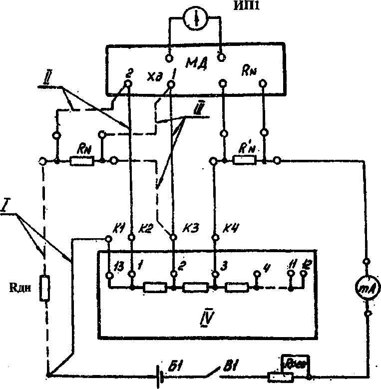
измерить сопротивление каждого резистора Rx всех декад по схеме (рис. 12) и подключение поверочной щетки по табл. 2. Действительное значение измеряемого сопротивления Лди вычислить по формуле (11).
Схема измерения сопротивлений резисторов декад

ИП2
МД - двойной мост класса 0,05; ИП1 - гальванометр (Rr < 20 И, Ci^l ,3 • 10'9А/дел); ИП2 - миллиамперметр; Иди - измеряемое сопротивление; RN - образцовая мера (катушка) сопротивления; RN. -катушка сопротивления рабочая; Rp - регулировочное сопротивление; Б1 -источник питания; В1 - выключатель; KI...К4 - контакты поверочной щетки ММЭС; I, II, Ш - соединительные провода; IV - поверяемая декада прибора.
ТАБЛИЦА 2
Поверяемый резистор |
Контакты основания декады, между которыми находится резистор |
Обозначение контактов основания декады, к которым должны подключаться провода | |||
первый токовый (Т1) |
первый потенциальный (П1) |
второй потенциальный (П2) |
второй токовый (Т2) | ||
1 |
1-2 |
3 |
2 |
1 |
13 |
2 |
2-3 |
4 |
3 |
2 |
1 |
3 |
. 3-4 |
5 |
4 |
3 |
2 |
4 |
4-5 |
6 |
5 |
4 |
3 |
5 |
5-6 |
7 |
6 |
5 |
4 |
6 |
6-7 |
8 |
7 |
6 |
5 |
7 |
7-8 |
9 |
8 |
7 |
6 |
8 |
8-9 |
10 |
9 |
8 |
7 |
9 |
9-10 |
11 |
10 |
9 |
8 |
10 |
10-11 |
12 |
11 |
10 |
9 |
Основная погрешность сопротивления декад должна быть в пределах, указаных в табл. 3.
ТАБЛИЦА 3
Обозначение декады |
Допускаемая основная погрешность, % |
“х 100Q” |
±0,02 |
“ х 10 Я (mV)” |
±0,02 |
“xlQ(mV)” |
± 0,035 |
•“х 0,1 О (mV)” |
±0,1 |
“х 0,01 О (mV)” |
± 1,0 |
При применении способа измерения комплектной поверки определить величину сопротивления каждой декады при всех показаниях и рассчитать по формуле (14).
Одновременно все остальные декады должны быть установлены в нулевое положение.
Среднее значение начального сопротивления магазина сопротивления (плеча сравнения моста) проверить методом непосредственного измерения сопротивления на зажимах “П1” и “R” одинарным мостом по четырехзажимной схеме или двойным мостом класса 0,05.
Перед каждым измерением провернуть ручки всех декадных переключателей по три-пять раз и затем установить в нулевое положение. Среднее значение начального сопротивления определяется как среднее арифметическое четырех результатов измерения. Определить вариацию начального сопротивления как разницу наибольшего и наименьшего из четырех измеренных значений начального сопротивления.
-
8.3.3.2. Допускаемую основную погрешность прибора при использовании в качестве моста определить комплектной или поэлементной поверкой по ГОСТ 8.449-81.
При комплектной поверке измерить прибором значения сопротивлений, воспроизводимые образцовыми мерами.
Определение основной погрешности при поэлементной .поверке обеспечивается поэлементной поверкой резисторов магазина сопротивления по пп. 8.3.3Л. и плеч отношения моста или комплектной поверкой.
При этом погрешность плеч отношения определить путем последовательного измерения мостом или потенциометром действительных значений сопротивлений резисторов, входящих в плечи отношения, методом замещения образцовой катушкой сопротивления или, если номинальное значение поверяемого сопротивления не совпадает с номинальным значением сопротивления образцовой катушки, образцовой схемой сопротивления.
Зажимы, между которыми поверяется сопротивление и данные, необходимые для поверки, указаны в табл. 4.
ТАБЛИЦА 4
Номинальное значение поверяемого сопротивления плеч отношения, а |
Допускаемая основная погрешность поверяемого сопротивления плеч отношения, а |
Зажимы, между которыми поверяются резисторы |
Значение сопротивления образцовой / меры, Q |
Сопротивления образцовых катушек, соединенных параллельно, Q | ||||
токовый* (ТО |
потенциальный* (ТО |
токовый (Т2) |
потенциальный (П2) | |||||
OKI |
ОК2 | |||||||
0,09864 |
± 0,00025 |
2 |
1 |
“П2И |
“П2” |
0,1 |
0,1 | |
0,99765 |
± 0,00025 |
3 |
2 |
“П2” |
“П2” |
0,998 |
1 |
500** |
9,8996 |
± 0,0024 |
4 |
3 |
“П2” |
“П2” |
9,901 |
10 |
1000 |
90,908 |
± 0,0227 |
5 |
4 |
“П2” |
“П2” |
90,909 |
100 |
1000 |
500,000 |
±0,125 |
6 |
5 |
“П2” |
“П2” |
500,000 |
1000 |
1000 |
500,000 |
±0,125 |
4 |
5 |
“R” |
“R” |
500,000 |
1000 |
1000 |
90,909 |
± 0,0227 |
5 |
6 |
“R” |
“R” |
90,909 |
100 |
1000 |
9,901 |
± 0,0024 |
6 |
7 |
“R” |
“R” |
9,901 |
10 |
1000 |
0,999 |
± 0,00025 |
7 |
8 |
“R” |
“R” |
0,999 |
1 |
1000 |
* Номера контактов основания плеч отношения, на которые устанавливается поверочная щетка.
** Магазин сопротивления класса 0,02.
Примечание. L При измерении резисторы не нагружать более, чем на 0,1 W. 2. При измерении резисторов 500 Q одинарным «мостом использовать зажимы подключения потенциальных проводов, указанные в графах “потенциальный”.
-
8.3.3.3. Основную погрешность прибора при использовании в качестве потенциометра определить по схеме (рис. 13) путем сравнения показаний поверяемого прибора с показанями образцового потенциометра, для чего:
Нажать кнопки “П” и “БП” или “СЕТЬ”, проверить наличие питания, для чего нажать кнопку “АБИ”, при этом должен загореться индикатор “СЕТЬ” красным цветом; у'MU IQ Ю ЩCM
подключить внешний нулевой указатель с ценой деления не менее 2 • 10б V (Rr <20 ; Ci < 5 • 10'9 A/дел), а при использовании встроенного гальванометра отжать кнопку “Г” и закоротить зажим “Г” медным нелуженым проводом;
установить рабочий ток образцового потенциометра; нажать кнопку “ ПЛ ”; i
измерить выходноелапряжение всех ступеней каждой декады и напряжение при начальном положении всех декад при помощи образцового потенциометра.
Погрешность показаний потенциометра для любого значения измеряемого напряжения должна быть не более значения, определенного по формуле (1).
Проверку начального напряжения Uo проводить следующим образом.
Все измерительные декады установить в нулевое положение. С помощью потенциометра измерить напряжгчие на зажимах “X” при нажатой кнопке “ Ш”. Весь цикл измерений повторить трижды. Перед повторным измерением щетки измерительных декад необходимо прокрутить от упора до упора несколько раз. Измерения должны следовать одно за другим с интервалами 20 - 30 s. Действительное значение начального напряжения вычислить как среднее арифметическое трех измерений.
Примечание: При необходимости напряжение Uo можно подстроить резистором “>U0<” по внутреннему или наружному гальванометру при закороченых медным проводом зажимов “X” или по образцовому потенциометру на зажимах “X”. Перед началом очередной поверки необходимо проверить выходное напряжение 100 mV с точностью до ±0,01 % на зажимах “X” и при необходимости подстроить его с помощью резистора “>Uk<”.
Схема поверки потенциометра

ИП1 - внешний нулевой указатель; Б1- нормальный элемент; Б2 - батарея питания; I - образцовый потенциометр; И - прибор.
-
8.3.3.4. Погрешность резисторов магазина “2.5 Q” и “7,5 П” определить путем непосредственного измерения сопротивлений двойным мостом класса точности 0,05 с учетом поправок.
Предельные значения поверяемых сопротивлений и зажимы, между которыми эти сопротивления измеряются, указаны в табл. 5.
ТАБЛИЦА 5
Зажимы, между которыми поверяются сопротивления |
Номинальное значение сопротивления, Q |
Предельное значение поверяемого сопротивления, О | |
“Т1ии“ПГ' |
,“П2”и“Т2” | ||
“7,5 Q” |
“R” |
7,47 |
7,4625-7,4775 |
“2,5 Q” |
“R” |
2,47 |
2,4675-2,4725 |
-
8.3.3.5. Основную погрешность резистора сравнения, используемого при подгонке сопротивления соединительных линий, определить потенциометрическим методом путем сравнения падений напряжения на поверяемом резисторе и образцовой катушке с номинальным сопротивлением 100 Q класса 0,01 с учетом поправок.
Собрать схему (рис. 14).
Схема определения основной погрешности резистора, используемого при подгонке сопротивления соединит ельных линий

г - медная перемычка (сопротивлением не более 0,002 П); RN - образцовая катушка; I - прибор.
Нажать кнопки “ Кл’\ “БП”, “БМ”.
Подключить наружный гальванометр (Rr < 20 Q; Ci < 1,5 • 1 О*8 A/дел) к зажимам “Г” (кнопка “Г” должна быть отжата).
Установить рабочий ток потенциометра, как указано в п.п. 7.1.3-7.1.6.
Установить ручки декад потенциометра в положение, соответствующее напряжению 100 mV. Последовательно нажимая кнопки “ П ” и “ ”,
установить указатель внешнего гальванометра в нулевое положение при помощи ручек ИРН (“V”) “ П ” и “СП ”. При неточной установке на нуль указателя гальванометра за нуль принять действительное его положение.
Определить цену деления гальванометра. Для этого сместить ручку декады “х0,01 Q (mV)” на два положения и отсчитать число делений по » отклонению указателя гальванометра от нулевого положения. Затем установить ручку декады “х0,01 Q (mV)” в первоначальное положение.
Нажать кнопку “АКл”, при этом указатель гальванометра должен отклониться не более, чем на величину ±20 рУ.
-
8.3.3.6. Погрешности сопротивлений для имитации соединительных лцний определить путем измерения сопротивлений мостом или потенциометром класса 0,05 по четырехзажимной схеме измерения.
Подключить провода П1 к зажиму “ ▲ ”, Т1 - к зажиму “X”, провода П2, Т2 - к зажиму “mV”.
Произвести измерение при нажатой кнопке “HrnV” и отжатой кнопке “БМ”. При нажатой кнопке "0,6 £2”, "1,6 £2”, ‘5 Q”, "15 £2”, "16,2 £2” или "25 £2” измеряемое сопротивление должно быть (0,6±0,1) £2; (1,6±0,1) £2; (5±0,1) П; (15±0,1) £2; (16,2±0,1) £2; (25±0.1> Q соответственно.
-
8.3.3.7. Проверку напряжения ИРН (mV) произвести непостредственным измерением прибором как потенциометром напряжения на зажимах "X”.
При проверке верхнего предела изменения напряжения ИРН (mV) подключить к зажимам "-Х”, “mV” сопротивление нагрузки 25 £2, нажать кнопку "БМ” (т.е. включить питание ИРН (mV) и “ПтУ”), установить декадные переключатели в положение, соответствующее 100 mV, при последовательно нажатых кнопках “ □ “|
▼▼
Ручками регуляторов напряжения ИРН - “mV” (переменные резисторы R2 и R8 на рис. 2) установить стрелки гальванометра прибора в нулевое положение.
Возможность установки стрелки в нулевое положение свидетельствует о достаточном напряжении ИРН на верхнем пределе.
'..-JПри проверке нижнего предела изменения напряжения ИРН (mV) к “X” подключить внешний потенциометр, нажать кнопку "ПтУ”.
Ручки регуляторов напряжения ИРН “mV” установить на минимальное положение и измерить напряжение. Величина этого напряжения должна быть не более минус 5 mV.
Проверку дискретности регулирования напряжения ИРН (mV) произвести измерением напряжения ИРН на зажимах “X” с помощью образцового потенциометра при любом положении ручек регуляторов напряжения “mV” и при нажатой кнопке “nmV”.
▼▼
ИРН отклонить стрел
Затем ручкой регулятора напряжения “mV|
ку нульиндикатора образцового потенциометра на минимально возможную
величину и измерить напряжения.
Величина изменения напряжения не должна превышать ±50 pV.
-
8.3.3.8. Проверку напряжения ИРН “V” произвести измерением напряжения на зажимах “-Х”, “V” внешним вольтметром постоянного тока класса 0,1 при нажатых кнопках “Л” и “БМ” и при сопротивлении нагрузки 1000 Q.
Величина напряжения должна соответствовать п.2.7.
-
8.4. С разрешения Госстандарта допускаются другие методы определения метрологических характеристик прибора, обеспечивающих требуемую точность измерений.
-
8.5. Методика расчета погрешности и рекомендуемая форма протокола поверки прибора приведены в приложениях 5 и 6 .
-
8.6. Оформление результатов поверки - по МИ 1695-87, ГОСТ 8.449-81, ГОСТ 8.478-82.
9.1.Необходимо периодически осматривать контакты декадных переключателей магазина сопротивления и плеч отношения, при необходимости очищать их от грязи и слегка смазывать химически нейтральной смазкой. Контакты скрыты под ручкой декадных переключателей, которые фиксируются на своих осях пружинным замком. Для снятия или установки ручек приложите необходимые усилие по направлению оси переключателя. ВНИМАНИЕ! На декадных переключателях установлены металлические шайбы диаметром 7x0,5 mm, служащие для обеспечения фиксации и регулировки начального сопротивления плеча сравнения прибора.
