Методика поверки «Колонки раздаточные сжиженного газа ,, Corio и Corioduo,, » (МЦКЛ.0167.МП )
ЗАКРЫТОЕ АКЦИОНЕРНОЕ ОБЩЕСТВО КО11СЛЛТИНГО-ННЖШШРШП OBOE ПРЕДПРИЯТИЕ «МЕТРО. ЛОГИЧЕСКИЙ ЦЕ ШТ ЭНЕРГО РЕСУРСОВ» (ЗАО КПП «МЦЭ»)
ООО «МИТЕКС»
И.Н. Щупаков
2015 г.
Генеральный
ЗАО КИП «МЦЭ»
А.В. Федоров
2015 г.
МЦКЛ.0167.МП
Москва, 2015 г.
Настоящая инструкция распространяется на колонки раздаточные сжиженного газа «Corio» и «Corioduo» (далее - колонка) изготавливаемые фирмой «KADATEC s.r.o.», Чешская Республика, и устанавливает методику их первичной и периодической поверки.
Колонки «Corio» имеют один раздаточный шланг и по одному каналу измерений массы / объёма сжиженного газа, а колонки «Corioduo» имеют два раздаточных шланга и, соответственно, по два канала измерений массы / объёма сжиженного газа.
Первичную и периодическую поверку проводят органы Государственной метрологической службы или метрологические службы юридических лиц, аккредитованные на право поверки в соответствии с действующим законодательством.
Интервал между поверками - два года.
1 Операции поверки-
1.1 При проведении поверки должны выполняться операции, указанные в таблице 1.
Таблица 1
|
Наименование операций |
Номер пункта методики поверки |
Проведение операций при | |
|
первичной поверке |
периодической поверке | ||
|
1 Внешний осмотр |
6.1 |
да |
да |
|
2 Проверка герметичности |
6.2 |
да |
да |
|
3 Проверка соответствия программного обеспечения |
6.3 |
да |
да |
|
4 Опробование |
6.4 |
да |
да |
|
5 Определение о носительной погрешности измерения массы (объёма) сжиженного газа |
6.5 |
да |
да |
|
6 Проверка соответствия показаний счётчиков разового и суммарного учета |
6.6 |
да |
да |
|
7 Оформление результатов поверки |
7 |
да |
да |
-
2.1 При проведении поверки должны быть применены средства поверки и технические средства:
-
- Весы электронные лабораторные LE (номер 28158-07 в Госреестре средств измерений РФ), модификация LE 34001S, НПВ 34 кг, пределы допускаемой абсолютной погрешности измерений массы в эксплуатации ± (500 - 700) мг.
-
- Баллон БАЖ-30 (ф300х503) цилиндрический, объём 30 л, масса 14,6 кг.
-
- Мерник металлический 2-го разряда для сжиженных газов типа ММСГ-1, с номинальной вместимостью 10 л (номер 22482-07 в Госреестре средств измерений РФ).
-
- Секундомер СОСпр-2б-2-ОЮ по ТУ 25.1894-003-90, 2 класса точности, относительная погрешность ± 0,с.
-
- Термометр по ГОСТ 28498-90, с диапазоном измерения от минус 40 °C до плюс 50 °C и Д = ± 0,5 °C.
-
- Манометр по ГОСТ 2405-88, с верхним пределом измерения 1,6 МПа, класса точности не хуже 1,5.
-
- Барометр-анероид М-110, диапазон измерений от 0 до 800 мм рт.ст., ц.д. 1,0 мм рт.ст.
-
- Термогигрометр ИВА-6АР по ТУ 4311-011-18513042-01, диапазон измерения температуры от минус 40 °C до плюс 60 °C, абсолютная погрешность ± 1 °C, диапазон измерения относительной влажности от 0 до 98 %, погрешность ± 2%.
-
- Компрессор.
-
- Резервуары для сжиженного газа, арматура и соединительные трубопроводы.
-
2.2 Допускается применение других средств измерений и вспомогательного оборудования с метрологическими характеристиками не хуже приведенных выше.
-
2.3 Средства измерений должны иметь действующие свидетельства о поверке или оттиски поверительных клейм.
-
2.4 Резервуары (баллоны) для сжиженного газа должен иметь действующее свидетельство (клеймо) об аттестации (освидетельствовании) в соответствии с Правилами устройства и безопасной эксплуатации сосудов, работающих под давлением ПБ 03-576-03.
-
3.1 Опасным фактором во время проведения поверки является высокое напряжение электрической сети питания и сжиженный газ, который находится под давлением.
-
3.2 Во время проведения поверки необходимо соблюдать:
-
- общие правила охраны труда;
-
- требования инструкции по охране труда на рабочем месте;
-
- правила пожарной безопасности, действующие на предприятии.
-
3.3 Основные требования и необходимые мероприятия для соблюдения безопасности во время проведения поверки:
-
- условия поверки должны отвечать требованиям, установленным в стандартах системы безопасности труда и инструкциях по охране труда на рабочем месте;
-
3.4 Лица, проводящие поверку, должны знать принцип действия колонки, ее конструкцию и пройти инструктаж по охране труда (вводный и на рабочем месте) в соответствии с установленным на предприятии порядке;
-
- во время поверки запрещается проводить любые ремонтные работы с колонкой, включенной в электросеть питания.
-
3.5 Перед началом поверки необходимо выполнить требования безопасности:
-
- изложенные в Руководстве по эксплуатации на колонку;
-
- действующие на предприятии, на котором проводится поверка.
-
3.6 При поверке проверяют заземление колонки в соответствии с ГОСТ 12.2.003-74 и ГОСТ 12.2.007.0-75.
-
4.1 При проведении поверки должны соблюдаться следующие условия:
-
- температура окружающего воздуха и измеряемой среды, °C:
-
- при первичной поверке 20 ±5;
-
- при периодической поверке от минус 40 до плюс 40;
-
- атмосферное давление, кПа от 84,0 до 106,7;
-
- относительная влажность воздуха, % от 30 до 100
(без конденсации влаги);
- параметры электропитания от сети переменного тока:
- напряжение, В
- частота, Гц
50± 1;
смесь пропан-бутан.
- поверочная среда
-
4.2 Электрические и магнитные поля (кроме земного), тряска и вибрации, влияющие на работу колонки, должны отсутствовать.
-
5.1 Подготовка к поверке производится в соответствии с её руководством по эксплуатации.
-
5.2 Средства поверки должны быть подготовлены в соответствии с руководствами по эксплуатации на них.
-
6.1 Внешний осмотр
При внешнем осмотре устанавливают:
-
- отсутствие повреждений и дефектов, ухудшающих работоспособность и внешний вид колонки и препятствующих ее применению;
-
- соответствие маркировки колонки технической документации на нее;
-
- соответствие комплектности указанной в технической документации на нее;
-
- четкость изображения надписей на маркировоиной табличке, а также цифр и отметок на указателях разового и суммарного учета;
-
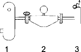
- наличие и целостность пломбировки узлов колонки, влияющих на метрологические характеристики колонки; схемы пломбировки должны соответствовать рисункам 1-5.
Рисунок 1 - Гидравлическая схема колонок «Corioduo» («Corio») с точками пломбирования колонок
-
1 - Сепаратор газа с фильтром.
-
2 - Массомер.
-
3 - Дифференциальный клапан.
Corio

Рисунок 2 - Схема пломбировки расходомера массового Micvo Motion, модификации F
Рисунок 3 - Схема пломбировки расходомера массового Promass 84F

-
Рисунок 4 - Схема пломбировки дифференци- Рисунок 5 - Схема пломбирования защитной ального клапана крышки вычислителя
-
6.2 Проверка герметичности
Проверку герметичности колонки производить под давлением, создаваемым при закрытом раздаточном кране. Гидравлическую систему заполнить сжиженным газом. После выдержки колонки под давлением равным максимальному рабочему давлению в течение трех минут выключить электродвигатель насоса, перекрыть краны, соединяющие колонку с мерником и резервуаром и выдержать систему еще одну минуту, после чего смочить мыльным раствором места соединений колонки и осмотреть их.
Для колонок исполнения «Corioduo» проверять герметичность обоих гидравлических систем.
Колонка считается герметичной, если при осмотре не обнаружено следов течи и утечки газа, а давление в системе не уменьшилось более чем на 0,01 МПа.
-
6.3 Проверка соответствия программного обеспечения
-
6.3.1 Номер версии программного обеспечения и контрольная сумма отображаются после входа в меню вычислителя.
-
Встроенное программное обеспечение (ПО) должно иметь идентификационное наименование и номера версий, указанные в таблице 2.
-
6.3.2 Результаты проверки считаются положительными, если идентификационные данные встроенного ПО соответствуют указанным в таблице 2.
Таблица 2
|
Идентификационные данные (признаки) |
Значение |
|
Идентификационное наименование ПО |
KMV3150 |
|
Номер версии (идентификационный номер) ПО (не ниже) |
41023090114 |
|
Цифровой идентификатор (контрольная сумма) метрологически значимой части ПО |
1431330409 |
|
Алгоритм вычисления цифрового идентификатора ПО |
CRC16 |
-
6.4 Опробование
При опробовании проверить работоспособность колонки в соответствии с указаниями, в руководстве по эксплуатации колонки.
Опробование колонок проводить при выдаче сжиженного газа. После подсоединения гидравлической и электрической систем произвести заполнение гидросистемы колонок сжиженным газом, прокачивая его насосом, для чего задать на задающем устройстве различные дозы и произвести пробные процессы выдачи сжиженного газа в соответствии с порядком, изложенным в технической документации на колонку. Указатель разового учета должен показывать нулевые показания автоматически, каждый раз после снятия раздаточного крана с колонок или показания, соответствующие заданной дозе, перед каждой выдачей дозы.
Для колонок исполнения «Corioduo» проводить опробование обоих каналов измерений массы / объёма сжиженного газа.
-
6.5 Определение относительной погрешности измерения массы (объёма) сжиженного газа
Определение относительной погрешности канала измерения массы сжиженного газа производить с использованием весов.
Определение относительной погрешности канала измерения объёма сжиженного газа производить с использованием мерника.
Для колонок исполнения «Corioduo» при использовании любого метода последовательно определять относительную погрешность обоих каналов измерений массы / объёма сжиженного газа.
-
6.5.1 Относительную погрешность измерения массы сжиженного газа определять путем сравнения массы сжиженного газа измеряемой колонкой со значениями, определёнными взвешиванием сжиженного газа, наливаемого в баллон. Указатель разового учета колонки перед выдачей каждой дозы массы сжиженного газа необходимо установить на ноль.
-
6.5.1.1 Определение относительной погрешности измерения массы сжиженного газа производить при следующих расходах сжиженного газа: от 1,0 Qmhh до 1,1 Qmhh и от 0,9 QMaxc до 1,0 QMaKC.
-
При каждом номинальном значении расхода выполняют по два измерения с задаваемой массой (4 - 5) кг.
-
6.5.1.2 Выполнить следующие действия:
-
6.5.1.2.1 Поместить пустой баллон на весы и определить его массу mgi-
-
6.5.1.2.2 Подключить раздаточный шланг к баллону и заполнить его сжиженным газом в соответствии с руководством по эксплуатации колонки при наименьшем расходе сжиженного газа и для одного из значений массы сжиженного газа, указанных в п. 6.5.1.1.
-
6.5.1.2.3 В процессе каждого заполнения баллона осуществлять в соответствии с указаниями РЭ колонки регистрацию значений следующих физических величин:
-
-
- массовый расход сжиженного газа;
-
- масса сжиженного газа, измеренная колонкой по показаниям счётчиков разового (тк) и суммарного учета (mKs);
-
- температура сжиженного газа;
-
- давление сжиженного газа.
-
6.5.1.2.4 Отсоединить раздаточный шланг от баллона и определить массу заполненного баллона Шб2.
-
6.5.1.2.5 Рассчитать разность масс заполненного и пустого баллона. Полученное значение будет соответствовать действительной (эталонной) массе сжиженного газа, закачанного в баллон.
тэ=тб2-Щб1 (!)
-
6.5.1.2.5.1 При наличии у весов функции выборки массы тары расчёт по формуле (1) не производится, а масса СУГ определяется непосредственным считыванием с табло весов.
-
6.5.1.2.6 Сжиженный газ из баллона после выполнения измерений откачивать в ёмкость для хранения в соответствии с руководством по эксплуатации колонки.
-
6.5.1.2.7 Повторить вышеуказанные действия для других значений массы сжиженного газа и расхода сжиженного газа, указанных в п. 6.5.1.1.
-
6.5.2 Определение относительной погрешности измерения объёма сжиженного газа с использованием мерника.
-
6.5.2.1 Определение относительной погрешности выдачи колонкой объёмной дозы сжиженного газа производить при следующих расходах сжиженного газа: от 1,0 Qmhh до 1,1 Qmhh и от 0,9 QMaKC до 1,0 Омаке. При каждом номинальном значении расхода выполняют по два налива сжиженного газа в мерник.
-
Относительную погрешность выдачи объёмной дозы определять путем непосредственного сравнения доз измеряемых колонкой со значениями объёма по мернику.
-
6.5.2.2 Подсоединить раздаточный шланг к мернику.
Указатель разового учета перед выдачей объемной дозы установить на ноль и зарегистрировать показания счётчика суммарного учета колонки (ИК£|).
-
6.5.2.3 В соответствии с указаниями документации на мерник и колонки наполнить мерник сжиженным газом. Зарегистрировать показания шкалы мерника и значения давления в мернике до и после его наполнения.
-
6.5.2.4 В соответствии с указаниями документации на мерник рассчитать значение объёма сжиженного газа в мернике Уэ (с учётом термодинамической поправки на разность давлений в мернике до и после налива сжиженного газа).
-
6.5.2.5 Повторить действия по п.п. 6.5.2.2 - 6.5.2.4 для всех точек налива, предусмотренных в п. 6.5.2.1.
-
6.5.2.6 Сжиженный газ из мерника после выполнения измерений откачивать в ёмкость для хранения в соответствии с руководствами по эксплуатации колонки и мерника.
-
6.5.3 Обработка результатов измерений
Значения относительной погрешности, %, измерения массы (объёма) сжиженного газа вычислять по формулам
8гП1 = 100*(miK- Ш|э) / mi3 (2)
SVi = 100*(ViK- Vi3) / У;э (3)
где тэ - эталонные значения массы СУГ по результатам взвешивания, кг;
Уэ - эталонные значения объёма по показаниям мерника, л;
mK (VK)- значения массы (объёма), измеренные колонкой, кг;
i - индекс порядкового номера измерения;
8m (8v) - относительная погрешность измерения массы (объёма) СУГ, %.
Результаты вычислений оформить протоколом произвольной формы.
-
6.5.7 Результаты испытания считаются положительными, если для всех измерений в точках измерений, предусмотренных п. 6.5.1.1 (6.5.2.1), полученные значения относительной погрешности измерений массы сжиженного газа не превышают ± 0,25%, а значения относительной погрешности измерений объёма сжиженного газа не превышают ± 1,0%.
-
6.6 Проверка соответствия показаний счётчиков разового и суммарного учета
-
6.6.1 Проверку соответствия показаний счётчиков разового и суммарного учета проводить одновременно с определением относительной погрешности колонки по п. 6.5.
-
Показания счётчика разового учета mK / VK и изменение показаний счётчика суммарного учета (mK£2 - mKxi) / (VKz2 - Vkei) не должны отличаться между собой (для колонок «Corioduo» по двум каналам измерений).
7 Оформление результатов поверки-
7.1 При положительных результатах поверки оформляют свидетельство о поверке в соответствии с установленным порядком или делают соответствующую запись в паспорте колонки. Нанести поверительное клеймо, в виде наклейки, на корпус колонки рядом с маркировочной табличкой.
-
7.2 Для защиты колонки от несанкционированного доступа произвести пломбирование узлов колонки в соответствии со схемами пломбировки, приведенными на рисунках 1-5.
-
7.2 При отрицательных результатах поверки колонку к применению не допускают, оттиск поверительного клейма гасят, свидетельство о поверке аннулируют, оформляют извещение о непригодности к применению с указанием причин в соответствии с установленным порядком.
Ведущий специалист ЗАО КИП «МЦЭ»
В.И. Митин

8
