Методика поверки «ГСИ. СКОБЫ РЫЧАЖНЫЕ» (МИ 1919-88)
Государственный комитет СССР по стандартам
МЕТОДИЧЕСКИЕ УКАЗАНИЯ
Зам. генерального директо


Государственная система обеспечения
единства измерений
СКОБЫ РЫЧАЖНЫЕ
МЕТОДИКА ПОВЕРКИ
МИ
Ленинград
1988
РАЗРАБОТАНЫ
Министерство станкостроительной и инет руме н т ал ьн о й пр о жшл е нн о с т и

Крайчик Д.Ю.
Ведущий конструктор Агальцез В.М.

Настоящие методические указания распространяются на скобы рычажные (далее - скобы) по 1У2-034-0221197-012-92 и устанавливают методику их поверки. Скобы подлежат ведомственной поверке. Рекомен дуемый межповерочный интервал - не более I года.
-
I. ОПЕРАЦИИ И СРЕДСТВА ПОВЕРКИ
При проведении поверки должны быть выполнены следующие операции и применены средства поверки с характеристиками, указанными в табл. I.
Таблица I
Наименование операции
Внешний осмотр Опробование Определение длины деления шкалы,ширины штрихов :
стрелки отсчетного устройства Определение измерительного усилия и колебания измерительного усилия
Определение шероховатости измерительных поверхностей и поверхностей
Номер пункта МИ
-
4.1
-
4.2
-
4.3
4.4
4.5
Средства поверки и их нормативно-технические характеристики
Инструментальный микро
скоп по Г0СТ8074-82
Весы для статического го взвешивания с ценой деления 5 г и диапазоном взвешивания
■*> •
от 100 г до 10 кг по ГОСТ 23676-79.
Стойка типа С-П-125x125 Г0СТ10197-70.
Шарик от 2 до 10 мм по ГОСТ 3722-81.
Кронштейн (см.приложение I)
Образцы шероховатости 0,04-ШП и 3,2-ШП по ГОСТ 9378-75
Обязательность проведения операции при
вылус—выпус--эксплу— ке из!ке из атации произ4ремон-водст-^та
Да
Да
Дах
Да
Да
Да
Да
Да**
Да
Да
Нет
Да
Да
Да
Да
упоро:
Наименование операции
► ■ 1 1
Определение откло-
I нений от плоскост- !
I
* ности и параллель- I ности измерительных поверхностей
Определение изменения показаний при нажиме на измерительные стержни в направлении,перпендикулярном к линии измерения
Определение погреш-" ности и размаха показаний отсчетного устройства
Продолжение тавл.1
Номер Средства поверки и их • Обязательность пропункта нормативно-техничес- ; ведения операции пр; МИ кие характеристики ■ выпус-!выпус- эксп-
• ке из 1ке из луата-
: ■ произ-ремо- ции
: водст-гнта
! ва i
I
т
Да'
t
4.6
4.7
4.8
и я:
ь
: Пластины плоскопарал- ;
I лельныв стеклянные по : ТУЗ-З.2122-88.
Меры длины концевые плоскопараллельные
j 3 разряда МИ1604-87 Граммометр ГО,25-1,5 ТУ25-02.021301-78
4
*
I
I
h
r
* I i I i I I a i I v I
Меры длины концевые плоскопараллельные
3 разряда МИ16О4-87 Приспособление с до полнительной пяткой (см.приложение 2).
Стойка (см.приложение 3)
Да
Да
Да
Нет
t r
I
r
Да
Примечан
I. Допускается применять другие средства поверки
с аналогичными характеристиками. При этом средства поверки, указанные в табл.1, являются арбитражными.
-
2. х0перация проводится выборочно в соответствии с Г0СТ18242-72 и приемочным уровнем дефектности меньше 1%.
-
3. ^Операция проводится при замене шкалы или стрелки.
-
2. ТРЕБОВАНИЯ БЕЗОПАСНОСТИ
-
2.1. При подготовке к проведению поверки следует соблюдать правила пожарной безопасности, установленные для работы с легковоспламеняющимися жидкостями, к которым относится бензин, используемый для промывки скобы и плоскопараллельных концевых мер длины.
-
2.2. В помещении, где производят промывку, должны быть предупре дательные знаки и сигнальные цвета по ГОСТ 12.4.026-76. Запрещено пользоваться открытым огнем, применять электробытовые приборы.
-
-
3. УСЛОВИЯ ПОВЕРКИ И ПОДГОТОВКА К НЕИ
-
3.1. При проведении поверки должны быть соблюдены следующие
-
условия:
температура окружающего воздуха в помещении (20+3)°C, скорость изменения температуры не должна превышать 0,5°С/ч, относительная влажность не более 80$ при температуре 25°С, атмосферное давление (101,3+4)кПа.
-
3.2. Перед проведением поверки смазанные наружные части скоб и плоскопараллельные концевые меры длины должны быть промыты бензином по ГОСТ 1012-72, протерты хлопчатобумажной салфеткой и выдержаны на рабочем месте.не менее 3 ч.
-
4. ПРОВЕДЕНИЕ ПОВЕРКИ
-
4.1. При внешнем осмотре должно быть установлено соответствие скобы следующим требованиям:
-
измерительные поверхности должны быть оснащены твердым сплавом; наружные поверхности, за исключением подвижной и переставной
пяток, должны иметь противокоррозионные покрытия;
скобы должны быть оснащены теплоизоляционными накладками и указателями пределов допуска;
комплектность скобы должна быть проверена сличением с паспортом 01002.ОООПС;
маркировка и упаковка должны соответствовать ГОСТ 13762-86.
-
4.2. Установить опробованием:
конец стрелки должен перекрывать короткие штрихи шкалы не менее чем на 0,3 и не более чем на 0,8 их длины;
указатели пределов допуска должны устанавливаться в любом месте шкалы и не смещаться с установленного положения.
При полном арретировании подвижной пятки стрелка должна находиться слева вне шкалы, а при свободном положении подвижной пятки - справа вне шкалы.
Высоту расположения стрелки над шкалой проверяют по параллаксу,
определяемому на участке, выбранном визуально по наибольшей высоте стрелки над шкалой при ее повороте на весь диапазон показаний пошкаг ле. Скобу располагают относительно наблюдателя так, чтобы линия визирования была перпендикулярна к поверхности шкалы, и производят отсчет. Затем поворачивают скобу вокруг стрелки как оси так, чтобы новая линия визирования составляла с первоначальной угол 45°,и сно
ва производят отсчет. После этого скобу поворачивают в противоположную сторону на угол 45° относительно перпендикуляра к поверхности шкалы, и снова производят отсчет. Абсолютное значение разности между
первоначальным и каждым из двух последующих отсчетов не должно превышать 0,5 деления шкалы.
-
4.3. Длину деления и ширину штрихов шкалы отсчетного устройства ширину части стрелки, находящейся над штрихами шкалы,измеряют на ф-универсальном или инструментальном микро.окопе. На шкале измеряют расстояние между осями соседних штрихов в наиболее узком месте на трех участках,, равномерно расположенных по шкале. На шкале измеряют
ширину не менее трех штрихов, равномерно расположенных по шкале.
Длина деления шкалы отсчетного устройства должна быть не менее 0,9 мм.
Ширина штрихов шкалы должна быть в пределах (0,15-0,25) мм. Разность между шириной отдельных штрихов шкалы не должна превышать 0,05 мм.
Ширина части стрелки, находящейся над штрихами шкалы, должна быть в пределах (0,15-0,20) мм.
-
4.4. Измерительное усилие скобы и его колебание определяют при
помощи весов для статического взвешивания при контакте измерительной поверхности подвижной пятки с шариком, закрепленным (например, пластилином) на площадке весов. При этом скобу закрепляют в стойке
при помощи кронштейна.
Опускают скобу до совмещения стрелки с крайним делением мину-
совой части шкалы и отсчитывают показание весов. Затем при совмеще нии стрелки с крайним делением плюсовом части шкалы отсчитывают второе показание весов. Большее из двух показаний весов определяет
измерительное усилие.
Разность

показаний весов

значению колебания измери-
тельного усилия.
Измерительное усилие

значениям, указанным в табл. 2.
Таблица 2
Верхний предел измерений, мм
Измерительное усилие, Н
до 50
св.50
Колебание измерительного усилия, Н, не более
-
1
-
2
-
4.5. Шероховатость измерительных поверхностей скобы и поверхностей упоров определяют сравнением с соответствующими образцами шероховатости.
Параметр шероховатости измерительных поверхностей скобы - Ra^0,C4 : мкм, упоров - Ra^3,2 мкм по ГОСТ 2789-73.
-
4.6. Отклонение от плоскостности измерительных поверхностей определяют интерференционным методом при помощи стеклянной плоскопараллельной пластины.
Стеклянную пластину накладывают на контролируемую поверхность и определяют отклонение от плоскостности по числу наблюдаемых интерференционных колец (полос).
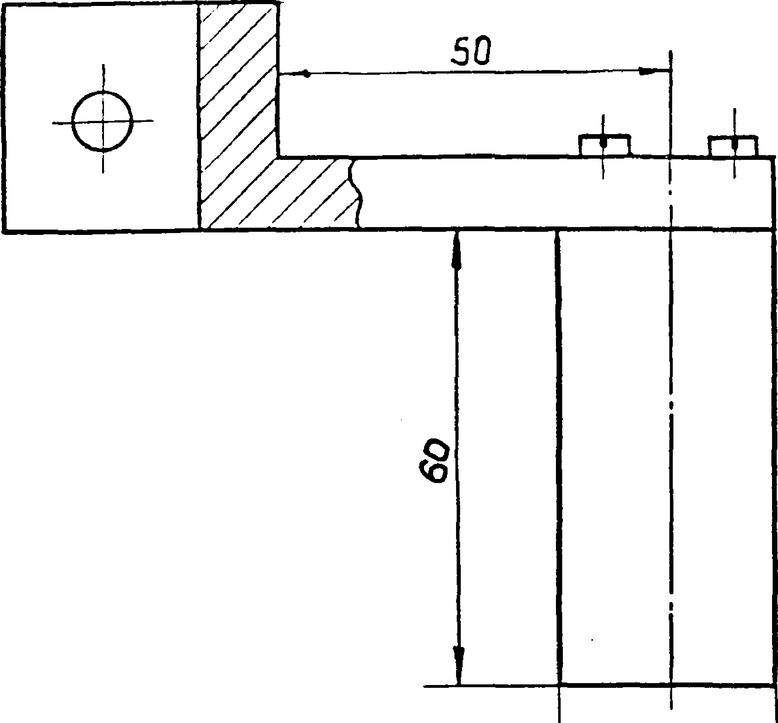
Отклонение от параллельности измерительных поверхностей скоб с верхним пределом измерений до ICC мм определяют при застопоренной гайке при помощи плоскопараллельных стеклянных пластин близких по размеру к верхнему пределу измерений скобы. Пластину помещают между измерительными поверхностями пяток при показании скобы, равным нулю, и подсчитывают число интерференционных полос, наблюдаемых между поверхностями пластины и измерительными поверхностями пяток. Пластину устанавливают между пятками так, чтобы число полос было наименьшим.
Отклонение от параллельности измерительных поверхностей скоб с верхним пределом измерений свыше 100 мм определяют при застопоренной гайке
при помощи концевых мер длины с размером, равным верхнему пределу измерений скобы. Меру или блок последовательно устанавливают между измерите
льными поверхностями в четырех положениях, указанных


приложении 4.
Для исключения влияния отклонения от параллельности измерительных
поверхностей концевых мер их устанавливают между измерительными поверхностями скобы одним и тем же краем А. Отклонение от параллельности измерительных поверхностей скобы определяют как наибольшую разность показаний отсчетного устройства при четырех положениях меры.
Допуск плоскостности измерительных поверхностей скоб с верхним пределом измерений до 50 мм - I интерференционная полоса, свыше 50 мм -

2 интерференционные полосы. Допускаются завалы на расстоянии 0,2 мм от краев измерительных поверхностей для скоб с верхним пределом измерений до 50 мм и на расстоянии 0,5 мм - для скоб с верхним пределом измерений свыше 50 мм.
Допуск параллельности измерительных поверхностей скоб должен соответствовать значениям, указанным в табл. 3.
Таблица 3
Диапазон измерений, ш |
0-25 |
25-50 |
50-75 |
75-100 |
100-125 |
125-150 |
допуск параллельности измерительных поверхностей, мкм |
0,9 |
0,9 |
----— 1 го о |
2,5 |
3,0 |
3,5 |
примечание. Одна интерференционная полоса соответствует отклонению от параллельности 0,3 мкм.
-
4.7. Для определения изменения показании при натиме на изме рительные стержни в направлении, перпендикулярном оси усилием IH, скобы устанавливают на При этом в скобы с верхним пределом ливают плоскопараллельную концевую
стержня с к нулевому мм устанав
показание, близкое измерений более 25 меру длины.
около измерительных поверхнос-усилие IH последовательно в двух При этом наблюдают каэдый раз ___
К измерительным стержням скоб тел щупом граммометра прикладывают взаимно перпендикулярных направления::, за изменением показаний отсчетного устройства.
Изменение показаний по шкале отсчетного устройства не должно превышать 0,5 деления.
-
4.8. Погрешность отсчетных устройств и размах показаний определяют в нескольких отметках шкалы при помощи концевых мер длины 3 разряда при вертикальном и горизонтально:.: положениях отсчетного устройства. При всех поверках положение линии измерения - горизон-т альное•
-
4.8.1. Погрешность отсчетного устройства скобы с верхним пределом измерений 25 мм определяют в последовательности, изложенной ниже. Концевую меру размером 1,07 мм помещают между измерительными поверхностями. Скобу настраивают на нуль по отсчетному устройству. В этом положении необходимо гайкой закрепить переставную пятку. Не меняя положения скобы и удалив меру размером 1,07 мм, последователь но помещают на ее место меру размерами 1,10; 1,14 мм для поверки отсчетного устройства в точках плюсовой части шкалы и концевые меры размерами 1,04 и 1,00 мм для поверки отсчетного устройства в
-
точках минусовой части шкалы. При это.м отсчеты снимают по шкале отсчетного устройства. Разность между показалиями отсчетного устройства и разностью действительных размеров концевых мер длины равна погрешности отсчетного устройства на поверяемом участке шкалы.
Допускается применять концевые меры длины других номинальных размеров, но с разностью размеров, обеспечивающей поверку на тех же отметках шкалы: +0,03; +0,07 мм.
4.0.2. Погрешность отсчетного устройства скобы с верхним проделом измерений 50 мм определяют по методике, изложенной в п.4.8.1. При этом на выступающую часть переставной пятки скобы необходимо надеть приспособление с дополнительной пяткой и между измерительной поверхностью подвижной пятки и насадки поместить концевые меры длины.
-
4.8.3. Погрешность отсчетного устройства скоб с верхним пределом измерений свыше 50 мм определяют по методике, изложенной в п.4.8.2. При этом настройка на ’’О" производится по концевой мере длины разме-
Ф ром 1,14 мм, для определения погрешностей в точках минусовой части шка ф лы используют меры 1,08 мм и 1,00 мм, а в точках плюсовой части шкалы *• меры 1,20 мм и 1,28
г. м.н
Xi-L-al •
с определением погрешности отсчетного ус-определить размах показаний арретированием положениях стрелки; в середине шкалы и двух
-
4.8.4. Одновременно тройства скоб необходимо подвижной пятки при трех крайних ее отметках (не менее 10 раз в каждом положении). После каждого арретирования следует произвести отсчет показаний» Разность меж ду наибольшим и наименьшим показаниями принимают за размах показаний (для каждого положения стрелки).
-
4.8.5. Пределы допускаемых погрешностей скоб по отсчетному ус
тройству в любом рабочем положении должны соответствовать значениям,
указанным в табл. 4.
Верхний предел измерений, мм






Таблица 4
Предел допускаемой погрешности на участках
шкалы, мкм
— — |
г |
+ 30 дел. |
более + 30 дел. |
+ 0,7 |
± 1Л |
+ 1,0 1 |
+ 2,0 |
Размах показаний не должен превышать 0,3 деления.
IO
5. (КОРМЛЕНИЕ РЕЗУЛЬТАТОВ ПОВЕРКИ
-
5.1. Положительные результаты первичной поверки скоб предприятие-изготовитель оформляет отметкой в паспорте, заверенной поверителем.
-
5.2. На скобы, признанные годными при государственной периодической поверке, выдают свидетельство по форме, установленной Госстандартом СССР.
-
5.3. Положительные результаты периодической ведомственной по
верки оформляют отметкой в документе, составленном ведомственной метрологической службой. .с
-
5.4. Скобы, не удовлетворяющие требованиям
применению не допускаются и на них выдают извещение о непригодности
с указанием причины.

Л.Я.Горохов
Ю.З.Тененбаум
Д.Ю.Крайчик
В.М.Агальцев
Главный конструктор
Главный метролог
Начальник КБ
Ведущий конструктор
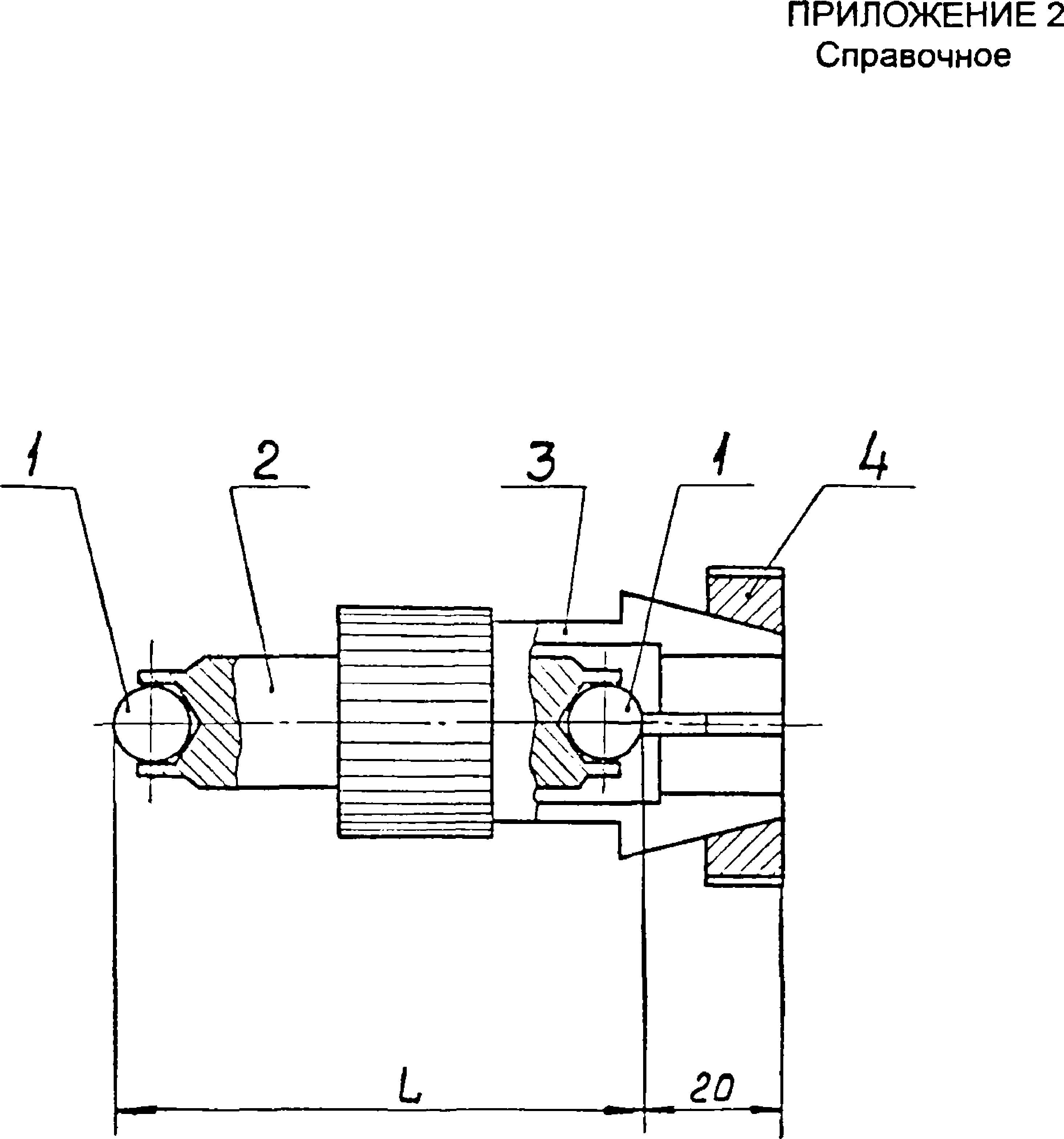
ПРИЛОЖЕНИЕ 1 Справочное
Кронштейн



1- шарик, 2-ось, 3- цанга, 4- кольцо
мм
Диапазон измерений |
L |
25-50 |
26 |
50-75 |
51 |
75-100 |
76 |
100-125 |
101 |
125-150 |
126 |
ПРИЛОЖЕНИЕ 3
Справочное
Стойка для определения погрешности

1- основание, 2- винт, 3- гайка, 4- неподвижная губка, 5- подвижная губка
ПРИЛОЖЕНИЕ 4 Справочное

«1- 4» - положения плоскопараллельной концевой меры длины