Руководство по эксплуатации «ВИБРОПРЕОБРАЗОВАТЕЛИ ДВП » (4277-009-95218262-2018 РЭ)
УТВЕРЖДАЮ
В части раздела 6 «Методика поверки» Заместитель директора

метрологии
Иванникова
2019 г.
УТВЕРЖДАЮ
директор

Группа П17
ОКП 42 7700 2
_Q^JlLdUilLiL
2018

Инв.№подп, Г Подп. и дата 1 Rm< Им № I Инв № I Попп и пата
Описание и работа.........................................................
Назначение................................................................
Условия эксплуатации.......................................................
Технические данные..........................................................
Конструктивные особенности..................................................
Связи с системами верхнего уровня.........................................
Устройство и работа вибропреобразователей.............................
Комплект поставки................................................................
Маркировка.........................................................................
Упаковка....................................................................
Использование по назначению........................................
Подготовка к работе.....................................................
Указание мер безопасности............................................
Охрана окружающей среды............................................
Техническое обслуживание............................................
Общие указания...........................................................
Текущий ремонт..........................................................
Транспортирование и хранение..............................................
Гарантии изготовителя.........................................................
Методика поверки................................................................
Операции поверки.........................................................................
Средства поверки..........................................................................
Опробование.....,............................................................................
Определение метрологических характеристик..........................
Оформление результатов поверки..............................................
Приложение А Габаритный чертеж вибропреобразоватёля.....
Приложение Б Схема подключения вибропреобразователя.... Приложение В Чертежи кронштейнов для установки датчика Приложение Г Форма протокола поверки............................
Приложение Д Перечень ссылочных документов................
4
4
4
6
8
8
8
-
9
-
10
И
12

....... 14 ;
......16
..... и17 ‘
..... ' 18
...
.. г,19
. ' 19 -
.. - ‘20 -
.......24.
....... 26 '
• X 32 !J
Jt 4 I* - -
.....< & 34 -t.

f- к wt-:»-if *»■** T s
^■r c












а & > ,<ф«
Предприятие-изготовитель оставляет за собой право вносить в конструкцию вибропреобразователей непринципиальные изменения и усовершенствования,^ не ухудшающие его характеристики, без отражения их в данном руководстве по эксплуатации.
-
1.1 Руководство по эксплуатации 4277-009-95218262-2018 РЭ распространяется на вибропреобразователи серии ДВП со встроенным преобразователем, имеющие унифицированный выходной сигнал.
-
1.2 Вибропреобразователь соответствует ГОСТ Р 55260.3.2-2013, ГОСТ Р 55260.3.3-2013, ГОСТ 30296-95, ГОСТ 25275-82, ГОСТ 26044-83, ГОСТ Р 52931-2008, ГОСТ 26.011-80, СТО 17330282.27.140.001-2006.
йхеЦ й'LiLbjj | ох'нии | ghf ЛиЦ | вхв^и пЕоц | inrou oj/wm
-
1.3 Настоящее руководство по эксплуатации содержит сведения о конструкции,
принципе действия, параметрах и характеристиках вибропреобразователя, а так же указания, необходимые для правильной и безопасной его эксплуатации и предназначено для обучения персонала эксплуатирующей организации правилам эксплуатации вибропреобразователей на объекте. >
i
-
1.4 Руководство по эксплуатации выполнено адаптированным для конкретного объекта,
который указывается в настоящем разделе. >
Объект:_____________________________________________________________________
(указатьобъект) 'v'**’ '
-
1.5 В приложениях даны габаритные размеры вибропреобразователя и схема внешних соединений.
-
1.6 Руководство по эксплуатации 4277-009-95218262-2018 РЭ может дополняться
новыми разделами при расширении номенклатурного ряда вибропреобразователя или его модернизации. * *■ *
< - t
•4 ,
■
.ЛЬ'?1-.чь-
: оЗЛ
• ;*«•
-at-.11 :
■
i • к i
4277-009-95218262-2018 РЭЛист
:3".
■> ч

«... ,
.. .
W
-
1.1.1 Вибропреобразователи предназначены для измерения абсолютных низкочастотных виброперемещений, а также передачи данных в систему верхнего уровня.
-
1.1.2 Область применения: центробежные насосные агрегаты, паровые и газовые турбины, турбокомпрессоры, электрические генераторы, гидротурбины и другое оборудование, подверженное вибрации во время его эксплуатации, в том числе оборудование газо- и нефтеперекачивающих станций, энергетических установок тепловых и гидроэлектростанций и т.д.
-
1.1.3 Вибропреобразователь выполняет следующие основные функции:
-
- измерение текущих значений виброперемещения;
-
- обработка и выдача мгновенных значений виброперемещения в виде унифицированного сигнала по переменному току.
-
1.1.4 Вибропреобразователи образуют унифицированный ряд, имеют однотипное конструктивное исполнение чувствительного элемента, внешнего вида датчика и отличаются диапазоном измерений основной контролируемой величины, рабочим диапазоном частот, длиной и исполнением кабеля (разъем, свободные концы), исполнением установочной поверхности (с 3 крепежными отверстиями - базовое исполнение или по заказу, с ,4 крепежными отверстиями для замены АНС 114-07С изготовления до 2018 г.).
Обозначение вибропреобразователя при заказе состоит из основной и дополнительной аббревиатуры.
Основная аббревиатура (обязательная, указывается на корпусе): ДВП (тип датчика)., Дополнительная аббревиатура (указывается в паспорте и на дополнительной бирке после основной аббревиатуры).
Инв.№ подл. I Подп. и дата | Изам. Инн № I Инв К» I Попп, и мата

Или
Н - Исполнение кабеля со свободными концами.
DL - Длина кабеля (в примере, ДЬ= 10 м,
М - металлорукав).
С - Верхняя граница диапазона рабочих частот, Гц (в примере 200 Гц).
В - Нижняя граница диапазона рабочих частот, Гц (в примере 0,7 Гц). ?
А - Диапазон измерений размаха виброперемещений (в примере 1000 мкм).
' ,4
ДВП-А-В/С-РДВП-1000П-0,7/200-Р_|—Р - Исполнение датчика с диапазоном измерения размаха* * виброперемещения 1000 мкм, диапазоном рабочих частот 0,7. ..200 Гц; без кабеля, с разъемом типа 2РМГ14Ш1В1Е2 на
корпусе. , '
Переменные величины уточняются при заказе вибропреобразователя и указываются в дополнительной аббревиатуре его шифра.
Дополнительно в комплект поставки может быть включен модуль гальванической развязки МГР с выходным сигналом по переменному току или напряжению.
Лист
Пример записи обозначения вибропреобразователя ДВП с кабелем:
-
- при заказе (в качестве покупного) -
вибропреобразователь ДВП-А-В/C-DL-H ТУ 4277-009-95218262-2018:
-
- в конструкторской документации других изделий -
вибропреобразователь ДВП-А-В/C-DL-H PBTB.433642.004-A-B/C-DL-H.
Пример записи обозначения вибропреобразователя ДВП без кабеля с разъемом на корпусе:- при заказе (в качестве покупного) -
вибропреобразователь ДВП-А-В/С-Р ТУ 4277-009-95218262-2018;
- в конструкторской документации других изделий -
вибропреобразователь ДВП-А-В/С-Р РВТБ.433642.004-А-В/С-Р.
1.2 Условия эксплуатации-
1.2.1 Вид климатического исполнения УХЛ 4.1 по ГОСТ 15150-69.
-
1.2.2 Степень защиты от проникновения твердых тел и воды соответствует маркировке IP68 по ГОСТ 14254-96 (МЭК 529-89).
1.2.3 Нормальные условия применения:
-
- температура окружающего воздуха, °C
-
- относительная влажность воздуха, °C
-
- атмосферное давление, кПа
20 + 5
-
30.. . 80
-
84.. . 106,7
exeu и Liuojj | ojj UhH | <>Я | Biciz И'ПУРЦ | irirou бхяни
1.2.4 Рабочие условия применения:
-
- температура окружающего воздуха, °C
-
- относительная влажность воздуха при
температуре 30 °C, %, не более
-
- атмосферное давление, кПа
минус 40...+80
до 100
70... 106,7
1.2.5 Предельные условия транспортирования и хранения:
-
- температура окружающего воздуха, °C минус 50.. .+70
-
- относительная влажность воздуха при
температуре 35 °C, %, не более
-
- атмосферное давление, кПа
98
60...106,7
■я-
’ 1- '
500 м/с2 й
с, ударным
• '-.•гй -ч -+ ‘ А-
1.2.6 Вибропреобразователи устойчивы и прочны к воздействию:
-
- механических ударов многократного действия с ударным ускорением до длительностью ударного импульса от 20 до 50 мс;
-
- механических ударов одиночного действия в основном направлении ускорением до 10000 м/с2(1000 g) и длительностью импульса (80 ± 20) мкс;
-акустического шума с уровнем звукового давления 120 дБ в диапазоне частот от 50 до 10000 Гц;
-
- постоянных магнитных полей напряженностью до 400 А/м;
Лист
-
- переменных магнитных полей частотой 50 Гц и напряженностью до 400 А/м;
-
- образованию инея и выпадения росы;
-
- плесневых грибов не более 3 баллов по ГОСТ 9.048-89;
-
- индустриальных радиопомех согласно "Общесоюзным нормам допускаемых индустриальных помех;
-
- коррозионно-активных агентов окружающей среды:
сернистого газа - от 20 до 110 мг/м2*сут.,
хлоридов - 30 до 300 мг/м2*сут;
-
- загазованности с содержанием до 50 % НКПВ по метану.
1.2.8 Вибропреобразователи устойчивы к воздействию внешнего электромагнитного поля напряженностью до 0,3 Тл.
Инв.№подл. | Подп.идата I Вчам Инн. № I Инв. № I Попп, и лата
-
1.3.1 Вибропреобразователи соответствуют требованиям ГОСТ Р 55260.3.2-2013, ГОСТ Р 55260.3.3-2013, ГОСТ 30296-95, ГОСТ 25275-82, ГОСТ 26044-83, ГОСТ 26.011-80, СТО 17330282.27.140.001-2006, требованиям технических условий 4277-009-95218262-2018 и комплекту конструкторской документации.
-
1.3.2 Питание вибропреобразователя осуществляется от источника постоянного тока напряжением от +12 до +36 В.
-
1.3.3 Диапазон измерения размаха виброперемещения, мкм: Г
от 5 до 500; ' *,
от 5 до 1000;
от 10 до 2000.
-
1.3.4 Номинальные значения коэффициента преобразования для вибропреобразователей:
-
1) с выходом по переменному току на базовой частоте 7 Гц, мкА/мкм:
-
2) с выходом по напряжению переменного тока от 1 до 5 В на базовой частоте 7 Гц,
мВ/мкм: . .. L,
-
3) с выходом по напряжению переменного тока от 2 до 10 В на базовой частоте 7 Гц, мВ/мкм:
-
- для диапазона измерений от 5 до 500 мкм
-
- для диапазона измерений от 5 до 1000 мкм
-
- для диапазона измерений от 10 до 2000 мкм
Базовое исполнение датчика выполняется с выходным сигналом по току. Выходной сигнал по напряжению выполняется по заказу. Выходной сигнал по напряжению обеспечивается при сопротивлении нагрузки 250 Ом или 500 Ом.




Лист
Инв.№подл. | Подп. и дата I Вчам. Ими № I Инн. № I Попп, и лата
1.3.5. Пределы допускаемого отклонения действительного значения коэффициента преобразования от номинального значения на базовой частоте 7 Гц не более ±5%.
-
1.3.6 Диапазоны рабочих частот:
от 0,5 до 200 Гц;
от 0,7до 200 Гц (базовое исполнение);
от 0,7 до 500 Гц.
-
1.3.7 Неравномерность амплитудно-частотной характеристики (АЧХ):
-
1) для диапазона рабочих частот от 0,7 до 200 Гц относительно базовой частоты 7 Гц в диапазонах частот, %, не более:
-
2) для диапазона рабочих частот от 0,5 до 200 Гц относительно базовой частоты 7 Гц в диапазонах частот, %, не более:
-
3) для диапазона рабочих частот от 0,7 до 200 Гц относительно базовой частоты 7 Гц в диапазонах частот, %, не более:
Примечания:
-
1. Диапазон измерения, диапазон рабочих частот могут исполняться по требованию потребителя в пределах, указанных в пп. 1.3.3, 1.3.6, что уточняется при заказе вибропреобразователя.
-
2. В паспорте вибропреобразователя указывается действительный коэффициент преобразования, исполнение вибропреобразователя - в дополнительной аббревиатуре шифра вибропреобразователя в соответствии с п. 1.1.4
1.3. 8 Относительный коэффициент поперечных преобразований вибропреобразователя не более 3%.
1.3.9 Нелинейность амплитудно-частотной характеристики на базовой частоте 7 Гц составляет не более ±5%. » •
1.3.10. Среднеквадратическое значение уровня шумов выходного сигнала составляет более ±0,5 % от диапазона измерений. .
-
1.3.11 Пределы допускаемого отклонения действительного значения коэффициента преобразования, вызванного изменением температуры окружающей среды от нормальных до конечных значений диапазона рабочих температур, от действительного значения коэффициента преобразования при нормальных условиях не более ±5 %.
-
1.3.12 Сопротивление изоляции между электрически разобщенными цепями при нормальных условиях не менее 20 МОм.
-
1.3.13 Вибропреобразователи в упаковке для транспортирования сохраняют свои характеристики после воздействия предельных климатических условий транспортирования, указанных в п. 1.2.5.
4277-009-95218262-2018 РЭ
Лист
7
вхии k duojj [ o}f aUh j otf wbbH | RLBir И ШГоц" |~'in?ousxани
-
1.3.14 Вибропреобразователи в транспортной таре выдерживают без повреждении в течение 1 ч транспортную тряску с числом ударов от 80 до 120 в минуту с максимальным ускорением 30 м/с2.
-
1.3.15 Время установления рабочего режима не более 5 мин.
-
1.3.16 Вибропреобразователь имеет защиту от напряжения питания обратной полярности.
-
1.3.17 Ток потребления (начальный рабочий ток) для вибропреобразователя по цепи питания составляет:
-
- при включении питания не более 35 мА;
-
- в режиме измерения не более 25 мА;
-
- с модулем гальванической развязки МГР не более 60 мА.
-
1.3.18 Вибропреобразователь относится к невосстанавливаемым изделиям.
-
1.3.19 Режим работы вибропреобразователей непрерывный с периодическим отключением для профилактических работ.
-
1.3.20 Наработка на отказ вибропреобразователей 50000 ч при вероятности безотказной
работы 0,95. • *
-
1.3.21 Срок службы вибропреобразователей не менее 12 лет.
-
1.3.22 Назначенный ресурс вибропреобразователя не менее 100000 ч.
-
1.4 Конструктивные особенности
-
1.4.1 Корпус вибропреобразователя изготавливается из сплава алюминия.
-
1.4.2 Масса вибропреобразователя (без кабеля) не более 0,20 кг.
-
1.4.3 Габаритные размеры вибропреобразователя приведены в приложении А.
-
1.5 Связь с системами верхнего уровня
-
1.5.1 Для передачи сигнала в систему измеряемых параметров верхнего уровня (АСУ ТП, телемеханика) используется аналоговый сигнал по току 4...20 мА или по напряжению 1...5 В или 2...10 В, или -1...-19 или -2...-18 (определяется исполнением вибропреобразователя и указывается в паспорте).
-
1.5.2 Длина линий связи между вибропреобразователем и приемным устройством
выходного сигнала до 1000 м. : < ■-
-
1.6 Устройство и работа вибропреобразователя
-
1.6.1 Вибропреобразователь состоит из чувствительного элемента и встроенного преобразователя.
-
1.6.2 Чувствительный элемент - пьезоэлектрический преобразователь ускорений инерционного действия генераторного типа. Принцип действия вибропреобразователя основан на использовании явления пьезоэффекта. При воздействии вибрации пьезоэлемент деформируется (изгибается) под действием инерционной силы, пропорциональной действующему ускорению. При этом на обкладках пьезоэлемента появляется знакопеременный заряд, пропорциональный в рабочей полосе частот действующему ускорению.
-
1.6.3 Встроенный преобразователь включает следующие основные узлы:
-
- усилитель заряда;
-
- 2 интегратора; ;
-
- фильтр нижних частот; ’
-
- фильтр верхних частот;
- узел преобразования сигнала в переменный ток в шкале 4...20 мА;
Лист | ||||||
4277-009-95218262-2018 РЭ |
8 | |||||
-
- узел защиты от перенапряжения и обратной полярности.
-
1.6.3.1 Усидитель заряда согласовывает выходной сигнал вибропреобразователяТс входом нормирующего усилителя.
-
1.6.3.2 Интегратор производит интегрирование электрического сигнала и формирование амплитудно-частотной характеристики канала измерения. Виброускорение, информация о котором в виде электрического сигнала имеется на выходе вибропреобразователя, есть вторая производная по времени от перемещения. В схеме нормирующего усилителя происходит двойное интегрирование и преобразование виброускорения в виброперемещение.
-
1.6.3.3 Фильтры верхних и нижних частот выполнены двухкаскадными и служат для выделения рабочей полосы сигнала. Узел фильтрации включает масштабирующий усилитель с автоматической регулировкой коэффициента усиления. Схемы ФНЧ одновременно являются усилителями сигнала виброперемещения.
-
1.6.3.4 Токовый преобразователь служит для преобразования выходного сигнала по переменному напряжению в сигнал по переменному току в шкале 4...20 мА.
-
1.6.3.5 Плата преобразователя залита компаундом и .установлена внутри корпуса вибропреобразователя с дополнительным экранированием, что обеспечивает повышенную помехозащищенность от электростатических и электромагнитных воздействий.
-
1.6.3.6 Вибропреобразователь может поставляться с модулем гальванической развязки, обеспечивающим:
-
- гальванически развязанный выходной сигнал по току; ~ ” х
-
- гальванически развязанный/неразвязанный выходной сигнал по напряжению в стандартных шкалах 1 ...5 В или 2...10 В;
-
- выходной сигнал по напряжению -1...-19 В или -2...-18 В для применения в системах зарубежного производства.
Инв.№ подл. I ПодпГи дата | Взам Иии № I Инн № I Попп, и пата
1.7.1 В комплект поставки входят:
Наименование |
Обозначение |
Кол-во, шт. | |
1 |
Вибропреобразователь |
РВТБ.433642.004 (далее по заказу) |
1 |
2 |
Руководство по эксплуатации с методикой поверки |
4277-009-95218262-2018 РЭ |
1 1 |
3 |
Паспорт |
4277-009-95218262-2018 ПС |
1 |
4 |
Дополнительные принадлежности: | ||
4-1 |
Кабель "Выход" |
РВТБ.685611.101/ДЬ |
|ПрИМ |
4-2 |
Комплект монтажных частей | ||
Пластина |
РВТБ.734341.010 |
1^'4 | |
Пластина-изолятор |
РВТБ.734341.011 |
1 | |
Комплект крепежных элемен-тов (винты, шайбы, магниты) |
по заказу |
|ПрИМ | |
4-3 |
Модуль гальванической развязки |
РВТБ.405500.001 (далее по заказу) |
2 прим |
Примечания:
-
1 L - длина кабеля датчика в м.
-
2 Комплектность и наличие уточняются в паспорте на конкретный вибропреобразователь при поставке.
Лист
4277-009-95218262-2018 РЭ 1.8 Маркировка-
1.8.1 Маркировка вибропреобразователя ГОСТ 18620-86 и чертежам предприятия-изготовителя.
-
1.8.2 Маркировка выполняется на всех составных частях вибропреобразователя, входящих в его комплект поставки (датчике - вибропреобразователе ДВП, кабеле, модуле гальванической развязки).
-
- шифр изделия, например, ДВП;
-
- заводской номер;
-
- знак утверждения типа.
Основная маркировка выполняется на верхней крышке датчика на шильде.
Дополнительная маркировка (указывается в паспорте для каждого типа датчика и на дополнительной бирке на кабеле для датчика с неразрывным кабелем)
ДВП -А

1000П диапазон измерений контролируемой величины (размах виброперемещений 1000 мкм)
0,7 нижняя граница диапазона рабочих частот (0,7 Гц)
200 верхняя граница диапазона рабочих частот (200 Гц)
далее для датчика с разъемом на корпусе-Р
Р исполнение датчика без кабеля с разъемом типа 2РМГ на корпусе
BXBU И1111ЦЦ I ON ими I оя ш!и меьа | B1BC и пРоц I ircou ^ яиц
-DL Д10 длина кабеля датчика, в м (в примере 10 м) ’
или Д10М кабель датчика длиной 10 м в металлорукаве или Д10МТ кабель датчика длиной 10 м в металлорукаве и
и изоляционном покрытии
-
1.8.2.2 Кабель (для датчика с разъемом) имеет маркировку, содержащую:
-
- обозначение изделия РВТБ.685611.101;
-
- длину кабеля датчика (указывается в м; например, /ДЮ).
Дополнительно могут добавляться буквы "М" (металлорукав), "Т" (изоляционное покрытие).
Маркировка выполняется на клейкой пленке на конце кабеля датчика.
1.8.2.3 Модуль гальванической развязки имеет маркировку, содержащую:-
- шифр изделия МГР;
-
- вид выходного сигнала (по напряжению "-Н" или по току "-Т").
Дополнительно может добавляться аббревиатура, означающая совместимость с системами разных производителей. Маркировка выполняется на шильдике, расположенном на боковой поверхности модуля.
-
1.8.3 Транспортная маркировка тары соответствует ГОСТ 14192-96, чертежу предприятия-изготовителя и содержит:
а) манипуляционные знаки: «Хрупкое. Осторожно», «Беречь от влаги», «Верх»;
Лист
4277-009-95218262-2018 РЭ10
Инв,№подл. I Подп.идата I Нчям Инн № I Инн № I Попп, и пата
б) основные надписи: полное или условное, зарегистрированное в установленном порядке, наименование грузополучателя и наименование пункта назначения;
в) дополнительную надпись: полное или условное, зарегистрированное в установленном порядке, наименование грузоотправителя, наименование пункта отправления;
г) информационные надписи:
-
- масса брутто и нетто грузового места в килограммах;
-
- габаритные размеры грузового места в метрах.
-
1.8.4 Транспортная маркировка наносится на каждое грузовое место непосредственно на тару с краской через трафарет.
Манипуляционные знаки располагаются в левом верхнем углу на двух соседних стенках тары.
-
1.8.5 При перевозке транспортными пакетами на каждом из них нанесены основные, дополнительные и информационные надписи, общее количество пакетов в партии и количество грузовых мест в пакете, порядковый номер пакета.
Основные и дополнительные надписи не наносятся на отдельные грузовые места, из которых сформирован пакет.
-
1.8.6 Маркировка, характеризующая тару, наносится окраской по трафарету непосредственно на тару в правом нижнем углу торцовой стенки и должна содержать наименование предприятия-изготовителя или его товарный знак.
-
1.9.1 Общие требования к упаковке вибропреобразователя соответствуют
ГОСТ Р 52931 -2008 разделу 6 и чертежам предприятия-изготовителя. ,
-
1.9.2 Вибропреобразователи упаковываются в закрытых вентилируемых помещениях при температуре окружающего воздуха от 15 до 40 °C и относительной влажности 80 % при отсутствии в окружающей среде агрессивных примесей.
-
1.9.3 Требования к консервации соответствуют ГОСТ 9.014-78. По классификации указанного стандарта вибропреобразователи относятся к группе Ш-1, вариант защиты ВЗ-10, упаковочное средство УМ-1, вариант упаковки ВУ-5.
-
1.9.4 Упакованные вибропреобразователи укладываются в дощатые ящики типа Ш-1по ГОСТ 2991-85.
-
1.9.5 Техническая и сопроводительная документация помещается во
влагонепроницаемый пакет из пленки полиэтиленовой Мс 0,15x800 1 сорта
ГОСТ 10354-82 и укладывается в ящик.
-
1.9.6 В каждый ящик вкладывается упаковочный лист, содержащий сведения:
-
- наименование, шифр, обозначение и их количество;
-
- дату упаковки;
-
- подпись или штамп ответственного за упаковку;
-
- штамп ОТК.
-
1.9.7 Ящики с упакованными вибропреобразователями закрепляются в транспортных средствах, а при использовании открытых транспортных средств - защищаются от атмосферных осадков и брызг воды.
4277-009-95218262-2018 РЭ
Лист
И
вхви и'ilhojj I «к w I »N анИ I вгИГи пИоц I inroii ояяни
-
2.1.1 Перед монтажом на объекте вибропреобразователи необходимо распаковать, проверить комплектность, произвести внешний осмотр и убедиться в отсутствии механических повреждений.
-
2.1.2 Климатические и механические условия в помещениях, предназначенных для установки вибропреобразователей, не должны превышать норм, указанных в подразделе 1.2 настоящего руководства по эксплуатации.
-
2.1.3 Подготовить места для прокладки кабелей.
-
2.1.4 Произвести прокладку кабелей, установить вибропреобразователи на подготовленные места.
-
2.1.5 Перед установкой вибропреобразователей на объект необходимо подготовить установочные площадки. Установочные площадки должны иметь поверхность, обеспечивающую плотное прилегание соприкасающихся поверхностей, шероховатость поверхности должна быть не более 0,63, неперпендикулярность отверстий крепления не более 0,02. Присоединительные размеры вибропреобразователя приведены в Приложении А.
Допускается установка вибропреобразователей на специальные кронштейны:
-
- пластину;
-
- пластину-изолятор;
а также при помощи магнитов.
Вибропреобразователь устанавливается на объекте на кронштейне-пластине (или пластине-изоляторе, входящих в комплект поставки (рекомендуется при стационарном непрерывном контроле вибропараметров) или при помощи магнитов (рекомендуется при оперативном контроле вибропараметров). При установке вибропреобразователя на электродвигателе для изоляции от корпуса изделия дополнительно устанавливается пластина-изолятор. Винты, крепящие вибропреобразователь, не должны иметь контакт с корпусом электродвигателя.
Установочную поверхность кронштейна и винты рекомендуется контрить клеем К 300-61 по ОСТ 92-0948-74 или другими клеями холодного отверждения с аналогичными характеристиками. При креплении кронштейна при помощи сварки крепежные отверстия под болты не выполняются.
Вибропреобразователь крепится к изделию (или кронштейну) с помощью винтов М5х15 (3 шт.) и моментом затяжки винтов (5±0,5) Н*м.
При чистоте обработки установочной поверхности ниже требований, указанных выше в данном разделе, допускается использование прокладки толщиной 1 мм, выполненной из мягкой меди или алюминия.
Ось чувствительности вибропреобразователя, совпадающая с его геометрической осью, должна совпадать с направлением измеряемой вибрации. Отклонение оси чувствительности от заданного направления не должно превышать 5°.
-
2.1.6 Соединение вибропреобразователей с АСУ ТП или контрольно-измерительными приборами осуществляется с помощью кабеля, длина которого не должна превышать 500 м.
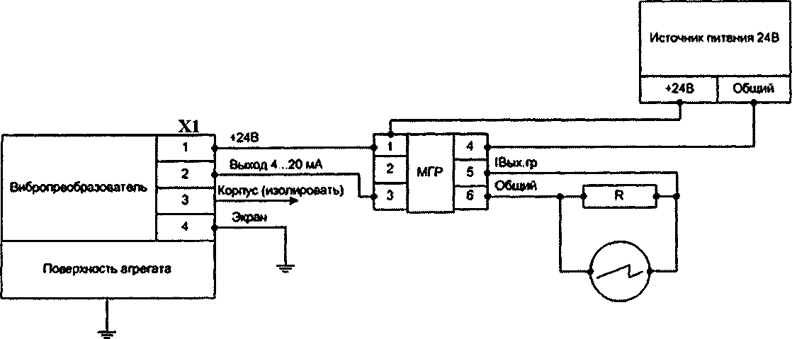
Схемы подключения вибропреобразователей приведены в приложении Б.
Лист | ||||||
4277-009-95218262-2018 РЭ |
12 | |||||
Инв.№ подл. Подп. идата I ТУ,ЯМ Инн № I Ини № I Попп, и пата
При стационарном контроле, если вибропреобразователь установлен напрямую на корпус, т.е. имеется электрический контакт между корпусом агрегата и корпусом датчика, то контакт 3 (корпус) нужно изолировать (при наличии у датчика кабеля) или не использовать (для датчика с разъемом на корпусе), как показано в приложении Б лист 2.
Если вибропреобразователь установлен на изолятор, то контакт 3 необходимо заземлить), как показано в приложении Б лист 4.
Контакт 4 необходимо заземлять в любом случае (обычно на корпус распределительной коробки или на корпус стойки АСУ ТП, где проводится измерение самого сигнала). Контакт 4 электрически не связан с корпусом вибропреобразователя.
Если необходимо удлинение штатного кабеля, то необходимо экран удлиняющего кабеля соединить с экраном штатного кабеля (контакт 4).
При оперативном контроле или применении вибропреобразователя в переносных системах виброконтроля вибропреобразователи рекомендуется устанавливать на магнитах, входящих в стандартный комплект монтажных частей.
Контакт 4 (корпус) разъема вибропреобразователя должен быть изолирован. Контакт 3 (экран) необходимо соединить с экраном кабеля, а экран кабеля соединить с инструментальной землей.
Схема подключения к регистратору переносной системы показана в приложении Б листы 5 и 6.
-
2.1.7 Для подключения вибропреобразователя необходимо применять кабель с экранированными жилами или общим экраном при обязательном наличии внешней изолирующей оболочки. Сечение каждой жилы должно быть не менее 0,35 мм2.
-
2.2.1 По способу защиты человека от поражения электрическим током вибропреобразователи относятся к классу III по ГОСТ 12.2.007.0-75.
-
2.3.1 При производстве, эксплуатации, транспортировке, хранении и утилизации вибропреобразователи не наносят вред окружающей среде, здоровью и генетическому фонду человека.
-
2.3.2 Вибропреобразователи не превышают показатели и нормы определяющие требования по допустимым химическим, механическим, радиационным воздействиям.
Лист
3. Техническое обслуживание 3.1 Общие указания-
3.1.1 Работы по техническому обслуживанию проводятся с целью обеспечения нормальной работы и сохранения параметров и характеристик вибропреобразователей в течение всего срока эксплуатации. Гарантии изготовителя действительны только при условии своевременного проведения профилактических работ.
-
3.1.2 Периодичность профилактических осмотров и ремонтов вибропреобразователей устанавливается предприятиями, эксплуатирующими вибропреобразователи, в зависимости от производственных условий и с учетом интенсивности эксплуатации, но не реже, чем один раз в год. Во время профилактических осмотров и работ должны выполняться следующие операции:
а) осмотр внешнего состояния вибропреобразователей, очистка их от грязи, пыли удаление следов влаги и прочее;
б) проверка плотности затяжки разъемных соединений "вибропреобразователь-выходной кабель", проверка прочности крепления к объекту;
г) проверка комплектности, состояния соединительных кабелей, надежность их закрепления, своевременный ремонт кабелей;
д) выполнение работ, указанных в п 3.2 настоящего руководства по эксплуатации.
3.2 Текущий ремонт-
3.2.1 Перечень возможных неисправностей и способы их устранения приведены в таблице 3.2.
Инв,№ подл. I Подп.идата I В?ям Иня № I Инв . Nb I По яп. и пата
Т аблица 3.2
Вид неисправности
Вероятная причина
Способы устранения
1. Отсутствие выходного сигнала вибропреобразователя
-
1. Нет питания.
-
2. Неисправен соединительный кабель.
-
3. Вышел из строя вибропреобразователь
Проверить наличие напряжения в сети =24 В.
Проверить кабель и устра-нцть неисправность или заменить при необходимости.
Заменить вибропреобра
зователь
2. На выходе фиксируются предельные значения
-
1. Обрыв цепи экрана заземления.
-
2. Неисправен соединительный кабель.
-
3. Вышел из строя токовый преобразователь
Проверить экран и заземление и устранить неисправность.
Проверить кабель и устранить неисправность или заменить при необходимости.
Заменить вибропреобразователь
Лист
Вид неисправности
Вероятная причина
Способы устранения
3. Фиксируются плавающие показания на регистрирующем приборе или в системе верхнего уровня
-
1. Нарушение цепи экрана заземления.
-
2. Неисправен соединительный кабель или нарушено его подключение.
-
3. Вышел из строя чувствительный элемент
Проверить экран и заземление и устранить неисправность.
Проверить кабель и устранить 1 неисправность или заменить при необходимости.
Заменить вибропреобразователь
Инв.№подл. I Подп.идата I Взам. Инв. № I Инв. №I ПОДП. Ц.ДДТй
-
-
3.2.1 Ремонт вибропреобразователей в течение гарантийного срока осуществляется предприятием-изготовителем.
-
3.2.3 Ремонт вибропреобразователей после гарантийного срока осуществляется предприятием-изготовителем или специально обученными организациями, представители которых прошли обучение на предприятии-изготовителе и имеют соответствующее метрологическое оборудование.
-
3.2.4 После проведения ремонта оформляется акт дефектации с обязательным
указанием следующих данных: р -
-
- полного наименования вибропреобразователя;
-
- обозначения;
-
- даты его выпуска из производства;
-
- полного наименования эксплуатирующей организации;
-
- даты направления вибропреобразователя в ремонт;
-
- наработки с начала эксплуатации;
-
- наработки после последнего ремонта; , *
-
- причины поступления в ремонт;
-
- сведений о произведенном ремонте.
-
3.2.5 Расходы, связанные с проведением ремонта, оплачивает организация, представившая вибропреобразователи на ремонт.
Лист
-Ин^№подп._1 Подп.идата I Взам. Инв. № I Инв. № I Попп, и пата
-
4.1 Предельные значения климатических условий транспортирования должны соответствовать условиям хранения 3 по ГОСТ 15150-69.
Условия транспортирования вибропреобразователей в части воздействия механических факторов - жесткие (Ж) по ГОСТ 23170-78.
-
4.2 Вибропреобразователи могут транспортироваться всеми видами транспорта в крытых транспортных средствах.
При транспортировании самолетом вибропреобразователи должны размещаться в отапливаемом герметичном отсеке, при транспортировании морским транспортом - в трюмах.
-
4.3 Вибропреобразователи должны транспортироваться в соответствии с действующими правилами и техническими условиями на перевозку, погрузку, крепление и размещение грузов.
-
4.4 Если вибропреобразователи при транспортировании длительное время находились под воздействием отрицательных температур и повышенной влажности, то их необходимо перед эксплуатацией выдержать в отапливаемом помещении в течение 24 ч при температуре (20±5) °C.
-
4.5 Вибропреобразователи до введения в эксплуатацию должны храниться на складах в упаковке предприятия-изготовителя при температуре окружающего воздуха от 5 до 40 °C и относительной влажности 80% при температуре 25 °C: при условии защиты от непосредственного попадания влаги и при отсутствии в воздухе паров кислот, щелочей и других агрессивных примесей. Вибропреобразователи должны быть уложены на стеллажи или подкладки.
-
4.6 Хранение вибропреобразователей без упаковки следует проводить при температуре окружающего воздуха 1.. .35 °C и относительной влажности 80% при температуре 25 °C.
Лист
Инв.№подл. I Подп.идата I Взам. Инв. № I Инв№ I Попп, и пата
-
5.1 Вибропреобразователь должен быть принят техническим контролем предприятия-изготовителя.
-
5.2 Изготовитель гарантирует соответствие качества вибропреобразователей требованиям технических условий при соблюдении потребителем правил эксплуатации, условий и правил хранения и транспортирования.
-
5.3 Гарантийный срок хранения 18 месяцев со дня изготовления.
-
5.4 Гарантийный срок эксплуатации 5 лет со дня изготовления.
Гарантийный срок может быть продлен при условии проведения ежегодного технического обслуживания вибропреобразователей на объектах предприятием-изготовителем или проведения его поверки на предприятии-изготовителе.
-
5.5 В течение гарантийного срока при условии соблюдения правил эксплуатации и хранения предприятие-изготовитель обязуется проводить безвозмездный ремонт или замену вышедшего из строя вибропреобразователя.
При отказе в эксплуатации или неисправности вибропреобразователя в период гарантийного срока потребитель должен уведомить предприятие-изготовитель о неисправности, вызвать представителя для дефектации вибропреобразователя по месту его установки или по доверенности предприятия-изготовителя должен быть составлен акт о необходимости ремонта с указанием характера неисправности.
Вибропреобразователь с паспортом и актом высылается предприятию-изготовителю по адресу:
ООО "НПФ "ВИБРОН"
129344, г. Москва, ул. Енисейская, д. 1,
стр. 2, этаж 2, помещение 2202
тел. + 7(495)223-19-92
Лист
При проведении поверки необходимо следовать методике испытаний из настоящего раздела РЭ.
Интервал поверки - 3 года.
6.1 Операции поверки-
6.1.1 При проведении первичной и периодической поверок вибропреобразователей выполняют операции, указанные в таблице 6.1.
Инв.№подл. | Подп.идата I Вчам. Инв. № I___И hr №___I__Попп, и пата
Таблица 6.1 - Операции поверки
Наименование операции |
Номер пункта документа по поверке |
Проведение операции при | |
первичной поверке |
периодической поверке | ||
1. Внешний осмотр и проверка комплектности |
6.3.1 |
Да |
Да |
Опробование | |||
2. Проверка сопротивления изоляции в нормальных условиях |
6.3.2 |
Да |
Да |
3. Проверка функционирования |
6.3.3 |
Да |
Да |
Определение метрологических характеристик | |||
4. Определение тока потребления (начального рабочего тока) |
6.4.1 |
Да |
Да |
5. Определение действительного значения коэффициента преобразования |
6.4.2 |
Да |
Да |
6. Определение неравномерности частотной характеристики |
6.4.3 |
Да |
Да |
7. Определение нелинейности амплитудной характеристики |
6.4.4 |
Да |
Нет |
Лист
-
6.2.1 При проведении поверки необходимо применять основные и вспомогательные средства поверки, приведенные в таблице 6.2.
Таблица 6.2
Номер пункта документа по поверке (раздел 17)
Наименование и тип (условное обозначение) основного или вспомогательного средства поверки
Обозначение нормативного документа, регламентирующего технические требования и (или) метрологические и основные технические характеристики средства поверки
6.4.1-6.4.3
Вольтметр универсальный цифровой В7-38
Тг2.710.031 ТУ
Пределы измерения напряжения 2; 20; 200 В.
Погрешность по напряжению ± 0,08 % .
6.4.1-1.4.3
Источник питания постоянного токаБ5-45А
Рг3.233.001 ТУ
Напряжение [(0-50) ± 0,3] В; ток [(0-0,5) ± 0,003] А
6.3.2
Тераомметр Е6-13А
ЯЫ2.722.014 ТУ \
Погрешность ± 2,5 %; до 109 Ом
6.4.1-6.4.3
Рабочий эталон 2-го разряда
Приказ Росстандарта от 27 декабря 2018 г. № 2772
Инв.№подл. Подп.идата Ячам Инн. № Инв. № __П<МП. И ДДТД
-
6.2.2. Допускается применять другие средства поверки удовлетворяющие по погрешности требованиям настоящей инструкции.
-
6.3.1 Внешний осмотр и проверка комплектности устанавливают соответствие вибропреобразователя следующим требованиям:
-
- отсутствие механических повреждении корпуса, соединительных кабелей и электрических разъемов и соединителей, влияющих на работоспособность вибропреобразователя;
-
- соответствие комплектности и маркировки требованиям, установленным в эксплуатационной документации (руководстве по эксплуатации и паспорте) на вибропреобразователь;
-
- контактирующая поверхность вибропреобразователя должна быть очищена от загрязнения и не иметь выступающих заусенцев, не иметь видимых повреждений;
-
- контакты вибропреобразователя должны иметь механическую надежность.
Лист
Инв.№пода. Подп.идата Втам.Инв.М Инв. № Попп и татя
-
6.3.2 Проверка электрического сопротивления изоляции в нормальных условиях проводится следующим образом.
Выводы тераомметра подключить к корпусу датчика (контакт 3) и поочередно к контакту «1» и контакту «2». Провести замеры при напряжении не более 10 В. Показания, определяющие электрическое сопротивление изоляции, следует отсчитывать по истечении 1 мин после приложения напряжения или меньшего времени, за которое показания тераомметра практически установятся.
Сопротивление изоляции должно быть не менее 20 МОм.
При положительных результатах вибропреобразователь признается работоспособным.
-
6.3.3 Проверка функционирования в режиме контроля работоспособности проводится следующим образом.
Подключить вибропреобразователь в соответствии со схемой измерительной к вольтметру.
Вольтметр включить в режиме измерения постоянного тока.
Подать напряжение питания.
На экране вольтметра наблюдать значение постоянного тока (12±0,3) мА.
6.4 Определение метрологических характеристик-
6.4.1 Определение тока потребления (начального рабочего тока) вибропреобразователя
Для определения тока потребления подключают вибропреобразователь с выходом по току (напряжению) к источнику питания в соответствии с требованиями РЭ.
Устанавливают и подают на вибропреобразователь указанное в паспорте напряжение питания и измеряют значение тока потребления на выходе вибропреобразователя.
Значение тока потребления вибропреобразователей должно соответствовать значению, указанному в паспорте вибропреобразователя.
-
6.4.2 Определение действительного значения коэффициента преобразования
Подключить вибропреобразователь в соответствии со схемой измерительной на вольтметр универсальный цифровой В7-38.
Вольтметр включить в режиме измерения переменного тока (напряжения).
Вибропреобразователь установить на вибростенде с помощью крепежных винтов в рабочем положении.
Подать напряжение питания.
Установить рабочую частоту вибростенда 7 Гц. Задать размах Бд виброперемещения, равный половине шкалы измерения SH3M/2.
Зафиксировать показания вольтметра при заданном уровне:
- Для вибропреобразователей с выходом по току определить коэффициент преобразования по формуле:
_ 2х У2х/Д
(6.1)
П
где 1д - измеренное вольтметром СКЗ переменного тока, мА.
Лист
- Для вибропреобразователей с выходом по напряжению определить коэффициент преобразования по формуле:


Инв.№подл. | Подп. и дата Г Вчам Инв. Х° I Инн. № I__ПАПП. И ДйТЭ.
где Ua - измеренное вольтметром СКЗ переменного напряжения, мВ.
-
6.4.3 Проверку неравномерности АЧХ в рабочем диапазоне частот проводить следующим образом.
Вибропреобразователь установить на вибростенде с помощью крепежных винтов в рабочем положении.
Задать виброперемещение с постоянным размахом А = 50 мкм на 5-8 точках из рабочего диапазона частот. Нижняя и верхняя граница диапазона рабочих частот обязательны. Для вибропреобразователей с выходом по току определить значение коэффициента преобразования Кп. по формуле 6.1 на каждой из указанных частот, с выходом по напряжению - по формуле 6.2.
Определить отклонение коэффициента преобразования у( на заданных частотах:
Кп.-Кп
Yi = х 100 <63)кп
За неравномерность АЧХ у принимают максимальное абсолютное значение, %, вычисленное по формуле 6.3.
Y ~ \Yilmax (6-4)
Вибропреобразователь считается выдержавшим испытание, если неравномерность АЧХ, рассчитанная по формуле 6.4, не превышает допустимого значения, указанного в паспорте.
-
6.4.3. Определение нелинейности амплитудной характеристики проводить следующим образом.
Подключить вибропреобразователь в соответствии со схемой измерительной на вольтметр.
Вибропреобразователь установить на вибростенде с помощью крепежных винтов в рабочем положении.
Подать напряжение питания.
Установить рабочую частоту вибростенда 7 Гц.
Задать размах виброперемещения Si в соответствии с требованиями табл. 6.4.
Таблица 6?
i |
1 |
2 |
3 |
4 |
5 |
6 |
Si, мкм |
100 |
200 |
400 |
600 |
800 |
1000 |
Лист | ||||||
4277-009-95218262-2018 РЭ |
21 | |||||
Для вибропреобразователей с выходом по току по формуле 6.1 определить значение коэффициента преобразования Кп. при каждом фиксированном уровне размаха виброперемещения, с выходом по напряжению - по формуле 6.2.
Определить среднее арифметическое значение коэффициента преобразования Kq,s в мА (мВ)/мкм по формуле:

(6.5)
Для каждого значения физической величины определяют относительное отклонение 6i коэффициента преобразования Кп. от среднего арифметического значения Кср, %

(6.6)
За нелинейность амплитудной характеристики 8а принимают максимальное значение, вычисленное по формуле 6.6.
8а = (8i)max
(6.7)
Инв.№подл. I Подп.идата I Вчам. Ини. № I Инн. № |__ПОЧТТ. И ЛЙТД
Лист
Инв.№подл. I Подп. И дата I Взам. Инв. Кр I Инн. № I Попп, и пата
6.5 Оформление результатов поверки
| ||||||
4277-009-95218262-2018 РЭ |
Лист 23 | |||||
hj toozMSwaiad

M5-6H
/ |
илка 2РМП4Б4Ш1Е2 №364.126 ТУ
XI | |
... х а |
* $ |
Шифр |
Обозначение |
Рис, |
ДВП-А-В/G-P |
РВТВ433640.004-А-В/С-Р |
1 |
еде
А |
диапазон измерения контролируемое Величину мкм |
В |
нижняя граница диапазона рабочих частот Гц |
С |
Верхняя ероница диапазона рабочих частот Гц |
Р |
исполнение датчика с разъемом на корпусе |
1. Монтаж датчика выполнять В соответствии с требованиями 4277-009-95218262-2018 P3L
РВТБ.433642.004 ГЧ
ИзтЛист Разраб Пр<Л............
Т контр Н контр TnS
Датчик виброперемещениО ДВП Габаритный чертеж
Am |
Мооса |
.--Ж пОСШЯЮО | ||
1:1 | ||||
Лкж / I Литой 2 | ||||
Кряжев Лаеуто
N даем Фотюнин Веселова

hJ М0’&9£&Ч£вс!

2 (Выход)
3 (Корпус)

L (по заказу) (L + 250) max
Шифр |
Обозначение |
Рис |
ДВП-А-8/C-DL-H |
РВТб. 433640.004-A-B/O-DL-H |
2 |
А |
диапазон измерения контролируемой Величины мкм |
В |
нижняя граница диапазона рабочих частот Гц |
С |
Верхняя граница диапазона рабочих частот, ГJ |
DL |
длина кобеля, м (DLM - для исполнения В металлорукове) |
Н |
исполнение кабеля датчика со свободными концами |
t. Монтаж датчика Выполнять б соответствии с требованиями 4277-009-35218262-2018 Pi
Изн |
Цист |
Н аокхм |
Пото | |
Разраб |
Фотюнин |
<&!9 | ||
Пров |
Веселова |
' 03.19 | ||
Г контр, |
Кряжеб |
fats | ||
Н мжяр |
Логуто t-"r |
05.19 | ||
Утб |
ДуноевоазЯ'' |
РВТБ.433642.004 ГЧ .
Датчик биброперемещений ДВП Габаритной чертеж



Приложение Б лист 1
Схема подключения вибропреобразователя
в стационарных системах
а) установка на электродвигателе (через изолятор)Источник питания 24В
+248

4^ to
О
I
О О чо
I
40 LA (О
00 to
04 to
I
to о
oo hp
W

Вибропрообразойатель |
1 < |
2 > | |
3 ■ | |
4 < | |
Изолятор |
+24В
Выход 4...20 мА
Корпус
Экран

Инв.№ подл. |
Подп. и дата |
Втам. Инв. № |
Инв. № | |
Приложение Б лист 2
Источник питания 24В
♦24В
—
Общий
............-♦..............

♦24В
Корпус (изолировать)
1 < | |
2 < | |
3 | |
4 | |
Поверхность агрегата |
'Выход 4„20 мА
Эфам







Приложение Б лист 3








+24В
Выход 4...20 мА
Корпус
Вибролреобразоеатель |
1 < |
2 - | |
3 < | |
4 < | |
Изолятор |
Экран
Источник питания 24В

Общий
I Вых, гр
Общий

6

Приложение Б лист 4
Ф». ts)
■ О О 40
I
40 L/1 N)

>-d


Инв.№ подл. |
Подп. и дата |
Вчам И hr № |
И hr № | |
Приложение Б лист 5
Рекомендуемая схема подключения вибропреобразователя в переносных системах со входом по току при установке на магнитах


XI - вилка 2РМГ14Б4Ш1В1Е2 ГЕО.364.126 ТУ;
R - нагрузочное сопротивление измерителя тока должно быть не более 500 Ом .

Ини No
Приложение Б лист 6
Рекомендуемая схема подключения вибропреобразователя
в переносных системах со входом по напряжению при установке на магнитах
4^ to
О
■
О о <о
I
40 и» to
оо to Os to
I
to о
оо "d

XI - вилка 2РМГ14Б4Ш1В1Е2 ГЕО.364.126 ТУ;
R - нагрузочное сопротивление R должно быть не более 500 Ом .
OlO'liWMSldd






-
1. Неуказанные пред, отклонения размеров H14,h14, ±JT Ц..
-
2. Ц.9.хр. 2
-
3. Маркировать Ч и клеймить К на бирке.
о Е
&
PH h /7474-1 1
5J
0
Пластина
Лит.
Масса
Масштаб
i
Изы.
Лист
N аокум
Пода
Дата
Разраб
Фатюнин
'{7.0519
Проб
Веселоба
17.0519
(для ДВП)
£ с:
ТТГ
Лист
1
Листоб 1
5:
т
Т. контр
§
Н контр
Лагуто
17.0519
Cm3
£
ООО НПФ ВИБРОН
Утб
ДунаебскцР''
170519

коо. 17.05 19
ВТ ГЭС
Приложение Г
Форма протокола поверкиВибропреобразователь______________№______________
Результаты поверки
-
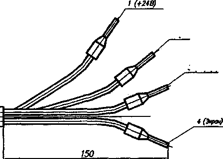
1. Действительное значение коэффициента преобразования на базовой частоте 7 Гц:
Кп = ... мА (мВ)
-
2. Неравномерность частотной характеристики:
N точки
1
2
3
•Oi
lliii
6
7
9
10
f,r4
0,7
1,6
3,15
7,00
16
31,5
63,0
125
160
200
3. Нелинейность амплитудной характеристики:
i |
1 |
2 |
3 |
4 |
5 |
6 |
Si, мкм |
100 |
200 |
400 |
600 |
800 |
1000 |
Sai, % |
<5а = ... %
Инв.№подд. I Подп. и дата I Вчам. Инн. № I Инд. № I Попп, и пата
Поверитель
Дата поверки «___»_____________20___г.
Лист
Приложение Д ПЕРЕЧЕНЬ ССЫЛОЧНЫХ ДОКУМЕНТОВ | |||||||
Обозначение |
Наименование документа |
Лист | |||||
ГОСТ 9.014-78 ГОСТ 12.2.007.0-75 ГОСТ 26.011-80 ГОСТ 2991-85 ГОСТ 10354-82 ГОСТ 14192-96 ГОСТ 14254-96 (МЭК 529-89) ГОСТ 15150-69 ГОСТ 18620-86 ГОСТ 23170-78 ГОСТ 25275-82 ГОСТ 26044-83 |
Единая система защиты от коррозии и старения. Временная противокоррозионная защита изделий. Общие требования ССБТ. Изделия электротехнические. Общие требования безопасности Средства измерений и автоматизации. Сигналы тока и напряжения электрические непрерывные входные и выходные Ящики дощатые неразборные для грузов массой до 500 кг. Общие технические условия Пленка полиэтиленовая. Технические условия Маркировка грузов Степени защиты, обеспечиваемые оболочками (код IP) Машины, приборы и другие технические изделия. Исполнения для различных климатических районов. Категории, условия эксплуатации, хранения и транспортирования в части воздействия климатических факторов внешней среды Изделия электротехнические. Маркировка Упаковка для изделий машиностроения. Общие технические требования Система стандартов по вибрации. Приборы для измерения вибрации вращающихся машин. Общие технические требования Вибрация. Аппаратура для эксплуатационного контроля вибрационного состояния энергетических гидротурбинных агрегатов. Общие технические требования |
И 13 3,6 11 И 10 5 5,15 10 16 3,6 3,6 | |||||
Лист 4277-009-95218262-2018 РЭ 35 | |||||||
kleL й lihujj I ox инн I oj< hh|i fvel^ I Eietf и ц^оц I 'игоизд-ани
Продолжение приложения Д
Обозначение |
Наименование документа |
Лист |
ГОСТ 30296-95 |
Аппаратура общего назначения для определения основных параметров вибрационных процессов. Общие технические требования |
3,6 |
ГОСТ Р 52931-2008 |
Приборы контроля и регулирования технологических процессов. Общие технические условия |
3,6 |
ГОСТ Р 55260.3.2-2013 |
Гидроэлектростанции. Часть 3-2. Гидротурбины. Методы оценки технического состояния |
3,6 |
ГОСТ Р 55260.3.3-2013 |
Гидроэлектростанции. Часть 3-2. Гидротурбины. Технические требования к системам эксплуатационного мониторинга |
3,6 |
ОСТ 92-0948-74 |
Клеи. Выбор и назначение. Технологические требования |
12 |
СТО 17330282.27.140.001- 2006 |
Методики оценки технического состояния основного оборудования гидроэлектростанций |
3,6 |
Рг3.233.001 ТУ |
Источник питания постоянного тока Б5-45А. Технические условия |
20 |
Тг2.710.014 ТУ |
Вольтметр универсальный цифровой В7-38. Технические условия |
20 |
ТУ 4277-002-95218262- 2007 |
Вибростенды переносные ВЗВ. Технические условия |
20 |
ЯЫ2.722.014 ТУ |
Тераомметр Е6-13А. Технические условия. |
20 |
Лист
ЛИСТ РЕГИСТРАЦИИ ИЗМЕНЕНИЙ
Инв.№подл. I Подп.идата Взам. Инв. № I Инв. № I__flftfin. И ЖаИ.
Номера листов (страниц) |
Всего листов (страниц) в документе |
N документа |
Входящий N сопроводительного документа и дата |
Подпись |
Дата | ||||
Изм. |
измененных |
замененных |
НОВЫХ |
аннулированных | |||||
1 |
5,10,11, 25,26,33, 34 |
7 |
РВТБ. 002-05-19 |
Письмо ФГУП "СТАНДАРТ-ИНФОРМ" № МЛ/04-3624 16.05.2019 г. |
17.05.2019 | ||||
Лист
4277-009-95218262-2018 РЭ
37