Методика поверки «Набор мер бетонных с искусственными дефектами УПТІ» (651-18-008 MП)
УТВЕРЖДАЮ
Первый заместитель
генерального директора -
Набор мер бетонных с искусственными дефектами УПТ1
Методика поверки
651-18-008 МП
2018 г.
Настоящая методика поверки распространяется на Набор мер бетонных с искусственными дефектами УПТ1 (далее - набор мер), изготавливаемый ФГУП «ВНИИФТРИ», р.п. Менделеево, Московская обл. и устанавливает методы и средства первичной и периодической поверок.
Интервал между поверками - два года.
1 ОПЕРАЦИИ ПОВЕРКИ1.1 При проведении поверки должны быть выполнены операции, указанные в таблице 1.1.
Т аблица 1.1
|
Наименование операций |
Номер пункта методики поверки |
Обязательность проведения операций | |
|
при первичной поверке |
при периодической поверке | ||
|
Внешний осмотр |
6.1 |
Да |
Да |
|
Определение толщины и отклонений от номинальных значений толщины |
6.2 |
Да |
Да |
|
Определение размеров дефектов и характеристик их расположения |
6.3 |
Да |
Да |
|
Определение отклонения от перпендикулярности смежных граней |
6.4 |
Да |
Нет |
|
Определение отклонения от плоскостности рабочих поверхностей |
6.5 |
Да |
Нет |
-
1.2 Результат поверки считается отрицательным, если будет обнаружено несоответствие требованиям хотя бы по одному из пунктов таблицы 1.1.
-
2 СРЕДСТВА ПОВЕРКИ
2.1 При проведении поверки должны быть применены средства, указанные в таблице 2.1.
Таблица 2.1
|
Наименование эталонного средства измерений или вспомогательного средства поверки |
Номер документа, регламентирующего технические средства и их метрологические характеристики. |
|
Эталонные средства измерений | |
|
Штангенциркуль ШЦ-П-250-0,1 |
По ГОСТ 166-89, предел допускаемой погрешности 0,1 мм |
|
Штангенциркуль ШЦ-Ш-250-630-0,1 |
По ГОСТ 166-89, предел допускаемой погрешности 0,1 мм |
|
Индикатор часового типа ИЧ2* |
по ГОСТ 577-68 |
|
Вспомогательные средства поверки | |
|
Прибор НПР-1 150 (см. рисунок 1) |
По ГОСТ 10180-2012, с индикатором часового типа ИЧ2* по ГОСТ 577-68, |
|
цена деления 0,01 мм | |
|
Прибор НПЛ-1 150 (см. рисунок 2) |
По ГОСТ 10180-2012, с индикаторами часового типа ИЧ2* (2 шт) по ГОСТ 577- 68, цена деления 0,01 мм |
* - применяемые при поверке индикаторы ИЧ должны быть утвержденного типа

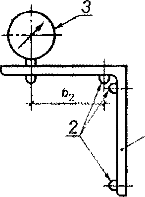
б2- база прибора (150 мм), 1-корпус прибора (угольник) ,2-опора, 3-индикатор.
Рисунок 1 - Схема прибора НПР-1 150 для измерений отклонений от перпендикулярности.


б^база прибора (150 мм), 1-рамка прибора,2-опора, 3-индикатор.
Рисунок 2 - Схема прибора НПЛ для измерений плоскостности.
Примечания 1 Допускается применение других средств поверки, обеспечивающих измерение соответствующих характеристик с требуемой точностью.
2 Применяемые при поверке средства измерений должны иметь действующие свидетельства о поверке.
3 УСЛОВИЯ ПОВЕРКИ-
3.1 Поверка должна проводиться в следующих условиях:
-
- температура окружающей среды должна быть (23±5) °C. При этом ее изменение за время поверки не должно быть более ±3 °C;
-
- относительная влажность в помещении должна быть 65±15 %.
-
3.2 Должны отсутствовать внешние источники вибрации, вызывающие заметные на глаз колебания.
-
4.1 При проведении поверки должны быть соблюдены «Правила эксплуатации электроустановок потребителем» (утверждены Госэнергонадзором 27.02 83), «Правила техники безопасности при эксплуатации электроустановок потребителем» (утверждены Госэнергонадзором 31.03 92).
-
4.2 При проведении поверки должны быть соблюдены требования безопасности согласно ГОСТ 12.3.019-80 и санитарных норм СН 245-71.
-
4.3 К проведению поверки измерителей допускается инженерно-технический персонал со среднетехническим или высшим образованием, ознакомленный с документом «Набор мер бетонных с искусственными дефектами УПТ1. Паспорт» МГФК.401250.001 ПС ( далее ПС) и документацией по поверке, допущенный к работе с электроустановками и имеющие право на проведение поверки.
-
5.1 Перед проведением операций поверки поверитель должен изучить ПС.
-
5.2 Перед началом поверки поверяемый набор мер и применяемые при поверке эталонные средства и вспомогательное оборудование должны быть выдержаны в условиях, указанных в разделе 3 «Условия поверки» не менее двух часов.
-
5.3 Привести в рабочее состояние средства поверки в соответствии с указаниями, изложенными в их эксплуатационной документации.
-
5.4 Проверить выполнение требований раздела 8 ПС.
-
6.1 Внешний осмотр
-
6.1.1 При внешнем осмотре необходимо проверить соответствие заводских номеров, указанных в ПС, с маркировкой на поверхности мер бетонных из состава набора.
-
6.1.2 Поверхности мер бетонных проверить на:
-
- отсутствие трещин, глубоких выбоин;
-
- отсутствие на поверхности загрязнений: подтёков масла, пыли и т.п.
-
6.1.3 Результаты проверки считать положительными, если маркировка на мерах и в ПС совпадают и указанные в п.6.1.2 дефекты отсутствуют.
6.2 Определение толщины и отклонений от номинальных значений толщины
-
6.2.1 Порядок выполнения измерений
Проверку толщины выполняют для 4-х мер (МБ1, МБ2, МБЗ и МБ4) входящих в состав набора. Меры МБ1, МБ2 проверяют на воспроизведение толщины 50 мм, меры МБЗ,МБ4 проверяют на воспроизведение толщин 200, 500 и 600 мм.
-
6.2.1.1 Измерения толщин 50 и 200 мм выполняют штангенциркулем с диапазоном измерений от 0 до 250 мм, измерения толщин 500 и 600 мм выполняют штангенциркулем с диапазоном измерений от 250 до 600 мм.
-
6.2.1.1 Проверку толщины мер бетонных проводят в 12 точках в серединах каждой стороны меры и отступая 20 мм от угла в соответствии со схемой, представленной на рисунке 3.

Рисунок 3. Схема определения толщины меры бетонной.
6.2.2 Обработка результатов измерения толщины мер бетонных
-
6.2.2.1 Разница между максимальным и минимальным результатами измерений толщины мер бетонных (из 12 измерений) не должна быть больше 4 мм.
-
6.2.2.2 Результат измерений толщины меры определить, по следующей формуле:
12
- где Tj - результат i - го измерения толщины меры.
-
6.2.2.3 Результаты измерения толщины мер бетонных должны быть:
50 ± 2 мм для толщины 50 мм;
200 ± 3 мм для толщины 200 мм;
500 ± 5 мм для толщины 500 мм;
600 ± 6 мм для толщины 600 мм.
-
6.2.3 Результат проверки толщины мер бетонных считать положительными при выполнении условий 6.2.2.1 и 6.2.2.3. Если хотя бы одно из условий не выполняется, результаты поверки признаются неудовлетворительными.
-
6.3 Определение размеров дефектов и геометрических параметров их расположения
-
6.3.1 Порядок выполнения измерений
Проверку размера дефектов и характеристик их расположения выполняют для двух мер из набора МБЗ, МБ4 (габаритный размер 200x500*600), проверяют параметры каждого из двух дефектов (отверстий №1 и №2 ) на мере (рисунок 4).
В
Рисунок 4 - Внешний вид меры с искусственными дефектами
-
6.3.2 Определение размера дефектов
-
6.3.2.1 Диаметр дефектов (отверстий) проверяют с помощью штангенциркуля или нутромера (предел допускаемой погрешности не более ± 1 мм) на глубине не менее 20 мм от поверхности, с двух сторон меры.
-
6.3.2.2 Проверку считать успешной, если отклонение от номинального значения 20 мм, не более ± 2 мм во всех случаях.
-
6.3.3 Определение геометрических параметров расположения дефектов
-
6.3.3.1 Расстояние от середины ребра до оси дефекта измерить в следующей последовательности (см. рисунок 5): 1) измерить штангенциркулем расстояние L] от середины ребра меры до ближней точки отверстия дефекта; 2)измерить штангенциркулем расстояние L2 от середины ребра меры до дальней точки отверстия дефекта;

Рисунок 5. Определение от оси дефекта до торцевой поверхности.
-
6.3.3.2 Измерение расстояний от оси дефекта до соответствующих центров рёбер выполняют с двух параллельных сторон меры.
-
6.3.3.3 Результат измерения расстояния от оси дефекта до торцевых поверхностей определить следующим образом: (Lj+ Ьг)/2.
-
6.3.3.4 Результат измерения считать положительным, если расстояния следующие:
-
- расстояние от торцевой поверхности Б меры до центра отверстия №1 50 ± 2 мм;
-
- расстояние от торцевой поверхности В меры до центра отверстия №1 250 ± 2 мм;
-
- расстояние от торцевой поверхности Г меры до центра отверстия №1 450 ± 2 мм;
-
- расстояние от торцевой поверхности В меры до центра отверстия №2 150 ± 2 мм;
-
- расстояние от торцевой поверхности Г меры до центра отверстия №2 300 ± 2 мм.
-
6.4 Определение отклонения от перпендикулярности смежных граней
-
6.4.1 Отклонения от перпендикулярности опорных граней мер бетонных измеряют прибором НПР-1 150 по ГОСТ 10180-2012.
-
6.4.2 Прибор приставить к измеряемой грани меры бетонной и зафиксировать, прижимая к смежной грани двумя опорами и к измеряемой грани третьей опорой (см. рисунок 1).
После того как стрелка индикатора займёт устойчивое положение снимают отсчет по индикатору.
-
6.4.3 Отклонения от перпендикулярности в мер бетонных с ребром длиной не более 100 мм определяют в сечении по центру ребра, а в образцах с ребром большей длины - в двух сечениях на расстоянии 20-50 мм от углов меры.
-
6.4.4 Результаты проверки отклонения от перпендикулярности считать положительными, если отклонение от перпендикулярности граней во всех случаях меньше равно 2 мм.
-
6.5 Определение отклонения от плоскостности рабочих поверхностей
-
6.5.1 Отклонения граней мер бетонных от плоскостности измеряют в соответствии с ГОСТ 10180-2012 прибором НПЛ 150 (см. рисунок 2).
-
6.5.2 Прибор приставляют к измеряемой грани бетонной меры и фиксируют, опирая в трех точках. Вслед за тем снимают показания с двух индикаторов.
Выполняют измерения таким образом, чтобы охватить всю грань.
-
6.5.3 Результаты испытаний считать положительными, если разница между показаниями индикаторов во всех случаях меньше или равна 1 мм.
-
6.6 Результаты поверки считать положительными, если все меры набора удовлетворяют требованиям ПС.
-
7.1 При положительном результате поверки на измеритель выдается свидетельство о поверке в установленном порядке.
-
7.2 При отрицательном результате поверки на измеритель выдается извещение о непригодности с указанием причины забракования в установленном порядке.
Заместитель начальника НИО-3
ФГУП «ВНИИФТРИ»
Начальник лаборатории 330
ФГУП «ВНИИФТРИ»
В. Юрьев
'2018 г.
В.А. Пивоваров
2018 г.
Приложение А (рекомендуемое)
ФОРМА ПРОТОКОЛА ПОВЕРКИ
Набор мер бетонных с искусственными дефектами УПТ1, заводской №.
Протокол №Применяемые средства поверки (наименование, тип, зав.№):
Условия поверки: температура..........
влажность............
Результаты внешнего осмотра:_____________________________________________________
Таблица 1. Протокол измерений толщины мер бетонных МБ1, МБЗ:
|
№ п/п |
Результат измерения толщины, мм |
Результат измерения толщины, лш |
Результат измерения толщины, мм |
Результат измерения толщины, мм |
|
мера МБ 1, толщина 50 мм |
мера МБЗ, толщина 200 мм |
мера МБЗ, толщина 500 мм |
мера МБЗ, толщина 600 мм | |
|
1 |
50,1 |
200,0 |
500,0 |
600,0 |
|
2 |
50,0 |
200,0 |
500,0 |
600,0 |
|
12 |
50,1 ' |
200,2 |
500,0 |
600,0 |
|
Ср.значение |
50,06 |
200,1 |
500,2 |
600,4 |
|
Отклонение от номинала, мм |
0,06 |
0,1 |
0,2 |
0,4 |
|
Разница макс. имин. значений |
0,3 |
0,2 |
0,4 |
0,4 |
Таблица 2. Протокол измерений толщины мер бетонных №03,№04:
|
№ п/п |
Результат измерения толщины, мм |
Результат измерения толщины, мм |
Результат измерения толщины, мм |
Результат измерения толщины, мм |
|
мера МБ2, |
мера МБ4, |
мера МБ4, |
мера МБ4, |
I
|
толщина 50 мм |
толщина 200 мм |
толщина 500 мм |
толщина 600 мм | |
|
1 |
50,1 |
200,0 |
500,0 |
600,0 |
|
2 ' |
50,0 |
200,0 |
500,0 |
600,0 |
|
• |
i | |||
|
12 |
50,1 |
200,2 |
500,0 |
600,0 |
|
Ср. значение |
50,6 |
200,1 |
500,2 |
600,4 |
|
0,06 |
0,1 |
0,2 |
0,4 |
0,06 |
|
Разница макс, и мин. значений |
0,3 |
0,2 |
0,4 |
0,4 |
Таблица 3. Протокол измерений характериетик дефектов меры бетонной МБЗ:
|
Результат измерения диаметра дефекта сторона 1, мм |
Результат измерения диаметра дефекта сторона 2, мм |
Результат измерения расстояния до стороны Б, мм |
Результат измерения расстояния до стороны в, Мм |
Результат измерения расстояния до стороны Г, мм |
|
номинал |
номинал |
номинал |
номинал |
номинал |
|
20 мм |
20 мм |
50 мм |
150 мм |
450 мм |
|
20,1 |
20,1 |
50,0 |
150,4 |
450,0 |
|
Отклонение от номинала, лш | ||||
|
0,1 |
0.1 |
0,0 |
0,4 |
0,0 |
Таблица 4. Протокол измерений характеристик дефектов мер бетонных МБ4:
|
Результат измерения диаметра дефекта сторона 1, мм |
Результат измерения диаметра дефекта сторона 2, мм |
Результат измерения расстояния до стороны Б, ЛШ |
Результат измерения расстояния до стороны Д, мм |
|
номинал |
номинал |
номинал |
номинал |
|
20 мм |
20 мм |
150 мм |
300 мм |
|
20,1 |
20,1 |
150,5 |
300,2 |
|
Отклонение от номинала,мм | |||
|
0,1 |
0,1 |
0,5 |
0,2 |
Таблица 5 Результаты измерений отклонения перпендикулярности смежных граней: рабочая поверхность - боковые грани
|
Измерение |
Показания индикатора прибора НПР-1 | |||
|
Мера бетонная МБ1 |
Мера бетонная |
Мера бетонная МБЗ |
Мера бетонная МБ4 | |
|
1 | ||||
|
2 | ||||
|
3 | ||||
|
4 | ||||
|
5 |
1 | |||
|
6 | ||||
|
7 | ||||
|
8 | ||||
Таблица 6 Результаты измерений отклонения перпендикулярности смежных граней: опорная поверхность - боковые грани
|
Измерение |
Показания индикатора прибора НПР-1 | |||
|
Мера бетонная МБ1 |
Мера бетонная МБ2 |
Мера бетонная МБЗ |
Мера бетонная МБ4 | |
|
1 | ||||
|
2 | ||||
|
3 | ||||
|
4 | ||||
|
5 | ||||
|
6 | ||||
|
7 | ||||
|
8 | ||||
ILJ1_ и м еч а н и е; Меры бетонные МБ1, МБ2 имеют высоту 50 мм, поэтому перпендикулярность граней проверяется в одной точке.
Таблица 7 Результаты измерений отклонений от плоскостности рабочих поверхностей мер МБ1, МБ2
|
Измерение плоскостности |
Мера бетонная MET Разность показаний индикаторов ИЧ2 |
Мера бетонная МБ2. Разность показаний индикаторов ИЧ2 |
|
1 | ||
|
2 | ||
|
3 | ||
|
4 | ||
|
5 | ||
|
6 | ||
|
7 | ||
|
8 |
|
Измерение плоскостное ти |
Мера бетонная МБЗ. Разность показаний индикаторов прибора НПЛ-1, мм |
Мера бетонная МБ4. Разность показаний индикаторов — ..ез ТТТ7ТТ 1 |
|
Рабочая поверхность 200*500мм | ||
|
1 | ||
|
2 | ||
|
3 | ||
|
4 | ||
|
5 | ||
|
6 | ||
|
7 | ||
|
8 | ||
|
Рабочая поверхность 200*600 мм | ||
|
1 |
1 | |
|
2 | ||
|
3 | ||
|
4 | ||
|
5 | ||
|
6 | ||
|
7 | ||
|
8 | ||
Таблица 8. Результаты измерений отклонений от плоскостности рабочих поверхностей мер МБЗ, МБ4
|
Рабочая поверхность 600*500 мм | ||
|
1 | ||
|
2 | ||
|
3 | ||
|
4 | ||
|
5 | ||
|
6 | ||
|
7 | ||
|
8 | ||
|
9 | ||
|
10 | ||
|
11 | ||
|
12 | ||
Поверитель
(подпись)
(Фамилия И.О.)
