Методика поверки «ГАЗОАНАЛИЗАТОР ВЗРЫВООПАСНЫХ ПАРОВ "СИГНАЛ-4”» (ГПСК 02.00.00.000)
СОГЛАСОВАНО

Методика поверки
ГПСК 02.00.00.000 ДЛ
Москва 2008
СОДЕРЖАНИЕ6.ОФОРМЛЕНИЕ РЕЗУЛЬТАТОВ ПОВЕРКИ
7.ПРИГОТОВЛЕНИЕ ПОВЕРОЧНЫХ ГАЗОВЫХ СМЕСЕЙ
Настоящая методика распространяется на газоанализаторы взрывоопасных паров "Сигнал-4", предназначенные для определения довзрывных концентраций взрывоопасных паров, таких как метан, пропан, пары бензина, углеводородов и других, а также токсичных паров таких как аммиак, окислы азота, серы, сероводород, кислорода и других в воздухе рабочей зоны и локализации утечек горючих паров и измерения уровня загазованности в подвалах, колодцах, камерах и других помещениях технологических объектов класса В-1, В-1а, наружных установок класса В-1г (по классификации ПУЭ, гл.7.3, изд.2000 г.), ГОСТ Р51330.13-99, где по условиям эксплуатации возможно образование взрывоопасных смесей категории ПВ, Т4.
Методика устанавливает методы и средства первичной и периодической поверки.
Межповерочный интервал в соответствии с описанием типа средства измерений - 12 месяцев.
При подготовке к поверке и при ее проведении должны соблюдаться меры безопасности и требования указанные в Руководстве по эксплуатацйи газоанализатора ГПСК 02.00.00.000 РЭ.
1. ОПЕРАЦИИ ПОВЕРКИПри проведении поверки должны выполняться операции, указанные в таблице 1.
Таблица 1
Наименование операции |
№ пунк та |
Обязательность проводимой операции | ||
При выпуске из производства |
После ремонта |
В эксплуатации и хранении | ||
Проверка комплектности и внешний 1 осмотр 1 |
5.1 |
Да- |
Да |
Да |
Проверка работоспособности | |
5.2 |
Да |
Да |
Нет |
Определение погрешности измерения 1 |
5.3 |
Да |
Да |
Да |
Проверка времени срабатывания сиг- 1 нализации | |
5.4 |
Да |
Да |
Нет |
Определение основной погрешности измерения проводится с применением аттестованных поверочных газовых смесей в баллонах или путём приготовления поверочных газовых смесей. Метод приготовления ПГС паров бензина и других горючих веществ см. п. 7.1, метод приготовления ПГС паров аммиака см. п. 7.2.
При проведении поверки следует применять средства поверки и вспомогательное оборудование, указанные в таблице 2.
Таблица 2
Наименование |
Тип |
Документ |
Примечание |
ПГС № 1 |
ГОСТ 17433-80 |
чистый воздух кл. 0 | |
ПГС № 2 СН4 |
ГСО 4272-88 |
ТУ 6-16-2956-92 |
0,88 % об. |
ПГС № 2 С3Н8 |
ГСО 3968-87 |
ТУ 6-16-2956-92 |
0,34 % об. |
ПГС № 2 пары ГВ |
см. п. 7.1 |
0,12% об. | |
ПГС № 2 О2 + воздух |
ГСО 3727-87 |
ТУ 6-16-2956-92 |
14% об. |
ПГС № 2 СО |
ГСО 3847-87 |
ТУ 6-16-2956-92 |
100 мг/м3 |
ПГС № 2 NH3 |
см. п. 7.2 |
60 мг/м3 | |
ПГС № 3 СН4 |
ГСО 4272-88 |
ТУ 6-16-2956-92 |
1,98% об. |
ПГС № 3 С3Н8 |
ГСО 3970-87 |
ТУ 6-16-2956-92 |
0,77 % об. |
ПГС № 3 пары ГВ |
см. п. 7.1 |
0,54 % об. | |
ПГС № 3 О2 + воздух |
ГСО 3727-87 |
ТУ 6-16-2956-92 |
21 %об. |
ПГС № 3 СО |
ГСО 7590-99 |
ТУ 6-16-2956-92 |
200 мг/м3 |
ПГС № 3 NH3 |
см. п. 7.2 |
100 мг/м3 | |
ПГС № 4 NH3 |
ГСО 7922-01 |
ТУ6-16-2956-92 |
500 мг/м3 |
ПГС № 5 NH3 |
см. п. 7.2 |
20 мг/м3 | |
ПГС №6 O2 + N2 |
ГСО 3712-87 |
ТУ 6-16-2956-92 |
0,1 %об. |
Воздух нулевой |
ТУ 6-21-5-82 | ||
Аллиловый спирт |
ТУ МХП 1880-48 | ||
Амиловый спирт |
МРТУ 6-09-5531-68 | ||
Ацетон |
ГОСТ 2693-79 | ||
Ацетонитрил |
МРТУ 6-09-6448-69 | ||
Бензин |
ТУ 38.401-67-108 | ||
Бензол |
ГОСТ14198-78 | ||
Бутадиен |
МРТУ 6-09-4954-68 | ||
Бутан |
МРТУ 6-09-4557-67 | ||
Бутанол |
ГОСТ 6006-73 | ||
Бутилацетат |
ГОСТ 22300-76 | ||
Бутилен |
МРТУ 6-09-6382-69 | ||
Винилацетат |
МРТУ 6-09-5542-68 | ||
Газ природный топливный |
ТУ 5542-87 | ||
Гексан |
ТУ 6-09-1997-77 | ||
Гептан |
МРТУ 6-09-6519-70 | ||
Дизельное топливо |
ГОСТ 305-82 | ||
Дихлорметан |
ТУ 6-09-06-856-77 | ||
Дихлорэтан |
ГОСТ 5840-51 | ||
Изобутан |
МРТУ 6-09-4558-67 | ||
Изобутанол |
ГОСТ 6016-72 | ||
Изооктан |
ТУ 6-09-921-71 | ||
Изопропанол |
ТУ ИБЯЛ.418319.013-95 | ||
Изопропилбензол |
ГОСТ 20491-75 | ||
Керосин |
ТУ 38.40158-10-90 | ||
Ксилол |
ТУ 6-09-4565-77 | ||
Масло минеральное |
ГОСТ 17479.1 | ||
Метан |
ТУ 51-541-75 | ||
Метанол |
ГОСТ 6995-77 | ||
Метилакрилат |
ТУ ИБЯЛ.418319.013-956 | ||
Метилаль |
МРТУ 6-09-6319-69 | ||
Метилбутандиол |
ТУ 6-09-99-70 | ||
Метилэтилкетон |
ТУ 6-09-782-76 | ||
Нафталин |
ТУ 6-09-2200-77 | ||
Окись пропилена |
ГОСТ 23001-88 | ||
Окись этилена |
ГОСТ 7568-88 | ||
Октан |
МРТУ 6-09-661-71 | ||
Нефть |
ГОСТ 9965-76 | ||
Пентан |
МРТУ 6-09-4612-67 | ||
Пропанол-1 |
ТУ 6-09-6628-70 | ||
Пропанол-2 |
ТУ 6-09-402-70 | ||
Пропилен |
ГОСТ 25043—87 | ||
Скипидар |
ГОСТ 1571-82 | ||
Сольвент нефтяной |
ГОСТ 10214-78 | ||
Стирол |
МРТУ 6-09-4055-67 | ||
Т олуол |
ГОСТ 14710-78 | ||
Уайт-спирит |
ГОСТ 3134-78 | ||
Пропан |
МРТУ 6-09-4560-67 | ||
Нонан |
МРТУ 6-09-4611-67 | ||
Декан |
МРТУ 6-09-4617-67 |
Циклогексан |
МРТУ 6-09-3112-66 | ||
Циклогексанон |
ТУ 6-09-05-227-75 | ||
Этан |
МРТУ 6-09-1461-67 | ||
Этанол |
ГОСТ 18300-72 | ||
Этилацетат |
ГОСТ 22300-86 | ||
Этилбензол |
ТУ 6-09-2786-73 | ||
Этилен |
ГОСТ 25070-87 | ||
Этиленгликоль |
ГОСТ 10164-75 | ||
Элегаз |
ТУ-6-02-1249-89 | ||
Хладон 12, Хладон 22 |
ГСО №6175-91 | ||
Фреон 218 |
ГОСТ 3160-51 | ||
Сероводород источники микропотоков |
ИБЯЛ.410319.013 HH03-H-H2S-A2 | ||
Хлороводород |
ГОСТ 3118-77 | ||
Фтороводород |
ГОСТ 10484-73 | ||
Диоксид азота источники микропотоков |
ИБЯЛ.418814.013-01 ИН01-О-ЫО2-Г2 | ||
Хлор источники микропотоков |
ИБЯЛ.410319.013 ПС-09 ИМ09-О-А2 | ||
Аммиак водный 25% |
ГОСТ 3760-79 | ||
Формальдегид 30% |
ГОСТ 1625-75 |
Термометр |
ТЛ-2 |
ГОСТ 25744-87 |
от 0 до 50 °C |
Гигрометр |
ВИТ-2 |
ГОСТ 28498-90 |
погр. ± 7 % |
Генератор аммиака |
ГЕА-01 |
ЯРКГ5.184.003ТУ | |
Генератор озона ГС-024 |
ТУ 25-7407.040-90 • | ||
Барометр-анероид |
БАММ-1 |
ТУ 25-11.1513-79 | |
Секундомер |
СОПпр-2а |
ТУ 25-1894.003-90 | |
Ротаметр |
РМ-А-0,063 ГУЗ |
ГОСТ 13045-81 | |
Весы аналитические |
АДВ-200 |
ГОСТ 24104-80Е | |
Редуктор |
БКО-50-4 | ||
Вентиль точной регулировки |
ВРТ-40 | ||
Приспособление для поверки |
штуцер |
ГКПС09.00.00.001 | |
Бокс |
8БП1-ОС | ||
Пипетки ёмкостью 1, 2, 10 мл |
ГОСТ 20292-74 | ||
Шприц медицинский |
10 мл | ||
Термодиффузионный генератор газовых смесей |
ТДГ-01-ШДЕК. |
418319.001ТУ | |
Источники микропотоков газов и паров (ИМ) |
ТУ ИБЯЛ.418319.013 | ||
Мешки пластикатовые композитные емкостью не менее 0,2 м3 | |||
Роторный испаритель |
ИР-1М |
ТУ 25-11-917-74 | |
Газовый счётчик барабанного типа |
ГСБ-400 |
ТУ 25-04-253-75 |
Примечания. 1. При проведении поверки допускается замена средств измерений, приведенных в таблице, другими, имеющими метрологические характеристики не хуже указанных и обеспечивающими заданные погрешности измерений.
-
2. Баллоны с ПГС аммиака, редуктор и вентиль точной регулировки могут быть заменены Генератором аммиака переносным ГЕА-01.
-
3. Допускается в качестве ПГС № 1 применять чистый атмосферный воздух.
-
4. Датчик и газоанализатор "Сигнал-4" настраиваются только на один вид взрывоопасного газа или пара. Следовательно, поверка газоанализатора должна производиться по ПГС того газа или пара, на который настроен прибор.
-
3.1. При проведении поверки должны соблюдаться следующие условия:
напряжение электропитания, В 220 +1° %-15 %
частота электрического тока, Гц 50 ± 1
температура окружающего воздуха,°C 20 ± 5
относительная влажность окружающего воздуха, %, не более 80
атмосферное давление, кПа от 84 до 106,7
расход ПГС, мл/мин от 100 до 1000
Баллоны, предназначенные для ПГС данного состава, запрещается заполнять другими газами или газовыми смесями, производить любые операции, которые могут увлажнить или замаслить их внутренние поверхности, а также запрещается перекрашивать баллоны или изменять их маркировку.
4. ПОДГОТОВКА К ПОВЕРКЕ-
4.1. Перед проведением поверки необходимо надежно заземлить применяемые эталоны и вспомогательное оборудование.
-
4.2. Работу с эталонами и вспомогательным оборудованием производить в соответствии с их техническими описаниями и инструкциями по эксплуатации.
Подготовить ПГС, путем заполнения пластикатовых композитных мешков из баллонов ГСО газовых смесей, баллонов с чистыми газами, роторного испарителя ИР-1М с раствором контролируемого вещества или из стандартных источников микропотоков газов и паров (ИМ) с разбавлением чистым воздухом класса "0" по ГОСТ 17433
-
4.3. Непосредственно на месте установки газоанализатора:
-
- проверить установку датчиков в рабочее положение согласно инструкции по эксплуатации;
-
- проверить исправность подключения датчика к газоанализатору;
-
- включить газоанализатор "Сигнал-4" и прогреть в соответствии с инструкцией по эксплуатации (не менее 15 минут).
-
5.1. Проверка комплектности и внешний осмотр.
-
5.1.1. Проверку комплектности газоанализатора проводят в соответствии с разделом "Комплект поставки" эксплуатационной документации.
-
5.1.2. При проведении внешнего осмотра должно быть установлено: соответствие номера на приборе указанному в документации;
-
отсутствие вмятин и видимых механических повреждений, а также пыли и грязи на корпусах датчиков и трещин на корпусах сенсоров.
-
5.1.3. Приборы, не удовлетворяющие требованиям п.п. 5.1.1 и 5.1.2, к дальнейшим операциям поверки не допускаются.
-
5.2. Проверка работоспособности.
Подключить к газоанализатору датчик из комплекта прибора и включить газоанализатор.
Внимание! Включать газоанализатор с неподключённым датчиком запрещается!
После включения питания происходит прогрев датчика прибора в течение 30 секунд. Во время прогрева все светодиоды шкалы мигают с периодом две секунды. После завершения прогрева мигание светодиодов шкалы прекратится.
По истечении времени прогрева на светодиодном индикаторе газоанализатора должно установиться «нулевому» показание прибора.
Индикация прибора не должна указывать на неисправность датчика и разряженность аккумуляторной батареи ниже нормы.
-
5.3. Определение погрешности измерения.
-
5.3.1. Включить прибор и провести подготовительные работы в соответствии с п. 4.3 настоящей методики.
-
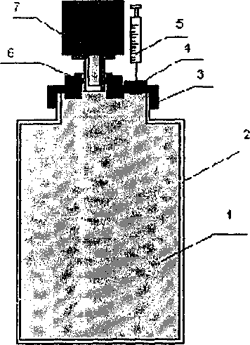
Собрать схему поверки газоанализатора, представленную на рисунке.

Схема поверки газоанализатора "Сигнал-4"
1. Баллон с ПГС; 2. Редуктор; 3. Вентиль точной регулировки;
4. Ротаметр; 5. Приспособление для поверки (штуцер); 6. Сенсор датчика
-
5.3.2. Используя приспособление для поверки, подать на датчик поверяемого прибора ПГС № 1. Допускается в качестве ПГС № 1 применять атмосферный воздух.
Если показания шкалы газоанализатора в чистом воздухе отличаются от «0», то его необходимо откорректировать следующим образом:
Отвернуть опломбированную гайку, удерживающую крышку, расположенную на задней поверхности корпуса прибора, открыв доступ к регулировочным винтам потенциометров, расположенных на плате за крышкой (см. Руководство по эксплуатации ГПСК 02.00.00.000-02 РЭ) и произвести установку нулевых показаний в соответствии Руководством по эксплуатации ГПСК 02.00.00.000-02 РЭ на соответствующую модификацию.
-
5.3.3. Подать на поверяемый датчик из баллона ПГС № 3 или поместить датчик в тестовую камеру с концентрацией Сп:
2,20 % об. (50 % НКПР); 0,85 % об. (50 % НКПР);
0,60 % об. (50 % НКПР); 100 мг/м3.
-
- для метана
-
- для пропана
-
- для паров бензина
-
- для паров аммиака
Каждую ПГС подавать до получения установившихся показаний прибора, но не более одной минуты.
При необходимости отрегулировать чувствительность датчиков, вращая винт потенциометра регулировки усиления.
-
5.3.4. Подать на поверяемый датчик прибора ПГС № 2 с концентрацией Сп:
0,88 % об. (20 % НКПР); 0,34 % об. (20 % НКПР); 0,12% об. (10% НКПР);
60 мг/м3;
18% об.
-
- для метана
-
- для пропана
-
- для паров бензина
-
- для паров аммиака
-
- для кислорода
Зарегистрировать показания Си прибора при подаче каждой ПГС.
При необходимости отрегулировать чувствительность датчика кислорода, вращая винт потенциометра регулировки усиления.
-
5.3.5. Определить погрешность измерения концентрации ВОГ данного типа газоанализатором "Сигнал-4" по формуле:
где: Сп - паспортное значение концентрации ПГС, Си - измеренное значение концентрации ПГС.
Газоанализатор "Сигнал-4" считается годным, если
| Ас | < 5 % НКПР (ВОГ) | Ас | < 1 % об. (О2)5.3.6.Определение основной относительной погрешности датчиков Сигнал-4Э с заказными сенсорами (см. Приложение А).
Определение основной относительной погрешности газоанализатора проводят методом прямых измерений на ПГС в трех точках: в начале, середине и конце диапазона.
Номинальное содержание измеряемого компонента в ПГС и пределы допустимых от
клонений от него должны соответствовать таблице 3 Таблица 3
Номер ПГС |
Концентрация ПГС в % от ВПИ (верхнего предела измерений) |
1 |
5±5 |
2 |
50±5 |
о 3 |
95±5 |
Проверку проводят путем подачи на входной штуцер газоанализатора ПГС в последовательности : чистый воздух класса "0"- ПГС № 1 - ПГС № 2 - ПГС № 3 - чистый
воздух класса "0". Количество рабочих измерений не менее 6.
Концентрацию ПГС из баллонов производить путём подачи в мешок чистого воздуха и добавки из баллона необходимого количества газа. При этом измерение количества воздуха в мешке производится с помощью газового счётчика ГСБ-400, а измерение количества газа с помощью газового счётчика ГСБ-400 для больших концентраций и шприца медицинского для малых концентраций.
Количество подаваемого газа Vr, л рассчитывается по формуле:
Спгс ' Vnrc
Vr= ................... . (1)
Сг
где Спгс - требуемая концентрация ПГС, мг/мЗ;
Vnrc - объём создаваемой ПГС л;
Сг,- весовая концентрация газа мг/мЗ, рассчитываемая по формуле
Сг% ' 10'М
Сг = “............ , (2)
22,4
где Сг% - объёмная концентрация газа в баллоне %;
10 - коэффициент;
М - молекулярный вес газа;
22,4 - объем граммолекулы идеального газа при 0 оС и 1 атм, л.
При этом относительная погрешность создания концентрации рассчитывается по формулам (3) и (4) для больших и малых концентраций соответственно
de = б 2бсч2 =±1,41%, (3)
где бсч = 1 % - относительная погрешность газового счётчика;
de = б dc42+dni2 = ± 2,24 %, (4)
где dm = 2 % - относительная погрешность шприца.
Концентрацию ПГС при использовании жидких реактивов производить путём подачи в мешок чистого воздуха и добавки через роторный испаритель необходимого количества вещества. Создание малых концентраций производить путём подачи в мешок чистого воздуха и добавки с помощью шприца медицинского необходимого количества газовой смеси из мешка с большой концентрацией.
Количество жидкости Уж, л, при создании больших концентраций, рассчитывается по формуле
Vnrc ' Сп ' М ' 100
V» = -.........................- , (5)
VM '(100-Сп) q ' г20
где М - молярная масса жидкости, г;
VM - молярный объём паров, л;
q - исходная концентрация дозирующей жидкости, %;
г20 - плотность дозирующей жидкости при температуре равной 20о С, г/см3;
Сп, - расчётная концентрация паров, %, которая рассчитывается по формуле
8312,6 ' 10-4 ' Спгс ' Т
Сп = -................................ , (7)
М ' Р
где Т - температура, К;
Р - общее давление газовой смеси;
8312,6 ' 10-4 - переводной коэффициент.
Расчёт количества ПГС большой концентрации, добавляемой в мешок с чистым воздухом для создания ПГС малой концентрации осуществлять по формуле (1).
При этом относительная погрешность создания концентрации рассчитывается по формулам (7) и (8) для больших и малых концентраций соответственно
de = О dcn2+dn2 = ± 2,24 % (7)
где dn = 2 % - относительная погрешность пипетки;
de = б 2dc42+dn2+dni2= ±3,16% (8)
где dm = 2 % - относительная погрешность шприца.
Оценку основной относительной погрешности газоанализатора d % определяют в точках проверки по формуле
(Стах-Спгс) * 100%
d = ................................ ± de (9)
Спгс
где Спгс - концентрация ПГС, мг/мЗ;
Стах - максимальная концентрация за шесть измерений, мг/мЗ.
Газоанализатор считается выдержавшим проверку, если полученное значение d не превышает ± 20%.
-
5.4. Проверка времени срабатывания сигнализации.
Подать на датчик ПГС № 3 из баллона или поместить датчик в тестовую камеру, включив одновременно секундомер.
Зафиксировать секундомером момент включения свечения красного светодиода, индицирующего порог 20 % НКПР для углеводородов, 10 % НКПР для паров горючих веществ, 60 мг/м3 для паров аммиака и 18 % об. для кислорода.
Газоанализатор "Сигнал-4" считается годным, если измеренный секундомером интервал времени не превышает 10 секунд для датчиков углеводородов, паров горючих веществ, аммиака и 60 секунд для датчика кислорода.
-
5.5. В обратной последовательности смонтировать корпус газоанализатора и опломбировать прибор поверительным клеймом.
-
6.1. Если газоанализатор по результатам поверки признан пригодным к применению, то на него выдаётся "Свидетельство о поверке". Прибор должен быть опломбирован.
-
6.2. Если газоанализатор по результатам поверки признан непригодным к применению, выдаётся "Извещение о непригодности", а "Свидетельство о поверке" и поверительное клеймо аннулируются.
-
7.1. Приготовление поверочных газовых смесей паров гексана, бензина, керосина, ацетона, спирта и т.п.
-
7.1.1. Собрать устройство для приготовления поверочных концентраций паров вещества в соответствии с приведенной ниже схемой.
-
7.1.2. Рассчитать количества жидкого вещества, необходимого для создания заданных
концентраций его паров в камере с известным объемом при постоянной температуре, по формуле (ГОСТ Р 51330.2-99):
6,236-T-r
где: m - количество жидкого горючего вещества, мл;
М— молярная масса вещества;
Р - атмосферное давление в камере, мм рт.ст.;
Ср - заданная концентрация паров вещества, % об.;
V- вместимость камеры, л;
Г - температура, поддерживаемая в камере, К; у- плотность, кг/м3;
Значения молярных масс, плотностей и заданных концентраций некоторых горючих веществ по ГОСТ Р 51330.19-99 приведены в таблице.
Молярная масса М |
Плотность у, кг/м3 |
Заданная концентрация паров Ср, % об. | ||
ПГС № 2 (20 % НКПР) |
ПГС № 3 (50 % НКПР) | |||
Ацетон |
58,08 |
791 |
0,50 |
1,25 |
Бензин |
90 |
700 |
0,24 |
0,60 |
Гексан |
86,18 |
860 |
0,20 |
0,50 |
Керосин |
120 |
792 |
0,14 |
0,35 |
Спирт этиловый |
83,459 |
789 |
0,62 |
1,55 |
Спирт метиловый |
32,04 |
795 |
1,10 |
2,75 |
Топливо дизельное |
172 |
840 |
0,12 |
0,30 |
Примечание:3начения молярных масс, плотностей и НКПР горючих веществ не вошедших в таблицу по следует взять из ГОСТ Р 51330.19-99.
При этом погрешность определения необходимого количества вещества
Am/m = 1,2 [(Ам/М)2 + (АР/Р)2 + (Av/V)2 + ( Дт/Т)2]1/2
не должна быть более 0,05.
7.1.3. Рассчитанное количество вещества вводят в камеру мерной пипеткой (либо с помощью медицинского шприца). После этого включают нагревательный элемент и устройство для перемешивания паров вещества в воздухе на время, достаточное для полного испарения вещества.
При небольших объемах камеры (менее 100 л) требуемое количество вещества удобнее взвешивать с помощью аналитических весов, определив его массу по формуле:
п = у т,
где п - количество вещества, мг.
-
7.2. Приготовление поверочных газовых смесей аммиака с воздухом.
Поверочная газовая смесь аммиака в воздухе приготавливается в стеклянной ёмкости, показанной на рис.7.2.1.

Рис. 7.2.1. Схема калибровки чувствительности датчиков аммиака
1. ПГС аммиака с воздухом; 2. Стеклянная банка ёмкостью 3000 см3;
3. Полиэтиленовая крышка; 4. Резиновая пробка; 5. Шприц со шкалой 5 мл;
6. Герметичный порт для установки сенсора аммиака в банку с ПГС;
7. Корпус датчика аммиака.
Первичная ПГС готовится в стеклянной банке объемом 2500 -3000мл. В банку наливается раствор аммиака в воде с весовой концентрацией 10 %, банка плотно закрывается крышкой, имеющей плотно прилегающую резиновую пробку. Образующиеся над поверхностью раствора насыщенные пары аммиака используются в качестве первичной ПГС.
Молярная концентрация (мольно-объёмная) выражается числом грамм-молекул растворённого вещества, содержащихся в 1 л раствора, и обозначается М.
Парциальное давления аммиакар,Мн температура Т, связаны соотношением
pNH3 = M40(7’58-I924fr)
Рекомендуется применять аммиак водный марки ОСЧ 10 %. Допускается применение приготовленного в аптеке 10 % (весовых частей) водного раствора аммиака. Перед использованием водного раствора аммиака, приготовленного для медицинских применений, можно уточнить его концентрацию титрованием.
По результатам титрования, как показала практика, отклонение от 10 % не превышает 0,2 %, что находится в пределах относительной погрешности измерений 5 %.
Поскольку в 1000 мл 10 % водного раствора аммиака содержится 100 г аммиака, что соответствует 100/17 = 5,88 грамм-молекул аммиака, то молярная концентрация исходного раствора аммиака М = 5,88. Для температуры 293 К (20 °C) парциальное давление насыщенного пара аммиака равно
Pnh3 ~ 5,88*101,013 = 60,65 мм рт.ст.
Таким образом, в ёмкости создаётся первичная ПГС Сн аммиака с воздухом, которая при атмосферном давлении (например, 760 мм рт.ст.) рассчитывается по формуле:
Сн = (PNH3 / 760) *(7 7/29) *1293 =60.5 г/м3
Если полученную ПГС аммиака с воздухом с концентрацией Сн с помощью шприца переносить в стеклянную банку объемом 3000 см3 с герметичной крышкой, в которой установлены исследуемые сенсоры аммиака, то при переносе объёма 5 см3 исходная концентрация ПГС разбавляется в соотношении 5/3000, т.е. для Сн =60.5 г/см3 после такого разбавления в исследуемом объеме ПГС будет иметь концентрацию аммиака равную 102.5 мг/м3.
Концентрация 20 мг/м3 может быть образована в банке с воздухом, если с помощью шприца перенести первичную концентрацию объёмом 1 мл. При следующем переносе 1 мл первичной концентрации Сн в банку в ней образуется ПГС с концентрацией аммиака 40 мг/м3.
Таким образом методом сложения можно получить в стеклянной банке любое значение концентрации аммиака в воздухе от ПДК санитарной зоны (20 мг/м3) до 1000 мг/м3.
ПРИЛОЖЕНИЕ АПараметры заказных электрохимических сенсоров
Тип газа, химическая формула |
Диапазон, ppm |
Тип сенсора |
Производитель |
СО |
0-200 |
CO/CF-200 |
Membrapor |
СО |
0-500 |
CO/MF-500 |
Membrapor |
NH3 |
0-100 |
NH3/CR-200 |
Membrapor |
NH3 |
0-1000 |
NH3/CR-1000 |
Membrapor |
H,S |
0-50 |
H,S/C-50 |
Membrapor |
H2S |
0-200 |
H2S/C-200 |
Membrapor |
SO, |
0-20 |
SO2/C-20 |
Membrapor |
SO, |
0-100 |
SO2/C-IOO |
Membrapor |
NO |
0-25 |
NO/C-25 |
Membrapor |
NO |
0-100 |
NO/CF-100 |
Membrapor |
NO, |
0-20 |
NO2/C-2O |
Membrapor |
Cl, |
0-20 |
CI2/C-2O |
Membrapor |
HC1 |
0-20 |
HC1/C-20 |
Membrapor |
CH2O (формальдегид) |
0-10 |
СН2О/С-Ю |
Membrapor |
o3 |
0-2; 0-5 |
ОЗ/С-2; O3/C-2 |
Membrapor |