Методика поверки «Мониторы пациента DASH» (МП 203-0089 -2009)
УТВЕРЖДАЮ
Н. и. Ханов
2009 г.
оводитель ГЦИ СИ ФГУП .И. Менделеева»
Мониторы пациента DASHМЕТОДИКА ПОВЕРКИ
МП 203-0089-2009
руководитель лаборатории
ГЦИ СИ ФГУП «В

“ГД.И. Менделеева» В.И. Суворов
Санкт-Петербург 2009 г.
Настоящая методика поверки распространяется на мониторы пациента DASH (модификации DASH 3000, DASH 4000, 5000) фирмы «GE Medical Systems Information Technologies Inc.», CHIA (далее - мониторы) и устанавливает методы и средства их первичной перед вводом в эксплуатацию и периодической поверки
Межповерочный интервал - 1 год.
-
1. Операции поверки
-
1.1. Объем и последовательность операций при первичной и периодической поверке указаны в табл. I.
-
'Таблица 1
Наименование операции
Наименование документа по поверке
-
1. Внешний осмотр__________________________
-
5.1 настоящей МП
-
5.2 настоящей МП
-
-
2. Опробование_____________________________
-
3. Определение метрологических характеристик:
3.1.Определение метрологических характеристик электрокардиографического канала.
-
3.2. Определение метрологических характеристик канала артериального канала
-
3.3. Определение метрологических характеристик канала частоты дыхания
-
3.4. Определение метрологических характеристик канала термометрии
Р 50.2.049-2005 п. 8,3.1
п, 8.3.3
п. 8.3.6
п. 8.3.4.1
-
-
3.5. Определение метрологических характеристик пульсоксиметрического канала.
п.5.3.1 настоящей МП
п.5.3.2 настоящей МП
-
3.6. Определение метрологических характеристик канала капнометрии
-
2. Средства поверки
При проведении поверки применяются следующие средства измерений и оборудование; Таблица 2
|
Наименование |
Технические и метрологические характеристики оборудования |
|
1.Генератор функциональный, ГФ-05 ГрСИ №11789-03 |
Диапазон размаха напряжения выходного сигнала: от 0,03 мВ до 20 В; диапазон частот; от 0,01 до 600 Гц |
|
2. Установка для поверки каналов измерений давления (УПКД), ГрСИ №23532-02 |
Диапазон измерений; 2,66 - 39,9 кПа (от 0 до 300 мм.рт.ст.). Основная погрешность измерений: ±0,8 мм.рт.ст |
|
3. Установка для поверки пульсоксиметров |
Коэффициент сатурации от 35 до 100 % с погрешностью ±1%; частоты пульса от 30 до 250 1/мин. с погрешностью ±0,5 %. |
|
4. Поверочное коммутационное устройство ПКУ-ЭКГ |
Параметры эквивалента «кожа-электрод»: Ri=51 ± 2,55 кОм, С1= 0,047; ± 0,0047 мкФ, Rn=100 ± 5 Ом, Кз=2,2 МОм |
|
5. Установка для поверки каналов измерений частоты пульса И АД (УПКЧП), ГрСИ №21923-01 |
Диапазон задания частоты следования импульсов: 30 - 200 мин Основная относительная погрешность задания частоты импульсов: ± 1,5 % |
|
6. Ротаметр с местными показаниями типа РМ ГОСТ 13045-81 |
РМ-0,6300ГУЗ-К Верхний предел измерений - 0,63 м^/ч; основная допускаемая погрешность; ± 2,5 % верхнего придела измерений. |
|
7. Термометр ртутный образцовый, ТР-1, ГрСИ №2850-02 |
Цена деления 0,01 °C; Погрешность: ±0,03 °C |
|
8. Термостат жидкостной ТЖ мод. ТС-01, ТБ-01. ГрСИ №2850-02 |
Диапазон регулирования температуры не менее 10-95 °C; погрешность не более ±0,03 °C |
|
9. Лупа измерительная по ГОСТ 25706 |
Увеличение: 10, Пределы измерений: 0-15 мм.. |
|
10. Азот «нулевой» по ТУ 6-21-39-79 марки Б или азот ос.ч. сорт 2 по ГОСТ 9293-74; Стандартные образцы состава СОг/воздух- ГСО 3794-87, ГСО 3795-87, ГСО 3796-87 |
Содержание основного компонента: %, 99,995 - 99,999. Таблица 3 |
|
11. Преобразователь «напряжения-сопротивления» ПНС-ГФ, ТУ 9440-671-05834388-95, ГрСИ №23213-02 |
Диапазон установки постоянной составляющей сопротивления: 10-1000 Ом. Погрешность ±2% Диапазон установки переменной составляющей сопротивления: 0,005 -10 Ом. Погрешность ± 2% для значений 0,1; 0,25; 0,5; 1,0 и 10 Ом;± 5% для значений 0,005; 0,05 Ом. |
Примечание: Оборудование, перечисленное в перечне, может быть заменено аналогичным, обеспечивающим требуемую погрешность и пределы измерения.
гсо-пгсТаблица 3
|
Наименование смеси |
Компонентный состав |
Номинальное значение объемной доли (двуокиси углерода), %. |
|
ГСО 3794-87 |
двуокись углерода! воздух |
2,5 % |
|
ГСО 3795-87 |
двуокись углерода /воздух |
5,0 % |
|
ГСО 3795-87 |
двуокись углерода! воздух |
10,0% |
3. Требования безопасности
-
3.1. При проведении поверки должны быть соблюдены следующие требования безопасности:
-
3.2. К работе с приборами, используемыми при поверке, допускаются лица, прошедшие инструктаж по технике безопасности при работе с электро- и радиоизмеритель-ными приборами.
-
3.3. Перед включением должен быть проведен внешний осмотр приборов с целью определения исправности и электрической безопасности включения их в сеть.
-
3.4. Перед включением в сеть приборов, используемых при поверке, они должны быть заземлены в соответствии с требованиями, указанными в эксплуатационной документации.
-
4.1. При проведении поверки должны быть соблюдены следующие условия:
температура окружающего воздуха от 15 до 35 ®С относительная влажность от 30 до 80 % отклонение напряжения питания от номинального значения (220 ± 4,4) В атмосферное давление от 630 до 795 мм рт. ст.
♦
♦
♦
♦
-
4.2. Поверяемый монитор и средства поверки, указанные в соответствующих разделах настоящей методики, должны быть подготовлены к работе в соответствии с руководствами по эксплуатации на них.
Распакованный монитор необходимо выдержать перед включением в течение двух часов при температуре (25±5)®С и относительной влажности от 30 до 80 %.
-
4.3. На средства поверки должны быть свидетельства о предыдущей поверке.
-
4.4. Для поверки канала капнометрии выдержать поверочные газовые смеси при температуре поверки не менее 24 часов.
5.1 Внешний осмотр.
При проведении внешнего осмотра установки проверяется:
-
* соответствие комплектности руководству по эксплуатации;
-
* отсутствие внешних повреждений, влияющих на точность показаний;
-
* отсутствие отсоединившихся или слабо закрепленных элементов схемы (определяется на слух при наклонах изделия).
Приборы с механическими повреждениями к поверке не допускаются.
-
5.2. Опробование.
При опробовании монитора должны быть проверены:
- функционирование кнопок клавиатуры.
При проверке функционирования следует убедиться в том, что органы управления обеспечивают четкость и надежность управления режимами работы.
-
5.2.1. Опробование пульсоксиметрического канала.
Проверку работоспособности монитора проводить следующим образом:
Подсоединить датчик пульса к оптической пластинке установки для поверки пульсоксиметров;
Включить установку и прогреть в течение 10 минут;
Установить на входе пульсоксиметрического канала сигнал со следующими характеристиками:
-
♦ Коэффициент сатурации SpO: - 96
-
* Частота пульса F “ 60 мин'\
Произвести измерение сигнала и убедится, что измеренные значения коэффициента сатурации находится в пределах от 94 до 98 %.
Проверить индикацию значений сатурации в диапазоне от 99 до 35 %.
Монитор должен производить измерение значения коэффициента сатурации ЗрОг в диапазоне от 35 до 100 %.
-
5.2.2. Опробование канала капнометрии.
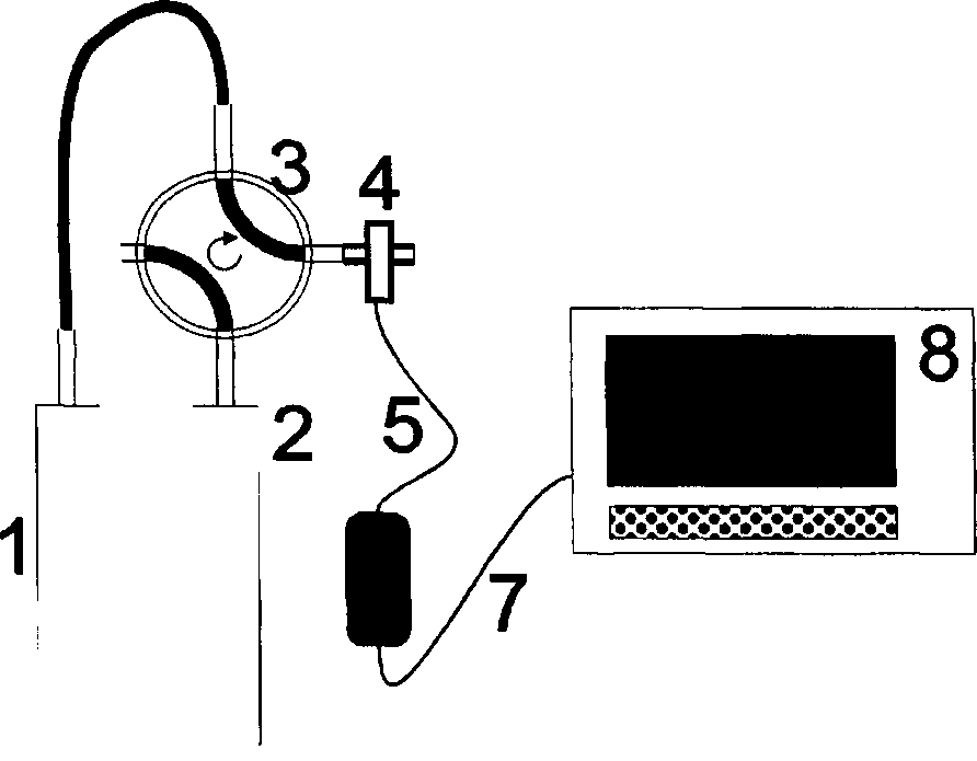
Опробование канала капнометрии проводят при включении монитора по схеме» приведенной на рис Л (Приложение 1).
От установки воздуходувной (1) и из источника поверочной газовой смеси (2) формируют потоки с расходом около 10 л/мин. При вращении двухходового крана (3) со скоростью около 10 оборотов в минуту на мониторе должно индицироваться значение, соответствующее частоте дыхания около 20 мин'\
-
5.3. Определение метрологических характеристик.
Определение метрологических х^актеристик проводится для каждого измерительного канала в отдельности, в зависимости от варианта исполнения.
5.3.1 Определение метрологических характеристик пульсоксиметрического канала.
-
5.3.1.1. Определение погрешности измерен^ коэффициента сатурации выполняют с помощью установки для поверки пульсоксиметров в режиме измерения отношений коэффициентов модуляции двух синфазно модулированных сигналов, выраженных в единицах сатурации следующим образом:
Подключить пульсоксиметрический блок к установке и установить следующие значения:
Отношение коэффициента модуляции R - 0,62 (коэффициент сатурации SpOz К» -96%),
Частота пульса 60 мин"^
Снять показания ЗрОг на табло монитора (Киэм)>
Определить абсолютную погрешность измерений коэффициента сатуращш SpOz ДК в % по формуле:
ДК=К„м-Ко (I)
Повторить проверку и определить абсолютную погрешность измерений коэффициента сатурации А К не менее чем в трех точках диапазона измерений, выставляя на установке последовательно значения отношений коэффициентов модуляции двух синфазно модулированных сигналов в соответствии с таблицей приложения! (рекомендуемые значения сатурации ЗрОг = 40,70,80,90,97 и 99 %).
Результаты проверки по признают положительными, если абсолютная погрешность измерения коэффициента сатурации не превышает ± 2 %.
-
5.3.1.2. Определение абсолютной погрешности частоты пульса вьшолняют с помощью установки для поверки пульсоксиметров в режиме измерений частоты модуляции двух синфазно-модулированных сигналов следующим образом:
Подключить пульсоксиметр к установке и установить следующие значения: Частота пульса Fo « 60 мин*\
Коэффициент сатурации SpO: К» = 96 %, Снять показания частоты пульса Рюм*
Определить абсолютную погрешность измерений частоты пульса ДР, мин*\ по формуле:
Д F “ F ЮМ ” Fq (2)
Повторить проверку и определить абсолютную погрешность измерений частоты пульса, выставляя на установке последовательно частоту пульса 30,120, ISO, 230 мин'\
Результаты проверки признают положительными, если абсолютная погрешность измерений частоты пульса не превышает ±1 мин'\ в диапазоне от 25 до 35 мин'\ а относительная погрешность не превышает ±3 % в диапазоне от 35 до 240 мин'^.
-
5.3.2. Определение метрологических характеристик канала капнометрии
Определение погрешности измерений парциального давления СОг проводят при подаче на вход монитора поверочных газовых смесей согласно таблице 4. Диапазон парциального давления СОготОдо 150 мм рт.ст. соответствует объемной доле СОг воздухе от О до 13 %.
Таблица 4
|
Номер смеси |
Компонентный состав |
Номинальное значение объемной доли двуокиси углерода, %. |
|
№1 |
Азот «нулевой» по ТУ 6-21-39-79 марки Б |
0 |
|
№2 |
двуокись углерода /воздух |
2,5% |
|
№3 |
двуокись углерода /воздух |
5,0 % |
|
Ks4 |
двуокись углерода / воздух |
10,0% |
-
5.З.2.1. Рассчитывают парциальное давление СО: для каждой газовой смеси (Ci, мм рт.ст.) по формуле:
100
Где:
Xi - объемная доля СОг в газовой смеси, %; Ритм - атмосферное давление, мм рт.ст.
-
5.3.2.2. На вход монитора последовательно подают газовые смеси №№ 1-4, указанные в таблице 4, и регистрируют на экране монитора соответствующее каждой смеси парциальное давление СОз Сиш, мм рт.ст.
Для каждой газовой смеси вычисляют относительную погрешность монитора, %, по формуле:
о
-
5.3.2.3. Результаты проверки признают положительными, если для поверочных газовых смесей №№ 1-4 относительная погрешность измерения парциального давления СО: не превыает ± 5 %.
-
6.1. Результаты периодической поверки или поверки после ремонта оформляют документом, составленным метрологической службой предприятия.
-
6.2. Результаты поверки считаются положительными, если монитор удовлетворяет всем требованиям настоящей методики.
-
6.3. Результаты считаются отрицательными, если при проведении поверки установлено несоответствие поверяемого монитора хотя бы одному из требований настоящей методики по каждому из измерительных каналов раздельно. Отрицательные результаты поверки оформляются путем выдачи извещений о непригодности с указанием причин непригодности. При этом запрещается выпуск монитора в обращение и его применение.
ПРИЛОЖЕНИЕ!
(обязательное)

О
о
‘“П”
-
1 - Ротаметр для контроля потока воздуха от установки воздуходувной;
-
2 - Ротаметр для контроля потока поверочной газовой смеси с заданной концентраци
ей СОг;
-
3 - Двухходовой кран с внутреннем объемом не более 2 мл;
-
4 - Датчик капнометра с адаптером воздупшого потока;
-
5 - Кабель связи датчика и контроллера капнометра;
-
6 - Контроллер капнометра;
-
7 - Кабель связи контроллера капнометра и монитора;
-
8 - Монитор.
Рис.1 Схема поверки канала капнометрии.
ПРИЛОЖЕНИЕ 2 (рекомендуемое)
Форма протокола поверки монитора пациента DASHМодификация_
Заводской номер Дата выпуска__
Дата поверки __
Л: кПа;
%.
Условия поверки: температура окружающего воздуха атмосферное давление__________
относительная влажность_______
Средства поверки:
Результаты поверки
-
1. Результаты внешнего осмотра________________________
-
2. Результаты опробования_____________________________
-
3. Результаты определения погрешностей измерительных каналов монитора:
-
- электрокардиохрафический канал:
-
- пульсоксиметрический канал:
-
- канал артериального давления;
-
- канал термометрии:
-
- канал часты дыхания:
-
- канал капнометрии:
4. Заключение
Поверитель
Дата поверки
8
