Методика поверки «ГСИ. рН-метры. Методика поверки» при измерении рН и температуры» (ГОСТ Р8.857-2013)
ФЕДЕРАЛЬНОЕ АГЕНТСТВО
ПО ТЕХНИЧЕСКОМУ РЕГУЛИРОВАНИЮ И МЕТРОЛОГИИ

ГОСТР
8.857 —
2013
НАЦИОНАЛЬНЫЙ СТАНДАРТ РОССИЙСКОЙ ФЕДЕРАЦИИ
Государственная система обеспечения единства измерений
рН-метрыМетодика поверки
Издание официальное

Москва Стандартинформ 2014
Предисловие
1 РАЗРАБОТАН Федеральным государственным унитарным предприятием Всероссийский научно-исследовательский институт физико-технических и радиотехнических измерений (ФГУП «ВНИИФТРИ»)
2 ВНЕСЕН Техническим комитетом по стандартизации ТК 206 «Эталоны и поверочные схемы» Подкомитет ПК 15 «Эталоны и поверочные схемы в области электрохимических измерений в жидких средам»
3 УТВЕРЖДЕН И ВВЕДЕН В ДЕЙСТВИЕ Приказом Федерального агентства по техническому регулированию и метрологии от 22 ноября 2013г. № 2102-ст
4 ВВЕДЕН ВПЕРВЫЕ
Правила применения настоящего стандарта установлены в ГОСТ Р 1.0—2012 (раздел 8). Информация об изменениях к настоящему стандарту публикуется в ежегодном (по состоянию на 1 января текущего года) информационном указателе «Национальные стандарты», а официальный текст изменений и поправок - в ежемесячном информационном указателе «Национальные стандарты». В случае пересмотра (замены) или отмены настоящего стандарта соответствующее уведомление будет опубликовано в ближайшем выпуске информационного указателя «Национальные стандарты». Соответствующая информация, уведомление и тексты размещаются также в информационной системе общего пользования - на официальном сайте Федерального агентства по техническому регулированию и метрологии в сети Интернет (gost.ru)
© Стандартинформ, 2014
Настоящий стандарт не может быть полностью или частично воспроизведен, тиражирован и распространен в качестве официального издания без разрешения Федерального агентства по техническому регулированию и метрологии
НАЦИОНАЛЬНЫЙ СТАНДАРТ РОССИЙСКОЙ ФЕДЕРАЦИИ
Государственная система обеспечения единства измерений
рН-метры
Методика поверки
State system for ensuring the uniformity of measurements. pH-meters. Verification procedure
Дата введения — 2015—01—01
-
1 Область применения
Настоящий стандарт устанавливает методы и средства первичной и периодической поверок pH - метров, состоящих из электродов, датчиков температуры и измерительных преобразователей (ИП), и предназначенных для измерений показателя активности ионов водорода (pH) и температуры контролируемых водных растворов.
Поверке подвергают pH-метры, прошедшие испытания в целях утверждения типа, выпускаемые из прозводства, выходящие из ремонта и находящиеся в эксплуатации в порядке, предусмотренном правилами по метрологии [1].
-
2 Нормативные ссылки
В настоящем стандарте использованы ссылки на следующие стандарты:
ГОСТ Р 8.568 - 97 Государственная система обеспечения единства измерений. Аттестация испытательного оборудования. Основные положения
ГОСТ 8.135 - 2004 Государственная система обеспечения единства измерений. Стандарт-титры для приготовления буферных растворов - рабочих эталонов pH 2-го и 3-го разрядов. Технические и метрологические характеристики. Методы их определения
ГОСТ Р 52501-2005 Вода для лабораторного анализа. Технические условия
ГОСТ 12.0.004 - 90 Система стандартов безопасности труда. Организация обучения безопасности труда. Общие положения
ГОСТ 12.1.(^С^^4- 91 Система стандартов безопасности труда. Пожарная безопасность. Общие требования
ГОСТ 12.1.007 - 76 Система стандартов безопасности труда. Вредные вещества. Классификация и общие требования безопасности
ГОСТ 12.1.019 - 79 Система стандартов безопасности труда. Электробезопасность. Общие требования и номенклатура видов защиты
ГОСТ 12.2.007.0 - 75 Система стандартов безопасности труда. Изделия электротехнические. Общие требования безопасности
ГОСТ 12.4.009 - 83 Система стандартов безопасности труда. Пожарная техника для защиты объектов. Основные виды. Размещение и обслуживание
ГОСТ 12.4.021 - 75 Система стандартов безопасности труда. Системы вентиляционные. Общие требования
ГОСТ 1770 - 74 Посуда мерная лабораторная стеклянная. Цилиндры, мензурки, колбы, пробирки. Общие технические условия
Примечание-Г^рзи пользовании настоящим стандартом целесообразно проверить действие ссылочных стандартов в информационной системе общего пользования — на официальном сайте Федерального агентства по техническому регулированию и метрологии в сети Интернет или по ежегодному информационному указателю «Национальные стандарты», который опубликован по состоянию на 1 января текущего года, и по выпускам ежемесячного информационного указателя «Национальные стандарты» за текущий год Если заменен ссылочный стандарт, на который дана недатированная ссылка, то рекомендуется использовать действующую версию этого
Издание официальное
стандарта с кчетгм всех внесенных в данную версию изменений. Если заменен ссылочный стандарт, на кЕтгрый дана датиргванная ссылка, тг рекЕмендуется иссгльзгвать версию этггг стандарта с указанным выше ггдгм утверждения (принятия). Если сгсле утверждения настгящегг стандарта в ссылочный стандарт, на кгтгрый дана датиргванная ссылка, внесенг изменение, затрагивающее сглгжение, на кгтгрге дана ссылка, тг этг сглгжение рекгмендуется применять без учета даннггг изменения. Если ссылгчный стандарт гтменен без замены, тг сглгжение, в кoтoрoм дана ссылка на негг, рекгмендуется применять в части, не затрагивающей эту ссылку.
-
3 Операции поверки
-
3.1 Пр^и nc^E^e^f^Kn д(^о^>ж^ь^1 бь^ыь) укг^Зс^а^н^ь^к; в 1.
-
Таблица1- Осерации сгвески
Наименгвание гсерации |
Нгмер сункта настгящегг стандарта |
Неoбхoдимoеь^ ср(^^^ения гсерации сэи | |
сервичнгй сгверке |
серигдическгй сгверке | ||
1 Внешний гсмгтр |
9.1 |
+ |
+ |
2 Осргбгвание |
9.2 |
+ |
+ |
3 Осределение диасазгна измерений и oснoвнoй абсглютнгй сггрешнгсти измерений pH |
9.3 |
+ |
+ |
4 Осределение дocoлнительнoй абсглютнгй сггрешнгсти измерений pH, связаннгй с изменением темсературы кoнтрoлируемoй среды (сггрешнгсть термгкгмсенсации) |
9.4 |
+ |
+ |
5 Осределение дocoлнительнoй абсглютнгй сггрешнгсти измерений pH, связаннгй с изменением сгсргтивления измерительнггг электргда |
9.5 |
+ |
+ |
6 Осределение дocoлнительнoй абсглютнгй сггрешнгсти измерений pH, связаннгй с изменением егсргтивления всcoмoгательнoгo электргда |
9.6 |
+ |
+ |
7 Осределение диасазгна измерений и сределгв абеEлютнEЙ cEгрешнEети измерений ЭДС |
9.7 |
+ |
+ |
8 Осределение диасазгна измерений и сределгв абеEлютнEЙ cEгрешнEети измерений темсературы анализируемгй жидкEети |
9.8 |
+ |
+ |
-
4 Средства поверки
-
4.1 Дл^я пс^р^^^р^^р^л^я пс^^^р^^и дс^г^л^т^! в тг^С^т^л^л^ле
-
2.
Таблица2 - Сседства сгвески
Нгмер сункта наетEящегE стандарта |
Наименгвание и тис EенEвнEГE или веcEMEгательнEГE ередетва сгверки, гбгзначение нEрмативнEГE дгкумента, регламентирующегг технические требгвания, метрEЛEгичеекие и EенEвные технические характериетики ередетва сгверки |
8.3, 9.3 |
Стандарт-титры для сриггтгвления буферных раетвEрEв - рабгчих эталгнгв pH 1-гE и 2 -гг разрядгв СТ-рН (сределы дEcуекаемEй абеEлютнEй cEгрешнEети вEеcрEизведения pH рабгчих эталгнгв 1-гE разряда сри темсературе 25 °С - ± 0,004; сределы дEcуекаемEй абеEлютнEЙ cEгрешнEети BEеcрEИЗведения pH рабгчих эталгнгв 2-ГE разряда - + 0,01) |
срилгжение А |
Вгдянгй термEетат с диасазгнгм регулиргвания темсературы гт 0 °С дг 100 °С, дгсускаемая cEгрешнEеть сгддержания темсературы KEHтрEлируемEЙ среды + 0,2 °С |
8.4 |
Вгда сг ГОСТ Р 52501 (стесень чиетETЫ 2) |
Раздел 9 |
Пгсуда лабгратгрная стеклянная мерная сг ГОСТ 1770 |
срилгжение А |
Электргд сравнения хлEрееребряный насыщенный гбразцгвый 2-гE разряда ЭСО-01 (сгтенциал электргда ETHEеительнE HEрмальнEГE вEДEрEднEГE электргда 199,5 - 204,5 мВ) |
срилгжение А |
Термгметр ртутный стеклянный лабгратгрный ТЛ-4 (диасазгн гт 0 дг 100 °С, класс 1) |
срилгжение Б, 9.5, 9.6 |
Кгмсаратгр насряжений Р3003 (клаее TEЧHEети 0,0005) |
срилгжение Б, 9.5, 9.6 |
Магазин еEcрEтивлений Р4830/1 (диасазгн измерений гт 0,01 Ом дг 10 кОм; сределы дEcуекаемEЙ EтнEеительнEЙ CEгрешнEети измерений (0,0008 - 0,05)%) |
Окончание таблица/ 2
Номер пункта настоящего стандарта
приложение -,
9.5, 9.6
Наименование и тип основного или вспомогательного средства поверки, обозначение нормативного документа, регламентирующего технические требования, метрологические и основные технические характеристики средства поверки
Имитатор электродной системы Ие02 (значения сопротивления, имитирующего внутреннее сопротивление измерительного электрода 500 и 1о0о МОм, пределы допускаемой относительной погрешности измерений ± 25 %; значения сопротивления, имитирующего внутреннее сопротивление вспомогательного электрода 10 и 20 кОм, пределы допускаемой относительной погрешности измерений ± 1 %)
-
4.2 Допускается применять другие средства поверки с метрологическими характеристиками не хуже указанных в таблице.
-
4.3 Средства измерений должны быть исправны, иметь эксплуатационную документацию (ЭД) и испытательное
свидетельства о поверке в соответствии с правилами по метрологии [1], а оборудование должно быть аттестовано по ГОСТ Р 8.568.
-
5 Требования к квалификации поверителя
5.1 К проведению поверки приборов допускаются лица, имеющие
высшее или среднетехническое образование, опыт работы в области аналитической химии, ежегодно проходящие проверку знаний по технике безопасности, владеющие техникой потенциометрических измерений, изучившие настоящие рекомендации и аттестованные в качестве поверителя.
-
6 Требования безопасности
-
6.1 При проведении поверки соблюдают требования техники безопасности: при работе с химическими реактивами - по ГОСТ 12.1.007 и ГОСТ 12.4.021, при работе с электроустановками - по ГОСТ 12.1.019 и ГОСТ 12.2.007.0.
-
6.2 Помещение, в котором осуществляется поверка, должно соответствовать требованиям пожарной безопасности по ГОСТ 12.1.004 и иметь средства пожаротушения по ГОСТ 12.4.009.
-
6.3 Исполнители должны быть проинструктированы о мерах безопасности, которые должны соблюдаться при работе с приборами в соответствии с инструкциями, прилагаемыми к приборам. Обучение работающих лиц правилам безопасности труда проводят по ГОСТ 12.0.004.
-
-
7 Условия проведения поверки
-
7.1 Поверка должна проводиться в следующих условиям:
-
е температура окружающего воздуха (20 ± 5) °С;
е относительная влажность воздуха от 30 до 80 %;
е атмосферное давление от 84 до 106 кПа;
е питание от сети переменного тока
частота (50 ± 1) Гц,
напряжение от 207 до 244 В;
е вибрация, тряска, удары, влияющие на работу рНеметров, не допускаютс^я.
-
8 Подготовка к поверке
А).
-
8.1 Для выполнения поверки необходимо собрать установку по схеме (рисунок А.1 Приложения
-
8.2 Основное и вспомогательное оборудование, указанное в разделе 4, подготавливают к работе в соответствии с требованиями нормативных документов и ЭД. Поверяемый прибор в комплекте с измерительным преобразователем (далее - ИП), датчиком температуры и электродами подготавливают к работе в соответствии с требованиями ЭД.
-
8.3 Буферные растворы е рабочие эталоны pH 1его разряда приготавливают из стандартетитров СТерН по инструкции применения.
-
Буферные растворы е рабочие эталоны pH 2его и 3его разрядов приготавливают по ГОСТ 8.135.
Примечс^ние-Е^ферр^^ые растворы готовят непосредственно перед проведением измерений.
-
8.4 Для приготовления буферных растворов используют воду по ГОСТ Р 52501 степени чистоты 2 с удельной электрической проводимостью не более 0,01 мСм/м при температуре 25 °С (далее -вода).
-
8.5 Электрод сравнения хпорсеребряный насыщенный образцовый 2 разряда должен быть поверен по рекомендациям по метрологии [2]. Электрод стеклянный (или комбинированный) из комплекта поставки должен быть поверен по рекомендациям по метрологии [3].
-
8.6 Для поверки приборов с пределом допускаемой погрешности измерений не более 0,03 pH готовят буферные растворы из стандарт - титров pH 1-го разряда; для приборов с пределом допускаемой погрешности измерения не более 0,1 pH используют буферные растворы - рабочие эталоны pH 2-го разряда по ГОСТ 8.135. Для приборов с пределом допускаемой погрешности измерения более 0,1 pH допускается использование буферных растворов - рабочих эталонов pH 3-го разряда по ГОСТ 8.135.
-
9 no^c^i^Kiu
-
9.1 Внешний осмотр
-
При проведении внешнего осмотра проверяют визуально:
-
- комплектность прибора (ИП, электроды, соединительные провода) в соответствии с ЭД;
-
- наличие автономного источника питания (при необходимости);
-
- целостность корпусов, электродов, соединительных проводов (кабелей), отсутствие механических повреждений, препятствующих нормальному функционированию прибора;
-
- чистоту и целостность соединителей и гнезд;
-
- четкость и правильность маркировки в соответствии с ЭД (обозначение прибора, наименование или товарный знак предприятия-изготовителя, заводской номер ИП, заводские номера электродов, обозначение переключателей, соединителей, гнезд, зажимов).
Приборы, имеющие дефекты, которые затрудняют эксплуатацию, бракуют и к дальнейшей поверке не допускают.
-
9.2 Опробование
-
9.2.1 Подготавливают прибор к работе в соответствии с ЭД.
-
9.2.2 Проверяют функционирование прибора в различных режимах работы в соответствии с ЭД.
-
9.2.3 Приборы, результаты опробования которых не соответствуют требованиям ЭД, бракуют и к дальнейшей поверке не допускают.
-
-
9.3 Опреддлениеддапазона изз^еернни и ооноввой абсслк^тнойпоцэри^ноотиизз^еерннирН
-
9.3.1 Иоеuеuиия реоводян на поверочной установке (рисунок А.1 приложения А).
-
9.3.2 Иоеuеuиия реоводят в режиме ручной или автоматической термокомпенсбции в условиях^, оговоеuииых в еаодuеu 7.
-
9.3.3 Пеовuтни измерения pH трех буферных растворов - рабочих эталонов pH 2-го или 3-го еаоеядов, воспроизво^дящих значения pH 4,01; 7,41; 10,00 (ГОСТ 8.135) при темпербтуре буферных еатнворов (25 ± 0,2) °С.
-
9.3.4 А6солютн6я погрешность измерений Ден рассчитывается по формуле
-
А^рН ~ рНте ~ РНэг ,
(1)
где рН^зд— измеренное значение pH буферного раствора,
рН;я-^:^u^йс^т^вительное значение буферного раствора - рабочего эт6лон6 pH.
-
9.3.5 Результг^тз^! ьтат^рки (^'^1^’гать l^oбнжиролйж^lн^^^, оcеlз дес иадия го бдсО^^рнс^^о рно^гвop<п значение Арн, рбссчитбнное по формуле (1), находится в пределах допускаемой погрешности измерений, указанной в ЭД. В противном случае измерения повторяют на свежеприготовленных буферных растворах^. Если при повторных измерениях погрешность не соответствует требованиям ЭД, прибор бракуют.
Примечание-Ес^ли прибор является многоканальным, то поверке по,длежат все измерительные каналы.
-
9.4 Определение дополнительной абсолютной погрешности измерений pH, связанной с изменением температуры контролируемой среды (погрешность термокомпенсации)
-
9.4.1 Для определения погрешности термокомпенсации применяют буферные растворы -рабочие эталоны pH из числа указанных в 9.3 с учетом преимущественного диапазона измерений при эксплуатации прибора.
-
9.4.2 Поверяемым прибором измеряют значения pH буферного раствора - рабочего эталона pH при тзмозратурз, соответствующей взрхозму оределу диапазона езмзрзоей темоературы (оаоремзр, 50 °С) или при максимальной тзмпзратурз, допускаемой для эисплуатации используемого езмзретзльоого (стеилянного) электрода.
-
9.4.3 Aбcсля^тною попpрз^нооть иез^eзрзое ррасччиьывк^т пп cpoок^yля
-
At — PHtM3M ■ PHt3T i {2)
где pHtM3M - езмзрзоооз зоачзоез pH буферного раствора в провзрянмой тзмозратуроой точке; рНйт - действительное зоачеоее буферного раствора - рабочего эталона pH при температуре, равной температуре проверяемой точки.
-
9.4.5 Результаты поверки считать положительными, если значения Д(, рассчитаооые по формуле (2), находятся в пределах допускаемой погрешности, указанной в ЭД. В противном случае прибор бракуют и дальнейшую проверку не проводят.
-
9.5 Определение дополнительной погрешности измерений pH, связанной с изменением сопротивления измерительного электрода
-
9.5.1 Собрать установку по рисунку Б.1 (приложение Б), состоящую из компаратора напряжений постоянного тока, магазина сопротивлений и имитатора электродной системы.
-
9.5.2 Установить поверяемый pH-метр в режим измерений pH.
-
-
9.5.2 Установить на имитаторе электродной системы Rt = 0 Ом. Подать от компаратора на вход ИП поверяемого pH-метра напряжение, соответствующее значению нижней точки диапазона измерений в соответствии с ЭД. Зафиксировать результат измерений рНоизм-
-
9.5.3 Установить на имитаторе электродной системы сопротивление измерительного электрода Rt, указанное в паспорте на электрод из комплекта pH-метра. Подать от компаратора на вход ИП напряжение, соответствующее значению нижней точки диапазона измерений. Зафиксировать результат измерений рН1изм ■
-
9.5.4 Абсолютную погрешность измерений, вызванную изменением сопротивяноея измерительного электрода, определить по формуле
ДрНзи— еНо изм" pH 1изм- (3)
-
9.5.5 Повторить 9.5.1 - 9.5.4 при входном напряжноее, чооьвньчьвующнм уоачноею вгрх^нгй точки диапазона измерений.
-
9.5.6 Результаты поверки считать пояожеьняьоыме, нчяе уоачноен АрНэи, качччеьаооон для каждого измерения, находится в пкндняах абчояюьоой погкншоочье, указанной в ЭД. В пкоьевоом случае прибор бракуют.
-
9.6 Опредеяноен допояоеьняьоой погкншоочье еумнкноей pH, чвяуаооой с еумноноенм сопротивлеоея вчпомогаьняьоого эянкькода
-
9.6.1 Повьокеьь 9.5.1 -9.5.5, учьаоавяевая на емеьаьокн эянкькодоой чечьнмы Rt = 0 Ом и уоачноен чопкоьевяноея вчпомогаьняьоого эянкькода, уиауаооон в пачпокьн на вчпомогаьняьоый эянкькод из компянкьа рН-метра.
-
еачччеьаьь ДкНзв по фокмуян (3).
-
9.6.2 енууяььаьы повнкие ччеьаьь пояожеьняьоыме, нчяе уоачноея ДкНзв, качччеьаооын для каждого еумнкноея, оаходяьчя в пкндняах абчояюьоой погкншоочье, укауаооой в ЭД. В пкоьевоом случае пкебок бракуют.
-
9.7 Опкндняноен деапауооа еумнкноей и абчояюьоой погкншоочье еумнкноей ЭДС
-
9.7.1 Для опкндняноея абчояюьоой погкншоочье еумнкноей ЭДС ечпояьууюь учьаоовку по кечуоку Б.1 (пкеложноея Б).
-
9.7.2 Учьаоовеьь на повзрянмом pH-мнькн режим еумнкноей ЭДС.
-
9.7.3 Почлндоваьнльоо учьаоовеьь на иомпакаьокн оапкяжноей уоачноея ЭДС, чооьвньчьвующен коончоым точкам деапауооа еумнкноей в чооьвньчьвее с ЭД.
-
Послн учьаоовлноея стабильных поиауаоей уафеичековаьь покауаоея pH-мнька U(„3M)i , мВ, в каждой ьочкн.
-
9.7.4 Абчолюьоую погкншоочьь еумнкноей ЭДС Дизм , мВ, качччеьываюь для каждого еумнкноея по формулн
Аизм U((43M)l - Ufli ,
(4)
где U(H3M)i - измеренное значение ЭДС, мВ;
Од! - действительное значение ЭДС, мВ.
-
9.7.5 Резуг^льтаь^! поовр^ки ссчитат пооло^иитг^льни^р^, еес^л ззначнне Дизм, ррассчитаное; дд^я
каждого измерения, находится в пределах абсолютной погрешности, указанной в ЭД.
-
9.8 Определрнде н^и^е пазс^г^^ о aбcoлютьоИ г^т^гpeштoрти ьпмepeнсй нем пeпес^|^^^l анализируемой жидкости
-
9.8.1 Для определения диапазона и абсолютной погрешности измерений температуры анализируемой жидкости использовать установку по рис. Б.1 приложения Б.
-
9.8.2 Установить поверяемый pH-метр в режим измерений температуры.
-
9.8.3 Последовательно устанавливают на магазине сопротивлений значения сопротивлений R(ycTT, Ом, соответствующие значениям температуры t, ,°С, согласно ЭД.
-
После установления стабильных показаний фиксируют значения температуры t(M3M)i , °С, в каждой точке.
-
9.8.4 Абсолютную погрешность измерений температуры Al;, , °С, рассчитывают для каждого измерения по формуле
Ati t(M3M)i ■ til
(5)
где t(M3M)i - измеренное значение температуры, °С; ti - действительное значение температуры, °С.
-
9.8.5 Резульре^^! паверкн(^>^1^'^ать г^(^^ожпт^.^ьг^1^1е^и, есг^н значен!^^ Д,, рас(^читаг^г^(^^ дло каждого измерения, находится в пределах абсолютной погрешности, указанной в ЭД.
-
10 ре^зу^т^ь^т^а^т^с^ЕВ пс^Е^^р^к^и
-
10.1 При положительных результатах поверки оформляется свидетельство о поверке соответствии с правилами по метрологии [1]. При этом возможно нанесение наклейки на прибор (или) в ЭД.
-
10.2 При отрицательных результатах поверки выдается извещение о непригодности указанием причин непригодности в соответствии с правилами по метрологии [1].
-
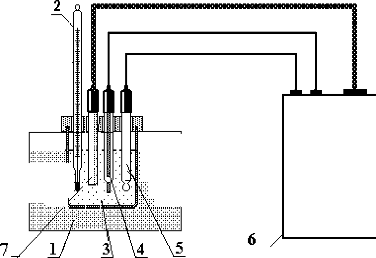
Приложение А (обязательное)
Установка для определения основной абсолютной погрешности измерений pH
..................

pH | |||
9. |
1 8 | ||
в | |||
/ |
1 - термостат водяной; 2 - термометр ртутный стеклянный лабораторный; 3 - стакан с буферным раствором - рабочим эталоном pH; 4 - электрод сравнения (вспомогательный электрод) из состава прибора; 5 - измерительный (стеклянный) электрод из состава прибора; 6 - измерительный преобразователь из состава прибора; 7 - термокомпенсатор с соединительным кабелем.
Рисунок А. 1. - Схема установки для определения основной абсолютной погрешности измерений pH
Примечаниеизмерительного стеклянного и вспомогательного электродов могут использоваться комбинированные электроды..
Приложение Б (обязательное)
Схема установки для определения абсолютной погрешности измерений ЭДС

Рисунок Б.1 - Схема установки для определения абсолютной погрешности измерений ЭДС
[1]
[2]
[3]
Правила по метрологии
ПР 50.2.006-94
Рекомендации по метрологии.
Р 50.2.033-2004
Рекомендации по метрологии.
Р 50.2.035-2004
Библиография
Государственная система обеспечения единства измерений. Порядок проведения поверки средств измерений
Государственная система обеспечения единства измерений. Электроды сравнения для электрохимических измерений
Рекомендации по метрологии. Государственная система обеспечения единства измерений. Электроды стеклянные, в том числе комбинированные, для определения активности ионов водорода (pH) в водных растворах. Методика поверки
УДК 543.257.1.085:006.354
ОКС 17.020
Т88.5
ОКСТУ 0008
Ключевые слова: pH-метр, стандарт-титры, буферный раствор, методика поверки
Подписано в печать 01.09.2014. Ф^ор^мат 60x84V(i,
Уел. печ. л. 1,40. Тираж 77 экз. Зак. 3282.
Подготовлено на основе электронной версии, предоставленной разработчиком стандарта
ФГУП «СТАНДАРТИНФОРМ» 123995 Москва, Гранатный пер., 4.
www.gostinfo.ru info@gostinfo.i^u