Методика поверки «ГСИ. Спектрофотометры DR 1900 и DR 900» (МП 062.Д4-15)

УТВЕРЖДАЮ
ектора
ФГУП «ВНИИОФИ»
7/ Д' ■ ЖГ?__Н.П. Муравская
2015 г.
Государственная система обеспечения единства измерений
Спектрофотометры DR 1900 и DR 900 МЕТОДИКА ПОВЕРКИ
МП 062.Д4-15
Л р.^ЗЗОЛ-dfcГлавный метролог
ФГУП «ВНИИОФИ»
С.Н. Негода апреля 2015 г.
Москва 2015 г.
1 ВВЕДЕНИЕ-
1.1 Настоящая методика поверки распространяется на спектрофотометры DR 1900 и DR 900 (далее по тексту - спектрофотометры), предназначенные для измерения оптической плотности жидких проб различного происхождения, и определяет методы и средства первичной и периодической поверок.
-
1.2 Интервал между периодическими поверками - 1 год.
2.1 При проведении первичной и периодической поверок должны быть выполнены следующие операции, указанные в Таблице 1.
Таблица 1
|
Наименование операции |
Номер пункта Методики поверки |
Проведение операции при | |
|
первичной поверке |
периодической поверке | ||
|
Внешний осмотр |
8.1 |
Да |
Да |
|
Опробование |
8.2 |
Да |
Да |
|
Проверка идентификации программного обеспечения (ПО) |
8.3 |
Да |
Да |
|
Определение метрологических характеристик |
8.4 | ||
|
Определение спектрального диапазона и предела абсолютной погрешности установки длин волн спектрофотометров DR 1900 |
8.4.1 |
Да |
Да |
|
Определение диапазона измерений оптической плотности и пределов относительной систематической составляющей и абсолютной систематической составляющей погрешности измерений оптической плотности спектрофотометров DR 1900 |
8.4.2 |
Да |
Да |
|
Определение диапазона измерений оптической плотности и предела допускаемой относительной систематической составляющей погрешности измерений оптической плотности спектрофотометров DR 900 |
8.4.3 |
Да |
Да |
|
Определение предела допускаемого относительного среднего квадратического отклонения случайной составляющей погрешности измерений оптической плотности |
8.4.4 |
Да |
Да |
|
Определение уровня рассеянного света спектрофотометров DR 1900 |
8.4.5 |
Да |
Да |
2.2 При получении отрицательных результатов при проведении любой операции
поверка прекращается.
-
2.3 Поверку средств измерений осуществляют аккредитованные в установленном порядке в области обеспечения единства измерений юридические лица и индивидуальные предприниматели.
3.3 2 Средства поверки, указанные в таблице 2, должны быть поверены и аттестованы в установленном порядке.
4 ТРЕБОВАНИЯ К КВАЛИФИКАЦИИ ПОВЕРИТЕЛЕЙ
4.1 К работе со спектрофотометрами допускаются лица, изучившие настоящую методику поверки и руководства по эксплуатации спектрофотометров, имеющие
3.1 При проведении первичной и периодической поверок должны быть использованы следующие средства, указанные в таблице 2.
Таблица 2
|
Номер пункта методики поверки |
Наименование и тип (условное обозначение) основного или вспомогательного средства поверки; обозначение нормативного документа, регламентирующего технические требования, и (или) метрологические и основные технические характеристики средства поверки |
|
8.4.1, 8.4.2, 8.4.4, 8.4.5 |
Комплект светофильтров КНС-10.5 Рабочий диапазон длин волн: от 0,26 до 2,7 мкм. Рабочий диапазон оптической плотности: от 0,036 до 2,000 Б. Пределы допускаемых абсолютных систематических составляющих погрешностей измерения оптической плотности представлены в таблице 3. |
|
8.4.3, 8.4.4 |
Комплект мер оптической плотности КМОП-Н (ГР СИ №52362-13). Диапазон оптической плотности мер от 0,01 до 4,0 Б Значения оптической плотности мер №№ 1-5 в кювете 10 мм при длине волны 546 нм, Б: 0,05 ± 0,04; 0,15 ± 0,05; 1,75 ± 0,25; 3 ± 0,5; 3,5 ± 0,5. Пределы допускаемой абсолютной погрешности оптической плотности мер: меры №1,2 ± 0,007 Б; меры № 3,4,5 ± 0,07 Б. |
|
8.4.5 |
Химически чистый NaNCh по ГОСТ 4197-74. Массовая доля NaNO2 (из высушенного препарата) не менее 99 %. Пределы абсолютной погрешности определения массовой доли NaNO2 ± 0,6 % при доверительной вероятности Р=0,95. |
Таблица 3
|
Номера светофильтров |
Спектральный диапазон, мкм |
Диапазон номинальных значений оптической плотности, Б |
Пределы допускаемых абсолютных погрешностей измерения оптической плотности, Б |
|
1 -4 |
0,4 - 0,85 |
0,678 - 0,036 |
± 0,0012 |
|
5-8 |
0,4 - 0,85 |
1,699-0,699 |
± 0,0043 |
|
1,9-12 |
0,25-2,5 |
2,301 - 0,036 |
± 0,0024 |
3.2 Допускается применение других средств поверки, не приведенных в таблице 2, обеспечивающих определение (контроль) метрологических характеристик поверяемых спектрофотометров с требуемой точностью.
квалификационную группу не ниже III в соответствии с правилами по охране труда и эксплуатации электроустановок, указанных в приложении к приказу Министерства труда и социальной защиты РФ от 24.07.13 № 328Н.
5 ТРЕБОВАНИЯ БЕЗОПАСНОСТИ-
5.1 Перед началом поверки необходимо изучить руководства по эксплуатации спектрофотометров и настоящую методику поверки.
-
5.2 При проведении поверки следует соблюдать требования, установленные правилами по охране труда и эксплуатации электроустановок, указанных в приложении к приказу Министерства труда и социальной защиты РФ от 24.07.13 № 328Н. Оборудование, применяемое при испытаниях, должно соответствовать требованиям ГОСТ 12.2.003-91. Воздух рабочей зоны должен соответствовать ГОСТ 12.1.005-88 при температуре помещения, соответствующей условиям испытаний для легких физических работ.
-
5.3 Система электрического питания приборов должна быть защищена от колебаний и пиков сетевого напряжения, искровые генераторы не должны устанавливаться вблизи приборов.
-
5.4 При выполнении измерений должны соблюдаться требования, указанные в «Правилах техники безопасности при эксплуатации электроустановок потребителей», утвержденных Госэнергонадзором, а также требования руководств по эксплуатации спектрофотометров.
-
5.5 Помещение, в котором проводится поверка, должно соответствовать требованиям пожарной безопасности по ГОСТ 12.1.004-91 и иметь средства пожаротушения по ГОСТ 12.4.009-83.
-
6.1 При проведении поверки должны соблюдаться следующие условия:
-
- температура окружающего воздуха, °C 15-25;
-
- относительная влажность воздуха, %, не более 80;
-
- атмосферное давление, кПа 94 - 106;
-
- номинальное напряжение электропитания, В 110 - 240;
-
- номинальная частота, Гц 50/60
-
-
6.2 Помещение, где проводится поверка, должно быть чистым и сухим, свободным от пыли, паров кислот и щелочей.
-
6.3 В помещении, где проводится поверка, должны отсутствовать механические вибрации и посторонние источники излучения, а также мощные постоянные и переменные электрические и магнитные поля.
-
7.1 Перед началом работы со спектрофотометрами необходимо внимательно изучить руководства по эксплуатации спектрофотометров DR 1900 и DR 900.
-
7.2 Проверить наличие средств поверки по таблице 2, укомплектованность их документацией.
-
7.3 Приготовить аттестованный раствор NaNC>2 в соответствии с приложением Б.
-
8 ПРОВЕДЕНИЕ ПОВЕРКИ
-
8.1.1 При внешнем осмотре должно быть установлено:
-
- отсутствие видимых механических повреждений;
-
- наличие и прочность органов управления и коммутации, четкость фиксации их положения;
-
- чистоту гнезд, разъемов и клемм;
-
- состояние и четкость маркировок;
-
- состояние соединительных кабелей и подключение приборов к электрической сети с помощью соответствующих кабелей.
-
8.1.2 Спектрофотометры считаются прошедшими операцию поверки, если корпус, внешние элементы, органы управления приборов не повреждены, отсутствуют механические повреждения и ослабления элементов конструкции.
-
8.2.1 В случае спектрофотометров DR 1900:
-
8.2.1.1 Нажмите клавишу Питание, чтобы включить прибор.
-
8.2.1.2 Выберете режим измерений - Multi Wavelength (Многоволновой
-
режим). Нажмите SETTINGS (HacTpofiioi)>PhotometerFunctions (Функции фoтoмeтpa)>MultiWavelength (Многоволновой
режим)>Орбопз (OnnHH)>AdvancedOptions (Расширенные опции)>Х1-А.4. Установите длины волн 350, 431, 473, 529, 585, 684 и 740 нм.
-
8.2.2 В случае спектрофотометров DR 900:
-
8.2.2.1 Нажмите клавишу Питание, чтобы включить прибор.
-
8.2.2.2 Нажмите НАСТРОЙКИ>Настройка>Язык и выберите необходимый язык из списка. Нажмите НАСТРОЙКИ>Настройка>Дата и время; выберите вкладку формат, чтобы задать формат представления даты и времени на дисплее, затем выберите вкладку дата и время и с помощью клавиш навигации введите текущие дату и время и нажмите ОК.
-
8.2.2.3 Выберете необходимую программу измерений, нажав Параметры>Все программы>(420 Abs 420nm, или 520 Abs 520nm, или 560 Abs 560nm, или 610 Abs 61 Опт); выберите требуемую методику и нажмите Пуск.
-
8.2.2.4 После того как программа выбрана, в ней доступны дополнительные опции. Выберете в открывшемся меню значение Измерение оптической плотности (Абс).
-
-
8.2.3 Спектрофотометры считаются прошедшими операцию поверки, если все этапы настройки пройдены без сообщений об ошибках.
-
8.3.1 Проверяют соответствие заявленных идентификационных данных программного обеспечения: идентификационное наименование программного обеспечения, номер версии программного обеспечения.
-
8.3.2 Спектрофотометры признаются прошедшими операцию поверки, если идентификационные данные программного обеспечения соответствуют значениям, приведенным в таблице 4.
Таблица 4
|
Идентификационные данные (признаки) |
Значение | |
|
DR 1900 |
DR 900 | |
|
Идентификационное наименование ПО |
DR1900 |
DR900 |
|
Номер версии (идентификационный номер) ПО |
1.2 и выше |
1.05 и выше |
|
Цифровой идентификатор ПО (контрольная сумма исполняемого кода) |
- | |
|
Алгоритм вычисления цифрового идентификатора ПО |
- | |
-
8.4 Определение метрологических характеристик
-
8.4.1.1 Для определения спектрального диапазона и абсолютной погрешности установки длин волн нажимают Настройки>настр.>проверка системы>проверка оптики>проверка монохроматора.
-
8.4.1.2 Определение абсолютной систематической составляющей погрешности установки длин волн проводится путем трехкратного сканирования спектра поглощения светофильтра из стекла ПС7, входящего в комплект светофильтров КНС 10.5, на следующих длинах волн: 350, 431, 473, 529, 585, 685 и 740 нм.
-
8.4.1.3 Поместите светофильтр ПС7 в кюветное отделение спектрофотометра так, чтобы светофильтр находился примерно на высоте 1 мм от дна кюветного отделения (Это делают во избежание получения неправильных результатов, так как у спектрофотометра луч излучения проходит достаточно высоко от дна кюветного отделения, и в случае, если светофильтр будет касаться дна, то луч будет попадать в корпус светофильтра, а не проходить сквозь его стекло.) и проведите измерения. Для каждого пика производится расчет среднего арифметического длины волны положения максимума полосы поглощения по формуле (1):
’нм (!)
где 2, - текущее значение длины волны максимума полосы поглощения, нм.
-
8.4.1.4 Рассчитать абсолютную погрешность установки длин волн по формуле (2):
Д = 2 - Л, нм (2)
где 2omm- аттестованные значения длин волн максимумов полос поглощения светофильтра из стекла ПС7: 350,9; 431,0; 473,4; 529,2; 585,4; 684,8; 740,5 нм.
-
8.4.1.5 Спектрофотометры признаются прошедшими операцию поверки, если абсолютная погрешность установки длин волн в точках с полученными значениями максимумов полос поглощения светофильтра из стекла ПС7 не превышает ± 1 нм. В этом случае спектральный диапазон спектрофотометров DR 1900 признается равным 340 - 800 нм.
8.4.2 Определение диапазона измерений оптической плотности и пределов относительной систематической составляющей и абсолютной систематической составляющей погрешности измерений оптической плотности спектрофотометров DR 1900
-
8.4.2.1 Определение диапазона измерений оптической плотности совмещают с определением абсолютной систематической составляющей погрешности измерений оптической плотности.
-
8.4.2.2 Поместить светофильтр, оптическую плотность которого необходимо измерить, в кюветное отделение спектрофотометра так, чтобы светофильтр находился примерно на высоте 1 мм от дна кюветного отделения (Это делают во избежание получения неправильных результатов, так как у спектрофотометра луч излучения проходит достаточно высоко от дна кюветного отделения, и в случае, если светофильтр будет касаться дна, то луч будет попадать в корпус светофильтра, а не проходить сквозь его стекло.). Провести пятикратное измерение оптической плотности для мер №№ 1, 9-11 из комплекта светофильтров КНС-10.5 на длине волны 350 нм по сравнению с воздухом.
-
8.4.2.3 Поместить светофильтр, оптическую плотность которого необходимо измерить, в кюветное отделение спектрофотометра так, чтобы светофильтр находился примерно на высоте 1 мм от дна кюветного отделения (Это делают во избежание получения неправильных результатов, так как у спектрофотометра луч излучения проходит достаточно высоко от дна кюветного отделения, и в случае, если светофильтр будет касаться дна, то луч будет попадать в корпус светофильтра, а не проходить сквозь его стекло.). Провести пятикратное измерение оптической плотности для мер №№ 1-8 из комплекта светофильтров КНС-10.5 на длинах волн 400, 500, 600, 700 и 800 нм по сравнению с воздухом.
-
8.4.2.4 Рассчитать среднее арифметическое значение оптической плотности для каждого измеренного светофильтра на каждой длине волны по формуле (3):
io.
где Z), - измеренное значение оптической плотности, Б
-
8.4.2.5 Рассчитать абсолютную систематическую составляющую погрешности измерений оптической плотности в диапазоне от 0 до 0,6 Б включительно по формуле (4):
где Damm - аттестованные значения оптической плотности, Б
-
8.4.2.6 Рассчитать относительную систематическую составляющую погрешности измерений оптической плотности в диапазоне более 0,6 Б по формуле (5):
D -D
5 = ^Р---^.100 о/о (5)
Damm
где D„mm - аттестованные значения оптической плотности, Б
-
8.4.2.7 Спектрофотометры признаются прошедшими операцию поверки, если диапазон измерений оптической плотности составляет от 0,01 до 2,000 Б, абсолютная систематическая составляющая погрешности измерений оптической плотности не превышает ± 0,015 Б в диапазоне от 0 до 0,6 Б включительно, а относительная систематическая составляющая погрешности измерений оптической плотности не превышает ± 2,5 % выше 0,6 Б.
-
8.4.3 Определение диапазона измерений оптической плотности и предела допускаемой относительной систематической составляющей погрешности измерений оптической плотности спектрофотометров DR 900
-
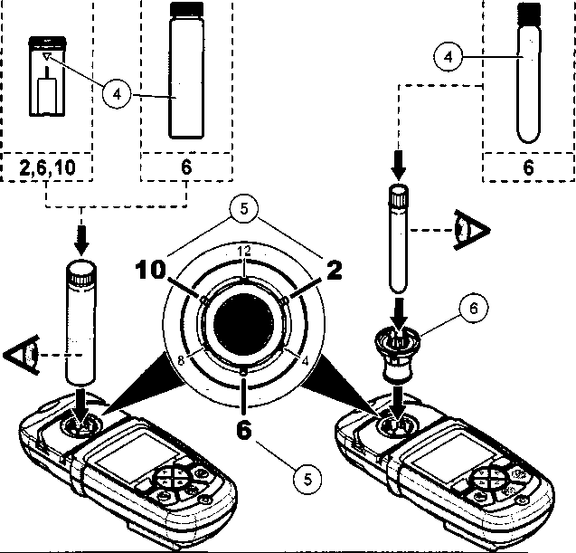
8.4.3.1 Определение диапазона измерений оптической плотности совмещают с определением предела допускаемой относительной систематической составляющей погрешности измерений оптической плотности и проводят в кювете с длиной оптического пути 1 см (см. поз. 1 на рисунке 1). Провести пятикратное измерение оптической плотности для мер №№ 1, 2 и 5 из комплекта мер оптической плотности КМОП-Н на длинах волн 420, 520, 560 и 610 нм по сравнению с водой. При проведении измерений во избежание получения неправильных результатов следует следить за тем, чтобы при измерениях на длинах волн 520 и 610 нм риска на кювете совпадала с риской, обозначенной, как №6 на Рисунке 1, а при измерениях на длинах волн 420 и 560 нм - с рисками №8 и №10, соответственно.

1 Пластиковая кювета 1 см/10 мл
4 Метка для ориентировки кюветы
2 Стеклянная кювета 1 дюйм (25 мм)
5 Позиция (по часовой стрелке)
3 Стеклянная виала 16 мм
6 Адаптер измерительной кюветы
Рисунок 1
-
8.4.3.2 Рассчитать среднее арифметическое значение оптической плотности для
каждой меры на каждой длине волны по формуле (6):
5

(6)
где Dt - измеренное значение оптической плотности, Б
-
8.4.3.3 Рассчитать относительную систематическую составляющую погрешности измерений оптической плотности по формуле (7):
D -D
\ = 400 %
(7)
где Damm - аттестованное значение оптической плотности, Б
-
8.4.3.4 Спектрофотометры признаются прошедшими операцию поверки, если диапазон измерений оптической плотности составляет от 0,04 до 1,80 Б, а относительная систематическая составляющая погрешности измерений оптической плотности на длинах волн 420, 520, 560 и 610 нм не превышает ± 10 % для меры № 1 КМОП-Н и ± 5 % для мер №2 и №3 КМОП-Н.
-
8.4.4 Определение предела допускаемого относительного среднего квадратического отклонения случайной составляющей погрешности измерений оптической плотности
-
8.4.4.1 Вычисляют относительное среднее квадратическое отклонение случайной составляющей погрешности измерений оптической плотности (ОСКО) по формуле 8, используя для спектрофотометров DR 900 значения, полученные в п. 8.4.3, а для спектрофотометров DR 1900 значения, полученные в п. 8.4.2:
ОСКО = —х


-------------------хЮО %
и ■ (п -1)
(8)
-
8.4.4.2 Спектрофотометры DR 1900 и DR 900 признаются прошедшими операцию поверки, если относительное среднее квадратическое отклонение случайной составляющей погрешности измерений оптической плотности не превышает 5 %.
-
8.4.5.1 Уровень рассеянного света определяют по оптической плотности, измеренной спектрофотометром при полном поглощении излучения в исследуемом спектральном диапазоне.
-
8.4.5.2 Установить в спектрофотометр кювету, заполненную аттестованным раствором нитрита натрия NaNO2 с концентрацией 50 мг/см3.
-
8.4.5.3 Провести измерение оптической плотности на длине волны 340 нм, предварительно проведя «обнуление» по воздуху.
-
8.4.5.4 Спектрофотометры признаются прошедшими операцию поверки, если значение уровня рассеянного света не менее 2,500 Б.
-
9.1 Спектрофотометры, прошедшие поверку с положительным результатом, признаются годными и допускаются к применению. На них выдаются свидетельства о поверке установленной формы с указанием полученных по п.п. 8.4.1 - 8.4.5 фактических значений метрологических характеристик спектрофотометров и (или) наносят оттиск поверительного клейма согласно Приказу Министерства промышленности и торговли Российской Федерации №1815 от 02.07.2015г. «Об утверждении Порядка проведения поверки средств измерений, требования к знаку поверки и содержанию свидетельства о поверке», и спектрофотометры допускают к эксплуатации.
-
9.2 При отрицательных результатах поверки спектрофотометры признаются негодными, не допускаются к применению и на них выдается «Извещение о непригодности» с указанием причин в соответствии с требованиями Приказа
Министерства промышленности и торговли Российской Федерации №1815 от 02.07.2015г.
|
Свидетельство о предыдущей поверке аннулируется. |
и (или) оттиск X' |
поверительного клейма |
|
Начальник отдела ФГУП «ВНИИОФИ» |
А.В. Иванов | |
|
Ведущий инженер ФГУП «ВНИИОФИ» |
у |
А.Н. Шобина |
|
Инженер 2 категории ФГУП «ВНИИОФИ» |
В.Н. Котиков |
ПРИЛОЖЕНИЕ А к Методике поверки «Спектрофотометры DR1900 и DR 900»
ПРОТОКОЛ первичной / периодической поверки от «_______»____________201__года
Средство измерений: Спектрофотометры DR 1900 и DR 900___________________
(Наименование СИ, тип (если в состав СИ входит несколько автономных блоков
то приводят их перечень (наименования) и типы с разделением знаком «косая дробь» /)
Зав.№__№/№_______________________________________
Заводские номера блоков
Принадлежащее_____________________________________________________
Наименование юридического лица, ИНН
Поверено в соответствии с методикой поверки«ГСИ. Спектрофотометры DR 1900 и DR
900 Методика поверки МП 062.Д4-15», утвержденной ФГУП «ВНИИОФИ» «14» апреля 2015 г______________________________________________________________
Наименование документа на поверку, кем утвержден (согласован), дата
С применением эталонов________________________________________________
(наименование, заводской номер, разряд, класс точности или погрешность)
При следующих значениях влияющих факторов:___________________________
(приводят перечень и значения влияющих факторов, нормированных в методике поверки)
-
- температура окружающего воздуха, °C
-
- относительная влажность, %, не более
-
- атмосферное давление, кПа
Получены результаты поверки метрологических характеристик:
|
Характеристика |
Результат |
Требования методики поверки |
Рекомендации-______________________________________________________________
Средство измерений признать пригодным (или непригодным) для применения
Исполнители:____________________________________________________________
подписи, ФИО, должность
ПРИЛОЖЕНИЕ Б к Методике поверки «Спектрофотометры DR1900 и DR 900»
МЕТОДИКА ПРИГОТОВЛЕНИЯ АТТЕСТОВАННОГО РАСТВОРА НИТРИТА НАТРИЯ КОНЦЕНТРАЦИИ 50 МГ/СМ3 НА ОСНОВЕ РАСТВОРЕНИЯ ХИМИЧЕСКИ
ЧИСТОГО NaNO2
Б.1 Назначение и область применения
Настоящая методика регламентирует процедуру приготовления аттестованного раствора нитрита натрия с концентрацией 50 мг/см3 на основе растворения чистого NaNO2. Данный аттестованный раствор нитрита натрия предназначен для проведения поверки спектрофотометров DR 1900.
Б.2 Нормы и погрешности
Б.2.1 Характеристики погрешности аттестованного раствора NaNO2 оценивают по процедуре приготовления с учетом всех составляющих погрешностей, вносимых на каждой стадии приготовления раствора NaNO2.
Б.2.2 Настоящая методика обеспечивает получение аттестованного раствора NaNO2 с погрешностью аттестованного значения NaNO2, не превышающей при доверительной вероятности Р=0,95 пределов допускаемого значения абсолютной погрешности (ДА) при соблюдении всех регламентированных условий.
Б.З Средства измерений, приборы и реактивы
Б.3.1 Весы лабораторные, класс точности 2 с наибольшим пределом взвешивания 200г по ГОСТ 24104-2001.
Б.З.2 Набор гирь Г-2-200 по ГОСТ 7328-2001.
Б.3.3 Колбы мерные 2-го класса точности с притертой пробкой по ГОСТ 1770-74.
Б.3.4 Дистиллированная вода по ГОСТ 6709-72. Вода дистиллированная. Технические условия.
Б.3.5 Химически чистый NaNO2 по ГОСТ 4197-74.
Б.4 Требования безопасности
Б.4.1 Азотисто-кислый натрий сильно ядовит, при попадании во внутрь организма может вызывать паралич сосудодвигательного центра и образования в крови метгемоглобина. При работе с азотисто-кислым натрием следует применять индивидуальные средства защиты. Помещения, в которых проводятся работы с препаратом, должны быть оборудованы эффективной общей приточно-вытяжной вентиляцией, а места наибольшего пыления - местной вытяжной вентиляцией.
Б.5 Требования к квалификации оператора
К приготовлению аттестованного раствора NaNO2, а также к вычислениям допускают лиц, имеющих квалификацию инженера-химика или техника-химика и опыт работы в химической лаборатории.
Б.6 Условия приготовления аттестованного раствора NaNO2
Б.6.1 Приготовление аттестованного раствора NaNO2 проводят при соблюдении в лаборатории следующих условий:
-
- температура окружающего воздуха 20 ± 5, °C
-
- атмосферное давление 96 + 104, кПа
- относительная влажность воздуха 60 ± 15, %
Б.6.2 Приготовленный раствор NaNCh следует хранить в колбе с хорошо притертой пробкой при температуре 20 ± 2 °C, вдали от прямых солнечных лучей.
Б.7 Приготовление аттестованного раствора NaNC>2
Взвесить на лабораторных весах 5 ± 0,0005 г нитрита натрия квалификации «ХЧ» по ГОСТ 4197-74, перенести навеску в мерную колбу 2-го класса точности по ГОСТ 1770-74 вместимость 100см3 и довести до метки дистиллированной водой по ГОСТ 6709-72. Закрыть колбу пробкой и перемешать содержимое колбы, переворачивая её 10 раз. Полученный аттестованный раствор имеет концентрацию нитрита натрия 50 мг/см3.
Б.8 Оценка метрологических характеристик аттестованного раствора NaNO2
Б.8.1 Значения пределов абсолютной погрешности аттестованного значения массовой концентрации NaNO2 (ЛА) в аттестованном растворе, рассчитывают по формуле Б1 :
где 8 - относительная погрешность приготовления аттестованного раствора, рассчитываемая по формуле Б2:
X - концентрация приготовленного раствора;
Б.8.2 Относительная погрешность приготовления аттестованного раствора рассчитывается по формулам БЗ и Б4:
8В = (AVB/VB) 100, %
где 8 в -погрешность весов лабораторных;
AVB - погрешность измерений массы лабораторными весами 2 класса точности, (берется в соответствии с ГОСТ 24104-2001);
VB - масса навески, мг;
8 к-погрешность мерной колбы;
AVK - погрешность измерений объема мерной колбы, (берется в соответствии с ГОСТ 1770-74);
VK - объем мерной колбы, см3.
Б.9 Оформление результатов
Б.9.1 Рассчитанное значение метрологических характеристик приготовленного аттестованного раствора NaNO2 приведено в таблице Б.1
Таблица Б.1 -
аттестованных
|
Наименование аттестованного раствора |
Концентрация раствора, мг/см3 |
Абсолютная погрешность аттестованного значения раствора, ДА, мг/см3 |
|
NaNO2 |
50,0 |
0,51 |
13
