Методика поверки «Комплексы измерительные «Суперфлоу 23СГ»» (МП СНАГ.407221.001)
ФГУП «ВСЕРОССИЙСКИЙ НАУЧНО-ИССЛЕДОВАТЕЛЬСКИЙ ИНСТИТУТ МЕТРОЛОГИЧЕСКОЙ СЛУЖБЫ»
(ФГУП «ВНИИМС»)

МОСКВА
2015
Настоящий документ распространяется на комплексы измерительные «Суперфлоу 23СГ» (далее - комплексы) и устанавливает методику их первичной и периодической поверки.
Комплексы измерительные «Суперфлоу 23СГ» предназначены для измерений объема природного газа, приведенного к стандартным условиям по ГОСТ 2939-63.
Интервал между поверками не более 5 лет.
Конструктивно комплекс представляет собой корректор объема газа «Суперфлоу 23» (Госреестр СИ №61729-15), закрепленный на счетчике газа турбинном СГ16МТ исполнения Р (Госреестр СИ №14124-14).
Перед проведением поверки комплекса проводят поверку счетчика газа СГ16МТ-Р (далее - счетчик) согласно документу ЛГФИ.407221.001 МИ «Счетчик газа СГ. Методика поверки» и поверку корректора объема газа «Суперфлоу 23» (далее - корректор) согласно документу СНАГ.407229.001 МП «Корректоры объема газа «Суперфлоу 23». Методика поверки».
Срок действия результатов поверки комплекса устанавливается до даты истечения срока действия результатов поверки счетчика или корректора, в зависимости от того, что наступит ранее.
При проведении внеочередной поверки счетчика или корректора проводят внеочередную поверку комплекса.
1 Операции поверки1.1. При проведении поверки выполняют следующие операции:
-
- внешний осмотр;
-
- проверка идентификационных данных программного обеспечения;
-
- проверка линии связи корректора со счетчиком.
-
2.1 При проведении поверки применяют следующие средства поверки:
- Установка поверочная УПГ. Диапазон расходов от 6,5 до 4000 м3/ч, относительная погрешность ± 0,35 %.
-
2.2 Средства измерений должны быть поверены и иметь действующие свидетельства о поверке. Испытательное оборудование должно быть аттестовано, остальное оборудование -проверено.
-
2.3 Допускается применение других средств, обеспечивающих задание расхода воздуха в измерительном трубопроводе в диапазоне от 0.2 Qmax до Qmax счетчика.
-
3.1 При проведении поверки соблюдают следующие условия:
-
- температура измеряемой среды и окружающего воздуха плюс (23+5) °C;
-
- относительная влажность окружающего воздуха от 30 до 80 %;
-
- атмосферное давление от 84 до 106 кПа (от 630 до 795 мм рт.ст.);
-
- измеряемая среда - воздух;
-
- источники электромагнитных полей, влияющих на работу комплекта, находятся на расстоянии не менее 3 м от комплекса;
-
- отсутствие вибрации, тряски, ударов.
-
4.1 К поверке комплекса допускаются лица, прошедшие инструктаж по технике безопасности в соответствии с действующей на предприятии нормативной документацией по общим правилам техники безопасности и изучивших эксплуатационную документацию на комплекс, счетчик СГТ16МТ-Р, корректор «Суперфлоу 23» и средства поверки.
-
4.2 Перед подключением к сети питания средства поверки, имеющие клемму заземления, необходимо заземлить.
ВНИМАНИЕ! ВСЕ РАБОТЫ ПО МОНТАЖУ И ДЕМОНТАЖУ НЕОБХОДИМО ВЫПОЛНЯТЬ ПРИ ОТКЛЮЧЕННОМ НАПРЯЖЕНИИ ПИТАНИЯ И ПРИ ОТСУТСТВИИ ИЗБЫТОЧНОГО ДАВЛЕНИЯ ИЗМЕРЯЕМОЙ СРЕДЫ В ТРУБОПРОВОДЕ.
5 Подготовка к поверке-
5.1 Проверяют наличие действующих свидетельств о поверке средств измерений.
применяемых при поверке.
-
5.2 Проверяют наличие паспорта на комплекс, а также эксплуатационной документации счетчик и корректор.
-
5.3 Перед проведением поверки комплекс выдерживают при соблюдении климатических условий, оговоренных в п.3.1, не менее 2 часов.
-
5.4 Устанавливают комплекс на измерительный трубопровод в соответствии с требованиями эксплуатационной документации.
-
6 Проведение поверки
-
6.1.1 При внешнем осмотре устанавливают соответствие поверяемых комплексов следующим требованиям:
-
- маркировка и пломбирование должны указанной в паспорте; надписи должны быть хорошо читаемы;
-
- заводские порядковые номера комплекса, счетчика и корректора должны соответствовать заводским номерам в их паспортах;
-
- корпуса счетчика и корректора не должны иметь вмятин, забоин, отслоений покрытий, следов коррозии;
-
- окно дисплея корректора и окно счетного механизма счетчика должны быть чистыми и не иметь повреждений, затрудняющих считывание.
-
6.2.1 Для проверки номера версии программного обеспечения (ПО) при помощи клавиатуры корректора переходят в меню «Настройки» (Settings) и выбирают параметр «SID». На дисплее корректора отобразится номер версии ПО в виде "Y.X", где Y и X -десятичные цифры.
-
6.2.2 Комплекс считают поверенным по данному параметру, если номер версии ПО совпадает с номером, указанном в паспорте на корректор.
Перед проведением проверки сверяют показания счетчика и корректора по объему газа при рабочих условиях. В случае расхождения показаний в корректоре устанавливают значение равное показаниям механического счетчика.
Задают расход воздуха в диапазоне от 0,2-Qmax до Qmax, при этом значении расхода контролируют по показаниям корректора. Расход поддерживают в заданном пределе в течение времени, при котором младший разряд счетного механизма совершит не менее 10 оборотов. Поток воздуха через счетчик останавливают. После прекращения движения счетного механизма считываю показания счетчика и корректора.
Комплекс считают поверенным по данному параметру, если показания счетчика совпадают с показаниями рабочего объема корректора.
7 Оформление результатов поверки-
7.1 Результаты поверки заносят в протокол. Рекомендуемая форма протокола приведена в Приложении 1.
-
7.2 При положительных результатах поверки комплекс считают пригодным к эксплуатации, делают запись в паспорте с нанесением знака поверки или выдают свидетельство и поверке.
-
7.3 При положительных результатах поверки комплекс подлежит пломбированию в соответствии со схемами, приведенными в Приложении 2.
-
7.3 При отрицательных результатах поверки комплекс к применению не допускают и выдают извещение о непригодности комплекса с указанием причин.
А.М. Шаронов
Заместитель начальника отдела 208
Приложение 1
(рекомендуемое)
Форма протокола поверки
Протокол поверки комплекса "Суперфлоу 23СГ " заводской №___________
Дата
________________20___г.
№________
Заводские номера компонентов комплекса: |
|
Срок действия результатов поверки |
|
Условия поверки: |
|
-
1 Внешний осмотр: соответствует/не соответствует
-
2 Проверка идентификационных данных программного обеспечения: соответствует/не соответствует
-
3 Проверка линии связи корректора со счетчиком:
Начальное показание корректора_________________
Начальное показание счетчика ___________________
Конечное показание корректора___________________
Конечное показание счетчика ___________________
Заключение _______________________
(годен, не годен)
Поверитель___________

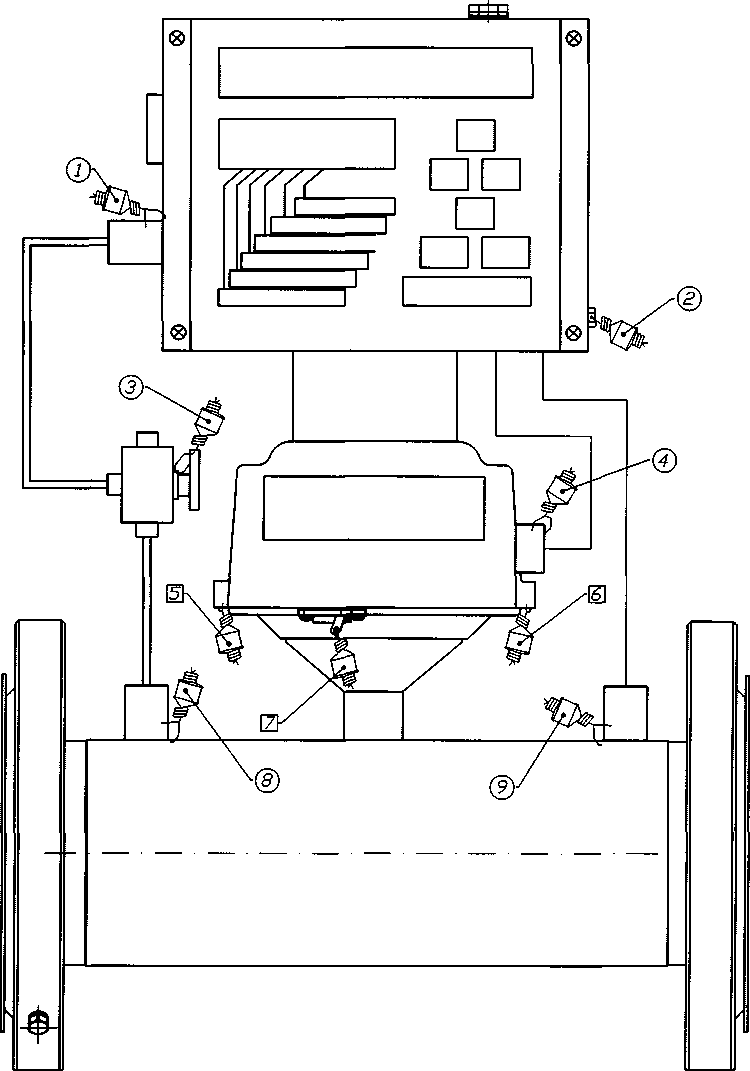
Рисунок 1 - Схема пломбирования комплексов измерительных «Суперфлоу 23СГ»
1, 2, 3 (при наличии), 7 и 9 - пломбы для нанесения знака поверки
4, 5, 6 и 8 - пломбы завода-изготовителя