Методика поверки «Системы автоматизированного контроля и управления оборудованием криогенного машиностроения» (МП ТКПБ. 421457.001И)
СОГЛАСОВАНО
Генеральный ПАО

Исполов
УТВЕРЖДАЮ

Системы автоматизированного контроля и управления оборудованием криогенного машиностроения
Методика поверки
ТКПБ. 421457.001 И
СОДЕРЖАНИЕ
ПРИЛОЖЕНИЕ А. МЕТРОЛОГИЧЕСКИЕ И ТЕХНИЧЕСКИЕ
ПРИЛОЖЕНИЕ Б. СОСТАВ И ХАРАКТЕРИСТИКИ
ИЗМЕРИТЕЛЬНЫХ КАНАЛОВ СИСТЕМ АВТОМАТИЗИРОВАННОГО КОНТРОЛЯ И УПРАВЛЕНИЯ ОБОРУДОВАНИЕМ КРИОГЕННОГО МАШИНОСТРОЕНИЯ АСКУ
ВВЕДЕНИЕНастоящая методика распространяется на системы автоматизированные контроля и управления оборудованием криогенного машиностроения (далее - системы, АСУОКМ), изготавливаемые ПАО «КРИОГЕНМАШ», г. Балашиха, МО, и предназначенные для измерения, обработки, хранения и индикации технологических параметров (давления, разности давлений, расхода, температуры, концентрации, частоты вращения, радиальных перемещений и т.д.) в реальном времени, для формирования сигналов управления и регулирования, формирования функций сигнализации по установленным пределам, для автоматического функционирования блокировок безопасности, стабилизации основных технологических параметров технологического процесса промышленных установок криогенного машиностроения (установки газоразделительные, системы хранения и выдачи в жидком и газообразном виде воздуха, технических газов, гелия и редких газов, природного газа, водорода и т.д.).
Методика устанавливает общие требования к их первичной и периодическим поверкам, в том числе на месте эксплуатации.
Системы АСУОКМ являются агрегатными, проектно-компонуемыми системами, число и виды измерительных каналов (далее - ИК) которых определяются конкретным проектом, возможные типы первичных преобразователей, универсальных промышленных контроллеров, технические и метрологические характеристики ИК приведены в приложении А.
По ГОСТ Р 8.596-2002 измерительный канал измерительной системы (измерительный канал ИС) - конструктивно или функционально выделяемая часть ИС, выполняющая законченную функцию от восприятия измеряемой величины до получения результата ее измерений, выражаемого числом или соответствующим ему кодом, или до получения аналогового сигнала, один из параметров которого -функция измеряемой величины.
К первичной части ИК относятся датчики - преобразователи измеряемого технологического параметра (давления, температуры, газоанализаторы, и т.д.) в стандартный электрический сигнал.
К первичной части ИК относятся датчики - преобразователи измеряемого технологического параметра (давления, температуры, газоанализаторы, и т.д.) в стандартный электрический сигнал.
К вторичной (электрической) части ИК (ЭИК) относятся:
-
- линии передачи электрического сигнала с выхода первичного преобразователя до входа модулей ввода/вывода аналоговых сигналов;
-
- модуль ввода/вывода аналоговых сигналов контроллера;
-
- канал обработки и передачи информации от модуля ввода/вывода в центральный контроллер системы;
-
- комплекс прикладного программного обеспечения обработки информации, установленный в центральном контроллере ИС;
-
- каналы передачи информации от центрального контроллера ИС в систему отображения информации, преобразующую цифровой код информационного сигнала контроллера в значение измеряемой физической величины, отображаемое оператору;
-
- система отображения (визуализации) информации.
Измерительные каналы системы, используемые в сфере государственного регулирования обеспечения единства измерений, подлежащих государственному метрологическому надзору и контролю в соответствии со ст. 1 Закона Российской Федерации «Об обеспечении единства измерений» (№102-ФЗ), подлежат поверке.
Такие каналы состоят из измерительных компонентов утвержденного типа (датчики, контроллеры).
Первичную поверку ИК системы согласно ГОСТ Р 8.596-2002 проводят при вводе в постоянную эксплуатацию после установки на объекте или после ремонта (замены) компонентов ИК, влияющих на погрешность измерительных каналов.
Межповерочный интервал составляет 1 год.
Настоящая методика может быть использована для проведения калибровки ИК системы, не входящих в сферу государственного регулирования.
При этом первый межкалибровочный интервал равен межповерочному, он может уточняться по результатам калибровки.
1 МЕТОДЫ ПОВЕРКИ ИЗМЕРИТЕЛЬНЫХ КАНАЛОВ-
1.1 При поверке рекомендуется использовать расчетно-экспериментальный метод, при котором проверяется:
а) основная погрешность первичной части ИК путем поверки первичного измерительного преобразователя (датчика) в нормальных условиях;
б) основная погрешность вторичной, электрической части ИК (ЭИК) на соответствие ее пределу допускаемых значений погрешности см. таблицу приложения А).
-
1.2 Предел допускаемых значений основной приведенной погрешности j-ro ИК 5hkj рассчитан по формуле:
8 ик] 1,21 • [(8Пипр2+( Зэикр2]0'5, (1)
>1 ...к
где: Зпигц и Зэик^ - пределы допускаемых значений основной погрешности соответственно первичного измерительного преобразователя и ЭИК из состава j-ro ИК (ЭИК);
к - число ИК (ЭИК).
Формула (1) позволяет оценить основную погрешность ИК с доверительной вероятностью равной 0,95.
Аналогично рассчитан предел допускаемой основной абсолютной погрешности И К.
-
1.3 Результаты поверки считаются положительными, если основная погрешность ЭИК не превышает значений, приведенных в таблице приложения А, а датчики поверены. В этом случае основная погрешность измерения параметров технологического процесса не превышает значений, приведенных в таблице приложения А.
-
1.4 Допускается проводить поверку ИК системы сквозным методом, при котором ПК рассматривается как единое средство измерений; этот метод считается предпочтительным по ГОСТ Р8.596-2002. Сквозным методом можно проводить поверку отдельных типов ИК исходя из наличия эталонов и возможности отключения датчика от технологического процесса.
Перечень операций, которые должны проводиться при первичной и периодических поверках (калибровках) ИК системы с указанием разделов Методики, в которых изложен порядок и методика их выполнения, приведен в таблице 2.1.
Таблица 2.1.
Наименование операции |
Обязательность проведения |
Раздел методики | |
при |
поверке | ||
первичной |
периодической | ||
1. Внешний осмотр и проверка наличия необходимой документации |
Да |
Да |
8.1 |
2. Проверка электрической прочности и сопротивления изоляции |
Да |
Да |
8.2 |
3. Опробование |
Да |
Да |
8.3 |
4. Проверка версии программного обеспечения |
Да |
Да |
8.4 |
5. Проверка защиты ПО системы от несанкционированного доступа |
Да |
Да |
8.5 |
6. Проверка метрологических характеристик ИК системы |
Да |
Да |
8.6-87 |
-
3.1 При проведении поверки по расчетно-экспериментальному методу должны применяться средства поверки, основные технические характеристики которых не хуже приведенных в таблице 3.1
Таблица 3.1 Эталоны, используемые при расчетно-экспериментальном ме-тоде поверки
Наименование |
Основные технические характеристики |
Цель применения |
Калибратор-измеритель унифицированных сигналов эталонный ИКСУ-2000 |
Пределы допускаемой основной погрешности: ±(0,01% 1+1 мкА) - в режиме измерения /воспроизведения силы тока I в диапазоне (0-25 мА); ± 0,05 °C в режиме имитации термопреобразователей сопротивления ти пов 100П, Rt100, 100М в диапазоне о минус 50 до 200 °C |
В качестве меры силы постоянного тока и измерений сигналов ЭИК |
Магазин сопротивлений Р4831 |
Диапазон воспроизводимого электрического сопротивления от 0,01 до 111111,1 Ом. Класс точности 0,02/2-10'6. |
Для задания электрического сопротивления при поверке ЭИК |
Установка проверки электрической прочности изоляции УПУ-1М |
Испытательное напряжение переменного тока от 0 до 3000 В |
Для испытания электрической прочности изоляции. |
Мегомметр Ф 4101 |
Диапазон измерений от 0 до 2000 МОм. Напряжение 100 В, 500 В, 1000 В |
Для измерения сопротивления изоляции. |
Генератор сигналов низкочастотный ГЗ-118 либо генератор сигналов специальной формы SFG2110 |
Основная погрешность установки частоты ± (1 +50/fH) %, где fH- установленное по шкале значение в Гц, от 10 Гц до 20 кГц |
Для генерации значений синусоидального напряжения при определении размаха виброперемещения * и генерации частоты при определении частоты вращения ротора |
Вольтметр универсальный цифровой GDM-8245 |
Диапазон измерений от 0 до 5 В. Основная погрешность не более ± (0,5 или 1 % +15 мВ). Полоса частот от 20 Гц до 2 кГц |
Для измерения действующего синусоидального напряжения генератора при определении размаха виброперемещения и частоты вращения ротора |
Измеритель влажности и температуры ИВТМ-7 МК-С |
Диапазон измерений относительной влажности от 0 до 99 %. Диапазон измерений температуры от минус 20 до 60 °C |
Для измерения влажности и температуры окружающего воздуха. |
* Для каналов виброперемещения предпочтительным является метод сквозной поверки с использованием установки поверочной вибрационной 2 разряда в соответствии с МИ 2070-90 (например, Вибратор калибровочный портативный 9100D).
Первичные измерительные преобразователи (датчики) поверяются по своим методикам поверки с применением указанных в них эталонов.
-
3.2 При проведении поверки сквозным методом рекомендуется применять следующие эталоны.
-
3.2.1 При проведении сквозной поверки ИК, предназначенного для измерения температуры, в качестве эталона при проверке погрешности ИК следует использовать термостат или камеру искусственного климата, эталонный термометр. Заданная температура в термостате либо камере должна поддерживаться с погрешностью (в условиях применения) не более ± 0,05 °C. Погрешность термометра не должна превышать ±0,1 °C
-
3.2.2 В качестве эталона при проверке погрешности ИК, предназначенных для измерения давления, следует использовать эталонный грузопоршневой манометр, позволяющий воспроизводить статическое давление в диапазоне измерения от 0 до 100 кгс/см2 с приведенной погрешностью не более ± 0,02 %.
-
-
3.3 В общем случае погрешность эталона не должна быть более 1/5 предела контролируемого значения погрешности. Допускается использовать эталоны, имеющие предел допускаемого значения погрешности, составляющий не более 1/3 предела контролируемого значения погрешности, в этом случае должен быть введен контрольный допуск, равный 0,8 (см. МИ 187-86 «ГСИ. Критерии достоверности и параметры методик поверки», МИ 188-86 «ГСИ. Установление значений параметров методик поверки»),
-
3.4 При проведении поверки ИК в рабочих условиях следует учитывать дополнительные погрешности датчиков, модулей ввода-вывода и эталонов. Погрешность эталона в рабочих условиях эксплуатации рассчитывается согласно технической документации. Используемые для проведения экспериментальной проверки погрешности ИК эталоны должны быть пригодны к эксплуатации в рабочих условиях проведения поверки.
-
3.5 Дискретность изменения сигналов, подаваемых от источников тока на входы ИК, не должна превышать 0,3 номинальной ступени квантования испытываемого канала.
-
3.6 Средства измерений параметров окружающей среды при проведении обследования условий поверки.
-
3.6.1. Измерение температуры окружающего воздуха.
При измерении температуры окружающего воздуха для оценки предела допускаемой погрешности средства измерений из состава ИК следует использовать термометр с диапазоном измерений от минус 20 до плюс 80 °C, ценой деления 1,0 °C и погрешностью не более ± 2,0 °C.
-
3.6.2 Измерение относительной влажности окружающего воздуха.
Измерение относительной влажности окружающего воздуха следует проводить гигрометром психометрическим с диапазоном измерений от 40 до 90 %, ценой деления шкал термометров 0,2 °C.
Погрешность термометров гигрометра: ± 0,2 °C после введения поправки.
-
3.6.3 Измерение напряжения сети электропитания.
Измерение напряжения сети электропитания следует проводить с помощью вольтметра переменного тока с диапазоном измерений от 0,02 до 1000 В и погрешностью не более 1%.
4 ТРЕБОВАНИЯ К КВАЛИФИКАЦИИ ПОВЕРИТЕЛЕЙПоверку ИК системы должен выполнять персонал, аттестованный в соответствии с ПР 50.2.012-94 «Порядок аттестации поверителей средств измерений», прошедший инструктаж по технике безопасности и освоивший работу с системой.
5 ТРЕБОВАНИЯ БЕЗОПАСНОСТИПри проведении поверки (калибровки) необходимо соблюдать требования безопасности, предусмотренные «Правилами технической эксплуатации электроустановок потребителей» и «Правилами техники безопасности при эксплуатации электроустановок потребителей» (изд. 3), ГОСТ 12.2.007.0-75 «ССБТ. Изделия электротехнические. Общие требования безопасности», ГОСТ 12.1.016-79 «ССБТ. Воздух рабочей зоны. Требования к методикам измерения концентраций вредных веществ», ГОСТ 22261-94 «Средства измерений электрических и магнитных величин. Общие технические условия», а также требования по безопасности, изложенные в «Руководстве по эксплуатации» 2082 364225 ХХХХ XX X РЭ, в руководствах по эксплуатации, применяемых эталонов и вспомогательного оборудования.
Персонал, проводящий поверку (калибровку), должен проходить инструктаж по технике безопасности на рабочем месте и иметь группу по технике электробезопасности не ниже 2-й.
6 УСЛОВИЯ ПОВЕРКИ-
6.1 Условия поверки на месте эксплуатации ИК системы должны соответствовать условиям эксплуатации, указанным в технической документации на измерительные компоненты в составе ИК систем и составляющие для вторичных (электрических) преобразователей и контроллеров:
-
- температура окружающего воздуха от 15 до 35 °C
(нормальная температура 25 °C);
-
- относительная влажность от 30 до 90 % во всем диапазоне рабочих температур;
-напряжение питания (220 ±20) В частотой (50 ± 1) Гц;
-
6.2 При проведении поверки на месте эксплуатации обследование условий работы ЭИК системы и их измерительных компонент проводится дважды - в начале и в конце рабочей смены.
Проводится обследование климатических условий и сети питания, параметров вибрации и напряженности магнитного поля в помещениях, где размещены измерительные компоненты ЭИК системы.
7 ПОДГОТОВКА К ПОВЕРКЕ-
7.1. Перед проверкой погрешностей системы расчетно-экспериментальным методом следует убедиться в том, что все датчики из ее состава прошли поверку (проверить их свидетельства о поверке или наличие штампов поверки в паспортах, либо поверочных клейм и даты последующей поверки на корпусах).
-
7.2. Перед экспериментальной проверкой погрешности ЭИК все средства измерений и используемые эталоны должны быть подготовлены к работе в соответствии с указаниями эксплуатационной документации на эти средства измерений, прогреты не менее 0,5 часа.
-
7.3. Перед экспериментальной проверкой погрешности ЭИК должны быть проведены все тесты проверки функционирования контроллеров и системы визуализации измеряемых параметров.
-
7.4. Вторичная часть поверяемого ИК системы отключается на время поверки от клеммной колодки датчика с соблюдением мероприятий исключающих нарушение работоспособности системы. После завершения измерений связь с датчиком восстанавливается, проверяется правильность функционирования ИК в целом.
7.5 При проведении проверки погрешностей ЭИК в условиях, отличных от нормальных, предел допускаемой погрешности ЭИК уэик определяется погрешностью в условиях поверки модуля ввода аналоговых сигналов из состава контроллера и вычисляется по формуле:
Уэик — Уо мод + Умод темп ДЬ
где: уо мод и Умод темп - пределы допускаемой основной погрешности модуля ввода контроллера и умод темп - пределы допускаемой дополнительной температурной погрешности модуля ввода контроллера ЭИК соответственно.
8 ПРОВЕДЕНИЕ ПОВЕРКИ 8.1. Внешний осмотр и проверка наличия необходимой документации.-
8.1.1. Проводят осмотр мест установки компонентов измерительных каналов системы, проверяют отсутствие механических повреждений, обугливания изоляции. Проверяют наличие пломб, оттисков поверительных клейм и необходимых надписей на наружных панелях приборов.
-
8.1.2. Проверяют наличие у метрологической службы предприятия или подразделения, эксплуатирующего данную систему, перечисленных ниже документов:
-
- перечень ИК, входящих в состав АСУОКМ, подлежащих поверке, с указанием конкретных заводских номеров комплектующих их средств измерений (либо других идентификаторов каналов) по рекомендуемой форме приложения Б;
-
- эксплуатационная документация на средства измерений в составе ИК системы;
-
- протоколы первичной (предыдущей) поверки ИК системы (при периодических поверках);
-
- протоколы измерений фактических значений и пределов изменений температуры, влажности воздуха, напряжения питания в помещениях, в которых размещены компоненты ИК системы, параметры вибрации вблизи мест их установки;
-
- техническая документация и свидетельства о поверке эталонов, используемых при поверке ИК системы.
-
8.1.3. Проверяют соответствие состава ИК указанному в перечне ИК.
Проверка электрической прочности и сопротивления изоляции проводится в соответствии с ГОСТ 22261-94 «Средства измерений электрических и магнитных величин. Общие технические условия» и инструкцией по эксплуатации.
-
8.2.1 Изоляция гальванически развязанных электрических цепей относительно корпуса должна выдерживать в течение 1 мин испытательное напряжение переменного тока практически синусоидальной формы частотой 50 Гц с действующим значением:
2200 В - для цепей с номинальным напряжением от 150 до 300 В;
1300 В - для цепей с номинальным напряжением от 100 до 150 В;
700 В - для цепей с номинальным напряжением от 50 до 100 В;
350 В - для цепей с номинальным напряжением от 0 до 50 В;
-
8.2.2 Электрическое сопротивление изоляции между гальванически развязанными цепями и между этими цепями и корпусом должно быть не менее 20 МОм.
-
8.3.1. Опробование системы (или ее ЭИК) осуществляется по методике, изложенной в соответствующем разделе её руководства по эксплуатации. Допускается совмещать опробование с процедурой проверки погрешностей измерительных каналов в соответствии с настоящей методикой.
-
8.3.2. Результаты проверки считаются положительными, если Система (или ее ЭИК) функционирует в полном соответствии с её руководством по эксплуатации.
В соответствии с указаниями руководства по эксплуатации системы, вывести на экран ее монитора версию программного обеспечения. Наименование программы и используемая версия не должны противоречить приведеденным в Руководстве по эксплуатации.
8.5 Проверка защиты ИС от несанкционированного доступа-
8.5.1. Испытания по данному пункту проводят на произвольно выбранном автоматизированном рабочем месте (АРМ) оперативно-диспетчерского и управленческого персонала, входящем в состав поверяемой системы.
-
8.5.2. Пользуясь указаниями руководства по эксплуатации, осуществить выход всех пользователей и в этом режиме осуществить попытку несанкционированного доступа к АРМ, например, путём изменения показаний измеренных данных, паспортных данных, настроечных коэффициентов и т.п.
-
8.5.3. Результаты проверки являются положительными, если любые несанкционированные действия пользователя на испытуемом АРМ блокируются в порядке, регламентированном в руководстве по эксплуатации на систему.
-
8.6 Проверка метрологических характеристик ИК системы
Проверка основной погрешности ЭИК проводится в изложенной ниже последовательности:
- собрать схему измерений согласно рисунку 8.1;

МС - магазин электрического сопротивления.
Рисунок 8.1 Схема соединений с эталонным магазином сопротивлений при 3-хпроводной схеме подключения термометра сопротивления
- выбрать 5 проверяемых точек toi , равномерно распределенных по диапазону измерений ЭИК; записываем их значения (°C) в соответствующие строки столбца «Проверяемая точка» таблицы 8.1
Таблица 8.1.
Проверяемая точка, °C |
Входной сигнал, Ом |
Измеренное значение, °C |
Допускаемые граничные значения, °C |
Заключение по неравенствам | |
toi |
Roi |
ti |
tkii |
tki2 | |
1 |
2 |
3 |
4 |
5 |
6 |
-
- выразить проверяемые точки t0, в значениях сопротивления по номинальной статической характерисике по ГОСТ 6651::
Roi ~ F(tOj),
где: F(toi) - значение номинальной статической характеристики термометров по ГОСТ 6651 - 2009 «ГСИ. Термопреобразователи сопротивления из платины, меди и никеля. Общие технические требования и методы испытаний». Для измерения температур в диапазоне от минус 200 до 500 °C в системах применяются термометры сопротивления разных исполнений со стандартными градуировками Pt100 (WCT100 = 1,385) 100П (WCT100 = 1,3910);
-
- записать их значения в соответствующие строки столбца "Входной сигнал" (таблица 8.1);
-
- установить на входе канала (клеммы входа модуля контроллера) значение сопротивления Roi , соответствующее проверяемой точке, и считать показание проверяемого канала t, на дисплее и записать его значение в соответствующую строку столбца "Измеренное значение" (таблица 8.1);
-
- если выполняется одно (любое) из неравенств:
tj < tki1, tj > tki2,
где tkii, tki2 - контрольные значения, вычисляемые по формулам:
tkii = toi - At, (2)
tki2 = to, + At, (3)
где At - предел допускаемой абсолютной погрешности для каждой проверяемой точки ИК, At= ±0,2 °C, ±0,5 °C, ±0,7 °C, ±0,8 °C или ±1,0 °C в зависимости от используемого в системе модуля контроллера
то в столбце "Заключение" (таблица 8.1) записать “Брак”, в противном случае -“Годен” и продолжить поверку.
Допускается проводить проверку погрешности во всех точках, указанных в таблице 8.1, только для одного из группы однотипных ИК сигналов от термопреобразователей сопротивления.
Для остальных из группы однотипных И К достаточно проверить погрешность в трех точках диапазона измерения: 0 %, 50 %, 100 %. Кроме того, при наличии в ИК заданных границ сигнализации проверить их на срабатывание.
8.6.2. Проверка основной погрешности ЭИК аналоговых сигналов постоянного токаПроверка основной погрешности ЭИК проводят в изложенной ниже последовательности:
-
- отсоединить датчик (первичный преобразователь), установленный на входе ЭИК;
-
- собрать схему измерений согласно рисунку 8.2;
Рисунок 8.2 Схема соединений с эталонным калибратором силы постоянного тока
-
- выбрать 5 проверяемых точек Zj (POi, APOi, FOi, Qoi), равномерно распределенных по диапазону измерений ЭИК (5 %, 25 %, 50 %, 75 % и 95 % от диапазона измерений);
-
- записать в столбцы в столбцы 3 и 4 таблицы 8.2 "Допускаемые граничные значения" границы допускаемых значений выходных сигналов в единицах физических величин, вычисленных следующим образом:
Piki = Poi-Y-Pe/100%,
APiki = APOi-Y-APB/100%,
Fiki = Foi- y(FB - FH)/100 %,
Qiki= Qoi - y-(Qb ~ Qh)/100 %,
Pik2 = Poi + Y- Рв/Ю0%,
APik2 = APoi + y-APb-/1 00 %, (4)
Fik2 = Foi + Y-(Fb - FH)/100 %, Qik2 = Qoi "*■ Y’(Qb ~ Qh)/1 00 %,
где: у- предел основной приведенной погрешности модуля ввода анало
говых сигналов, используемого в ЭИК системы, в % диапазона измерений:
Рв- диапазон измерений давления;
АРВ - диапазон измерений разности давлений;
FB - FH - диапазон измерений расхода без коррекции;
QB - QH - диапазон измерений концентрации.
-
- на вход проверяемого ЭИК системы подать токовые сигналы Xi (lj ( POi, APOi, FOi, QOj)) , (столбец 2 таблицы 8.2), соответствующие значениям Zi;
-
- считать показание канала Yi в виде измеряемого физического параметра ( Р,, APi, Fj, Qj) с дисплея операторской станции системы автоматизации и записать его в соответствующую строку столбца 5 таблицы 8.2;
-
- изложенные выше операции повторить для всех проверяемых точек.
Таблица 8.2
Проверяемая точка, ед. изм. физ. параметра |
Проверяемая точка, мА |
Допускаемые граничные значения, ед. изм. физ. параметра |
Измеренное значение, ед. изм. физ. параметра |
Заключение по неравенствам | |
Zi |
х; |
Zikl |
Zik2 |
Yi | |
1 |
2 |
3 |
4 |
5 |
6 |
- если выполняется хотя бы одно из неравенств:
(Pi, АР,, Fi, Qi) < ( Pjki, APiki, Fiki, Qiki) > (5)
(Pi, APj, Fj, Qi) > ( Pik2, APik2, Fjk2, Qik2) ,
где: (Piki, APiki, Fiki, Qiki), (P<k2, APik2, Fik2, Qik2) - допускаемые границы показаний в единицах физических величин, приведенные в столбцах "Допускаемые границы" (таблица 8.2),то в столбце "Заключение по неравенствам" записать "Брак", в противном случае - "Годен" и продолжить поверку.
Допускается проводить проверку погрешности во всех точках, указанных в таблице 8.2, только для одного из группы однотипных ИК аналоговых сигналов постоянного тока.
Для остальных из группы однотипных КИ достаточно проверить погрешность в трех точках диапазона измерения: 5 %, 50 %, 95 %. Кроме того, при наличии в ЭИК заданных границ сигнализации проверить их на срабатывание.
8.6.3. Проверка основной погрешности ЭИК расходаВ АСУОКМ применяются два типа расходомеров со стандартными сужающими устройствами (далее СУ):
-
- первый тип - расходомеры, используемые для ведения технологического процесса, значения объёмных расходов которых определяются по условиям эксплуатации, без коррекции по значениям давления и температуры измеряемой среды;
-
- второй тип - расходомеры, используемые для подтверждения технических характеристик установок и для определения показателей работы турбодетандеров, значения объёмных расходов которых приведены к стандартным условиям и рассчитаны согласно нормативным документам с коррекцией по текущим измеренным значениям температуры и давления рабочей среды.
-
8.6.3.1 Проверка основной погрешности ЭИК объемных расходов, используемых для ведения технологического процесса.
-
8.6.3.1.а Расчет текущих значений объемных расходов измеряемые расходомерами на базе стандартных диафрагм с угловым способом отбора давления, и расходомерами на базе конических сопел (далее СУ) в условиях эксплуатации производится по формуле:
QC = FZ [(Л-7н)/(/в-Л/)]0,5’ м3/ч (6)
где: Fb - значение верхнего предела диапазона измерений расхода, ;
- измеренное значение электрического сигнала датчика разности давлений на СУ, мА;
1н - значение нижнего предела диапазона измерений электрического сигнала датчика разности давлений на СУ, мА;
/в - значение верхнего предела диапазона измерений электрического сигнала датчика разности давлений на СУ, мА.
Предел основной приведенной погрешности (от диапазона измерений) ЭИК определяется погрешностью используемого в ЭИК типа модуля ввода .
8.6.3.1.б Расчет текущих значений объемных расходов ИК на базе осредняющих напорных трубок; на базе компактной диафрагмы серии 405; электромагнитными расходомерами, в условиях эксплуатации производится по формуле:
Я С ~ ’ [(Л ~ Лр/Ов — 7^)J ^/ч (7)
где: ^в- значение верхнего предела диапазона измерений расхода, м3/ч;
- значение выходного тока расходомера с коррекцией по температуре (Tj) и давлению (Pi), мА;
7«- значение нижнего предела диапазона измерений электрического сигнала расходомера, мА;
7в_ значение верхнего предела диапазона измерений электрического сигнала расходомера, мА.
Предел основной приведенной погрешности (от диапазона измерений) ЭИК определяется погрешностью используемого в ЭИК типа модуля ввода.
8.6.3.2. Проверка основной погрешности ЭИК объемных расходов, приведенных к стандартным условиям.Расчет текущих значений объемных расходов qc, измеряемых расходомерами на базе осредняющих напорных трубок с многопараметрическим преобразователем, производится для ЭИК по формуле (6).
Расчет текущих значений объемных расходов qc, изменяемых расходомерами на базе стандартных диафрагм с угловым способом отбора давления и приведенных к стандартным условиям проводится в соответствии с требованиями документа «Измерение расхода и количества жидкостей и газов с помощью стандартных сужающих устройств. ГОСТ 8.586.1 (2,5)-2005 по формуле:
К^с-Е-к.-с P)‘J 1 Рг м3/ч (8)
где: а - объемный расход среды, приведённый к стандартным
Тл Ссс
условиям, м3/ч;
^=3,14159;
</2° _ диаметр отверстия диафрагмы при температуре 20 °C, м (берётся из паспорта диафрагмы);
^су- коэффициент, учитывающий изменение диаметра отверстия диафрагмы, вызванное отклонением температуры измеряемой среды от 20 °C;
С - коэффициент истечения (берётся из расчёта диафрагмы);
Е - коэффициент скорости входа;
Кш- поправочный коэффициент, учитывающий шероховатость внутренней поверхности измерительного трубопровода (берётся из расчёта диафрагмы);
К"- поправочный коэффициент, учитывающий притупление входной кромки диафрагмы (берётся из расчёта диафрагмы);
s - коэффициент расширения;
^Р- перепад давления на диафрагме, Па (измеренное значение);
рс - плотность среды при стандартных условиях, кг/м (берётся из расчёта диафрагмы) или ГСССД.
р - плотность измеряемой среды при рабочих условиях, кг!м (рассчитывается по данным таблицы 8.3);
Плотность среды в рабочих условиях Р рассчитывается по формуле:
Р = рс-Р-Тс/Рс-Т-К (9)
- Рс - абсолютное давление стандартных условий, 101325 Па
-
- Р - абсолютное давление среды в рабочих условиях, Па
-
- Т - термодинамическая температура среды, К
-
- Тс - термодинамическая температура стандартных условий, 293,15 К
-
- К - коэффициент сжимаемости.
Значения параметров стандартных условий согласно ГОСТ 2939-63 «Газы. Условия для определения объема»
Значение плотности р в рабочих условиях рассчитывается контроллером АСКУОКМ с учетом данных ГСССД.
Проверка основной погрешности каналов измерения объемных расходов без коррекции текущих значений давления и температуры проводится в соответствии с п. 8.6.2.
Рассчитываются значения тока, подаваемого от калибратора тока на модуль ввода постоянного тока контроллера, соответствующие значению расхода (таблица 8.2).
Необходимо учитывать квадратичную зависимость объемного расхода от перепада давления (разности давлений) на СУ типа диафрагма, конус.
Как правило, датчики разности давлений имеют линейную характеристику выходного токового сигнала, а извлечение степени 0,5 осуществляется в контроллере.
Рассчитываются допускаемые значения изменения в единицах измерения объемного расхода и выполняется заключение (таблица 8.2).
Проверка основной погрешности каналов измерения объемных расходов с коррекцией плотности среды по текущим измерениям давления и температуры проводится следующим образом:
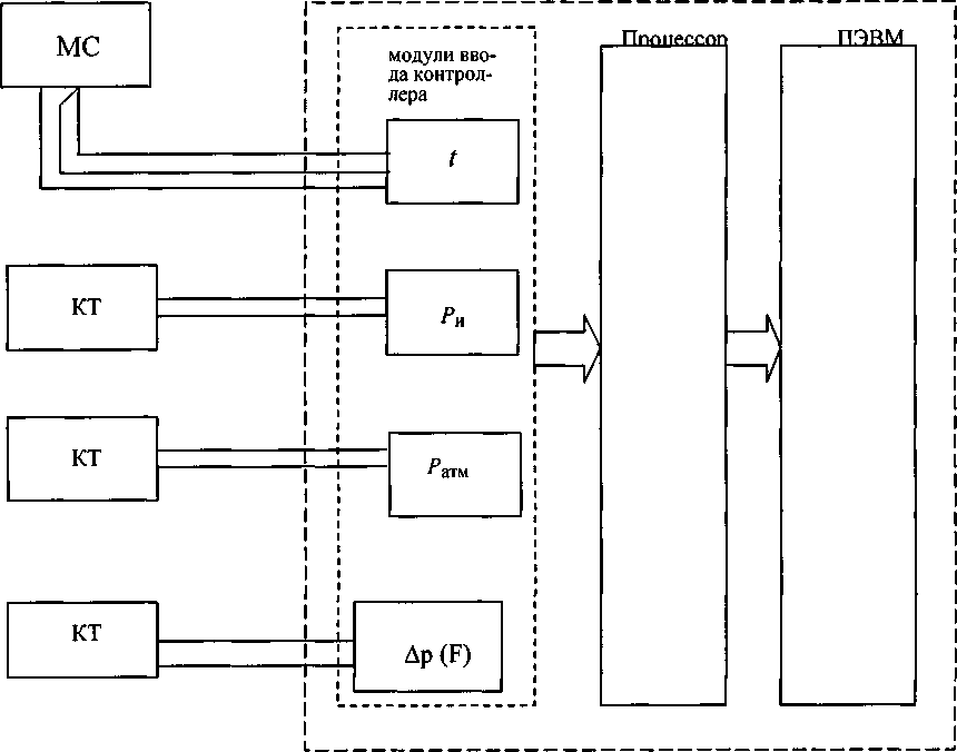
- собрать схему согласно рисунку 8.3;

Рисунок 8.3 - Схема проверки основной погрешности ЭИК расходов, корректируемых с учетом поправок на давления и температуру
МС - магазин электрического сопротивления. КТ - калибратор силы постоянного тока.
- заданные значения 1(Т), 1(РИ), 1(Ра) и расчетные значения l[AP(F0)] с помощью эталонов ( калибраторов тока, многозначной меры сопротивления) подать на клеммы модулей ввода контроллера и проверить полученные значения Fk с учетом допускаемого значения.
В качестве граничных задаваемых значений Т, Ри, Рабс предлагается взять:
-
1. РИ( ппп, Т,min, Р,абс. min, ДРрасч.(Рк) ~ 0,5 FK max расч,
-
2. Ри,расч, Т;расч, Рабс. расч, APpac4.(FK) = 0,5 ДР max,
-
3. Ри,расч. max, Т;тах, Р,абс. max, APpac4.(FK) = 0,5 ДР max,
где:
Ритю, Ритах - минимальные и максимальные значения рабочего диапазона давления измеряемой среды;
Рирасч, Рабс. расч, Т, расч, ДР - расчетные значения давлений, температуры и перепада давления, при которых рассчитывались СУ (диафрагма, конус) расходомера;
Tmin, Tmax - минимальные и максимальные значения рабочего диапазона температуры измеряемой среды (Данные приведены в таблице 8.3) Таблица 8.3
Проверяемая точка, ед. изм. физ. параметра |
Проверяемая точка, |
Допускаемые граничные значения, ед. изм. физ. параметра |
Измеренное значение, ед. изм. физ. параметра |
Заключение по неравенствам | |
Zj |
Xi |
Zikl |
Zjk2 |
Yj, | |
1 |
2 |
3 |
4 |
5 |
6 |
Fк (ДР—0,5ДРmin, Ри min,Tmin,Рабс. min) | |||||
Fк (ДРрасч, Ри расч, Трасч, Рабс. расч) | |||||
Fк (ДР=0,5ДРmax, Ри max,Tmax,Рабс. max) |
Значения плотности р по Т и Р рассчитывается контроллером АСУОКМ с учетом данных ГСССД по специальной программе.
Предел допускаемой относительной погрешности расчета при поверке ИК объемных расходов корректируемых по текущим значениям Ри, Рабс., Т
5(Fj к) <0,6%
8.6.4 Проверка основной приведенной погрешности ЭИК виброперемещения турбодетандерного компрессорного агрегата (ТДКА).-
8.6.4.1 Требования распространяются на проверку погрешности ЭИК, образованных, модулем ХМ-120 из системы вибродиагностики DYNAMIX , модулем ввода из состава используемого в ИК контроллера и пультовой станцией. Погрешность ИК виброперемещения при доверительной вероятности Р=1,0 есть сумма погрешностей вибропреобразователя, измерительного модуля ХМ-120, модуля ввода контроллера.
Модули ХМ-120 имеют два программируемых токовых выхода от 4 до 20 мА и работают с токовихревыми преобразователями.
-
8.6.4.2 Проверку основной приведенной погрешности КИ размаха относительного виброперемещения вала в двух взаимноперпендикулярных направлениях (ГОСТ 24346-80 «Вибрация. Термины и определения») ротора ТДКА проводится в изложенной ниже последовательности:
собирают схему согласно рисунку 8.4
Serial Configuratlor

ГСН - генератор синусоидального напряжения.
Рисунок 8.4 - Схема проверки основной приведенной погрешности
ЭИК размаха относительного виброперемещения в двух взаимноперпендикулярных направлениях вала ротора ТДКА
устанавливают на генераторе синусоидального напряжения базовую частоту, равную 40 Гц;
устанавливают на входах каналов (клеммы входа виброперемещения модуля ХМ-120) действующие значения синусоидального напряжения ид(х,у) соответствующие (5, 25, 50, 75, 95 %) верхнего предела диапазона измерений размаха относительного виброперемещения в двух взаимноперпендикулярных направлениях вала ротора ТДКА.
Действующее значение синусоидального напряжения 11д(х,у), с учетом его функциональной зависимости от амплитудного значения 11А(х,у), значения размаха относительного виброперемещения вала ротора S(t)x и S(t)y во взаимноперпендикулярных направлениях вычисляются по формуле:
и.1(х,у) = 0,5 • S (Г) разы. -К, мВ Q)
где: $Ц)разм . проверяемое значение размаха относительного вибропере-мешения вала ротора ТДКА, мкм;
А" - коэффициент чувствительности датчика по данным из паспорта на датчик виброперемещения (базовое значение - в мВ/мкм).
- считывают показание проверяемого канала на дисплее и записывают его значение в соответствующую строку столбца "Измеренное значение" (таблица 8.4);
- если выполняется одно (любое) из неравенств:
Gi < Gki1, Gi > Gki2,
то в столбце "Заключение" таблицы 8.4 записывают “Брак”, в противном случае - “Годен” и продолжают поверку.
где: Gik1 , Gik2 - допускаемые границы показаний в единицах физических величин (мкм), вычисляемые по формулам:
Gki1 = Gi - y-Gb /100 %, Gki2 = Gi + y-Gb /100 % (11)
Y - предел суммарной основной приведенной погрешности ЭИК_вибро-перемещения на базе модулей ХМ-120 и ввода контроллера у = ± 1,0 %.
Таблица 8.4
Проверяемая точка, |
Допускаемые граничные значения, ед. изм. физ. параметра |
Измеренное значение, ед. изм. физ. параметра |
Заключение по неравенствам | |
Zj 11д(х,у) |
Giki |
Gjk2 |
Gi, | |
1 |
3 |
4 |
5 |
6 |
Требования распространяются на проверку погрешности ЭИК, образованных модулем ХМ-120 из системы вибродиагностики DYNAMIX , модулем ввода импульсов или синусоидального напряжения из состава используемого в ИК контроллера и пультовой станцией.
Погрешность ЭИК и ИК частоты вращения ротора совпадают, поскольку вибропреобразователь должен фиксировать каждый оборот ротора (в режиме максимальной чувствительности).
Проверка основной приведенной погрешности ЭИК проводится в изложенной ниже последовательности:
- собирают схему согласно рисунку 8.5;

ГСН - генератор синусоидального напряжения.
Рисунок 8.5 - Схема проверки основной приведенной погрешности ЭИК частоты вращения ротора ТДКА
-
- устанавливают на входе канала (клеммы входа частоты вращения ротора модуля ХМ-120) синусоидальное напряжение с действующим значением равным 1 В с частотой (5, 25, 50, 75, 95) % верхнего предела диапазона измерений частоты вращения ротора, считываем показание проверяемого канала на дисплее и записываем его значение в соответствующую строку столбца "Измеренное значение" (таблица аналогичная таблице 8.2);
-
- если выполняется одно (любое) из неравенств:
Ni < Nkii, Nj > Nki2,
то в столбце "Заключение" таблицы записывают “Брак”, в противном случае -“Годен” и продолжают поверку.
где: Niki , N,k2 - допускаемые границы показаний в единицах физических величин (об/мин), вычисляемые по формулам:
Nkji = IM,-yNB/100 %, Nki2 = Nj + y-NB/100 % (12)
у - предел суммарной основной приведенной погрешности КИ частоты вращения ротора ТДКА от диапазона измерений на базе модуля ХМ-120 у = ± 0,2 %.
Примечание - Частота вращения, в об/мин, определяется по формуле (1)
N = f*60/z, (1)
где: N - частота вращения, об/мин;
f- частота электрического сигнала, Гц;
z - число рисок на валу ротора.
8.6.6 Проверка основной погрешности каналов сигнализацииДопускается совмещать проверку погрешности ИС с проверкой каналов измерения, заполняя при этом в соответствующих строках столбцы таблицы 8.5.
-
8.6.6.1. В таблице 8.5 введены следующие обозначения:
ВРГ - верхняя регламентная граница;
НРГ - нижняя регламентная граница;
ВАГ - верхняя аварийная граница;
НАГ - нижняя аварийная граница.
А в столбце "Входной сигнал" - соответствующие им значения силы постоянного тока.
Таблица 8.5
KKS |
Параметр с допускаемыми границами |
ВРГ |
НРГ |
ВАГ |
НАГ |
Входной сигнал, мА или Ом, с доп. границами | |||||
Результат проверки, «+» или «-» |
-
8.6.6.2. Проверка погрешности проводится в следующей последовательности:
- на средствах поверки (магазины сопротивлений или калибратор тока) устанавливаются значения сигналов соответствующих ВРГ, НРГ, ВАГ, НАГ с учетом нижних и верхних допускаемых значений, приведенных в столбцах "Допускаемые границы", при этом на дисплее отображается цветом срабатывание за
данных границ проверки.
9 ОФОРМЛЕНИЕ РЕЗУЛЬТАТОВ ПОВЕРКИ-
9.1 При положительных результатах поверки системы оформляется свидетельство о поверке.
К свидетельству о поверке прилагаются:
протоколы проверки погрешности по всем измерительным каналам с условиями работы всех входящих в нее измерительных компонентов.
-
9.2 При отрицательных результатах поверки оформляется извещение о непригодности к применению с указанием причин, гасится ранее выданное свидетельство о поверке.
Технические и метрологические характеристики систем автоматизированного контроля и управления оборудованием криогенного машиностроения
Технические и метрологические характеристики АСКУОКМ определяются входящими в состав систем и приведены в таблицах
А.1-А.2.
Таблица А.1
Первичный измерительный преобразователь ИК |
Диапазоны измерений ИК |
Диапазон изменения входного сигнала ЭИК |
Пределы допускаемой приведенной погрешности ЭИК |
Границы интервала основной приведенной погрешности ИК |
1 ИК избыточного давления | ||||
|
от 0 кПа до 1-100 кПа от 0 кПа до 4-400 кПа от ОкПадо 16-1600 кПа от 0 кПа до 63-6 300 кПа от 0 кПа до 160-16 000 кПа от 0 кПа до 630-63 000 кПа |
4-20 мА |
Определяется погрешностью используемого в ЭИК типа модуля ввода |
±1,0% приведенная |
2 ИК дифференциального давления | ||||
|
от 0 -0,1 кПа до 0-6 кПа от 0 -0,25 кПа до 0- 25 кПа от 0 -0,6 кПа до 0-60- кПа от 0 -1,6 кПа до 0-160 кПа от 0 -63 кПа до 0-6300 кПа от 0-160 кПа до 0-16 МПа |
4-20 мА |
Определяется погрешностью используемого в ЭИК типа модуля ввода |
±1,0% приведенная |
Первичный измерительный преобразователь ИК |
Диапазоны измерений ИК |
Диапазон изменения входного сигнала ЭИК |
Пределы допускаемой приведенной погрешности ЭИК |
Границы интервала основной приведенной погрешности ИК |
3 ИК давления-разрежения | ||||
|
от минус 2-0 кПа до 0 - 2 кПа от минус 100-0 кПа до 0 - 500 кПа |
4-20 мА |
Определяется погрешностью используемого в ЭИК типа модуля ввода |
±1,0% приведенная |
4 ИК атмосферного давления | ||||
|
от 0 кПа до 16- 5 000 кПа |
4-20 мА |
Определяется погрешностью используемого в ЭИК типа модуля ввода |
±1,0% приведенная ! i I i |
Первичный измерительный преобразователь ИК |
Диапазоны измерений ИК |
Диапазон изменения входного сигнала ЭИК |
Пределы допускаемой приведенной погрешности ЭИК |
Границы интервала основной погрешности ИК |
5 ИК температуры на базе термопреобразователей сопротивления | ||||
14) ТСПТ Ех,
|
от минус 196 до плюс 500 °C |
Сопротивление согласно ГОСТ 6651-2009 для НСХ типа lOOlEPtlOO |
от 0,2 до ±1,0 °C абсолютная (определяется погрешностью используемого в ЭИК типа модуля ввода |
±3,5 °C (Л) или ± 6.5 °C (Д) |
от минус 196 до плюс 400 °C |
±3,0 °C (Д) или ± 5,5 °C (Д) | |||
от минус 196 до плюс 300 °C |
±2,5 °C (Д) или ± 4,0 °C (Д) | |||
от минус 196 до плюс 250 °C |
±2,0 °C (Д) или ± 3,5 °C (Д) | |||
от минус 196 до плюс 200 °C |
±1,5 °C (Д) или ± 3,0 °C (Д) | |||
от -100 до 450 °C |
±1,5 °C (Д) | |||
от-100 до +300 °C |
±1,0 °C (Д) | |||
6 ИК температуры на базе термопреобразователей сопротивления с унифицированным выходным сигналом 4-20 мА | ||||
|
от минус 50 до плюс 50 °C от минус 50 до плюс 100 °C 0-50 °C 0-100 °C 0-180 °C от минус 15 до плюс 250 °C 0-300 °C 0-320 °C |
4-20 мА |
определяется погрешностью используемого в ЭИК типа модуля ввода |
±1,0% |
Первичный измерительный преобразователь ИК |
Диапазоны измерений ИК |
Диапазон изменения входного сигнала ЭИ К |
Пределы допускаемой приведенной погрешности ЭИК |
Границы интервала основной погрешности И К |
7 ИК расхода на базе сужающих устройств по ГОСТ 8.586.2 с ИК избыточного давления по и. К атмосферного давления по п. 4 и температуры по п.п 5.-6 таблицы | ||||
Те же с использованием для коррекции показаний ИК избыточного давления по п. 1, атмосферного давления по п. 4 и температуры по п.п. 5-6 таблицы |
до 500 000 м3/ч, (по разности давлений на сужающем устройстве с верхней границей диапазона от 0,1 до 6 кПа, от 0.25 до 25 кПа) |
4-20 мА |
определяется погрешностью используемого в ЭИК типа модуля ввода |
±4,0 % относительная ±2,0 % относительная |
8 ИК расхода на базе интегральных расходомеров с использованием осредняющей напорной трубки типа Annubar, в том числе с использованием для коррекции показаний ИК избыточного давления по п.1, атмосферного давления по п. 4 и температуры по п.п 5.-6 таблицы | ||||
Расходомеры
|
до 500 000 м3/ч до 500 000 м3/ч до 339 000 м3/ч до 500 000 м3/ч |
4-20 мА |
определяется погрешностью используемого в ЭИК типа модуля ввода |
±2,0 %/ относительная ±3,0 % относительная |
Первичный измерительный преобразователь ИК |
Диапазоны измерений ИК _____________ |
Диапазон изменения входного сигнала эик |
Пределы допускаемой приведенной погрешности ЭИК |
Границы интервала основной погрешности ИК |
9 ИК расхода на базе интегральных расходомеров с использованием компактных диафрагм типа Rosemount 405 | ||||
Расходомеры 3051SFC (Госреестр №50699-12) |
до 228 600 м3/ч |
4-20 мА |
Определяется погрешностью используемого в ЭИК типа модуля ввода |
±2,0 % относительная |
10 ИК расхода жидкости на базе электромагнитных расходомеров | ||||
(Госреестр № 14660-12)
(Госреестр № 32246-08) |
до 1 000 м3/ч |
4-20 мА |
Определяется погрешностью используемого в ЭИК типа модуля ввода |
±1,0 % относительная |
11 ИК концентраций на базе газоанализатора | ||||
Газоанализаторы Ultramat 6 (Госреестр № 24802-11) |
СОз в воздухе 0-10 ppm |
4-20 мА |
Определяется погрешностью используемого в ЭИК типа модуля ввода |
±26 % приведенная |
Анализаторы кислорода ХМО2 (Госреестр № 51349-1)2 |
О2 в Аг 0-90 или 0-100 % О2 в N2 0-10 ppm 0-5 ppm О2 в N2 0-80 или 0-100 % |
4-20 мА |
±4% приведенная ±5,5 % приведенная ±3,5 % приведенная | |
Газоанализаторы CGA 351 (Госреестр № 51454-12) |
Ог в N2 0-10 ppm 0-100 ppm |
4-20 мА |
±10% приведенная |
Первичный измерительный преобразователь ПК |
Диапазоны измерений ИК |
Диапазон изменения входного сигнала ЭИК |
Пределы допускаемой приведенной погрешности ЭИК |
Границы интервала основной погрешности ИК |
Анализаторы кислорода газовые Oxymat 64 (Росреестр № 41714-09) |
Ог в N2 0-10 ppm 0-100 ppm |
4-20 мА |
Определяется погрешностью используемого в ЭИК типа модуля ввода |
±26 % приведенная |
Газоанализаторы ФЛЮОРИТ ИМ (Росреестр № 49326-12) |
О2 в N2 0-100 ppm |
4-20 мА |
±10% приведенная | |
Тазоанализаторы Oxymat 6, Oxymat 61 (Росреестр №24802-11) |
О2 в N2 0-10 ppm 0-5 ppm 0-100 ppm |
4-20 мА |
±4,5 % приведенная ±2,5 % приведенная | |
Анализаторы микропримесей азота в аргоне SERVOPRO Plasma k2001 (Росреестр № 47544-11) Анализаторы LD8000 (Росреестр № 56780-14) Г азоанализаторы Свет (Росреестр № 10903-02) |
N2 в Ar 0-10% |
4-20 мА |
±20 % приведенная | |
Газоанализаторы Ultramat 23 (Росреестр № 24799-14 |
CH4 в O2 0-2% CH4 в N2 0-5 % CH4BN2 0-100% |
4-20 мА |
±4% приведенная | |
Анализаторы влажности MOISTURE ANAEYZERS мод. MIS1. MMS3, MMS35, MTS6, РМ880, VeriDri (Росреестр № 51453-12) |
Точка росы воздуха, азота, природного газа от минус 80 до плюс 20 °C |
4-20 мА |
±4 °C абсолютная | |
Разоанализаторы Oxymat 6, Oxymat 61 (Госреестр №24802-11) Датчики-газоанализаторы термомагнитные ДАМ (Госреестр № 24047-11) |
О2 в воздухе 0 - 30 % |
4-20 мА |
±3 % приведенная | |
Анализаторы кислорода ХМО2 |
О2 в воздухе 0 - 30 % |
4-20 мА |
±5,5 % приведенная | |
Газоанализаторы фреонов КГС-Ф-01А (Госреестр № 56939-14) |
Фреон в воздухе 0 - 2 000 мг/м3 |
4-20 мА |
±550 мг/м3 абсолютная |
Первичный измерительный преобразователь ИК |
Диапазоны измерений ИК |
Диапазон изменения входного сигнала ЭИК |
Пределы допускаемой приведенной погрешности ЭИК |
Границы интервала основной погрешности ИК |
12 ИК концентраций на базе хроматографа | ||||
Хроматографы газовые промышленные Maxum edition II (Госреестр № 45191-15) |
пропан в С>2 от 0 до 20 млн'1 |
4-20 мА |
Определяется погрешностью используемого в ЭИК типа модуля ввода |
±7% приведенная |
11 ИК вибромониторинга ( с системами мониторинга состояния, диагностики и защиты от вибрации промышленного оборудования Allen- Bradley DYNAMIX) | ||||
Вибропреобразователи VK- 202А (Госреестр № 44889-10) |
Виброперемсшение 0-100 мкм частота 0-120 Гц, 120-8333 Гц |
От минус 20 до плюс 20 В (для измерительного модуля) |
Погрешность ЭИК совпадает с погрешностью ИК |
±14% приведенная ±0,3 % приведенная |
Примечания к таблицам А.1-А.2
-
1 Возможны другие диапазоны измерений в соответствии с описаниями типа на ПИП:
-
2 В ПК 7-10 приведены верхние границы диапазонов измерений, динамический диапазон измерений расхода составляет 1:3.
Имеется возможность получения показаний с хроматографов газовых промышленных Maxum edition II в части концентраций в кислороде этана, этилена, ацетилена, пропилена и суммарного содержания углеводородов, содержащих 4 и более атомов углерода.
Рабочие условия применения компонентов систем:
для первичных измерительных преобразователей:
-
* температура окружающего воздуха от минус 25 до плюс 45 °C (при более низких температурах применяется установка датчиков в обогреваемых шкафах или кожухах), для преобразователей, устанавливаемых в помещениях - от плюс 10 до плюс 35 °C;
-
* относительная влажность от 30 до 95 %;
-
* атмосферное давление от 84 до 107 кПа;
-
* магнитное поле напряженностью не более 400 Л/м;
-
* наличие низкочастотных вибраций от
-
* работающих механизмов до 500 Гц, 0,5 g.
для вторичных (электрических) преобразователей, модулей универсальных промышленных контроллеров и компьютеров:
-
* температура окружающего воздуха для контроллеров, устанавливаемых
в помещениях от плюс 10 до плюс 35 ° С;
-
* относительная влажность, без конденсации от 30 до 90 %;
-
* напряжение питания 220 В (^20 %) частотой (50 + 1) Гц;
-
* магнитное поле напряженностью не более 400 А/м.
СОСТАВ И ХАРАКТЕРИСТИКИ ИЗМЕРИТЕЛЬНЫХ КАНАЛОВ СИСТЕМ АВТОМАТИЗИРОВАННОГО КОНТРОЛЯ И
УПРАВЛЕНИЯ ОБОРУДОВАНИЕМ КРИОГЕННОГО МАШИНОСТРОЕНИЯ АСУОКМ
Идентификатор И К |
Тип первичного преобразователя |
Диапазон измерений ед изм. |
Выходной сигнал преобразователя |
Пределы допускаемой погрешности преобразователя |
Г.г‘ I ип модуля контроллера |
Номер мо дуля |
Номер ка- ! клеммы нала модуля ■ |
Пределы допускаемой погрешности модуля контроллера |
Пределы допускаемой погрешности ИК |
I j | |||||||||
I |
! I i i | ||||||||
; ! |
i | ||||||||
i | |||||||||
i ! i I |
i |
ТКПБ. 421457.001 И