Методика поверки «ИЗМЕРИТЕЛЬ ПРОДОЛЖИТЕЛЬНОСТИ ТЕЛЕФОННЫХ СОЕДИНЕНИЙ КОМЕТА-8М» (МП ЦМПР.466961.001)

А.Н. Грязев
Генеральный директор
ОФГУПЦ11ИИС 1§1_ФФ
I Щм?£г
УТВЕРЖДАЮ
ен.р^а^тьН^^й. ди
ИЗМЕРИТЕЛЬ ПРОДОЛЖИТЕЛЬНОСТИ
ТЕЛЕФОННЫХ СОЕДИНЕНИЙ
КОМЕТА-8М
Методика поверки
ЦМПР.466961.001МП
СОГЛАСОВАНО
Заместитель директора
ФилиалаФГВАП Ц1 ПИК' Ж) ЦНИИС
". К.В. Лыжинкин
Ж" 201С

постоянному току в разговорном режиме
Приложение А (справочное) Схема электронного ключа
Настоящая методика поверки (МП) устанавливает методы и средства первичной и периодической поверок Измерителя продолжительности телефонных соединений КОМЕТА-8М (далее - Прибор), производства Филиала ФГУП ЦНИИС - ЛО ЦНИИС, Россия.
Методика разработана в соответствии с рекомендацией РМГ 51-2002 «ГСИ. Документы на методики поверки средств измерений. Основные положения».
Цель поверки - определение действительных значений метрологических характеристик (МХ) Прибора и предоставление документа о возможности его эксплуатации.
Поверку системы осуществляют один раз в два года метрологические службы, которые аккредитованы в системе Ростехрегулирования на данные виды работ.
Требования настоящей методики поверки обязательны для метрологических служб юридических лиц не зависимо от форм собственности.
1 Операции поверкиПри первичной и периодической поверках должны выполняться операции, указанные в таблице 1.
Т а б л и ц а 1
2 Средства поверкиПри проведении поверки должны применяться средства поверки, указанные в таблице 2.
Т а б л и ц а 2
Номер пункта методики поверки |
Наименование и тип основного или вспомогательного средства поверки; обозначение нормативного документа, регламентирующего технические требования, и (или) метрологические и основные технические характеристики средства поверки |
Барометр БАММ-1, кПа [(80 - 106) ± 0,2] | |
Термометр и измеритель влажности воздуха ТКА-ПКМ, (0 - 50) °С, ±0,1 °С ОВ (10 - 98) %, ±5 % | |
7.3.3 |
Частотомер электронно-счётный Ч3-63 ДЛИ2.721.007ТУ |
7.3.4 |
Вольтметр универсальный цифровой В7-35 гб2.728.008ТУ |
Окончание таблицы 2
Номер раздела, пункта, подпункта методики поверки |
Наименование и тип основного или вспомогательного средства поверки; обозначение нормативного документа, регламентирующего технические требования, и (или) метрологические и основные технические характеристики средства поверки |
7.3.5 |
Генератор сигналов низкочастотный Г3-123 ЕХ3.269.113ТУ Вольтметр универсальный цифровой В7-35 гб2.728.008ТУ Источник питания постоянного тока Б5-71/4 (0,2 - 75) В, до 4 А Мост питания ГОСТ 7153-85, чертеж 11 Магазин сопротивлений Р33 (0,1 - 99999,9) Ом; класс точности 0,2/6 •IO-6 |
7.3.6 |
Вольтметр универсальный цифровой В7-35 гб2.728.008ТУ Источник питания постоянного тока Б5-71/4 (0,2 - 75) В, до 4 А Мост питания ГОСТ 7153-85, чертеж 11 |
7.3.7 |
Генератор сигналов низкочастотный Г3-123 ЕХ3.269.113ТУ Вольтметр универсальный цифровой В7-35 гб2.728.008ТУ |
7.3.8 |
Генератор сигналов низкочастотный Г3-123 ЕХ3.269.113ТУ Вольтметр универсальный цифровой В7-35 гб2.728.008ТУ Секундомер электронный с таймерным выходом СТЦ-2М гИ2.815.052ТУ Источник питания постоянного тока Б5-71/4 (0,2 - 75) В, до 4 А Мост питания ГОСТ 7153-85, чертеж 11 Ключ электронный Приложение А |
П р и м е ч а н и я 1 Вместо указанных средств поверки разрешается применять другие средства, обеспечивающие измерение соответствующих параметров с требуемой точностью. 2 Средства поверки должны быть исправны, поверены и иметь свидетельства о поверке. 3 Мост питания (МП) и вспомогательные принадлежности не требуют поверки, так как не влияют на метрологические характеристики Прибора, (используется только для развязки цепей питания Прибора в процессе поверки). |
К проведению поверки допускаются лица, аттестованные в качестве поверителей радиоэлектронных средств измерений, имеющие опыт работы в среде Windows и изучившие эксплуатационную документацию Прибора и средств поверки.
4 Требования безопасности-
4.1 Корпуса средств поверки должны быть заземлены.
-
4.2 Рабочее место должно иметь соответствующее освещение.
-
4.3 При включённом питании запрещается:
-
- проводить работы по монтажу и демонтажу участвующего в поверке оборудования;
-
- проводить работы по подключению и отключению соединительных кабелей.
-
5.1 При проведении поверки должны соблюдаться следующие условия:
-
- температура окружающей среды........(25± 10) °С;
-
- относительная влажность воздуха.....от 45 % до 80 %;
-
- атмосферное давление,........................от 84 до 106,7 кПа (от 630 до 800 мм рт.ст.).
-
5.2 Питание персонального компьютера (ПК) и средств поверки:
Перед проведением поверки необходимо:
-
- проверить срок действия свидетельств о поверке средств поверки;
-
- соединить ИМ с ПК через последовательный порт RS232 или через порт USB после проведения внешнего осмотра по пункту 7.1;
-
- установить программное обеспечение Прибора;
-
- установить источник питания в ГКС (проверить наличие);
-
- подготовить к работе СИ согласно руководствам по их эксплуатации.
-
7.1.1 Внешний осмотр Прибора включает в себя осмотр ГКС и ИМ.
При проведении внешнего осмотра ГКС необходимо проверить отсутствие механических повреждений корпуса, состояние крепежного устройства и соответствие маркировки требованиям ТУ на Прибор.
При проведении внешнего осмотра ИМ необходимо проверить отсутствие механических повреждений, чистоту разъемов и соответствие маркировки требованиям ТУ на Прибор.
-
7.1.2 При обнаружении повреждений или дефектов по результатам внешнего осмотра, поверка Прибора не проводится до их устранения.
-
7.2.1 Целью опробования является проверка возможности взаимодействия между ГКС и Прибором (ИМ).
-
7.2.2 Опробование производят в следующей последовательности:
- собрать схему в соответствии с рисунком 1;

Абонентская Абонентская
линия линия
Рисунок 1
- инициализировать программное обеспечение КОМЕТА-8М, при этом на экране монитора индицируется основное окно программы, изображенное на рисунке 2;

Рисунок 2
-
- включить Прибор;
-
- убедиться, что Прибор подключен к ПК, для чего выбрать подпункт Настройки пункта Опции и нажать кнопку Автоопределение в открывшемся диалоговом окне. В случае наличия подключения на экран будет выведено соответствующее сообщение, пример которого приведен на рисунке 3;
-
- щелкнуть по пиктограмме Поверка таксофонов;
-
- присоединить ГКС к микрофону микротелефонной трубки, включить ГКС;
-
- набрать номер, к которому подключен Прибор;
-
- убедиться, что через две контрольные посылки вызова устанавливается соединение;
-
- отсоединить ГКС и положить микротелефонную трубку на телефонный аппарат.
Рисунок 3
7.3 Определение метрологических характеристик-
7.3.1 Нормируемые метрологические характеристики
-
7.3.1.1 Перечень нормируемых метрологических характеристик приведен в таблице 3.
-
Т а б л и ц а 3
-
7.3.2 Определение частоты генератора контрольного сигнала
-
7.3.3.1 Частота ГКС определяется в следующей последовательности:
-
- собрать схему в соответствии с рисунком 4;
-
- подготовить частотомер к измерению частоты по входу «А» (переключатель «А-В» установить в положение А, переключатель «ВРЕМЯ СЧЕТА mS/МНОЖ» установить в положение «103», ручку «ВРЕМЯ ИНД» установить в среднее положение);
-
- включить ГКС;
-
- снять показания частотомера;
-
- выключить ГКС.
ГКС - генератор контрольного сигнала Ч3-63 - частотомер электронно-счетный
Рисунок 4
-
7.3.3 Определение выходного уровня генератора контрольного сигнала
-
7.3.4.1 Выходной уровень ГКС определяется в следующей последовательности:
-
- собрать схему в соответствии с рисунком 5;
-
- подготовить В7-35 к измерению переменного напряжения (переключатели рода работ установить в положение «~» и «mV-V» соответственно);
-
- включить ГКС;
-
- снять показания вольтметра;
-
- выключить ГКС.
ГКС - генератор контрольного сигнала
В7-35 - вольтметр универсальный в режиме измерения переменного напряжения
Рисунок 5
-
7.3.4 Определение модуля полного входного электрического сопротивления измерительного модуля
-
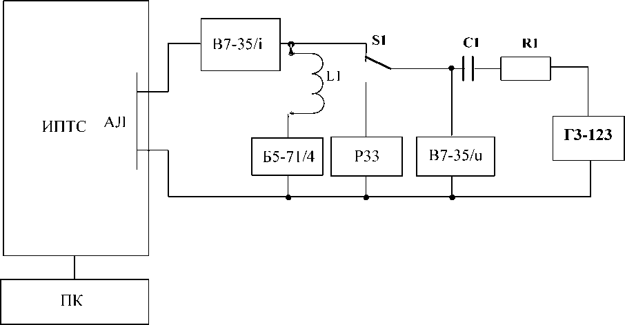
7.3.5.1 Модуль полного входного электрического сопротивления ИМ в разговорном режиме определяется методом замещения на частоте 1 кГц при силе тока 35 мА в линии в следующей последовательности:
- собрать схему в соответствии с рисунком 6;

АЛ - вход абонентской линии;
ПК - персональный компьютер;
B7-35/i - вольтметр универсальный В7-35 в режиме измерения переменного тока;
Б5-71/4 - источник питания постоянного тока;
Р33 - магазин сопротивлений;
В7-35/и - вольтметр универсальный В7-35 в режиме измерения переменного напряжения;
Г3-123 - генератор сигналов низкочастотный;
S1 - переключатель;
L1 - дроссель (10±1) Гн;
С1 - конденсатор (2±0,2) мкФ;
R1 - резистор (20±2) кОм.
Рисунок 6
- в строке меню щелкнуть по кнопке Поверка ИПТС: откроется окно Выбор параметров тестирования (рисунок 7);
Выбор параметров тестирования X
________Входные сопротивления_______| ___________Чувствительность__________| Погрешность измерения длительности |
Запротоколировать поверку| Отмена
Рисунок 7
- щелкнуть по кнопке Входные сопротивления: открывается список, из которого надо выбрать Модуль входного электрического сопротивления и далее Разговорный режим, открывается окно Измерение входных сопротивлений (рисунок 8) с кнопкой Завершить тест;
Измерение входных сопротивлений
Прибор работает в режиме измерения модуля входного электрического сопротивления в разговорном режиме.
Для окончания теста нажмите кнопку 'Завершить тест'.
Завершить тест
Рисунок 8
-
- установить переключатель S1 в положение 1, установить постоянный ток в линии 35 мА регулировкой напряжения источника питания Б5-71/4;
-
- установить органами управления генератора Г3-123 на входе АЛ напряжение 0,4 В частотой 1 кГц, установить переключатель S1 в положение 2;
-
- подобрать на магазине сопротивлений Р33 такое сопротивление, чтобы падение напряжения на нем было равно 0,4 В. Значением модуля входного электрического сопротивления является сопротивление, введенное на магазине сопротивлений Р33.
Результат измерения считается положительным, если значением модуля равно (600±60) Ом.
Щелкнуть по кнопке Завершить тест..
-
7.3.5.2 Модуль полного входного электрического сопротивления ИМ в режиме вызова определяется косвенным методом на частоте 25 Гц в следующей последовательности:
-
- собрать схему в соответствии с рисунком 9;
АЛ - абонентская линия;
ПК - персональный компьютер;
B7-35/i - вольтметр универсальный В7-35 в режиме измерения постоянного тока;
В7-35/и - вольтметр универсальный В7-35 в режиме измерения переменного напряжения;
МП - мост питания (ГОСТ 7153, чертеж 11);
Б5-71/4 - источник питания постоянного тока;
Г3-123 - генератор низкочастотный.
Рисунок 9
-
- в строке меню щёлкнуть по кнопке Поверка ИПТС: откроется окно Выбор параметров тестирования (рисунок 7);
-
- щёлкнуть по кнопке Входные сопротивления: открывается список, из которого надо последовательно выбрать Модуль входного электрического сопротивления и Режим вызова, откроется окно Измерение входных сопротивлений (рисунок 10) с кнопкой Завершить тест;
Измерение входных сопротивлений
Прибор работает в режиме измерения модуля входного электрического сопротивления в режиме вызова Для окончания теста нажмите кнопку ‘Завершить тест'.
Завершить тест
Рисунок 10
-
- установить на выходе источника питания Б5-71/4 напряжение 60 В;
-
- установить на входе АЛ органами управления генератора Г3 -123 напряжение 50 В частотой 25 Гц;
-
- снять показания миллиамперметра и вольтметра.
Модуль входного электрического сопротивления Z, кОм, вычислить по формуле

(1)
где U - напряжение на входе линии, В;
I - ток в линии, мА.
Результат измерения считается положительным, если значение модуля входного электрического сопротивления находится в диапазоне от 4 до 20 кОм.
Щёлкнуть по кнопке Завершить тест.
-
7.3.5.3 Модуль входного электрического сопротивления ИМ в режиме ожидания вызова определяется косвенным методом на частоте 1 кГц в следующей последовательности:
-
- собрать схему в соответствии с рисунком 9;
-
- в строке меню щёлкнуть по кнопке Поверка ИПТС: откроется окно Выбор параметров тестирования (рисунок 7);
-
- щелкнуть по кнопке Входные сопротивления - открывается список, из которого надо последовательно выбрать Модуль входного электрического сопротивления и Режим ожидания вызова - откроется окно Измерение входных сопротивлений с кнопкой Завершить тест;
-
- установить на выходе источника питания Б5-71/4 напряжение 60 В;
-
- установить на входе АЛ органами управления генератора Г3 -123 напряжение 1,5 В частотой 1 кГц;
-
- снять показания миллиамперметра и вольтметра.
Модуль входного электрического сопротивления Z, кОм, вычислить по формуле (1).
Результат измерения считается положительным, если значение модуля входного электрического сопротивления не менее 10 кОм.
Щёлкнуть по кнопке Завершить тест.
-
7.3.5 Определение электрического сопротивления измерительного модуля постоянному току в разговорном режиме
Электрическое сопротивление постоянному току в разговорном режиме определяется косвенным методом при постоянном токе 35 мА в линии в следующей последовательности:
- собрать схему в соответствии с рисунком 11;

АЛ - абонентская линия;
ПК - персональный компьютер;
B7-35/i - вольтметр универсальный В7-35 в режиме измерения постоянного тока;
В7-35/и - вольтметр универсальный В7-35 в режиме измерения постоянного напряжения;
МП - мост питания (ГОСТ 7153, чертеж 11);
Б5-71/4 - источник питания постоянного тока.
Рисунок 11
-
- в строке меню щёлкнуть по кнопке Поверка ИПТС: откроется окно Выбор параметров тестирования (рисунок 7);
-
- щёлкнуть по кнопке Входные сопротивления: открывается список, из которого надо выбрать Электрическое сопротивление постоянному току, откроется окно Измерение входных сопротивлений (рисунок 12) с кнопкой Завершить тест;
Измерение входных сопротивлений
Прибор работает в режиме измерения электрического сопротивления постоянному току. Для окончания теста нажмите кнопку 'Завершить тест'.
Завершить тест
Рисунок 12
- установить постоянный ток в линии 35 мА регулировкой напряжения источника питания Б5-71/4;
-
- снять показания миллиамперметра и вольтметра;
-
- вычислить сопротивление постоянному току R, Ом, по формуле
R = 1000U (2)
,
где U - напряжение на входе линии, В;
I - ток в линии, мА.
Результат измерения считается положительным, если значение входного электрического сопротивления равно (320±30) Ом.
Щёлкнуть по кнопке Завершить тест.
-
7.3.6 Определение чувствительности
Чувствительность приемника ИМ на частоте 1000 Гц определяется методом непосредственной оценки по устойчивому переходу напряжения низкого логического уровня (логический ноль) на графике в окне Чувствительность в напряжение высокого логического уровня (логическая единица) в следующей последовательности:
-
- собрать схему в соответствии с рисунком 13;
АЛ - вход абонентской линии ИМ;
В7-35 - универсальный цифровой вольтметр;
Г3-123 - генератор низкочастотный.
Рисунок 13
-
- в строке меню щёлкнуть по кнопке Поверка прибора: откроется окно Выбор параметров тестирования (рисунок 7);
-
- щёлкнуть по кнопке Чувствительность: открывается окно Проверка чувствительности (рисунок 14), в котором отображается график логического состояния («0» - сигнал на выходе приёмника отсутствует, «1» - сигнал на выходе приёмника имеется);
Рисунок 14
-
- установить на генераторе частоту 1000 Гц, ручку «РЕГУЛИРОВКА ВЫХ.» повернуть в крайнее левое положение;
-
- убедиться, что на графике в окне Проверка чувствительности установился низкий логический уровень;
-
- плавно увеличивать напряжение на выходе генератора до тех пор, пока на графике в окне Чувствительность не станет стабильным высокий логический уровень. Напряжение на выходе генератора, измеренное вольтметром В7-35, определяет чувствительность приёмника;
-
- ручку «РЕГУЛИРОВКА ВЫХ.» повернуть в крайнее левое положение.
Чувствительность приёмника ИМ определяется как среднее значение из трёх измерений.
Результат измерения считается положительным, если чувствительность равна (25±5) мВ.
-
7.3.7 Определение погрешности измерения длительности телефонного соединения
-
7.3.8.1 Определение погрешности измерения длительности телефонного соединения проводится в следующей последовательности:
-
- собрать схему в соответствии с рисунком 15;
В7’35
ЛИГ
ИПТС
С1Ц-2М
Б5-71/4
ГЗ 123
АЛ - вход абонентской линии;
В7-35 - вольтметр универсальный;
Г3-123 - генератор низкочастотный;
МП - мост питания (ГОСТ 7153-85, чертеж 11);
Б5-71/4 - источник питания;
КЭ - ключ электронный,
СТЦ-2М - секундомер электронный с таймерным выходом
Рисунок 15
-
- в строке меню щелкнуть по кнопке Поверка прибора: откроется окно Выбор параметров тестирования (рисунок 7);
-
- щелкнуть по кнопке Погрешность измерения продолжительности: открывается окно selftest - Режим тестирования длительности (рисунок 16), в котором отображается таблица «Режим тестирования длительности»;
Рисунок 16
-
- установить постоянный ток в линии 35 мА регулировкой напряжения источника питания Б5-71/4;
-
- установить на выходе генератора Г3-123 напряжение 150 мВ частотой 1000 Гц;
-
- установить на СТЦ-2М время отработки интервала времени 1 с и выдать команду «Сброс»;
-
- снять с таблицы, размещенной в окне Погрешность измерения длительности, результаты измерений;
-
- вычислить абсолютную погрешность измерения длительности телефонного соединения Д, с, по формуле:
Д= Тпр - Тстц, (3)
где Тпр - результат измерений Прибора, с;
Тстц - установленное на СТЦ-2М время отработки интервала времени, с.
Результат измерения считается положительным, если абсолютная погрешность измерения длительности телефонного соединения находится в пределах ±0,25 с, что соответствует требованиям ТУ на Прибор.
-
7.3.8.2 Повторить подпункт 7.3.8.1, установив на СТЦ-2М время отработки интервала времени 600 с.
-
7.3.8.3 При поверке операции по пп. 7.3.5 - 7.3.8 выполняются для всех измерительных каналов (число измерительных каналов определяется договором поставки и отражается в паспорте).
-
8.1 Если Прибор по результатам поверки признан пригодным к применению, то на него выдается «Свидетельство о поверке» установленной формы в соответствии с документом «Порядок проведения поверки средств измерений, требования к знаку поверки и содержанию свидетельства о поверке», утвержденном приказом Минпромторга России от 02 июля 2015 г. № 1815.
-
8.2 Если Прибор по результатам поверки признан непригодным к применению, то «Свидетельство о поверке» аннулируется, выписывается «Извещение о непригодности» установленной формы в соответствии с документом «Порядок проведения поверки средств измерений, требования к знаку поверки и содержанию свидетельства о поверке», утвержденном приказом Минпромторга России от 02 июля 2015 г. № 1815 и его эксплуатация запрещается.
-
8.3 В качестве приложения составляется протокол поверки в произвольной форме с результатами поверки.
(справочное)
Схема электронного ключа
Выход ГЗ-123
+ |
1,5 кОм |
2 |
D1 |
4 | ||
Выход СТЦ-2М Х1 (6 - 7) |
1 |
6 |
_____________________________1 |
T1
д
D1 - К293КП1В (5П14)
Т1 - трансформатор 4а4.739.024
Лист регистрации изменений
Изм. |
Номера листов (страниц) |
Всего листов (страниц) в документе |
Номер документа |
Входящий номер сопроводительног о документа и дата |
Подпись |
Дата | |||
измененных |
замененных |
новых |
аннулированных | ||||||