Руководство по эксплуатации «Теплосчётчик-регистратор Взлёт ТСР-М исполнение ТСР-027» (В76.00-00.00-27 РЭ)


ВЗЛЕТ ТСР-М
ИСПОЛНЕНИЕ
ТСР-027
РУКОВОДСТВО ПО ЭКСПЛУАТАЦИИ
В76.00-00.00-27 РЭ

Россия, Санкт-Петербург
Система менеджмента качества ЗАО «ВЗЛЕТ» соответствует требованиям ГОСТ Р ИСО 9001-2008 (сертификат соответствия № РОСС RU^C09.K00816) и международному стандарту ISO 9001:2008 (сертификат соответствия № RU-00816)
И
©
9


❖ ❖ ❖
ЗАО «ВЗЛЕТ»
ул. Мастерская, 9, г. Санкт-Петербург, РОССИЯ, 190121 факс (812) 714-71-38 E-mail: mail@vzljot.ru www.vzljot.ru
Call-центр я 8-800-333-888-7
бесплатный звонок оператору
для соединения со специалистом по интересующему вопросу
СОДЕРЖАНИЕПРИЛОЖЕНИЕ А. Вид составных частей теплосчетчика
ПРИЛОЖЕНИЕ Б. Разрядность индикации измеряемых параметров
ПРИЛОЖЕНИЕ В. Слово состояния расчетного канала, теплосистемы
ПРИЛОЖЕНИЕ Г. Пример программной настройки теплосчетчика
ПРИЛОЖЕНИЕ Д. Приложения к методике поверки
ПРИЛОЖЕНИЕ Е. Схемы обеспечения взрывозащиты
ПРИЛОЖЕНИЕ Ж. Источники вторичного питания
Настоящий документ распространяется на теплосчетчик-регистратор «ВЗЛЕТ ТСР-М» модификации ТСР-02 исполнения ТСР-027 и предназначен для ознакомления пользователя с устройством теплосчетчика и порядком его эксплуатации.
В связи с постоянной работой по усовершенствованию прибора в теплосчетчике (ТСч) возможны отличия от настоящего руководства, не влияющие на метрологические характеристики и функциональные возможности прибора.
ПЕРЕЧЕНЬ ПРИНЯТЫХ СОКРАЩЕНИЙ
Dy - диаметр условного прохода;
ЖКИ - жидкокристаллический индикатор;
НС - нештатная ситуация;
НСХ - номинальная статическая характеристика преобразования;
ПД - преобразователь давления;
ПК - персональный компьютер;
ПР - преобразователь расхода;
ПТ - преобразователь температуры;
РЭ - руководство по эксплуатации;
ТВ - тепловычислитель;
ТСч - теплосчетчик;
УЗР - ультразвуковой расходомер;
ЭД - эксплуатационная документация;
ЭМР - электромагнитный расходомер.
ПРИМЕЧАНИЕ. Вид наименования или обозначения, выполненного в тексте и таблицах прямым жирным шрифтом, например: Точка, соответствует его отображению на дисплее прибора.
-
• Теплосчетчик-регистратор «ВЗЛЕТ ТСР-М» зарегистрирован в Государственном реестре средств измерений РФ под № 2701113 (свидетельство об утверждении типа средств измерений Ри.0.32.006.А № 53068).
-
• Теплосчетчик-регистратор «ВЗЛЕТ ТСР-М» соответствует требованиям нормативных документов по электромагнитной совместимости и безопасности.
-
• Теплосчетчик-регистратор «ВЗЛЕТ ТСР-М» разрешен к применению на узлах учета тепловой энергии.
-
• Теплосчетчик-регистратор «ВЗЛЕТ ТСР-М» разрешен к применению на производственных объектах в соответствии с правилами промышленной безопасности.
-
• Теплосчетчик-регистратор «ВЗЛЕТ ТСР-М» сертифицирован в «Системе сертификации в электроэнергетике «ЭнСЕРТИКО».
-
• Теплосчетчик-регистратор «ВЗЛЕТ ТСР-М» соответствует требованиям системы добровольной сертификации «Газпром-серт».
Удостоверяющие документы размещены на сайте www.vzljot.ru
Теплосчетчик соответствует ГОСТ Р 51649-2000, рекомендациям МИ 2412, МИ 2573, МОЗМ R75 и другой нормативной документации, регламентирующей требования к приборам учета.
Теплосчетчик-регистратор «ВЗЛЕТ ТСР-М» при использовании взрывозащищенных каналов измерения расхода и температуры может применяться для измерения соответствующих параметров теплоносителя в трубопроводах, находящихся во взрывоопасных зонах помещений и наружных установок, согласно маркировке взрывозащиты, ГОСТ Р 51330.13-99 (МЭК 60079-14-96), глава 7.3 «Правил устройства электроустановок» и в соответствии с отраслевыми нормами и правилами безопасности.
-
1.1.2. Теплосчетчик «ВЗЛЕТ ТСР-М» исполнения ТСР-027 обеспечивает:
- измерение текущих значений расхода, температуры и давления в 6-ти независимых точках измерения (трубопроводах);
- определение текущих и средних за интервал архивирования значений параметров теплоносителя в 6-ти расчетных каналах;
- определение значений тепловой мощности и количества теплоты в 3-х теплосистемах;
- ввод при необходимости и использование в расчетах договорных значений параметров теплоносителя;
- прием по последовательному интерфейсу и использование в расчетах текущих значений температуры на источнике холодной воды;
- возможность программного конфигурирования системы измерения и алгоритмов расчета с учетом вида контролируемой теплосисте-мы и набора используемых первичных преобразователей расхода, температуры и давления;
- возможность организации теплоучета в одной теплосистеме как в отопительный, так и в межотопительный сезон с автоматическим переключением на соответствующий алгоритм расчета;
- архивирование в энергонезависимой памяти результатов измерений, а также установочных параметров;
- ведение журнала действий оператора;
- индикацию измеренных, расчетных, установочных и архивированных параметров;
- вывод результатов измерения в виде частотно-импульсного или логического сигнала;
- вывод измерительной, диагностической, установочной, архивной и другой информации через последовательный интерфейс RS-232 или RS-485, а также через интерфейс Ethernet;
- автоматический контроль и индикацию наличия неисправностей теплосчетчика и нештатных ситуаций в теплосистемах, а также определение, индикацию и запись в архивы времени наработки и простоя для каждой из теплосистем;
- установку критерия фиксации и вида реакции теплосчетчика на возможные неисправности или нештатные ситуации (НС);
- защиту архивных и установочных данных от несанкционированного доступа.
-
1.2. Технические характеристики
-
1.2.1. Основные технические характеристики теплосчетчика приведены в табл.1.
-
Таблица 1
Наименование параметра |
Значение параметра |
Прим. |
1. Количество точек измерения каждого из первичных параметров (расхода, температуры, давления) |
до 6 | |
2. Количество контролируемых теплосистем |
до 3 |
Прим.1 |
3. Диаметр условного прохода трубопровода, Dy, мм |
от 10 до 5 000 |
Прим.2 |
4. Диапазон измерения среднего объемного расхода, м3/ч |
от 0,01 до 1 000 000 |
Прим.2 |
5. Диапазон измерения температуры, °С |
от 0 до 180 |
Прим.2, 3 |
6. Диапазон измерения разности температур в подающем и обратном трубопроводах, °С |
от 1до 180 |
Прим.2 |
7. Диапазон измерения давления, МПа |
от 0 до 2,5 |
Прим.2 |
8. Напряжение питания постоянного тока, В |
24 |
см.п.1.2.5 |
9. Потребляемая мощность, ВА |
до 21,0 |
Прим.4 |
10.Средняя наработка на отказ, ч |
75 000 | |
11.Средний срок службы, лет |
12 |
ПРИМЕЧАНИЯ.
-
1. В случае организации в одной из теплосистем теплоучета с автоматическим переключением алгоритма расчета при переходе от отопительного сезона к межотопительному и обратно количество контролируемых систем не более 2-х.
-
2. Значение параметра определяется техническими характеристиками первичных преобразователей, входящих в состав теплосчетчика.
-
3. Возможно измерение и архивирование температуры от минус 50 °С (например, температуры наружного воздуха) при укомплектовании теплосчетчика соответствующим термопреобразователем сопротивления (ТПС).
-
4. С учетом мощности, потребляемой преобразователями расхода и давления, включенными в состав теплосчетчика (табл.А.1, А.2 Приложение А).
-
1.2.2. Теплосчетчик обеспечивает электропитание постоянным напряжением 24 В ± 1 % до шести датчиков давления при токе до 20 мА на датчик и до шести датчиков расхода при мощности потребления до 3 Вт на датчик.
-
1.2.3. Теплосчетчик обеспечивает хранение результатов работы в архивах:
-
- часовом - за 1500 предыдущих часов (62,5 предыдущих суток);
-
- суточном - за 366 предыдущих суток;
-
- месячном - за 48 предыдущих месяцев;
-
- журнале действий оператора - до 2000 записей.
Время сохранности архивных, а также установочных данных при отключении внешнего питания - не менее 5 лет.
-
1.2.4. Устойчивость к внешним воздействующим факторам тепловычис-лителя (ТВ) в рабочем режиме:
-
- температура окружающего воздуха - от 5 до 50 °С;
-
- относительная влажность - не более 80 % при температуре до 35 °С, без конденсации влаги;
-
- атмосферное давление от 66,0 до 106,7 кПа;
-
- вибрация в диапазоне от 10 до 55 Гц с амплитудой до 0,35 мм.
Степень защиты ТВ соответствует по ГОСТ 14254 - коду IP54. Устойчивость к внешним воздействующим факторам остальных составляющих ТСч указана в эксплуатационной документации (ЭД) на соответствующее изделие.
-
1.2.5. Электропитание тепловычислителя должно осуществляться стабилизированным напряжением постоянного тока значением из диапазона (22-29) В с уровнем пульсаций не более ± 1,0 %.
Питание от сети 220 В 50 Гц может обеспечиваться с помощью источника вторичного питания (ИВП), поставляемого по заказу (Приложение Ж).
-
1.3. Метрологические характеристики
-
1.3.1. Пределы допускаемой абсолютной погрешности теплосчетчика при измерении температуры теплоносителя At составляют:
-
At =±(0,60 + 0,004 • t),
где t - температура теплоносителя, °С.
-
1.3.2. Пределы допускаемой относительной погрешности теплосчетчика при измерении объема (массы), среднего объемного (массового) расхода теплоносителя составляют ±2,0 %.
-
1.3.3. Пределы допускаемой приведенной погрешности теплосчетчика при измерении давления составляют ±2,0 %.
Диапазоны давления, в которых обеспечивается указанная погрешность теплосчетчика при типовой комплектации преобразователями давления с классом точности 0,5:
-
- от 0,88 до 2,5 МПа - для преобразователей давления с верхним пределом измерения 2,5 МПа;
-
- от 0,56 до 1,6 МПа - для преобразователей давления с верхним пределом измерения 1,6 МПа;
-
- от 0,35 до 1,0 МПа - для преобразователей давления с верхним пределом измерения 1,0 МПа.
-
1.3.4. Пределы допускаемой относительной погрешности теплосчетчика при измерении тепловой энергии в водяных системах теплоснабжения соответствуют классу С по ГОСТ Р 51649-2000, в диапазоне разности температур составляют:
от 1 до 10 °С от 10 до 20 °С более 20 °С
не более ±6,0 %; не более ±5,0 %; не более ±4,0 %.
-
1.3.5. Пределы допускаемой относительной погрешности теплосчетчика при измерении времени работы в различных режимах составляют ±0,01 %.
Состав ТСч при поставке - в соответствии с табл.2.
Таблица 2
Наименование и условные обозначения |
Кол-во |
Примечание |
1. Тепловычислитель «ВЗЛЕТ ТСРВ» |
1 | |
2. Преобразователь расхода |
1 ... 6 |
Примечание 1 |
3. Преобразователь температуры |
2 ... 6 |
Примечание 2 |
4. Преобразователь давления |
0 ... 6 |
Примечание 3 |
5. Источник вторичного питания =24В |
1 | |
6. Комплект монтажный |
1 |
Примечание 4 |
7. Паспорт |
1 | |
8. Комплект эксплуатационной документации в составе:
|
1 |
Примечание 5 |
9. Дополнительное оборудование:
|
По заказу |
ПРИМЕЧАНИЯ.
-
1. Тип и количество преобразователей расхода - в соответствии с заказом. Типовая поставка - электромагнитные расходомеры «ВЗЛЕТ ЭР» исполнения ЭРСВ-420Л требуемого типоразмера.
-
2. Тип и количество преобразователей температуры - в соответствии с заказом.
При использовании взрывозащищенных каналов измерения температуры каждый термопреобразователь комплектуется барьером искрозащиты.
-
3. Тип и количество преобразователей давления - в соответствии с заказом. Типовая поставка - преобразователи избыточного давления типа СДВ-И-А ЗАО НПК «ВИП» с токовым выходом 4-20 мА.
-
4. Состав - в соответствии с заказом. В комплект могут входить:
-
- кабели связи тепловычислителя с преобразователями расхода (ПР), преобразователями давления (ПД) и/или преобразователями температуры (ПТ); длина кабелей по заказу из типоряда: 6, 12, 20, 30, 40, 70, 100, 150, 200 м;
-
- присоединительная и установочная арматура для монтажа составных частей ТСч на объекте.
-
5. Эксплуатационная документация и карты заказа на данное изделие и другую продукцию, выпускаемую фирмой «ВЗЛЕТ», размещены на сайте по адресу www.vzljot.ru.
Также на сайте фирмы «ВЗЛЕТ» размещен пакет программ «Универсальный просмотрщик», включающий в свой состав инструментальную программу «Монитор Взлет ТСРВ-02х» для работы с прибором по последовательным интерфейсам RS-232, RS-485 и интерфейсу Ethernet.
По заказу возможна поставка программного комплекса «Взлет СП», позволяющего объединять в единую сеть приборы (в том числе различного типа и разных производителей) с целью автоматизации сбора данных, создания и ведения баз данных, а также подготовки отчетов.
Теплосчетчик «ВЗЛЕТ ТСР-М» исполнения ТСР-027 , построенный на базе тепловычислителя «ВЗЛЕТ ТСРВ» исполнения ТСРВ-027, представляет собой единый многофункциональный многоканальный комплекс, который может выполнять учет и регистрацию параметров теплоносителя и количества теплоты в одной - трех теплосистемах различной конфигурации.
Принцип действия теплосчетчика основан на измерении первичных параметров теплоносителя с помощью преобразователей расхода, температуры, давления и обработке результатов измерений в соответствии с выбранным алгоритмом. Каналы измерения расхода, температуры и давления теплосчетчика состоят из первичного измерительного преобразователя, линии связи и канала измерения тепловычислителя соответствующего параметра.
Структурная схема теплосчетчика приведена на рис.1.
Тепловычислитель

«< «< «< -< ■< ■<
■< -< -<
< ■< <<
■<
<< ■<
«< «<
«<
ПР1 |
ПР6 |
! ПТ1 I
ГПТ6~1
1 ПД6 I
=24В
Источник вторичного питания
~220 В 50 Гц
◄--------
Дискретный выход
▼ ▼ ▼
RS-232 RS-485 Ethernet
ПР, ПТ, ПД - преобразователи расхода, температуры, давления.
Рис.1. Структурная схема теплосчетчика.
В качестве ПР в составе теплосчетчика могут использоваться электромагнитные, ультразвуковые, вихревые, тахометрические или основанные на иных физических принципах преобразователи расхода или расходомеры, имеющие частотно-импульсный выход.
В качестве ПТ могут использоваться термопреобразователи сопротивления с различными значениями номинальной статической характеристики (НСХ), подключаемые к тепловычислителю по 4-проводной схеме. Для каналов измерения температуры, входящих в одну теплосистему, должен использоваться комплект преобразователей температуры, имеющий нормируемую погрешность измерения разности температур.
В качестве ПД могут использоваться преобразователи давления различного типа, обеспечивающие преобразование избыточного давления теплоносителя в контролируемом трубопроводе в унифицированный токовый выходной сигнал. Возможно вместо измеренного значения использовать индивидуальное договорное значение давления для каждого трубопровода.
Питание входящих датчиков давления в пределах характеристик, указанных в настоящем руководстве по эксплуатации (РЭ), может осуществляться от тепловычислителя.
Внешние связи теплосчетчика осуществляются через интерфейс RS-232 (или RS-485), Ethernet и дискретный выход.
Управление теплосчетчиком и индикация параметров осуществляются с помощью клавиатуры и жидкокристаллического индикатора (ЖКИ), расположенных на передней панели ТВ. Разрядность индикации измеряемых параметров приведена в Приложении Б.
Отличительными особенностями построения теплосчетчика «ВЗЛЕТ ТСР-М» исполнения ТСР-027 являются:
- иерархическая организация выполнения измерений и вычислений;
- возможность гибкого программного изменения конфигурации измерительной системы;
- возможность программирования алгоритма расчета параметров в контролируемых теплосистемах;
- возможность программного задания условий фиксации нештатных ситуаций и реакций ТСч на их появление для каждой из теплосис-тем.
Структура основных измерений и расчетов, выполняемых в теплосчетчике, приведена на рис.2.

гДе Н - перепад по высоте межДу местом отбора Давления и местом размещения ПД;
Qm n дог, tn дог, Рп дог — Договорные значения параметров;
txe — температура холодной воДы, измеряемая на источнике.
Рис.2. Структура основных измерений и расчетов в ТСч.
Определения используемых понятий.
«Точка измерения» - место (трубопровод) размещения преобразователей первичных параметров: расхода объемного, температуры и давления. ТСч имеет возможность обеспечивать работу по 6-ти точкам измерения для каждого вида параметра.
В теплосчетчике точка измерения характеризуется набором и характеристиками используемых датчиков. Порядковый номер «точки» (k = 1...6) служит индексом для обозначения параметра.
«Канал расчетный» - это совокупность данных о параметрах теплоносителя в отдельной ветви теплосистемы, рассчитанных на основании измеренных или договорных значений первичных параметров и используемых в расчете результирующих параметров те-плосистемы. ТСч имеет 7 «каналов», где 6 «каналов» (n = 1.6) определены максимально возможным количеством точек измерения, а в 7-ом «канале» (n = 0) могут быть заданы договорные параметры источника холодной воды.
Кроме того, в ТВ имеется возможность приема по последовательному интерфейсу и использование в расчетах текущего значения температуры, измеряемой на источнике холодной воды.
Под «Теплосистемой» подразумевается система расчета тепла для контролируемой теплосистемы, содержащей в общем случае подающий (подводящий) и обратный (отводящий) трубопроводы. В качестве исходных данных для расчета параметров в тепло-системе используются расчетные данные «каналов». ТСч обеспечивает расчет параметров в 1.3 теплосистемах, каждая из которых может быть произвольно поставлена в соответствие одной из 3-х контролируемых теплосистем.
Возможна организация теплоучета в одной контролируемой теплосистеме с автоматическим переключением алгоритмов расчета в отопительный / межотопительный сезон. Для такой организации теплоучета совместно используются расчетные Теплосис-тема 1 и Теплосистема 2. При этом расчетная Теплосистема 3 может быть использована для теплоучета во второй контролируемой теплосистеме.
Примечание. При отсутствии прямого измерения температуры холодной воды на источнике значение тепловой энергии в открытой теплосистеме, определенное теплосчетчиком с использованием энтальпии холодной подпиточной воды, может быть скорректировано в соответствии с утвержденной установленным образом методикой, в том числе, в соответствии с ГОСТ Р 8.5922002.
«Итоговые данные» - суммарное количество теплоты потребленное (отпущенное) в нескольких теплосистемах.
Алгоритмы расчета количества теплоты задаются в ТСч в зависимости от конфигурации теплосистем(ы). При этом выбор количества и состава измеряемых и договорных параметров, необходимых для расчета, выполняется в соответствии с измерительной схемой, т.е. в соответствии с распределением точек измерения по трубопроводам контролируемой теплосистемы.
Алгоритм расчета количества теплоты для теплосистемы задается в общем случае с помощью трех формул:
- формулы расчета количества теплоты в подающем трубопроводе W1;
- формулы расчета количества теплоты в обратном трубопроводе W2;
- формулы расчета потребленного (отпущенного) количества теплоты W3.
Формулы расчета W1 и W2 могут быть выбраны из следующего набора, заложенного в памяти ТВ:
W1(2) = 0;
W1(2) = mi • hj;
W1(2) = mi • hj - mk • hn;
W1(2) = mi • (hj - hk);
W1(2) = (mi - mj) • hk;
W1(2) = (mi - mj) • (hk - hn),
где i, j, k, n = 0,1,...,6.
Формула расчета W3 может быть выбрана из следующего набора:
W3 = W1 -W2;
W3 = W1+W2.
Комбинируя вышеприведенные формулы, можно установить в ТСч алгоритм расчета, соответствующий структуре контролируемой теплосистеме.
Суммарное потребленное (отпущенное) количество теплоты для нескольких теплосистем ZW может быть рассчитано в соответствии с формулой из следующего набора:
ZW = W31 - W32 - W33;
ZW = W31 - W32 + W33;
ZW = W31 + W32 - W33;
ZW = W32 - W33;
ZW = W31 - W33;
ZW = W31 - W32;
ZW = W31 + W32 + W33;
ZW = W31 + W32;
ZW = W31 + W33;
ZW = W32 + W33;
где W31, W32, W33 - потребленное (отпущенное) количество теплоты в первой, второй и третьей теплосистеме соответственно.
Кроме того, в теплосчетчике для каждой теплосистемы предусмотрена возможность задавать до 4-х условий фиксации наличия нештатных ситуаций и соответственно реакций на их наличие.
ТСч обеспечивает хранение результатов измерений во внутренних архивах. Данные архивов могут быть выведены на дисплей либо переданы по последовательному интерфейсу на внешнее устройство.
Порядок ввода условий фиксации нештатных ситуаций и реакций на них, а также состав и порядок архивирования информации приведены в руководстве по эксплуатации на тепловычислитель исполнения ТСРВ-027 .
Пример использования ТСч при обслуживании трех теплосис-тем приведен в Приложении Г.
-
-
1.5.3.1. Управление работой ТСч в различных режимах может осуществляться с клавиатуры и организовано с помощью системы меню и окон индикации разного уровня, отображаемых на дисплее. Система управления и индикации, а также порядок установки режима управления приведены в РЭ на тепловычислитель исполнения ТСРВ-027 .
-
Для управления работой ТСч возможно также использование персонального компьютера, подключаемого по интерфейсам RS232 (RS-485), Ethernet.
-
1.5.3.2. Теплосчетчик имеет три режима управления:
-
- РАБОТА - эксплуатационный режим (режим пользователя);
-
- СЕРВИС - режим подготовки к эксплуатации;
-
- НАСТРОЙКА - режим юстировки и поверки.
Режимы отличаются уровнем доступа к информации (индицируемой на дисплее и/или передаваемой по интерфейсам RS-232 / RS-485, Ethernet) и возможностями по изменению установочных параметров теплосчетчика.
Наибольшими возможностями обладает режим НАСТРОЙКА. В этом режиме индицируются все параметры и возможна модификация всех установочных параметров. Наименьшими возможностями обладает режим РАБОТА.
-
1.5.3.3. Режим РАБОТА - это режим эксплуатации ТСч на объекте.
В режиме РАБОТА пользователь имеет возможность просматривать:
а) измеряемые значения параметров: расхода объемного и массового, температуры, давления, массы, количества теплоты, тепловой мощности, частоты сигнала на импульсном входе;
б) конфигурационные параметры: наборы и характеристики датчиков для всех «точек» измерения; индексы температуры и давления (номера «точек» измерения), назначенных для определения энтальпии и плотности во всех расчетных «каналах»; алгоритмы расчета; критерии и виды реакций на нештатные ситуации во всех те-плосистемах;
в) содержимое архивов (часового и суточного) и журнала действий оператора;
г) параметры функционирования ТСч:
- показания часов реального времени;
- параметры связи по интерфейсам RS-232 (RS-485), Ethernet;
- значения времени наработки и простоя;
- наличие отказов датчиков в «точках», слов состояния «каналов» и теплосистем;
д) информацию о приборе:
- текущий режим управления;
- версии резидентного программного обеспечения для измерителя и вычислителя.
В режиме РАБОТА пользователь имеет возможность производить подстройку приборных часов, устанавливать сетевой адрес ТСч и скорость работы по интерфейсу RS-232 (RS-485), сетевые адреса для работы по интерфейсу Ethernet, а также изменять единицы измерения для отображения значений объемного расхода, количества теплоты и тепловой мощности.
-
1.5.З.4. Режим СЕРВИС - это режим ввода функциональных параметров теплосчетчика в соответствии с видом контролируемых теплосис-тем.
В режиме СЕРВИС дополнительно (по отношению к режиму РАБОТА) возможно:
а) просматривать содержимое месячного архива, значения энтальпии и плотности;
б) просматривать и изменять:
-
- набор используемых в «точках» измерения датчиков и их характеристики (значения номинальной статической характеристики преобразования ПТ, диапазон токового выхода и максимальное рабочее давление ПД, коэффициент преобразования частотноимпульсного входа для ПР);
-
- установленное значение перепада по высоте между точкой отбора давления и местом размещения преобразователя давления;
-
- индексы температуры и давления для определения энтальпии и плотности, договорные значения массового расхода, температуры и давления;
-
- алгоритмы расчета тепла, условия (критерии оценки) и виды реакций на нештатные ситуации;
-
- масштаб единиц измерения тепловой мощности, количества теплоты и массы (при масштабе 1:1 используются единицы измерения МВт, ГДж/ч или Гкал/ч, ГДж или Гкал, т соответственно; при масштабе 1:1000 - единицы измерения ГВт, ТДж/ч или Ткал/ч, ТДж или Ткал, кт соответственно);
-
- показания часов реального времени.
-
1.5.3.5. В режиме НАСТРОЙКА возможно просматривать все параметры без исключения.
В режиме НАСТРОЙКА дополнительно к режимам РАБОТА и СЕРВИС может производиться:
-
- поверка тепловычислителя, при которой юстируются каналы измерения температуры и давления путем введения в ТВ соответствующих поправок;
-
- очистка архивов и журнала действий оператора, а также обнуление интегральных значений массы теплоносителя и количества теплоты;
-
- ввод заводского номера прибора.
ПРИМЕЧАНИЕ. Времена наработки, простоя и нештатных ситуаций обнуляются при очистке архива.
-
1.5.3.6. Режим управления теплосчетчика задается комбинацией наличия / отсутствия замыкающих перемычек на контактных парах разрешения модификации калибровочных и функциональных параметров.
Порядок установки режимов управления указан в руководстве по эксплуатации на тепловычислитель «ВЗЛЕТ ТСРВ» исполнения ТСРВ-027.
-
1.5.4. Обеспечение взрывозащиты
-
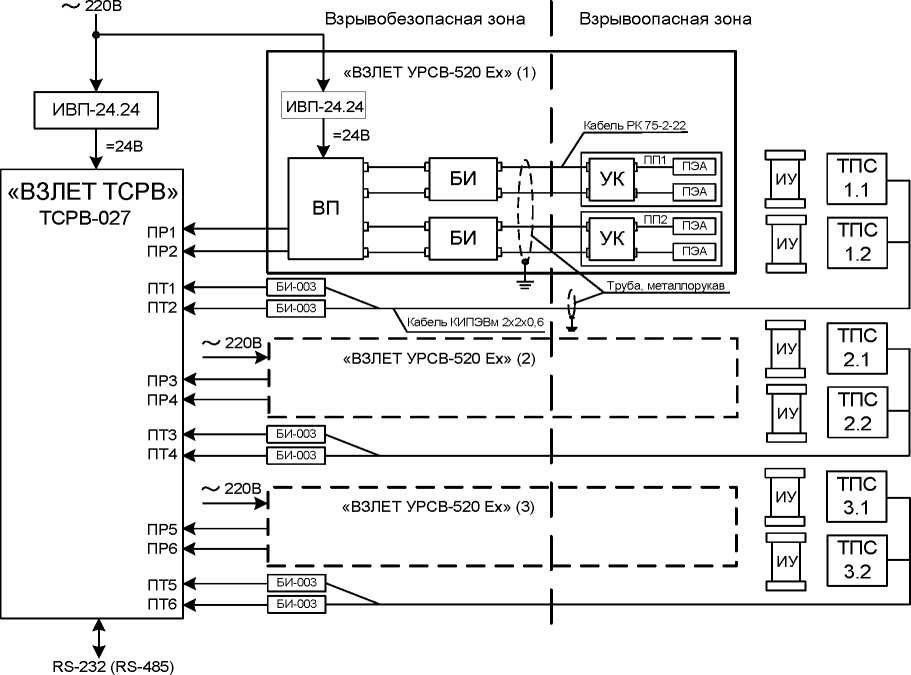
1.5.4.1. Взрывозащита в теплосчетчике «ВЗЛЕТ ТСР-М» исполнения ТСР-027 (см. Приложение Е) по каналам измерения расхода обеспечивается применением взрывозащищенных расходомеров-счетчиков ультразвуковых «ВЗЛЕТ МР», имеющих Разрешение на применение Федеральной службы по экологическому, технологическому и атомному надзору №РРС 00-15455 от 11.03.2005 г.
-
Маркировка взрывозащиты:
-
- блок искрозащитный (БИ) - «[Exia]IIB»;
-
- преобразователи электроакустические (ПЭА) - «OExiaIIBT6 X».
-
1.5.4.2. Взрывозащита по каналам измерения температуры в цепи термопреобразователей сопротивления «ВЗЛЕТ ТПС» общего применения с НСХ 100П (Pt100) или по заказу 500П (Pt500), удовлетворяющих требованиям п.7.3.72 «Правил устройства электроустановок», обеспечивается применением барьеров искробезопасности БИ-003 (ООО «НПК Ленпромавтоматика»), имеющих Разрешение на применение Федеральной службы по экологическому, технологическому и атомному надзору №РРС 00-20982 от 30.05.2006 г.
Маркировка взрывозащиты барьеров БИ-003: [Exib]IIC.
-
1.5.4.3. Суммарные значения емкости и индуктивности линий связи, определяемые типом кабеля и его длиной, не превышают значений, допускаемых барьерами искрозащиты:
- линий связи по расходу: С0 не более 0,1 мкФ; L0 не более 0,5 мГн;
- линий связи по температуре: С0 не более 1,0 мкФ; L0 не более 1,0 мГн.
-
-
-
1.6.1.1. Технические характеристики и описание работы тепловычислите-ля, а также порядок управления им приведены в документе «Теп-ловычислитель «ВЗЛЕТ ТСРВ». Исполнения ТСРВ-027 . Руководство по эксплуатации». Часть I В84-00-00.00-27 РЭ и часть II В84-00-00.00-27 РЭ1. Тепловычислитель «ВЗЛЕТ ТСРВ» исполнения ТСРВ-027 представляет собой микропроцессорный измерительновычислительный блок модульной конструкции с жидкокристаллическим графическим индикатором и кнопочной панелью управления.
-
-
Тепловычислитель выполняет:
- преобразование и обработку сигналов, полученных от первичных преобразователей (ПР, ПТ и ПД);
- вторичную обработку измеренных значений параметров и вычисление тепловых параметров по установленным формулам расчета;
- архивирование и хранение в энергонезависимой памяти результатов измерений, вычислений и установочных параметров;
- вывод измерительной, архивной, диагностической и установочной информации на дисплей ЖКИ и через интерфейс RS-232 (RS-485), Ethernet;
- управление дискретным выходом;
- автоматический контроль и индикацию наличия неисправностей в ТСч и нештатных ситуаций (нештатных режимов работы теплосис-тем).
ЖКИ обеспечивает вывод четырех строк алфавитно-цифровой информации при 20 символах в строке. Период обновления текущей информации на ЖКИ составляет 2 с. Разрядность индикации параметров на дисплее теплосчетчика приведена в табл. Б.1.
-
1.6.1.2. Интерфейсы прибора
Последовательные интерфейсы RS-232, RS-485 и интерфейс Ethernet обеспечивают возможность доступа к измерительным, расчетным и установочным параметрам, включая архивы. При этом возможна модификация установочных параметров, а также ввод с целью использования в расчетах текущего значения температуры на источнике холодной воды. Последовательные интерфейсы поддерживают протокол MODBUS, принятый в качестве стандартного в приборах фирмы «ВЗЛЕТ».
Последовательный интерфейс RS-232 может использоваться для:
а) распечатки архивных и текущих значений измеряемых параметров на принтере через персональный компьютер (ПК) или адаптер принтера «ВЗЛЕТ АП»;
б) считывания архивов с помощью архивного считывателя «ВЗЛЕТ АС» АСДВ-020;
в) непосредственной связи с ПК:
- по кабелю при длине линии связи до 12 м;
- по телефонной линии с помощью модема или радиолинии с помощью радиомодема;
- по линии цифровой связи стандарта GSM 900/1800 МГц с помощью адаптера сотовой связи «ВЗЛЕТ АС» АССВ-030.
Дальность связи по телефонной линии, радиоканалу и сотовой связи определяется характеристиками телефонной линии, радиоканала и канала сотовой связи соответственно.
Последовательный интерфейс RS-485 обеспечивает связь по кабелю в группе из нескольких абонентов, одним из которых может быть ПК, при длине линии связи до 1200 м. При наличии в группе приборов разных производителей для взаимного согласования протоколов обмена может использоваться адаптер сетевых протоколов «ВЗЛЕТ АС» АСПВ-010.
Подключение адаптера сотовой связи АССВ-030 к интерфейсу одиночного прибора или к линии связи группы приборов дает возможность передавать информацию по каналу сотовой связи, в том числе и в Интернет.
Используя канал сотовой связи можно на базе программного комплекса «ВЗЛЕТ СП» организовывать диспетчерскую сеть для многих одиночных и групп приборов как однотипных, так и разнотипных по назначению.
Скорость обмена по интерфейсам RS-232 и RS-485 от 2400 до 19200 Бод устанавливается в приборе.
ВНИМАНИЕ! Не допускается одновременное подключение и использование интерфейсов RS-232 и RS-485.
Интерфейс Ethernet может использоваться для обмена данными через Интернет между приборами локальной сети и удаленным компьютером (компьютерами). Обмен осуществляется через шлюз локальной сети, имеющий собственный (глобальный) IP-адрес. При обмене данные упаковываются в стек протоколов Ethernet / IP / UDP / TFTP / Modbus. Поддерживается также протокол ARP (Ethernet / ARP), который используется для определения МАС-адреса узла по IP-адресу запроса.
-
1.6.1.3. Дискретный выход может работать либо в частотно-импульсном, либо в логическом режиме.
В частотно-импульсном режиме частота следования импульсов пропорциональна значению выбранного параметра в диапазоне 31-3000 Гц. Скважность импульсов равна 2.
В логическом режиме сигнал на выходе изменяет свое состояние по заданным условиям.
-
1.6.1.4. Частотно-импульсные входы предназначены для подключения преобразователей расхода различных типов с частотно-импульсным выходом. Константы преобразования частотно-импульсных входов могут устанавливаться в пределах 0,01...2000 имп/л с шагом 0,01имп/л.
-
1.6.1.5. Логический вход DIR1 предназначен для приема сигнала направления потока от преобразователя расхода.
Программно логический вход может быть либо отключен, либо настроен на прием сигнала, имеющего высокий или низкий активный уровень.
Для приема сигнала направления потока вход DIR1 устанавливается в пассивный режим размыканием контактных пар J13-J18.
ВНИМАНИЕ! Если логический вход включен, то количество контролируемых систем может быть не более двух.
-
1.6.1.6. Результаты измерений и вычислений записываются во внутренние архивы: часовой, суточный и месячный, имеющие одинаковую структуру.
Глубина архивов составляет:
-
- часового - 1500 предыдущих часа (62,5 предыдущих суток);
-
- суточного - 366 предыдущих суток;
-
- месячного - 48 предыдущих месяцев.
Данные архивов могут быть либо выведены на дисплей (кроме месячного), либо переданы по последовательному интерфейсу на внешнее устройство.
-
1.6.1.7. Процесс модификации значений настроечных параметров фиксируется в журнале действий оператора, содержащем до 2000 записей.
Записи журнала действий оператора, как и значения архивируемых параметров, хранятся в энергонезависимой памяти и сохраняются даже в случае отключения электропитания прибора. Изменение и/или удаление отдельных записей журнала действий невозможно.
-
1.6.1.8. Вид тепловычислителя приведен на рис.А.1.
Корпус ТВ исполнения ТСРВ-027 выполнен из металла и состоит из основания - модуля коммутации и субблока обработки данных.
Внутри модуля коммутации установлена коммутационная плата, с помощью которой осуществляется подключение внешних устройств к тепловычислителю.
На лицевой панели субблока обработки данных находятся ЖКИ и клавиатура.
В качестве ПР в составе ТСч могут использоваться следующие изделия фирмы «ВЗЛЕТ»:
- электромагнитные расходомеры-счетчики (ЭМР) «ВЗЛЕТ ЭР»;
- ультразвуковые расходомеры-счетчики (УЗР) УРСВ «ВЗЛЕТ МР».
Описание принципа действия и технические характеристики перечисленных ПР приведены в соответствующей ЭД.
Длина линий связи УЗР - ТВ и ЭМР - ТВ может быть до 300 м. Кроме того, в качестве ПР могут использоваться следующие расходомеры с учетом метрологических характеристик и параметров импульсного выхода: ВЭПС-СР, ВЭПС-ТИ, ВСТ, ВМГ, СВЭМ, ВРТК-2000, РМ-5, ПРЭМ, ТЭМ, SONO 1500 CT, UFM 3030, МТК, MNK, MTW, КАРАТ-520, ЭМИР-ПРАМЕР 550.
Максимальная длина связи ТВ с указанными ПР определяется техническими характеристиками используемого расходомера.
В качестве ПР в одном теплосчетчике могут использоваться расходомеры различных видов и типов.
В составе теплосчетчика в качестве ПТ могут использоваться подобранные в пару термопреобразователи сопротивления платиновые:
-
- обладающие одной из номинальных статических характеристик преобразования, указанных в табл.3;
-
- имеющие требуемые метрологические характеристики;
-
- обеспечивающие подключение по 4-проводной схеме;
-
- удовлетворяющие условиям применения.
Таблица 3
Условное обозначение НСХ
Номинальное значение сопротивления термопреобразователя при 0 °С, Ro, Ом
по ГОСТ 6651-94
по ГОСТ 6651-2oo9
Термопреобразователи платиновые
1oo |
100П, Pt100 W100 = 1,3850 Pt'100 W100 = 1,3910 |
Pt100 a = 0,00385- °C 1 100П a = 0,00391- °C 1 |
5oo |
500П, Pt500 W100 = 1,3850 Pt'500 W100 = 1,3910 |
Pt500 a = 0,00385- °C 1 500П a = 0,00391- °C 1 |
1ooo |
1000П, Pt1000 W100 = 1,3850 Pt'1000 W100 = 1,3910 |
Pt1000 a = 0,00385- °C 1 1000П a = 0,00391- °C 1 |
Термопреобразователи медные | ||
5o |
50М, Cu50 W100 = 1,4260 Cu'50 W100 = 1,4280 |
50М a = 0,00428- °C 1 |
ПРИМЕЧАНИЕ. При использовании в комплекте с тепловычис-лителем термопреобразователей сопротивления медных с номинальным значением R0=50 Ом метрологические характеристики не гарантируются.
В комплекте с ТВ могут использоваться ПТ типа «ВЗЛЕТ ТПС», КТС-Б, КТСП-Н, КТПТР-01, КТПТР-05, ТМТ-7(-15), ТПТ-1(-25), Мет-ран-2000, Метран-280, ТСПУ-205, ТСП, ТС-Б-Р.
В составе теплосчетчика могут быть использованы ПД различного типа, измеряющие относительное (избыточное) давление, имеющие унифицированный токовый выход в диапазоне 0...5, 0.20 или 4.20 мА и отвечающие заданным требованиям по точности и условиям применения, в том числе: Метран-22, Метран-43, Метран-55, Метран-75, Сапфир-22МП-ВН, ПДИ-01, СДВ, 415, АИР-10, АИР-20/М2, ЭЛЕМЕР-АИР-30, ПДТВХ-1, DMP, MBS 1700, MBS 3000, MBS 33.При типовой поставке используется ПД типа СДВ-И-А ЗАО НПК «ВИП» с наибольшим давлением 1,0 или 1,6 МПа. Вид СДВ-И-А приведен в Приложении А.
Максимальная длина связи ТВ-ПД определяется техническими характеристиками используемого ПД и вида кабеля связи.
Питание ПД может осуществляться как от ТВ, так и от отдельного источника питания. Встроенный источник обеспечивает питание шести ПД типа СДВ-И-А.
-
1.7. Маркировка и пломбирование
-
1.7.1. Маркировка на лицевой панели ТВ содержит его обозначение и наименование, товарный знак предприятия-изготовителя, знак утверждения типа средства измерения. Заводской номер указан на шильдике, закрепленном на корпусе ТВ.
-
1.7.2. Составные части теплосчетчика имеют маркировку наименования (обозначения) составной части, товарный знак предприятия-изготовителя, знак утверждения типа средства измерения и заводского номера. Возможна дополнительная маркировка порядкового номера - принадлежность преобразователя соответствующему каналу измерения данного параметра.
-
Составные части теплосчетчика, имеющего взрывозащищенные каналы измерения, имеют маркировку взрывозащиты и пломбируются в соответствии с ЭД на составные части.
-
1.7.3. После поверки пломбируется колпачок, закрывающий контактную пару разрешения модификации калибровочных параметров ТВ, а также один из винтов, скрепляющий субблок обработки данных (рис.А.4). Для защиты от несанкционированного доступа при транспортировке и хранении могут пломбироваться два соединительных винта со стороны лицевой панели тепловычислителя (рис.А.1).
-
1.7.4. После монтажа и проверки функционирования теплосчетчика на объекте могут быть опломбированы:
-
- колпачок, закрывающий контактную пару разрешения модификации функциональных параметров ТВ (рис.А.4);
-
- преобразователи расхода и вентили байпасных линий, обходящих ПР;
-
- преобразователи температуры - корпус ПТ вместе с трубопроводом;
-
- преобразователи давления - вентиль, отсекающий ПД, а при необходимости крышка монтажной коробки и корпус датчика.
-
1.7.5. Для защиты от несанкционированного доступа при эксплуатации могут быть опломбированы два соединительных винта со стороны лицевой панели тепловычислителя (рис.А.1).
-
2. ИСПОЛЬЗОВАНИЕ ПО НАЗНАЧЕНИЮ
-
2.1. Эксплуатационные ограничения
-
2.1.1. Эксплуатация ТСч должна производиться в условиях воздействующих факторов, не превышающих допустимых значений, оговоренных в настоящей ЭД.
-
2.1.2. Качество теплоносителя (наличие и концентрация взвесей, посторонних жидкостей и т.п.), а также состояние трубопроводов тепло-системы не должны приводить к появлению отложений, влияющих на работоспособность и метрологические характеристики преобразователей расхода, температуры и/или давления.
-
-
ВНИМАНИЕ! Для обеспечения работоспособности ТСч с электромагнитными ПР в теплосистеме с угольным фильтром необходимо следить за исправностью угольного фильтра.
-
2.1.3. Необходимость защитного заземления определяется в соответствии с требованиями главы 1.7 «Правил устройства электроустановок» в зависимости от напряжения питания и условий размещения прибора.
Монтаж и выполнение заземления барьеров искробезопасно-сти и блоков искрозащитных должны быть выполнены в соответствии с ЭД на взрывозащищенное исполнение расходомера и на барьеры искробезопасности каналов измерения температуры.
-
2.1.4. Молниезащита объекта размещения прибора, выполненная в соответствии с «Инструкцией по устройству молниезащиты зданий, сооружений и промышленных коммуникаций» СО153-34.21.122-2003 (утвержденной Приказом Минэнерго России №280 от 30.06.2003) предохраняет прибор от выхода из строя при наличии молниевых разрядов.
-
2.1.5. Точная и надежная работа ПР обеспечивается при выполнении в месте их установки следующих условий:
- на входе и выходе ПР должны быть прямолинейные участки трубопровода с Dy, равным Dy ПР, длиной в соответствии с требованиями ЭД на данный тип ПР;
-
- отсутствие скопления воздуха в трубопроводе;
-
- давление теплоносителя в трубопроводе должно исключать газообразование;
-
- трубопровод при работе ТСч всегда должен быть заполнен жидкостью (теплоносителем);
-
- напряженность внешнего магнитного поля не должна превышать 40 А/м.
-
2.1.6. Скорость потока теплоносителя в местах установки ПТ не должна превышать 4 м/с. Для использования ПТ на более высоких скоростях потока требуется применение защитных гильз с соответствующими характеристиками.
-
2.1.7. Давление в трубопроводе не должно превышать предельное допустимое значение для используемого ПД даже кратковременно.
-
2.1.8. Требования к условиям эксплуатации и выбору места монтажа, приведенные в настоящей ЭД, учитывают наиболее типичные факторы, влияющие на работу теплосчетчика.
На объекте эксплуатации могут существовать или возникнуть в процессе его эксплуатации факторы, не поддающиеся предварительному прогнозу, оценке или проверке, и которые производитель не мог учесть при разработке.
В случае проявления подобных факторов следует найти иное место эксплуатации, где данные факторы отсутствуют или не оказывают влияния на работу изделия.
-
-
2.2.1. К работе с изделием допускается обслуживающий персонал, изучивший эксплуатационную документацию на изделие и его составные части.
-
2.2.2. При подготовке изделия к использованию должны соблюдаться «Правила технической эксплуатации электроустановок потребителей» и «Межотраслевые правила по охране труда (Правила безопасности) при эксплуатации электроустановок».
-
2.2.3. При проведении работ с ТСч опасными факторами являются:
-
- переменное напряжение с действующим значением до 264 В частотой 50 Гц;
- давление в трубопроводе до 2,5 МПа;
- температура теплоносителя (трубопровода) до 180 °С;
- иные факторы, связанные со спецификой и профилем объекта установки изделия, в том числе - возможность наличия взрывоопасной зоны.
При проведении работ следует руководствоваться правилами и нормами требований по безопасности выполнения работ на конкретном объекте.
-
2.2.4. Запрещается использовать электромагнитные ПР при давлении в трубопроводе более 2,5 МПа.
-
2.2.5. В процессе работ по монтажу, пусконаладке или ремонту теплосчетчика запрещается:
-
- производить подключения к прибору, переключения режимов или замену электрорадиоэлементов при включенном питании;
-
- производить замену составных частей теплосчетчика до полного снятия давления на участке трубопровода, где производятся работы;
-
- использовать неисправные электрорадиоприборы, электроинструменты либо без подключения их корпусов к магистрали защитного заземления (зануления).
-
2.2.6. Работы во взрывоопасных зонах необходимо вести с учетом требований главы 7.3 «Правил устройства электроустановок», главы 3.4 «Правил технической эксплуатации электроустановок потребителей», эксплуатационной документацией на взрывозащищенное исполнение расходомеров «ВЗЛЕТ МР» и барьеры искробезопас-ности термопреобразователей.
-
2.3. Подготовка к использованию
-
2.3.1. Монтаж ТСч должен проводиться в соответствии с документом «Теплосчетчик-регистратор «ВЗЛЕТ ТСР-М». Исполнение ТСР-027. Инструкция по монтажу» В76.00-00.00-27 ИМ, а также ЭД на входящие устройства. Монтаж должен проводиться специализированной организацией, имеющей право на выполнение данного вида работ, либо представителями предприятия-изготовителя.
-
2.3.2. При подготовке изделия к использованию должно быть проверено:
-
- правильность установки ПР, ПТ и ПД в соответствии с выбранным алгоритмом работы ТСч. Соответствие преобразователя номеру точки измерения данного параметра можно проверить по подключению к соответствующему элементу на коммутационной плате. Схема подключения ТСч и размещение элементов коммутации на модулях ТВ приведены в инструкции по монтажу;
- наличие при необходимости защитного заземления (зануления) ТВ;
- правильность положения вентилей, отсекающих ПР и ПД (они должны быть в положении «открыто»);
- правильность установки ПР в соответствии с направлением потока теплоносителя в трубопроводе;
- наличие и соответствие напряжения питания теплосчетчика и составных частей требуемым техническим характеристикам;
- подключение дополнительного оборудования (компьютера, модема и т.д.) в соответствии с выбранной схемой.
-
2.3.3. Теплосчетчик «ВЗЛЕТ ТСР-М» при первом включении или после длительного перерыва в работе готов к эксплуатации (при отсутствии отказов и нештатных ситуаций в системах) после:
- 30- минутного прогрева расходомеров;
- 30- минутной промывки электромагнитных ПР потоком жидкости;
- полного прекращения динамических гидравлических процессов в трубопроводе, связанных с регулированием потока теплоносителя (работы на трубопроводе со сливом теплоносителя, перекрытие потока теплоносителя и т.п.).
-
-
2.4.1. После включения прибора на дисплее индицируется информация о приборе и версии программного обеспечения, затем - информация о прохождении начального самоконтроля прибора. По завершению самоконтроля на дисплее отображается основное меню. Введенный в эксплуатацию теплосчетчик работает непрерывно в автоматическом режиме.
-
Работа пользователя с теплосчетчиком может осуществляться либо с помощью клавиатуры и дисплея, либо с помощью персонального компьютера.
-
2.4.2. Считывание текущих значений измеряемых параметров, а также содержимого архивов и журнала действий оператора может осуществляться с дисплея ТСч, а также по интерфейсам RS-232, RS-485 или Ethernet.
ВНИМАНИЕ! На дисплее ЖКИ может наблюдаться неустойчивая индикация текущего значения расхода в случае изменений расхода, связанных с пуском, остановом или регулировкой потока теплоносителя, а также при значении расхода ниже наименьшего для используемого типа ПР. Неустойчивость индикации расхода при резких изменениях или малых значениях расхода связаны с периодом обработки информации, выводимой на дисплей, и не влияет на работу счетчиков объема тепловычислителя.
-
2.4.3. Для формирования отчетов возможно использование только тех архивных данных, которые записаны по истечению календарных суток с момента последнего переключения из режима СЕРВИС в режим РАБОТА.
-
-
2.5.1. В процессе функционирования теплосчетчика производится диагностика состояния ТВ, ПР, ПТ и ПД. Факт возникновения неисправности отображается в словах состояния каналов и теплосистем (Приложение В).
-
2.5.2. При возникновении отказа датчика в меню соответствующей точки измерения рядом с обозначением параметра появится надпись Отказ датчика, а в строке Отказы датчиков высветится обозначение отказавшего датчика: Р - расхода; Т - температуры, Д -давления.
-
Одновременно в словах состояния соответствующих меню Канал и Теплосистема появятся отметки о наличии отказа.
-
2.5.3. При возникновении сбоя либо отказа в работе ТСч необходимо для проверки произвести перезапуск прибора путем кратковременного отключения питания.
-
2.5.4. При отказе одного из датчиков согласованной пары ПТ должна производиться замена обоих преобразователей согласованной пары.
-
2.5.5. При отсутствии свечения индикатора на ТВ необходимо проверить наличие напряжения питания либо заменить предохранитель номиналом 1,0 А на задней стенке модуля измерителя.
-
2.5.6. Если действия, предпринятые в соответствии с указанными выше рекомендациями, не привели к восстановлению нормальной работы изделия, следует обратиться в сервисный центр (региональное представительство) или к изготовителю изделия.
-
-
3.1. Введенный в эксплуатацию теплосчетчик рекомендуется подвергать периодическому осмотру с целью контроля:
-
- работоспособности ТСч;
- наличия напряжения питания;
- соблюдения условий эксплуатации ТСч и его составных частей (ПР, ПТ, ПД);
- нуля ПД в соответствии с его ЭД;
- надежности электрических и механических соединений;
- правильности положения задвижек, отсекающих ПД, и вентилей байпасных линий ПР;
- отсутствия повреждений составных частей ТСч.
Периодичность осмотра зависит от условий эксплуатации, но не должна быть реже одного раза в две недели.
-
3.2. Несоблюдение условий эксплуатации ТСч в соответствии с требованиями настоящего РЭ может привести к отказу прибора или превышению допустимого уровня погрешности измерений.
Внешние повреждения также могут привести к превышению допустимого уровня погрешности измерений. При появлении внешних повреждений изделия или кабеля питания, связи необходимо обратиться в сервисный центр или региональное представительство для определения возможности его дальнейшей эксплуатации.
Наличие напряжения питания ТСч определяется по наличию свечения панели дисплея. Работоспособность прибора определяется по содержанию индикации на дисплее ТВ. Возможные неисправности, индицируемые ТСч, указаны в Приложении В.
-
3.3. В ТСч в слове состояния кроме отказов фиксируются также нештатные ситуации. Под нештатной ситуацией (нештатным режимом теплосистемы) понимается ситуация, при которой обнаруживается несоответствие значений измеряемых параметров нормальному режиму функционирования теплосистемы. При этом время работы в нештатной ситуации фиксируется независимо от времени останова ТСч в данной системе для данного вида нештатной ситуации кроме случая, когда в качестве реакции на НС задано Простой системы.
-
3.4. В процессе эксплуатации ТСч не реже одного раза в год необходимо проводить профилактический осмотр внутреннего канала преобразователя расхода на наличие загрязнений и/или отложений. Допускается наличие легкого рыжеватого налета, который при проведении профилактики должен сниматься с помощью чистой мягкой ветоши, смоченной в воде.
При наличии загрязнений и отложений другого вида или их существенной толщины необходимо произвести очистку поверхности ПР и отправить прибор на внеочередную поверку.
Наличие загрязнений на поверхности, контактирующей с теплоносителем, свидетельствует о неудовлетворительном состоянии системы теплоснабжения.
-
3.5. В процессе эксплуатации необходимо следить за тем, чтобы канал передачи давления от трубопровода к ПД не засорялся и в нем не было пробок газа. С этой целью элементы канала передачи давления рекомендуется периодически продувать, а также стравливать из них воздух. Периодичность таких работ устанавливается потребителем в зависимости от условий эксплуатации.
-
3.6. При монтаже и демонтаже элементов ТСч необходимо руководствоваться документом «Теплосчетчик-регистратор «ВЗЛЕТ ТСР-М». Исполнения ТСР-027. Инструкция по монтажу» В76.00-00.00-27 ИМ, а также ЭД на составные части.
-
3.7. Отправка прибора для проведения поверки либо ремонта должна производиться с паспортом прибора. В сопроводительных документах необходимо указывать почтовые реквизиты, телефон и факс отправителя, а также способ и адрес обратной доставки. При отправке изготовителю на ремонт составной части, входящей в комплект ТСч, необходимо указывать заводской номер теплосчетчика.
-
4. УПАКОВКА, ХРАНЕНИЕ И ТРАНСПОРТИРОВАНИЕ
-
4.1. Теплосчетчик упаковывается в индивидуальную тару категории КУ-2 по ГОСТ 23170 (ящик из гофрированного картона).
-
Присоединительная арматура поставляется в отдельной таре россыпью или в сборе на один или несколько комплектов ТСч.
-
4.2. ТСч должен храниться в упаковке изготовителя в сухом отапливаемом помещении в соответствии с условиями хранения 1 согласно ГОСТ 15150. В помещении для хранения не должно быть токопроводящей пыли, паров кислот, щелочей, а также газов, вызывающих коррозию и разрушающих изоляцию.
Теплосчетчик не требует специального технического обслуживания при хранении.
-
4.3. Теплосчетчик может транспортироваться автомобильным, речным, железнодорожным и авиационным транспортом (кроме негермети-зированных отсеков) при соблюдении следующих условий:
- транспортировка осуществляется в заводской таре;
- отсутствует прямое воздействие влаги;
-
- температура не выходит за пределы от минус 30 до 50 °С;
-
- влажность не превышает 95 % при температуре до 35 °С;
-
- вибрация в диапазоне от 10 до 500 Гц с амплитудой до 0,35 мм или ускорением до 49 м/с2;
-
- удары со значением пикового ускорения до 98 м/с2;
-
- уложенные в транспорте изделия закреплены во избежание падения и соударений.
-
-
5.1. Настоящая методика устанавливает методы и средства первичной и периодической поверки теплосчетчиков «ВЗЛЕТ ТСР-М».
-
Межповерочный интервал - 4 года.
ТСч проходит первичную поверку при выпуске из производства и после ремонта, периодические - при эксплуатации.
Поверка ТСч должна осуществляться поэлементно.
Каждая составная часть ТСч является средством измерения утвержденного типа и подвергается поверке в соответствии с методиками и интервалами, указанными для каждой из них в соответствующей документации.
-
5.2. Операции поверки
При проведении поверки должны быть выполнены операции, указанные в табл.4.
Таблица 4
Наименование операций |
Пункт документа по поверке |
Операции, проводимые при данном виде поверки | |
первичная |
периодическая | ||
1. Внешний осмотр |
5.7.1 |
+ |
+ |
2. Опробование |
5.7.2 |
+ |
+ |
3. Подтверждение соответствия программного обеспечения |
5.7.3 |
+ |
+ |
4. Поверка составных частей |
5.7.4 |
+ |
+ |
-
5.3. Средства поверки
-
5.3.1. При проведении поверки составных частей ТСч применяется следующее поверочное оборудование:
-
1) средства измерения и контроля:
-
- установка поверочная для поверки методом измерения объема, расхода или массы с пределами относительной погрешности не более 1/3 предела допускаемой относительной погрешности измерения поверяемого преобразователя расхода;
-
- магазин сопротивлений Р 4831, ГОСТ 23737, пределы допускаемого отклонения сопротивления ±0,022 %;
-
- термометры, ГОСТ 13646, диапазон 0-100 °С, абсолютная погрешность не более ± 0,02°С, диапазон 100-200 °С, абсолютная погрешность не более ± 0,1 °С;
-
- компактный температурный калибратор TC-180, диапазон - минус 40-180°С, относительная погрешность воспроизведения температуры ± 0,06 %;
- вольтметр В7-43 Тг2.710.026 ТО, диапазон 10 мкВ-1000 В, относительная погрешность ± 0,2 %;
-
- комплекс поверочный «ВЗЛЕТ КПИ» (КПИ) В64.00-00.00 ТУ;
-
- частотомер Ч3-64 ДЛИ 2.721.066 ТУ, диапазон 0-150 МГц, относительная погрешность ± 0,01 %;
-
- источник питания постоянного тока Б5-49, диапазон 0,001-1 А, нестабильность ± 0,005 %.
-
- калибратор давления PM110PIC, диапазон 0-2,0 МПа, относительная погрешность воспроизведения давления ± 0,05 %.
2) вспомогательные устройства:
-
- термостаты по ГОСТ 6709, заполненные водой и полиметилсилоксановой жидкостью по ГОСТ 13032, нестабильность температуры в рабочей камере не более 3-10’3 К;
-
- резисторы прецизионные (имитирующие соответствующие преобразователи);
-
- генератор импульсов Г5-88 ГВ3.264.117 ТУ, частота 1 Гц - 1 МГц;
-
- осциллограф С1-96 2.044.011 ТУ;
-
- IBM совместимый персональный компьютер (ПК).
-
5.3.2. Допускается применение другого оборудования, приборов и устройств, характеристики которых не уступают характеристикам оборудования и приборов, приведенных в п.5.3.1. При отсутствии оборудования и приборов с характеристиками, не уступающими указанным, по согласованию с органом, выполняющего поверку, допускается применение оборудования и приборов с характеристиками, достаточными для получения достоверного результата поверки.
-
5.3.3. Все средства измерения и контроля должны быть поверены и иметь действующие свидетельства или отметки о поверке.
-
5.4. Требования к квалификации поверителей
К проведению измерений при поверке и обработке результатов измерений допускаются лица, аттестованные в качестве поверителей, изучившие эксплуатационную документацию на ТСч и средства поверки, имеющие опыт поверки средств измерений расхода, объема теплоносителя и приборов учета тепла, а также прошедшие инструктаж по технике безопасности в установленном порядке.
-
5.5. Требования безопасности
-
5.5.1. При проведении поверки должны быть соблюдены требования безопасности в соответствии с «Правилами технической эксплуатации электроустановок потребителей» и «Межотраслевыми правилами по охране труда (Правила безопасности) при эксплуатации электроустановок».
-
5.5.2. При работе с измерительными приборами и вспомогательным оборудованием должны быть соблюдены требования безопасности, оговоренные в соответствующих технических описаниях и руководствах по эксплуатации.
-
-
5.6. Условия проведения поверки
При проведении поверки должны быть соблюдены следующие условия:
- температура окружающего воздуха от 15 до 40 °С;
- температура поверочной жидкости от 15 до 90 °С;
- относительная влажность воздуха от 30 до 80 %;
- атмосферное давление от 84,0 до 106,7 кПа;
- внешние электрические и магнитные поля напряженностью не более 40 А/м;
- при питании ТСч от сети переменного тока:
- напряжение питания от 187 до 242 (31 - 40) В;
- частота питающей сети от 49 до 51 Гц.
Примечание. Допускается выполнение поверки в рабочих условиях эксплуатации теплосчетчика при соблюдении требований к условиям эксплуатации поверочного оборудования.
-
5.7. Проведение поверки
-
5.7.1. Внешний осмотр.
-
При внешнем осмотре устанавливают:
- соответствие комплектности ТСч требованиям эксплуатационной документации;
- наличие на составных частях ТСч знака утверждения типа и заводского номера;
- соответствие заводских номеров составных частей ТСч паспорту ТСч;
- наличие действующих свидетельств о поверке или отметок о поверке в паспортах составных частей ТСч;
- наличие пломб, несущих поверительные клейма, на составных частях ТСч;
- отсутствия грубых механических повреждения и повреждений покрытия на на составных частях ТСч.
-
5.7.2. Опробование.
Необходимо провести соединение составных частей ТСч в соответствии со схемами, указанными в документации на ТВ.
При подаче на измерительные каналы воздействий, соответствующих измеряемым параметрам, согласно документации на составные части ТСч должны изменяться соответствующие показания ТСч, необходимо проверить наличие сигналов на информационных выходах.
Необходимо проверить наличие индикации измеряемых и контролируемых параметров, наличие коммуникационной связи с персональным компьютером.
-
5.7.3. Подтверждение соответствия программного обеспечения.
Операция «Подтверждение соответствия программного обеспечения» включает:
- определение идентификационного наименования программного обеспечения;
- определение номера версии (идентификационного номера) программного обеспечения;
- определение цифрового идентификатора (контрольной суммы исполняемого кода) программного обеспечения.
Подтверждение соответствия программного обеспечения проводят в составе операций поверки ТСч:
Производится включение ТВ. После подачи питания встроенное программное обеспечение ТВ выполняет ряд самодиагности-ческих проверок, в том числе проверку целостности конфигурационных данных и неизменности исполняемого кода, путем расчета и публикации контрольной суммы.
При этом на индикаторе ТВ (или на подключенном к интерфейсному выходу ТВ компьютере) будут отражаться следующие данные:
- идентификационное наименование ПО;
- номер версии (идентификационный номер) ПО;
- цифровой идентификатор (контрольная сумма) ПО.
Подтверждение соответствия программного обеспечения остальных составных частей ТСч выполняют в соответствии с документами на поверку каждой составной части ТСч.
Результат подтверждения соответствия программного обеспечения считается положительным, если полученные идентификационные данные ПО СИ (идентификационное наименование, номер версии (идентификационный номер) и цифровой идентификатор) соответствуют идентификационным данным, указанным в описании типа средства измерений.
По результатам подтверждения соответствия программного обеспечения делается отметка о соответствии в протоколе (Приложение В).
5.7.4 Поверку составных частей ТСч проводят согласно документам на поверку каждой составной части.
ТСч считается прошедшим поверку с положительным результатом, если все его составные части соответствуют критериям годности, установленным в их методиках поверки.
Допускается проводить оценку суммарной погрешности ТСч в соответствии с МИ 2553-99.
-
5.8. Оформление результатов поверки
-
5.8.1. При положительных результатах поверки в протоколе (Приложение В) делается отметка о годности к эксплуатации, оформляется свидетельство о поверке или делается отметка в паспорте ТСч, удостоверенные поверительным клеймом и подписью поверителя, а ТСч допускается к применению с нормированными значениями погрешности.
-
5.8.2. При отрицательных результатах поверки одного из функциональных блоков теплосчетчика производится его замена на аналогичный с последующей поверкой.
-

вид спереди
9 3 4
5
105*
t

6
вид снизу* - справочный размер
1 - Дисплей индикатора; 2 - клавиатура; 3 - модуль вычислителя; 4 -модуль измерителя; 5 - модуль коммутации; 6 - субблок обработки данных; 7 - гермовводы; 8 - разъем RS-232; 9 - клемма заземления (зануления).
Рис.А.1. Вид тепловычислителя.

* - справочный размер
Длина монтажной части, l*, мм |
50 |
70 |
98 |
133 |
223 |
L*, мм |
158 |
178 |
206 |
241 |
331 |

* - справочный размер
1 - штуцер подключения ПД к измеряемой среДе; 2 - разъем кабеля связи ПД.
Рис.А.3. Преобразователь давления типа СДВ-И-А.

А |
c |
> | |||
J * CD CO 1 |
I |
c. |
J | ||
OS LIL гл rn 1Ю |
) |
S>Q LILI О о 1Ю -* |
> | ||
J x---LJ—LJ----- | |||||
A | |||||
V |
Cj L | ||||
42* |
► | ||||
4 |
52* 4--------------------------------- |

* - справочный размер
Примечание. Используется термопреобразователь сопротивления платиновый Pt500.
Рис.А.5. Блок датчика температуры воздуха.
Таблица А.1. Мощность, потребляемая ПР
Тип ПР |
Потребляемая мощность, Вт |
Расходомер-счетчик электромагнитный «ВЗЛЕТ ЭР» исполнения ЭРСВ-4х0Л/Ф |
2,0 * |
Расходомер-счетчик электромагнитный «ВЗЛЕТ ЭР» исполнения ЭРСВ-5х0Л/Ф |
2,5 * |
* при температуре контролируемой жидкости 150 °С
Таблица А.2. Мощность, потребляемая тепловычислителем при подключении ПД типа СДВ-И-А
Количество подключенных ПД |
Мощность, потребляемая ТВ, Вт |
0 |
2,5 |
1 |
3,0 |
2 |
3,5 |
3 |
4,0 |
4 |
4,5 |
5 |
5,0 |
6 |
5,5 |
Таблица Б.1
Параметр |
Кол-во знаков при индикации на дисплее |
Примечание | |
целая часть |
дроб. часть | ||
1. Количество тепловой энергии W [ГДж, Гкал] |
1 - 6 |
3 |
Переполнение счетчика наступает при:
|
2. Тепловая мощность Е [ГДж/ч, Гкал/ч] |
1 -6 |
3 | |
3. Масса теплоносителя m [т, кг] |
1 -6 |
3 |
Переполнение счетчика наступает при m > 999 999,999 т После переполнения счетчика отсчет начинается с нулевого значения. |
4. Объем теплоносителя V [м3] |
1 -6 |
3 |
Переполнение счетчика наступает при V > 999 999,999 м3 После переполнения счетчика отсчет начинается с нулевого значения. |
5. Температура t [°С] |
1 -3 |
2 | |
6. Давление холодной воды Рхв, договорное давление Рдог [МПа] |
1 |
2 |
от 0,1 до 2,5 МПа |
7. Средний массовый (объемный) расход теплоносителя Qm (Qv) [т/ч (м3/ч)] |
1 -5 (1 - 5) |
2 (3) | |
8. Время наработки Тнар, простоя Тпр, наличия нештатной ситуации Т НС, отказа ПР Т ПР [ч] |
1 - 8 |
2 |
Таблица В.1. Слово состояния расчетного канала
Обозначение события при индикации |
Содержание события |
0 |
Отказ ПР |
1 |
Отказ ПТ |
2 |
Отказ ПД |
3 |
Отсутствие измерения минимума опорного напряжения |
4 |
Отсутствие измерения максимума опорного напряжения |
5 |
Недопустимое значение энтальпии |
6 |
Недопустимое значение плотности |
7 |
Отказ теплосистемы, в которую входит данный канал |
Таблица В.2. Слово состояния теплосистемы
Обозначение события при индикации |
Содержание события |
0 |
Отказ первого ПР для W1 |
1 |
Отказ второго ПР для W1 |
2 |
Отказ первого ПР для W2 |
3 |
Отказ второго ПР для W2 |
4 |
Отказ ПТ, определяющего энтальпию для первого члена в формуле W1 |
5 |
Отказ ПТ, определяющего энтальпию для второго члена в формуле W1 |
6 |
Отказ ПТ, определяющего энтальпию для первого члена в формуле W2 |
7 |
Отказ ПТ, определяющего энтальпию для второго члена в формуле W2 |
8 |
Отказ ПД, определяющего энтальпию для первого члена в формуле W1 |
9 |
Отказ ПД, определяющего энтальпию для второго члена в формуле W1 |
A |
Отказ ПД, определяющего энтальпию для первого члена в формуле W2 |
B |
Отказ ПД, определяющего энтальпию для второго члена в формуле W2 |
C |
Нештатная ситуация 1 |
D |
Нештатная ситуация 2 |
E |
Нештатная ситуация 3 |
F |
Отказ EEPROM |
G |
Простой теплосистемы |
H |
Нештатная ситуация 0 |
I |
Прямой поток |
J |
Обратный поток |
(справочное)
Подающий трубопровод

N=1
W1-i = m-i-(h-i - h0) W2-i = m2-(h2 - h0) W3i = Wii - W2i hi(pi) = f(ti, Pi) h2(P2) = f(t2, P2) h0 = f(t0, P0)
Обратный трубопровод

трубопровод
N=2
WI2 = m3-(h3 - ho) W22 = m4-(h4 - h0) W32 = Wi2 - W22 h3(p3) = f(t3, P3) h4(p4) = f(t4, P4) h0 = f(t0, P0)
N=3
WI3 = m5-(h5 - h6)
W23 = 0
W33 = Wi3 - W23 h5(p5) = f(t5, P5) h6(p6) = f(t6, P6)

- преобразователь расхода;
- преобразователь давления;
- преобразователь температуры.
Рис.Г.1. Структуры теплосистем и конфигурация измерительной системы ТСч.
Таблица Г.1. Параметры, определяемые в ТСч
№ «точки», «канала» |
Параметры «точки» измерения |
Параметры расчетного «канала» |
0 |
- |
to , Po, ho |
1 |
Qvi , ti , Pi |
т T hi(pi) = f(ti , Pi); Qmi = Qvi •pi, mi = JQmi • dT, Vi - JQvi •dT 0 0 |
2 |
Qv2 , t2 , P2 |
т T h2(p2) = f(t2 , P2); Qm2 = Qv2^P2, m2 = J Qm2 • dT , V2 — J Qv2 ' dT 0 0 |
3 |
Qv3 , t3 , P3 |
T T h3(P3) = f(t3 , P3); Qm3 = Qv3^P3, m3 = J Qm3 • dT , V3 — J Qv3 • dT 0 0 |
4 |
Qv4 , t4 , P4 |
T T h4(p4) = f(t4 , P4); Qm4 = Qv4^^ m4 = J Qm4 • dT , V4 — J Qv4 dT 0 0 |
5 |
Qv5 , t5 , P5 |
T T h5(p5) = f(t5 , P5); Qm5 = Qv5^P5, m5 = JQm5 • dT , V5 — JQv5 ' dT 0 0 |
6 |
Qv6 , t6 , P6 |
T T h6(p6) = f(te , Pe); Qm6 = Qv6^p6, m6 = JQm6 • dT , V6 — JQv6 • dT 0 0 |
№ теплосистемы |
Тепловая мощность |
Тепловая энергия |
N=i |
Eli — Qmi • (hi - ho); E21 — Qm2 • (h2 - h0); E31 =E11 -E21 |
T W11(2,3) — J E11(2 3) •dT; 0 ’ T W21(2,3) — J E21(2,3) • dT; 0 T W31(2,3) — J E31(2,3) • dT 0 |
N=2 |
E12 =Qm3 -(h3 -h0); E22 — Qm4 • (h4 - h0); E32 = E12-E22 | |
N=3 |
ЕЪ = Qm5 '(^5 _tig); E23 — 0; ЕЗ3 — EI3 - E23 |
ПРИМЕЧАНИЕ. Значение расхода Q6 и массы m6 являются справочными и в расчетах не используются.
ПРИЛОЖЕНИЕ Д. Приложения к методике поверки(обязательное)
Схемы подключения ТСч при поверке
-
1 - трубопровод поверочной установки;
-
2 - регулирующий вентиль;
-
3 - контрольный манометр;
-
4 - контрольный термометр;
ТК - температурный калибратор;
ПД - преобразователь давления;
ПК - персональный компьютер;
ПР - преобразователь расхода (расходомер, расходомер-
счетчик и т.д.);
ПТ - преобразователь температуры;
СчИ - счетчик импульсов.
Рис.Д.1. Схема подключения ТСч при поверке методом непосредственного сличения.

R - магазин сопротивлений;
ГИ - генератор импульсов;
ПД - преобразователь давления;
ПК - персональный компьютер;
ПР - преобразователь расхода (расходомер, расходомер-счетчик и т.д.);
ПТ - преобразователь температуры;
СчИ - счетчик импульсов.
Рис. Д.2. Схема подключения ТСч при имитационной поверке.
Протокол поверки теплосчетчика «ВЗЛЕТ ТСР-М»
(рекомендуемая форма)Заводской номер ___________________________
Исполнение _______________
Год выпуска ________________
Вид поверки _________________
Наименование операций |
Пункт документа по поверке |
Отметка о соответствии |
Примечание |
1. Внешний осмотр 2. Опробование 3. Подтверждение соответствия программного обеспечения 4. Поверка составных частей |
|
Теплосчетчик _____________________ к эксплуатации
(годен, не годен)
Дата поверки "____" __________20____ г.
Поверитель ______________________/___________________/
(подпись) (Ф.И.О.)
ПРИЛОЖЕНИЕ Е. Схемы обеспечения взрывозащиты
БИ - блок искрозащитный; БИ-003 - барьер искробезопасности ООО «НПК Ленпромавтоматика»; ВП - вторичный преобразователь; ИУ - измерительный участок; ПП1,2 - первичный преобразователь; ПЭА - преобразователь электроакустический; ТПС - термопреобразователь сопротивления; УК - устройство коммутационное.
Рис.Е.1. Структурная схема теплосчетчика с обеспечением взрывозащиты каналов расхода и температуры.БИ-003 ВЗЛЕТ ТПС
к тепло-вычислителю
PT-A
LEAD-A
PT-B
LEAD-B
SHIELD

5 |
1 |
6 |
2 |
7 |
3 |
8 |
4 |
РА |
РА |
1
3
2
4
1

a) вид спереди
б) вид сбоку
* - справочный размер
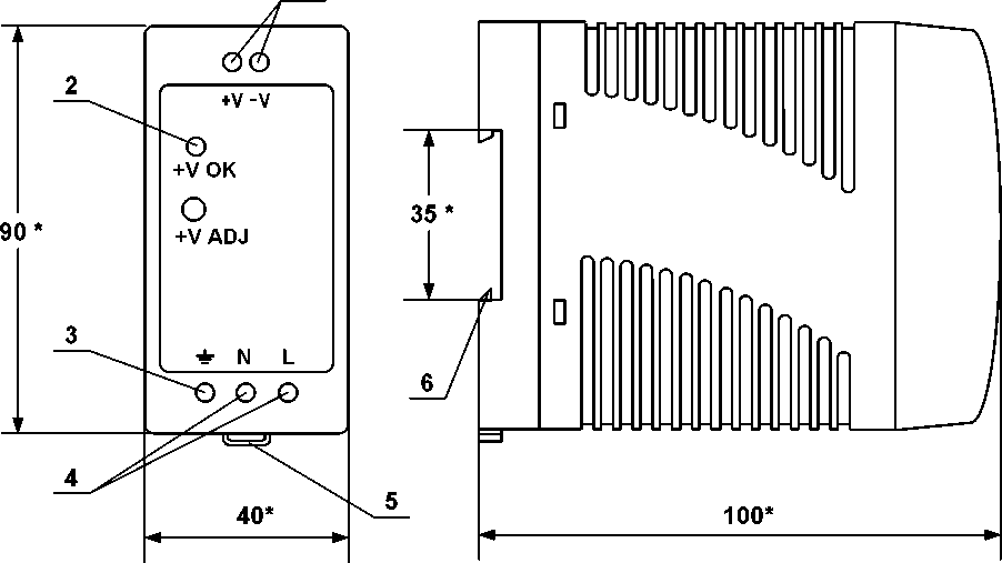
1 - винты контактной колоДки выходного напряжения =24 В; 2 -светодиодный индикатор включения источника вторичного питания; 3 - винт заземления; 4 - винты контактной колодки подключения напряжения питания ~220 В 50 Гц (L - линия, N - нейтраль); 5 - серьга для освобождения защелки; 6 - защелка для крепления на DIN-рейке.
Рис. Ж.1. Источники вторичного питания серии ADN-1524 (=24 В 15 Вт) и ADN-3024 (=24 В 30 Вт).re_tsrm.027_doc1.13
51