Методика поверки «Мосты постоянного тока» (Код не указан!)
Инструкция 26-50 для поверки мостов постоянного тока
Инструкция Госстандарта СССР от 14.08.1950 N 26-50
Не применяется
Страница 1
КОМИТЕТ ПО ДЕЛАМ МЕР И ИЗМЕРИТЕЛЬНЫХ ПРИБОРОВ при СОВЕТЕ МИНИСТРОВ СССР
ИНСТРУКЦИЯ 26—50ДЛЯ ПОВЕРКИ мостов постоянного ТОКА
Издание официальное
МОСКВА
1951
с_
2
''
Инструкция составлена Всесоюзным научноисследовательским институтом метрологии им. Д И. Менделеева и Московским государственным институтом мер и измерительных приборов; исполнители: канд. техн, наук К П. Широков и канд техн, наук М. А. Быкон
Редактор О. И. Борисенко
.352732. Поди, к печати 9/11 1951 г. Объем 2,5 п. л. Тираж 3 000.
Типография «Гудок», Москва, ул Станкевича, 7. Зак. № 3144.
Инструкция утверждена приказом Комитета по делам мер и измерительных приборов при Совете Министров СССР от 14 августа 1950 г. за № 199 и введена в действие с 1 декабря 1950 г.
ИНСТРУКЦИЯ 26-50
ДЛЯ ПОВЕРКИ МОСТОВ ПОСТОЯННОГО ТОКА
Настоящая инструкция предназначена для поверки уравновешенных мостов постоянного тока, применяемых для измерения электрического сопротивления в качестве как образцовых, так и рабочих измерительных приборов.
Инструкция распространяется на мосты постоянного тока вновь изготовляемые по типам, утвержденным Комитетом по делам мер и измерительных приборов при Совете Министров СССР, выходящие из ремонта и находящиеся в обращении.
Инструкция не распространяется на мосты постоянного тока, в которых применяются электронные усилители, а также на специализированные мосты (например, мосты для измерения сопротивления заземления и др.).
Инструкция состоит из следующих разделов:
-
A. Общие положения.
Б. Устройство и классификация мостов постоянного тока. Термины и определения.
-
B. Технические требования, предъявляемые к мостам постоянного
тока. Допустимые погрешности. . .
Г. Методика измерений при поверке:
а) общие указания о выборе метода и аппаратуры для поверки мостов постоянного тока:
б) методы измерения сопротивления отдельных плеч мостов постоянного тока;
в) метод комплектной поверки мостов постоянного тока.
Д. Подготовка к поверке:
а) наружный осмотр;
б) опробование исправности схемы.
Е. Проведение поверки.
Ж. Обработка результатов поверки.
-
3. Выдача документов о поверке и клеймение приборов.
и -
U
Приложения:
-
1. Пример поверки одинарно-двойного моста типа МТВ-! завода «Эталон».
-
2. Форма протокола при поверке мостов по элементам.
-
3. Форма протокола при комплектной поверке однопредельных мостов.
-
4. Форма протокола при комплектной поверке многопредельных мостов.
-
5. Форма записи в свидетельстве (результатов поверки одинарных мостов классов 0,02; 0,05 и 0,1.
-
6. Форма записи в свидетельстве результатов поверки двойных мостов классов 0,02; 0,05 и 0,1.
-
7. Форма записи в свидетельстве результатов поверки мостов, на которых не обозначены допустимые погрешности.
А. ОБЩИЕ ПОЛОЖЕНИЯ
-
1. Мосты Постоянного тока вновь изготовляемые, выходящие из ремонта, а также находящиеся в эксплоатации подлежат обязатель ной государственной поверке в органах Комитета nq делам мер и измерительных приборов при Совете Министров СССР.
-
2. Обязательная государственная поверка мостов постоянного гока, выпускаемых из производства, производится на заводе-изготовителе по истечении определенного срока после приемки их в готовом виде техническим контролем завода. Срок этот устанавливается Комитетом по делам мер и измерительных приборов при Совел? Министров СССР при .Государственном испытании каждого типа мостов постоянного тока
-
3. Поверка находящихся в обращении мостов постоянного тока производится в сроки, устанавливаемые Комитетом по делам мер и измерительных приборов при Совете Министров СССР.
-
4. Катушки сопротивления, вновь устанавливаемые в ремонтируемых мостах постоянного тока, должны быть выдержаны после изготовления в течение не менее трех месяцев. При установке невыдержанных катушек государственная поверка мостов производится не ранее чем через три месяца после ремонта.
Б. УСТРОЙСТВО И КЛАССИФИКАЦИЯ МОСТОВ ПОСТОЯННОГО ТОКА. ТЕРМИНЫ И ОПРЕДЕЛЕНИЯ
-
5. Мост постоянного тока состоит из набора соответственно включенных сопротивлений и служит для измерения электрического сопротивления проводников. Принципиальная схема моста состоит из четырех последовательно включенных в замкнутый четырехугольник сопротивлений, в том числе и измеряемого. Эти сопротивления называются плечами моста. В одну из диагоналей моста включается источник тока, в другую- - нулевой прибор.
4 '
Реальная схема моста может состоять из большего числа сопротивлений (плеч) и иметь более сложный вид, но во всех случаях допускает преобразование ее в эквивалентную ей простую схему, указанную выше.
-
6. В уравновешенных мостах постоянного тока показания определяются положением элементов, от которых зависят значения сопротивления плеч — штепселей, рычажных переключателей и др.—при отсутствии тока в нулевом приборе (или разности потенциалов между его зажимами)
-
7. В уравновешенном мосте постоянного тока1 значение измеряемого сопротивления (результат измерения) определяется в зависимости от значений сопротивления остальных плеч моста, при которых достигается состояние равновесия, по следующему общему выражению:
Rx — ’
сде:
Rn — значение сопротивления плеча моста, называемого сравнительным плечом;
Ri и R1—значения сопротивления двух других плеч моста, называемых плечами отношения.
Для получения результата измерения существенным является значение абсолютного значения сопротивления плеча Rn и, кроме того, отношения плеч Rt и Rt. Оно определяет отношение измеряемого сопротивления к сравнительному.
-
8. По типу реальной схемы мосты разделяются на четырехплечие мосты, именуемые в дальнейшем одинарными мостами, и мосты с двойными плечами отношения, именуемые в дальнейшем двойными мостами.
-
9. Мосты по способу уравновешивания разделяются на:
а) мосты с постоянными или изменяемыми ступенями отношением плеч и с плавно регулируемым сравнительным сопротивлением и
б) мосты с плавно регулируемым отношением плеч и с постоянными или изменяемыми ступенями сравнительным сопротивлением.
Примечание. Под плавно регулируемыми плечами понимаются плечи или их отношение, позволяющие изменять показания малыми ступенями, не превышающими допустимой погрешности.
Под изменяемыми ступенями понимаются плечи или их отношение, пооао-ляющие изменять показания ограниченным числом крупных ступеней.
-
10. Мосты, в зависимости от конструктивного выполнения входящих в них переменных сопротивлений, делятся на магазинные—с сопротивлениями, выполненными в виде рычажных или штепсельных магазинов, и реохордные — с контактом, скользящим по проволочному сопротивлению.
-
11. Мосты по составу конструктивных элементов, входящих в них, подразделяются на мосты, составленные только из плеч переменных

----П-ГЩ-г
и постоянных сопротивлений, и мосты со встроенным нулевым прибором (гальванометром), называемые комплектными.
-
12. В зависимости от точности подгонки плеч мосты разделяются на пять классов: 0,02; 0,05; 0,1; 0,5 и 1,5.
-
13. Принципиальная схема электрических соединений одинарного моста приведена на фиг. 1, где через Нц обозначено сравнительное плечо моста, а через Ri и Rz обозначены плечи отношения.
В магазинных мостах плечо /гдг выполняется в виде магазина сопротивления штепсельного или рычажного, а плечи Ri и Rz представляют магазины, дающие возможность установить отношения плеч, равные р • 10’ , где р и q — целые числа, причем g может быть положительным и отрицательным.
В реохордных одинарных мостах отношение плеч определяется положением на реохорде скользящего контакта, а плечо А'л выполнено в виде магазина, дающего возможность установить значения сопротивления, равные 10v сков
14. Принципиальная схема двойного моста приведена на фиг. 2. где Rn — сравнительное плечо, а парные сопротивления Ri и Rz, R’t и R'z — плечи отношения.
В магазинных двойных мостах в качестве сравнительного плеча может применяться либо сопротивление, встроенное в мост, либо отдельная катушка сопротивления с токовыми и потенциальными зажимами. Из числа четырех плеч отношения два (₽t и r?'i) выполняются плавно регулируемыми, а другие два (R2 и R'2) — со ступенчатой регулировкой. Пара плавно регулируемых плеч отношения выполняется в виде одинаковых сдвоенных рычажных магазинов сопротивления, а пара ступенчато-изменяемых—в виде двух одинаковых штепсельных магазинов. Номинальные значения плеч Ri и R'i должны быть равны друг другу, точно так же как и значения плеч R2 и R'*.
U 0~OZ*O-
- +
Фиг. 1
Фиг. 2
Реохордные двойные мосты подразделяются на мосты с плечами отношения, выполненными в виде двух реохордов (мосты с плавне изменяемым отношением плеч), и мосты с сравнительным сопротивлением, выполненным в виде реохорда.
В первом случае движки обоих реохордов связаны друг с другом механически, так что номинальные значения отношений всегда равны друг другу.
/Л н'< —' и —

-
15. В соответствии с изложенным в пп. 5, 6 и 7, сравнительные плечи мостов могут выполняться по схемам, показанным на фиг. 3, 4, 5 и 6, а плечи отношения — в соответствии со схемами фиг. 7, 8, 9, 10 и 11.
Ь
1 г Я
-
=
Ё а
На фиг. 3 приведена схема сравнительного плеча моста, выполняемого в виде штепсельного разномерного магазина.
На фиг. 4 показан декадный штепсельный магазин. Схема сравнительного плеча в виде рычажного магазина сопротивления приведена на фиг. 5. В качестве сравнительного плеча может быть применен и реохорд, схематически показанный на фиг. 6.

Плечи отношения в виде нескольких пар катушек со значениями сопротивления, равными 10* омов и включаемые при помощи двух штепселей, показаны на фиг. 7. Такие же плечи отношения, но с взаимозаменяемыми катушками сопротивления, изображены на фиг. 8. На фиг. 9 дана схема плеч отношения, выполняемых в виде одного общего сопротивления с отпайками, части которого при перемещении
Х-ХХС2Х-У
ФиГ. 7
х
10 4100 (±,1000410000
10 4100 41000410000
г А 'А Д-Х А
X---1
Y.™ Y
100 100
1 1
/А
X
I---X
V
1 I •pJWlTlr’ A АГ
I X
X—X
Y Y
10 ю '*nJL^VLr<' А А
I X
Фиг. 8
щетки переключаются из одного плеча в другое. На фиг. 10 показана схема плеч отношения, в которой ступенями изменяется только одно из этих плеч. Наконец, на фиг. 11 приведена схема плеч отношения, выполняемых в виде реохорда со скользящим по его проволоке контактом. Магазинные мосты могут быть осуществлены только из плеч, изображенных на фиг. 3, 4, 5, 7, 8, 9 и 10, и из их сочетаний.
Для реохордных мостов характерным является наличие либо отношения плеч, выполненного по фиг. 11, либо сравнительного плеча, выполненного по фиг. 6.
Фиг. 5
Фиг. 6
-
16. Одинарные мосты классов 0,5 и 1,5 бывают следующих типов:
а) реохордные мосты с плавно регулируемым отношением плеч (фиг. 11) и со ступенчато-изменяемым Сравнительным сопротивлением (фиг. 3);
б) реохордные или магазинные мосты с плавно регулируемым сравнительным сопротивлением (фиг. 4, 5 и 6) и с плечами отношения, ступенчато-изменяемыми при помощи одного переключателя (или штепселя) при неизменном значении их суммарного сопротивления (фиг. 9);

в) реохордные или магазинные мосты с плавно регулируемым сравнительным сопротивлением (фиг. 4, 5 и 6) и с плечами отношения, ступенчато-изменяемыми каждое по отдельности (фиг. 7, 8 и 10).

Мосты первых двух из указанных выше типов (подпункты «а» и «б») имеют два переменных элемента: один элемент — плавно регулируемый и другой элемент — ступенчато-изменяемый (обычно по степеням десяти).
Мосты, указанные в п. 16в, имеют три переменных элемента: один элемент — плавно регулируемый и.два других элемента—ступенчато-изменяемых (обычно по степени десяти), причем изменения каждого из последних двух элементов могуч’ производиться независимо от изменений другого из них.
I 9Г ■
= .
р
8
-
17. Рабочей областью показаний моста называется область значений измеряемого сопротивления, для которой предназначен при правильном его использовании данный мост.
Основными значениями сопротивления плавно регулируемых магазинных или реохордных плеч моста называются значения, при которых конструкцией моста обеспечивается регулирование ступенями, не превышающими определенной доли включенного сопротивления.
Примечание . Конкретные значения рабочих областей покавлиий мостоз и основных (значений сопротивления плеч указаны в пп. 37, 38 и 39 настоящей инструкции.

Фиг. 11
-
18. Сопротивлением плеча при нулевом показании называется сопротивление, действующее между точками присоединения плеча, когда номинальное значение сопротивления плеча равно нулю, и образуемое сопротивлением соединительных проводников и переходным сопротивлением контактов.
-
19. Вариацией сопротивления плеча называется наибольшая разность между значениями его, являющаяся результатом непроизвольных изменений переходного сопротивления контактов.
В. ТЕХНИЧЕСКИЕ ТРЕБОВАНИЯ, ПРЕДЪЯВЛЯЕМЫЕ К МОСТАМ ПОСТОЯННОГО ТОКА. ДОПУСТИМЫЕ ПОГРЕШНОСТИ
-
20. Сравнительные плечи мостов класса 0,02 должны иметь на каждом контакте образующих их магазинов потенциальные винты или гнезда для потенциальных штепселей, предназначенные для измерения отдельных катушек этих магазинов.
Плечи отношения также должны быть снабжены потенциальными контактами, соединенными с узловыми точками моста, между которыми включено данное плечо.
-
21. Мосты всех классов могут быть комплектными, т. е. иметь внутренний (встроенный в мост) гальванометр. При этом мосты классов 0,02; 0,05 и 0,1 должны иметь также зажимы для присоединения наружного гальванометра и переключатель для отключения внутреннего гальванометра.
t 10
rU ■
г
X
—
Я
-
22. Внутренний гальванометр мостов классов 0,5 и 1,5 должен обеспечивать для всей рабочей области показаний моста при напряжении источника питания, установленном для данного моста, чувствительность моста нс меньше значений, указанных в табл. 1.
Таблица 1
Класс точности моста |
Наименьшее допустимое значение чувствительности моста в миллиметрах отклонения указателя гальванометра на 1% изменения сравнительного плеча или отношения плеч |
0,В |
1 |
1.5 |
0,3 |
Примечание. Чувствительность внутреннего гальванометра мостов классов 0,02; 0,05 и 0,1 не нормируется, поскольку в случае недостаточной чувствительности его может быть применен наружный гальванометр.
Внутренний гальванометр при измерениях в рабочей области показаний не должен быть переуспокоен. Время успокоения при включении гальванометра не должно превосходить четырех секунд. Внутренний гальванометр должен иметь приспособление для установки его указателя на нуль.
-
23. Сопротивление изоляции между любой точкой электрической цепи моста и краями изоляционных панелей, на которых смонтированы токоведущие части, в местах наиболее опасных с точки зрения утечек, не должно быть меньше величины Ru, определяемой из выражений:
для одинарных мостов
о _ 2000^ р
а макс,
для двойных мостов
п _ 2000 р
I'll--- С; макс
или
п _ 2000 р
•\и~^ ~ «Х2 макс.
где:
а — число, обозначающее класс точности моста (п. 12);
/?хмакс — наибольшее значение измеряемого сопротивления, ке выходящее за пределы основного диапазона измерений;
Rx мя„с и /?2 макс — наибольшее значение сопротивления одного из плеч отношения моста.
-
24. Корпус моста должен быть закрытым, защищающим внутренние части от механических повреждений.
Для отвода тепла, выделяющегося внутри корпуса вследствие нагревания током, могут быть предусмотрены вентиляционные отверстия. ■
-
25. Корпус прибора должен быть снабжен винтами или иными приспособлениями, предназначенными для наложения клейм или пломб при приемке отделом технического контроля завода-изготовителя и при государственной поверке. Приспособления должны быть выполнены так, чтобы без нарушения клейм или пломб прибор не мог быть вскрыт.
-
26. Каждый вновь выпускаемый мост должен иметь на одной из наружных поверхностей корпуса следующие обозначения: заводская марка, наименование прибора, тип (заводский), заводский номер, год выпуска, схема внутренних соединений, допустимые погрешности, допустимые нагрузки сопротивлений или рекомендуемые напряжения источника питания, краткие указания к пользованию мостом.
Примечания:
-
1. Схемы, таблицы и текстовой материал, относящийся к пользованию мостом, могут быть помещены в съемной крышке ирибора.
-
2. При выпуске из ремонта маркировка моста дополняется указанием ремонтировавшей организации и года производства ремонта.
-
27. Внешние зажимы моста, магазины сопротивления и другие его элементы, как, например, переключатели и т. п., должны иметь обозначения, соответствующие обозначениям на прикрепленной к его корпусу схеме.
-
28. Мосты всех классов при выпуске из производства должны снабжаться описанием и инструкцией к пользованию.
-
29. Требования пп. 22, 23, 24, 26, 27 и 28 не являются обязательными для мостов, выпущенных в обращение до введения в действие настоящей инструкции.
-
30. Допустимая погрешность, выраженная в омах, плавно регулируемых магазинных сравнительных плеч мостов определяется численным значением выражения:
±(а • 10^+mb),
где:
R — сопротивление плеча;
а • IO'2 R — основная часть допустимой погрешности сопротивления плеча;
mb — дополнительная часть допустимой погрешности сопротивления плеча;
т — число декад (или десятичных ступеней в штепсельных магазинах), показания которых не равны нулю.
Значения коэфициентов а и b указаны r табл. 2.
Таблица 2
Класс точности моста |
а проценты |
д омы |
0,02 |
0,02 |
0,001 |
0,05 |
0,05 |
’ 0,00! |
0.1 |
0,1 |
0.002 |
0,5 |
0.5 |
0,01 • |
1,5 |
1.5 |
0,02 |
-
31. Допустимая погрешность в омах ступенчато-регулируемых плеч отношения в магазинных мостах и ступенчато-регулируемых сравнительных сопротивлений в реохордных мостах определяется численным значением выражения:
±а • Ю-%
где обозначения те же, что и в п. 30. Числовые значения а указаны в той же табл. 2.
-
32. Допустимая относительная, выраженная в процентах, погреш
ность основных значений плеч, выполненных в виде реохорда, определяется значениями: >
!) 2а — в случае отношения плеч,
2) а — в случае сравнительного плеча.
Кроме того, в случае двойных мостов с реохордными сдвоенными плечами отношения, погрешности основных значений этих плеч не должны отличаться друг от друга, соответственно, на значения, превосходящие Vga.
Числовые значения а указаны в табл. 2.
-
33. Допустимое значение сопротивления плавно регулируемых магазинных плеч при нулевом показании определяется выражением: пС,
где п — число рычажных переключателей или десятичных ступеней (в штепсельных магазинах), входящих в поверяемое плечо.
Численные значения С указаны в табл. 3.
Таблица 3
Класс точности моста |
Значения С |
Значения d |
0.02 |
0,0040 |
0,0004 |
0,05 |
0,004 |
0,0004 |
0,1 |
0,005 |
0,0005 |
0,5 |
0,008 |
0,0010 |
1.5 |
0,010 |
0,0015 |
-
34. Допустимая вариация сопротивления плеча, вызываемая ко лебаниями сопротивления скользящих и штепсельных контактов в магазинных или реохордных плечах, определяется выражением: +nd,
где п — число рычажных переключателей или десятичных ступеней, входящих в поверяемое плечо. Численные значения d указаны в табл. 3.
-
35. При комплектной поверке (см. п. 50) относительная погрешность одинарных мостов с плавно регулируемым сравнительным плечом не должна превосходить суммы относительных значений допустимых погрешностей всех плеч моста.
Относительные погрешности мостов с реохордом, предназначенным для плавного изменения отношения плеч, не должны превосходить суммы относительных значений допустимой погрешности сравнительного плеча и допустимой погрешности отношения плеч реохорда, вычисленных по формулам пп. 31 и 32.
-
36. Допуски, указанные в настоящем разделе, относятся к мостам, сопротивления плеч которых выражены в абсолютных омах. Мостами старого выпуска, подогнанными в международных омах, разрешено в соответствии с приказом Председателя Комитета по делам мер и измерительных приборов при Совете Министров СССР от 13 апреля 1948 г. за № 56 «Об утверждении и введении в действие «Положения об электрических и магнитных единицах» пользоваться до 1 ян варя 1953 г. В случае поверки мостов старого выпуска, относящихся к классам 0,02; 0,05 и 0,1, при контроле выполнения требований пп. 30, 31, 32 или 35, номинальные значения сопротивления следует умножать на переводный множитель, равный 1,0005.
-
37. Рабочая область показаний одинарных мостов лежит в пределах указанных в табл. 4 значений измеряемого сопротивления.
Таблица 4
Класс точности моста |
----------------------т..... ---- Рабочая область показаний моста в омах |
0,02 |
от 50 до 105 |
0,05 |
.20 ,10» |
0,1 |
,10 ,105 |
0,5 |
. 2 . 106 |
1,5 |
, 1 . 10» |
Для двойных мостов рабочая область показаний лежит в пределах от 0,00001 до 100 омов,
-
38. Основными значениями сопротивления магазинных плавно регулируемых сравнительных плеч мостов называются значения, в пределах которых может быть произведен отсчет величины сопротивления плеча: в случае мостов классов 0,02 и 0,05 — с четырьмя значащими цифрами, в случае мостов остальных классов — с тремя значащими цифрами.
Основными значениями сопротивления плеч отношения со ступенчатой регулировкой в случае мостов классов 0,02—0,1 считаются значения от 10 омов и выше, а в случае мостов классов 0,5 и 1,5 — ог I ома и выше.
-
39. Основные значения для реохордных плеч отношения и сравни
тельных плеч лежат в пределах той части реохорда, в которой изменение положения указателя на 0,5 мм соответствует относительному изменению показания не более чем на половину допустимой noi реш-ности. .1
Г. МЕТОДИКА ИЗМЕРЕНИИ ПРИ ПОВЕРКЕ
а) Общие указания о выборе метода и аппаратуры для поверки * мостов постоянного тока
-
40. Мосты классов 0,02; 0,05 и 0,1 поверяют по элементам, т. е. определяют действительные значения сопротивления всех плеч по отдельности или действительные значения их отношений. Мосты классов 0,5 и 1,5, все узловые точки которых доступны (что определяется наличием зажимов для наружного гальванометра и для наружного источника питания), могут поверяться как по элементам, так и комплектно — по образцовому магазину сопротивлений. Мосты классов 0,5 и 1,5, не имеющие зажимов для наружного гальванометра или наружного источника питания, (Поверяются только комплектно.
Применяемые для поверки методы измерений указаны в табл.5
Таблица 5
Поверяемые элементы |
Метод измерения |
Основная образцовая аппаратура | |
Сравнительные плечи и плечи отношения мостов всех классов точности во всем диапазоне значений |
Потенциометри ческий |
Потенциометр; образцовые катушки сопротивления | |
Сравнительные плечи и плечи отношения мостов классов 0,0-5 и 0,1, имеющие сопротивление не ниже 100 омов, и мостов классов 0,5 и 1,5, имеющие сопротивление не ниже 10 омов |
Метод одинарного моста |
Одинарный мост | |
Сравнительные плечи и плечи отношения мостов классов 0,05 и 0,1, имеющие сопротивление менее 100 омов, и мостов классов 0,5 и 1,5, имеющие сопротивление менее 10 омов |
Метод двойного моста |
Двойной мост; разцоЕые катушки противления |
об- со- |
Мосты классов 0,5 и 1,5, не имеющие зажимов для наружного гальванометра или наружного источника питания |
Метод комплектной поверки по образцовому магазину сопротивлений . |
Образцовый магазин сопротивлений |
I 15
и
s .
Б
8
-
41. В зависимости от класса точности и конструкции поверяемого моста в качестве образцовых мер и приборов могут служить образно', вые катушки сопротивления 1-го и 2-го классов, образцовые мосты одинарные или двойные и образцовые магазины сопротивлений.
Для сравнения поверяемых сопротивлений плеч с образцовыми катушками применяются потенциометры не ниже 2-го класса точности или двойные мосты.
В качестве образцовых должны применяться мосты и магазины сопротивлений класса точности не ниже, чем поверяемые. В случае применения образцовых приборов одинакового с поверяемыми класса точности обязательно введение поправок к их показаниям.
Мосты и магазины сопротивления классов 0,5 и 1,5 в качестве об разцовых применяться не могут. Приборы, применяемые при поверке мостов в качестве образцовых, должны иметь свидетельства о поверке их в органах Комитета по делам мер и измерительных приборов при Совете Министров СССР.
-
42. Выбор метода измерения и образцовой аппаратуры производится так, чтобы была обеспечена указанная в табл. 6 точность измерения.
Таблица 6
Класс точности моста |
Требуемая точность поверки в %% |
0,02 |
0,005 |
0,05 |
0.01 |
0.1 |
0.02 |
0,5 |
0.1 |
1,5 |
0,3 |
-
43. Если на мосте не указаны допустимые погрешности, то его ориентировочно можно отнести к тому или иному классу, пользуясь следующими признаками:
а) магазинные мосты, имеющие потенциальные контакты для измерения сопротивления отдельных катушек, зажимы для наружного гальванометра и переменные плечи, позволяющие производить отсчет измеряемого сопротивления не менее чем с пятью значащими цифрами — относят к классу 0,02;
б) магазинные мосты, не имеющие потенциальных контактов, но с зажимами для наружного гальванометра, и позволяющие производить отсчет измеряемого сопротивления с пятью значащими цифрами во всей рабочей области показаний моста—относят к классу 0,05;
в) магазинные мосты без потенциальных контактов, имеющие зажимы для наружного гальванометра и позволяющие производить отсчет измеряемого сопротивления с четырьмя значащими цифрами— относят к классу 0,1;
г) магазинные мосты без зажимов для наружного гальванометра — относят к классу 0,5;
16
д) реохордные мосты могут быть отнесены к классу 0,1; 0,5 или 1,5 в зависимости от точности отсчета значений измеряемого сопротивления в случае реохордных плеч отношения — вблизи *4 длины шкалы реохорда, а в случае реохордных сравнительных плеч—вблизи */» шкалы.
Окончательно класс точности моста определяется по результатам поверки. При этом мосту, не удовлетворяющему по погрешностям классу точности, ориентировочно определенному по указанным выше признакам, может быть присвоен следующий по порядку низший класс.
б) Методы измерения сопротивления отдельных плеч мостов постоянного тока
44. Измерение сопротивления потенциометрическим методом производится по схеме, изображенной на фиг. 12, где через К обозна-

Фиг. 12
чей потенциометр, через А’л — измеряемое сопротивление плеча моста, через — образцовая катушка сопротивления.
Потенциометрический метод измерения заключается в сравнении падений напряжения на измеряемом (Ux) и образцовом ( Un) сопротивлениях при помощи потенциометра. Поскольку по обоим сравниваемым сопротивлениям проходит один и тот же ток /, падения напряжения пропорциональны значениям этих сопротивлений. Зная значение образцового сопротивления и отношение падений напряжения, можно определить измеряемое сопротивление по формуле:

Характерным свойством метода является то, что в момент измерения в потенциометр от измеряемого и образцового сопротивления ток не ответвляется и, следовательно, сопротивление проводников, соединяющих сравниваемые сопротивления с потенциометром, а также сопротивление контактов в их цепи .не играют существенной
а
8

роли. Следовательно, этот метод пригоден для измерения сопротивлений в широком диапазоне их значений и отличается высокой точное тью.
Наибольшая точность достигается при сравнении равновеликих по номинальному значению сопротивлений, так как в этом случае измерение может быть проведено таким образом, что показания потенциометра при компенсации падений напряжения на сравниваемых катушках будут изменяться только на его последних 1—2 декадах, в результате чего погрешности потенциометра практически не будут влиять на точность результата измерений, поскольку они в одинаковой мере будут сказываться на числителе и знаменателе вышеприведенной формулы и, следовательно, взаимно сократятся. Этим наиболее точным способом можно производить поверку мостов путем измерения сопротивления отдельных их катушек, имеющих номи
нальные значения, равные 10*. с присоединением потенциальных проводов к специальным винтам или штепселям на контактах поверяемого магазина.
При отсутствии потенциальных винтов или штепселей или если контакты рычажных переключателей недоступны, поверка может производиться с меньшей точностью, путем измерения врастающих сумм сопротивления каждой декады. При этом с образцовой катушкой сравниваются также и значения сопротивлений, значительно отличающихся от ее номинального значения, вследствие чего в этом случае в результат измерений уже входят погрешности потенциометра; кроме того, при этом понижается точность одного из двух от счетов показаний потенциометра.
45. Измерение сопротивлений плеч моста при помощи образцового, одинарного моста производится по схеме фиг. 13, где приняты следующие обозначения:
Фиг. 13
■Мп — поверяемый мост;
Мо — образцовый одинарный мост;
Ri, R2 и R3 — плечи поверяемого моста;
X — зажимы образцового моста для присоединения измеряемого сопротивления.
Включение поверяемого плеча в образцовый мост производят через зажимы для присоединения батареи и гальванометра, имеющиеся на поверяемом мосте, следя за тем, чтобы в цепь поверяемого сопротивления не входили какие-либо балластные сопротивления, могущие исказить результат измерения. С этой же целью выбирают соединительные проводники достаточно малого сопротивления. Как

указано в п. 40, этим методом можно производить поверку значений сопротивления не ниже 100 см в случае мостов классов 0,05 и 0,1 и не ниже 10 омов в случае мостов классов 0,5 и 1,5.
-
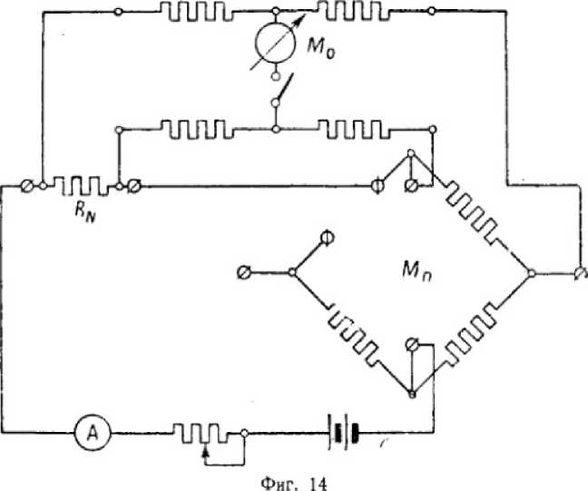
46. Измерение сопротивлений плеч поверяемого моста при помощи образцового двойного моста производится по схеме фиг. 14, где приняты те же обозначения, что на фиг. 13, и, кроме того, через Rm обозначена образцовая катушка сопротивления и через А — амперметр с подходящим пределом измерений.
При пользовании этим методом необходимо следить, чтобы потенциальные проводники, идущие к измеряемому сопротивлению, были присоединены к тем узловым точкам поверяемого моста, между которыми включено измеряемое сопротивление, а в перемычку между сравниваемыми сопротивлениями входило по возможности малое сопротивление.
f 2 19
й-
47. При измерении при помощи образцового моста выбираются такие значения его плеч, при которых чувствительность образцового моста была бы достаточно большой, чтобы обеспечить измерение с требуембй степенью точности.
Вычисление результатов при измерениях одинарным мостом производят по формуле:
где:

Rx —измеряемое сопротивление;
Roi, R02 и Ros ■— действительные значения сопротивлений плеч образцового моста, из которых первые два являются в схеме образцового моста соседними с измеряемым сопротивлением.
При измерениях двойным мостом, когда требуется высокая точность измерения (например, при поверке мостов класса 0,02), результаты вычисляются по формуле:


где: .
7?.v — значение сравнительного сопротивления;
Ri — значение сопротивления «внешнего» * плеча моста, примыкающего к Rx (рис. 2);
R'i — то же, «внутреннего» плеча, примыкающего к Rx',
Rz — то же, «внешнего» плеча, примыкающего к Rn
R'z — то же, «внутреннего» плеча, примыкающего к Rn‘,
Rn — значение сопротивления перемычки между сопротивлениями Rx и Rn.
Сопротивление перемычки Rn может быть определено путем размыкания цепи R'i и уравновешивания моста изменением плеча Ri до некоторого нового значения Ri,i и вычисления значения Rn по фор
муле;


причем Rx может быть вычислено по вышеприведенной формуле приблизительно, без поправочного члена, а затем его значение может быть уточнено после вычисления значения Rn.
Если R „ имеет относительно большое значение, в несколько раз превосходящее сравниваемые сопротивления Rx и Rn то целесообразно вновь пересчитать его значение и лишь после этого производить окончательное вычисление.
В случае, когда поправочный член выражения в квадратных скобках менее допускаемой погрешности измерений, что чаще всего имеет место при поверке мостов классов 0,05; 0,1; 0,5 и 1,5, вычисление результатов измерения производится по упрощенной формуле:
♦ Термины «внешнее» и «внутреннее» плечи моста употребляются применительно к обычному расположению этих плеч «а ■принципиальных схемах двойных мостов, как, например, «а рис. 2. ,

20
-
48. Сопротивление плеча при нулевом показании магазина, его образующего, и вариации этого сопротивления могут быть измерены по схеме фиг. 12 при помощи потенциометра и образцовой катушки сопротивления в 0,1 и 0,01 ома. Измерение производят при чувствительности, обеспечивающей выявление наибольшего значения вариации, указанного в табл. 3. Вариацию сопротивления при нулевом показании определяют путем повторных измерений этого сопротивления, выводя каждый раз рычажные или штепсельные переключатели из положений, соответствующих нулевому показанию, и вновь возвращая их в эти положения, а также после постукивания по рукояткам переключателей и по панели магазина.
Сопротивление плеча при нулевом показании может быть измерено и без потенциометра и образцовых катушек, путем приключения гальванометра непосредственно к крайним точкам плеча, которое образуется поверяемым магазином. Установив переключатели в положения, соответствующие нулевому показанию, и переключая направление тока в плече, наблюдают изменение отклонения указателя гальванометра . Затем на магазине выставляют единицу его ■наименьшей декады или ступени, соответствующую сопротивлению г, и, снова переключая направление тока в плече, замечают изменение отклонения гальванометра h'd.
Если обозначить сопротивление плеча при нулевом показании его магазина через г0 , то можно написать два выражения, а именно;
Л d = 2 Ir0 и A'd » 2 /(г0 г), •
откуда2
Ad
Если значение сопротивления г — единицы наименьшей декады или ступени поверяемого плеча моста—превосходит двадцатикратное значение вариации, допускаемой для этого плеча, тогда гальванометр следует заменить милливольтметром, а в цепь поверяемого плеча включить амперметр; установив силу тока порядка 0,5—1я, определяют сопротивление плеча при нулевом его показании по показаниям милливольтметра и амперметра, как г0 =
Вариация сопротивления плеч со значениями 10? определяется при поверке этих плеч путем повторных измерений их сопротивлений после изменений положений переключателей и возвращения их в прежние положения, а также после постукивания по ним.
-
49. В одинарных мостах должно быть измерено сопротивление проводников, соединяющих их зажимы для присоединения измеряемого сопротивления с узловыми точками моста. Это сопротивление при точнух измерениях должно вычитаться из исправленных показа ний моста. Измерения производят, соединяя зажимы X друг с другом медной перемычкой сечением не менее 4 мм2 и определяя сопротивление Гх этого плеча (между узловыми точками) компенсационным методом или методом двойного моста.
Сопротивление гх„ не должно превышать значений, допускаемых для сопротивления плеч при нулевом показании (см. значение С табл. 3).
в) Метод комплектной поверки мостов постоянного тока
-
50. Одинарные мосты классов 0,5 и 1,5, не имеющие зажимов для наружного гальванометра, подвергают комплектной поверке, определяя результирующую погрешность моста в целом.
С этой целью между зажимами X поверяемого моста включают образцовый магазин сопротивлений, включают питающую мост батарею и производят поверку моста путем установки на нем ряда показаний и уравновешивания его каждый раз путем подбора требуемых для этого значений сопротивления образцового магазина.
Подробное описание комплектной поверки мостов постоянного тока дано в разд. Е настоящей инструкции, пп. 61 и 62.
-
51. Реохордные двойные мосты классов 0,5 и 1,5, как правило, всегда имеют зажимы для наружного гальванометра и поэтому могут поверяться путем измерения сопротивления отдельных плеч или их отношений.
Д. ПОДГОТОВКА к поверке
а) Наружный осмотр
-
52. Перед поверкой производится наружный осмотр мостов, имеющий целью установить, нет ли в них дефектов, препятствующих нормальному применению прибора, либо могущих повести к ошибкам при измерениях или к дальнейшей порче прибора.
К таким дефектам относятся: отсутствие комплекта штепселей; неисправность рычажных переключателей; несоответствие штепселей штепсельным гнездам; нахождение внутри прибора незакрепленных частей, обнаруживаемых на слух при потряхивании или опрокидывании прибора; недостаточно прочно укрепленное, разбитое или имеющее трещину стекло гальванометра или шкалы реохорда; испорченный корректор, не допускающий установки указателя гальванометра на нуль; отклеившаяся или покоробленная шкала гальванометра или испорченное зеркало, в случае зеркальной шкалы; трещины или повреждения на корпусе моста; отсутствие на мосте заводского номера; общая загрязненность прибора.
б) Опробование исправности схемы
-
53. После наружного осмотра производится опробование всех рычажных и штепсельных переключателей, кнопок, ключей и устройств для преобразования схемы, если они имеются. Для этого мост включают в цепь тока так же, как при обычном его использовании, и производят пробные измерения сопротивления при различных положениях оперативных элементов, имеющие целью выяснить, нет ли в электрической схеме моста обрывов и неправильных соединений
-
54. Перед поверкой моста все его рычажные переключатели должны быть несколько раз прокручены, все штепсели должны быть провернуты в гнездах с достаточным, но не чрезмерным налимом
Е. ПРОВЕДЕНИЕ ПОВЕРКИ
-
55. После наружного осмотра, опробования исправности схемы, выбора метода поверки и подготовки требуемой образцовой аппаратуры, приступают к самой поверке плеч моста путем поэлементной поверки или к комплектной поверке моста в целом.
Поверка должна производиться в помещениях с температурой, лежащей в пределах, указанных в табл. 7.
Таблица 7
Классы мостов |
Допустимые пределы температуры |
0,02 |
18—22“ С |
0,05 и 0,1 |
15-25“ С |
0,5 и 1,5 |
15—35“ С |
-
56. Поэлементная поверка плеч магазинного моста производится в следующем порядке:
а) Измеряют сопротивление плавно регулируемого плеча при его нулевом показании, а также вариации значения этого сопротивлении (см. п. 48). Сравнивают полученные значения с допустимыми, вычисленными согласно пп. 33 и 34 настоящей инструкции. Если измеренные при поверке значения превысят допустимые, то мост признается непригодным к применению и дальнейшая поверка его прекращается.
б) Производят поверку всех сопротивлений, образующих плавно регулируемое плечо, пользуясь одним из методов, описанных в пп. 44 , 45 и 46.
Если поверка производится путем измерения сопротивления отдельных катушек магазина с использованием потенциальных винтов или штепселей, то ток к поверяемому магазину подводят так, чтобы точки подвода тока лежали вне поверяемой декады катушек.
Если поверка производится путем измерения нарастающих значений сопротивления, то ток подводят к точкам, лежащим вне поверяемого плеча, а потенциальные провода присоединяются к тем узловым точкам моста, между которыми включено поверяемое плечо. Во всех случаях желательно пользоваться раздельными токовыми и потенциальными зажимами для того, чтобы в результат измерения не входило сопротивление соединительных проводов с поверяемым плечом моста, как внешних, так и входящих во внутреннюю схему поверяемого моста.
в) Производят поверку плеч отношения. В случае плеч отношения, допускающих различные их взаимные сочетания (см. рис. 7, 8 и 10), производится поверка каждого плеча в отдельности и при этом определяются абсолютные значения сопротивления плеч.
Поверяемое плечо включается в измерительную схему так, чтобы измерялось сопротивление между ограничивающими это плечо узловыми точками поверяемого моста.
Вариацию сопротивления плеч измеряют попутно с поверкой этих плеч при наименьших значениях их, путем повторных измерений после изменений и восстановлений положений переключающих устройств в цепи поверяемого плеча.
-
57. Если плечи отношения поверяемого моста образованы одним общим сопротивлением с отпайками для переключения частей сопротивления из одного плеча в другое (см. рис. 9), то в этом случае отношение плеч может быть поверено либо путем измерения абсолютного 'значения сопротивления секции, как и в предыдущем случае, либо более непосредственно — путем уравновешивания моста при включенной в качестве измеряемого сопротивления образцовой катушке с подходящим номинальным значением; при этом должно быть учтено сопротивление проводников, которыми катушка присоединена к узловым точкам моста, а также погрешности сравнительного плеча моста.
-
58. Реохорднос сравнительное сопротивление при поэлементной поверке реохордных двойных мостов со ступенчато-изменяемыми плечами отношения должно быть поверено при помощи потенциометра или двойного моста на всех числовых отметках шкалы этого сопротивления в пределах его основных значений.
-
59. Реохордные плечи отношения при поэлементной поверке реохордных мостов со ступенчато-изменяемыми сравнительными сопротивлениями поверяются также при помощи потенциометра, но при этом определяют непосредственно отношения падений напряжения на двух участках реохорда, образующих плечи.
Если реохорд снабжен удлинительными сопротивлениями, то падения напряжения на них должны также входить в результаты измерения. Поверка реохордов производится на всех числовых отметках их шкал, соответствующих основным значениям этих плеч.
п.. 60,: Одинарные мосты классов 0,5 и 1,5, не имеющие зажимов для наружного гальванометра, должны подвергаться, как это уже ука-? зывалось (в п.;50), комплектной поверке.
»
Однопредельные мосты этих тигтов должны поверяться на всех числовых отметках их плавно регулируемого элемента, в пределах ’го основных значений, при показаниях моста, не выходящих за рабочую область его показаний (см. табл. 4). Магазинные мосты поверяются при этом при всех показаниях каждой из декад наибольшего сопротивления плавно регулируемого плеча в пределах его основных значений и, кроме того, при показаниях, составленных из:
а) наименьшего показания в пределах основных значений и
б) всех показаний остальных декад меньшего сопротивления, взятых по очереди.
-
61. Комплектная поверка мостов, имеющих два переменных элемента (случаи «а» и «б» п. 16), производится в следующем порядке.
а) При одном из значений ступенчато-изменяемого элемента производится поверка моста при всех числовых значениях (или числовых отметках шкалы) его плавно регулируемого элемента, в пределах основных значений последнего — совершенно подобно поверке однопредельного моста. Значение ступенчато-изменяемого элемента выбирается при этом таким, чтобы значения измеряемого (в данном случае — образцового) сопротивления не выходили за пределы рабочей области показаний моста (см. п. 37).
б) Результаты поверки записываются в протокол поверки (см. приложение 2). Там же записываются подсчитываемые по этим данным значения относительных (в процентном выражении) погрешностей моста, а также — в соседней графе — относительные (процентные) допустимые погрешности.
в) Если ни для одного из поверенных показаний моста погрешность не выйдет за пределы, допустимые для данного моста (в проливном случае мост бракуется и его поверка прекращается), то в ^протоколе отмечают те два показания, при которых относительные погрешности моста наиболее приблизились к соответствующим допустимым погрешностям: при одном из этих двух показаний—к положительному значению допустимой погрешности, при другом — к отрицательному значению допустимой погрешности.
Поверка моста на остальных его пределах измерения производится уже только при этих двух отмеченных отсчетах по его плавно регулируемому плечу. Если при этом погрешности моста не превзойдут допустимого значения, мост признается пригодным для применения <по соответствующему классу точности.
Если при указанной поверке на других пределах показания моста, соответствующие одному или обоим из выбранных отсчетов, окажутся вне рабочей области показаний моста (см. п. 37), то замечают, какая область отсчетов по плавно регулируемому плечу соответствует при таком пределе измерения показаниям моста, не выходящим за пределы рабочей области показаний; результаты поверки, проведенной вначале на одном из пределов измерения моста при всех отсчетах его плавно регулируемого плеча, просматривают теперь только в этой области и отыскивают среди них показания моста , (одно или два) с погрешностями, наиболее близкими к допустимым;
I25
Г
s .
ь
япосле этого производят поверку моста при этих показаниях (соответствующих им отсчетах плавно регулируемого плеча) на том пределе, на котором первоначально выбранные отсчеты оказались соответствующими показаниям моста вне его рабочей области. )
-
62. Комплектная поверка мостов, имеющих три переменных элемента (случай «в» п. 16), производится согласно указаниям п. 61, но при этом число пределов измерения у такого моста принимается равным числу всех сочетаний, возможных из числа значений его отдельных ступенчато-регулируемых плеч отношения. Например, если каждое из плеч отношения поверяемого моста имеет по три различных номинальных значения — 10, 100, 1000 омов, то число пределов измерения такого моста, с точки зрения проведения его поверки, равно девяти, хотя некоторые из них, например, при отношениях плеч 100 : 10; 1000 : 100 или 100 : 100 и 1000 : 1000 и т. Дц имеют номинально одинаковые значения.
-
63. Методом комплектной поверки можно пользоваться и для
определения пригодности мостов низших классов точности (0,5 и 1,5), имеющих зажимы для наружного гальванометра, когда некоторые элементы моста уже поверены. .
-
64. Во всех случаях поверки сила тока как в поверяемых сопротивлениях, так и в образцовых мерах и приборах не должна превосходить значений, указанных для них; в случае отсутствия таких указаний, сила тока не должна превосходить значений, вызывающих выделение мощности 0,3 вт на одну катушку.
Ж. ОБРАБОТКА РЕЗУЛЬТАТОВ ПОВЕРКИ
-
65. При поверке мостов классов 0,02; 0,05 и 0,1 для всех поверенных точек вычисляются действительные значения сопротивлений плеч с учетом поправок к показаниям образцовых приборов, указанных в свидетельствах (потенциометра или моста и образцовых катушек сопротивления). Кроме того, должно быть вычислено значение сопротивления плеч при нулевом показании и вариации сопротивлений переключающих устройств. Если поверка декадных магазинов производилась путем измерения сопротивления отдельных ка-гушек декад (с применением потенциальных винтоз или штепселей), то должны быть подсчитаны суммы действительных значений сопротивления для всех показаний каждой декады.
Если измерялось общее сопротивление плеча между узловыми точками моста, то в каждый результат вошло сопротивление магазина при нулевом ето показании и значение этого сопротивления следует вычесть из всех результатов, так как в противном случае при суммировании табличных данных, например, для всех декад, образующих сопротивление плеча, сопротивление при нулевом показании войдет столько раз, сколько имеется декад в магазине.
-
66. При поверке мостов классов 0,5 и 1,5 с помощью образцовых
Если поверка производилась при помощи образцовых мер в приборов, имеющих тот же класс точности, что и поверяемый мост, го обязательно введение поправок к их показаниям.
При комплектной поверке необходимо вычислить относительные погрешности моста. . ■> ,<■
-
67. После вычисления действительных значений сопротивления плеч, если производилась поверка отдельных плеч, или действительных значений измеряемого сопротивления и относительной погрешности моста, если производилась комплектная поверка, производят округление и просмотр полученных результатов с целью определения пригодности моста и соответствия его обозначенному на нем классу точности. Округление результатов производят в соответствии с табл. 7.
-
68. Если на мосте не указаны допустимые погрешности, то для определения его класса точности пользуются признаками, указанными в п. 43. Если мост не удовлетворяет требованиям, предъявляемым к ориентировочно определенному по этим признакам классу точности, ему может быть присвоен следующий по порядку низший класс точности. Если погрешности моста превышают допустимые погрешности и дпя этого низшего класса точности, мост признают непригодным для применения.
3. ВЫДАЧА ДОКУМЕНТОВ О ПОВЕРКЕ И
КЛЕЙМЕНИЕ ПРИБОРОВ
-
69. Мосты классов 0,02; 0,05 и 0,1, удовлетворяющие требованиям, предъявляемым к ним данной инструкцией, пломбируются клеймом госповерителя и на них выдается свидетельство, в котором указывается класс точности моста, действительные значения сопротивлений плеч (или их отношений, если определялись непосредственно отношения плеч) и значения сопротивления при нулевом показании, •необходимые для вычисления поправок при практическом использовании моста, а также вариации переходного сопротивления переключающих устройств, определенные при поверке.
Форма записи в свидетельстве результатов поверки мостов классов 0,02; 0,05 и 0,1 приведена в приложении 5 для случая одинарных и в приложении 6 — для двойных мостов. В последнем случае в свидетельстве приводится формула для введения поправки, зависящей от сопротивления перемычки и неравенства парных плеч моста.
-
70. Мосты классов 0,5 и 1,5, удовлетворяющие требованиям данной инструкции, пломбируются клеймом госповерителя.
Мосты классов 0,5 и 1,5, удовлетворяющие требованиям данной инструкции, но не имеющие указаний о допустимых погрешностях, кроме пломбирования клеймом, снабжаются свидетельством, в котором указывается класс, установленный в соответствии с п. 43 данной инструкции и с результатами поверки моста. Форма записи в свидетельстве результатов поверки мостов этой категории привеле-‘ на в приложении 7.
Мосты, изготовленные до введения в действие данной инструкции, признаются годными к применению, если они удовлетворяют требованиям п. 52 настоящей инструкции и если погрешности, полу денные при поверке, не превышают допустимых для класса точности, соответствующего указанным на нем допустимым погрешно-■стям или присвоенного ему согласно п. 43.



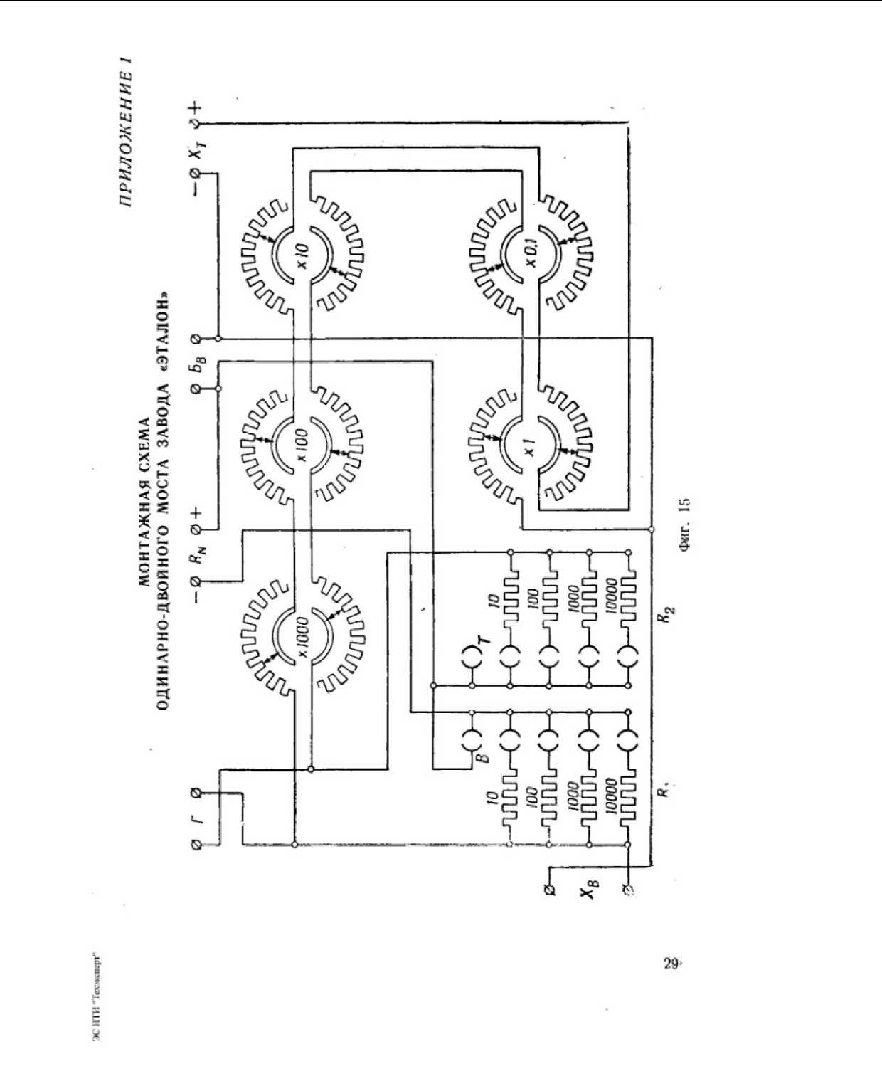
Пример поверки. Поверка одинарно-двойного моста типа МТВ-1 завода «Эталон»
На фиг. 15 представлена монтажная схема одинарно-двойного моста завода «Эталон».
Здесь Г — зажимы для присоединения наружного гальванометра;
— зажимы для присоединения потенциальных проводов от образцовой катушки при пользовании мостом в качестве двойного; Хт — то же, от измеряемого сопротивления;
Бв — зажимы для присоединения батареи при пользовании мостом в качестве одинарного;
Хв— зажимы для присоединения измеряемого сопротивления в схеме одинарного моста.
0 Г пра^

Фиг. 16
Мост состоит из двух пятидекадны? магазинов сопротивления, управляемых двойными рычажными переключателями таким образом, что номинальные значения включенных сопротивлений обоих магазинов всегда равны, и двух штепсельных магазинов с сопротивлениями 10, 100, 1000 и 10 000 омов. Кроме того, предусмотрен штепсельный контакт В для превращения схемы двойного моста в схему одинарного.
& 30
В соответствии со сказанным в п. 43 этот мост может быть ориентировочно отнесен к классу 0,05.
Та же схема, но в принципиальном виде, показана на фиг. 16, где сохранены прежние обозначения. Из нее видно, что «внешний» рычажный магазин используется в качестве одного из «внешних» плеч отношения в схеме двойного моста и не используется в схеме одинарного моста. В качестве второго «внешнего» плеча действует одно из сопротивлений Ri. В качестве «внутренних» плеч используется «внутренний» рычажный магазин и одно из сопротивлений магазина R?.
Плечами отношения одинарного моста служат сопротивления магазинов Ri и Rt, а сравнительным плечом — «внутренний» рычажный магазин.
Поверку сопротивления моста по схемам фиг. 15 и 16 производят с помощью потенциометра путем сравнения с образцовыми катушками. Поверяемые плечи включают как четырехзажимные сопротивления, используя в качестве токовых и потенциальных зажимов зажимы, указанные в нижеприведенной табл. 8.
Таблица 8
Поверяемое плечо |
Положение в схемах |
Токовые зажимы |
Потенциальные зажимы |
Примечание |
Л |
Числитель отношения |
С прав. |
X нижн. |
Штепсель В |
одинарного моста и |
Г лев. |
вставлен, | ||
знаменатель отношения «внешних* плеч двойного моста |
/?2=10 ом | |||
я» |
Знаменатель отноше- |
/’прав. |
+Rn |
Штепсель В |
ния одинарного моста |
Г лев. |
•Хверхи. |
вставлен, | |
и знаменатель огноше- |
/?, = 10 ом. | |||
ния «внутренних* плеч |
Показание | |||
двойного моста |
рычажного магазииа=0 | |||
.Внешний* |
Числитель отношения |
-Унижи. |
Г прав. | |
рычажный |
«внешних* плеч двои- |
+^Т |
+Хт | |
магазин |
ного моста | |||
«Внутрен- |
Сравнительное плечо | |||
ний* ры- |
одинарного моста и |
Г лея. |
4-Ял' |
J?j=10 ом |
чажный |
числитель отношения |
—Лт |
Авсрхн. | |
магазин |
«внутренних* плеч двойного моста | |||
Примечание. Помимо измерения самих сопротивлений плеч, в соотист-стзии с п, 56 должны быть проконтролированы вариации переходных сопротивлений штепсельных и щеточных контактов и измерены сопротивления при нулевых показаниях рычажных магазинов.

U
г
ПРИЛОЖЕНИЕ 2
ФОРМА ПРОТОКОЛА ПРИ ПОВЕРКЕ МОСТОВ ПО ЭЛЕМЕНТАМ
ПРОТОКОЛ №
Мост постоянного тока №
__изготовленный
тип
класс
представленный в поверку по документу
Образцовая аппаратура;
Отсчет
Номинальные значения в омах
Показания образцовых приборов
Действительные значения в абсолютных омах
Погрешности абсолютные или относительные
Температура °C

Температура
Поверял
32
195—г.
ПРИЛОЖЕНИЕ 3
ФОРМА ПРОТОКОЛА ПРИ КОМПЛЕКТНОЙ ПОВЕРКЕ
ОДНОПРЕДЕЛЬНЫХ МОСТОВ
ПРОТОКОЛ №-------
Мост постоянного тока № -------------------------;--------------------
изготов л е нн ы й ___- --
т и п-----—— --класс--------------------------
представленный в поверку -----
по документу______№--
Образцовая аппаратура:---
Показание поверяемого моста |
Действительные значения измеряемого сопротивления (по образцовому магазину) |
Абсолютная погрешность моста |
Относительная погрешность моста |
Допустимая относительная погрешность |
- ... - | ||||
Тем пература-----------°C.
Поаерял----------

195—г_
33
ПРИЛОЖЕНИЕ 4
ФОРМА ПРОТОКОЛА ПРИ КОМПЛЕКТНОЙ ПОВЕРКЕ
МНОГОПРЕДЕЛЬНЫХ МОСТОВ
ПРОТОКОЛ №—------
Мост постоянного тока №__________j_____:
и з г ото вл е п к ы й____- •
т и п-------------------------------класс-------
представленный в поверку------
по документу ----------------------------------- №------
Образцовая аппаратура:_______________________________________
П оверял.----------
---195- г.

Отсчет по переменному плечу |
Показания моста |
Действительные значения измеряемого сопротивления по образцовому магазину |
Абсолютная погрешность моста |
Относительная погрешность моста |
Допустимая относительная погрешность |
1 |
I. Предел измерения <.........
........— | |||||
II. Предел измерения < . . . ......>
III. Преде. |
т измерения < . |
1 |
. * , > | ||
IV. Преде |
л измерения « |
. . . * | |||
ПРИЛОЖЕНИЕ 5
ФОРМА ЗАПИСИ
В СВИДЕТЕЛЬСТВАХ РЕЗУЛЬТАТОВ ПОВЕРКИ ОДИНАРНЫХ МОСТОВ КЛАССОВ 0,02; 0,05 и 0,1
Результаты государственной поверки
Плечо
(пояснение, к какому плечу относятся результаты)
Отсчет
Номинальные значения сопротивления в омах
Действительные значв' ния сопротивления в абс. омах
Декаде .X —

Сопротивление плеча
при нулевом показании равно
ом. Это значение следует прибавлять к полному значе-
иию
показаний, исправленному по вышеприведенной таблице.
Вариация сопротивления плеча
при нулевом покяза-
с е-
/д
НИИ
3*
равна
----- —ом.
35
П рсдолжсние
Плечо---
Отсчет |
Номинальные значения сопротивления в омах |
Действительные значения сопротивления ' в абс. омах |
1 | ||
1 |
Вариация сопротивления плеча----------равна------—ом.
Плечо------------
Отсчет |
Номинальные значения сопротивления в омах |
Действительные значения сопротивления в абс. омах |
Вариация сопротивления плеча----------равна----------ом.
Сопротивление плеча для включения измеряемого сопротивления при нулевом значении последнего (/?Л0) равно-----------ом.
Действительное значение сопротивления, измеренного при помощи моста, определяется по формуле:
/?х = /?,_§ -/?х0
«а
Поверка произведена при температуре——
Подписи--------------------
| *.------•-------------------195—г.
8
Плечо
ПРИЛОЖЕНИЕ 6
ФОРМА ЗАПИСИ
В СВИДЕТЕЛЬСТВАХ РЕЗУЛЬТАТОВ ПОВЕРКИ
ДВОЙНЫХ МОСТОВ КЛАССОВ 0,02; 0,05 и 0,1
Результаты государственной ловеркш
(пояснение, к какому плечу относятся результаты)
Отсчет
Номинальные значения сопротивления в омах
Действительные значения сопротивления в абс. омах
Декада »Х-

Сопротивление плеча
__при нулевом показании ранно
___ом. Это значение следует прибавлять к полному значению
показаний, исправленному ио вышеприведенной таблице.
Вариация сопротивления плеча
при нулевом покази-
пии равна
ом.
Продолжение
Плечо____—____(пояснение)
Отсчет
Номинальные значения сопротивлениях в омах
Действительные значения сопротивления в абс. омах
Декада ,Х
Декада ,Х-------
Декада .X-------*
и т. д.
Сопротивление плеча_____________________при нулевом показании равно
-------ом. Это значение следует прибавлять к полному значению
показаний, исправленному в вышеприведенной таблице.
Вариация сопротивления плеча ________ при нулевом показа-
нии равна--- ---ом.
Плечо--------- -----(пояснение)
Отсчет |
Номинальные значения сопротивления в омах |
Действительные значения сопротивления в абс. омах |
Вариация сопротивления плеча равна----------ом.
I ЗВ
X
_ы
Г
s
Плечо
(пояснение)
Отсчет
Номинальные значения сопротивления в омах
Вариация сопротивления плеча-
Продолжение
Действительные значения сопротивления в абс. омах
---.равна
- ом.
Действительное значение сопротивления, измеренного при помощи моста, определяется по формуле:

/гя fR'-R’' -
+ ЯлЛ /?1 fl, J
омов.
где:
Rn — значение сравнительного сопротивления;
/?, — значение сопротивления .внешнего* плеча, примыкающего к Rx; R\— то же, .внутреннего" плеча, примыкающего к Rx‘,
R3 —значение сопротивления .внешнего" плеча, примыкающею к /?,у; /?'2 — то же, внутреннего* плеча, примыкающего к Лу;
Rn — значение сопротивления перемычки между сопротивлениями
Rx и rn.
Значение Rx в правой части формулы ~ приближенное, равное
Ri
Поверка производилась при температуре
Подписи------
ПРИЛОЖЕН HE 7
ФОРМА ЗАПИСИ
В СВИДЕТЕЛЬСТВЕ РЕЗУЛЬТАТОВ ПОВЕРКИ МОСТОВ, НА КОТОРЫХ НГ: ОБОЗНАЧЕНЫ ДОПУСТИМЫЕ ПОГРЕШНОСТИ
Мост постоянного тока № - . - - ■--------------
признан удовлетворяющий требованиям инструкции №---
Комитета, предъявляемым к мостам класса - —.... — ..
Подпись — ... — .........
(гос. иоиеритед?)
№--------- ----

40-
Внимание! Документ недействующий
ИС «Техэксперт: 6 поколение» Интранет
В дальнейшем для краткости изложения «мосты (или мост) постоянного тока» заменяются на «мосты (или мост)».
Полагая, что сила тока / в этих обоих случаях остается практически неизменной (с точностью до 3—5%).