Методика поверки «Измерители перемещений (деформаций) УИД» (МП-ТМС-005/18)
УТВЕРЖДАЮ
;лЬ/Департамента

Али-Заде
Государственная система обеспечения единства измерений
Измерители перемещений (деформаций) УИД
Методика поверки
МП-ТМС-005/18 г. Воскресенск 2018 г.
Предисловие
Разработана: ООО «ТМС РУС»

Настоящая методика распространяется на измерители перемещений (деформаций) УИД (далее по тексту - измерители), изготавливаемые ООО «Тестсистемы», г. Иваново и устанавливает методы и средства их первичной и периодической поверки.
Интервал между поверками - 1 год.
-
1 Операции поверки
При проведении поверки должны быть выполнены операции, указанные в таблице 1
Таблица 1 - Операции поверки
Наименование операции |
Номер пункта методики поверки |
Проведение операции при | |
первичной поверке |
периодической поверке | ||
Внешний осмотр |
7.1 |
да |
да |
Опробование |
7.2 |
да |
да |
Идентификация программного обеспечения |
7.3 |
да |
да |
Определение метрологических характеристик |
7.4 | ||
Определение отклонения установки начальной расчётной длины образца (базовой длины) |
7.4.1 |
да |
да |
Определение абсолютной погрешности измерений перемещений |
7.4.2 |
да |
да |
-
2 Средства поверки
При проведении поверки должны применяться средства, указанные в Таблице 2.
Таблица 2 -Средства поверки
Номер пункта методики |
Наименование и тип (условное обозначение) основного или вспомогательного средства поверки; обозначение нормативного документа, регламентирующего технические требования, и (или) метрологические и основные технические характеристики средства поверки |
1 |
2 |
5 |
- Термогигрометр Ива-бН-Д, диапазоны измерений: от минус 20 до плюс 50 °C, от 0 до 98 %, от 700 до 1100 гПа, ПГ: ±0,3 °C; ±2 %, ±2,5 гПа |
7.4.1 |
|
7.4.2 |
|
Средства измерений, применяемые при поверке, должны иметь действующие свидетельства о поверке.
Допускается применение аналогичных средств поверки, обеспечивающих определение метрологических характеристик поверяемых СИ с требуемой точностью.
3 Требования к квалификации поверителейК проведению поверки допускаются лица, аттестованные в качестве поверителей в установленном порядке.
4. Требования безопасности-
4.1 При проведении поверки необходимо соблюдать:
-
- требования безопасности при проведении электрических испытаний и измерений согласно ГОСТ 12.3.019-80 «ССБТ. Испытания и измерения электрические. Общие требования безопасности»»;
-
- «Правила по охране труда при эксплуатации электроустановок»;
-
- требования безопасности, указанные в эксплуатационной документации на средства измерений.
-
4.2 К поверке допускаются лица прошедшие инструктаж по технике безопасности при работе на электроустановках.
-
- температура окружающей среды, °C от 10 до 30
-
- изменение температуры окружающей среды во время поверки, °C, не более
-
- относительная влажность воздуха, %, не более от 45 до 80
-
- атмосферное давление, кПа от 84 до 106
6.1. Перед проведением поверки поверитель должен изучить настоящую методику поверки и эксплуатационные документы, входящие в комплект поставки измерителя, а также эксплуатационные документы применяемых средств поверки.
-
6.2 Перед поверкой измеритель должен быть установлен на испытательной машине с величиной перемещения подвижной траверсы, обеспечивающую полный измерительный диапазон измерителя, на поворотном кронштейне и находиться во включённом состоянии не менее 30 минут.
-
6.3 Перед проведением поверки средства поверки должны быть выдержаны в помещении вблизи измерителя не менее 4 часов.
-
7.1 Внешний осмотр
При проведении внешнего осмотра измерителя установить:
-
- наличие маркировки с указанием модификации, заводского номера, года выпуска и предприятия изготовителя;
-
- отсутствие механических повреждений и дефектов, влияющих на его работоспособность;
-
- наличие надёжного соединения корпуса измерителя с контуром заземления;
-
- отсутствие повреждений изоляции токопроводящих кабелей;
-
- соответствие комплектности с руководством по эксплуатации;
-
- наличие неповреждённой пломбы или наклейки на пульте оператора.
Результат поверки по данному пункту настоящей методики поверки считают положительным, если выполнены все установленные требования.
-
7.2 Опробование
Опробование измерителя произвести вручную.
При опробовании убедиться в том, что измеритель обеспечивает:
-
- плавное перемещение измерительных кареток в обоих направлениях;
-
- обнуления показаний системы измерения перемещений (деформаций);
-
- изменение показаний при перемещении кареток измерителя.
Результат поверки по данному пункту настоящей методики поверки считают положитель ным, если выполнены все установленные требования.
-
7.3 Идентификация программного обеспечения
Идентификация программного обеспечения (далее - ПО) осуществляется при включении измерителя, а также информация может быть вызвана через меню ПО, при этом на дисплее пульта оператора отображаются идентификационное наименование номер версии ПО, которые должны соответствовать данным, указанным в таблице 3.
При несоответствии наименования ПО и номера версии метрологически значимой части ПО, указанного в таблице 3, поверка не проводится.
Таблица 3 - Идентификационные данные ПО
Идентификационные данные (признаки) |
Значение |
Идентификационное наименование ПО |
TestProf II |
Номер версии (идентификационный номер) ПО |
P_l.01Q.XX* |
* Цифры после точки в номере версии относятся к метрологически незначимой части и при поверке не учитываются.
-
7.4 Определение метрологических характеристик
-
7.4.1 Определение отклонения установки начальной расчётной длины образца (базовой длины)
-
7.4.1.1 Отклонение установки базовой длины определить в пяти точках распределенных по диапазону измерений включая точку 10 мм и точку, соответствующую верхней границе диапазона установки базы измерительной (например - 10,20, 25, 50 и 100 мм).
-
7.4.1.2 Предварительно необходимо определить среднее значение толщины верхнего и нижнего ножей. Для чего выполнить измерения в следующей последовательности:
-
-
-
- измерить штангенциркулем в нескольких точках толщину верхнего hm и нижнего hHH ножей в рабочей зоне и из полученных значений вычислить среднее арифметическое значение толщины верхнего heH и нижнего hHH ножей;
-
- вычислить среднее значение толщины ножей верхнего и нижнего по формуле (1).
где hH - средняя толщина ножей верхнего и нижнего, мм
hm - средняя арифметическая толщина ножа верхнего, мм;
hm - средняя арифметическая толщина ножа нижнего, мм.
-
7.4.1.3 Определение отклонения установки базовой длины 10 мм выполнить в следующем порядке:
- свести каретки до контакта;
- с помощью штангенциркуля измерить расстояние между верхней плоскостью верхнего ножа и нижней плоскостью нижнего ножа в рабочей зоне три раза (рисунок 1) и вычислить среднее арифметическое значение Lu.
ТАЛА. Вычислить действительное значение установленной базовой длины по формуле (2).
(2),
где Б - действительное значение установленной базовой длины, мм.
7.4.1.5 Определение отклонения установки базовой длины 20 мм выполнить в следующем порядке:
-
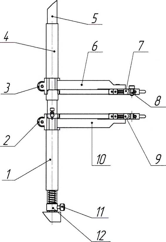
- опустить нижнюю каретку 10 (приложение А) до упора с втулкой 12;
-
- установить на верхнюю плоскость нижнего зажима 9 шаблон с маркировкой 20 мм;
-
- опустить верхнюю каретку 6 до соприкосновения нижней плоскостью верхнего зажима с верхней плоскостью шаблона;
-
- ослабить винт 3 переместить втулку 4 вниз до упора с торцом втулки 1 и закрепить ее винтом 3;
-
- с помощью штангенциркуля измерить расстояние между верхней плоскостью верхнего ножа и нижней плоскостью нижнего ножа в рабочей зоне три раза (рисунок 2) и вычислить среднее арифметическое значение Lu.
-
- вычислить действительное значение установленной базовой длины по формуле 2. Аналогичным образом выполнить измерения для базовых длин 25, 50,100 мм.
Рисунок 1- Схема поверки установки базовой длины 10 мм

Рисунок 2 - Схема поверки установки базовой длины свыше 10 мм
Примечание: определение отклонения установки базовой длины в случае отсутствия шаблонов, произвести с применением мер длины концевых плоскопараллельных (далее - концевых мер). Длина применяемой концевой меры должна быть на 10 мм меньше устанавливаемой базовой длины.
7.4.1.6 Отклонение установки базовой длины вычислить по формуле (3).
^б=Б-Бн, (3),
где Дб- отклонение установки базовой длины, мм
Б - среднее арифметическое значение установленной базовой длины, мм;
Бн - номинальное значение установленной базовой длины, мм.
Результат поверки по данному пункту настоящей методики поверки считают положительным, если отклонение установки базовой длины не превышает ±0,5 мм.
7.4.2 Определение абсолютной погрешности измерений перемещений
-
7.4.2.1 Определение абсолютной погрешности измерений перемещений произвести тремя независимыми сериями при прямом и обратном перемещении кареток.
Допускается проводить измерения в малых интервалах при любом положении кареток, достаточном для воспроизведения интервала.
Интервалы поверки:
-
- от 0 до 10 мм включ.;
-
- св. 10 до 100 мм включ.;
-
- св. 100 до 700 (1000) мм.
В каждом интервале измерения произвести в пяти точках равномерно распределённых по интервалу поверки.
-
7.4.2.2 Определение абсолютной погрешности измерений перемещений произвести с применением концевых мер методом сравнения показаний измерителя с номинальным значением концевых мер.
Определение абсолютной погрешности измерений перемещений (деформаций) выполнить в следующем порядке:
-
- переместить подвижную траверсу машины в среднее положение относительно измерителя;
-
- поместить нижнюю каретку измерителя на стол подвижной траверсы машины;
-
- для фиксации положения нижней каретки поместить на нижнюю каретку груз массой не более 90 г (допустимо использовать шаблон 50 мм из комплекта поставки);
-
- ввернуть опорный винт с шариком 8 (приложение А) в зажим верхней каретки до упора;
-
- поместить на верхнюю плоскость зажима верхней каретки гири массой 30 г, для обеспечения прижимного усилия;
-
- переместить верхнюю каретку до соприкосновения опорного винта 8 с нижней кареткой (сфера опорного винта 8 в верхнем зажиме 7 должна соприкасаться с верхней плоскостью нижнего зажима 9, для чего верхнюю каретку слегка повернуть вокруг оси направляющей 5, чтобы опорный винт не попал в отверстие зажима нижней каретки);
-
- обнулить показания измерителя;
-
- приподнять верхнюю каретку и поместить концевую меру, соответствующую первой поверяемой точке между верхней плоскостью корпуса нижнего зажима и сферой опорного винта 8 верхней каретки;
-
- переместить верхнюю каретку до соприкосновения опорного винта 8 с концевой мерой;
-
- считать показания с дисплея пульта оператора измерителя;
-
- убрать концевую меру;
-
- произвести перемещение траверсы машины в нижнее положение на расстояние равное —1/2 приращения перемещения до второй поверяемой точки;
-
- приподнять верхнюю каретку и поместить концевую меру, соответствующую второй поверяемой точке, между верхней плоскостью корпуса нижнего зажима и сферой опорного винта 8 верхней каретки;
-
- переместить верхнюю каретку до соприкосновения опорного винта 8 с концевой мерой;
-
- считать показания с дисплея пульта оператора;
-
- аналогичным образом произвести измерения в остальных поверяемых точках. Абсолютную погрешность измерений перемещений (деформаций) вычислить по формуле (4).
- Lun — LH, (4),
где Д„ - абсолютная погрешность измерений перемещений (деформаций), мм,
- среднеарифметическое значение из трёх серий измерений перемещений измерителя, мм;
LH - номинальное значение длины концевой меры, мм.
Повторить процедуру в противоположном направлении перемещения кареток подобным образом.
-
7.4.2.2 Допускается определение абсолютной погрешности измерений перемещений (деформаций) в интервалах перемещений от 100 до 700 (1000) мм включительно производить с применением штангенциркуля методом сравнения показаний измерителя с показаниями штангенциркуля.
Определение абсолютной погрешности измерений перемещений (деформаций) выполнить в следующем порядке:
-
- вывернуть опорный винт с шариком 8 (приложение А) из зажима верхней каретки;
-
- переместить верхнюю каретку до соприкосновения с нижней кареткой корпусами зажимов;
-
- поместить на верхнюю плоскость зажима верхней каретки гири массой 30 г, для обеспечения прижимного усилия;
-
- обнулить отсчётную систему;
-
- установить на штангенциркуле расстояние равное первой поверяемой точке и закрепить рамку штангенциркуля;
-
- произвести перемещение траверсы машины в нижнее положение на расстояние равное —1/2 измеряемого перемещения;
-
- приподнять верхнюю каретку и установить штангенциркуль между верхней плоскостью нижнего зажима и нижней плоскостью верхнего зажима;
-
- считать показания с дисплея пульта оператора;
-
- убрать штангенциркуль;
-
- установить на штангенциркуле расстояние равное следующей поверяемой точке и закрепить рамку штангенциркуля;
-
- произвести перемещение траверсы машины в нижнее положение на расстояние равное —1/2 приращения перемещения до второй поверяемой точки;
-
- приподнять верхнюю каретку и установить штангенциркуль между верхней плоскостью нижнего зажима и нижней плоскостью верхнего зажима;
-
- считать показания с дисплея пульта оператора;
-
- аналогичным образом произвести измерения в остальных поверяемых точках. Абсолютную погрешность измерений перемещений (деформаций) вычислить по формуле (5).
~ Ьш, (5),
где Д„ - абсолютная погрешность измерений перемещений (деформаций), мм,
Lun - среднеарифметическое значение из трёх серий измерений перемещений измерителя, мм;
Ьш - показания штангенциркуля, мм.
Повторить процедуру в противоположном направлении перемещения кареток подобным образом.
Результат поверки по данному пункту настоящей методики поверки считают положительным, если погрешность измерений перемещений не превышает значений ±(0,02+0,002 L) мм, где L измеренное перемещение в мм.
-
8. Оформление результатов поверки.
Результаты поверки заносятся в протокол поверки. Форма протокола произвольная.
При положительных результатах поверки выдается свидетельство о поверке установленной формы в соответствии с Порядком проведения поверки средств измерений, требованиями к знаку поверки и содержанию свидетельства о поверке, утверждённому приказом Минпромторга России от 02 июля 2015 года№ 1815. Знак поверки наносится в свидетельство о поверке.
На основании отрицательных результатов поверки измеритель признаётся несоответствующим установленным в описании типа метрологическим требованиям и непригодным к применению. Отрицательные результаты поверки оформляются выдачей извещения о непригодности в соответствии с Порядком проведения поверки средств измерений, требованиями к знаку поверки и содержанию свидетельства о поверке, утверждённому приказом Минпромторга России от 02 июля 2015 года№ 1815.
Главный специалист по метрологии
ООО «ТМС РУС»

Е.В. Исаев
(обязательное)

1 - втулка; 2 - винт; 3 - винт; 4 - втулка; 5 - направляющая, 6 - верхняя каретка; 7 - верхний зажим; 8 - опорный винт с шариком; 9 - нижний зажим; 10 - нижняя каретка; И - винт; 12 -втулка.
10