Номер по Госреестру СИ: 81590-21
81590-21 Нефелометры
(FD70)
Назначение средства измерений:
Нефелометры FD70 предназначены для автоматических измерений метеорологической оптической дальности (далее - МОД).

Внешний вид.
Нефелометры
Рисунок № 1

Внешний вид.
Нефелометры
Рисунок № 2

Внешний вид.
Нефелометры
Рисунок № 3
Общие сведения
Дата публикации - 18.05.2021
Срок свидетельства - 20.04.2026
Номер записи - 180798
ID в реестре СИ - 1387922
Тип производства - серийное
Описание типа
Поверка
Интервал между поверками по ОТ - 1 год
Наличие периодической поверки - Да
Методика поверки
Модификации СИ
Производитель
Изготовитель - Фирма "Vaisala Oyj"
Страна - ФИНЛЯНДИЯ
Населенный пункт -
Уведомление о начале осуществления предпринимательской деятельности - Да
Ярославль - город в России, административный центр Ярославской области. Население - 577 279 человек. Ярославль - третий по величине город в Центральном федеральном округе Российской Федерации. Город является транспортным узлом, от которого расходятся железнодорожные линии и автомобильные дороги в направлении Москвы, Вологды, Рыбинска, Костромы, Иванова и Кирова. В Ярославле также есть речной порт и аэропорт. Площадь города составляет 205 км².
В административном отношении Ярославль является центром не только области, но и Ярославского района, в который не входит. Он имеет статус города областного значения и образует городской округ город Ярославль с единственным населенным пунктом в его составе.
Ярославль является крупным промышленным центром. Машиностроение здесь представлено такими предприятиями, как моторный завод, электровозоремонтный завод, вагоноремонтный завод, электромашиностроительный завод, судостроительный завод и многие другие.
Значительное развитие получили нефтеперерабатывающая и химическая промышленность. В Ярославле в 1932 году был запущен первый в мире завод синтетического каучука. Сейчас в городе действуют нефтеперерабатывающий завод ОАО "Славнефть-Ярославнефтеоргсинтез", шинный завод, лакокрасочный завод "Русские краски", завод технического углерода, фармацевтический завод.
Также имеется ряд предприятий легкой (фабрика войлочной обуви, текстильная галантерея, швейная фабрика) и пищевой промышленности (завод молочных продуктов, пивоваренный завод компании "Балтика" - бывшего ОАО "Ярпиво" и др.), мебельные фабрики. В течение 2016 года прекратили свою деятельность старейшие предприятия города, расположенные в центре города - ликеро-водочный завод и табачная фабрика "Балканская звезда".
Отчет "Анализ рынка поверки в Ярославле" предоставляет исчерпывающую информацию по деятельности организаций, аккредитованных в Национальной системе аккредитации на право поверки средств измерений в городе Ярославль.
При проведении исследований были введены следующие ограничения:
- в отчете присутствуют организации с первичными или периодическими поверками от 100 шт. с 2017 года и действующими аттестатами аккредитации на текущий год;
- на первом и втором этапах фильтром отсекаются типы СИ с менее чем 10 поверками в год на организацию;
- на первом и втором этапах фильтром отсекаются типы СИ с менее чем 10 поверками в год на организацию;
- место регистрации или осуществления деятельности организаций должно совпадать с выбранным городом;
- топ типов СИ ограничен 500 позициями по каждой организации (сортировка по убыванию количества поверок);
- топ типов СИ ограничен 100 позициями по каждой организации при поиске по видам измерений (сортировка по убыванию количества поверок).
Содержание отчета:
- Список организаций-поверителей, осуществляющих поверку в городе Москва по данным ФСА и ФГИС АРШИН.
- Объемы первичных и периодических поверок за период с 2017г. по н.в.
- Информация о местах осуществления деятельности организаций-поверителей.
- Доля рынка поверок в % среди всех организаций, исследуемого города (предоставление информации в графическом и табличном видах).
- Детальный анализ по каждой из организации, работающей в выбранном городе.
- Анализ деятельности в разрезе первичных, периодических поверок и видов измерений.
- Количество поверок по типам СИ в динамике по годам.
- Индикация импортных аналогов средств поверки (в соответствии с ПЕРЕЧЕНЕМ СИ ОТЕЧЕСТВЕННОГО ПРОИЗВОДСТВА, АНАЛОГИЧНЫХ СРЕДСТВАМ ИЗМЕРЕНИЙ ИМПОРТНОГО ПРОИЗВОДСТВА от 09.2022г)
- Индикация типов СИ по ПП РФ №250 от 20.04.2010 г.
- Быстрый анализ контрагентов организаций-поверителей.
- Анализ цен на поверку СИ по Фед. округу.
Статистика
Кол-во поверок -
Выдано извещений -
Кол-во периодических поверок -
Кол-во средств измерений -
Кол-во владельцев -
Усредненный год выпуска СИ -
МПИ по поверкам - дн.
Приказы РСТ, где упоминается данный тип СИ
Наличие аналогов СИ: Нефелометры (FD70)
| ИМПОРТНОЕ СИ № в реестре, наименование СИ, обозначение, изголовитель |
ОТЕЧЕСТВЕННЫЙ АНАЛОГ № в реестре, наименование СИ, обозначение, изголовитель |
|---|
Все средства измерений Фирма "Vaisala Oyj"
|
№ в реестре cрок св-ва |
Наименование СИ, обозначение, изголовитель | ОТ, МП | МПИ |
|---|---|---|---|
|
14896-09 01.08.2014 |
Осадкомеры, RG13/RG13H Фирма "Vaisala Oyj" (ФИНЛЯНДИЯ ) |
ОТ |
1 год |
|
14896-15 19.08.2025 |
Осадкомеры, RG13/RG13H Фирма "Vaisala Oyj" (ФИНЛЯНДИЯ ) |
ОТ МП |
1 год |
|
15160-13 09.01.2018 |
Нефелометры, FD12/FD12P Фирма "Vaisala Oyj" (ФИНЛЯНДИЯ ) |
ОТ |
1 год |
|
30962-12 13.09.2017 |
Термогигрометры , HMT330 Фирма "Vaisala Oyj" (ФИНЛЯНДИЯ ) |
ОТ МП |
1 год |
|
31300-12 08.06.2017 |
Системы автоматизированные информационно-измерительные, ROSA Фирма "Vaisala Oyj" (ФИНЛЯНДИЯ ) |
ОТ |
1 год |
|
35222-13 14.05.2018 |
Измерители высоты облаков, CL31 Фирма "Vaisala Oyj" (ФИНЛЯНДИЯ ) |
ОТ |
1 год |
|
39803-08 01.01.2014 |
Станции погодные автоматические, MAWS Фирма "Vaisala Oyj" (ФИНЛЯНДИЯ ) |
ОТ |
1 год |
|
40333-09 01.05.2014 |
Метеостанции автоматические, WXT520 Фирма "Vaisala Oyj" (ФИНЛЯНДИЯ ) |
ОТ |
1 год |
|
40333-14 29.09.2019 |
Метеостанции автоматические, WXT520 Фирма "Vaisala Oyj" (ФИНЛЯНДИЯ ) |
ОТ |
1 год |
|
40357-09 01.05.2014 |
Преобразователи измерительные, QML201 Фирма "Vaisala Oyj" (ФИНЛЯНДИЯ ) |
ОТ |
1 год |
|
40357-16 06.04.2021 |
Преобразователи измерительные, QML201 Фирма "Vaisala Oyj" (ФИНЛЯНДИЯ ) |
ОТ МП |
1 год |
|
41103-09 01.09.2014 |
Преобразователи измерительные, QLI50 Фирма "Vaisala Oyj" (ФИНЛЯНДИЯ ) |
ОТ |
1 год |
|
41804-09 20.02.2020 |
Барометры цифровые, РТВ200 Фирма "Vaisala Oyj" (ФИНЛЯНДИЯ ) |
ОТ МП |
1 год |
|
42508-09 27.12.2024 |
Барометры цифровые, PTB330 Фирма "Vaisala Oyj" (ФИНЛЯНДИЯ ) |
ОТ МП |
1 год |
|
42591-09 27.12.2024 |
Измерители температуры дорожного покрытия дистанционные, DST111/DST111R Фирма "Vaisala Oyj" (ФИНЛЯНДИЯ ) |
ОТ МП |
1 год |
|
42933-09 01.01.2015 |
Осадкомеры, VRG101 Фирма "Vaisala Oyj" (ФИНЛЯНДИЯ ) |
ОТ |
1 год |
|
42936-09 01.01.2015 |
Преобразователи влажности измерительные, DMT242 Фирма "Vaisala Oyj" (ФИНЛЯНДИЯ ) |
ОТ |
1 год |
|
42937-09 11.03.2020 |
Измерители влажности и температуры, HMD/W60/70 Фирма "Vaisala Oyj" (ФИНЛЯНДИЯ ) |
ОТ МП |
1 год |
|
42938-09 27.12.2024 |
Преобразователи влажности измерительные, DMT340 Фирма "Vaisala Oyj" (ФИНЛЯНДИЯ ) |
ОТ МП |
1 год |
|
42939-09 01.01.2015 |
Измерители влажности и температуры, HMP45A, HMP45D, QMH102 Фирма "Vaisala Oyj" (ФИНЛЯНДИЯ ) |
ОТ |
1 год |
|
42940-09 01.01.2015 |
Анализатор влажности, HMT100 Фирма "Vaisala Oyj" (ФИНЛЯНДИЯ ) |
ОТ |
1 год |
|
42941-09 27.12.2029 |
Измерители влажности и температуры, HMP155 Фирма "Vaisala Oyj" (ФИНЛЯНДИЯ ) |
ОТ МП |
1 год |
|
43243-09 27.12.2024 |
Термометры сопротивления, DTS12A/G/W Фирма "Vaisala Oyj" (ФИНЛЯНДИЯ ) |
ОТ |
1 год |
|
43550-10 07.05.2020 |
Осадкомеры, QMR360, QMR370 Фирма "Vaisala Oyj" (ФИНЛЯНДИЯ ) |
ОТ |
1 год |
|
43636-10 07.05.2020 |
Преобразователи измерительные параметров дорожного покрытия дистанционные, DSC111 Фирма "Vaisala Oyj" (ФИНЛЯНДИЯ ) |
ОТ МП |
1 год |
|
44109-10 07.05.2020 |
Преобразователи измерительные, PTU300 Фирма "Vaisala Oyj" (ФИНЛЯНДИЯ ) |
ОТ МП |
1 год |
|
46677-11 |
Нефелометр, FS11 Фирма "Vaisala Oyj" (ФИНЛЯНДИЯ ) |
ОТ |
1 год |
|
46678-11 21.04.2016 |
Нефелометры, FS11 Фирма "Vaisala Oyj" (ФИНЛЯНДИЯ ) |
ОТ |
1 год |
|
46679-11 21.04.2016 |
Комплекты поверочные, FSA11 Фирма "Vaisala Oyj" (ФИНЛЯНДИЯ ) |
ОТ |
1 год |
|
48272-11 25.11.2016 |
Нефелометры, PWD Фирма "Vaisala Oyj" (ФИНЛЯНДИЯ ) |
ОТ |
1 год |
|
48273-11 |
Комплект поверочный, PWA11 Фирма "Vaisala Oyj" (ФИНЛЯНДИЯ ) |
ОТ |
1 год |
|
48274-11 |
Нефелометр, PWD Фирма "Vaisala Oyj" (ФИНЛЯНДИЯ ) |
ОТ |
1 год |
|
49775-12 05.05.2017 |
Преобразователи влажности измерительные, MMT330 Фирма "Vaisala Oyj" (ФИНЛЯНДИЯ ) |
ОТ |
1 год |
|
50509-12 08.06.2027 |
Преобразователи скорости и направления воздушного потока ультразвуковые, серии WMT700 Фирма "Vaisala Oyj" (ФИНЛЯНДИЯ ) |
ОТ МП |
1 год |
|
51832-12 21.11.2017 |
Термогигрометры , DM70 Фирма "Vaisala Oyj" (ФИНЛЯНДИЯ ) |
ОТ |
1 год |
|
51833-12 21.11.2017 |
Термогигрометры , HM70 Фирма "Vaisala Oyj" (ФИНЛЯНДИЯ ) |
ОТ |
1 год |
|
52052-12 14.12.2017 |
Преобразователи влажности и температуры, НМР110 Фирма "Vaisala Oyj" (ФИНЛЯНДИЯ ) |
ОТ |
1 год |
|
52053-12 14.12.2017 |
Преобразователи влажности и температуры, НМР60 Фирма "Vaisala Oyj" (ФИНЛЯНДИЯ ) |
ОТ |
1 год |
|
52054-12 14.12.2017 |
Измерители влажности и температуры, НМТ360 Фирма "Vaisala Oyj" (ФИНЛЯНДИЯ ) |
ОТ |
1 год |
|
52055-12 14.12.2017 |
Термогигрометры , НМТ120, НМТ130 Фирма "Vaisala Oyj" (ФИНЛЯНДИЯ ) |
ОТ |
1 год |
|
52372-13 |
Комплект поверочный, FDA12 Фирма "Vaisala Oyj" (ФИНЛЯНДИЯ ) |
ОТ |
1 год |
|
52373-13 |
Нефелометр, FD12 Фирма "Vaisala Oyj" (ФИНЛЯНДИЯ ) |
ОТ |
1 год |
|
53158-13 27.03.2029 |
Преобразователи скорости воздушного потока, WAA151/252 Фирма "Vaisala Oyj" (ФИНЛЯНДИЯ ) |
ОТ МП |
1 год |
|
53215-13 27.03.2029 |
Преобразователи направления воздушного потока, WAV151/252 Фирма "Vaisala Oyj" (ФИНЛЯНДИЯ ) |
ОТ МП |
1 год |
|
53272-13 27.03.2024 |
Трансмиссометры, LT31 Фирма "Vaisala Oyj" (ФИНЛЯНДИЯ ) |
ОТ |
1 год |
|
53378-13 09.04.2029 |
Преобразователи скорости и направления воздушного потока, WM30 Фирма "Vaisala Oyj" (ФИНЛЯНДИЯ ) |
ОТ МП |
1 год |
|
54494-13 08.08.2018 |
Нефелометры, FS11P Фирма "Vaisala Oyj" (ФИНЛЯНДИЯ ) |
ОТ |
1 год |
|
56676-14 10.01.2024 |
Станции портативные погодные автоматические, MAWS201M Фирма "Vaisala Oyj" (ФИНЛЯНДИЯ ) |
ОТ МП |
1 год |
|
57121-14 16.04.2019 |
Станции погодные автоматические, MAWS Фирма "Vaisala Oyj" (ФИНЛЯНДИЯ ) |
ОТ |
1 год |
|
57122-14 04.03.2024 |
Станции погодные автоматические, AWS430 Фирма "Vaisala Oyj" (ФИНЛЯНДИЯ ) |
ОТ МП |
1 год |
|
57123-14 04.03.2024 |
Станции дорожные автоматические метеорологические, RWS200 Фирма "Vaisala Oyj" (ФИНЛЯНДИЯ ) |
ОТ |
1 год |
|
58495-14 04.03.2024 |
Преобразователи параметров дорожного покрытия дистанционные, DSC211 Фирма "Vaisala Oyj" (ФИНЛЯНДИЯ ) |
ОТ |
1 год |
|
59926-15 27.12.2029 |
Станции погодные автоматические, AWS310 Фирма "Vaisala Oyj" (ФИНЛЯНДИЯ ) |
ОТ МП |
1 год |
|
61284-15 11.08.2021 |
Преобразователи измерительные, WT500 Фирма "Vaisala Oyj" (ФИНЛЯНДИЯ ) |
ОТ МП |
1 год |
|
62106-15 24.11.2025 |
Барометры, PTB110 Фирма "Vaisala Oyj" (ФИНЛЯНДИЯ ) |
ОТ МП |
1 год |
|
62404-15 25.11.2021 |
Измерители влажности и температуры, QMH102 Фирма "Vaisala Oyj" (ФИНЛЯНДИЯ ) |
ОТ МП |
1 год |
|
63901-16 12.05.2021 |
Системы дорожные автоматизированные метрологические, Patrol DSP310 Фирма "Vaisala Oyj" (ФИНЛЯНДИЯ ) |
ОТ МП |
1 год |
|
64140-16 06.06.2021 |
Датчики состояния поверхности дорожного полотна, DRS511 Фирма "Vaisala Oyj" (ФИНЛЯНДИЯ ) |
ОТ МП |
1 год |
|
64243-16 16.06.2026 |
Преобразователи измерительные, DL1016, DL1416, DL2000, DL4000 Фирма "Vaisala Oyj" (ФИНЛЯНДИЯ ) |
ОТ МП |
1 год |
|
64786-16 26.08.2026 |
Преобразователи точки росы измерительные, DMT143 Фирма "Vaisala Oyj" (ФИНЛЯНДИЯ ) |
ОТ МП |
1 год |
|
65362-16 06.10.2026 |
Метеостанции автоматические, WXT530 Фирма "Vaisala Oyj" (ФИНЛЯНДИЯ ) |
ОТ МП |
1 год |
|
67981-17 06.07.2027 |
Нефелометры, FS11 Фирма "Vaisala Oyj" (ФИНЛЯНДИЯ ) |
ОТ МП |
1 год |
|
67982-17 06.07.2027 |
Нефелометры, PWD Фирма "Vaisala Oyj" (ФИНЛЯНДИЯ ) |
ОТ МП |
1 год |
|
71653-18 |
Преобразователь температуры точки росы, DMT132 Фирма "Vaisala Oyj" (ФИНЛЯНДИЯ ) |
ОТ МП |
1 год |
|
71662-18 28.06.2024 |
Барометры цифровые многофункциональные, PTB330TS Фирма "Vaisala Oyj" (ФИНЛЯНДИЯ ) |
ОТ МП |
1 год |
|
72116-18 03.08.2024 |
Термогигрометры , HMT330 Фирма "Vaisala Oyj" (ФИНЛЯНДИЯ ) |
ОТ МП |
1 год |
|
72751-18 16.10.2024 |
Термогигрометры искробезопасные, HMT360 Фирма "Vaisala Oyj" (ФИНЛЯНДИЯ ) |
ОТ МП |
1 год |
|
65715-16 23.11.2021 |
Метеостанции автоматические, WXT530 Фирма "Vaisala Oyj" (ФИНЛЯНДИЯ ) |
ОТ МП |
1 год |
|
74010-19 11.02.2029 |
Измерители высоты облаков, CL31 Фирма "Vaisala Oyj" (ФИНЛЯНДИЯ ) |
ОТ МП |
1 год |
|
74517-19 |
Приборы комбинированные для измерений температуры окружающей среды, HMT337 Фирма "Vaisala Oyj" (ФИНЛЯНДИЯ ) |
ОТ МП |
1 год |
|
79084-20 01.09.2025 |
Метеостанции автоматические, AWS310-SITE Фирма "Vaisala Oyj" (ФИНЛЯНДИЯ ) |
ОТ МП |
1 год |
|
79711-20 20.11.2025 |
Детекторы мобильные, MD30 Фирма "Vaisala Oyj" (ФИНЛЯНДИЯ ) |
ОТ МП |
1 год |
|
80790-20 |
Барометр , DIGITAL BAROMETR PTB330 Фирма "Vaisala Oyj" (ФИНЛЯНДИЯ ) |
ОТ МП |
1 год |
|
81590-21 20.04.2026 |
Нефелометры, FD70 Фирма "Vaisala Oyj" (ФИНЛЯНДИЯ ) |
ОТ МП |
1 год |
Отчет "кто поверит (по типу СИ)" позволяет быстро собрать статистику по поверкам конкретного типа СИ.
Для запуска отчета достаточно выбрать интересующий тип СИ из списка и нажать кнопку "Кто поверит средство измерений?"
В результатах поиска будет отображена таблица, содержащая информацию об организациях, проводивших поверку, их статус (подвед РСТ или нет), модификации типов СИ, общее количество поверок и количество поверок, сделанных в текущем году.
Кто поверяет Нефелометры (FD70)
| Наименование организации | Cтатус | Поверенные модификации | Кол-во поверок | Поверок в 2026 году | Первичных поверок | Периодических поверок | Извещений | Для юриков | Для юриков первичные | Для юриков периодические |
|---|
Стоимость поверки Нефелометры (FD70)
| Организация, регион | Стоимость, руб | Средняя стоимость |
|---|
Программное обеспечение
Нефелометры имеют встроенное программное обеспечение ПО «SW». Встроенное ПО «SW» обеспечивает управление работой, проверку состояния, сбор и обработку измерительной информации, преобразование ее в цифровой код и передачу потребителю.
Уровень защиты программного обеспечения от непреднамеренных и преднамеренных изменений соответствует уровню «средний» по Р 50.2.077-2014.
Идентификационные данные программного обеспечения приведены в таблице 1.
Таблица 1 - Идентификационные данные программного обеспечения
|
Идентификационные данные (признаки) |
Значение |
|
Идентификационное наименование ПО |
«SW» |
|
Номер версии (идентификационный номер) ПО |
не ниже 1.1 |
Принцип действия нефелометров FD70 основан на измерении интенсивности рассеянного в атмосфере излучения. Интенсивность рассеянного излучения обратно пропорциональна МОД. В нефелометрах FD70 приемник и излучатель располагаются на против друг друга так, чтобы их оптические оси были направлены под углом 42 градуса к горизонтальной плоскости.
Конструктивно нефелометры FD70 построены по блочному принципу и состоят из измерительного и интерфейсного блока, мачты.
Измерительный блок состоит из модуля приемника и модуля передатчика, контроллера, кронштейна для размещения на мачте, системы обогрева и контроля загрязненности окон, вспомогательного и дополнительного оборудования. Измерительный блок обеспечивает сбор, хранение и обработку измеренных значений, их передачу в интерфейсный блок, управление обогревом окон и колпаков.
Интерфейсный блок состоит из коммуникационного оборудования и коммуникационных интерфейсов для передачи данных, источника питания и дополнительной резервной аккумуляторной батареи. К интерфейсному блоку может быть подключен индикатор фонового освещения и заградительный огонь. Интерфейсный блок размещается в корпусе, который защищает его от атмосферного воздействия и размещается на мачте.
В процессе измерений излучатель с источником света ближнего ИК-диапазона направляет луч света в измерительный объем, где свет рассеивается от взвешенных в воздухе частиц и попадает на приемник. На основании характеристик полученного сигнала производится определение МОД, преобразование полученной информации в цифровой код и передача измеренных знамений потребителю (в линию связи). Нефелометры FD70 по алгоритмам фирмы «Vaisala Oyj» производят расчет и индикацию дополнительных параметров, таких как: определение типа текущей погоды, в том числе в кодах ВМО, информацию о характеристиках осадков, определения количества и размеров частиц осадков.
Нефелометры FD70 выпускаются в модификациях FD71 и FD71P и отличаются набором дополнительных сервисных функций.
Нефелометры FD70 работают непрерывно (круглосуточно). Сообщения о проведенных измерениях передаются через определенные интервалы времени или по запросу. Для обмена информацией нефелометры FD 70 имеют последовательные интерфейсы связи RS-232, RS-485, Ethernet. Дистанция передачи информации: для RS-232 - до 45 м, для RS-485 - 1200 м, с модемом до 8000 м.
Общий вид нефелометров FD70 представлен на рисунке 1.
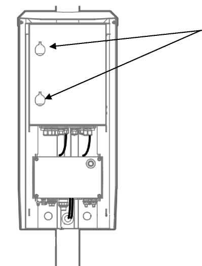
Пломбировка не предусмотрена, для защиты нефелометров FD70 от несанкционированного доступа применяется запирание интерфейсного блока при помощи ключа. Схема расположения замков представлена на рисунке 2.
Знак поверки наносится на свидетельство о поверке и/или формуляр.
1
2
3
Рисунок 1 - Общий вид нефелометров FD70
-
1 - измерительный блок,
-
2 - интерфейсный блок,
1
Рисунок 2 - Схема расположения замков на интерфейсном блоке нефелометров FD70
1 - замки на корпусе интерфейсного блока нефелометров FD70
3 - мачта

Таблица 4 - Комплектность нефелометров FD70
|
Наименование |
Обозначение |
Количество |
|
Нефелометр |
FD71, FD71P* |
1 шт. |
|
Методика поверки |
МП 2540-0095-2020 |
1 экз. |
|
Формуляр «Нефелометры FD70» |
ФО |
1 экз. |
|
*модификация нефелометра по заказу | ||
Таблица 2 - Метрологические характеристики
|
Наименование характеристики |
Значение |
|
Диапазон измерений метеорологической оптической дальности, м |
от 10 до 50000 |
|
Пределы допускаемой относительной погрешности измерений метеорологической оптической дальности, %:
|
±8 ±10 ±20 |
|
Диапазон показаний метеорологической оптической дальности, м |
от 1 до 100000 |
|
Диапазон показаний интенсивности осадков, мм/ч |
от 0,01до 999,99 |
|
Диапазон показаний накопления осадков, мм |
от 0 до 999,99 |
Таблица 3 - Основные технические характеристики
|
Наименование характеристики |
Значение |
|
Определяемый тип текущей погоды, согласно кодовым таблицам ВМО |
Морось, дождь, снег, снежные зерна, ледяные кристаллы, ледяная крупа, замерзающий дождь, замерзающая морось, снежная крупа, град, туман, дымка, мгла |
|
Кодовые таблицы ВМО определяемой текущей погоды |
4678, 4680 |
|
Электрическое питание от сети переменного тока: -напряжение, В -частота, Гц |
115 ±12 / 230 ± 23 60/50 |
|
Потребляемая мощность при питании от сети переменного тока, не более, ВА |
182 |
П Продолжение таблицы 3
|
Наименование характеристики |
Значение | ||
|
Средняя наработка на отказ, ч |
10000 | ||
|
Срок службы, лет |
10 | ||
|
Габаритные размеры, мм, не более |
Высота |
Длина |
Ширина |
|
- измерительного блока |
354 |
883 |
551 |
|
- интерфейсного блока |
885 |
320 |
380 |
|
Масса, кг, не более | |||
|
- измерительного блока |
6 | ||
|
- интерфейсного блока |
25 | ||
|
Условия эксплуатации: | |||
|
-температура воздуха, oC |
от - 55 до + 65 | ||
|
-относительная влажность воздуха, % |
от 0 до 100 | ||
|
-скорость ветра, м/с |
до 60 | ||

