Номер по Госреестру СИ: 96913-25
96913-25 Полуприцеп - цистерна
(ALI RIZA USTA A3TY ST)
Назначение средства измерений:
Полуприцеп - цистерна ALI RIZA USTA A3TY ST (далее - ППЦ) является транспортной мерой полной вместимости и предназначена для хранения, перевозки и измерения объема нефти и нефтепродуктов.

Внешний вид.
Полуприцеп - цистерна
Рисунок № 1

Внешний вид.
Полуприцеп - цистерна
Рисунок № 2
Знак утверждения типа
Знак утверждения типананосится на титульный лист паспорта ППЦ печатным способом.
Сведения о методиках измерений
Сведения о методиках (методах) измерений приведены в разделе 5 паспорта ППЦ.Нормативные и технические документы
Нормативные документы, устанавливающие требования к средствам измеренийПриказ Росстандарта от 26 сентября 2022 г. № 2356 «Об утверждении Государственной поверочной схемы для средств измерения массы и объема жидкости в потоке, объема жидкости и вместимости при статических измерениях, массового и объемного расходов жидкости».
ПравообладательФирма «ALI RIZA USTA TANKER SAN. LTD. STI», Турецкая Республика
Юридический адрес: Haci Yusuf Mescid Mah. Ankara - Adana Cevre Yolu 4. Km (Sedirler Cikisi) Karatay/KONYA/TYRKEY
Испытательный центр
Общество с ограниченной ответственностью «Метрологический центр+»(ООО «МЦ+»)
Адрес: 665816, Иркутская обл., г. Ангарск, 33-й мкр., д. 1, помещение 155
Тел./факс: 8 (3955) 68-05-77
E-mail: metrolog.irk@yandex.ru
Правообладатель
Фирма «ALI RIZA USTA TANKER SAN. LTD. STI», Турецкая РеспубликаЮридический адрес: Haci Yusuf Mescid Mah. Ankara - Adana Cevre Yolu 4. Km (Sedirler Cikisi) Karatay/KONYA/TYRKEY
Принцип действия ППЦ основан на заполнении её нефтепродуктом до указателя уровня налива соответствующего определённому объёму нефтепродукта. Заполнение ППЦ нефтепродуктом осуществляется через заливную горловину. Слив нефтепродукта производится самотёком или через насос.
ППЦ состоит из стальной сварной цистерны цилиндрической формы постоянного сечения, установленной на шасси. Для гашения гидравлических ударов во время движения внутри ППЦ установлены волнорезы. Цистерна состоит из двух герметичных секций, каждая из которых является мерой полной вместимости. Каждая секция цистерны оборудована заливной горловиной с установленным указателем уровня налива.
Технологическое оборудование ППЦ предназначено для операций налива-слива нефтепродуктов и включает в себя:
-
- горловину с указателем уровня налива;
-
- съёмную крышку горловины с заливным люком и дыхательным клапаном;
-
- клапан донный;
-
- кран шаровой;
-
- рукава напорно-всасывающие.
На боковых сторонах и сзади ППЦ имеются надписи «Огнеопасно», а также информационные таблички, обозначающие транспортное средство, перевозящее опасный груз.
ППЦ имеет заводской номер (VIN) NP9A3TYSTCH042485.
Заводской номер ППЦ (VIN) в виде цифро-буквенного обозначения, состоящего из девяти букв латинского алфавита и восьми арабских цифр, нанесён методом фотопечати на информационную табличку, расположенную на раме шасси передней части ППЦ.
Общий вид ППЦ и место нанесения заводского номера (VIN) представлены на рисунке 1.
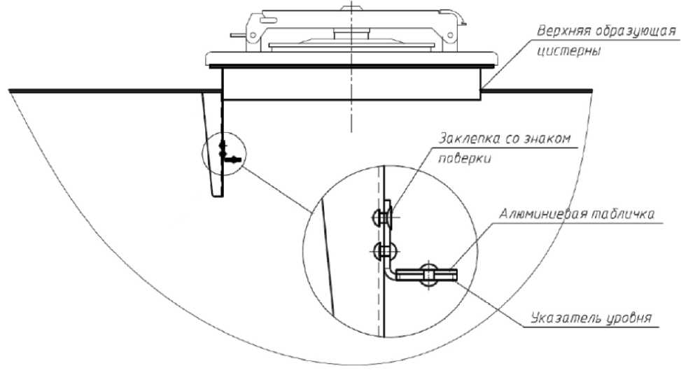
Схема пломбировки от несанкционированного изменения положения указателя уровня налива представлена на рисунке 2.
Знак поверки наносится ударным способом на заклёпку, крепящую указатель уровня налива.
Место нанесения заводского номера (VIN)
Рисунок 1 - общий вид полуприцепа - цистерны ALI RIZA USTA A3TY ST и место нанесения заводского номера (VIN)
Указатель уробия
Верхняя образующая цистерны
-----------------------------------------------------'
Заклепка со знаком ! лоберки I
I
\ I
X t
\ /
\ А люминиеба я та блинка
Рисунок 2 - схема пломбировки от несанкционированного изменения положения указателя уровня налива
Лист № 3 Всего листов 4Таблица 1 - Метрологические характеристики
|
Наименование характеристики |
Значение |
|
Номинальная вместимость ТМ, м3 |
28,075 |
|
Номинальная вместимость секций ТМ, м3 - 1-я секция |
14,700 |
|
- 2-я секция |
13,375 |
|
Пределы допускаемой относительной погрешности ТМ (массовый |
0,4 |
|
метод), % | |
|
Разность между номинальной и действительной |
± 1,5 |
|
вместимостью, %, не более |
Таблица 2 - Основные технические характеристики
|
Наименование характеристики |
Значение |
|
Масса ТМ в порожнем состоянии, кг, не более |
7000 |
|
Полная масса (максимально допустимая), кг, не более |
39500 |
|
Габаритные размеры, мм, не более: - длина |
10000 |
|
- ширина |
2700 |
|
- высота |
3500 |
|
Условия эксплуатации: - температура окружающего воздуха, °С |
от - 40 до + 50 |
|
- атмосферное давление, кПа |
от 84,0 до 106,7 |

