Номер по Госреестру СИ: 17493-08
17493-08 Счетчики газа мембранные
(СГМ)
Назначение средства измерений:
Счетчики газа мембранные СГМ (далее - счетчики) предназначены для измерения прошедшего через счетчик количества природного газа по ГОСТ 5542-87 или паров сжиженного углеводородного газа по ГОСТ 20448-90, а также других неагрессивных газов, применяемых в бытовых и производственных целях.

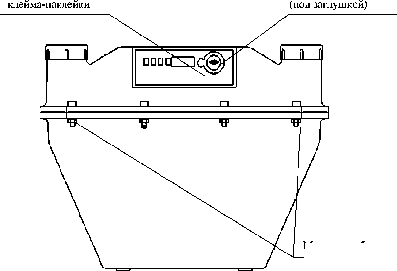
Внешний вид.
Счетчики газа мембранные
Рисунок № 1

Внешний вид.
Счетчики газа мембранные
Рисунок № 2

Внешний вид.
Счетчики газа мембранные
Рисунок № 3

Внешний вид.
Счетчики газа мембранные
Рисунок № 4

Внешний вид.
Счетчики газа мембранные
Рисунок № 5
Знак утверждения типа
Знак утверждения типа наносится на лицевой панели счетчика методом тампопечати и в паспорте типографским способом.
Сведения о методиках измерений
Сведения о методиках (методах) измерений
изложены в паспорте 1009.00.00.000 ПС «Счетчики газа двухкамерные СГМН-1 типоразмера G6 » «Счетчики газа мембранные СГМ типоразмера G4».
Нормативные и технические документы
Нормативные документы, устанавливающие требования к счетчикам газа мембранным СГМ:
-
1. ГОСТ Р 50818-95 «Счетчики газа объемные диафрагменные. Общие технические требования и методы испытаний».
-
2. ТУ РБ 14541426.013-98 «Счетчики газа мембранные СГМ. Технические условия».
Осуществление торговли и товарообменных операций.
Поверка
Поверкаосуществляется по ГОСТ 8.324-2002 «ГСИ. Счетчики газа. Методика поверки», при наличии импульсного выхода поверка счетчиков проводится по МРБ МП 1778-2008 «Счетчики газа СГМН-1, СГМ, СГД-1, СГД-3Т. Методика поверки», утвержденной БелГИМ в марте 2008 г.
Основное поверочное оборудование.
|
Наименование средства измерения |
Используемые технические характеристики средств измерений |
Класс точности, погрешность измерения |
|
1 Поверочный комплекс счетчика газа |
Измерение расхода воздуха от 0,002 ^^ном до Qмакс |
От Qмин до 0,1^ом - ±1 %, св. 0,1^ом до Qмакс - ±0,5 % |
|
2 Стенд для проверки прочности и герметичности |
Создание избыточного давления от 0 до 0,1 МПа (давление внутри испытуемого счетчика не менее, чем в 1,5 раза превышающее наибольшее избыточное давление) | |
|
3 Манометры типа МО |
Измерение избыточного давления до 0,1 МПа |
Класс точности 0,15; 0,25 |
|
4 Барометр |
Измерение барометрического давления до 106,4 кПа |
Не более 133,32 Па |
|
5 Термометры лабораторные |
Измерение температуры от 0 до 600С |
Цена деления 0,1 0С |
|
6 Микроманометры жидкостные |
Измерение потери давления от 0 до 300 Па |
Класс точности 1,0 |
|
7 Психрометр |
Измерение относительной влажности от 10 до 100 % |
Цена деления 0,5 % |
|
8 Мановакууметры жидкостные |
Измерение потери давления до 2400 Па |
Диапазон измерения от 0 до 2400 Па Класс точности - 1,0 |
|
9 Секундомер-таймер |
Измерение времени, числа импульсов |
Предел допускаемого значения погрешности измерения интервалов времени при (20 ± 5)0С ± (15 х10-6 х Т+ С), где Т - значение интервала в секундах, С - 0,01 при цене деления 0,01 с |
Изготовитель
ОАО «ММЗ имени С.И. Вавилова - управляющая компания холдинга «БелОМО» 220114, Республика Беларусь, г. Минск, ул. Макаенка, 23, тел.: 267 11 90
Экспертиза проведена
ГЦИ СИ ФГУП «ВНИИМ С », 119361, г. Москва, ул.Озерная, д.46,
тел. +7 495 437-55-77, факс.+7 495 437-56-66, e.mail:office@vniims.ru
Аттестат аккредитации № 30004-08
Заместитель
Руководителя Федерального агентства по техническому регулированию и метрологии
Счетчик состоит из двух камер, внутренние полости которых разделены газонепроницаемыми диафрагмами. Диафрагмы перемещаются за счет разницы давления газа на входе и выходе счетчика и приводят во вращение отсчётное устройство, находящееся на лицевой панели счетчика.
По номинальному расходу счетчики соответствует типоразмеру G4.
В конструкции счетчиков температурный компенсатор отсутствует.
В счетчики исполнения СГМ - 2И встроено устройство импульсного выхода.
В обозначении счетчика должны присутствовать параметры, расположенные в заданной последовательности: исполнение по наличию дополнительного устройства (устройства импульсного выхода), межосевому расстоянию между патрубками счетчика, направление потока газа.
Исполнения счетчиков по наличию устройства импульсного выхода:
-
- СГМ-2 - без устройства импульсного выхода;
-
- СГМ-2И - с устройством импульсного выхода.
Исполнения по межосевому расстоянию между патрубками счетчика:
-
- 1 - межосевое расстояние - 250 мм;
-
- 2 - межосевое расстояние - 200 мм.
Исполнения по присоединению к системному трубопроводу (направление потока газа):
-
- 1 - левое;
-
- 2 - правое.
Направление потока газа обозначено стрелкой на крышке счетчика.
Перечень вариантов исполнения счетчиков.
Фотография общего вида
исполнение СГМ-2
исполнение СГМ-2И

Место нанесения поверительного
Место нанесения оттиска поверительного клейма
Места пломбирования


|
Наименование |
Количество на исполнение, шт. | |
|
СГМ-2-2-1, СГМ-2-2-2 СГМ-2-3-1, СГМ-2-3-2 |
СГМ-2И-2-1 СГМ-2И-3-1 СГМ-2И-3-2 | |
|
Счетчик газа мембранный СГМ |
1 |
1 |
|
Крышка |
2 |
2 |
|
Переходник (Сталь ГОСТ 380 или ГОСТ 1050) |
2 |
2 |
|
Гайка (Чугун КЧ30-6-Ф ГОСТ 1215) |
2 |
2 |
|
Прокладка (Резина МБС ГОСТ 7338) |
2 |
2 |
|
Коробка (Упаковка) |
1 |
1 |
|
Паспорт |
1 |
1 |
|
Штекер |
- |
1 |
|
Заглушка |
- |
1 |
|
Фильтр* |
1 |
1 |
|
Методика поверки МРБ МП 1778-2008 |
- |
1 |
|
* Входит в комплект счетчиков по требованию заказчика. | ||
|
Наименование параметра |
Значение | |
|
СГМ-2-2-1 СГМ-2-2-2 СГМ-2-3-1 СГМ-2-3-2 |
СГМ-2И-2-1 СГМ-2И-3-1 СГМ-2И-3-2 | |
|
1 Номинальный расход (Q ном), м3/ч |
4 | |
|
2 Минимальный расход (Q мин), м3/ч, не менее |
0,04 | |
|
3 Максимальный расход (Q макс), м3/ч, не более |
6 | |
|
4 Допускаемая потеря давления на счетчике при номинальном расходе (DPq ном), Па, не более |
80 | |
|
5 Допускаемая потеря давления на счетчике при максимальном расходе (DPq макс ), Па, не более |
200 | |
|
6 Наибольшее избыточное рабочее давление, кПа |
60 | |
|
7 Габаритные размеры (длина х ширина х высота), мм, не более: |
307x165x223 |
265x165x243 |
|
8 Расстояние между осями штуцеров, мм |
250 ± 0,5 |
200 ± 0,5 |
|
9 Масса, кг, не более |
3,8 |
3,3 |
|
10 Резьба на присоединительных патрубках, трубная по ГОСТ 6357 |
G1% | |
Пределы допускаемой основной относительной погрешности счетчика при нормальных условиях, при выпуске из производства и после ремонта:
± 3 % в диапазоне расходов от Q мин до 0,1Q ном включительно;
± 1,5 % в диапазоне расходов свыше 0,1QHOM до QMakC включительно.
Пределы допускаемой основной относительной погрешности в процессе эксплуатации: ± 5 % в диапазоне расходов от QMUH до 0,1QHCM включительно;
± 3 % в диапазоне расходов свыше 0,^ном до QMaKC включительно.
Дополнительная относительная погрешность счетчиков, вызванная отклонением температуры измеряемого газа от нормальной, по сравнению с основной относительной погрешностью не более ± 0,45 % при изменении температуры на 1 °С.
Порог чувствительности счетчиков не более 0,002QнOм.
Циклический объем счетчиков - 2 дм3/об.
Счетчики рассчитаны на эксплуатацию в климатических условиях, соответствующих группе исполнения С4 по ГОСТ Р 52931-2008 для работы при температуре:
-
- от минус 40 °С до плюс 50 °С;
-
- от минус 40 °С до плюс 60 °С.
Один импульс соответствует объему 0,01 м3 прошедшего через счетчик газа.
Электрические характеристики цепи устройства импульсного выхода:
-
- напряжении Umax £ 12 В,
-
- сила тока Imax £ 10 мА.
Счетчик прочный и герметичный при воздействии внутреннего избыточного давления в 1,5 раза превышающего наибольшее избыточное рабочее давление.
Конструкция соединительных элементов счетчика обеспечивает прочность и герметичность при присоединении счетчика к подводящему газопроводу при воздействии внутреннего давления в 1,5 раза превышающего наибольшее избыточное рабочее давление, изгибающего момента 110 Н^м и крутящего момента 340 Н^м.

